Проектирование системы электроснабжения ОАО 'Тульский патронный завод'
проектирование системы
электроснабжения ОАО «Тульский патронный завод»
Содержание
Введение
1. Выбор
системы электроснабжения
.1 Общие
сведения о предприятии
.2
Технологические данные
.3 Оценка
влияния внезапных перерывов электроснабжения на технологический процесс
.4
Механизация процесса производства
.5
Внутризаводской транспорт
.6
Электрические нагрузки по цехам предприятия
.7
Характеристика потребителей электроэнергии и их влияние на качество
электроэнергии
.8 Сведения о
характере окружающей среды в цехе №2
.
Электроснабжение предприятия
.1
Электроснабжение цехов предприятия
.2 Выбор
источников питания и схемы электроснабжения цеха №2
.3 Выбор
режима работы нейтрали электрической сети
.4
Определение расчётных электрических нагрузок цеха
. Расчёт
системы электрического освещения
.1
Светотехнический расчёт
.1.1
Определение общей мощности установки Робщ
.1.2 Выбор
напряжения и источников питания
.1.3 Выбор
мест ввода и установки щитков
.1.4
Компоновка осветительной сети
.1.5
Определение расчётных параметров осветительных щитков
. Расчёт
мощности трансформатора и выбор подстанции
.1 Расчёт
групп электроприёмников, подсоединённых к секциям I и II
.2 Расчёт
мощности трансформатора и выбор трансформаторной подстанции
. Выбор
сечений проводов и жил кабелей силовых приемников электроэнергии
.1 Прокладка
кабельных линий.
.2 Выбор
сечений проводов и жил кабелей силовых приемников электроэнергии
.3 Расчёт
потерь напряжения в сети
. Расчёт
компенсации реактивной мощности и выбор компенсирующего устройства цеха №2
. Выбор
электрооборудования и электрических аппаратов системы электроснабжения
.1 Выбор
автоматических выключателей
.2 Выбор
пунктов распределения (РП)
. Расчет
токов КЗ
. Внешнее
электроснабжение
.1
Конструкция РУ ВН и НН ГПП
.2 Расчёт
токов КЗ на понизительных подстанциях и выбор коммутационно-защитной аппаратуры
.
Автоматизация системы электроснабжения
.1 Релейная
защита в системе электроснабжения завода.
.2 Релейная
защита силовых трансформаторов
. Охрана
труда и окружающей среды
.1 Анализ
вредных производственных факторов при эксплуатации оборудования
.2 Анализ и
устранение потенциальных опасностей в цехе
.3 Разработка
автоматической системы оповещения о пожаре
.4 Расчёт
заземляющего устройства силового трансформатора и цехового оборудования
.5 Расчет
вентиляции
.6 Охрана
окружающей среды
Технико-экономический
расчет схем внешнего электроснабжения
Заключение
БИБЛИОГРАФИЧЕСКИЙ
СПИСОК
Введение
электроснабжение расчет подстанция
Цель данного дипломного проекта - систематизация, закрепление и расширение
теоретических знаний в области проектирования систем электроснабжения,
полученных за время обучения по специальности 140610 «Электротехника и
электрооборудование предприятий, организаций и учреждений», развитие у
студентов навыков применения полученных знаний для решения реальных инженерных
и научно-исследовательских задач, позволяющих оценить степень подготовленности
студента и самостоятельность инженерной деятельности.
При исследовании, проектировании и эксплуатации системы электроснабжения
городского хозяйства и промышленных предприятий должны решаться следующие
основные задачи: оптимизация структуры и параметров схемы путём правильного
выбора напряжений; определения электрических нагрузок и выполнения требований к
бесперебойности электроснабжения; рациональный выбор числа и мощности
трансформаторов, конструкций городских и промышленных сетей; определение
эффективных средств компенсации реактивной мощности и регулирование напряжения.
При дипломном проектировании системы электроснабжения ОАО «Тульский патронный
завод» будут решаться следующие задачи:
определение расчетных электрических нагрузок по подразделениям и в целом
для городского хозяйства промышленного предприятия;
выбор рационального варианта электроснабжение внутрицеховой сети
напряжением до 1 кВ, а также электроэффективного оборудования этой сети.
1. Выбор
системы электроснабжения
.1 Общие
сведения о предприятии
Тульский завод ОАО «ТПЗ» - одно из ведущих машиностроительных предприятий
военно-промышленного комплекса Российской Федерации. В настоящее время ОАО
«ТПЗ» имеет в своем составе патронное производство. А также производство по
изготовлению сильфонов и сильфонных компенсаторов, низковольтной аппаратуры,
цепное и инструментальное производства.
Современное оборудование, высокая квалификация кадров позволили
значительно расширить номенклатуру, повысить качество и конкурентоспособность
изготавливаемой продукции, стать единственным производителем ряда изделий.
Сегодня 750 специалистов предприятия производят свыше 800 наименований изделий.
Наличие в структуре предприятия специализированного конструкторского
бюро, аккредитованной центральной заводской лаборатории, участка по
изготовлению пресс-форм, оснастки и нестандартного оборудования обеспечивают
полный цикл изготовления изделия: от его разработки до выпуска, в соответствии
с требованиями заказчика. Специалисты завода ведут работу по сертификации
продукции. Завод сотрудничает со всеми регионами России, а так же выпускаемая
продукция экспортируется в 11 стран Ближнего и Дальнего зарубежья.
Коллектив завода успешно следует традициям тульских промышленников,
оставаясь развивающимся и рентабельным предприятием.
На территории завода расположены: 1, 2 , 3, 4а, 4б цеха, транспортный
цех, участок переработки отходов, строительный цех, бытовой (административный)
корпус, столовая, насосная, склад, автостоянки и контрольно-пропускной пункт.
1.2
Технологические данные
На территории предприятия имеются только автомобильные подъездные пути к
корпусам, поэтому все погрузочно-разгрузочные работы выполняются при помощи
дизельных погрузчиков и электропогрузчиков. На предприятии имеется парк
автомобилей, при помощи которых осуществляется перевозка продукции. Для стоянки
и поддержания в работоспособном состоянии этого автопарка, а также для его
ремонта, предназначен транспортный цех предприятия.
В каждом цехе предприятия изготавливают определённую номенклатуру
изделий, что связано с наличием соответствующего оборудования в цехе и наиболее
эффективной организацией производства. Технологическая связь между основными
производственными цехами в основном отсутствует. Связь между цехами
осуществляется посредством транспортного цеха, осуществляющего транспортные
перевозки при помощи дизельных погрузчиков между цехами.
На территории рассматриваемого цеха №2 основными потребителями
электроэнергии являются асинхронные двигатели различного технологического
оборудования: станков, прессов, вальцев и т.д. Эти двигатели переменного тока с
промышленной частотой 50 Гц, напряжением 380 В. Асинхронные двигатели просты в
устройстве, надежны, не требуют высокой квалификации обслуживающего персонала.
Электроснабжение всего предприятия осуществляется от двух подстанций №218
и №41 городских электрических сетей, внутризаводским напряжением 10 кВ.
Электроснабжение всех цехов осуществляется от двух центральных
распределительных подстанций напряжением 10 кВ, рассматриваемого цеха №2
предполагается осуществлять от ТП-2 находящейся в пристройке к цеху.
Напряжение питания силового электрооборудования -380 В, род тока -
переменный трехфазный, с промышленной частотой 50 Гц.
Учитывая условия среды (В-I),
электрооборудование цеха выполняется со степенью защиты IP44.
.3 Оценка
влияния внезапных перерывов электроснабжения на технологический процесс
Для исключения наличия большого количества бракованной продукции и из-за
близкого местоположения завода к ТП №218, предприятие имеет аварийную
(водоснабжение, связь, аварийное освещение, горэлектросети) и технологическую
бронь (пресса, компрессор), необходимую для окончания технологического процесса
и избежания массового брака продукции.
.4
Механизация процесса производства
Механизация производства в цехе осуществляется при помощи электроталей,
грузовых лифтов, конвейеров, для механизации перезарядки гидравлических прессов
применяются перезарядчики пресс-форм. На территории цеха применяется также
современное оборудование, как прецизионный преобразователь, которое позволяет
выполнять несколько различных по технологическому назначению операций при
помощи одной производственной единицы.
.5
Внутризаводской транспорт
К внутризаводскому транспорту предприятия относятся дизельные погрузчики
«Рекорд» и электропогрузчики ЭП 103К, которые обслуживаются транспортным цехом,
а также легковой и грузовой автомобильный транспорт, для которого предусмотрены
отдельные автостоянки. Наличие собственного автотранспорта позволяет
предприятию осуществлять перевозку продукции собственными силами.
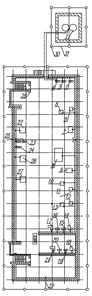
1.6 Электрические нагрузки по цехам предприятия
Таблица 1 - Электрические нагрузки по цехам предприятия
|
№п/п
|
Наименование цеха
|
Мощность
|
№ТП
|
|
1
|
2
|
3
|
4
|
|
1
|
Цех №1
|
720 МВт
|
ТП-4
|
|
2
|
Цех №2
|
933 кВт
|
ТП-2
|
|
3
|
Цех №3
|
1030 МВт
|
ТП-1
|
|
4
|
Цех №4а
|
500 кВт
|
ТП-5
|
|
5
|
Цех №4б
|
700 кВт
|
ТП-3
|
|
6
|
ЦРП-1
|
4210 МВт
|
|
1.7
Характеристика потребителей электроэнергии и их влияние на качество
электроэнергии
Потребителем электроэнергии называется электроприёмник (ЭП) или группа
электроприёмников, объединенных технологическим процессом и размещающихся на
определенной территории. Приемником электрической энергии называется аппарат,
агрегат, механизм, предназначенный для преобразования электрической энергии в
другой вид энергии. Основное оборудование, находящееся в цехе №2 приведено в
таблице 2.
Таблица 1-1 - Характеристика электрооборудования цеха №2
|
№ п.п.
|
№ на схеме
|
Наименование
|
Кол.
|
Мощность Р, кВт
|
|
|
РП - 1
|
|
|
|
1
|
1,2
|
Вентилятор
|
2
|
5,5
|
|
2
|
3
|
Вентилятор
|
1
|
6,0
|
|
3
|
4-6
|
Установки штамповки
|
3
|
27,0
|
|
|
РП - 2
|
|
|
|
4
|
7-9
|
Вентилятор
|
3
|
7,5
|
|
5
|
12
|
Окрасочная машина
|
1
|
20,0
|
|
6
|
13
|
Окрасочная машина
|
1
|
25,0
|
|
|
РП - 3
|
|
|
|
7
|
10
|
Смеситель
|
1
|
27,0
|
|
8
|
11
|
Литьевая машина
|
1
|
57,0
|
|
|
РП - 4
|
|
|
|
9
|
14-16
|
Вальцы
|
3
|
75,0
|
|
|
РП - 5
|
|
|
|
10
|
17-24
|
Пресс
|
8
|
17,5
|
|
11
|
25-26
|
Станок сверлильный
|
2
|
12,0
|
|
|
РП - 6
|
|
|
|
12
|
27
|
Станок токарно-винторезный
|
1
|
11,0
|
|
13
|
28,30
|
Станок сверлильный
|
2
|
20
|
|
14
|
29
|
Точило
|
1
|
3,0
|
|
15
|
31-33
|
Пресс
|
3
|
21,2
|
|
|
РП - 7
|
|
|
|
16
|
34-36
|
Пресс
|
3
|
21,2
|
|
17
|
37
|
Станок фрезерный
|
1
|
12,2
|
|
18
|
37/2
|
Станок фрезерный
|
1
|
9,0
|
|
19
|
38
|
Станок фрезерный
|
1
|
12,2
|
|
20
|
38/2
|
Станок фрезерный
|
1
|
9,0
|
|
21
|
39
|
Станок фрезерный
|
1
|
12,2
|
|
22
|
39/2
|
Станок фрезерный
|
1
|
9,0
|
|
23
|
55
|
Монтажная машина
|
1
|
32,0
|
|
24
|
56-57
|
Штамповочная машина
|
2
|
1,5
|
|
25
|
58,86
|
Вальцы
|
2
|
75,0
|
|
|
РП - 8
|
|
|
|
26
|
40
|
Станок токарно -винторезный
|
1
|
10,6
|
|
27
|
40/2
|
Станок токарно -винторезный
|
1
|
10,6
|
|
28
|
41
|
Станок токарно-винторезный
|
1
|
10,6
|
|
29
|
41/2
|
Станок токарно-винторезный
|
1
|
10,6
|
|
30
|
42
|
Станок токарно-винторезный
|
1
|
10,6
|
|
31
|
42/2
|
Станок токарно-винторезный
|
1
|
10,6
|
|
32
|
43
|
Станок токарно-винторезный
|
1
|
10,6
|
|
33
|
43/2
|
Станок токарно-винторезный
|
1
|
10,6
|
|
34
|
44
|
Станок токарно-винторезный
|
1
|
10,6
|
|
35
|
44/2
|
Станок токарно-винторезный
|
1
|
10,6
|
|
36
|
45
|
Станок токарно-винторезный
|
1
|
10,6
|
|
37
|
45/2
|
Станок токарно-винторезный
|
1
|
10,6
|
|
38
|
59-61
|
Машина для формирования
заготовок
|
1
|
45,0
|
|
|
РП - 9
|
|
|
|
39
|
46-51
|
Пресс
|
1
|
21,2
|
|
40
|
52
|
Станок
горизонтально-расточной
|
1
|
16,5
|
|
41
|
52/2
|
Станок заточной
|
1
|
4,7
|
|
42
|
53
|
Станок
горизонтально-расточной
|
1
|
16,5
|
|
43
|
53/2
|
Станок заточной
|
1
|
4,7
|
|
44
|
54
|
Станок
горизонтально-расточной
|
1
|
16,5
|
|
45
|
54/2
|
Станок заточной
|
1
|
4,7
|
|
|
РП - 10
|
|
|
|
57
|
62 -63
|
Барабан галтовочный
|
2
|
14,5
|
64
|
Дробилка
|
1
|
22,0
|
|
59
|
65
|
Точило
|
1
|
1,5
|
|
|
РП - 11
|
|
|
|
60
|
66
|
Станок расточной
|
1
|
2,0
|
|
61
|
67
|
Станок расточной
|
1
|
3,0
|
|
62
|
68-77
|
Станок шлифовальный
|
10
|
0,5
|
1.8 Сведения
о характере окружающей среды в цехе №2
Помещения данного цеха по классу взрывоопасности относятся к классу В-I - взрывобезопасное - располагается в
помещениях, где выделяются пары ЛВЖ или горючие газы в таком количестве и с
такими свойствами, что они не могут образовывать с воздухом взрывоопасные смеси
в нормальных режимах работы.
По классу пожароопасности помещения данного цеха относятся к зоне класса
П-II - располагается в помещениях, в
которых выделяются горючие пыль или волокна с нижним концентрационным пределом
воспламенения более 65 г/м3 к объёму воздуха.
2.
Электроснабжение предприятия
.1
Электроснабжение цехов предприятия
В цехах ОАО «Тульский Патронный завод» главными потребителями
электрической энергии являются асинхронные двигатели, это двигатели переменного
тока с промышленной частотой 50 Гц, напряжением 380 В. В каждом
производственном цехе предприятия выполняется определённый независимый
технологический процесс изготовления изделий. Эти технологические процессы не
являются дублирующимися между собой и прерывание любого из них ведёт к
массовому браку продукции и расстройству сложного комплексного технологического
процесса.
Тепло- и водоснабжение предприятия осуществляется от внешней котельной,
насосной и водонапорной башни, перерыв в электроснабжении которых ведёт к
нарушению функционирования особо важных элементов коммунального хозяйства.
Компрессорная станция насосная по надежности электроснабжения относится к
1 категории, т.е. электропитание должно осуществляться от двух независимых
источников питания (ПУЭ гл. 1-2-20).
В качестве двух независимых источников питания корпусов предприятия
принимаем две взаиморезервируемые центральные распределительные подстанции
(ЦРП), питающиеся непосредственно от трансформаторных подстанций городских
электрических сетей: ТП№218 и ТП№41. Питание каждого производственного цеха
осуществляется от соответствующей цеховой трансформаторной подстанции при
помощи кабельных линий напряжением 10 кВ, прокладываемых в траншее в земле, по
эстакадам, по стенам зданий. Электроснабжение цеховых ТП осуществляется от
различных секций шин ЦРП.
2.2 Выбор
источников питания и схемы электроснабжения цеха №2
Схема электроснабжения - радиальная с распределительным шкафом на стороне
низкого напряжения (РУНН). Радиальную схему электроснабжения принимаем, так как
невозможно выполнение магистральной или комбинированной схемы по условиям
надёжности электроснабжения цеха.
Источник питания - цеховая понизительная подстанция, которая в свою
очередь питается от ЦРП предприятия. Питание технологического оборудования
малой мощности осуществляется при помощи распределительных шкафов.
Для обеспечения бесперебойного снабжения электроэнергией цеха №2
используется схема “явного” резерва: резервный питающий элемент (трансформатор,
линия) нормально отключён и включается без замены рабочего элемента при его
ремонте или повреждениях, а также при потере питания СН по любой причине.
Рабочие и резервные питающие элементы 6 кВ СН присоединены к шинам 10 кВ ЦРП,
которые соединяются с энергосистемой.
Питающие элементы СН 10 кВ присоединённые к распределительному устройству
(РУСН) выполняются с одной системой шин, которая делится на секции. Это
позволяет увеличить надёжность питания СН, так как при КЗ на какой-либо секции
остаются в работе потребители, присоединённые к неповреждённым секциям. От
сборных шин РУСН 10 кВ питаются трансформаторы собственных нужд 10/0,4 кВ,
используемые для питания двигателей 380В постоянного тока, конструкционных
измерительных приборов и освещения.
Рабочая линия и трансформаторы выбираются с Iном ≥ Iрасч нагрузки потребителей собственных
нужд и с реактивным сопротивлением, ограничивающим ток КЗ на шинах 10 кВ РУСН.
Это позволяет применять комплектные ячейки с выключателями ВМПЭ-10 и ВЭЭ-10.
Реактивное сопротивление питающих элементов должно быть равно, чтобы в
нормальном режиме на шинах РУСН 10 кВ поддерживалось нормальное напряжение, а
при самозапуске - необходимое остаточное напряжение для успешного разворота
двигателей СН.
Для питания электроприемников цеха применяются два трансформатора,
которые соединены между собой резервной питающей линией, что позволяет
осуществлять бесперебойное питание цеха электроэнергией при выходе одного
трансформатора из строя.
Для защиты трансформаторов от перегрузок, КЗ, чрезмерного уменьшения
напряжения питания применяются вакуумные выключатели типа ВВТЭ-М-10-20/630. Для
защиты остальной цепи от КЗ на трансформаторах применяются воздушные
выключатели А2050/1500. Питание силовых электроприёмников осуществляется напряжением
380 В, питание осветительной сети - напряжением 220 В.
Прокладка кабелей осуществляется на лотках по стенам, по подвесным
конструкциям.
.3 Выбор
режима работы нейтрали электрической сети
Нейтраль сети (соединение точек нулевого потенциала оборудования) может
быть глухо заземлена, соединена с землей через активные или реактивные
сопротивления и изолирована от земли.
Выбор способа заземления нейтрали определяется безопасностью обслуживания
сети, надежностью электроснабжения электроприемников и экономичностью.
При повреждениях фазной изоляции способ заземления нейтрали оказывает
большое влияние на ток замыкания на землю и определяет требования в отношении
заземляющих устройств электроустановок и релейной защиты от замыканий на землю.
В проектируемом цехе установлены электроприёмники напряжением до 1кВ и
применяется пятипроводная сеть с глухозаземлённой нейтралью типа TN-C-S, у которой
обмотки питающих трансформаторов соединены в звезду и нейтральные точки
электрически соединены с заземляющим устройством (землей). При однофазных
замыканиях на землю в сетях с глухозаземленной нейтралью протекают большие токи
короткого замыкания, быстродействующая защита отключает поврежденный участок, и
однофазное замыкание не переходит в междуфазное.
На неповрежденных фазах напряжение относительно земли не повышается, и
изоляция может быть рассчитана на фазное, а не на междуфазное (линейное)
напряжение. Однако при частых однофазных замыканиях на землю возникают тяжелые
условия работы отключающих аппаратов, что может привести к повреждению обмотки
трансформаторов.
.4
Определение расчётных электрических нагрузок цеха
Определяем расчетные нагрузки на стороне низкого напряжения методом
коэффициента максимума.
Таблица
2-1 - Распределение нагрузки по секциям
|
Секция I
|
Нагрузка, кВт
|
Секция II
|
|
1
|
2
|
3
|
4
|
|
РП-1
|
98
|
172,6
|
РП-6
|
|
РП-2
|
72,5
|
312,2
|
РП-7
|
|
РП-3
|
84
|
262,2
|
РП-8
|
|
РП-4
|
225
|
190,8
|
РП-9
|
|
РП-5
|
140
|
52,5
|
РП-10
|
|
|
15,0
|
РП-11
|
Резервные электроприёмники в расчёте нагрузок не учитываются.
Средняя нагрузка группы ЭП за наиболее загруженную смену:
(2.1)
, (2.2)
Где Рсмi
- средняя активная нагрузка группы электроприёмников, кВт;
kиi - табличное значение коэффициента
использования ЭП. Значения Ки для каждого ЭП представлены в сводной
ведомости нагрузок. табл.9.12 [10]
Рномi -
номинальная мощность группы ЭП, кВт;
Qсмi - средняя реактивная нагрузка
электроприёмников, кВар.
Определение коэффициента использования в каждой группе ЭП kи и
коэффициента мощности cosφ
Определение коэффициента использования kи
kи=Рсмi/Рномi (2.3)
kи1=30,45/98=0,31;
kи2=34,75/72,5=0,48;
kи3=16,44/84=0,2;
kи4=38,25/225=0,17;
kи5=23,8/140=0,17;
kи6=26,4/172,6=0,56;
kи7=27,81/312,2=0,09;
kи8=44,57/262,2=0,17;
kи9=32,44/190,8=0,17;
kи10=13,13/52,5=0,25;
kи11=1,4/10=0,14;
Определение коэффициента мощности cosφ
tgφi=Qсмi/Pсмi (2.1)
tgφ1=31,34/30,45=1,03; cosφ1=0,69;
tgφ2=28,69/34,75=0,83; cosφ2=0,77;
tgφ3=19,23/16,44=1,17; cosφ3=0,6;
tgφ4=44,75/38,25=1,17; cosφ4=0,65;
tgφ5=27,85/23,8=1,17; cosφ5=0,65;
tgφ6=39,2/26,4=1,48; cosφ6=0,56;
tgφ7=62,38/27,81=2,24; cosφ7=0,34;
tgφ8=52,15/4457=1,17; cosφ8=0,65;
tgφ9=37,95/32,44=1,17; cosφ9=0,65;
tgφ10=15,36/13,13=1,17; cosφ10=0,65;
tgφ11=2,42/1,4=1,73; cosφ11=0,5;
Определение коэффициента максимума активной мощности m и эффективного
числа приёмников nэф
; (2.2)
(2.3)
m1=27/5,5=4,9; nэф1=7,26;
m2=25/7,5=3,33; nэф2=5,8;
m3=57/27=2,11; nэф3=2,95;
m4=75/75=1; nэф4=6;
m5=35/35=1; nэф5=8;
m6=21,2/3=7,07; nэф6=17,26;
m7=75/1,5=50; nэф7=8,32;
m8=45/21,2=2,12; nэф8=11,65;
m9=21,2/21,2=1; nэф9=18;
m10=22/1,5=14,67; nэф10=4,77;
m11=3/0,5=6; nэф11=6,67;
Определение расчетных нагрузок группы ЭП
Ррi=kмi·Рсмi, (2.4)
Qp=Qсм, (2.5)
где Ррi
- активная расчётная нагрузка, кВт;
kм
-коэффициент
максимума активной мощности, табл.14.1 [10].
Qp - реактивная расчётная нагрузка, кВар.
Рр1=1,8·30,45=54,81 кВт;
Рр2=1,51·34,75=52,47 кВт;
Рр3=2,86·16,44=19,23 кВт;
Рр4=2,64·38,25=100,98 кВт;
Рр5=2,31·23,8=54,98 кВт;
Рр6=1,7·26,4=44,88 кВт;
Рр7=2,72·27,81=75,65 кВт;
Рр8=2,24·44,57=99,85 кВт;
Рр9=1,7·32,44=55,14 кВт;
Рр10=2,21·13,12=29,01 кВт;
Рр11=2,48·1,4=3,27 кВт;
Определение полной расчетной мощности Sр
, (2.6)
Определение расчетного тока Iр
, (2.7)
3. Расчёт
системы электрического освещения
.1
Светотехнический расчёт
Выбор источников света
По технологическому процессу производства завода ОАО«ТПЗ» изделий в
производственных помещениях цеха нормируемая освещенность требуется только для
проходов и над рабочим полем технологического оборудования.
Для освещения промышленных помещений применяются люминесцентные лампы при
уровнях освещённости более 50 лк, при освещённости менее 50 лк применяются
лампы накаливания.
Для общего освещения помещений цеха №2 в качестве основного источником
света применяем люминесцентные лампы.
Выбор вида и системы освещения
Рабочее освещение предназначено для создания во всех точках рабочих
поверхностей нормальных условий видения при выполнении работ. Освещённость во
всех точках должна быть не ниже нормированной, а пульсация светового потока не
должна превышать её допустимого значения.
Для удобства эксплуатации применяем дежурное освещение, которое служит для
создания определённых условий видения при периодическом контроле состояния
работающего в автоматическом режиме оборудования, а также в проходах, при
входах в помещение и т.п. Принимаем, что дежурное освещение создаёт 20% от
нормированной рабочей освещённости.
Эвакуационное аварийное освещение производственного цеха не монтируется,
т.к. количество одновременно работающих на этаже составляет < 50 чел.
Т.к. цех №2 имеет участки, требующие больший уровень освещенности, то
применяем систему комбинированного освещения, которая обеспечивает
одновременное действие общего и местного освещения на рабочих поверхностях,
требующих повышенной освещённости, а на остальных площадях помещения - только
общего равномерного освещения. Принимаем, что в производственном помещении
отсутствует естественная освещённость. Поэтому общее освещение в системе
комбинированного должно создавать на рабочих поверхностях 20% всей нормы
освещённости.
Выбор нормированной освещенности
Нормированная освещенность - это наименьшая допустимая освещенность в
"наихудших" точках рабочей поверхности перед очередной чисткой
светильников.
Принимаем по табл.61.25 [17] нормированную освещённость помещений цеха и
сводим в светотехническую ведомость:
Выбор типа светильников
Все помещения цеха №2, кроме венткамер камер и электрощитовой, имеют
класс взрывоопасности и пожароопасности относятся к нормальным, поэтому
выбираем степень защиты светильников IP - 2x табл.12.9 [18]. Для помещений
венткамер и электрощитовой степень защиты светильников IP - 5х табл.12.9 [18].
По каталогу выбираем светильники для освещения помещений и сводим все
данные в светотехническую ведомость.
Расчет размещения светильников в помещении прессового участка на
отм.+7,200
Определение расчётной высоты hp
hp= h - hc - hp.n, (3.1)
где hp - расчётная высота, м;
h -
высота помещения, м;
hс - расстояние от перекрытия до
светильника, м;
hр.n - высота расчётной поверхности над
полом, м.
hp=6,9 - 3,2 - 0,8 =2,9 м
Определение расстояния между светильниками
Принимаем La=2,98
м, Lb=6 м.
Определение расстояния между стеной и крайними светильниками
l=0,5L (3.2)
Определение числа светильников в ряду
Na=a/La, (3.3)
где а - ширина помещения, м.
Na=18/2,98=6
Nb=b/Lb, (3.4)
где b - длина помещения, м.
Nb=60/6=10
Расчёт и выбор мощности источников света для помещения прессового участка
по методу использования светового потока
Определение индекса помещения i
(3.5)
По
табл. 3.1 [19] принимаем значение коэффициента использования η=0,67.
Определение
количества ламп N
(3.6)
где S - площадь помещения, м2;
k -
коэффициент запаса, табл.29 [19]
z -
коэффициент минимальной освещённости, табл.33 [19];
Fил - световой поток лампы.
3.1.1
Определение общей мощности установки Робщ
Робщ=Р∙N. (3.7)
где Р - мощность одной лампы, Вт.
Робщ= 450∙58=26100 кВт
Аналогичные расчёты выполняем для остальных помещений и результаты сводим
в светотехническую ведомость.
В бытовых помещениях, комнате мастера и комнате отдыха предусматриваем
необходимое количество штепсельных розеток со степенью защиты IP 20.
3.1.2 Выбор
напряжения и источников питания
Источником питания сетей освещения является комплектная трансформаторная
подстанция, расположенная в пристройке к цеху №2.
Для обеспечения надёжности освещения и равномерного распределения
нагрузки по секциям присоединение щитков освещения осуществляется к разным
секциям шин.
Напряжение питания осветительной и розеточной сети 220 В.
.1.3 Выбор
мест ввода и установки щитков
Осветительные щитки располагаем по два на каждом этаже для уменьшения
длины групповых сетей освещения.
Управление светильниками осуществляем при помощи выключателей, вынесенных
для удобства к входам в помещение цеха. При этом для удобства эксплуатации для
включения/отключения дежурного освещения применяем отдельный выключатель.
Светильники для дежурного освещения выбираем из числа светильников рабочего
освещения.
Питание щитков освещения осуществляется от различных секций ТП цеха.
3.1.4 Компоновка
осветительной сети
Для питания светильников дежурного освещения предусматриваем по отдельной
группе на каждом щите освещения. Принимаем, что каждая группа питает 4 лампы
дежурного освещения мощностью 250 Вт.
Для питания люминесцентных ламп выделяем по одной группе на каждом щитке.
Светильники с лампами ДРЛ распределяем по группам щитков.
В бытовых помещениях предусматриваем наличие штепсельных розеток на
напряжение 220 В. Количество штепсельных розеток определяем исходя из размеров
помещения: по одной на каждые 10 м2. Мощность розеток принимаем
равной 600 Вт.
3.1.5
Определение расчётных параметров осветительных щитков
Ррi=1,1∙Рустi∙kc + ni∙P (3.8)
где Ррi
- расчётная мощность одного щитка, кВт;
Рустi
- установленная мощность одного щитка, Вт;
kc -
коэффициент спроса, kc=0,85;
ni - количество штепсельных розеток, питаемых от щитка;
Р - мощность одной штепсельной розетки, Вт.
(3.9)
где Ipi - расчётный ток щитка, А;
Uном - номинальное напряжение сети, В;
cosφ - коэффициент мощности, cosφ=0,95.
Таблица
3-1 - Расчётные параметры щитов освещения
|
Наименование щита
|
Установленная мощность, кВт
|
Расчётная мощность, кВт
|
Расчётный ток, А
|
|
ЩО1+ЩО2
|
26,1
|
24,4
|
39,03
|
|
ЩО3+ЩО4
|
29,78
|
27,38
|
43,78
|
|
ЩО5+ЩО6
|
32,33
|
30,23
|
48,34
|
4. Расчёт
мощности трансформатора и выбор подстанции
.1 Расчёт
групп электроприёмников, подсоединённых к секциям I и II
Средняя нагрузка ЭП за наиболее загруженную смену Рсмi, Qсмi
Определение коэффициента использования kи и коэффициента мощности
cosφ
kи1=311,79/1070,93=0,29;
kи2=173,13/1029,59=0,17;
tgφ1=286/311,79=0,92; cosφ1=0,74;
tgφ2=216,3/173,13=1,25; cosφ2=0,62.
Определение коэффициента максимума активной мощности m и эффективного
числа приёмников nэф
m1=57/1,5=38; nэф1=37,58;
m2=75/0,5=150; nэф2=29,59.
Определение расчетных нагрузок группы ЭП Ррi и Qpi
Рр1=1,19·311,9=371,16 кВт;
Рр2=1,46·173,13=252,77 кВт;
Qp1=1,1·286=314,6
кВар;
Qp2=1,1·216,3=237,93
кВар.
Определение полной расчетной мощности Sрi
Определение расчетного тока Ipi
.2 Расчёт
мощности трансформатора и выбор трансформаторной подстанции
(4.1)
где kc - коэффициент спроса, табл.5 [2];
n -
число трансформаторов, n=2;
cosφ - условный средневзвешенный
коэффициент мощности, табл.5 [2].
Принимаем
трансформатор ТМ-1000/10 с техническими характеристиками: UномВН=10 кВ; UномНН=0,4
кВ; ΔРхх=2,45 кВт; ΔРкз=11 кВт; uкз=5,5%; iхх=1,4%.
Исходя
из данных расчёта полной нагрузки цеха №2, выбираем комплектную
трансформаторную подстанцию 2КТПНУ-1000/10/0,4-0,3-У1 с двумя силовыми
трансформаторами типа ТМ-1000/10 и оборудование распределительного устройства
на 10 кВ, которые устанавливаются в пристройке к главному корпусу цеха.
Двухтрансформаторная КТП состоит из устройства высокого напряжения (УВН),
силового трансформатора и распределительного устройства низкого напряжения
(РУНН). Высоковольтное устройство РУ 10 кВ комплектуется из камер заводского
изготовления серии КСО-386А. РУНН состоит из вводного щита ЩО70-2А, для
распределения электроэнергии к шинопроводам применяются камеры ЩО70-1А.
5. Выбор
сечений проводов и жил кабелей силовых приемников электроэнергии
.1 Прокладка
кабельных линий
Общая информация
Работы по прокладке новых силовых кабелей выполняют по проекту, а для
действующих кабельных линий при капитальных или аварийных ремонтах - по
технической документации эксплуатирующей организации.
Кабели можно прокладывать непосредственно в земле (траншеях), воде,
воздухе, в производственных помещениях, в кабельных и специальных сооружениях.
Сечение жил прокладываемой кабельной линии должно выбираться по участку
трассы с худшими условиями охлаждения.
Подземные сооружения, предназначенные для общего размещения силовых и контрольных
кабельных линий, линий связи, водопровода и теплопроводов, называются
коллекторами; их применяют на магистральных городских проездах и на территории
больших заводов.
Разновидностью коллекторов являются внутриквартальные коллекторы,
сооружаемые рядом с техническими подпольями жилых и общественных зданий и
предназначенные для прокладки указанных выше коммуникаций внутриквартального
значения, совместно с газопроводами низкого давления. Во внутриквартальных
коллекторах допускается прокладка силовых кабелей напряжением до 10 кВ, а в
технических подпольях - до 1 кВ.
Подземные замкнутые сооружения, предназначенные для размещения только
силовых и контрольных кабельных линий, называются туннелями; их используют для
вывода кабелей с территорий центров питания, пропуска кабелей по магистралям
города и на территориях крупных промышленных предприятий. Подземные непроходные
сооружения, предназначенные для прокладки только кабелей, называются каналами;
их применяют внутри производственных помещений, на территориях подстанций и
промышленных предприятий для небольших потоков кабельных линий и сравнительно
небольшой протяженности трассы.
Для вертикальной прокладки кабелей в зданиях или подземных выработках в
местах перехода их в коллекторы и туннели глубокого заложения и другие
кабельные сооружения используют кабельные шахты.
Для прокладки небольшого количества кабелей в центрах питания (в целях их
рационального выпуска) в конструкции здания распределительного устройства
используют кабельные подвалы или кабельные этажи.
Подземные кабельные сооружения, выполненные из труб (асбестоцементные,
бетонные и др.) и колодцев, называются кабельными блоками; их применяют в
местах пересечений с железнодорожными путями, трубными коммуникациями, с
улицами, проездами и площадями в условиях чрезвычайной стесненности по трассе.
Кабельные колодцы применяют также для осуществления подводных кабельных
переходов при усовершенствованных конструкциях набережных рек.
План трассы кабельной линии разрабатывают на геодезической основе
(геодезическом плане), где нанесены все существующие подземные и надземные
сооружения, красные линии, черные и красные отметки планировки. Трассу
кабельной линии выбирают с учетом наименьшего расхода кабеля.
При выборе трасс кабельных линий и производстве работ по прокладке
кабелей необходимо руководствоваться следующими основными положениями:
На территориях подстанций и распределительных устройств кабельные линии
могут быть проложены в земле, каналах и трубах, а на территориях центров
питания (в количестве более 20) - также и в туннелях.
На территориях промышленных предприятий кабельные линии прокладывают в
земле (траншеях), туннелях или блоках, а также в каналах со съемными крышками
или плитами.
В городах и поселках кабельные линии следует, как правило, прокладывать в
земле (траншеях) по непроезжей части улиц (под тротуарами), по дворам и полосам
зеленых насаждений в виде газонов с кустарниковыми посадками.
Прокладка кабелей через улицы, проезды и дороги с усовершенствованными
покрытиями, а также через трамвайные и железнодорожные пути без разрытия
траншей может осуществляться скрытыми переходами, выполняемыми методами
горизонтального бурения и продавливания (проколы) с одновременной прокладкой в
земле трубопроводов для кабелей. При этом в месте пересечения должны быть заложены
в необходимом количестве резервные трубы на случай ремонта кабелей.
При пересечении кабельными линиями улиц, площадей, въездов для
автотранспорта во дворы и гаражи прокладку кабелей должны производить в трубах.
Таким же способом должны быть защищены кабели в местах пересечения ручьев, их
пойм и канав.
При прокладке кабелей параллельно железным дорогам их, как правило,
располагают вне зоны отчуждения.
При пересечении кабельными линиями железных и автомобильных дорог кабели
прокладывают в туннелях, блоках и трубах по всей ширине зоны отчуждения.
При пересечении тупиковых дорог промышленных назначений с малой
интенсивностью движения, а также специальных путей кабели, как правило,
прокладывают непосредственно в земле.
При пересечении кабельными линиями других кабелей необходимо, чтобы
кабели связи располагались выше силовых кабелей, а силовые кабели высшего
напряжения прокладывают под кабелями низшего напряжения.
Параллельная прокладка силовых кабелей над и под трубопроводами в
вертикальной плоскости не допускается.
При прокладке кабельных линий в районах вечной мерзлоты следует учитывать
явления, связанные с вечной мерзлотой.
Внутри зданий кабельные линии прокладывают по конструкциям зданий
(открыто или в коробах и трубах), в каналах, блоках, туннелях, а также в
трубах, проложенных в полах, перекрытиях и фундаментах машин.
Состояние кабелей перед прокладкой проверяют на барабанах наружным
осмотром. Повреждённый кабель не прокладывают.
Кабельные линии выполняют таким образом, чтобы в условиях эксплуатации были
исключены аварии и браки в работе, вызываемые повреждениями кабелей.
К наиболее распространенным причинам повреждений кабелей относятся
следующие :
• воздействие высоких температур (возникновение электрической дуги в
соседних кабелях, теплоизлучение от различного рода источников тепла, в том
числе солнечного);
• коррозия металлических оболочек кабелей блуждающими токами и
агрессивными грунтами;
• механические повреждения в результате: недопустимых изгибов, вибрации;
превышения допустимой наибольшей разности уровней между высшей и низшей точками
расположения кабеля по трассе; опасных механических напряжений вдоль оси
кабелей от неправильного выбора конструкции (например, кабель с ленточной
броней вместо плоской, недостаточной компенсации температурных изменений
вследствие укладки без запаса по длине (змейкой); несоблюдения температурных
режимов при прокладке кабелей и др.
К началу работ по монтажу кабельных линий должны быть полностью закончены
строительные работы по сооружению туннелей, каналов, эстакад, колодцев, включая
установку закладных частей для крепления кабельных конструкций, а участки стен
зданий, по которым проходят кабельные трассы, и потолки над ними должны быть
отделаны. Траншеи и блоки для прокладки кабелей, к началу работ должны быть полностью
подготовлены.
Кабельные сооружения и траншеи до начала работ по монтажу кабельных линий
должны быть приняты руководителем монтажных работ совместно с представителем
эксплуатирующей организации от строительной организации по акту.
Работы по прокладке кабелей должны быть, как правило, механизированы. Для
этого в монтажных организациях рекомендуют создавать специализированные участки
или бригады, оснащенные механизмами и приспособлениями.
Работы по монтажу кабельных линий выполняют специализированные бригады
под контролем мастеров или производителей работ, которые должны иметь
практический опыт по прокладке и монтажу кабельных линий.
Для выполнения работ по прокладке кабельных линий монтажной организацией
должна быть представлена эксплуатирующей организации следующая техническая
документация:
• план трассы и необходимые разрезы с привязкой к существующим
сооружениям с указанием всех пересечений кабелей с другими коммуникациями и
инженерными сооружениями. При прокладке нескольких кабелей в одной траншее в плане
должна быть указана ширина траншеи. На плане должны быть нанесены места
установки стопорных и разделительных муфт. При прокладке в коллекторах, блоках,
каналах и на полках в подстанциях должны быть указаны поперечные разрезы;
• продольный профиль участков кабельных линий при их пересечении с
инженерными сооружениями и естественными препятствиями с указанием мер защиты
прокладываемого кабеля от механических, химических, тепловых и других внешних
воздействий;
• рабочие чертежи конструкций для прокладки и защиты кабелей, если эти
конструкции серийно не выпускаются заводами промышленности - при прокладке
кабелей в сооружениях и помещениях;
• перечень мероприятий по герметизации вводов в помещения или рабочие
чертежи вводов в тех случаях, когда к герметизации предъявляют особые
требования;
• кабельный журнал;
• материалы согласования трассы кабельной линии с землепользователем и
организациями, чьи подземные коммуникации расположены в зоне прокладки кабелей;
• пояснительная записка к проекту:
• материалы согласования защиты кабелей от электрической и почвенной
коррозии в случае необходимости;
• проект производства работ для сложных условий выполнения работ при
прокладке кабелей.
Непосредственно перед прокладкой монтажная организация должна представить
в эксплуатирующую организацию проект трассы для её уточнения, так как за период
проектирования до прокладки могли произойти изменения на территории, по которой
необходимо прокладывать кабель.
Уточняют:
• места, содержащие вещества, разрушительно действующие на металлическую
оболочку кабелей;
• участки, на которых надлежит отвести трассу или защитить кабели от
механических, тепловых и химических воздействий;
• места пересечений и сближений с проложенными кабелями и различными
инженерными сооружениями.
Эксплуатирующей организации предоставляется право давать предложения об
изменении кабельных трасс и других дополнительных требований для дальнейшего
внесения изменений в проект представителями проектной организации.
Кроме перечисленных специальных сооружений кабели прокладывают открыто по
стенам зданий, в трубах и в коллекторах - подземных сооружениях,
предназначенных для размещения в них одновременно кабельных линий, линий связи
и других коммуникаций (водопровода, теплопровода и т. д.).
Трассу кабельной линии выбирают с учетом наименьшего расхода кабеля и
обеспечения его сохранности от механических повреждений, коррозии и вибрации.
При размещении кабелей следует избегать перекрещивания их друг с другом, с
трубопроводами, кабелями связи и пр.
Кабельные линии выполняют таким образом, чтобы в процессе монтажа и
эксплуатации было исключено возникновение в них опасных механических напряжений
и повреждений. Для этого необходимо выполнять следующие условия:
• кабели, проложенные горизонтально по конструкциям, стенам, перекрытиям,
должны быть жестко закреплены в конечных точках, непосредственно у концевых
заделок (муфт), с обеих сторон у поворотов и у соединительных муфт;
• кабели, проложенные вертикально по конструкциям и стенам, должны быть
закреплены с таким расчетом, чтобы была предотвращена деформация оболочек и не
нарушались соединения жил в муфтах под действием собственной массы кабеля;
• конструкции, на которые укладывают небронированные кабели, должны быть
выполнены так, чтобы была исключена возможность механического повреждения
оболочек кабелей; в местах жесткого крепления кабелей должны быть проложены
эластичные прокладки;
• кабели (в том числе бронированные), расположенные в местах, где
возможны механические повреждения (передвижение автотранспорта, механизмов и
грузов, доступность для посторонних лиц), должны быть защищены по высоте на 2 м
от уровня пола или земли;
• кабели должны быть проложены на расстоянии от нагретых поверхностей,
предотвращающем нагрев кабелей выше допустимого, при этом должна быть
предусмотрена защита кабелей от прорыва горячих веществ в местах установки
задвижек и фланцевых соединений;
• защита кабельных линий от блуждающих токов и почвенной коррозии должна
удовлетворять требованиям ПУЭ, СНиП 111-23-76 и требованиям ГОСТ 9.015-74;
• кабельные сооружения и конструкции, на которые укладывают кабели,
должны быть выполнены из несгораемых материалов;
• запрещается устройство в кабельных сооружениях каких-либо временных
устройств, хранение в них материала и оборудования. При необходимости прокладки
временных кабелей, их прокладывают с соблюдением всех требований, предъявляемых
к кабельным линиям для постоянной эксплуатации;
• открытая прокладка кабельных линий должна производиться с учетом
теплоизлучений от различного рода источников тепла и действия солнечных лучей.
При выборе способов прокладки силовых кабельных линий напряжением до 10
кВ следует руководствоваться следующим:
• при прокладке кабелей в земле рекомендуется в одной траншее
прокладывать не более шести кабелей. При большем числе кабелей рекомендуется
прокладывать их в отдельных траншеях с расстоянием между группами кабелей не
менее 0,5 м или прокладывать кабели в туннелях, каналах и по эстакадам;
• прокладка кабелей в туннелях рекомендуется при числе кабелей, идущих в
одном направлении, более 20;
• прокладка кабелей в блоках применяется в условиях большой стесненности
по трассе, в местах пересечений с железнодорожными путями, проездами и т. п.;
• на территориях электростанций и крупных промышленных предприятий
кабельные линии должны быть проложены, как правило, в туннелях, каналах, блоках
и по эстакадам. Прокладка силовых кабелей в траншеях рекомендуется к удаленным
вспомогательным объектам (склады топлива, мастерские) при числе не более 4;
• на территориях подстанций и распределительных устройств кабельные линии
прокладывают в туннелях, каналах, трубах, в земле (в траншеях), в надземных
железобетонных лотках и по эстакадам;
• в городах и поселках одиночные кабельные линии следует, как правило,
прокладывать в земле (в траншеях) по непроезжей части улиц (под тротуарами) и
дворам;
• по улицам и площадям с большим насыщением подземных коммуникаций
прокладку кабельных линии при числе 10 и более в потоке рекомендуется
производить в коллекторах и туннелях;
• при пересечении улиц и площадей с усовершенствованными покрытиями и с
интенсивным движением транспорта кабельные линии необходимо прокладывать в
блоках или трубах;
• при сооружении кабельных линий в районах распространения вечно-мерзлых
грунтов следует учитывать физические явления, связанные с природой вечной
мерзлоты: мучнистый грунт, морозобойные трещины, оползни и т. д. В зависимости
от местных условий кабели можно прокладывать в земле (в траншеях) ниже
деятельного слоя, в деятельном слое в сухих хорошо дренирующих грунтах, в
искусственных насыпях из крупноскелетных сухих привозных грунтов, в лотках на
поверхности земли, на эстакадах. Рекомендуется совместная прокладка кабелей с
трубопроводами теплофикации, водопровода, канализации и специальных сооружениях
(коллекторах);
• внутри зданий кабельные линии можно прокладывать непосредственно по
конструкциям (как открыто, так и в коробах или трубах), в каналах, блоках,
туннелях, трубах, проложенных в полах и перекрытиях, а также по фундаментам
машин;
• в четырехпроводных сетях применяют четырехжильные кабели. Прокладка
нулевых жил отдельно от фазных не допускается;
• допускается применение трёхжильных силовых кабелей в алюминиевой
оболочке на номинальное напряжение 1 кВ с использованием их оболочки в качестве
нулевого провода (четвертой жилы) в четырехпроводных сетях переменного тока
(осветительных, силовых и смешанных) с заземлённой нейтралью, за исключением
установок со взрывоопасной средой, установок, в которых при нормальных условиях
эксплуатации ток в нулевом проводе составляет более 75% допустимого по нагреву
расчетного тока фазного провода, установок для питания блочных и местных щитков
на электростанциях;
• для четырехпроводных электрических сетей напряжением до 1 кВ следует
применять кабели с пластмассовой изоляцией и пластмассовой оболочкой с
четвертой (нулевой) жилой, сечение которой равно сечению основных жил кабеля, а
также кабели с пластмассовой изоляцией жил с алюминиевой оболочкой и с
четвертой жилой, сечение которой равно половине сечения основных жил кабеля.
Допускается применение силовых четырехжильных кабелей с пластмассовой
изоляцией и пластмассовой оболочкой с нулевой жилой меньшего сечения в тех
случаях, когда проектная организация расчетами подтверждает возможность
применения нулевой жилы меньшего сечения, чем основная жила.
.2 Выбор
сечений проводов и жил кабелей силовых приемников электроэнергии
(5.1)
где Рномi
- установленная мощность ЭП, кВт;
U-
напряжение питающей сети, кВ;
-
номинальный КПД;
cosφ - номинальный коэффициент мощности электроприёмника.
Iпуск=λn·Iном, (5.2)
где λn - кратность пускового тока, λn=6.
Таблица 3-2 - Основные параметры электроприёмников цеха
|
№ ЭП
|
Pном, кВт
|
ηном
|
cosφ
|
Iном, А
|
Iпуск, А
|
|
1
|
2
|
3
|
4
|
5
|
9
|
|
1,2,
|
5,5
|
0,88
|
0,89
|
10,66954
|
64,01725
|
|
3
|
6
|
0,88
|
0,89
|
11,6395
|
69,837
|
|
4,5,6,10
|
27
|
0,81
|
0,73
|
69,37638
|
416,2583
|
|
7,8,9
|
7,5
|
0,77
|
0,71
|
20,84337
|
125,0602
|
|
11
|
57
|
0,925
|
0,92
|
101,7656
|
610,5937
|
|
12, 13, 14, 15, 16
|
25
|
0,91
|
0,89
|
46,89909
|
281,3945
|
|
17-24
|
17,5
|
0,865
|
17
|
1,808126
|
10,84876
|
|
25,26
|
12
|
0,875
|
0,86
|
24,22872
|
145,3723
|
|
27,67
|
3
|
0,865
|
0,89
|
5,920671
|
35,52402
|
|
28, 29, 30
|
20
|
0,895
|
0,88
|
38,58158
|
231,4895
|
|
31-54
|
21,2
|
0,895
|
0,88
|
40,89648
|
245,3789
|
|
55
|
32
|
0,91
|
0,91
|
58,71147
|
352,2688
|
|
56, 57, 65,
|
1,5
|
0,87
|
0,86
|
3,045996
|
18,27598
|
|
58
|
75
|
0,925
|
0,92
|
133,9021
|
803,4128
|
|
59, 60, 61
|
45
|
0,92
|
0,9
|
82,57298
|
495,4379
|
|
62, 63
|
14,5
|
0,885
|
0,87
|
28,61286
|
171,6772
|
|
64
|
22
|
0,905
|
0,9
|
41,03811
|
246,2287
|
|
66
|
2
|
0,83
|
0,89
|
4,113558
|
24,68135
|
|
68-77
|
0,5
|
0,72
|
0,76
|
1,388288
|
8,32973
|
Таблица 3-3 - Выбор сечений по длительно-допустимым токам
|
№ ЭП
|
Марка провода
|
S, мм
|
Iном, А
|
Iдоп, А
|
|
1
|
2
|
3
|
5
|
9
|
|
1,2
|
ВВГ
|
5×2,5
|
10,66954
|
25
|
|
3
|
ВВГ
|
5×2,5
|
11,6395
|
25
|
|
4,5,6,10
|
ВВГ
|
5×25
|
69,37638
|
90
|
|
7,8,9
|
ВВГ
|
5×4
|
20,84337
|
30
|
|
11
|
ВВГ
|
5×50
|
101,7656
|
150
|
|
12, 13, 14, 15, 16
|
ВВГ
|
5×16
|
46,89909
|
75
|
|
17-24
|
ВВГ
|
5×16
|
1,808126
|
25
|
|
25,26
|
ВВГ
|
5×4
|
24,22872
|
30
|
|
27,67
|
ВВГ
|
5×2,5
|
5,920671
|
25
|
|
28, 29, 30
|
ВВГ
|
5×8
|
38,58158
|
46
|
|
31-54
|
ВВГ
|
5×16
|
40,89648
|
75
|
|
55
|
ВВГ
|
5×16
|
58,71147
|
75
|
|
56, 57, 65
|
ВВГ
|
5×2,5
|
3,045996
|
25
|
|
58
|
ВВГ
|
5×70
|
133,9021
|
185
|
|
59, 60, 61
|
ВВГ
|
5×35
|
82,57298
|
115
|
|
62, 63
|
ВВГ
|
5×6
|
28,61286
|
40
|
|
64
|
ВВГ
|
5×16
|
41,03811
|
75
|
|
66
|
ВВГ
|
5×2,5
|
4,113558
|
25
|
|
68-77
|
ВВГ
|
5×2,5
|
1,388288
|
25
|
|
РП-1
|
ВВГ
|
5×35
|
95,92925
|
115
|
|
РП-2
|
ВВГ
|
5×35
|
90,86046
|
115
|
|
РП-3
|
ВВГ
|
5×25
|
77,18362
|
90
|
|
РП-4
|
ВВГ
|
5×95
|
167,8152
|
225
|
|
РП-5
|
ВВГ
|
5×35
|
93,63369
|
115
|
|
РП-6
|
ВВГ
|
5×35
|
90,54082
|
115
|
|
РП-7
|
ВВГ
|
5×70
|
148,9768
|
185
|
|
РП-8
|
ВВГ
|
5×95
|
171,1468
|
225
|
|
РП-9
|
ВВГ
|
5×50
|
101,7025
|
150
|
|
РП-10
|
ВВГ
|
5×16
|
49,8654
|
75
|
|
РП-11
|
ВВГ
|
5×4
|
6,431841
|
30
|
|
ЩО-1
|
ВВГ
|
5×16
|
41,35019
|
75
|
|
ЩО-2
|
ВВГ
|
5×16
|
45,13145
|
75
|
|
ЩО-3
|
ВВГ
|
5×16
|
51,22036
|
75
|
5.3 Расчёт
потерь напряжения в сети
Проверка на потерю напряжения ΔU производится по формуле:
(5.3)
где r0 - активное удельное сопротивление провода, Ом/км;
х0 - реактивное удельное сопротивление провода, Ом/км.
Согласно
ПУЭ для силовых электросетей отклонение напряжения от номинального должно
составить не более
. Проверку на потери напряжения выполняем только для
распределительных пунктов и щитов освещения.
Таблица
3-1 - Потери напряжения в линиях
|
№ ЭП
|
Марка провода
|
S, мм2
|
r0, Ом/км
|
х0, Ом/км
|
L, км
|
Р, кВт
|
ΔU, %
|
|
РП-1
|
ВВГ
|
0,53
|
0,088
|
10
|
98
|
0,20035
|
|
РП-2
|
ВВГ
|
5×35
|
0,53
|
0,088
|
30
|
72,5
|
0,53647
|
|
РП-3
|
ВВГ
|
5×35
|
0,53
|
0,088
|
45
|
84
|
0,60781
|
|
РП-4
|
ВВГ
|
5×95
|
0,195
|
0,081
|
60
|
225
|
1,14014
|
|
РП-5
|
ВВГ
|
5×35
|
0,53
|
0,088
|
66
|
140
|
1,70479
|
|
РП-6
|
ВВГ
|
5×35
|
0,53
|
0,088
|
17,2
|
172,6
|
0,4241
|
|
РП-7
|
ВВГ
|
5×70
|
0,265
|
0,082
|
19,2
|
312,2
|
0,23515
|
|
РП-8
|
ВВГ
|
5×95
|
0,195
|
0,081
|
43,2
|
262,2
|
0,95662
|
|
РП-9
|
ВВГ
|
5×50
|
0,37
|
0,085
|
55,2
|
190,8
|
1,44117
|
|
РП-10
|
ВВГ
|
5×16
|
1,16
|
0,095
|
73,2
|
52,5
|
1,42402
|
|
РП-11
|
ВВГ
|
5×4
|
4,63
|
0,107
|
85,2
|
10
|
0,70771
|
|
ЩО-1
|
ВВГ
|
5×16
|
1,16
|
0,095
|
10
|
26,1
|
0,19361
|
|
ЩО-2
|
ВВГ
|
5×16
|
1,16
|
0,095
|
17
|
29,28
|
0,36924
|
|
ЩО-3
|
ВВГ
|
5×16
|
1,16
|
0,095
|
25,2
|
32,33
|
0,60436
|
6. Расчёт
компенсации реактивной мощности и выбор компенсирующего устройства цеха №2
Реактивная нагрузка индуктивного характера в сетях 6-10 кВ и не
скомпенсированная в сетях низкого напряжения 0,4…0,96 кВ определяется
реактивной нагрузкой Qвн с учётом потери реактивной мощности
в силовых трансформаторах на стороне 6…10 кВ.
Определяем наибольшую реактивную мощность, которая может быть передана из
сети 10 кВ в сеть напряжением до 1 кВ для покрытия оставшейся не
скомпенсированной мощности в сети до 1 кВ без увеличения числа установленных
трансформаторов.
Определение расчётной реактивной мощности КУ Qк.р
Qк.р=α·Pм·(tgφ - tgφк), (6.1)
где α - коэффициент, учитывающий повышение cosφ, α=0,9;
tgφ, tgφк - коэффициенты реактивной мощности до и после
компенсации;
Рм - активная расчетная мощность на НН без КУ, кВт.
Принимаем cosφк=0,95
Qк.р=0,9·900,03·(0,56 - 0,33)=186,31 кВар
Принимаем для установки на стороне НН две конденсаторные установки
модульной конструкции с автоматическим регулятором коэффициента мощности и
модулями типа М-УКМ 0,4-100-3.
Определение фактического значения cosφф
(6.2)
где Qк.уст - значение мощности выбранного КУ,
кВар.
cosφф=cos(arctg φф)=0,96
Определение
потерь активной мощности в трансформаторе ΔРт
ΔРт=0,02·Sр, (6.3)
ΔРт= 0,02·949,44=18,99кВт
Определение потерь реактивной мощности в трансформаторе ΔQт
ΔQт=0,1·Sр, (6.4)
ΔQт=0,1·949,99=94,94 кВар
Определение полных потерь мощности в трансформаторе ΔSт
(6.5)
Определение коэффициента загрузки трансформатора kз
где
Sр.нн -
расчётная нагрузка трансформаторов с стороне НН с учётом компенсации реактивной
мощности, кВ·А.
7. Выбор
электрооборудования и электрических аппаратов системы электроснабжения
.1 Выбор
автоматических выключателей
Для защиты электрооборудования выбираем автоматические выключатели:
(7.1)
где Iпуск - пусковой ток двигателя, А;
Iном - номинальный ток двигателя, А.
(7.2)
где Iрас - ток расцепителя, А.
Таблица
7-1 - Характеристика автоматических выключателей
|
№ ЭП
|
Iном, А
|
Iпуск, А
|
Iрас, А
|
Тип выключателя
|
Iном, А
выключателя
|
|
1
|
2
|
3
|
4
|
5
|
6
|
|
1,2
|
10,67
|
64,02
|
80,02
|
S243C16
|
16
|
|
3
|
11,64
|
69,84
|
87,3
|
S243C16
|
16
|
|
4,5,6,10
|
69,38
|
416,26
|
520,32
|
S243C80
|
80
|
|
7,8,9
|
20,84
|
125,06
|
156,33
|
S243C25
|
25
|
|
11
|
101,77
|
610,59
|
763,24
|
S263C120
|
120
|
|
12, 13, 14, 15, 16
|
46,9
|
281,39
|
351,74
|
S263C120
|
50
|
|
17-24
|
1,81
|
10,85
|
13,56
|
S243C6
|
6
|
|
25,26
|
24,23
|
145,37
|
181,72
|
S243C25
|
25
|
|
27,67
|
5,92
|
35,52
|
44,40
|
S243C10
|
10
|
|
28, 29, 30
|
38,58
|
231,49
|
289,36
|
S243C40
|
40
|
|
31-54
|
40,9
|
245,38
|
306,72
|
S243C50
|
50
|
|
55
|
58,71
|
352,27
|
440,34
|
S243C63
|
63
|
|
56, 57, 65
|
3,05
|
18,28
|
22,85
|
S243C6
|
6
|
|
58
|
133,90
|
803,41
|
1004,27
|
S263C150
|
150
|
|
59, 60, 61
|
82,57
|
495,44
|
619,3
|
S243C100
|
100
|
|
62, 63
|
28,61
|
171,68
|
214,6
|
S243C32
|
32
|
|
64, 116
|
41,04
|
246,23
|
307,79
|
S243C50
|
50
|
|
66
|
4,11
|
24,68
|
30,85
|
S243C6
|
6
|
|
68-77
|
1,39
|
8,33
|
10,41
|
S243C6
|
6
|
|
РП-1
|
95,93
|
|
|
S243C100
|
100
|
|
РП-2
|
90,86
|
|
|
S243C100
|
100
|
|
РП-3
|
77,18
|
|
|
S263C120
|
120
|
|
РП-4
|
167,82
|
|
|
S263C200
|
200
|
|
РП-5
|
93,64
|
|
|
S243C100
|
100
|
|
РП-6
|
90,54
|
|
|
S243C100
|
100
|
|
РП-7
|
148,98
|
|
|
S263C150
|
150
|
|
РП-8
|
171,15
|
|
|
S263C200
|
200
|
|
РП-9
|
101,70
|
|
|
S263C120
|
120
|
|
РП-10
|
49,87
|
|
|
S243C63
|
63
|
|
РП-11
|
6,43
|
|
|
S243C25
|
25
|
|
ЩО-1
|
41,35
|
|
|
S243C50
|
50
|
|
ЩО-2
|
45,13
|
|
|
S243C50
|
50
|
|
ЩО-3
|
51,22
|
|
|
S243C63
|
63
|
7.2 Выбор
пунктов распределения (РП)
Выбираем для нечастых оперативных коммутаций распределительных
электрических цепей и прямых пусков асинхронных двигателей пункты
распределительные серии ПР11А, предназначенные для распределения
электроэнергии, защиты электроустановок напряжением до 660 В переменного тока
частотой 50 и 60 Гц при перегрузках и коротких замыканиях.
Таблица
7.2 - Выбор пунктов распределения
|
№ п/п
|
Тип пункта
|
Количество отходящих линий
|
Iном, А
вводного автомата
|
|
РП-1
|
ПР 8804А-1021
|
8
|
100
|
|
РП-2
|
ПР8804А-1021
|
8
|
100
|
|
РП-3
|
ПР8804А-1010
|
4
|
120
|
|
РП-4
|
ПР8804А-1009
|
4
|
200
|
|
РП-5
|
ПР8804А-1020
|
100
|
|
РП-6
|
ПР8501А-1049
|
12
|
100
|
|
РП-7
|
ПР8501А-1049
|
12
|
150
|
|
РП-8
|
ПР8501А-1049
|
12
|
200
|
|
РП-9
|
ПР8501А-1049
|
12
|
120
|
|
РП-10
|
ПР8804А-1007
|
4
|
63
|
|
РП-11
|
ПР8501А-1049
|
12
|
25
|
8. Расчет
токов КЗ
Коротким замыканием (КЗ) называют всякое случайное или преднамеренное, не
предусмотренное нормальным режимом работы, электрическое соединение различных
точек электроустановки между собой или землей, при котором токи в ветвях
электроустановки резко возрастают, превышая наибольший допустимый ток
продолжительного режима.
Расчет тока КЗ для наиболее мощного электроприёмника
Для системы:
(8.1)
Наружная
КЛ АСБ 3×95
L=125 м:
х0=0,06
табл.1.9.5,
Ом, (8.2)
(8.3)
где γ - удельная проводимость материала, м/(Ом·мм2);
S -
сечение проводника, мм2.
Ом/км,
Ом. (8.4)
Сопротивление приводится к НН:
(8.5)
где Uнн - напряжение на стороне низкого
напряжения, кВ;
Uвн - напряжение на стороне высокого
напряжения, кВ.
мОм,
(8.6)
мОм.
Для
трансформатора:
RT=2
мОм; ХТ=8,5 мОм; Zm=8,8 мОм; Zm(1)=81 мОм.
Для
автоматов:
SF R1SF=0,08
мОм; Х1SF=0,08 мОм; RП1SF=0,1
мОм;
SF1 RSF1=0,4 мОм;
ХSF1=0,5 мОм;
RПSF1=0,6 мОм;
SF RSF=5,5 мОм; ХSF=4,5
мОм; RПSF=1,3 мОм.
Для
кабельных линий:
КЛ1:
r0=0,195
мОм; x0=0,081
мОм.
Так
как в схеме 3 параллельных кабелей, то
мОм;
мОм;
мОм.
КЛ2;
r0=1,16
мОм; x0=0,095
мОм.
мОм;
мОм.
Рисунок
8.1 - Схема ЭСН расчётная, замещения, замещения упрощённая
Упрощается схема замещения, вычисляются эквивалентные сопротивления на
участках между точками КЗ:
,
мОм,
,
мОм,
мОм,
мОм,
Вычисляем
сопротивление до каждой точки КЗ:
мОм,
мОм,
мОм,
мОм,
мОм,
мОм,
мОм,
мОм,
мОм.
;
;
.
Определим
коэффициенты Ку и q:
Определим
токи КЗ:
кА,
кА,
кА.
IУК1=q1·Iк1(3)=12,04
кА,
IУК2=q2·Iк2(3)=5,61
кА,
IУК3=q3·Iк3(3)=4,72
кА.
кА,
кА,
кА.
Хnкл1=х0n·Lкл1=0,081·0,06=0,005 мОм;
Rnкл1=2r0n·Lкл1=2 ·0,195 ·0,06=0,023 мОм;
Хnкл2=х0n·Lкл2=0,095·0,01=0,0095 мОм;
Rnкл2=2r0n·Lкл2=2 ·1,16 ·0,01=0,023 мОм;
Zn1=15 мОм;
Rn2=Rc1+Rnкл1+Rc2=15+0,023+20=35,023
мОм;
Xn2=Xnкл1
=0,0095 мОм;
Zn2=35,023 мОм;
Rn3=Rnкл2+Rn2=0,023+35,023=35,046
мОм;
Xn2=Xnкл2+Хn2=0,0095+0,00095=0,01 мОм;
Zn3=35,046 мОм;
Расчет тока КЗ для наиболее удаленной точки
Для системы:
А
Наружная
КЛ АСБГ 4×95/450:
х0=0,081
табл.1.9.5,
Ом,
Ом/км,
Ом.
Сопротивление приводится к НН:
мОм,
мОм.
Для
трансформатора:
RT=2
мОм; ХТ=8,5 мОм; Zm=8,8 мОм; Zm(1)=81 мОм
Для
автоматов
SF R1SF=0,08
мОм; Х1SF=0,08 мОм; RП1SF=0,1
мОм;
SF1 RSF1=0,7 мОм;
ХSF1=0,7 мОм;
RПSF1=0,7 мОм;
SF RSF=2,4 мОм; ХSF=2 мОм; RПSF=1
мОм.
Для
кабельных линий:
КЛ1:
r0=0,261
мОм; x0=0,08
мОм.
Так
как в схеме 3 параллельных кабелей, то
мОм;
мОм;
мОм.
КЛ2;
r0=0,74
мОм; x0=0,091
мОм.
мОм;
мОм.
Рисунок
8.2 - Схема ЭСН расчётная, замещения, замещения упрощённая
Упрощается схема замещения, вычисляются эквивалентные сопротивления на
участках между точками КЗ:
,
мОм,
,
мОм,
мОм,
мОм,
Вычисляем
сопротивление до каждой точки КЗ:
мОм,
мОм,
мОм,
мОм,
мОм,
мОм,
мОм,
мОм,
мОм.
;
;
.
Определим
коэффициенты Ку и q:
Определим
токи КЗ:
кА,
кА,
кА.
IУК1=q1·Iк1(3)=11,62
кА,
IУК2=q2·Iк2(3)=5,46
кА,
IУК3=q3·Iк3(3)=5,01
кА.
кА,
кА,
кА.
Хnкл1=х0n·Lкл1=0,08·0,055=0,004 мОм;
Rnкл1=2r0n·Lкл1=2 ·0,08 ·0,055=0,029 мОм;
Хnкл2=х0n·Lкл2=0,091·0,021=0,002 мОм;
Rnкл2=2r0n·Lкл2=2 ·0,74 ·0,021=0,031 мОм;
Zn1=15 мОм;
Rn2=Rc1+Rnкл1+Rc2=15+0,029+20=35,029
мОм;
Xn2=Xnкл1 =0,004
мОм;
Zn2=35,03 мОм;
Rn3=Rnкл2+Rn2=0,031+35,029=35,06
мОм;
Xn2=Xnкл2+Хn2=0,002+0,004=0,006 мОм;
Zn3=35,06 мОм;
Таблица
8-1 - Сводная ведомость токов КЗ
|
Точка КЗ
|
Rк, мОм
|
Xк, мОм
|
Zк, мОм
|
Rк/Xк
|
q
|
Zп, мОм
|
I к(1), кА
|
I к(2), кА
|
I к(3), кА
|
iу кА
|
|
К1
|
17,877
|
8,74
|
19,9
|
2,04
|
1
|
15
|
5,24
|
10,11
|
11,62
|
16,38
|
|
К2
|
38,43
|
8,95
|
39,46
|
4,3
|
1
|
35
|
3,55
|
5,1
|
5,86
|
8,26
|
|
К1
|
17,877
|
8,74
|
19,9
|
2,05
|
1
|
15
|
5,24
|
10,11
|
11,62
|
16,38
|
|
К2
|
41,305
|
9,444
|
42,38
|
4,37
|
1
|
96,11
|
3,55
|
4,75
|
5,46
|
7,7
|
|
К3
|
44,725
|
11,446
|
46,17
|
3,91
|
1
|
130,42
|
3,54
|
4,06
|
5,01
|
7,06
|
9. Внешнее
электроснабжение
.1
Конструкция РУ ВН и НН ГПП
На ГПП РУ напряжением 110 кВ, как правило выполняют открытыми и лишь для
производств с сильным загрязнением воздуха при отсутствии свободной территории,
при очень низких температурах окружающей среды или в случае особых требований -
закрытыми.
Применение ОРУ уменьшает стоимость и сокращает сроки сооружения
подстанций. При замене и демонтаже электрооборудования ОРУ по сравнению с
закрытыми более маневроспособны. Однако обслуживание ОРУ несколько сложнее, чем
закрытых. Кроме того, для наружной установки требуется более дорогое
электрооборудование, способное выдержать прямые атмосферные воздействия.
Для опорных конструкций в ОРУ используется железобетон или металл,
ошиновка выполняется чаще всего гибким проводом, который с помощью гирлянд
изоляторов крепится к опорам. Контактные соединения осуществляются сваркой или
на прессуемых зажимах. Изоляция (опорная, подвесная, оттяжная) применяется
нормальная или грозостойкая.
Конструкция ОРУ должна обеспечивать свободный доступ к трансформатору при
эксплуатации. При ремонте трансформатора с массой выемной части 10 т и более на
ПС следует предусмотреть установку грузоподъёмных устройств для поднятия
выемной части из кожуха. Необходимо также обеспечить возможность перевозки
трансформатора к месту ремонта.
Соединение трансформатора с РУ низшего напряжения выполняется обычно
гибким проводом или пакетом шин (токопроводом). При схеме блока
"трансформатор - токопровод" токопровод присоединяют непосредственно
к выводам трансформатора и тогда РУ низшего напряжения отсутствует.
РУ НН выполнены комплектным распределительным устройством открытое
(КРУН). Количество отходящих фидеров РУ- 10 кВ принято равным колличеству
потребителей питающихся от данной ПС.
В КРУН аппараты и приборы управления, учёта и защиты, чувствительные к
низкой температуре, должны иметь колпаки и обогрев, включаемый при температуре
ниже допускаемой для этих аппаратов. Приводы выключателей также должны иметь
обогрев при температуре окружающего воздуха t=5 °C и ниже. Оборудование и аппаратура должны и
иметь защиту от атмосферных и коммутационных перенапряжений. На подстанциях
должны заземляться все нетоковедущие части.
На напряжении 110 кВ принимаем схему «два блока с отделителями и
короткозамыкателями и автоматической перемычкой со стороны линии».
На напряжении 10 кВ - схема «одна, одиночная секционированная
выключателем система шин».
РУ - 110 кВ выполнено открытым, компоновка типовая.
РУ - 10 кВ состоит из шкафов КРУН. Количество отходящих фидеров в РУ - 10
кВ принято равным количеству потребителей питающихся от данной ПС.
Для питания нагрузок ПС (обогрев приводов отделителей, обогрев шкафов
КРУН, освещение ПС) к установке приняты два трансформатора собственных нужд
мощностью по 40 кВ×А каждый типа ТМ-40/0,4 кВ. Трансформаторы собственных нужд
устанавливаются в шкафу серии К-59У1.
В коридоре обслуживания шкафов КРУН устанавливается распределительный
щиток 0,4 кВ, от которого запитываются все нагрузки ПС. Щиток поставляется
комплектно с КРУН - 10 кВ.
.2 Расчёт
токов КЗ на понизительных подстанциях и выбор коммутационно-защитной аппаратуры
Принимаем мощность системы S=¥, тогда сопротивление системы хс=0;
удельное сопротивление линии х=0,4 Ом/км; l=15км; uк=14% для трансформатора ГПП; Sт=10МВА.
Принимаем за базисные величины Sб=100 MBA; Uб=110 кВ на стороне высокого напряжения.
Для точки К1. Суммарное базисное сопротивление линии
Ом.
Базисный
ток
кА
Для
данной системы действующее значение установившегося тока КЗ равно его
периодической составляющей и начальному значению тока КЗ
кА
Значение
ударного тока
кА
Мощность
КЗ в точке К1
МВА
Для
точки К2.
Суммарное
сопротивление 2-х трансформаторов
Ом
Суммарное
сопротивление трансформаторов и линии
Ом
Значение
базисного тока
кА
Рисунок
9.1 Схема для расчётов токов КЗ на подстанциях
а
- расчетная схема; б - схема замещения.
Ток
КЗ в точке К1
кА
Значение
ударного тока
кА
где
ky=l,8 выбираем по рисунку [7].
Выбираем
в соответствии с рассчитанными токами КЗ коммутационно-защитную аппаратуру
(отделители и короткозамыкатели).
Отделитель
ОД(3)-1а(1б)(2)-110/630-номинальное напряжение-110 кВ, номинальный ток - 630
кА.
Короткозамыкатель
КРН- 110У1- номинальное напряжение-110 кВ, амплитуда предельного сквозного
тока-42 кA>kyI"=17,46 кА.
10.
Автоматизация системы электроснабжения
.1 Релейная
защита в системе электроснабжения завода
Назначение, требования и принципы релейной зашиты. Система
электроснабжения промышленного предприятия образована множеством
электроустановок, в процессе эксплуатации которых по различным причинам могут
возникать повреждения, грозящие аварией, порчей дорогостоящего оборудования и
материалов или расстройством сложного технологического процесса. Развитие
повреждения может быть приостановлено быстрым отключением поврежденного участка
при помощи специальных устройств релейной защиты. Наиболее опасный вид
повреждений - короткие замыкания, при которых релейная защита действует на
отключение. Таким образом основное назначение релейной защиты состоит в быстром
отключении поврежденного участка от неповрежденной части электрической сети.
Кроме повреждений могут иметь место ненормальные режимы работы:
перегрузка, падение напряжения, понижение частоты, выделение газа или понижение
уровня масла в расширителе трансформатора, замыкание на землю одной фазы в сети
с изолированной нейтралью и др. При этом нет необходимости в немедленном
отключении оборудования, так как эти явления не представляют непосредственной
опасности для оборудования и могут самоустраняться. В этом случае
преждевременное отключение может принести вред, а не пользу. Второе назначение
релейной защиты - воспринимать нарушения нормальных режимов работы оборудования,
давать предупредительнй сигнал обслуживающему персоналу или производить
отключение оборудования с выдержкой времени.
Требования к релейной защите: быстродействие; селективность или
избирательность; чувствительность; надежность.
Быстродействие - быстрое отключение поврежденного участка,
предотвращающее или уменьшающее размеры повреждения и расстройство работы
потребителей неповрежденной части. В основном время отключения находится в
пределах 0,06-0,15 с, когда напряжение понижается в неповрежденной части до
60-70 % от номинального допускается 0,5-1 с (рис. 10.1).
Селективность или избирательность - способность защиты определять место
повреждения и отключать только ближайший к нему выключатель. Если по какой-либо
причине ближайший к месту повреждения участок не отключится, то должен
отключиться выключатель следующий к источнику питания.
Рисунок 10.1. Пояснение принципа быстродействия релейной защиты при
коротком замыкании (КЗ)
Различают защиты с абсолютной селективностью, относительной и
неселективные.
Защиты с абсолютной селективностью срабатывают на участке, где они
установлены. Обычно принцип их действия основан на сравнении комплексов токов
или их фаз в начале и конце защищаемого участка. К таким защитам относится,
например, дифференциальная (быстродействующая защита). Защиты с относительной
селективностью срабатывают при коротком замыкании как на защищаемом участке,
так и на предыдущем (защиты с выдержкой времени: токовые, токовые направленные,
дистанционные). Неселективные защиты предусматривают специально.
Принцип селективности релейной защиты можно пояснить на примере схемы
рис. 10.2. При коротком замыкании в точке К1 должен отключиться с помощью
средств релейной защиты выключатель Q2, что обеспечивает селективность. Если одновременно с Q2 релейная защита отключит и Q4 (теряет питание двигатель Ml), а то и Q5, то теряют питание все двигатели. Такое действие и
называется неселективным.
Рисунок 10.2 Пояснение принципа селективности.
Чувствительность - способность релейной защиты реагировать на возможные
повреждения при минимальных режимах работы системы электроснабжения
(минимальное изменение воздействующей величины) характеризуется коэффициентом
чувствительности:
,
где
- минимальное значение тока двухфазного короткого
замыкания в конце защищаемого участка; Iсз - ток срабатывания защиты.
Для
токовых отсечек Кч должен быть больше 2, для максимальных токовых
защит Кч > 1,5.
Надежность
- свойство правильно и безотказно действовать на отключение поврежденного
оборудования (обеспечивается возможно более простой схемой).
Рисунок.
10.3. Релейная характеристика
Рисунок
10.4. Ток срабатывания защиты и ток срабатывания реле.
Хотя
электроника получает широкое распространение, релейная защита, основанная на
электромеханических реле остается основной на многих предприятиях. Проходная
характеристика такой релейной защиты - релейная, элементы которой имеют
различные свойства при одной основной характеристике (рис. 10.3). При
достижении параметра Хвх значения Хвх.сраб реле
срабатывает, замыкает свои контакты и появляется параметр Хвых. С
уменьшением Хвх до значения Хвозвр реле возвращается в
исходное состояние.
Рассмотрим
параметры релейной защиты на примере токовой (рис. 10.4):
)
ток срабатывания защиты Iсз -
минимальный ток в фазах защищаемого элемента, при котором защита срабатывает;
)
ток срабатывания реле Iср - ток,
проходящий в реле при первичном токе, соответствующем току срабатывания защиты;
)
ток возврата защиты Iвз -
максимальный ток в фазах защищаемого элемента, при котором защита приходит в
исходное состояние;
)
ток возврата реле Iвр
(соответствующий Iвз) - ток,
протекающий через реле;
)
коэффициент возврата kв= Iвр/Iср = Iвз/Iсз ≈
0,8 - 0,85.
Реле
классифицируют:
по
функциональному назначению: измерительные (реле тока, напряжения, мощности,
частоты и др.), логические (реле времени, промежуточные, указательные);
по
способу включения в первичную цепь (рис. 10.5): первичные и вторичные;
по
способу воздействия (рис. 10.6): прямого и косвенного действия;
по
принципу действия: максимальное (срабатывание при увеличении контролируемого
параметра) и минимальное (срабатывание - при уменьшении).
Преимущество
первичных реле заключается в простоте монтажа; недостаток - предназначение для
цепей с большими токами. Вторичное реле подключают через трансформатор тока
(напряжения). Стандартный вторичный ток 5 А (реже 1 А). Преимущество вторичных
реле - применение стандартных катушек и безопасность работы; недостаток -
наличие трансформаторов тока, влияющих на точность работы реле.
У
реле прямого действия в нормальном состоянии сила натяжения пружины Fп (2) больше силы притяжения электромагнита FЭ и выключатель Q замкнут. При
коротком замыкании в точке К1 ток в первичной и, соответственно, во вторичной
цепях увеличивается до значения тока срабатывания реле. Реле 1 срабатывает при
значении Fэ > Fп, сердечник втягивается и освобождается защелка 3, Q
отключается под действием пружины 4. Реле встраивается непосредственно в привод
выключателя и применяется в токовых защитах сетей до 35 кВ.

Рисунок
10.5. Способы включения реле
У
реле косвенного действия в нормальном состоянии сила натяжения пружины Fn больше силы притяжения электромагнита Fэ, и выключатель Q замкнут. При
коротком замыкании в точке К1 ток увеличивается и соответственно возрастает ток
через катушку реле КА. Реле замыкает свой контакт КА1. Получает питание
электромагнит отключения YAT и сила притяжения электромагнита становится больше
силы натяжения пружины FЭ > Fn. Размыкается защелка 3. Пружиной 4 выключатель отключается. При
отключении выключателя по механической связи отключатся нормально замкнутые
контакты.
Рисунок
10.6. Реле прямого (а) и косвенного действия (б)

Рисунок
10.7 Принцип действия электромагнитных реле:
а
- с втягивающимся якорем; б - с поворотным якорем; в - с поперечным движением
якоря: 1 - электромагнит; 2 - стальной подвижный якорь магнита; 3 - подвижный
контакт на якоре; 4 - неподвижный контакт; 5 - противодействующая пружина; 6 -
упор.
В
цепи электромагнита SQ и разорвут цепь YAT.
Электромагнит отключится. Недостаток схемы - необходимость в оперативном токе;
достоинство - потребление меньшей мощности реле и, следовательно, более точная
работа. Схема применяется в релейной защите сетей 110 кВ и выше.
Существует
три основные разновидности электромагнитных реле (рис. 10.7). Проходящий по
обмотке электромагнита ток создает намагничивающую силу, под действием которой
возникает магнитный поток Ф, замыкающийся через сердечник электромагнита, воздушный
зазор и якорь, который намагничивается и в результате этого притягивается к
полюсу электромагнита. Переместившись в конечное положение, якорь своим
подвижным контактом 3 замыкает неподвижные контакты реле 4. Начальное положение
якоря ограничивается упором 6.
10.2 Релейная
защита силовых трансформаторов
Релейная защита трансформаторов должна обеспечивать отключение силового
трансформатора при междуфазных и витковых КЗ, а также при замыканиях на землю
или подавать сигнал о ненормальном режиме работы трансформатора (перегрузке
трансформатора, повышении температуры масла и т.д.).
Виды защит, устанавливаемых на трансформаторе, определяются его
мощностью, назначением, местом установки и другими требованиями, предъявляемыми
к режиму эксплуатации.
При срабатывании защиты поврежденного трансформатора подается импульс на
включение короткозамыкателя с помощью специального привода типа ШПК.
Короткозамыкатель включается и создает на выводах высшего напряжения
трансформатора искусственное КЗ, под действием которого защиты, установленные
на питающей подстанции, срабатывают и отключают линию. После отключения линии
отделитель поврежденного трансформатора отключается, отсоединяя трансформатор
от линии. Вслед за этим линия может быть включена вновь устройством АПВ.
Рассмотрим действие защит, установленных на трансформаторе:
дифференциальной продольной;
от сверхтоков;
от перегрузки.
При установке дифференциальной защиты на трансформаторах необходимо
учитывать следующее: первичные и вторичные обмотки силовых трансформаторов
имеют разные схемы соединения ( U/D, D/U и др.) поэтому их токи имеют сдвиг по фазе. Для его
компенсации вторичные обмотки трансформаторов тока должны иметь схему
соединения, обратную схеме соединения обмоток защищаемого трансформатора.
Защита от внутренних повреждений в трансформаторе. Эта защита
осуществляется газовым реле ПГЗ-22. Повреждения внутри трансформатора,
вызванные витковыми и междуфазными замыканиями, сопровождаются выделением газа
и понижением уровня масла. При всех видах повреждений газы, образовавшиеся в
результате разложения масла и изоляции проводов, направляются через реле,
установленное на трубопроводе, соединяющем бак трансформатора с расширителем, и
вытесняют масло из камеры реле в расширитель.
Максимально-токовая защита от сверхтоков при внешних коротких замыканиях
осуществляется двумя реле прямого действия типа РТВ. Ток срабатывания
максимально-токовой защиты отстраивается от максимального тока нагрузки в
наиболее тяжелом режиме работы трансформатора (при самозапуске
электродвигателей, допускаемой аварийной перегрузке и др.).
Защита от перегрузки осуществляются одним реле РТ-80 с ограниченно
зависимой характеристикой. Защита действует на сигнал или отключение с
выдержкой времени, которая на ступень больше выдержки времени
максимально-токовой защиты, применяемой от сверхтоков при внешних КЗ.
Выберем
типы защит и определим токи срабатывания защиты и реле трансформатора типа
ТМ-1000-10/0.4, основные данные которого следующие: Sт.ном = 1000 кВА; U1т.ном/U2т.ном
= 10/0,4 кВ; ик = 5,5 %;
группа соединения обмоток Y0/
- 11.
Защита
от междуфазных КЗ
Для
защиты трансформатора от междуфазных КЗ в обмотках и на их выводах используем
дифференциальную защиту, выполненную на дифференциальном реле типа РНТ-565.
Определение
первичных номинальных токов трансформатора на стороне ВН и НН
Коэффициенты
трансформации трансформаторов тока со стороны ВН и НН выбираем равными
K1вн=100/5 и K1вн=1500/5. Трансформаторы тока со стороны ВН соединены в
треугольник, а со стороны НН - в звезду.
Определение
вторичных токов в плечах защиты на стороне ВН и НН
Определение
тока небаланса Iнб.расч
Iнб.расч= I’нб+I”нб+I’’’нб,
где
I’нб - составляющая тока небаланса, обусловленная
погрешностью трансформаторов тока, А;”нб - составляющая
тока небаланса, вызванная регулированием напряжения на трансформаторе, А;”’нб
- составляющая тока небаланса, вызванная неточностью установки на реле
расчетного числа витков для одной из сторон трансформатора, А.
Поскольку
значение I”’нб в начале расчета неизвестно, ток небаланса
определяем по двум первым составляющим.
нб.расч= I’нб+I”нб
Iнб.расч=87+87=174
А;
Определяем
ток срабатывания защиты по следующим условиям:
отстройка
от тока небаланса
с.з
kотс Iнб.расч= 1,3´174 = 226,2 А;
отстройка
от бросков тока намагничивания, который имеет место при включении
ненагруженного трансформатора под напряжение и при восстановлении напряжения
после отключения внешнего КЗ
с.з
kI2 т.ном=1,15´146,8 = 168,82
А .
Принимаем
наибольшее значение Iс.з из этих условий, Iс.з = 226,2 А.
Находим
ток срабатывания реле на основной стороне 0,4 кВ с наибольшим вторичным током в
плече защиты, исходя из тока срабатывания защиты, пересчитанного на сторону 0,4
кВ:
.
Определяем
расчетное число витков обмотки реле для стороны 0,4 кВ:
,
где
Fс.р. - МДС срабатывания реле РТН-565.
Определяем
число витков обмотки реле для неосновной стороны трансформатора, исходя из
равенства МДС в реле при номинальных вторичных токах:

Принимаем
Wнеосн. = 18.
В
случае несовпадения расчетного числа витков Wнеосн.расч. с принятым находят
составляющую тока небаланса /"’нб , после чего определяют Iсз с учетом I"’нб:
Если
найденное значение Iс.з. с учетом I’’’нб больше Iс.з. без учета I’’’нб, то
расчет по определению чисел витков обмоток реле повторяют заново (до тех пор,
пока последующее значение Iс.з будет меньше предыдущего Iс.з).
Определяем
коэффициент чувствительности защиты при двухфазном КЗ на выводах 6 кВ
трансформатора по выражению

Защита
обладает достаточной чувствительностью.
Проверяем
ТТ, установленные со стороны 10 кВ, на 10 % погрешность. Сопротивление
вторичной нагрузки ТТ при трехфазном КЗ
н = 3(Rпр+ Zp)
+ Rпер = 3 (0,24 + 0,985) + 0,1 = 3,775 Ом;пр=
Ом;p=
Ом.
Кратность
тока находим по выражению
.
По
кривым 10 % погрешности для трансформаторов тока ТВТ-110 находим, что Zн.доп
=15 Ом, т.е. Zн.доп
Zн.
Определяем
токи срабатывания защиты и реле МТЗ:
с.з.=
А.с.р.=
А.
Округляем
Iс.р. до 21 А, тогда Iс.з =242 А; выбираем реле тока РТ-40/50.
Выбираем
реле времени МТЗ трансформатора ЭВ-133, имеющее диапазон уставок 0,5-9,0 с.
11. Охрана
труда и окружающей среды
.1 Анализ
вредных производственных факторов при эксплуатации оборудования
На территории рассматриваемого цеха №2 основными потребителями
электроэнергии являются асинхронные двигатели различного технологического
оборудования: станков, прессов вулканизации, Вальцев и т.д. Эти двигатели
переменного тока с промышленной частотой 50 Гц, напряжением 380 В.
Электроснабжение всего предприятия осуществляется от двух подстанций №218
и №41 городских электрических сетей, внутризаводским напряжением 6 кВ.
Электроснабжение всех цехов осуществляется от двух центральных
распределительных подстанций напряжением 6 кВ, рассматриваемого цеха №2
предполагается осуществлять от ТП-2 находящейся в пристройке к цеху.
Учитывая условия среды, электрооборудование цеха выполняется со степенью
защиты IP44 согласно ПУЭ п. 5.3.17.
Вредными для здоровья физическими факторами на заводе «ТПЗ» являются:
повышенная или пониженная температура воздуха рабочей зоны в термическом
отделении;
высокие влажность и скорость движения воздуха в транспортном цехе;
повышенные уровни шума, вибраций, ультразвука и различных излучений
(тепловых, ионизирующих, инфракрасных и др.) в производственном корпусе;
загазованность воздуха рабочей зоны в гаражах и транспортном цехе;
Для обеспечения благоприятных условий работы людей параметры микроклимата
t, j, v и Q нормируются по СанПиН 2.2.43.548-96.
В рассматриваемых помещениях зафиксированы следующие значения:
температура воздуха в теплое время года +23°С, холодное - +19 °С;
относительная влажность - 50 %;
скорость движения воздуха составляет » 0,2 м/с.
В производственных помещениях цеха работы по тяжести можно отнести к
категории IIа, следовательно, полученные значения
параметров микроклимата допустимы.
Естественная вентиляция применяется при больших тепловыделениях в
помещениях, а также при незначительных выделениях вредных веществ. Естественная
вентиляция разделяется на проветривание (открывание форточек) и аэрацию
(специально организованную вентиляцию). Регулируя открывание фрамуг, в
зависимости от периода года, направления и силы ветра, обеспечивается требуемый
воздухообмен в производственном цехе. В зимний период открываются верхние
фрамуги для того, чтобы холодный воздух, опускаясь, согревался и поступал в
рабочую зону помещения тёплым.
Воздух производственных помещений практически не бывает чистым, так как
многие технологические процессы сопровождаются выделением в воздух вредных
веществ. Поэтому естественной вентиляции не достаточно и в цехе установлена
приточно-вытяжная вентиляция.
.2 Анализ и устранение потенциальных опасностей в цехе
Опасность поражения электрическим током
По ГОСТ 12.1.019.ССБТ «Электробезопасность. Общие требования» и ГОСТ
12.1.030.ССБТ «Электробезопасность. Защитное заземление, зануление.»
исследуемый цех по степени опасности поражения человека электрическим током
выделяется в класс с повышенной опасностью, так как в нем имеются следующие
уровни опасности:
. высокая температура воздуха (t=350С и выше);
. возможность одновременного прикосновения человека к
металлоконструкциям, имеющим соединения с землей и металлическим корпусом
электрооборудования.
Величина малого напряжения для питания ручного электрифицированного
инструмента и переносных светильников до 12 В. Рабочее напряжение оборудования
- 6 кВ и 0,4 кВ. Освещение 220 В.
Допустимое напряжение на корпусе «пробитого» электрооборудования при
переменном токе с частотой 50 Гц при продолжительности воздействия на человека
более 1 секунды составляет 20 В.
При номинальном рабочем напряжении от 42 В до 380 В применяем защитное
заземление с изолированной нейтралью.
Электромагнитные поля, статическое электричество
По ГОСТ 12.1.018.ССБТ «Электростатическая искробезопасность. Общие
требования», ГОСТ 12.1.006.ССБТ «Электромагнитные поля радиочастот. Допустимые
уровни на рабочих местах» к источникам электромагнитных излучений относятся:
естественные - электромагнитное поле Земли, радиоизлучение солнца, атмосферное
электричество; искусственные - трансформаторы, воздушные линии электропередачи,
кабельные линии, электрооборудование и др.
При воздействии на человека оказывают отрицательное влияние в виде
нагрева, поляризации и ионизации клеток тела человека. Живая ткань в
электрическом отношении представляет собой проводник и поэтому практически
прозрачна для магнитного поля. Магнитное поле индуцирует в теле человека
вихревые токи.
Опасность действия магнитных полей зависит от напряженности и продолжительности
воздействия. При длительном систематическом пребывании человека в магнитном
поле могут возникать изменения функционального состояния нервной, сердечно -
сосудистой, иммунной систем. Имеется вероятность развития лейкозов и
злокачественных новообразований центральной нервной системы.
При частоте 60 Гц напряженность электрического поля составляет 500 В/м;
напряженность магнитного поля составляет 50 А/м; энергетическая нагрузка,
создаваемая электрическим полем, составляет 20000
; энергетическая нагрузка,
создаваемая магнитным полем, составляет 200
.
Защиту работающих от неблагоприятного влияния электромагнитных полей
осуществляем с помощью технических мероприятий, таких как: ограждение и
обозначение соответствующими предупредительными знаками зон с уровнями влияния
электромагнитных полей, превышающие предельно - допустимые; заземление всех
изолированных от земли крупногабаритных объектов, находящихся в зоне влияния
электрических полей, к которым возможно прикосновение работающих; дистанционное
управление; экранирование рабочего места.
Опасность атмосферного электричества
Среднегодовая продолжительность гроз для местности, где расположена
электростанция, составляет 20 часов. Основным нормативным документом является
«Инструкция по устройству молниезащиты зданий, сооружений и промышленных
коммуникаций» Приказ Минэнерго России от 30.06.2003 №280 СО от 30.06.2003 №153
- 34.21.122 - 2003, категория молниезащиты III. В качестве молниезащиты
применяем молниеотвод. В состав молниеотвода входят: молниеприемники,
непосредственно воспринимающие удар молнии; тоководы, по которым ток,
возникающий при ударе молнии, передается на землю; заземлители, обеспечивающие
растекание тока в земле.
Опасность травмирования движущимися частями машин и механизмов
Незащищенные подвижные элементы производственного оборудования повышают
вероятность травмирования. К такому оборудованию в исследуемом цехе относят:
вращающиеся части станков, вентиляторов, дымососов, питателей, конвейеров и
т.д.
По ГОСТ 12.2.061.ССБТ «Оборудование производственное. Общие требования к
рабочим местам» и ГОСТ 12.2.062.ССБТ «Оборудование производственное. Ограждения
защитные» вращающиеся соединительные муфты оборудования закрываются защитным
кожухом, который крепится на болтовом соединении к раме.
Все движущиеся части конвейеров ограждаем конструкцией из металлической
сетки, листов и другого прочного материала. Конструкция ограждения удаляется
только с помощью инструмента.
Тепловые выделения и опасность термического ожога
При постоянной повышенной температуре воздуха в цехе предусматриваем
согласно ГОСТ 12.4.123 ССБТ «Коллективные средства защиты от инфракрасных
излучений», СанПиН 2.2.4.548 - 96 «Санитарные правила и нормы. Гигиенические
требования к микроклимату производственных помещений» следующие защиты
работников от воздействия теплового излучения: экранирование теплопоглощающими
экранами - это металлические щиты и заслонки, футерованные огнеупорным
кирпичом, асбестовые щиты на металлической раме; воздушное душирование рабочих
мест; организация рационального отдыха.
Применение всех вышеперечисленных мероприятий ведет к тому, что лучистое
тепло на работающих не превышает нормы, равной 140
.
Для предотвращения термического ожога всё оборудование с высокой
температурой необходимо обмуровывать теплоизоляционным материалом, а
трубопроводы - покрывать изоляцией. Температура на поверхности изоляции при
температуре окружающего воздуха 250 С не превышает 450С.
В целях обезопасить персонал от термического ожога применяем: окраску
трубопроводов; условные обозначения; соответствующие надписи.
Безопасность эксплуатации грузоподъемных машин и механизмов
В цехе №2 для монтажа и демонтажа оборудования устанавливаем один мостовой
кран грузоподъемностью 125/20 тонн.
По ПБ 10 - 382 - 00 основными факторами, определяющими опасность
грузоподъемных кранов для людей и оборудования при производстве подъемно -
транспортных работ, являются:
движущие детали и механизмы;
перемещаемые грузы;
работа на высоте;
возможность поражения электрическим током;
наличие опасной зоны в местах, над которыми происходит перемещение
грузов, а также вблизи движущихся частей машин и оборудования;
Основой безопасности эксплуатации грузоподъемных кранов являются
систематические обследования (проверки) состояния промышленной безопасности при
эксплуатации подъемных сооружений.
Обследованию подвергаем в целом все предприятие, при этом каждое
подъемное сооружение осматривается не реже одного раза в 3 года. В связи с
практикой государственной надзорной деятельности предусматриваем три вида
обследования: оперативное, целевое, комплексное.
Места производства погрузочно - разгрузочных работ оборудуем знаками
безопасности, включая проходы и проезды, имеющие достаточное освещение, которое
равномерно, без слепящего действия светильников.
Вибрация
По ГОСТ 12.1.012.ССБТ «Вибрационная безопасность. Общие требования», СН
2.2.4/2.1.8.566 - 96 «Санитарные нормы. Производственная вибрация в помещениях
жилых и общественных зданиях» в помещениях исследуемого цеха имеется общая
технологическая вибрация (общая вибрация третьей категории). К источникам
вибрации относится: станки, конвейеры, вентиляторы и тд.
Систематическое воздействие общей вибрации на человека приводит к стойким
нарушениям опорно - двигательного аппарата, центральной нервной системы,
желудочно - кишечного тракта.
Для снижения вибрации применяем виброизоляцию путем введения упругих
связей между машиной и основанием. Виброизоляторы выполним в виде стальных
пружин, прокладок из резины.
.3 Разработка
автоматической системы оповещения о пожаре
Для построения системы автоматической пожарной сигнализации (АПС) и
системы оповещения о пожаре (СО) помещений использован прибор
приемно-контрольный охранно-пожарный (ППКОП) “Нота” (контролирует 1 шлейф
пожарной сигнализации).
В систему АПС входят:
прибор приемно-контрольный охранно-пожарный (ППКОП) “Нота” (вариант 2 со
встроенным источником резервного электропитания) - 14 шт.;
извещатель пожарный ручной ИПР-3СУ (для ручного пуска АПС и СО) - 1 шт.;
световой оповещатель “Маяк” (для светового оповещения о срабатывании АПС)
- 1 шт.;
звуковой оповещатель “ООПЗ-12” (для оповещения о пожаре) - 2 шт.;
кабельная распределительная сеть, выполняемая кабелем САВ, шнуром ШВВП.
Предусмотрено включение к ППКОП “Нота”:
зон пожарной сигнализации - 7.
АПС оборудуются все помещения в соответствии с НПБ 110-03 (кроме санузлов
и помещений с “мокрым процессом”) независимо от их функционального назначения.
В каждом помещении устанавливаются не менее двух дымовых или тепловых пожарных
извещателей (в зависимости от назначения помещений).
В качестве дымовых пожарных извещателей используются ИПД-3.1.
АПС включает в шлейф не более 10 помещений. Оконечное сопротивления
шлейфа устанавливаются в коробку соединительную типа УК-2П. При срабатывании
шлейфа сигнализации предусмотрено отключение вентсистемы с использованием
релейных выходов.
На путях эвакуации предусматривается установка ручных пожарных
извещателей типа ИПР.
Пожарные извещатели устанавливаются согласно НПБ 88-2001*.
Всё применяемое пожарное оборудование имеет пожарные сертификаты
соответствия и сертификаты пожарной безопасности, и согласно НПБ 88-2001*
и НПБ 57-97 всё оборудование устойчиво к воздействию электромагнитных помех со
степенью жесткости не ниже второй.
Согласно табл. 2 НПБ 104-03 бытовые помещения принадлежат к 1-му типу
систем оповещения. Для 1-го типа систем оповещения (табл. 1 НПБ 104-03)
обязательными являются следующие характеристики:
звуковой способ оповещения (сирены).
Система оповещения о пожаре выполнена с использованием звуковых
оповещателей “ООПЗ-12” и светового оповещателя “Маяк”. Запуск системы
осуществляется от ППКОП “Нота”. При срабатывании АПС включаются звуковые
оповещатели “ООПЗ-12” и световой оповещатель “Маяк”.
Оповещатели устанавливаются согласно НПБ 104-03.
Разводку шлейфа АПС в помещениях предусматривается выполнить кабелем с
медной жилой диаметром 0,5 мм типа САВ 2х0,5, прокладываемым в кабельных
пластмассовых коробах от прибора до извещателей.
Сети светового и звукового оповещения выполняются шнуром ШВВП 2х0,75,
прокладываемым в кабельных пластмассовых коробах от прибора до оповещателей.
Электропитание ППКОП “Нота” осуществляется от вводного электрощита через
автоматический выключатель типа АП-50. От электрощита до места размещения
аппаратуры прокладывается кабель типа ВВГ 2´1,5
Резервное электропитание ППКОП “Сигнал-20”, звуковых оповещателей
“ООПЗ-12”, светового оповещателя “Светлячок” и световых табло “Выход” типа
“Блик-ЗС-12” осуществляется от встроенного источника резервного электропитания.
ППКОП “Нота” снабжен аккумуляторной батарей, обеспечивающей
электропитание приборов АПС при отключении основного питания от сети 220 В, 50
Гц. Емкость аккумуляторной батареи резервного источника питания обеспечивает
работу средств пожарной сигнализации в течении не менее 24 часов в дежурном
режиме и не менее 3 часов в режиме пожара.
Заземление прибора не предусматривается заводом - изготовителем.
.4 Расчёт
заземляющего устройства силового трансформатора и цехового оборудования
Электрооборудование цеха получает питание от внутрицеховой подстанции,
оборудованной двумя понижающими трансформаторами 10/0,4 кВ мощностью 1000 кВ·А.
Сеть 10 кВ имеет изолированную нейтраль, а на стороне 380 В сеть имеет
глухозаземлённую нейтраль. Схема расположения оборудования в цехе показана на
рис. 1. Полы в цехе бетонные. Длина здания 96 м, ширина 30 м.
Анализ опасности поражения людей электрическим током показывает, что в
цехе есть возможность одновременного прикосновения человека к металлическим
корпусам электрооборудования, с одной стороны, и к металлическим частям
соседних станков или трубам центрального отопления, с другой стороны, кроме
этого пол в цехе токопроводящий, поэтому проектируемый цех относится к
помещениям особой опасности. В соответствии с ПУЭ должно быть выполнено
зануление. При этом должно быть выполнено общее заземляющее устройство, которое
соединялось бы с нулевой точкой трансформатора и присоединялось бы к корпусам
электрооборудования.
Для устройства искусственных заземлителей имеются трубы длиной 3 м,
диаметром 50 мм, с толщиной стенки 4 мм, а также стальная полоса сечением 4х20
мм.
Грунт на участке - супесок. Величина удельного сопротивления грунта
неизвестна. Предприятие расположено в третьей климатической зоне.
Рисунок
11.1 - Схема заземления нулевой точки трансформатора и повторного заземления
нулевого провода
1 - трансформатор; 2…27 - электрооборудование; 28 - контур заземления
(зануления), расположенный внутри здания; 29 - заземляющий проводник; 30 -
заземлители (трубы), вертикально вбитые в землю; 31 - полоса, соединяющая
заземлители (горизонтальный заземлитель)
Выбираем нормативное значение сопротивления заземляющего устройства Rнорм.
По ПУЭ наибольшее значение сопротивления Rнорм =4,0 Ом.
Выбор типа и размеров заземлителей с составление схемы их расположения.
В качестве искусственных заземлителей принимаются стальные трубы,
вертикально заглубленные в землю.
Заземляющее устройство принимаем контурное, расположенное на расстоянии
3,5 м от фундамента. В соответствии с размерами здания длина полосы = 280 м.
Уточнение удельного электрического сопротивления грунта.
Уточняем удельное электрическое сопротивление грунта на участке, где
будут установлены заземлители. По табл.2 [1] выбираем приближённое значение ρпр для супеска 300 Ом·м. По табл.3 [1]
принимаем коэффициент сезонности для вертикально установленных заземлителей ψз равным 1,35, а для полосы, соединяющий заземлители, ψn равным 3,5.
где
ρ
- удельное объёмное сопротивление грунта
растеканию тока, Ом·м;
ρпр -
приближённое значение удельного сопротивления грунта, Ом·м;
ψ - коэффициент сезонности.
Расчёт
сопротивления растеканию тока полосы
где
Rг -
сопротивление растеканию тока горизонтально уложенной полосы, Ом;
ρг -
удельное сопротивление грунта растеканию тока для полосы, уложенной горизонтально
в земле, Ом·м;
ψг -
коэффициент сезонности для горизонтальной заземляющей полосы;
L - длина
заземляющей полосы, м;
b - ширина
полосы, м;
t - глубина
заложения полосы, м.
Сравнение
значений Rг и Rнорм
Сопротивление
растеканию тока полосы 9,19 Ом значительно больше нормативного 4,0 Ом, поэтому
продолжаем расчёт контурного заземляющего устройства с вертикально
заглубленными трубами.
Определение
сопротивления растеканию тока одиночного заземлителя Rз
где
Rз -
сопротивление растеканию тока вертикального заземлителя, Ом;
Lз - длина вертикального заземлителя, м;
dз - наружный диаметр заземлителя, м;
tз - глубина заложения заземлителя, м.
tз=tг+Lз/2,
где
tг -
расстояние от поверхности земли до верхнего края заземлителя, м.
tз=0,7+3/2=2,2м.
При
минимальном расстоянии между заземлителями 3 м и отношении
число вертикальных заземлителей:
Lконт/3=280/3=93. Принимаем 92 вертикальных заземлителя.
С
учётом влияния вертикальных заземлителей сопротивление контура полосы Rп.з:
где
Rп.з -
сопротивление растеканию тока соединяющей полосы с учётом влияния заземлителей,
Ом;
ηn - коэффициент
использования полосы, ηn=0,39
табл.5 [1].
Расчет
сопротивления для 92 труб Rз
где
Rз -
сопротивление всех вертикально установленных заземлителей, Ом;
R1 - сопротивление одиночного заземлителя, Ом.
n - число
заземлителей;
ηз -
коэффициент использования вертикальных заземлителей, η3=0,62
табл.6 [1].
Расчёт
общего сопротивления заземляющего устройства Rз.у
где
Rз.у -
общее сопротивление заземляющего устройства, Ом;
Полученное
значение сопротивления заземляющего устройства 3,4 Ом удовлетворяет требованиям
ПУЭ, т.е. не превышает 4,0 Ом.
Заземляющее
устройство выполняется следующим образом. По контуру здания на расстоянии 3,5 м
от фундамента прокапывается траншея глубиной не менее 0,8 м. В траншее через
3,0 м друг от друга забиваются в грунт стальные трубы длиной по 3,0 м, причём
забиваются так, что от дна траншеи остаётся 10 см вершины трубы. Верхние концы
труб свариваются между собой стальной полосой 4х20 мм. Заземляющее устройство в
двух местах (симметрично здания) с помощью стальной полосы сечением 4х20 мм
соединяются с магистральным проводником, проложенным по контуру внутри здания.
К внутреннему контуру заземляющего устройства присоединены корпуса
распределительных шкафов и электрооборудования.
11.5 Расчет вентиляции
Расчет поступлений теплоты и вредных веществ в помещения.
Теплопоступление от людей
Теплопоступление от человека зависит от степени тяжести выполняемой
работы, от температуры окружающей среды, от возраста, пола, одежды.
Для расчета используем табличные данные в которых приведены
теплопоступления для взрослого мужчины. В цехе работают 54 мужчины.
Расчет ведем по формуле:
Л = ∙q∙ n,
где q - полные тепловыделения от одного человека,- количество людей.
Расчет ведем для трех расчетных периодов года:
теплый период:
Л = 64×54= 108,8 Вт = 391,7 кДж/ч
переходный период:
Л =85×54 = 146,2Вт = 526,32кДж/ч
холодный период:
Л = 99×54 = 168,3Вт = 605,88кДж/ч
Теплопоступления от источников искусственного освещения
Определяются по формуле
Qосв = E ∙F ∙qосв ∙осв ,
где Е - освещенность помещения [лк], Е = 200 [лк],- площадь пола
помещения, F = 13,02 м2,
qосв - удельный тепловой поток от
освещения, в зависимости от типа лампы,
qосв = 0,077 Вт/(м2 ×лк) для люминесцентных ламп,
осв = 1 -
доля тепла, поступающего в помещение.
Qосв
= 200 ×13,02 × 0,077× 1 = 200,5 Вт = 721,8 кДж/ч
Теплопоступления от солнечной радиации
Теплопоступления от солнечной радиации необходимо учитывать при значении
t больше или равном 100 С, т. е. в холодный период года оно не
учитывается.
Q1ср=qI0 F0 A0
где F - площадь поверхности остекления, м2 , F = 1,35 м2 ,- коэффициент,
учитывающий вид остекления, А = 1,15 (двойное)
qI0-
удельный тепловой поток, максимальный в течении суток и при отсутствии облаков,
зависит от географической широты, qI0
= 125 ккал/ чм2
Q1ср
= 125 × 1,15 ×1,35× 1,163 = 225,7Вт = 812,5 кДж/ч
Солнечная радиация проникающая через кровлю не учитывается так как
помещение расположено на первом этаже.
Тепловыделения от нагретых поверхностей
Теплопередача через стенки укрытий местных отсосов если известна
температура нагретой поверхности определяется по формуле
QП = α F (tП - tВ)
где F - площадь нагретой поверхности. F=1,2 м2
tП , tВ - температуры нагретой поверхности и воздуха в помещении
α - коэффициент теплоотдачи
ν - скорость движения воздуха, ν=0,2 м/с
QП =5,19×1,2
(25-20)=31,14 Вт = 112,1кДж/ч
Тепловыделения
от электрооборудования
В
помещениях цеха установлены приборы с номинальными мощностями: электрическая
плита мощностью 3800 Вт, холодильник - 300 Вт, СВЧ-печь - 2500 Вт, Станки ~
10000 Вт.
Тепловыделения
от оборудования определяются по формуле:
QОБ = NУ ∙kT ∙kСП ∙ko ∙kз
где kT - коэффициент перехода тепла в
помещение, 0,7; kСП - коэффициент спроса на
электроэнергию, который составляет 0,5; ko - коэффициент одновременности работы
приборов, который равен 0,4; kз - коэффициент загруженности прибора;
NУ - номинальная мощность прибора.
Тепловыделения от всех приборов будут составлять
QОБ
= (3800×0,6 + 300×0,7 +
2500×0,7)×0,5×0,7×0,4 =593 Вт =2137 кДж/ч
Общие избыточные теплопоступления:
ΔQП = QЛ + Qосв + QП + Q1ср +QОБ
Теплый период:
ΔQП = QЛ +QП+Q1ср+QОБ =391,7+ 112,1+812,5+2137=3453 кДж/ч
Переходный период:
ΔQП = QЛ + Qосв + QП +0,5 Q1ср +QОБ =
526,32+721,8+112,1+0,5×
812,5+2137= 3903кДж/ч
Холодный период:
ΔQП = QЛ +Qосв + QП + QОБ=605,88+721,8+112,1+2137 = =3577 кДж/ч
Определение избыточных влагопоступлений.
Поступление влаги в помещение происходит в результате испарения с
поверхности кожи и дыхания людей, испарения со свободной поверхности,
химических реакций
Количество влаги, выделяемой людьми, определяется по формуле:
МЛ = n*q,
где n - количество людей,- количество влаги, выделяемой одним человеком,
г/ч.
Теплый период: МЛ = 54×115 = 6210,5 г/ч
Переходный период: МЛ = 54×91=4914,7 г/ч
Холодный период: МЛ = 54×75 = 3678,5 г/ч
Количество влаги, испарившейся с поверхности некипящей воды определяется
зависимостью:
где
а - коэффициент, зависящий от температуры поверхности испарения. а=0,03
рПОВ,
рОКР - парциальное давление водяного пара при температуре
поверхности испарения и в окружающем воздухе; В - барометрическое давление,
кПа; ν
- скорость воздуха над поверхностью
испарения, м/с.
Общее
количество влаги, поступающее в помещение рассчитывают как сумму
влагопоступлений от различных источников.
МВЛ
= МЛ + МН2О , г/ч
Теплый
период: МВЛ =6210,5 +25 = 6235,5 г/ч
Переходный
период: МВЛ = 4914,7 + 25 = 4939,7 г/ч
Холодный
период: МВЛ = 3678,5 + 25= 3697,5 г/ч
Определение
газо- и паровыделений.
Количество
двуокиси углерода СО2 , содержащейся в выдыхаемом человеком воздухе, зависит от
интенсивности его труда и обычно определяется по табличным данным
МСО2= 54× 25 =
1350 л/ч
Тогда
в помещении объемом V = 50 м3 изменение концентрации
загрязняющих веществ за 1 час составит:
Ацетона - 0,035 * 106 / 50 = 700 мг/м3
Этанола - 0,05 * 106 / 50 = 1000 мг/м3
Расчет вытяжного зонта.
Вытяжные зонты используют для улавливания теплоты и вредных веществ от
теплоисточников, когда более полное укрытие их невозможно. Зонт следует делать
с центральным углом раскрытия не более 60º. Рассчитываем расход воздуха для
зонта, расположенного на высоте l=0,9
м над плитой длиной а =0,6 м и шириной b= 0,5 м в помещении средоварочной. Конвективная теплоотдача
источника Q=1100 Вт. Скорость движения воздуха в
помещении νВ
= 0,2 м/с.
Осевая скорость в конвективном потоке на уровне всасывания зонта
определяется по формуле:
где
d- эквивалентный по площади диаметр
Использование
вытяжных зонтов рационально, если
значит
использование зонта рационально.
Размеры
приемного отверстия зонта рекомендуется применять следующими:
А
= а +2 Δ
; В = b + 2 Δ, где
Находим
параметр
и
назначаем размеры зонта
А
= 0,6 + 2×0,086=0,772
м ; В=0,5 + 2×0,086=
0,672м
Расход
воздуха для отсоса от источника равен:
где
LO - характерный расход, м3/ч; П - множитель, характеризующий влияние
геометрических параметров, характеризующих систему «источник-отсос»,П =1 ;В -
коэффициент, учитывающий влияние скорости движения воздуха в помещении;Т -
коэффициент, учитывающий токсичность вредных выделений,Т = 1.
Для
прямоугольных источников
Определяем
расход воздуха
МО = L ρВ , кг/ч
Теплый
период: Gмо =214,4 ×1,18=253 кг/ч
Переходный
период: Gуд =214,4×1,192
=255,6 кг/ч
Холодный
период: Gуд =214,4×1,2
=257,3 кг/ч
Расчет
вытяжного шкафа.
Лабораторные
химические шкафы предусматривают, как правило, комбинированное удаление
воздуха. Расход воздуха из таких шкафов определяется по формуле:
где
F - площадь рабочего проема шкафа, м2; ν - расчетная скорость воздуха в проеме отсоса, м/с.
В
нашем случае величину открывания проема установить невозможно и расход
определяется по условным площадям проемов, принимаемым 0,2 м2 на 1 м длины
вытяжного шкафа. Скорость принимаем равной 0,5 м/с при предельно допустимой
концентрации вредных веществ ≥ 10 мг/м3 по Справочнику.
F = l ×0,2= 1,25×0,2=0,25 м2
Расчет
воздухообмена помещения цеха.
В
помещениях с тепло- и влаговыделениями воздухообмен определяется по
I-d-диаграмме с одновременным учетом изменения энтальпии и влагосодержания
воздуха.
Основной
характеристикой изменения параметров воздуха в помещении является угловой
коэффициент луча процесса, кДж/кг.
Эта
характеристика определяется для трех периодов года.
Теплый
период: ε=
3453 /0,2205 =15660 кДж/кг
Переходный
период: ε
=3903 /0, 1797= 21720 кДж/кг
Холодный
период: ε
= 3577/ 0,1525= 23460 кДж/кг
Расчет
воздухообменов сводится к построению процессов изменения параметров воздуха в
помещении. Графическое построение процессов на I-d-диаграмме при заданной точке
Н с параметрами наружного воздуха позволяет определить параметры воздуха в
следующих характерных точках:
П
- приточного воздуха;
В
- воздуха в обслуживаемой зоне помещения;
У
- воздуха, удаляемого из верхней зоны помещения;
МО
- воздуха, удаляемого из помещения местными отсосами.
Для
общеобменной вентиляции параметры приточного воздуха определяют в теплый период
года по параметрам наружного воздуха.
пр
= tн + Δ
tв,
где
ΔtВ - подогрев воздуха в вентиляторе, ΔtВ = 1-1,5 ºС.
В
переходный период, также как и в теплый, параметры притока определяются по
параметрам наружного воздуха с учетом теплового эквивалента работы вентилятора
и подогрева воздуха в воздуховодах, проложенных в теплых помещениях.
Переходный
период: tпр = 10 + 1,5 =11,5 оС
В
холодный период года параметры воздуха, подаваемого приточной системой
вентиляции, находятся на пересечении линии d=const, проведенной из точки Н для
холодного периода и изотермы 10-16 ºС.
Холодный
период: tпр = 16 оС
По
заданному уровню температуры воздуха внутри помещения и лучу процесса,
проведенному из точки П (в месте их пересечения на диаграмме), находят
параметры воздуха в точке В. Здесь проводится проверка соответствия
относительной влажности воздуха требуемым санитарно-гигиеническим условиям.
Точка
У находится на пересечении луча процесса в помещении и изотермы tУХ.
Температура
воздуха, уходящего из верхней зоны помещения
ух
= tв + (Нпом - 1,5) grad t,
где
Нпом - высота помещения, мt - интенсивность изменения температуры по высоте
здания, grad t = 1
Теплый
период:
ух
= 25 + (3 - 1,5) = 26,5 оС
Переходный
период
ух
= 22 + (3 - 1,5) =23,5 оС
Холодный
период
ух
= 20 + (3 - 1,5) = 21,5 оС
Точка
МО обычно совпадает с точкой В, характеризующей состояние воздуха в рабочей
зоне[1].
Определяем
требуемый воздухообмен для трех периодов
)Воздухообмен
по избыткам тепла при общеобменной вентиляции и местной вытяжке(один приток -
две вытяжки):
Теплый
период:
Переходный
период:
Холодный
период:
п = Gу +
Gмо
Теплый
период: Gп=1160+253=1413 кг/ч
Холодный
период: Gп = 353,4+257,3=610,7 кг/ч
)
Воздухообмен по избыткам влаги
Теплый
период:
Переходный
период:
Холодный
период:
п = Gу +
Gмо
Теплый
период: Gп=650,7+253=903,7 кг/ч
Переходный
период: Gп = 37,6+255,6=293,2 кг/ч
Холодный
период: Gп = 151+257,3=408,3кг/ч
11.6 Охрана окружающей среды
Увеличивающаяся потребность в воде для производственного процесса создает
условия внедрения на предприятии повторного и оборотного водоснабжения.
Система оборотного водоснабжения состоит из сборника-резервуара, из
которого сточная вода насосом перекачивается на фильтры, где очищается от
взвешенных частиц и нефтепродуктов. Затем вода подается в сборник-резервуар
чистой воды, откуда и расходуется на промышленные цели и для мойки автомобилей.
Сточные воды предприятия загрязнены в основном нефтепродуктами и
взвешенными частицами, поэтому очистку проводят флотационным методом, при
котором происходят прилипание частиц нефти, загрязнений к пузырькам воздуха и
последующее всплывание полученного комплекса. Этот метод требует реагентной
обработки воды коагулянтами - сернокислым алюминием или сернокислым железом, что
не всегда гарантирует нужное качество очистки
При производстве оборотного водоснабжения в случае отказа от очистки
сточных вод флотационным методом необходимо соблюдать следующие требования:
проводить высококачественную очистку, не применяя постоянный лабораторный
контроль;
сооружения должны быть компактны и размещены на сравнительно небольшой
площади;
агрегаты очистных сооружений должны изготовляться серийно и быть просты в
эксплуатации;
установки должны иметь широкий диапазон производительности с целью
переключения на различную производственную мощность предприятия.
12.
Технико-экономический расчет схем внешнего электроснабжения
Строительство электроэнергетических объектов, к которым относятся системы
электроснабжения промышленных предприятий, производится по проектным планам в
соответствии с технико-экономическими расчётами, которые позволяют из двух-трёх
рассматриваемых вариантов выбрать вариант с наименьшими затратами.
Экономическая оценка рассматриваемого варианта заключается в определении капитальных
вложений (К) и годовых эксплуатационных расходов (СЭ).
Сопоставление вариантов производится на основе определения экономической
эффективности капитальных вложений, критерием которой являются минимальные
приведённые годовые затраты (З). Также определяется срок окупаемости (Ток)
для варианта с большими капитальными вложениями и меньшими эксплуатационными
расходами, затем его сравнивают с нормативным (Тн), после чего
делается окончательный вывод и принимается решение по выбору одного из варианта
системы электроснабжения.
Произведём экономическое обоснование выбора системы внешнего
электроснабжения трансформаторных подстанций (ТП 1) и (ТП 2).
Вариант № 1
В качестве первого варианта принимаем исходную радиальную схему
электроснабжения (см. рисунок 12.1). Ранее по экономической плотности тока до
ТП 1 (S = 1455,54 кВ∙А, Р = 1403,9
кВт) при Iр = 84,04 А был выбран кабель АСБ 3×50
с Iд = 140 А и r0 = 0,64
Ом/км, до ТП 2 (S = 426,96 кВ∙А,
Р = 418,59 кВт)
при Iр = 24,65 А - АСБ 3×16 с Iд = 75 А и r0 = 1,98 Ом/км.
Определим коэффициенты загрузки кабелей по формуле:
(12.1)
где
Кз - коэффициент загрузки кабеля;
Iр - расчётный ток кабеля, А;
Iд - максимально допустимый ток кабеля, А.
Получим:

Найдём
потери мощности в линии при действительной нагрузке по формуле:
(12.2)
где
- потери мощности в линии, кВт;
Iд - максимально допустимый ток кабеля, А;
r0 - удельное активное сопротивление кабеля, Ом/км;
l - длина
кабеля, км;
Кз
- коэффициент загрузки кабеля.
Тогда:
Определим
потери электроэнергии в линии из выражения:
(12.3)
где
- потери электроэнергии, кВт∙ч/год;
- потери
мощности в линии, кВт;
Тmax - время использования максимума нагрузки в год, ч.
Так
как Тmax = 4000ч, то
Стоимость
потерь электроэнергии в линиях равна:
(12.4)
где
Сп - стоимость потерь электроэнергии в линии, руб/год;
- потери
электроэнергии, кВт∙ч/год;
С0п
- стоимость потерь 1 кВт∙ч электроэнергии, руб.
Так
как С0п = 5 руб., то

Суммарная
стоимость потерь электроэнергии для данной схемы электроснабжения составит:
Вычислим
капиталовложения на сооружение сети:
(12.5)
где
К - капиталовложения на сооружение линии, тыс. руб.;
Куд
- стоимость 1 км. кабельной линии проложенной в траншее, тыс. руб/км;
l - длина линии,
км.
Учитывая,
что стоимость прокладки в траншее кабеля АСБ 3×50 составляет
тыс.
руб/км, кабеля АСБ 3×16
- 152 тыс. руб/км, получим:
Так
как кабель до ТП 2 частично прокладывается в одной траншее с кабелем ТП 2 (см.
рисунок 12.1), то капитальные затраты на его прокладку снизятся на 30 % и
составят К2 = 32,98 тыс. руб.
Общие
капитальные затраты на сооружение кабельных линий составят К1,2 =
71,16 тыс. руб.
Определим
ежегодные амортизационные отчисления на обслуживание данной схемы
электроснабжения цехов по формуле:
(12.6)
где
Са1,2 - ежегодные амортизационные отчисления, руб/год;
К1,2
- суммарные капиталовложения на сооружение двух кабельных линий, тыс. руб.;
Ка
- коэффициент амортизационных отчислений.
Так
как для кабельных линий, проложенных в траншеях Ка = 0,03, то
Стоимость
расходов на содержание персонала и ремонт при всех сечениях жил кабеля будет
одинаковой, поэтому в расчётах её не учитываем.
Годовые
эксплуатационные расходы составляют:
Приведённые
затраты определим из формулы:
(12.7)
где
З - приведённые затраты, тыс. руб/год;
Еп
- коэффициент приведения;
К1,2
- общие капитальные затраты на сооружение кабельных линий, тыс. руб;
СЭ
- годовые эксплуатационные расходы, тыс. руб/год.
Так
как для электроснабжения Еп = 0,12, что соответствует 8 годам, то
Вариант
№ 2
Произведём
расчёт второго варианта электроснабжения цехов - магистральной схемы (см.
рисунок 12.2).
Выберем питающие кабели. Так как нагрузка магистрального кабеля до ТП 1
будет складываться из нагрузок ТП 1 и ТП 2, то
.
Тогда:
Найдём
экономически целесообразное сечение кабеля:
Выбираем
кабель с ближайшим меньшим сечением АСБ 3×70, у которого Iд = 165 А и r0 = 0,46 Ом/км.
Кабель до ТП 2 не изменится, т. к. Iр = 24,65 А, то - АСБ 3×16 с Iд = 75 А и r0 = 1,98 Ом/км.
Так как ТП 2 подключено к ТП 1, то в цеховой подстанции ТП 1 необходимо
установить ячейку распределительного устройства 10 кВ типа КСО. Стоимость
данной ячейки 64 тыс. руб. Амортизационные отчисления на обслуживание этой
ячейки составят (КаКСО = 0,06):
Дальнейший
расчёт производится аналогично первому варианту, но с учётом затрат на ячейку
КСО, результаты расчётов приведены в таблице 5.1.
Таблица
12.1. Выбор экономически целесообразного варианта электроснабжения цехов.
|
характеристики вариантов
схем электроснабжения
|
1 вариант
|
2 вариант
|
|
Стоимость потерь
электроэнергии в линиях, тыс. руб/год
|
85
|
81
|
|
Капиталовложения на
сооружение линий, тыс. руб/год
|
71,16
|
117,56
|
|
Ежегодные амортизационные
отчисления, руб/год
|
2134,8
|
5446,8
|
|
Годовые эксплуатационные
расходы, тыс. руб/год
|
87,13
|
86,5
|
|
Приведённые затраты, тыс.
руб/год
|
95,67
|
92,93
|
Так как приведённые годовые затраты обоих вариантов отличаются мало, то
выясним целесообразность использования варианта имеющего большие капитальные
вложения, но меньшие эксплуатационные расходы (вариант 2).
Для сравнения используем формулу срока окупаемости:
(12.8)
где
Ток - срок окупаемости, год;
К1,
К2 - капитальные вложения в вариантах, тыс. руб;
СЭ1,
СЭ2 - годовые эксплуатационные расходы тех же вариантов, тыс.
руб/год.
Получим:
Сравниваем
вычисленное значение срока окупаемости Ток с нормативным Тн.
Для расчётов в электроэнергетике Тн = 8 лет [20, с. 61]. Так как
вычисленное значение Ток много больше нормативного, то более
экономичным будет вариант с меньшими капитальными вложениями и большими
эксплуатационными расходами, т. е. вариант № 1. Следовательно, для
электроснабжения двух цехов применим радиальную схему, т. е. первый вариант.
Заключение
В процессе выполнения дипломной работы была спроектирована система
электроснабжения цеха №2 механической обработки Тульского оружейного завода.
Были выполнены следующие этапы проектирования:
- выбор режима нейтрали электрической сети;
- определение расчётных нагрузок цеха;
компенсация реактивной мощности;
выбор числа и мощности силовых трансформаторов КТП;
выбор сечений, проводов и жил кабелей;
проверка электрических сетей по потере напряжения;
расчёт токов КЗ;
выбор и проверка пускового и защитного оборудования;
экономически обоснован выбор схемы внешнего электроснабжения
цехов;
произведён анализ и даны рекомендации по технике безопасности.
В ходе выполнения работы были показаны навыки по проектированию
электроэнергетических систем и выбору силового электрооборудования.
Библиографический
список
1. Алиев И.И,
Электротехнический справочник - М Радио Софт, 2000В.М.
. Федоров
А.А., Старкова Л.Е. Учебное пособие для курсового и дипломного проектирования
по электроснабжению пром. предприятий. Учебное пособие для вузов. -М.
Энергоатомиздат, 1987 - 368 с.: ил.
3. Кнорринг Г.М. Справочник для проектирования электрического освещения.-
С.П.:Энергия, 1968.-392с.
4. Раух Я.Я.,
Борщан Е.Д., Борисенко Р.А. Электроснабжение промышленных предприятий.
Методические указания для курсового и дипломного проектирования. Новомосковск.
1989 - 121 с.
. Электротехнический
справочник. Общие вопросы. Электротехнические материалы. Т1. Под общей
редакцией профессоров МЭИ. М. Энергия, 1989.
. Князевский
Б.А., Липкин Б.Ю. Электроснабжение промышленных предприятий. Учебное пособие
для студентов вузов по специальности “Электрический привод и автоматизация
промышленных установок” 3-е издание, переработанное и дополненное - М. Высшая
школа, 1986 - 400 с.
7. Правила устройства электроустановок. - М.:Госэнергонадзор, 2000.
8. Неклепаев
Б.Н., Крючков И.П. Электрическая часть электростанций и подстаций. Справочные
материалы для курсового и дипломного проектирования. Учебное пособие для
вузов-4 изд, переработанное и дополненное.-М. Энергоатомиздат 1989 - 605 с.:
ил.
. Постников
Н.П., Рудаков Р.М. Электроснабжение промышленных предприятий. Учебник для
техникумов, 2-ое издание переработанное и дополненное.-Л. Стойиздат, 1989 - 352
с.
10. Кудрин
Б.И. Электроснабжение промышленных предприятий. М.: Энергоатомиздат,
1995.-416с.
. Синягин
Н.Н., Афанасьев Н.А., Новиков С.А. Система планово-предупредительного ремонта
оборудования и сетей промышленной энергетики-2-ое изд,перераб.-М.
Энергия,1978-408 с.:ил.
12. Федоров
А.А. Справочник по электроснабжению и электрооборудованию. Том 1.-М.
Энергоатомиздат,1986.
. Охрана
труда в химической промышленности / Макиров Г.В., Васин А.Я. и др - М.,
Химия,1989-496 с.:ил.
.
Электрические станции и сети (системы). Итоги науки и техники. Т15. Заземляющие
устройства электрических установок высокого и низкого напряжения.-М,1989.
. Бургсдорф
В.В., Якобс А.И. Заземляющие устройства электроустановок.-М. Энергоатомиздат
1987 - 400 с.
. Под
редакцией Барыбина Ю.Г. и др. Справочник по проектированию электрических сетей
и электрооборудования.-М.Энергоатомиздат, 1989 - 464 с: ил.
. Федоров
А.А., Никульченко А.Г. Методические указания по курсовому проекту
“Внутризаводское электроснабжение”-М. 1976 - 85 с
18.
Справочная книга по светотехнике / Под ред. Ю.Б. Айзенберга. - М.:
Энергоатомиздат, 1983. - 472 с., ил.
.
Светотехнические расчеты в установках искусственного освещения. Л. Энергия»,
1973. 200 с. с ил.
20. Л.Л.
Коновалова, Л.Д. Рожкова. Электроснабжение промышленных предприятий и
установок: Учебное пособие для техникумов. - М.: Энергоатомиздат, 1989.
21. <http://www.ruscable.ru/info/pue/>
. <http://www.kontaktor-m.ru>
. <http://www.tulaavtomatika.ru>