Нефтяные битумы

  • Вид работы:
    Реферат
  • Предмет:
    Химия
  • Язык:
    Русский
    ,
    Формат файла:
    MS Word
    121,34 Кб
  • Опубликовано:
    2012-11-30
Вы можете узнать стоимость помощи в написании студенческой работы.
Помощь в написании работы, которую точно примут!

Нефтяные битумы

Введение

битум строительный растворитель кукерсоль

Битумы (от лат. bitumen - горная смола), твёрдые или смолоподобные продукты. Нефтяные битумы представляют собой полутвёрдые и твёрдые продукты, состоящие из углерода и водорода, содержащие определённое количество кислород-, серо-, азотсодержащих соединений, а также целый ряд металлов (Fe, Wg, V, Ni и др.)

Элементный состав их следующий, масс. %: углерода 80-85, водорода 8-11,5, кислорода 0,2-4. серы 0,5-7, азота 0,2-0,5.

Нефтяные битумы - это дисперсные системы, в которых дисперсионной средой являются масла и смолы, а дисперсной фазой - асфальтены. В зависимости от степени агрегирования и пептизации нефтяные битумы образуют различные мицеллярные системы - золи, золи-гели, гели.

Строительные нефтяные битумы получают окислением остаточных продуктов прямой перегонки нефти и их смесей с асфальтами и экстрактами масляного производства. Допускается получать строительные нефтяные битумы компаундированием окисленных и неокисленных вышеуказанных продуктов.

Битумы нефтяные строительные имеют следующие марки: БН-50/50, БН-70/30, БН-90/10. Первые две буквы обозначают «битум нефтяной», первая цифра - температуру размягчения битума, а вторая - условную твердость холодного битума.

Свойства битумов

Свойства битумов зависят от способов производства, качества сырья (природы перерабатываемой нефти), а также от параметров процесса термолиза - температуры, давления, продолжительности. Получение высококачественных битумов из нефтей разной природы (компонентный состав) возможно при правильном определении не только вклада того или иного процесса в общую технологическую схему производства, но и последовательности их проведения.

Битум - это продукт черного цвета с плотностью около единицы, с низкой тепло- и электропроводностью. Он прекрасно противостоит воздействию различных химических реагентов, водо- и газонепроницаем, устойчив к действию различных видов радиации и длительному тепловому воздействию. Именно такие ценные качества битумов в сочетании с низкой стоимостью и массовым производством сделали их незаменимыми во многих областях хозяйства.

Будучи веществом аморфным, битум не имеет температуры плавления. Переход от твердого состояния к жидкому характеризуется температурой размягчения, которая обычно определяется по методу «кольца и шара». Твердость битумов оценивается путем измерения пенетрации, а пластичность - растяжимостью (дуктильностью).

Битумы не растворимы в воде, полностью или частично растворимы в бензоле, хлороформе, сероуглероде и др. органических растворителях; плотностью 0,95-1,50 г/см3.

Компонентный состав битума предопределяет его коллоидную структуру и реологическое поведение и тем самым - технические свойства, которые характеризуются условными показателями качества, определяемые в стандартных условиях. Рассмотрим основные из них.

Из-за большого многообразия соединений, входящих в состав битума, не представляется возможным выделить какие-либо индивидуальные вещества из этой сложной смеси. Кроме того, основная масса соединений, входящих в его состав, представляет собой вещества гибридного характера. Единственный класс соединений, которые можно выделить из битумов в более или менее чистом виде, - это парафины. Сложность состава битумов подтверждается и тем, что их молекулярно-весовое распределение охватывает границы от 300 до 40000 и более. Все это является причиной того, что анализ битумов затруднителен, неточен и преследует своей целью выделить лишь характерные группы, отличающиеся большим или меньшим однообразием их состава.

В состав нефтяных битумов входят следующие группы веществ, различающихся по растворимости:

асфальтены (наиболее высокомолекулярные соединения нефти), которые растворимы в хлороформе, сероуглероде, не растворяются в спирте, эфире и ацетоне. Асфальтены обуславливают твёрдость и высокую температуру размягчения битума, смолы - его эластичность и цементирующие свойства, масла - морозостойкость;

асфальтогеновые кислоты - кислые смолистые вещества, растворимые в спирте, хлороформе, плохо растворимые в бензине;

нейтральные смолы, растворимые в нефтяных маслах, бензоле, эфире, хлороформе и уплотняющиеся при нагревании и кислотной обработке в асфальтены;

нефтяные масла;

карбены - высокомолекулярные вещества, образующиеся вследствие уплотнения асфальтенов в присутствии серы; растворимы в пиридине, сероуглероде;

Применение и требования к качеству

Применение битума как одного из наиболее известных инженерно-строительных материалов основано на его адгезионных и гидрофобных свойствах. Область применения битума достаточно широка: он применяется при производстве кровельных и гидроизоляционных материалов, в резиновой промышленности, в лакокрасочной и кабельной промышленности, при строительстве зданий и сооружений и т.д. Кровельные битумы применяют для производства кровельных материалов. Их разделяют на пропиточные и покровные (соответственно для пропитки основы и получения покровного слоя). Изоляционные битумы используют для изоляции трубопроводов с целью защиты их от коррозии.

Главным же потребителем битума является дорожное строительство (около 90 %), в первую очередь, из-за того, что нефтяной битум является самым дешевым и наиболее универсальным материалом для применения в качестве вяжущего при устройстве дорожных покрытий. Использование битумов в дорожном строительстве позволяет покрытию дорог выдерживать повышенные статические и динамические нагрузки в широком интервале температур при сохранении длительной жизнеспособности и погодоустойчивости.

Вязкие битумы, применяемые в дорожном покрытии, используются как вяжущее между каменными материалами. Долговечность дорожного покрытия во многом зависит от марки применённого битума и его качества. При строительстве и ремонте дорог битум может быть разжижен растворителем (керосиновая фракция). Разжиженные битумы разделяются на быстро-, средне- и медленно затвердевающие марки.

Для предварительной обработки поверхностей применяют битумные эмульсии, которые готовят с применением коллоидных мельниц, добавляя к битуму воду и эмульгаторы.

Более подробно рассмотрим битумы различного назначения.

Дорожный

Качество дорожного битума в основном определяет долговечность дорожных покрытий. Появление трещин на дорожном покрытии означает, что оно на 85% исчерпало срок службы. Установлено, что показатель «температура хрупкости» битума характеризует время до начала интенсивного трещинообразования дорожного полотна, так как его определение показывает наиболее опасное состояние дорожного покрытия при резких перепадах температур в зимнее время. Соотношение физико-химических показателей битумов БНД обеспечивает дорожному покрытию наибольшую сдвигоустойчивость, трещиностойкость, длительную водо- и морозостойкость.

Дорожные покрытия должны проектироваться на определенный период эксплуатации с учетом диапазона и типа наиболее вероятных транспортных нагрузок. В последние годы резко возросла интенсивность движения транспорта, увеличились нагрузки на дорожное полотно за счет использования большегрузных автомобилей с повышенным давлением в шинах. Это приводит к быстрому разрушению асфальтобетонных покрытий, проявляющемуся в виде образования колеи, трещин и выкрашивания входящих в их состав материалов.

Область температур, в которой желательна эксплуатация дорожного покрытия, лежит в интервале между температурами размягчения (Тразм) и хрупкости (Тхр). Она носит название интервала пластичности. В ней компоненты верхнего слоя дорожного полотна находятся в связанно-дисперсном состоянии, то есть их сложные структурные единицы (ССЕ), представляющие из себя систему минерального наполнителя с адсорбированными компонентами битума, связаны между собой через адсорбционно-сольватные оболочки. Между ССЕ может быть иммобилизовано некоторое количество дисперсионной среды, представляющей в основном масляные компоненты битума. При повышении температуры количество дисперсионной среды увеличиваются, а ширина адсорбционно-сольватных оболочек уменьшается за счет обратимого перехода компонентов битума из дисперсной фазы в адсорбционно-сольватную оболочку и далее в дисперсионную среду. Упруго-эластичные свойства асфальтобетона, как и битума в этой области температур обеспечиваются гибкими связями между ССЕ, их деформацией под действием нагрузки и после ее снятия восстановлением прежней формы. Этому способствуют относительно широкие адсорбционно-сольватные оболочки вокруг дисперсных частиц и наличие определенного количества дисперсионной среды.

При превышении Тразм дисперсная система переходит в свободно-дисперсное состояние, то есть ССЕ перестают быть связанными между собой в сплошной каркас. При этом жидкая дисперсионная среда под действием даже небольших нагрузок будет выдавливаться из покрытия, прилипать к колесам транспортных средств, а на самой дороге появится колея. Здесь можно говорить о том, что в асфальтобетоне произошли хоть и незначительные, но все же необратимые изменения.

Долговечность дорожного покрытия во многом зависит от марки применённого битума и его качества.

Строительный

Битумы строительных марок БН, применяемые для гидроизоляции фундаментов зданий, отличаются малой пенетрацией и дуктильностью и высокой температурой размягчения (от 37 до 105 0С), т.е. они тугоплавкие и твёрдые. Строительный битум нормируется по ГОСТ 6617 - 76.

Изоляционный

Изоляционные битумы БНИ применяются для изоляции трубопроводов с целью предотвращения их от коррозии. При малой пенетрации и малой дуктильности они должны быть достаточно тукоплавкими (особенно для аккумуляторных мастик). Кроме того, для мастик нормируется растворимость в толуоле или в хлороформе (не менее 99,5 %, т.е. почти полная растворимость). Доскональная информация по нормированию качества изоляционных битумов приведена в таблице ниже.

Хрупкие

Существуют две марки хрупких битумов, которые размягчаются при 100 - 110 0С и 125 - 135 0С, имеют мизерную пенетрацию и более жёсткие нормы по растворимости. Они используются в лакокрасочной, шинной и электротехнической промышленности.

Основные способы получения битумов

Производство нефтяных битумов является одним из термических процессов нефтепереработки. Основные параметры термических процессов, влияющие на ассортимент, материальный баланс и качество получаемых продуктов, - качество сырья, давление, температура и продолжительность термолиза (термического процесса).

. Концентрированием нефтяных остатков путём перегонки их в вакууме получают остаточные битумы. Для получения остаточных битумов может быть использовано только сырьё с большим содержанием асфальтосмолистых веществ, которые в достаточном количестве присутствуют в тяжёлых высокосмолистых сернистых нефтях. В процессах вакуумной перегонки и деасфальтизации получают остаточные и осаждённые битумы. Главное назначение этих процессов - извлечение дистиллятных фракций для выработки моторных топлив - в случае первого, подготовка сырья для производства базовых масел (начальный этап) - в случае второго. В то же время побочные продукты этих процессов - гудрон перегонки и асфальт деасфальтизации - соответствуют требованиям по сырью в производстве битумов или их используют в качестве сырья в производстве окисленных битумов.

. Окислением кислородом воздуха различных нефтяных остатков и их композиций при температуре 180 - 300 0С (окисленные битумы). Окисление воздухом позволяет существенно увеличить содержание асфальтосмолистых веществ, наиболее желательного компонента в составе битумов. Для производства окисленных битумов БашНИИНП предложено классифицировать нефти по содержанию (%, мас.) в них асфальтенов (А), смол (С) и твёрдых парафинов (П).

Основным процессом производства битумов является окисление - продувка гудронов воздухом. Окисленные битумы получают в аппаратах периодического и непрерывного действия. Последние более экономичные и простые в обслуживании. Принцип получения окисленных битумов основан на реакциях уплотнения при повышенных температурах в присутствии воздуха, приводящих к увеличению концентрации асфальтенов, способствующих повышению температуры размягчения битумов, и смол, улучшающих адгезионные и эластичные свойства товарного продукта. Аппараты, используемые в производстве битумов - трубчатые реактора или окислительные колонны. При получении строительных битумов предпочтительны первые, дорожных - вторые.

. Смешением различных окисленных и остаточных битумов, а также нефтяных остатков и дистиллятов между собой получают компаундированные битумы.

Остаточные битумы - мягкие легкоплавкие продукты, окисленные - эластичные и термостабильные. Битумы, получаемые окислением крекинг-остатков, содержат большое количество карбенов и карбоидов, которые нарушают однородность битумов и ухудшают их цементирующие свойства. Остаточные битумы вырабатывают из мазутов с высокой концентрацией асфальтосмолистых веществ вакуумной перегонкой как остаток этой перегонки. Напомним, что мазут является остатком от атмосферной перегонки нефти.

Более подробно остановимся на окислении гудронов или остаточных битумов кислородом воздуха. Основными параметрами процесса являются температура, расход воздуха и давление.

Чем выше температура, тем быстрее протекает процесс окисления, но при слишком высокой температуре ускоряется образование карбенов и карбоидов, которые предают битумам нежелательную повышенную хрупкость. Обычно температуру поддерживают на уровне 250 - 280 0С. Чем больше расход воздуха, тем меньше требуется времени на окисление. При чрезмерно большом расходе воздуха температура в окислительной колонне может возрасти выше допустимой. Поэтому расход воздуха является основным регулирующим параметром для поддержания нужной температуры. Общий расход воздуха зависит от химического состава сырья и качества получаемого битума и составляет от 50 до 400 м3 / т битума. Давление в зоне реакции при его повышении интенсифицирует процесс, и качество окисленного битума улучшается. В частности, повышается пенетрация битума при неизменной температуре размягчения. Обычно давление колеблется от 0,3 до 0,8 МПа.

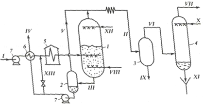
Принципиальная схема получения окисленного битума показана на рисунке ниже.

Рисунок 1. Принципиальная схема установки получения окисленных битумов 1 - окислительная колонна; 2 - отпарная колонна (промежуточный сепаратор); 3 - сборник соляра (сепаратор); 4 - скруббер; 5 - печь <http://click01.begun.ru/click.jsp?url=aS54N-z6*-rPVOzprESWnLtGotXqR7vtRD2PIjPyRrmCXhsLsd49Ua94UK4*HmeM9HQAGZAPc5egzxh8TBgUwJNagCya2v1LWNta5LS8KiTLiSnYLKdP2pkqGnnKLbuymuxefNuFGeq4LxSaycaR1oEvF28rjKHD08jm*Y3BvyHGq23nMghs7y8AYUNDWBao*NC3zLgERUc9vbuKV*9Qg615V26UCBZkv8TsxDNleHhDi0-zhlGX1BmS6CiwdiBrdoe0scBE0zkoImXMrmZhQqnZXNQwN31ohTJ7MGwyItNBbn8HhCYdcQqek0fnk*PtOhEOEE0DAl8scMuT5lSivG7YbtOkxO2011mbqg>; 6 - теплообменник; 7 - насосы; потоки: I - гудрон, II - лёгкие продукты окисления с отработанным воздухом, III - битум на отпарку, IV - готовый битум, V - пары стабилизации битума, VI - отработанный воздух, VII - очищенный отработанный воздух, VIII - свежий воздух, IX - соляр, X - вода, XI - загрязнённая нефтепродуктом вода, XII - водяной пар, XIII - рециркулят

Наконец, третий способ получения битумов - это компаундирование. Способ этот является завершающей стадией получения битумов и использует в качестве компонентов как битумы, полученные в виде остатков вакуумной перегонки, так и окисленные битумы. Кроме того, одними из важных компонентов компаундов являются экстракты селективной очистки дистиллятных масел и деасфальтизаты, так как, являясь концентратом полициклической многокольчатой ароматики, они придают битуму эластичность и хорошую растяжимость.

Заключение

Нефтяные битумы, как твердые или вязкопластичные, так и жидкие, находят широкое применение в строительстве. Их используют для устройства дорожных покрытий, покрытий аэродромов, устройства плоских кровель, ирригационных каналов, производства гидроизоляционных и кровельных материалов в лакокрасочной и химической промышленности.

Наибольшее распространение в строительном производстве получили битумные кровельные покрытия. В настоящее время производится большое разнообразие битумных кровельных покрытий, таких как битумные мастики, основные и безосновные рулонные кровельные битумные материалы, гидроизоляционные наплавляемые битумные материалы, битумная черепица, и т.п.

При производстве строительных и ремонтных работ по изоляции и теплоизоляции зданий широко применяется битум и его модификации. При выполнении теплоизоляции стен, мансард и кровельных конструкции, в вертикальных и наклонных стенах в мансардах, в межэтажных перегородках и перекрытиях используется битумный клей без органических растворителей. Во время использования такой клей не выделяет резких и вредных запахов, как клей с органическими растворителями в виде бензинов, керосинов, трихлорэтиленов и т.п. Наиболее распространенным природным, экологически чистым растворителем для битума и его модификаций является кукерсоль. Производить работы без вреда для здоровья с битумным клеем без органического растворителя можно в плохо вентилируемых и закрытых помещениях, таких как подвалы, чердаки.

Таким образом, широкое применение битума играет огромную роль во всех областях жизни человека.

Список используемой литературы

.Технология переработки нефти и газа. В 2-х частях. С.1. Первичная переработка нефти/ Под ред. О.Ф. Глаголевой, В.М. Капустина. 2005

.Леффлер У.Л. Переработка нефти. - 2-е изд., персмотр. / Пер. с англ. - М.: Олимп-Бизнес, 2003

.Бардик Д.Л., Леффлер У.Л. Нефтехимия/ Пер. с англ. - М.: Олимп-Бизнес, 2003. - 416 с.:ил.


Не нашли материал для своей работы?
Поможем написать уникальную работу
Без плагиата!
Без нейросетей!