Процесс проектирования противооткатных устройств
Введение
Развитие орудий полевой артиллерии
за рубежом до последних лет шло по пути создания самоходных установок с легкой
броневой защитой от пуль и осколков. Считалось, что эти орудия обладают
преимуществами перед буксируемыми вследствие повышенной живучести в условиях
применения оружия массового поражения, а также повышенной маневренности и
возможности самостоятельно преодолевать водные преграды. Однако признание
большинством военных специалистов возможности ведения боевых действий только
обычными средствами побудило к продолжению работ над совершенствованием и
созданием новых образцов буксируемых орудий полевой артиллерии и боеприпасов к
ним. При этом можно заметить новые тенденции в конструктивном решении образцов,
направленные на увеличение дальности стрельбы, скорострельности, маневренности
орудий и могущества снарядов.
Наиболее распространенным способом
повышения дальности стрельбы артиллерийских орудий в последнее время является
применение активно-реактивных снарядов. Использование более мощных зарядов
также позволяет увеличить дальность стрельбы, но при этом необходимо удлинять
ствол и увеличивать толщину его стенок. Для сохранения допустимых размеров
ствол можно изготовлять из более прочных материалов, скреплять посредством
многослойных конструкций и различных термических и деформационных обработок.
Применение более эффективных дульных тормозов уменьшит энергию откатных частей
орудия при выстреле.
Скорострельность артиллерийских
орудий может быть повышена введением автоматического заряжания, вращающихся
камор, зарядных лотков и вращающихся магазинов к орудиям с двухкамерными
казенниками. Применение противооткатных устройств с обратным откатным циклом
сокращает время отката и увеличивает скорострельность. При этом следует
отметить, что наиболее перспективным в армиях капиталистических стран считается
создание орудий с обратным откатным циклом. Такая конструкция противооткатных
устройств позволяет снизить энергию отката, что, в свою очередь, дает
возможность значительно уменьшить массу орудия.
При этом создается возможность
разработки орудий без задних станин, что обеспечивает удобство работы расчета
при орудии. Кроме того, может быть значительно упрощена конструкция тормоза
отката и снижен класс точности обработки его основных деталей.
Отдавая должное конструкции орудия с
обратным откатным циклом, следует сказать, что идея этой конструкции не нова и
среди российских специалистов по проектированию артиллерийских орудий давно
известна под названием «системы с выкатом».
Повышение могущества орудия при
сохранении его габаритно-массовых характеристик требует разработки новых
противооткатных устройств, соответствующих возросшим нагрузкам.
Одной из задач, возникающих при
проектировании ПОУ, является снижение сил, действующих во время выстрела на
лафет со стороны откатных частей. Как правило, это достигается применением
эффективных дульных тормозов, а также путем оптимизации параметров ПОУ.
Рассмотрение вопросов, связанных с
поиском путей совершенствования конструкций противооткатных устройств,
отвечающих функциональным требованиям, при ограничении габаритно-массовых
характеристик, и составляет содержание данной работы.
1. Тактико-техническое
обоснование проекта
Рассмотрение действия выстрела на
артиллерийское орудие позволяет нам:
установить связи между массово-габаритными
параметрами орудия и силовыми воздействиями, определяющими характер взаимного
перемещения его составных частей;
определить на этой основе
необходимые законы движения составных частей орудия, удовлетворяющие комплексу
противоречивых требований, предъявляемых к нему.
Практически реализовать необходимые
законы движения элементов орудия позволяют устройства, составляющие одну из его
составных частей и называемые противооткатными устройствами (ПОУ).
В общем случае к ПОУ, как и к любому
техническому устройству, предъявляются три группы требований:
) функциональные, определяющие
функциональное предназначение и являющиеся основными, отличающими данное
устройство от другого;
) общетехнические, определяющие
процесс отражения человеческого бытия в конкретном направлении техники -
научные и производственные возможности общества;
) конструктивные, являющиеся
показателем объективной или субъективной ограниченности человеческого разума,
отражающие степень разумности принимаемого решения.
Требования - мера безусловной
необходимости, возможности и разумности принимаемого проектного решения.
Определим комплекс необходимых
функциональных требований, которым должны удовлетворять ПОУ как часть орудия. С
этой целью используем элементы системного подхода.
Системный подход - это рассмотрение
явлений и процессов в их взаимосвязи и взаимообусловленности, предполагающее
выявление, установление и анализ связей между элементами системы, формы связей
и их направленности.
Для механических систем, к которым
принадлежит и артиллерийское орудие, можно выделить четыре формы связи (рисунок
1.1):
стационарная, определяющая
взаимосопряженность деталей устройства;
функциональная, определяющая
кинематику взаимодействия элементов устройства;
энергетическая, определяющая
энергообмен между деталями устройства;
информационная, определяющая режим
ограничений, целеуказаний.
Первые три вида связей характерны,
прежде всего, для основных элементов системы, определяющих ее функционирование.
Четвертый вид связи относится к взаимообусловленности основных и
вспомогательных деталей системы и представлен, как правило, различными
предохранительными механизмами.
Кроме того, эти связи могут быть
одно- и двухсторонними. Указанные связи достаточно самостоятельны, но вместе с
тем взаимообусловлены.
Рисунок 1.1 - Взаимообусловленность
связей
Анализ связей ПОУ дает следующее.
. Силовое воздействие одного
элемента системы на другой можно уменьшить, если ввести между ними упругую
связь (использовать закон сохранения импульса). ПОУ является упругой связью
между стволом и лафетом. Следовательно, одна часть ПОУ должна быть соединена со
стволом, а другая - с лафетом.
. Так как ствол перемещается по
лафету, то упругая связь должна осуществляться на всем диапазоне его
перемещения.
. Для обеспечения устойчивости всего
орудия при откате и накате законы его движения должны быть строго
определенными. Так как движение осуществляется под действием сил, а движущей
силой в орудии является приведенная сила давления пороховых газов, характер изменения
которой не согласуется с желаемым для обеспечения устойчивости, то необходимый
закон движения будет обеспечен, если упругая связь будет управлять этим
движением. Таким образом, упругая связь должна вырабатывать регулирующую
движение силу - преобразовывать имеющуюся форму импульса силы давления
пороховых газов в желаемую по условиям устойчивости форму импульса силы отдачи.
. Так как длина отката - величина
конечная, то приобретенная откатными частями энергия должна быть преобразована
в другие виды:
упругопластической деформации
элементов орудия и грунта;
потенциальную аккумуляторов энергии;
кинетическую маховиков, механизмов
затвора, струи жидкости;
электромагнитную;
тепловую.
В конечном итоге происходит
преобразование всех видов энергии в тепловую.
. Так как откатные части после
отката следует вернуть в исходное положение, на что необходимо затратить
определенное количество энергии, то во время отката целесообразно эту часть
энергии аккумулировать за счет, например:
упругой деформации рабочего тела (сжатие
или растяжение пружины, сжатие газа, скручивание торсиона и т.п.);
вакуумирования рабочей полости
аккумулятора;
накопления электроэнергии и т.д.
. Для предотвращения
самопроизвольного перемещения по лафету ствола при придании ему углов
возвышения следует создать в упругой связи соответствующее удерживающее усилие.
Таким образом, ПОУ должны отвечать
следующим функциональным требованиям:
) создавать предварительное усилие,
удерживающее ствол в исходном до выстрела положении на всех углах возвышения,
допускаемых орудием;
) обеспечивать надежную упругую
связь между лафетом и стволом на всем пути его движения;
) преобразовывать кинетическую
энергию откатных частей в какие-либо другие виды энергии;
) обеспечивать преобразование формы
импульса силы давления пороховых газов в необходимую форму импульса силы
отдачи.
Исходя из функциональных требований,
можно дать следующее определение, ПОУ - это техническое устройство,
обеспечивающее упругую связь между стволом и лафетом, уменьшающее действие
пороховых газов на лафет за счет преобразования формы импульса их силового
воздействия, преобразующее кинетическую энергию откатных частей в тепловую и
управляющее движением откатных частей с целью обеспечения устойчивости орудия
при выстреле.
Такое определение ПОУ не затрагивает
конкретные технические их реализации и обеспечивает проектировщику свободу
выбора как физических принципов действия, на основе которых построена
конструкция, так и ее непосредственного решения.
Под общетехническими требованиями
следует понимать:
технологичность;
точность изготовления;
простоту устройства;
надежность в эксплуатации и т.д.
Под конструктивными следует понимать
требования, обусловленные выбором той или иной конструкции ПОУ. Например, если
в ПОУ используется жидкость, то следует предъявить дополнительно требования,
обусловленные ее наличием:
надежность уплотнений;
отсутствие коррозии материалов ПОУ;
механическая прочность жидкости;
химическая стойкость жидкости;
пониженное пенообразование и т.д.
В заключение следует подчеркнуть,
что наличие на орудии ПОУ - лишь часть комплекса мер по уменьшению силового
воздействия пороховых газов на орудие и повышению его устойчивости при
выстреле.
2. Типовые конструкции
противооткатных устройств
Рассмотрение требований к ПОУ
позволяет заключить, что для их реализации необходимо в составе ПОУ иметь:
преобразователь энергии - регулятор
отката, называемый в практике тормозом отката;
аккумулятор энергии - накатник;
преобразователь энергии - регулятор
наката, называемый в практике тормозом наката.
нераздельные ПОУ, в которых все три
элемента конструктивно и функционально объединены;
раздельные ПОУ, в противном случае.
Современные тормоза и накатники, как
правило, используют эффект поступательно перемещающегося (по направлению линии
откат-накат) поршня, взаимодействующего с рабочим телом. Поэтому наружные
очертания ПОУ имеют форму цилиндров.
В современных артиллерийских орудиях
наиболее часто встречаются схемы противооткатных устройств со следующей
конструктивной компоновкой:
) тормоз отката и тормоз
наката конструктивно объединены в один агрегат, накатник является отдельным
агрегатом;
) тормоз отката, тормоз
наката и накатник конструктивно объединены в один агрегат.
При этом, может быть еще и дополнительный
тормоз наката, работающий только на последнем участке и представляющий собою
отдельный агрегат;
) тормоз отката, тормоз
наката и накатник являются отдельными агрегатами.
Выбор той или иной схемы
противооткатных устройств, так же как и выбор конструктивного типа тормоза или
накатника, осуществляется в зависимости от типа орудия, от боевых,
эксплуатационных и производственно-экономических требований, предъявляемых, к
орудию, а также от субъективных факторов, связанных с накопленным опытом
проектирования устройств и механизмов определенного типа.
Накатники артиллерийских орудий
Основным назначением накатника
является возвращение ствола после выстрела в исходное положение и удержание его
в этом положении при всех углах возвышения не только в неподвижном орудии, но и
при движении его.
Во время отката накатник
аккумулирует часть механической энергии откатных частей, участвуя в торможении.
Затем большая часть аккумулированной энергии, ставшей потенциальной энергией
сжатого упругого тела, вновь возвращается откатным частям в виде кинетической
энергии движения их в обратном направлении, т.е. в накат.
В качестве упругого тела в
накатниках применяют либо винтовые цилиндрические пружины, либо сжатый воздух
(или азот). В первом случае накатники именуют пружинными, во втором -
пневматическими. Ствол удерживается в исходном положении при всех углах
возвышения и при наличии переносных ускорений от движения орудия в результате
предварительного поджатия пружины или газа в накатниках. Пружинные накатники
имеют несколько конструктивных схем.
На рисунке 1.2 изображена схема
пружинного накатника с расположением цилиндрических винтовых пружин 1 в виде
одной колонки, надетой на ствол 2. Одним концом колонка пружин упирается в дно
5 неподвижной люльки 3, а другим - в кольцевую обойму 4 ствола. Во время отката
ствола пружина сжимается между кольцевой обоймой и дном люльки. Упругое усилие
пружины возрастает по линейному закону, зависящему от выбранной жесткости
пружины.
В накате пружина разжимается и
возвращает ствол в исходное положение.
Преимуществом такой схемы является
компактность конструкции, отсутствие на откатных частях масс, эксцентрично
расположенных относительно оси канала ствола.
Рисунок 1.2 - Пружинный накатник на
стволе
Недостаток - сравнительно большие
габариты пружины и возможность ее интенсивного нагрева от ствола при длительной
стрельбе.
Эта схема получила распространение в
автоматической артиллерии малых и средних калибров.
Преимуществом пружинных накатников
является их простота устройства и обслуживания, малая чувствительность к
наружным повреждениям от пуль и осколков, независимость действия от внешних
условий.
Недостатками пружинных накатников
являются большая масса и размеры, особенно у орудий крупных калибров. С
увеличением размеров пружин усложняется технология и стоимость их изготовления.
Поэтому сферой применения пружинных
накатников в настоящее время, в основном, является автоматическая артиллерия
малых и средних калибров.
Для более крупных орудий чаще
применяют пневматические накатники, в которых в качестве упругого тела
используется сжатый азот или сжатый воздух.
Для того чтобы обеспечить запирание
газа, в накатнике всегда имеется некоторое количество жидкости.
Основное различие представленных
схем с конструктивной точки зрения заключается в том, что в первой схеме при
откате шток вдвигается внутрь цилиндра, а во второй - выдвигается наружу.
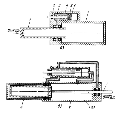
В схеме на рисунке 5а цилиндр
накатника 7 скреплен с неподвижной люлькой, а шток 1 является частью откатных
частей орудия. Герметичность подвижного соединения цилиндра и штока
обеспечивается уплотнением, со стоящим из двух, поставленных навстречу один
другому, воротников 2, пространство между которыми заполнено жидкостью,
находящейся под давлением, повышенным по сравнению с давлением газа внутри
цилиндра. Повышенное давление в уплотнении обеспечивается мультипликатором
давления, состоящим из цилиндра 4, внутри которого помещен поршень 6,
снабженный уплотнением 5. Шток 3 поршня через свое уплотнение 2 выпущен наружу.
Полость 1 мультипликатора (рисунок
1.4), где находится шток 2, заполнена уплотняющей жидкостью и соединена с
полостью уплотнения штока накатника. Полость мультипликатора по другую сторону
поршня 3 присоединена непосредственно к цилиндру накатника и наполнена тем же
газом притом же давлении, что и накатник. Поршень со штоком мультипликатора
установятся в состояние равновесия только в том случае, если давление жидкости,
поступающей в полость уплотнения штока накатника, будет выше, чем давление
газа, так как рабочая площадь давления жидкости, действующего на поршень
мультипликатора, меньше, чем рабочая площадь давления газа, заставляющего
поршень мультипликатора перемещаться и поджимать жидкость.
При движении вместе с откатными
частями шток входит внутрь цилиндра, объем, занимаемый газом, уменьшается,
давление газа возрастает по политропическому закону от величины,
обеспечивающей, усилие предварительного поджатия накатника, до максимальной
величины в конце отката. Поскольку процесс сжатия протекает достаточно быстро,
газ нагревается, так как его возросшая внутренняя энергия не успевает
рассеяться в виде тепла. После окончания отката, под воздействием давления газа
на дно подвижного цилиндра, откатные части возвращаются в исходное положение,
давление газа падает также по политропическому закону, но уже в обратном
направлении, газ в цилиндре охлаждается. Следует отметить, что «прямая» и
«обратная» политропические зависимости не совпадают, так как часть энергии все
же теряется, главным образом, в виде тепла.
Начальное усилие пневматического
накатника, так же как и пружинного, выбирается из условия удержания откатных
частей в исходном положении при всех углах возвышения и при наличии переносных
ускорений от движения орудия. Начальное давление газа, обеспечивающее это
усилие, определяется обычно из возможности обеспечения сборки и заполнения
накатника в условиях ремонтной мастерской либо от компрессора, либо от баллона
со сжатым газом. Обычно его величина находится в пределах от 2,5 МН/м2
до 7,5 МН/м2.
Соотношение между выбранной величиной
начального давления и требуемым начальным усилием определяет величину рабочей
площади, а, следовательно, и поперечных габаритов рабочего цилиндра накатника.
Общие габариты определяются длиной отката и объемом газа, выбираемыми с учетом
необходимой степени сжатия его при откате.
В схеме, представленной на рисунке
1.3 а, с откатными частями соединен шток 1, а цилиндр 2, заполненный газом,
располагается в неподвижной люльке. Для того чтобы систему уплотнений вывести
на неподвижную часть накатника, длина поршня 3 должна несколько превышать длину
отката. Для более экономного использования пространства поршень выполняют в
виде полого цилиндра, заполненного сжатым газом, сообщающимся с рабочим
цилиндром, где также находится сжатый газ.
Рисунок 1.3 - Пневматический
накатник
В схеме, представленной на рисунке
1.3 б, с откатными частями соединен шток 1, а цилиндр 2, заполненный газом,
располагается в неподвижной люльке. Для того чтобы систему уплотнений вывести
на неподвижную часть накатника, длина поршня 3 должна несколько превышать длину
отката. Для более экономного использования пространства поршень выполняют в
виде полого цилиндра, заполненного сжатым газом, сообщающимся с рабочим
цилиндром, где также находится сжатый газ.
Недостатком этой схемы, по сравнению
с предыдущей, является большее количество уплотнений. Однако то обстоятельство,
что эти уплотнения и мультипликатор, обеспечивающий повышенное давление
жидкости в уплотнениях, расположены на неподвижной части орудия, является
преимуществом. При этом обеспечивается надежная работа уплотнений.
Рисунок 1.4 - Мультипликатор
Более надежными, с точки зрения
обеспечения уплотнения, являются пневматические накатники, которые кроме объема
воздуха содержат еще некоторый объем жидкости.
Рабочий цилиндр пневматического
накатника полностью заполнен жидкостью, которая запирается уплотнениями штока.
Сжатый газ находится в другом резервуаре, также частично заполненном жидкостью.
Газовый резервуар и рабочий цилиндр накатника соединены между собою таким
образом, что при всех возможных углах возвышения по каналу сообщения может
поступать только жидкость, а сжатый газ не может попадать в рабочую полость.
При этом используется свойство газа находиться в верхней части резервуара. На
рисунке 1.3 представлены две схемы пневматических накатников. В первой из схем
с откатными частями связан шток, цилиндры неподвижны. Во второй схеме шток
закреплен на неподвижной люльке, в откат вместе со стволом движутся цилиндры.
Отверстия а и б расположены таким образом, чтобы газ не мог попасть во
внутренний рабочий цилиндр.
Применение пневматических накатников
дает ряд преимуществ по сравнению с пружинными, а именно, уменьшаются масса
конструкции и габариты.
В то же время пневматические
накатники имеют следующие недостатки:
) зависимость работы накатника от
наружной температуры. С повышением температуры давление, а, следовательно, и
усилие накатника, возрастает; с понижением температуры - падает;
) усложнение эксплуатации. Необходимость
наблюдения за давлением газа, за работой уплотнительных устройств, за возможной
коррозией;
) повышенная чувствительность к
повреждениям пулями, осколками снарядов и мин.
противооткатный выстрел
артиллерийский накатник
3. Разработка и
обоснование компоновочной схемы проекта
Под нераздельными понимаются
противооткатные устройства, в которых преобразователи и аккумуляторы энергии
конструктивно и функционально объединены. Основная особенность расчета таких
ПОУ заключается в необходимости учета температурного изменения энергетических
характеристик сжатого газа накатника вследствие постоянного контакта его с
рабочей жидкостью. Другие особенности обусловлены конкретной конструктивной
схемой ПОУ.
Рассмотрим порядок проектирования
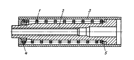
нераздельного ПОУ на примере схемы, показанной на рисунке 2.1. Устройство
содержит два цилиндра 1 и 7, соединенных патрубком 6. В цилиндре 1 расположен
шток 2 с поршнем 3. Шток 2 закреплен в люльке 8, цилиндр 1 связан с откатными
частями. В цилиндре 7 размещены тормоза отката и наката, а также накатник.
Тормоз отката составляют регулировочное кольцо 11 и втулка 12, на наружной
поверхности которой нанесен соответствующий профиль. Шток 13 с модератором 14 и
втулка 12, на внутренней поверхности которой нанесены канавки переменной гаубицы,
составляют тормоз наката. Часть цилиндра 7, ограниченная поршнем 9 и цилиндром
10, образует полость накатника, заполненную сжатым воздухом. Втулка 12
неподвижно крепится к поршню 9. Кольца 15, 17 и пружина 16 представляют
клапанное устройство. Полости I, II, IV, V заполнены рабочей жидкостью. Для
предотвращения истечения воздуха и жидкости из полостей устройства в нем
предусмотрены уплотнения 18, 19, 20, 22.
Рисунок 2.1 - Нераздельное ПОУ
Работа устройства. При выстреле
цилиндр 1 совместно с откатными частями перемещается в направлении отката.
Жидкость из полости I через каналы 4, 5 и патрубок 6 попадает в полость III
цилиндра 7, а через регулирующий зазор между втулкой 12 и кольцом 11 - в
полость IV. Под действием сил р3S1 и p4AH поршень 9 перемещается, сжимая воздух в полости VI. При этом
часть жидкости через отверстия 21 в основании втулки 12, воздействуя на боковую
поверхность кольца 15, сдвигает его (на рисунке-влево), обеспечивая проход для
заполнения полости V тормоза наката. Тормозящая сила p1AТ (р3АТ) образуется при создании давления
жидкости в полостях I, III вследствие дросселирования ее через регулирующий
зазор и приложена к переднему дну цилиндра, препятствуя откату. Равная ей по
величине, но противоположно направленная сила, приложенная к поршню 3,
стремится переместить орудие по основанию в сторону отката и развернуть
относительно линии сошниковых опор (на рисунке не показано).
При накате под действием пружины 16
кольцо 15 перекрывает канал 21, и жидкость из полостей IV, V дросселирует под
действием усилия сжатого воздуха в полости VI, перемещающего поршень 9, в
полость III через зазор между кольцом 11 и втулкой 12, а также через канавки
переменно глубины на внутренней поверхности втулки 12. Попадая далее через
патрубок 6, каналы 5 и 4 в полость I, она воздействует на переднее дно цилиндра
1, заставляя его перемещаться совместно с откатными частями в исходное до
выстрела положение. Характер силового воздействия на орудие тот же, что и при
откате, но отличается меньшим динамизмом.
Достоинства указанной схемы
определяются следующим:
силовое взаимодействие между
элементами в цилиндре 7 не влияет на устойчивость орудия при выстреле, что
обусловлено замкнутостью этой системы. Поэтому на всем периоде отката - наката
силовое воздействие в цилиндре 1 характеризуется знакопостоянством;
сборка в цилиндре 7 может быть
размещена практически в любом месте лафета, что снимает трудности компоновки
орудия по части противооткатных устройств;
длина хода поршня 9 с втулкой 12
управляема, и может быть больше, равна или меньше длины отката. Это также дает
определенную свободу в выборе параметров конструкции и ее компоновки на орудии.
Основным недостатком конструкции
является отсутствие ограничения движения откатных частей при накате в
промежуточных положениях, что может привести к образованию вакуума в полости I
и неуправляемому движению откатных частей вплоть до удара переднего дна
цилиндра 1 в люльку 8. Предотвратить подобный эффект можно лишь правильным
расчетом характеристик движения жидкости и параметров ПОУ.
Математическая модель такого ПОУ
основана на двух уравнениях: Бернулли и сплошности.
Так как по условию функционирования
ПОУ р1=р3, то
(2.1)
Тогда из (2.1)
(2.2)
Из уравнения сплошности
Получим
(2.3)
Подставляя (2.3) в
(2.2), получим
(2.4)
Аналогичным образом
можно получить зависимость для определения регулирующего зазора тормоза наката.
Дополненные геометрическими соотношениями, эти зависимости представляют собой
математическую модель противооткатного устройства. В качестве частных критериев
следует использовать массово-габаритные и режимные параметры ПОУ.
Струйные тормоза
Гидравлической струей
называется конечный поток жидкости, не ограниченный твердыми стенками.
Гидроструи бывают затопленными и незатопленными. Струя, вытекающая в жидкость,
однородную с жидкостью струи, называется затопленной. Струя, вытекающая в
атмосферу, называется незатопленной. Функционирование струйного гидротормоза
основано на использовании кинетической энергии струи рабочей жидкости.
Рассмотрим схему
простейшего гидротормоза (рисунок 2.2).
Рисунок 2.2 - Схема
простейшего гидравлического тормоза
При перемещении цилиндра
в направлении отката в рабочей полости образуется давление вследствие
гидравлического сопротивления истечению жидкости через отверстие площадью ах.
Обозначим:- диаметр штока;- внутренний диаметр цилиндра (наружный
диаметр поршня).
Тогда на поршень будет действовать сила
(2.5)
а на дно цилиндра
(2.6)
где R - струи на дно
цилиндра.
Определим величину R на основе самых общих соображений. Уравнение
сплошности потока имеет вид
(2.7)
где все обозначения соответствуют общепринятым использованным
выше.
Тогда из (2.7)
(2.8)
Умножая правую часть уравнения (2.8) на плотность ρ,
получим массу жидкости, истекшей за время dt из полости I:
Величина W2 много больше V, тогда как в рабочей полости
скорость течения жидкости близка к нулю. Тогда можно записать зависимость для
изменения количества движения
(2.9)
где W2 определено зависимостью (2.8).
Как следует из (2.9), величина R является переменной и изменяется
от нуля в начале отката до Rmax
при V = Vmax
и далее - до нуля в конце отката. Для орудия Д-44 Rmax
= 90 кН, а для Д-30 Rmax =130 кН.
Таким образом, разница в усилиях на дно цилиндра и поршень
определяется величиной
(2.10)
Практически все современные гидротормоза образуют струйное течение
жидкости из рабочих полостей во вновь образуемые при взаимном перемещении
элементов тормоза. Следовательно, при постановке гидротормозов на орудие
целесообразно в откат пускать цилиндры.
На практике цилиндр имеет два дна, поэтому струя, ударяясь о
заднее дно, теряет приобретенный импульс. По мере отката полость между поршнем
и задним дном заполняется жидкостью, поэтому струя становится затопленной, ее
энергия расходуется на перемешивание жидкости в образуемой полости.
Постепенно струя теряет форму. Таким образом, в реальных тормозах
величина ΔФ будет меньше, чем это могло бы быть исходя из (2.10)
(2.11)
где R1(x) - сила воздействия струи на заднее дно
цилиндра;
х - путь отката.
При необходимости определения силы R1(х)
можно воспользоваться зависимостями для основных характеристик затопленной
струи - скорости на начальном участке и энергии на основном участке (рисунок
2.3).
Рисунок 2.3 - Осесимметричная свободная струя
На основании экспериментальных исследований проф. В.М. Коновалов
предложил зависимость для определения осевой скорости струи на начальном
участке:
(2.12)
где W2
- скорость в начальном сечении;
dH
- приведенный диаметр струи. В рассмотренном выше случае
(2.13)
l
- длина распространения потока;
т - опытная константа (т =2,9);
d
- диаметр струи на расстоянии от начального сечения
(2.14)
Кинетическая энергия струи для основного участка
(2.15)
где Е0 - кинетическая энергия в начальном
сечении.
Описанный выше эффект силового воздействия истекающей струи может
быть использован в различных конструкциях гидротормозов. На рисунке 2.4
показана конструкция, аналогичная выше рассмотренной.
Рисунок 2.4 - Струйный гидравлический тормоз
Отличие заключается лишь в изменении направления движения струи и
использовании ее энергии непосредственно для торможения движения откатных
частей.
Изменение количества движения до и после воздействия струи на
отбойную тарель
(2.16)
Очевидно, что величина силы R является функцией угла при прочих
равных условиях. И при φ = 180° R
получает наибольшее значение
(2.17)
где Rc
- реакция струи на дно корпуса люльки.
Расход жидкости можно устранить, если использовать конструкцию
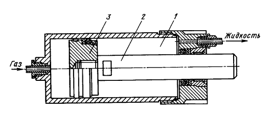
ПОУ, схема которой показана на рисунке 2.5.
Рисунок 2.5 - Противооткатное устройство
После передачи основной струей
импульса движения поршню она рассекается дополнительными струями, что приводит
к уменьшению скорости ее движения, а наряду с приведенной компоновкой
накатника, обеспечивающего демпфирование силового воздействия скоростной струи
на поршень накатника, снижает величину силового воздействия жидкости на заднее
дно накатника и всю сборку (накатник-шток-поршень).
Вакуумные противооткатные устройства
Рассмотренные выше противооткатные
устройства являются преобразователями энергии с довольно низким кпд ее передачи
в атмосферу. За счет значительной разницы времен отката и наката и в силу
используемых
принципов преобразования энергии,
значительная ее часть накапливается в ПОУ, что может вызвать ограничения на
режим стрельбы артиллерийского орудия и как следствие снижение эффективности
его боевого применения. В этом плане более предпочтительными могут быть
вакуумные противооткатные устройства либо их комбинации с описанными выше.
Рассмотрим конструктивные схемы
таких устройств.
На рисунке 2.6 показана схема
комбинированного ПОУ.
От известных данная схема отличается
наличием вакуумной камеры 1, в которой размещается охлаждающая жидкость.
Рисунок 2.6 - Комбинированное ПОУ
При перемещении штока с поршнем в
откат жидкость из рабочей полости поступает через клапанный регулятор в полость
накатника, перемещает плавающий поршень, сжимая воздух, который аккумулирует
энергию, необходимую для возвращения откатных частей в исходное положение.
Объем полости I резко возрастает, происходит разрежение расположенного в этой
полости воздуха и испарение охладителя. При этом температура смеси воздуха и
паров охладителя резко снижается, на что расходуется часть энергии движущихся
откатных частей. В связи с разной интенсивностью процессов отката и наката (t=(5…10) t0) происходит
отвод тепла от нагревающихся при сжатии воздуха и дросселировании жидкости,
снижается интенсивность накопления энергии противооткатным устройством,
расширяются боевые возможности орудия. В рассмотренной схеме требуемый закон
изменения приведенной схемы сопротивления откату обеспечивается клапанным
регулятором.
В первом приближении математическая
модель может быть получена на основе допущения об изменении состояния воздуха в
вакуумных полостях по закону политропы.
Тогда работа по изменению состояния
воздуха определяется следующими зависимостями:
(2.18)
Где V, p,
ρ1,
T - соответственно объём, давление, плотность и температура воздуха
в вакуумной камере;
п
- показатель политропы;
k
- количество вакуумных камер;
R0
- удельная газовая постоянная;

(2.19)
Сложность реализации
зависимостей заключается в необходимости экспериментального определения
значения показателя политропы и как для отката, так и для наката. Поэтому более
правильным был бы подход к проектированию вакуумных ПОУ на основе более общих
законов состояния газа. Однако этот вопрос выходит далеко за рамки настоящей
работы.
Заключение
Вопрос создания
противооткатных устройств и их эксплуатации является многоплановым,
конструктивных решений может быть бесчисленное множество.
Процесс проектирования
противооткатных устройств состоит из ряда последовательно решаемых
взаимообусловленных задач и включает этапы, общие для проектирования любого
технического устройства. Объединенные вместе, эти этапы представляют алгоритм
обобщенного проектирования, реализация которого в значительной мере
способствует выполнению технического задания.
. Формирование полного
перечня требований, предъявляемых к разрабатываемому устройству с учетом его
места в общей структуре орудия; выделение тех требований, которые в основном
определяют специфику его функционирования.
Для ПОУ - это набор
функциональных, общетехнических и конструктивных требований. Сюда могут
добавляться специфичные требования, характерные лишь для данного проекта.
Например, для струйного тормоза может быть обусловлено требование минимального
расхода жидкости.
. Формирование полного
перечня физических законов, использование которых обеспечивает реализацию
определяющих требований к устройству, обоснование достаточного минимума этих
законов и структуры их использования.
Для ПОУ, как правило,
представляющих собой механические системы, таковыми являются общие законы
механики - сохранения энергии, импульса, массы.
. Обоснование
технического решения устройства, обеспечивающего реализацию необходимых
физических законов (процессов), их взаимообусловленность и выполнение комплекса
определяющих требований.
Для ПОУ (как и для
любого устройства) - это либо выбор имеющейся, либо изобретение новой
конструкции. Следует иметь в виду, что требуемую конструкцию легче придумать
(изобрести), чем приспосабливать под новые требования старые конструкции.
Сказанные этапы
составляют наиболее трудную в плане формализации часть обобщенного алгоритма -
творческую часть.
. Выбор метода
формализации процессов функционирования устройства и формирование на его основе
математической модели.
Для ПОУ, например, для
гидравлических тормозов - это аналитические зависимости, описывающие течение
жидкости в каналах с учетом ее кинематических и физических параметров,
геометрических параметров тормоза.
. Формализация
определяющих требований в виде совокупности частных критериев качества и выбор
формы записи обобщенного (интегрального) критерия качества проекта.
Для ПОУ - это, например,
минимум массы, объема, максимум (минимум) энергоемкости и т.д. Смысл
формализации заключается в переводе качественных критериев (требований) в
количественные показатели (критерии).
. Выбор формы реализации
математической модели и ее реализация:
по виду решения
(аналитическое, численное дифференцирование, интегрирование, разложение в ряды,
по конечным разностям, по фундаментальным функциям и т.д.);
по степени автоматизации
вычислений.
В конкретных решениях
используется, как правило, комбинация способов решения и степеней
автоматизации, а также их дублирование с целью контроля достоверности
получаемых результатов.
. Выбор формы
представления и представление результатов работы.
. Оценка результатов
работы.
Последовательность
реализации этапов в принципе может меняться, каждый из этапов может
неоднократно повторяться.
Исходя из выше
сказанного, можно определить следующие пути совершенствования противооткатных
устройств:
разработка и применение
комбинированных нераздельных ПОУ;
проектирование устройств
для стабилизации гидравлического сопротивления потоку жидкости в канавочных
(веретенных) гидротормозах при изменении температуры жидкости;
применение
дополнительных регулирующих устройств в клапанных тормозах отката (наката) и
использование пневмобуферов наката, встроенных в цилиндры ПОУ;
проектирование орудий с
выкатом.
Список источников
1. Теория и расчёт артиллерийских орудий: Учебник для вузов / Под
общ. ред. И.В. Баева. - Пенза: ПВАИУ, 1980. - 472 с.
. Артиллерийское вооружение. Основы устройства и конструирование:
Учебник для вузов / Под ред. И.И. Жукова. - М.: Машиностроение, 1975. - 420 с.
. Вооружение и техника: Справочник / Под ред. А.В. Громова. - М.:
Воениздат, 1984. - 367 с.
. Основания устройства и конструкция орудий и боеприпасов наземной
артиллерии: Учебник для вузов / Под общ. ред. Н.Н. Королькова. - М.: Воениздат,
1976. - 459 с.
. Орлов Б.В., Морозов Ю.Н., Королёв А.А. Материальная часть и
основы проектирования артиллерийских систем: Уч. пособие. - М.: ЦНИИ инф.,
1974. - 408 с.
. Физические основы устройства и функционирования
стрелково-пушечного, артиллерийского и ракетного оружия. Часть I. Физические основы устройства и
функционирования стрелково-пушечного и артиллерийского оружия: Учебник для
вузов / Под ред. А.А. Королёва и
В.Г. Кучерова. - Волгоград: ВолгГТУ, 2002. - 560 с.
. Чекмарёв А.А., Осипов В.К. Справочник по машиностроительному
черчению. - М.: Высшая школа, 1994. - 671 с.
. Давыдов С.А., Захаров А.М. Основания устройства артиллерийских
орудий: Уч. пособие. - Тула: ТАИИ, 2006. - 120 с.
. Набоков Ф.В. Приближенное решение задач оптимального проектирования
регулирующих устройств тормоза отката артиллерийских орудий. - «Оборонная
техника», 1976, №3.