Балаковская атомная электростанция: оптимальный алгоритм работы энергоблока ВВЭР-1000

  • Вид работы:
    Курсовая работа (т)
  • Предмет:
    Физика
  • Язык:
    Русский
    ,
    Формат файла:
    MS Word
    323,8 Кб
  • Опубликовано:
    2012-10-07
Вы можете узнать стоимость помощи в написании студенческой работы.
Помощь в написании работы, которую точно примут!

Балаковская атомная электростанция: оптимальный алгоритм работы энергоблока ВВЭР-1000

Содержание

Введение

1. Балаковская Атомная Электростанция с четырьмя серийными блоками ВВЭР-1000(4 Х 1000)

. Описание АЭС с серийными энергоблоками ВВЭР-1000

. Технологическая система пара собственных нужд

.1 Назначение, состав и схема системы

.2 Цифровые автоматические регуляторы БРУ-СН

.3 Блокировки системы, влияющие на расход пара через БРУ-СН

. Нарушение в работе блока №1 БалАЭС

.1 Состояние энергоблоков АЭС до нарушения

.2 Описание последовательности событий

.3 Последствия нарушения

.4 Недостатки, выявленные при расследовании

. Расчетная оценка материального баланса пара собственных нужд

.1 Введение

.2 Определение расхода пара из ПГ

.3 Определение расхода пара на ТПН

.4 Определение расходов пара потребителей собственных нужд

.5 Определение расхода пара на деаэратор

.6 Определение суммарного расхода пара

.7 Выводы по результатам расчета

. Расчетный анализ переходных процессов энергоблока с ВВЭР-1000

.1       Методика расчета

.2       Исходные данные

.3       Расчетный анализ реального процесса

.4       Расчетный анализ переходных процессов со снижением уровня в КД

. Анализ причин останова блока и выводы по результатам расчетов

Заключение

Целью дипломной работы является:

1 Произвести расчетную оценку материального баланса пара собственных нужд.

2 Провести расчетный анализ реального переходного процесса энергоблока с реактором ВВЭР-1000.

3 Произвести расчетный анализ переходных процессов со снижением уровня в КД.

4 Проанализировать причины останова блока и сделать выводы по результатам расчетов переходных процессов.

Введение

На основании опыта эксплуатации АЭС с ВВЭР-1000 установлено, что существующий алгоритм работы БРУ-СН при мощности реакторной установки на уровне собственных нужд и МКУ приводит к нарушению теплового баланса первого и второго контуров. В этом случае происходит падение давления во втором контуре, последующее захолаживание первого контура и срабатывание аварийной защиты реактора по снижению уровня теплоносителя в КД.

Подобное нарушение зарегистрировано на Балаковской АЭС [1], когда одной из причин останова энергоблока №1 явилось несоответствие производимого РУ и потребляемого собственными нуждами пара.

Настоящая работа выполнена с целью повышения безопасности и надежности эксплуатации АЭС путем разработки оптимального алгоритма работы БРУ-СН при снижении мощности РУ до уровня собственных нужд и МКУ.

Для обоснования изменения алгоритма работы БРУ-СН был проведен расчетный анализ параметров первого и второго контуров при снижении мощности РУ до уровня собственных нужд и МКУ в реальном переходном процессе, зарегистрированном на Балаковской АЭС, и при консервативном задании исходных данных.

аэс энергоблок пар регулятор

1. Балаковская Атомная Электростанция с четырьмя серийными блоками ВВЭР-1000(4 Х 1000)

АЭС состоит из четырех серийных энергоблоков, размещенных в отдельных зданиях. Каждый энергоблок с реактором ВВЭР-1000 (В-320), турбогенератором К-1000-60/3000 представляет собой моноблок.

Моноблок имеет главный корпус АЭС, состоящий из реакторного отделения, машинного зала, деаэраторного отделения и помещения БЩУ.

Между корпусами энергоблоков размещены дизель-генераторные электростанции для аварийного питания энергоблоков.

Объединенный спецкорпус, предусмотрен для четырех энергоблоков и соединен с энергоблоками эстакадой технологических трубопроводов, состоящей из верхнего закрытого этажа для грязных трубопроводов и нижнего, открытого - для чистых трубопроводов. Спецкорпус также соединен с энергоблоками железнодорожным путем.

Реакторные отделения энергоблоков имеют железнодорожные въезды для подачи и транспортирования топлива и оборудования.

Объединенный вспомогательный корпус с установками для химводоочистки, мастерскими, лабораторно-бытовой корпус и административный корпус размещены на одной площадке и соединены между собой. Имеется общая столовая. К спецкорпусу примыкает корпус переработки радиоактивных отходов. На отдельной площадке расположены пропан-бутановая и ацетилен-генераторная станции. Каждый энергоблок имеет свою насосную станцию (БНС).

Реакторное отделение предназначено для размещения ядерной паропроизводительной установки (ЯППУ) и вспомогательного оборудования, обеспечивающего работу ЯППУ. Первый контур размещен в герметичной зоне - цилиндрической бетонной оболочке, облицованной изнутри стальным листом. Оболочка-цилиндр диаметром 45м с шаровым куполом общей высотой 67.45м установлена на фундаментную негерметичную часть здания. Отметка низа герметичной оболочки -13.2м. В фундаментной части размещается оборудование систем аварийного охлаждения зоны реактора и обеспечения ЯППУ. В фундаментной части расположены герметичный транспортный коридор, соединенный через транспортный шлюз с реакторным отделением, и герметичное помещение бака аварийного запаса бора. Вокруг цилиндрической части здания расположена обстройка высотой 41.4м. На крыше обстройки - вентиляционная труба энергоблока. В обстройке расположены система вентиляции, БЩУ, деаэраторы подпитки и борного регулирования и другое оборудование станционных систем. Вход в герметичную зону осуществляется через шлюзы на отметках 19.3 и 36.9м. Транспортные операции производятся через герметичный шлюз и вертикальную шахту.

Машинный зал и деаэраторное отделение размещены в здании каркасного типа 127 х 57м, высотой 42м. Оборудование расположено открыто, так как второй контур АЭС нерадиоактивен. Отметка обслуживания турбоагрегата - 15м. Машинный зал имеет железнодорожный и автомобильный въезды.

Технологические связи осуществлены открытой эстакадой трубопроводов.

2. Описание АЭС с серийными энергоблоками ВВЭР-1000

Атомная электростанция с серийными энергоблоками ВВЭР - 1000 представляет собой энергетический комплекс, состоящий, как правило, из нескольких отдельных блоков, в состав каждого из которых входит ядерная паропроизводительная установка водо-водяного типа единичной электрической мощностью 1000 МВт. Технологическая схема энергоблока двухконтурная.

Первый контур радиоактивный, теплоносителем и замедлителем является обессоленная вода под давлением. В него входят главный циркуляционный контур и ряд вспомогательных систем. Главный циркуляционный контур предназначен для отвода тепла, выделяющегося в реакторе, и передачи его (в парогенераторе) воде второго контура. Главный циркуляционный контур включает в себя реактор типа ВВЭР-1000 и четыре циркуляционные петли. Каждая циркуляционная петля состоит из парогенератора, главного циркуляционного насоса и главных циркуляционных трубопроводов Ду 850.

Компенсация объема теплоносителя, создание и поддержание постоянного давления, а также ограничение давления в переходных и аварийных режимах в первом контуре осуществляется системой компенсации давления, состоящей из присоединенного к одной из петель компенсатора давления с барбатером и предохранительными клапанами.

Вопросы безопасности АЭС с реакторам ВВЭР-1000 решены на основе общих положений обеспечения безопасности атомных станций при проектировании, сооружении и эксплуатации.

Проектом АЭС предусмотрены технические и организационные мероприятия, обеспечивающие соблюдение допустимых пределов облучения персонала АЭС, населения и загрязнений окружающей среды радиоактивными продуктами при нормальной эксплуатации и при проектных авариях, из которых за наиболее тяжелую принята так называемая максимальная проектная авария с мгновенным разрывом главного циркуляционного трубопровода Ду 850.

В целях обеспечения безопасности АЭС системы и установки первого контура размещены в герметичной защитной оболочке, рассчитанной на внутреннее давление 0.5МПа, что позволяет локализовать распределение радиоактивной среды при заданных проектных авариях.

Система аварийного охлаждения активной зоны реактора (САОЗ) предназначена для охлаждения активной зоны путем аварийной подачи в нее высококонцентрированного раствора бора при аварийной потере теплоносителя.

Пассивная часть этой системы состоит из двух независимых каналов, которые в свою очередь включают в себя по две гидроемкости САОЗ, систему трубопроводов и клапанов.

Входящая в технологическую часть первого контура система очистки радиоактивных вод (спецводоочистка), состоящая из 7 отдельных установок, предназначена для поддержания водного режима в основных и вспомогательных контурах АЭС. Кроме указанного, технологическая часть первого контура включает систему продувки-подпитки первого контура, систему технических газовых сдувок и сжигание водорода, систему снижения давления в герметичных помещениях, систему борного регулирования и т.п.

Парогенераторы являются общим оборудованием первого и второго контуров АЭС и предназначены для выработки сухого насыщенного пара для турбины.

Оборудование, арматура и трубопроводы первого контура выполнены из нержавеющей стали аустенитного класса либо из специальных сталей с нержавеющей наплавкой.

Второй контур нерадиоактивный. Предназначен для выработки насыщенного пара, передачи его в турбину, производства электроэнергии. Включает в себя паропроизводительную часть парогенераторов, паропроводы, турбоагрегат и вспомогательное оборудование машинного отделения, сепараторы-пароперегреватели, систему регенерации и т.п.

Турбина имеет цилиндры высокого и низкого давления. Пар, поступающий из парогенераторов, проходит цилиндр высокого давления, затем направляется в сепараторы-пароперегреватели и далее - в цилиндры низкого давления. В комплект турбоустановки входит конденсационная установка.

Система регенерации турбин состоит из подогревателей низкого и высокого давления, в которых конденсат и питательная вода подогревается за счет нерегулируемых отборов пара.

Подача конденсата из конденсатора в деаэратор осуществляется при помощи конденсатных насосов первой и второй ступени.

Деаэраторно-питательная установка состоит из деаэратора и питательных турбонасосных агрегатов.

Кроме указанных установок, ко второму контуру относится система технического водоснабжения ответственных и неответственных потребителей, циркуляционного водоснабжения и др.

Электротехническое оборудование предназначено для выработки электроэнергии и передачи ее в энергосистему. К основному электротехническому оборудованию относятся генератор турбины, силовые трансформаторы, распределительные устройства, разъеденители, выключатели.

Для обеспечения питания потребителей собственных нужд в нормальном режиме работы АЭС служат сети электроснабжения собственных нужд. На случай потери электропитания в этих сетях электроснабжения для ответственных потребителей предусмотрен переход на аварийное питание от аккумуляторных батарей и резервной дизельной электростанции.

АЭС с блоками ВВЭР-1000 оснащена специальным транспортно-технологическим оборудованием, предназначенным для проведения операций, связанных с приемкой свежего топлива, перегрузкой топлива в реакторе, транспортировкой кассет в бассейне выдержки, вывозом выдержанного топлива с территории АЭС. Основные операции, связанные с подъемом и перемещением оборудования, производится мостовыми кранами реакторного и машинного отделений.

Системы технологического контроля, дистанционного управления и автоматического регулирования обеспечивают плановый пуск и останов блока и АЭС, ведение нормального эксплуатационного режима, аварийную загрузку и аварийный останов блока, а также контроль за этими режимами. Централизованный контроль и управление основными технологическими процессами на блоках осуществляется с блочного щита управления. На случай аварийного вывода из строя блочного щита управления предусмотрен резервный щит управления, с которого возможно управление аварийной разгрузкой и остановом блока.

 Кроме указанных, на АЭС предусмотрены системы и установки биологической защиты, безопасности и локализации последствий вероятных аварий, радиационного контроля и специального контроля АЭС, которые обеспечивают безопасность персонала АЭС и окружающей среды и населения.

Архитектурные решения АЭС подчинены целям надежности и безопасности эксплуатации, удобства эксплуатации и сооружения АЭС.

Компоновка зданий, сооружений, а также генплан АЭС обеспечивают возможность строительства АЭС индустриально-поточным методом с максимальным использованием строительных конструкций заводского изготовления, а также возможность независимого ведения работ на каждом блоке. В этой связи для серийной АЭС с блоками ВВЭР-1000 разработана моноблочная компоновка ядерной паропроизводительной установки с соосным расположением реактора и турбины в отдельном главном корпусе, который состоит из реакторного, машинного, деаэраторного отделений и помещений электротехнических устройств.

Реакторное отделение включает герметическую часть в виде защитной цилиндрической оболочки с внутренним диаметром 45м. и негерметическую часть, состоящую из фундаментной части, обстройки защитной оболочки, вентиляционные трубы.

Защитная цилиндрическая оболочка имеет сферический купол и выполнена из предварительно-напряженного монолитного железобетона. Для обеспечения герметичности по внутренней поверхности оболочки предусмотрена металлическая облицовка.

Проектом серийной АЭС с реактором ВВЭР-1000 предусмотрено широкое использование в строительстве стальных и армоопалубочных блок-ячеек заводского изготовления с заранее установленными в них технологическими проходками и закладными деталями.

Комплекс сооружений второго контура, входящий в главный корпус (машзал, деаэраторное отделение и помещение электротехнических устройств), также разработан с учетом возможности их сооружения индустриально-поточным способом.

В состав АЭС помимо главного корпуса предусмотрены обще станционные вспомогательные здания и сооружения, такие, как спецкорпус и объединенно-вспомогательный корпус.

В здании спецкорпуса размещены блок спецводоочистки (СВО), санитарно-бытовой блок и блок мастерских.

В объединенном вспомогательном корпусе размещены цех химводоочистки, центральный материальный склад, ремонто-строительный цех и лабораторные помещения.

На площадке АЭС отдельно размещаются: дизель-генераторная станция, корпус газового хозяйства, пусковая котельная с дымовой трубой, блочная насосная станция, хранилище твердых слабоактивных отходов, технологические трубопроводы на эстакадах, объединенное маслохозяйство, открытое распределительное устройство, подводящий и отводящий каналы, административный и лабораторно-бытовые корпуса, столовая и др. АЭС имеет железнодорожные въезды и сквозные железнодорожные пути, и автомобильные дороги.

3. Технологическая система пара собственных нужд

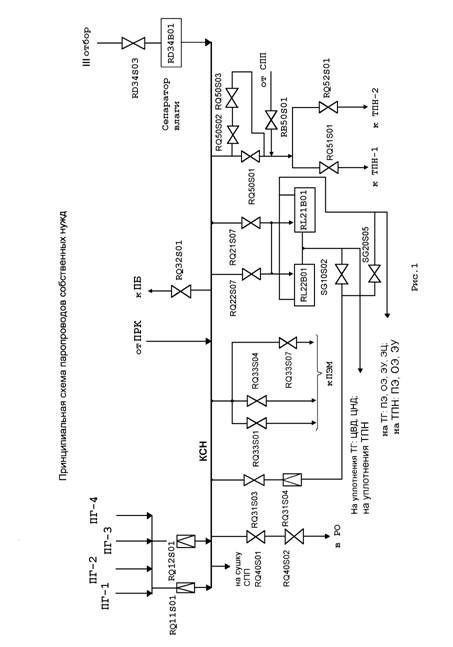
3.1 Назначение, состав и схема системы

БРУ-СН обеспечивает подачу пара в КСН при пуске блока, сбросах нагрузки, давлении пара в третьем отборе менее 8 кгс/см2, а также отвод пара при расхолаживании блока.

Принципиальная схема паропроводов собственных нужд расположена на рисунке 1.

В состав системы входит:

1  две БРУ-СН

2  сепаратор влаги

3  редукционная установка РОУ - 14/6

4  редукционная установка РОУ - 14/3

5  10 предохранительных клапанов

6  трубопроводы, арматура, средства измерений и автоматики.

Потребителями пара являются:

7  два деаэратора RL21B01 и RL22B01

8  два пиковых бойлера

9  уплотнения ЦВД и ЦНД

10    эжекторы турбоагрегата (эжектор уплотнений, три основных эжектора, три пусковых эжектора, четыре эжектора цирксистемы)

11    два турбопривода питательных насосов

12    уплотнения турбоприводов питательных насосов (по одному основному эжектору, эжектору уплотнений и пусковому эжектору на каждом турбоприводе)

13    три пароэжекторные машины

14    сепараторы-пароперегреватели (отбор на осушку)

15    в реакторном отделении - ванны дезактивации приводов СУЗ, деаэратор подпитки первого контура, деаэратор борного регулирования.

В зависимости от режима работы энергоблока питание коллектора собственных нужд производится от:

16    третьего отбора турбины

17    БРУ-СН

18    пуско-резервной котельной (ПРК).


До уровня мощности РУ » 750 МВт питание коллектора собственных нужд осуществляется от третьего отбора главной турбины [2], при дальнейшем снижении мощности питание КСН переводится на БРУ-СН вручную оператором либо автоматически по сигналам защит и блокировок [3].

Потребители пара собственных нужд при закрытых стопорных клапанах главной турбины.

В результате проектной работы блокировок при закрытии СК ТГ без срыва вакуума и без аварийного или самопроизвольного отключения генератора от сети, без снижения вакуума в конденсаторе основной турбины и без снижения уровня в сливных циркводоводах потребителями пара из коллектора собственных нужд остаются:

19    два деаэратора

20    два пиковых подогревателя сетевой воды

21    уплотнения ЦВД и ЦНД

22    эжекторы турбоагрегата (два основных эжектора, эжектор уплотнений)

23    турбопитательные насосы, работающие на рециркуляцию, если они не отключены

24    уплотнения ТПН

25    эжекторы турбоприводов питательных насосов (по одному основному эжектору и эжектору уплотнений на каждом турбоприводе)

26    три пароэжекторные машины

27    РОУ подачи пара в реакторное отделение.

3.2 Цифровые автоматические регуляторы БРУ-СН

Система цифрового автоматического регулирования давления пара в КСН и питания ТПН предназначена для управления подачей пара на собственные нужды блока и на ТПН.

В системе предусмотрено управление следующими исполнительными механизмами:

1)  RQ11S01, RQ12S01 - регулирующие клапаны БРУ-СН;

2)  RD34S03 - задвижка на линии подачи пара в КСН от 3-го отбора турбины;

3)  RQ50S01 - задвижка на линии подачи пара от КСН к приводным турбинам ТПН;

4)  RQ50S02, RQ50S03 - задвижка и клапан на байпасной линии подачи пара от КСН к приводным турбинам ТПН;

5)  RB50S02 - задвижка на линии подачи пара к приводным турбинам ТПН от отбора за СПП.

Максимальная степень открытия клапана БРУ-СН в переходном процессе составляет 65%.

Питание КСН паром от БРУ-СН

При питании КСН паром от БРУ-СН регуляторы RQ11, 12C01 поддерживают заданное значение давления пара в КСН (с точностью ± 0.5 кгс/см2) воздействием на РК RQ11, 12S01, установленные параллельно, а в расчетной модели с точностью не более ± 0.1 кгс/см2. Управление клапанами последовательное - "ведомый" клапан открывается только после полного открытия "ведущего" клапана, "ведущий" клапан закрывается только после полного закрытия "ведомого" клапана. Если один из регуляторов отключен, то давление пара в КСН поддерживается воздействием на клапан оставшегося в работе регулятора БРУ-СН. При этом "ведомому" клапану независимо от положения "ведущего" РК разрешается открытие при снижении давления в КСН менее 8 кгс/см2.

Питание КСН от 3 отбора турбины

Перевод питания КСН от БРУ-СН на питание паром 3-го отбора турбины осуществляется при полном открытии задвижки RD34S03 и давлении пара в линии 3-го отбора ЦВД более 8 кгс/см2. При переводе заданному значению давления пара в КСН "Рзд" присваивается текущее значение давления пара в КСН на момент полного открытия задвижки RD34S03 и затем задание плавно снижается с темпом безударного включения 0.03 кгс/см2 до величены 8 кгс/см2. После установки равенства значений "Рзд" и величины, соответствующей выбранной группе уставок 8 кгс/см2 РК БРУ-СН (сначала "ведомый", а затем "ведущий") закрываются непрерывной командой и регуляторы переходят в "стерегущий" режим. Давление в 3 отборе измеряется одним датчиком RD30P01B01, который должен контролироваться по верхнему (15 кгс/см2) и нижнему (1 кгс/см2) пределу при Nз выше 230 МВт.

.3 Блокировки системы собственных нужд, влияющие на расход пара через БРУ-СН

При закрытии стопорных клапанов турбины и давлении в ГПК более 56 кгс/см2 регуляторы БРУ-СН включаются в работу, клапаны БРУ-СН, находящиеся в автоматическом режиме, принудительно открываются в течении 2 секунд.

Для обеспечения "безударных" переводов питания КСН на БРУ-СН и ТПН на КСН при работе энергоблока на разных уровнях мощности оператор уменьшает задание поддержания давления в КСН по мере снижения мощности РУ: 10 кгс/см2, 9 кгс/см2, 8 кгс/см2. При закрытии хотя бы двух стопорных клапанов с разных сторон турбины задание регуляторам БРУ-СН безударно устанавливается 10 кгс/см2.

При срабатывании аварийной защиты реактора и снижении давления в ГПК до 56 кгс/см2 регуляторы БРУ-СН переходят в стерегущий режим.

При снижении давления в ГПК до 52 кгс/см2 БРУ-СН закрываются.

При закрытии СК ТГ задвижка RD34S03 на подаче пара на КСН от 3 отбора и задвижка RB50S01 на подаче пара от СПП к ТПН автоматически закрываются.

Переход ТПН на КСН осуществляется путем открытия арматуры на основной и байпасной линиях подачи пара к ТПН RQ50S01, RQ50S02, RQ50S03 вручную оператором либо автоматически по сигналам защит и блокировок, включающими сигнал закрытия любых двух стопорных клапанов турбины.

При уменьшении расхода воды за ТПН1 (ТПН2) до 800 (1000)т/час открываются задвижки на рециркуляцию в течение 35 сек импульсными командами длительностью 2 сек с паузами 10 сек, затем непрерывной командой до полного открытия.

Регуляторы давления пара в деаэраторах включаются на автоматическое управление оператором после вывода деаэраторов на номинальные параметры и поддерживают Рд = 7 кгс/см2 (абс) путем воздействия на регулирующие клапаны, установленные на паропроводах от КСН к деаэраторам.

Подача пара к эжекторам и на уплотнения главной турбины и ТПН осуществляется либо от линии выпара и от уравнительной линии деаэраторов, что происходит при работе блока на номинальных параметрах и организуется оператором после вывода деаэраторов на номинальные параметры, либо через РОУ 14/6 RQ31S04 от КСН.

Перевод питания эжекторов, уплотнений турбины и уплотнений ТПН на РОУ 14/6 происходит автоматически при повышении уровня в деаэраторе до 2 предела путем открытия задвижек SG20S05 и SG10S02 либо оператором в процессе останова блока.

Три пусковых эжектора включаются во время пуска турбоагрегата, работают параллельно и включаются автоматически при повышении давления пара в конденсаторе выше 0.3 кгс/см2 (абс). Пусковые эжекторы отключаются при срабатывании защит со срывом вакуума.

Из трех основных эжекторов турбины два нормально находятся в работе, один - в резерве. Резервный эжектор включается при повышении давления в любом конденсаторе выше 0.13 кгс/см2 (абс). Основные эжекторы отключаются при срабатывании защит, сопровождаемых срывом вакуума.

Четыре эжектора цирксистемы используются для создания разрежения в водяных камерах конденсаторов перед включением циркуляционных насосов и автоматически включаются при снижении уровня в верхней точке любого сливного циркводовода на 50 мм. После восстановления номинального уровня в циркводоводе эжекторы автоматически отключаются.

Задвижки на подводе пара к уплотнениям ЦВД и ЦНД закрываются с запретом открытия при срабатывании защит со срывом вакуума.

При открытом стопорном клапане ТПН накладывается запрет на закрытие вентилей на подводе пара к регулятору уплотнений турбопривода, к эжектору системы отсоса, к основному эжектору ТПН, к вентилям отсоса паровоздушной смеси.

При нагрузке энергоблока менее N = 50%Nном или при остановленной турбине подогрев сетевой воды осуществляется в пиковых бойлерах паром от КСН.

При останове турбины автоматически закрывается задвижка на подаче пара из четвертого отбора к ПБ. Задвижка RQ32S01 на подводе пара к пиковым подогревателям сетевой воды ПБ от коллектора собственных нужд открывается оператором и автоматически закрывается при сбросе нагрузки основной турбиной до холостого хода при аварийном или самопроизвольном отключении генератора от сети.

Расход пара через ПБ определяется регулятором, работающим по сигналу перепада давления "сетевая вода - пар" и подключаемым к управлению клапаном при открытии задвижки RQ32S01.

4. Нарушение в работе блока №1 БалАЭС

4.1 Состояние энергоблоков АЭС до нарушения

Энергоблок №1 находился в режиме нормальной эксплуатации.

Мощность РУ составляла N = 2680МВт (тепл.), мощность ТГ-1 N = 900 МВт (эл.).

В работе : 1ГЦН-1,2,3,4, 1ТПН-1,2, 1ЦН-1,2,3.

Энергоблок №2 находился в ремонте.

Энергоблок №3 находился в работе Nэ = 500 МВт.

Энергоблок №4 находился в работе Nэ = 700 МВт.

4.2 Описание последовательности событий

октября 1996 года на энергоблоке №1 БалАЭС произошло срабатывание аварийной защиты реактора при разгрузке реакторной установки до МКУ [1].

:03:05 действием защиты от "замыканий на землю" отключились ВВ 1Т-1, 1Т-2, закрылись стопорные клапаны ТА-1, прошел АВР секций нормальной эксплуатации 1ВА, 1ВВ, 1ВС, 1BD. По факту закрытия стопорных клапанов произошло срабатывание УРБ (ОР СУЗ 1 группы на НКВ), разгрузка реакторной установки действием РОМ по цепям ПЗ-1.

Оперативный персонал отключил регулятор YPC02 и регулирование уровня в КД осуществлялось воздействием на клапана продувки-подпитки первого контура.

:05:00 застабилизированы параметры состояния систем энергоблока:

мощность РУ N = 38%Nном, N = 1170 МВт (тепл.), Ркд = 153 кгс/см2, Lкд = 730 см, Рпг = 66 кгс/см2.

:06:21 сработала технологическая защита ТА-1 "Повышение уровня в корпусе ПНД-3 до 2 предела", действие сигнала ТЗ было кратковременным в течении 1 сек.

:10:00 при повышении уровня в деаэраторах до 2850 мм ВИУТ-1 отключил один из работающих КЭН-2 ступени (1RM43D01).

:10:01 закрылась задвижка на линии основного конденсата после пускового РУД 1RM53S02.

:11:04 закрылась 1RM50S02 после основного РУД с запретом их открытия по непроектному алгоритму.

При снижении уровня в деаэраторах до 2160 мм, для исключения дальнейшего снижения уровня персонал ТЦ-1 неоднократно воздействовал на задвижки 1RM50S02 и 1RM53S02, но не успешно из-за действия запрета их открытия.

:13:01 НСТЦ-1 приоткрыл задвижку 1RM54S01 на байпасе РУД, что совпало с моментом снятия действия запрета по непроектному алгоритму, сформировавшемуся в 14:10:01.

Вследствие этого в 14:13:25 произошло снижение давления на линии подачи основного конденсата на впрыск в ПСУ БРУ-К от КЭН-2 ступени с 23.5 кгс/см2 до 12 кгс/см2.

:13:55 действием блокировки "Снижение давления на ПСУ" закрылись БРУ-К, рост параметров РУ.

:14:05 произошло повышение давления 2 контура до уставки срабатывания БРУ-А, сработала ПЗ-1 по повышению давления 2 контура до 70 кгс/см2.

:14:15 по команде НСО-1 для снятия запрета работы БРУ-К и дальнейшего снижения уровня в деаэраторах ВИУТ-1 включил второй КЭН-2 ступени. Из-за приоткрытого состояния 1RM54S01 произошел резкий рост уровня и снижение давления в деаэраторах.

:14:39 закрылся БРУ-А.

:14:46 действием защиты "Снижение давления на всасе питательных насосов" отключились 1ТПН-1,2, началась разгрузка РУ действием РОМ по цепям ПЗ-1 до мощности N< 5%Nном.

:15:00 по команде НСО-1 ВИУР-1 воздействия на ключ ПЗ-1 приступил к разгрузке реакторной установки до уровня 3-5% Nном и далее до МКУ мощности.

:17:16 закончена разгрузка РУ N = 1*10-2Nном, Ркд = 150 кгс/см2, Lкд = 610 см, Рпг = 63 кгс/см2.

:18:45 при работе в автоматическом режиме регуляторов 1RQ11, 12C01 (клапаны 1RQ11S01, 1RQ12S01) на пониженном уровне мощности и подаче питательной воды в ПГ от ВПЭН-1,2 с максимальным расходом началось снижение параметров 1 и 2 контуров. ВИУР-1 отключил регулятор продувки 1 контура 1ТКС01 закрыл клапан 1TK81S02 и открыл на 55% клапан 1ТК31S02.

:18:54 действием защиты "Снижения уровня в ПГ" отключился ГЦН-3.

:20:15 сработала аварийная защита РУ по "Снижению уровня в КД". ОР СУЗ опустились на НКВ без замечаний.

Параметры РУ после срабатывания АЗ: Ркд = 143 кгс/см2, Lкд = 417 см, Рпг = 53 кгс/см2.

час.46мин. включен ГЦН-3.

час.50мин. питание секций 1ВА, 1ВВ, !ВС, 1ВD переведено по штатной схеме.

час.00мин. получено разрешение на вывод РУ на МКУМ, начат подъем ОР СУЗ на ВКВ.

час.15мин. произведен разворот 1ТПН-2.

.11.96г. 04час.10мин. реакторная установка выведена на МКУМ.

час.25мин. мощность РУ N = 35%Nном.

час.55мин. произведен толчок роторов ТА-1.

час.20мин. начало работы персонала ЭЦ в цепях ЗЗГ-1.

час.27мин. снято возбуждение с генератора, закрыты стопорные клапаны ТА-1.

.11.96г. 10час.50мин. после устранения замечания в цепях ЗЗГ-1 ТГ-1 синхронизирован и включен в сеть.

.11.96г. 10час.45мин. восстановлена нагрузка энергоблока №1 N = 900 МВт (эл.).

4.3 Последствия нарушения

Отклонения от пределов и условий безопасной эксплуатации:

Не было.

Выхода радиоактивных продуктов за установленные границы:

Не было.

Облучение персонала, населения:

Не было.

Загрязнение радиоактивными продуктами оборудования, помещений и территории АЭС, территории за пределами АЭС : Не было.

Время простоя энергоблока : 44.8час.

Недовыработка электрической энергии : 47.965 млн.кВтч.

.4 Недостатки, выявленные при расследовании

В работе персонала АС:

ВИУР-1 необоснованно перевел в дистанционный режим регулятор YPC02.

В работе оборудования и систем нормальной эксплуатации:

В проекте энергоблоков №1, 2 не предусмотрена выдержка времени защиты от замыканий на землю в обмотке статора генератора в канале третьей гармоники, реализованная на блоках №3, 4.

В базе данных УВС установлен неправильный предел измерения датчика уровня в ПНД - 3 1RH50L01.

Проектная уставка срабатывания предупредительной сигнализации снижения уровня в КД выбрана из условий работы РУ на номинальной мощности. При работе РУ на пониженном уровне мощности происходит срабатывание сигнализации с последующим ее "зависанием", что не выполняет функции предупреждения об аварийном снижении уровня в КД.

Проектный алгоритм блокировок TKF04, TKS05 предусматривает отсечение линии продувки 1 контура (при расходе подпитки менее 10 м3/час) локализующей арматурой СБ при наличии арматуры систем нормальной эксплуатации. В переходных режимах возможно кратковременное снижение расхода подпитки менее 10 м3/час. Закрытие пневмоотсечной арматуры 1ТК80S01, 1ТК80S02 и 1ТК80S03 в этом случае приведет к усугублению ситуации, т.к. требует вмешательства персонала в действие автоматики для восстановления режима работы системы подпитки-продувки и отвлечение персонала от действий по стабилизации параметров РУ.

Проектное решение расположения ключей управления ИК АКНП требует от ВИУР отвлекаться от процесса контроля за параметрами РУ в переходных режимах при разгрузках РУ.

В работе оборудования и систем безопасности: Не выявлено.

В работе систем управления: Не выявлено.

5. Расчетная оценка материального баланса пара собственных нужд

.1 Определение расхода пара из парогенератора

Процесс передачи тепла в парогенераторе в теплосиловом цикле с паровой турбиной [4] описывается следующим уравнением:

Qпг = Gпв (i' - iпв) + Gппг (i" - i'), где

пг - тепло, передаваемое в парогенераторе от теплоносителя первого контура питательной воде второго контура,

Gпв - расход питательной воды в парогенератор,

i' - энтальпия воды в парогенераторе на линии насыщения,

iпв - энтальпия питательной воды на входе в парогенератор,

Gппг - расхож пара из парогенератора,

i" - энтальпия пара в парогенераторе на линии насыщения.

Принимая во внимание равенство расходов Gпв = Gппг, т.е. без учета непрерывной продувки парогенераторов по второму контуру, расход которой согласно проектным данным составляет 0.5% от их паропроизводительности, количество генерируемого пара определяется по формуле:

Qпг

Gппг = ¾¾¾

i" - iпв

На рисунке 2 представлен график зависимости суммарного расхода пара из парогенераторов от тепловой мощности реактора при отключенных группах ПВД, который построен по результатам расчетов, данных ниже в таблице 2. Расчет произведен для малых уровней мощности до 10%Nном. Теплотехнические параметры РУ меняются в соответствии с уровнем мощности реактора и в вышеуказанном диапазоне мощностей давление в парогенераторе Р = 62кгс/см2 (абс) [5]. Температура питательной воды на входе в ПГ t = 164°С. В расчетах использованы данные по термодинамическим свойствам воды и водяного пара. Энтальпия питательной воды на входе в парогенератор при температуре t = 164°С равна iпв = 692.9 кДж/кг.

Таблица 1.

Pпг, кгс/см2

i'', кДж/кг

62

2781.1

57

2786.4

53

2790.2


При расходе пара через БРУ-СН, превышающем количество генерируемого пара, давление в ПГ падает до уставки закрытия регулирующего клапана Р = 53 кгс/см2 (абс). Изменение давления в ПГ в диапазоне 62 кгс/см2 - 53 кгс/см2 незначительно влияет на расход генерируемого пара, что следует из расчетных данных, представленных в таблице 2.

Таблица 2.

Тепловая мощность реактора, МВт (% от Nном)

G пара, кг/с (т/час) из ПГ при P= 62 кгс/см2 (абс)

G пара, кг/с (т/час) из ПГ при P= 57 кгс/см2 (абс)

G пара, кг/с (т/час) из ПГ при P= 53 кгс/см2 (абс)

60 (2%)

28.74 (103.46)

28.66 (103.18)

28.60 (102.96)

120 (4%)

57.47 (206.89)

57.32 (206.35)

57.22 (205.99)

180 (6%)

86.2 (310.32)

85.98 (309.53)

85.83 (308.99)

240 (8%)

114.93 (413.75)

114.64 (412.71)

114.43 (411.95)

300 (10%)

143.69 (517.28)

143.30 (515.88)

143.02 (514.87)


5.2 Расход пара на ТПН

На энергоблоках установлены по два турбопитательных насосных агрегата, в состав которых входят:

1 бустерный насос ПТА 388-20

2 главный насос ПТА 3750-75

3 приводная паровая турбина К-12-10ПА (ОК-12А)

Расход пара на турбопривод питательного насоса зависит от развиваемой мощности насоса [4]:

        Nтпн

Gптпн = ¾¾¾¾ , где

        Hотпн × hо.е.

Gптпн - расход пара на ТПН, кг/с

Nтпн - мощность насоса, Вт

Hотпн - располагаемый теплоперепад турбины насоса, кДж/кг,

hо.е. - относительный эффективный коэффициент полезного действия турбопривода, учитывающий потери в проточной части турбины, включая дросселирование в клапанах и потери в подшипниках, по данным [7] принимается равным 0.65.

При питании ТПН от КСН давление пара перед стопорными клапанами турбины Рптпн = 9.9 кгс/см2 (абс), температура пара tптпн = 187°С, давление в конденсаторе Рктпн = 0.03 кгс/см2 (абс) [8,9] и располагаемый теплоперепад:

Нотпн = iптпн - iвтпн - Tктпн (Sптпн - Sвтпн) = 829.3 кДж/кг, где

Hотпн - располагаемый теплоперепад турбины ТПН, кДж/кг

iптпн - энтальпия пара перед стопорными клапанами ТПН, кДж/кг

iвтпн - энтальпия воды в конденсаторе турбины ТПН, кДж/кг

Tктпн - температура воды в конденсаторе турбины ТПН, °К

Sптпн - энтропия пара перед стопорными клапанами ТПН, кДж/кг× град

Sвтпн - энтропия воды в конденсаторе ТПН, кДж/кг× град

По термодинамическим свойствам воды и водяного пара[6], находим

iптпн (р = 9.9 кгс/см2; t = 187°С) = 2776.6 кДж/кг

iвтпн (р = 0.03 кгс/см2; t = 29.8°С) = 101 кДж/кг

Tктпн = 297.3°K

Sптпн (р = 9.9 кгс/см2; t = 187°C) = 6.5882 кДж/кг×град

Sвтпн (р = 0.03 кгс/см2; t = 29.8°С) = 0.3543 кДж/кг×град

Мощность, потребляемая бустерным и главным питательными насосами, определяется развиваемым напором и количеством перекачиваемой жидкости и в соответствии с [4] рассчитывается по формуле:

       DРтпн× Gпв

Nтпн = ¾¾¾¾ , где

       hтпн

тпн - напор питательного насоса, МПа

Gпв - расход питательной воды после деаэратора, м3

hтпн - коэффициент полезного действия питательного насоса.

По характеристикам бустерного и главного насосов, приведенным в [10], определяются значения развиваемых напоров и коэффициентов полезного действия при перекачивании

Gпвтпн1 = 800 м3/час и Gпвтпн2 = 1000 м3/час.

Расчетная мощность, потребляемая насосами, составляет Nтпн1 = 5.2МВт и Nтпн2 = 5.0МВт и расчетный суммарный расход пара на два ТПН при их работе на рециркуляцию составляет Gптпн @ 20.7 кг/с = 74.6 т/час.

5.4 Определение расходов пара потребителей собственных нужд, представленные по проектным и эксплуатационным данным

По данным, представленным в [2,7,9] расходы пара на:

4  основной эжектор турбины Gпэот = 2.2 т/час = 0.6 кг/с

5  эжектор уплотнений турбины Gпэутг = 3.5 т/час = 1.0 кг/с

6  уплотнения ТГ Gпутг = 5.1 т/час = 1.4 кг/с

7  основной эжектор ТПН Gпэотпн = 0.45 т/час = 0.13 кг/с

8  эжектор уплотнений ТПН Gпэутпн = 0.14 т/час = 0.04 кг/с

9  уплотнения ТПН Gпутпн = 1.18 т/час = 0.3 кг/с

На собственные нужды реакторного отделения пар поступает через редукционную установку максимальной производительностью Gпро = 20 т/час = 5.6 кг/с.

Расход пара на пароэжекторные машины машзала и реакторного отделения по эксплуатационным данным составляет Gпэм = 10 т/час = 2.8 кг/с.

Максимальный расход пара на один пиковый подогреватель сетевой воды составляет GПБ = 152 т/час = 42.2 кг/с, но фактический расход пара на подогреватели зависит от времени года, оперативного состояния энергоблоков АЭС и может изменяться в широком диапазоне. По данным Балаковской АЭС подогреватели, как правило, загружены на 10% и расход пара на два пиковых подогревателя равен GПБ = 30.4 т/час = 8.4 кг/с.

Таким образом, суммарный расход пара на вышеуказанные потребители составляет Gпо = 20.74 кг/с (74.6 т/час) с использованием 10%-й производительности пиковых бойлеров и Gпо = 96.74 кг/с (348 т/час) при максимальном расходе пара через них.

5.5 Расход пара на деаэратор

Пренебрегая незначительными поступающими потоками сред (например, пар от уплотнений штоков клапанов регулирования турбины, из расширителя непрерывной продувки парогенератора и др.), уравнение теплового и материального баланса для смешивающегося подогревателя - деаэратора имеет вид [11]:

hд(Gпд iпд + Gк iк) = (Gпд + Gк) iпв , где

hд - к.п.д. деаэратора, учитывающий потери в окружающую среду, принимается по данным справочной литературы равным 0.97 [11]

Gпд - расход греющего пара в деаэратор

Gк - расход основного конденсата, поступающего в деаэратор из конденсатора турбины; в данном случае равный расходу пара на собственные нужды без расхода пара на сам деаэратор Gк = Gпсн-д

iпд - энтальпия греющего пара на линии насыщения при давлении в деаэраторе 7 кгс/см2

iпв - энтальпия питательной воды на выходе из деаэратора

iк - энтальпия конденсата, поступающего в деаэратор.

Из этого уравнения определяется расход пара от КСН в деаэратор, необходимый для подогрева основного конденсата до t = 164°С, поступающего из конденсатора с t = 29.8°С [9] (при отключенных подогревателях низкого давления и нагреве конденсата конденсатными насосами 1 и 2 ступеней на 3°С) в количестве, требующемся для восполнения потерь, связанных с расходом пара на собственные нужды Gпд.

iпв (t = 164°С) = 702.4 кДж/кг

iк (t = 29.8°С) = 137.36 кДж/кг

iпд (р = 7 кгс/см2) = 2762.9 кДж/кг

Результаты расчета расхода пара на деаэратор Gпд в зависимости от расхода основного конденсата Gк представлены в таблице 3, а уже по таблице построен график зависимости, представленный на рис.3.

Таблица 3.

Gк, кг/сек

Gпд, кг/сек

20

4.67

40

8.68

60

14.34

80

22.67

100

32.1


При расходе основного конденсата Gк, равном максимальному расходу питательной воды от ВПЭН Gвпэн = 83.3 кг/с (300т/час), расход пара на деаэратор равен Gпд = 24.0 кг/с (86т/час).


5.6 Суммарный расход пара на собственные нужды

Расчетные данные по расходам пара на собственные нужды от КСН при закрытых стопорных клапанах основной турбины в режимах, не сопровождающимися значительными дополнительными расходами, связанными с расходом пара на пиковые подогреватели или расходом пар на общестанционный коллектор СН, представлены в таблице 4.

Таблица 4.

   № п/п

 Исходное состояние

Расход пара на ТПН, Gптпн, кг/с

Расход пара на остальные потребители, Gпо,кг/с

Суммарный расход пара собственных нужд, Gпсн,кг/с (т/час)

 1

Работа 2-х ТПН на рециркуляцию

 20.7

 11.9

 20.7

 53.3 (192)

 2

ТПН отключены

 0

 5.7

 19.8

 25.5 (92)

 3

Работа 2-х ТПН на рециркуляцию и расход питательной воды из деаэратора Gпв = 83.3 кг/с

 20.7

 24.0

 20.7

 65.4 (235)

 4

ТПН отключены и расход питательной воды из деаэратора Gпв = 83.3 кг/с

 0

 24.0

 19.8

 43.8 (158)


По результатам расчетов расход пара собственных нужд с учетом эксплуатационных данных находится в пределах Gпсн = (25.5¸53.3) кг/с = (92¸192) т /час, что соответствует производительности ПГ при тепловой мощности реактора N » (2¸4)%Nном.

При переводе подачи питательной воды с ТПН на ВПЭН для восполнения потери воды в ПГ некоторое время насосы ВПЭН должны работать с полной производительностью Gпв = 83.3 кг/с (300 т/час).Учитывая тепло, которое должно быть затрачено в ПГ на подогрев большого количества воды, поступающей из деаэратора, чем требуется для производства требуемого объема пара (DG = 83.3 - 65.4 = 17.9 кг/с), до температуры воды на линии насыщения при Рпг = 62 кгс/см2 (абс), суммарный расход тепла на собственные нужды составит 146 МВт, что соответствует N » 5%Nном.

При полной нагрузке пиковых подогревателей расчетная оценка максимального расхода пара на собственные нужды составляет Gпсн = 151.2 кг/с (544 т/час), что превышает производительность двух ВПЭН, а также максимальный расход через один клапан БРУ-СН Gпсн = 400 т/час.

6. Расчетный анализ переходных процессов энергоблока с ВВЭР-1000

6.1 Методика расчета

Расчет параметров первого и второго контуров в переходных процессах РУ производился с использованием программного комплекса "КИПР", разработанного во ВНИИАЭС для проведения анализа нестационарных режимов энергоблока с реактором ВВЭР-1000 [12,13].

Основные методические положения, заложенные в программу "КИПР", и эмпирические соотношения, использованные в модели энергоблока АЭС с ВВЭР-1000, прошли предварительную проверку и скорректированы по результатам тестирования расчетных программ в соответствии с экспериментальными данными реальных переходных процессов [14].

Расчетная схема системы пара собственных нужд, используемая в программе, построена на основе принципиальной технологической схемы, представленной на рис.1.

Для получения значений параметров РУ при низких уровнях мощности, близких к реальным, расчеты производились путем моделирования процесса снижения мощности действием УРБ и РОМ до заданного уровня.

Перевод питания потребителей пара собственных нужд на КСН и включение БРУ-СН в работу моделировались срабатыванием соответствующих блокировок после закрытия СК ТГ.

Расчеты проведены для начала компании стационарного трехгодичного цикла, характеризующегося более резкими изменениями параметров РУ вследствие наименьшего влияния отрицательной обратной связи по температуре теплоносителя.

С целью подтверждения применимости результатов, полученных расчетным путем по программе "КИПР", смоделирован реальный процесс, имевший место на энергоблоке №1 Балаковской АЭС, который сопровождается снижением параметров первого контура до уставок срабатывания аварийной защиты реактора.

6.2 Исходные данные

Моделирование реального процесса проводилось на основании проектных исходных данных и с учетом дополнительной информации, представленной Балаковской АЭС в акте расследования нарушения. Использованы следующие исходные значения основных параметров реакторной установки:

1  тепловая мощность 89%

2  давление в первом контуре 15.69Мпа

3  давление в ГПК 5.98Мпа

4  температура питательной воды на входе в ПГ

 с включенными и отключенными ПВД 2230С и 1640С

5 давление в коллекторе собственных нужд 0.98Мпа

6 расход через полностью открытый клапан БРУ-СН 400т/час

В таблице 5 приведены паспортные данные о временах хода задвижек и регулирующих клапанов КСН, используемые в расчетах.

Таблица 5.

 Код арматуры

 dу, мм

 Время хода арматуры, сек.

 RQ22S08

 500

 80

 RQ22S07

 600

 135

 RQ21S07

 600

 135

 RQ21S08

 500

 80

 RB50S02

 600

 140

 RQ50S03

 200

 25

 RQ50S02

 200

 40

 RQ30S01

 600

 400

 RQ11S01

 300

 15

 RQ12S01

 300

 15

 RD34S03

 600

 400

 RQ50S01

 300

 60

 RB50S01

 600

 140


6.3 Расчетный анализ реального процесса

Выполнен расчет переходного процесса, который включает в себя основные события, описанные в разделе 4. Графики изменения параметров представлены на рис 4 ¸7.

При N = 89%Nном (рис.4) закрылись СК ТГ, сработала система УРБ. Мощность РУ была стабилизирована на уровне N = 38%Nном и сохранялась до 700-й секунды от начала процесса. Дальнейшее снижение мощности до МКУ производилось по цепям ПЗ-1.

Первоначальное снижение давления в первом контуре (рис.5) до значения Р = 152.5 кгс/см2 связано с работой УРБ. Последующее повышение давления обусловлено работой ТЭН КД. Всплеск давления после 600-ой секунды процесса определен ростом параметров второго контура. Дальнейшее падение давления явилось следствием снижения мощности реактора и расхолаживания РУ.

Рост давления во втором контуре (рис.6) на первых секундах процесса произошел вследствие закрытия СК ТГ. Дальнейшая стабилизация параметров производилась работой БРУ-К. На 600-ой секунде процесса БРУ-К закрылись, давление выросло до уставки открытия БРУ-А, в результате работы БРУ-А параметры второго контура начали снижаться. На 650-й секунде клапаны БРУ-А закрылись и дальнейшее расхолаживание определялось снижением мощности РУ и затем состоянием теплового баланса, когда расход пара через БРУ-СН превышает количество генерируемого пара в парогенераторах.

Падение уровня в КД на первых секундах процесса (рис.7) до Hкд = 7300 мм определяется резким снижением средней температуры первого контура из-за уменьшения мощности реактора в результате работы УРБ и РОМ. Медленное снижение уровня, примерно на 200 мм, до 600-й секунды процесса, связано с дебалансом продувочно-подпиточной воды вследствие отключения после закрытия СК ТГ оперативным персоналом регулятора уровня в КД YPC02. Дальнейший кратковременный рост уровня является следствием повышения параметров первого и второго контуров при закрытии БРУ-К. Последующее снижение уровня в КД вызвано разгрузкой реактора до МКУ и расхолаживанием первого и второго контуров, которое явилось следствием работы БРУ-СН. На 1000-й секунде процесса достигнута уставка срабатывания аварийной защиты реактора Hкд = 4600 мм, что вызвано падением давления во втором контуре до значения Ргпк = 52 кгс/см2.





6.4 Расчетный анализ переходных процессов со снижением уровня в КД

В технологическом регламенте ТРВ-1000-4 [15] установлена зависимость уровня в компенсаторе давления от средней температуры первого контура (рис.8) в пределах изменения мощности реактора от номинального уровня (t = 300°С, Hкд = 8770мм) до МКУ (t = 280°C, Hкд = 5700мм).

Расчетная оценка снижения уровня в КД за счет эффекта захолаживания первого контура при уменьшении давления в парогенераторе показана на рис.8 пунктирной линией.

В настоящее время в технологическом регламенте энергоблоков 1 ¸ 4 Балаковской АЭС при работе реактора на МКУ установлено значение уровня в компенсаторе давления равное Hкд = 6100 мм.

На рис.9 показаны зависимости уровня в компенсаторе давления от средней температуры теплоносителя в первом контуре при работе реактора на МКУ в соответствии с требованиями типового регламента ТРВ-1000-4, технологического регламента энергоблоков Балаковской АЭС и по результатам расчета.

Согласно требованиям технологического регламента при работе на МКУ уровень в КД должен поддерживаться постоянным независимо от изменения средней температуры теплоносителя первого контура. В реальных быстротекущих переходных процессах, сопровождающихся падением давления во втором контуре, это требование не всегда удается выполнить и происходит снижение уровня в КД до уставки срабатывания аварийной защиты реактора Hкд = 4600 мм.

Консервативная расчетная оценка снижения уровня в компенсаторе давления при исходном уровне на МКУ Hкд = 5700мм показывает, что достижение уставки срабатывания аварийной защиты Hкд = 4600 мм происходит при температуре около 270°С.

На рис.10 приведены зависимости уровня в КД от давления во втором контуре при работе реактора на МКУ, построенные по данным реального переходного процесса и результатам расчетного анализа.

Расчетный анализ выполнен при консервативном и реалистическом задании исходных данных.

При проведении консервативного расчета в качестве исходного состояния принято:

1 уровень тепловой мощности реактора на МКУ N = 3%Nном (с учетом остаточного энерговыделения)

2 уровень в КД равен регламентируемому Нкд = 5700 мм

3 давление во втором контуре с учетом допустимого отклонения Рпг = (61+1) кгс/см2 в соответствии с регламентом

4 расход пара через БРУ-СН равен проектному при полностью открытом клапане G = 400т/час






При реалистическом задании исходных данных учтено состояние РУ на МКУ при Hкд = 6100 мм и Рпг = 61 кгс/см2.

В соответствии с результатами консервативного расчета достижение уставки срабатывания аварийной защиты реактора по Hкд = 4600 мм происходит при давлении во втором контуре Рпг @ 52 кгс/см2. При давлении во втором контуре Рпг = 54 кгс/см2 запас по уровню в КД до уставки срабатывания АЗ составляет около 200 мм.

В расчете с реалистическим заданием исходных данных при давлении во втором контуре Ргпк = 52 кгс/см2 уровень в компенсаторе давления составляет Нкд = 5190 мм.

На основе расчетного анализа режимов РУ на уровнях мощности собственных нужд и МКУ установлено, что при нарушениях теплового баланса между первым и вторым контурами снижение уровня в КД зависит от исходного давления в парогенераторах. Из графиков, представленных на рис.10, следует, что при одном и том же исходном уровне в компенсаторе давления с ростом исходного давления в ПГ уменьшается запас по уровню до уставки срабатывания АЗ.

На рис.10 также показана область действия аварийной защиты с учетом погрешности измерительных каналов. Сигнал в АЗ формируется по схеме два из трех и следует учитывать неблагоприятное наложение отклонений измеряемых величин двух измерительных каналов, то есть результирующая погрешность одного канала измерения.

На рис.11 представлена структурная схема измерительного канала уровня в компенсаторе давления.

Hкд Д РТ АДП Hкд<Hуст

рис.11

где :

Д - датчик уровня, "Сапфир-22ДД", верхний предел измерений 0.63 кгс/см2, предел допускаемой основной погрешности ±0.5%

РТ - блок размножения токового сигнала, класс точности 0.2

АДП - аналого-дискретный преобразователь, класс точности 0.4.

Результирующая допускаемая погрешность (D) измерительных каналов определяется среднеквадратичным отклонением результатов измерения входных величин элементов измерительных схем, отнесенных к диапазону измерения [16] 0¸6320 мм:

D = ± = ±0.67% = ±42 мм,

что соответствует погрешности измерения уровня при срабатывании АЗ по двум каналам из трех 2D = ±(2х42мм) = ±84 мм.

7. Анализ причин останова блока и выводы по результатам расчетов

Одной из причин останова энергоблока явилось несоответствие количества пара, отбираемого через БРУ-СН, количеству пара, производимого в парогенераторах, что привело к снижению параметров второго контура, расхолаживанию первого контура и к срабатыванию аварийной защиты реактора по падению уровня в компенсаторе давления.

В проектной схеме регуляторов БРУ-СН не предусмотрена обратная связь по изменению параметров РУ, например, по мощности реактора или по давлению в ГПК.

Для поддержания давления в коллекторе КСН, равным заданному, регулятор воздействует на регулирующие клапаны подачи пара из ГПК в сторону открытия, держит их в открытом состоянии и требуется либо вмешательство оперативного персонала в действия автоматики с целью стабилизации давления второго контура, либо изменение алгоритма работы блокировок БРУ-СН.

Выполненный анализ показал, что в режимах работы РУ на уровне мощности собственных нужд и МКУ происходит снижение давления во втором контуре, приводящее к захолаживанию первого контура и срабатыванию аварийной защиты по уровню в компенсаторе давления.

Для исключения срабатывания аварийной защиты в рассматриваемых переходных процессах рекомендуется изменить значение уставки закрытия клапанов БРУ-СН по снижению давления в ГПК.

На основании расчетного анализа установлено, что повышение значения уставки закрытия БРУ-СН до Ргпк = 54 кгс/см2 исключает срабатывание аварийной защиты реактора по снижению уровня в компенсаторе давления.

Анализ также показал, что при одном и том же исходном значении уровня в компенсаторе давления запас до уставки срабатывания аварийной защиты зависит от давления в ПГ, при котором начинается процесс снижения уровня. В связи с этим рекомендуется поддерживать давление в ПГ при работе РУ на уровне собственных нужд и МКУ не более Р = 61 кгс/см2.

Во избежание падения давления в КСН при расходах пара на собственные нужды, превышающих количество производимого пара в ПГ РУ, следует принять меры для организации подачи пара в КСН от постороннего источника. Это может быть осуществлено путем постоянно открытого байпаса секционной задвижки между коллекторами КСН разных энергоблоков. При этом требуется обеспечить равенство поддерживаемых в КСН значений давлений путем воздействия на настроечные характеристики регуляторов давления в КСН.

Заключение

Анализ переходного процесса, имевшего место на Балаковской АЭС, показывает, что при проектном алгоритме работы БРУ-СН при работе реактора на МКУ достигается уставка срабатывания аварийной защиты по уровню в компенсаторе давления Hкд = 4600 мм.

Расчетный анализ подтвердил, что снижение уровня в компенсаторе давления до уставки срабатывания аварийной защиты реактора обусловлено расхолаживанием первого контура вследствие падения давления во втором контуре.

Изменение уставки закрытия клапанов БРУ-СН по снижению давления в ГПК с Ргпк = 52 кгс/см2 до Ргпк = 54 кгс/см2 исключает срабатывание аварийной защиты реактора по снижению уровня в компенсаторе давления при работе РУ на уровне собственных нужд и МКУ.

Изменение значения регламентированного уровня в компенсаторе давления на МКУ с Hкд = 5700 мм до Hкд = 6100 мм увеличивает запас до уставки срабатывания АЗ по снижению уровня в КД.

Во избежание падения давления в коллекторе собственных нужд при работе энергоблока на уровне собственных нужд и МКУ следует принять меры для организации подачи пара в КСН от постороннего источника.

Список использованных источников

1. Отчет №1-Бал-П05-04-10-96 о нарушении в работе БалАЭС.

2. Инструкция по эксплуатации турбины К-1000-60/1500-2. МАЭ СССР, Балаковская атомная станция, г.Балаково, 1988.

3. Система автоматических регуляторов АСУТ-1000-2Р. Энергоблок с реактором ВВЭР-1000. Технические требования, Д-5422. Москва, 1995.

4. Б.М. Трояновский, Г.А. Филиппов, А.Е. Булкин. Паровые и газовые турбины атомных электростанций. Москва, Энергоатомиздат, 1985.

5. Техническое задание на разработку систем контроля, управления, регулирования, защит и блокировок. 320-ТЗ-019. ОКБ "Гидропресс", 1983.

6. М.П. Вукалович. Термодинамические свойства воды и водяного пара.

7. Турбина паровая К-12-10ПА (ОК-12А). ТУ5.432.9665-81.

8. Инструкция по эксплуатации питательного турбонасосного агрегата и вспомогательного питательного электронасоса. МАЭ СССР, Балаковская атомная станция, г.Балаково, 1988.

9. Принципиальная тепловая схема турбоустановки К-1000-60/1500-2, 2.1С-ТЦ-1.

10. Насосы АЭС. Справочное пособие. Москва, Энергоатомиздат, 1989.

11. Т.Х. Маргулова. Атомные электрические станции. Москва, "Высшая школа", 1978.

12. Программный комплекс "КИПР" для анализа нестационарных режимов работы АЭС с реактором ВВЭР-1000. Отчет о НИР. ВНИИАЭС, НПО "Энергия", № ОЭ-2524/88-М,1988.

13. Комплекс программ "КИПР" для анализа нестационарных режимов работы АЭС с реактором ВВЭР-1000. Отчет о НИР. ВНИИАЭС, НПО "Энергия", № ОЭ-2268/86-М,1986.

14. Техническая справка. Договор №04/97-1351Д от 10.04.1997 "Разработка и внедрение на энергоблоках Балаковской АЭС оптимального алгоритма работы БРУ-СН при снижении мощности РУ до собственных нужд и МКУ". Москва, 1997.

15. Типовой технологический регламент безопасной эксплуатации энергоблока АЭС с реактором ВВЭР-1000 (В-320). ТРВ-1000-4. 1998.

. В.П. Преображенский. Теплотехнические измерения и приборы. Москва. "Энергия" 1978.

Похожие работы на - Балаковская атомная электростанция: оптимальный алгоритм работы энергоблока ВВЭР-1000

 

Не нашли материал для своей работы?
Поможем написать уникальную работу
Без плагиата!
Без нейросетей!