Радиопередающие устройства

  • Вид работы:
    Контрольная работа
  • Предмет:
    Информатика, ВТ, телекоммуникации
  • Язык:
    Русский
    ,
    Формат файла:
    MS Word
    1,11 Мб
  • Опубликовано:
    2012-12-27
Вы можете узнать стоимость помощи в написании студенческой работы.
Помощь в написании работы, которую точно примут!

Радиопередающие устройства

МИНИСТЕРСТВО ОБРАЗОВАНИЯ РЕСПУБЛИКИ БЕЛАРУСЬ

«БЕЛОРУССКИЙ ГОСУДАРСТВЕННЫЙ УНИВЕРСИТЕТ ИНФОРМАТИКИ И РАДИОЭЛЕКТРОНИКИ»

Факультет заочного обучения

Кафедра радиоэлектронных средств








КОНТРОЛЬНАЯ РАБОТА

по дисциплине: «Радиоэлектронные устройства и системы»

Выполнил: Балюк А.А.

Проверил: Лихачевский Д.В.






Минск 2012

Содержание

1. Раздел 1

.1 Теоретический вопрос 1

.2 Теоретический вопрос 2

.3 Теоретический вопрос 3

.4 Теоретический вопрос 4

. Раздел 2

.1 Задачи

.2 Теоретический вопрос 1

.3 Теоретический вопрос 2

Список использованных источников

. Раздел 1

.1 Теоретический вопрос 1

Изобразите структурную схему системы радиосвязи и опишите назначение отдельных блоков.

Система радиосвязи включает в себя радиопередающее устройство, функции которого заключаются в преобразовании энергии постоянного тока источников питания в электромагнитные колебания и управлении этими колебаниями.

Рисунок 1 - Общая структурная схема радиосвязи

- задающий генератор, 2 - предварительные каскады, 3 - усилитель мощности, 4 - антенная система, 5 - модуляционное или манипулирующее устройство, 6 - источник питания, 7 - устройство блокировки и сигнализации, 8 - устройство охлаждения ламп и контуров

Задающий генератор (возбудитель) 1 генерирует высокостабильные радиочастотные колебания в заданном диапазоне частот. Далее эти колебания усиливаются в предварительных каскадах 2 и поступают на оконечный усилитель мощности 3. Усилитель мощности 3 обеспечивает на выходе антенны (или фидера) заданную мощность радиочастотных колебаний. Антенная система 4 излучает радиочастотные колебания в пространство. Для управления высокочастотными колебаниями служит модуляционное (или манипуляционное) устройство 5. Если передатчик работает с амплитудной модуляцией (АМ), то модуляционное устройство воздействует на оконечный или предварительные каскады. Если передатчик работает с частотной модуляцией (ЧМ) (манипуляцией), то модуляция осуществляется в задающем генераторе 1. Устройство охлаждения ламп и контуров 8 поддерживает заданный тепловой режим передатчика, а устройство блокировки и сигнализации (УБС) 7дает информацию о режиме работы передатчика и обеспечивает его включение и выключение, безопасность обращения с ним обслуживающего персонала. Источники питания 6 необходимы для подачи заданных питающих напряжений на лампы или транзисторы передатчика [1].

1.2 Теоретический вопрос 2

Перечислите основные характеристики двоичных кодов. Приведите примеры равномерных и неравномерных кодов.

Оценка кодов обычно производится по их основным характеристикам, выраженным в различных количественных и качественных показателях. Данные характеристики используются для выбора кодов, предназначенных для передачи, хранения кодов, и обработки информации.

К ним относятся следующие характеристики

) Длина кода n - число разрядов (символов), составляющих кодовую комбинацию.

) Основание кода m - количество отличающихся друг от друга импульсных признаков, используемых в кодовых словах. Для двоичных кодов m = 2.

) Мощность кода Np - число кодовых комбинаций (рабочих кодовых слов), используемых для передачи сообщений.

) Полное число кодовых комбинаций N - число всех возможных комбинаций, равное mn (для m = 2 → N = 2n).

) Число информационных разрядов k - количество символов (разрядов) кодового слова, предназначенных для передачи собственного сообщения. Np = 2k

) Число проверочных символов r - количество символов (разрядов) кодового слова, необходимых для коррекции ошибок. Это число характеризует абсолютную избыточность кода.

) Избыточность кода R - относительная избыточность.

 

В общем случае можно ее привести к виду:


) Скорость передачи кодовых комбинаций - отношение числа информации символов n к длине кода:


) Вес кодовой комбинации w - количество единиц в кодовой комбинации. Весовая характеристика кода W(w) - число кодовых слов весом w.

) Вероятность не обнаруживаемых ошибок РН.О. - это вероятность такого события, при котором принятая кодовая комбинация отличается от переданной, а свойства данного кода не позволяют определить факта наличия ошибки.

) Оптимальность кода - свойства такого кода, который обеспечивает наименьшую вероятность не обнаружения ошибки среди всех кодов той же длины n и избыточности r.

) Коэффициент ложных переходов:


где  - число рабочих кодовых комбинаций, отстоящих от і-ой кодовой комбинации на расстоянии d.

- число сочетаний из d для данной длины n кода.

Данный коэффициент показывает, какая доля ошибок кратности d не обнаруживается. Для систематических кодов все кодовые слова имеют одинаковое распределение кодовых расстояний от других слов, поэтому:


Различают неравномерные и равномерные коды. Примером неравномерного кода является код Морзе - знаки алфавита кода Морзе имеют разную длину, причем часто встречающиеся знаки имеют короткие кодовые комбинации, редко встречающиеся - более длинные. Например, букве «е» соответствует точка, т.е. символ «1» - импульс длительностью tо, букве «а» - точка, пауза длительностью tо и тире, длительность которого равна 3 tо (рисунок 2). Такая структура кода обеспечивает экономию времени при передаче сообщения (так как часто встречающиеся знаки кодируются короткими кодовыми комбинациями, а редко встречающиеся - длинными) и имеет музыкальную окраску, что облегчает прием сообщения на слух, но неудобна при автоматическом приеме с помощью специальных технических устройств [3].

Пример кодовых комбинаций кода Морзе (однополярные посылки):

Рисунок 2 - Кодовые комбинации

В существующих устройствах автоматического приема и регистрации дискретных сообщений используются равномерные коды, в которых каждая кодовая комбинация содержит одинаковое число элементов.

Для равномерного кода число возможных комбинаций равно mn. Примером такого кода является пятизначный код Бодо, содержащий пять двоичных элементов (m=2, n=5). Число возможных кодовых комбинаций равно 25=32, что достаточно для кодирования всех букв алфавита. Применение равномерных кодов не требует передачи разделительных символов между кодовыми комбинациями [3].

1.3 Теоретический вопрос 3

Управляющий сигнал занимает полосу частот 300…3000 Гц. Изобразите спектр сигналов и полосу частот, занимаемую модулированным сигналом при классах излучения А3Е, Н3Е, R3E.

В радиосвязи используют различные виды модулированных колебаний (излучений).

Регламентом радиосвязи предусмотрено обозначение трех характеристик излучения.

Первый индекс - буква, обозначающая тип модуляции основной несущей. Излучения, при которых основная несущая модулируется по амплитуде, обозначаются:

) А - двухполосная;

)Н - однополосная с полной несущей;

)R - однополосная с частично подавленной несущей;

)J - однополосная с полностью подавленной несущей;

) В - с двумя независимыми полосами.

Излучения, при которых несущая имеет угловую модуляцию, обозначаются:

)G - фазовая модуляция.

Второй индекс - цифра, обозначающая характер сигнала, модулирующего основную несущую. Например:

) 1 - цифровая информация без использования модулирующей поднесущей;

) 2 - цифровая информация с использованием поднесущей (звуковой частоты);

) 3 - аналоговая информация.

Третий индекс - буква, обозначает тип передаваемой информации, например,

· А - телеграфия для слухового приема (код Морзе);

· В - телеграфия для автоматического приема (буквопечатание - телекс);

· Е - телефония;

· С - факсимиле.

А3Е - DSB Telephony (Commercial broadcast)

Двухполосная АМ телефония с полной несущей



H3E - SSB Full-carrier telephony

Однополосная АМ телефония с полной несущей




R3E - SSB Reduced-carrier telephony




Однополосная АМ телефония с «придавленной» несущей (подавление несущей на 16...18 дБ) где fн - несущая частота

1.4 Теоретический вопрос 4

Перечислите основные типы индикаторных устройств.

1) Электронно-лучевые индикаторы. Электронно-лучевые приборы, имеющие форму трубки, вытянутой в направлении луча, называют электронно-лучевыми трубками (ЭЛТ). Источником электронов в ЭЛТ служит подогревный катод. Эмитированные катодом электроны собираются в узкий луч электрическим или магнитным полем специальных электродов или катушек с током. Электронный луч фокусируется на экране, для изготовления которого внутреннюю сторону стеклянного баллона трубки покрывают люминофором - веществом, способным светиться при бомбардировке его электронами. Положением видимого сквозь стекло баллона пятна на экране можно управлять, отклоняя поток электронов путем воздействия на него электрического или магнитного поля специальных электродов или катушек с током. Если формирование электронного луча и управление им осуществляется с помощью электростатических полей, то такой прибор называют ЭЛТ с электростатическим управлением. Если для этих целей используют не только электростатическое поле, но и магнитные поля, то прибор называют ЭЛТ с магнитным управлением.

Рисунок 3 - Электронно-лучевая трубка

) Газоразрядные индикаторы. Представляют собой приборы, в которых прохождение тока основано на тлеющем разряде в газе. Простейшие приборы этого типа - сигнальные индикаторы (неоновые лампы). Они имеют два металлических электрода, выполненных в виде дисков, стержней и т.д, помещенных в стеклянный баллон, обычно заполненный неоном. Напряжение возникновения разряда в промежутке анод - катод для разных типов ламп колеблется в пределах от 60 до 235 В, рабочий ток - от 0,15 до 30 мА.

) Полупроводниковые индикаторы состоят из нескольких сегментов - светоизлучающих диодов, которые излучают свет при подаче на них напряжения величиной несколько вольт. Для цифровой индикации используют матричные (точечные) или сегментные индикаторы.

Рисунок 4 - Полупроводниковый индикатор

) Жидкокристаллические индикаторы. Используются для создания малогабаритных индикаторов, обычно их объединяют в группы, которые конструктивно выполняются в виде единого прибора. Цвет излучения - преимущественно красный работают на принципе изменения оптических свойств органических соединений под воздействием напряжения. Изображение образуется за счет контраста между участками с приложенным напряжением и фоном. Эти индикаторы являются пассивными и требуют внешнего освещения, так как не излучают, а отражают свет. Жидкокристаллические индикаторы являются самыми экономичными, так как почти не потребляют ток [3].

2. Раздел 2

.1 Задачи

Задача 1 Определите скорость передачи информации при цифровой передаче непрерывного сигнала, занимающего полосу F=5, кГц, при числе уровней квантования N=23.

Решение

Поскольку не задан вид модуляции, будем считать что модуляция АМ, а каждый бит кодируется 23 квантами. Значит скорость передачи равна:













Задача 2 (для всех вариантов). Определите размеры антенны и изобразите диаграмму направленности антенны для частоты 5, МГц.

Решение

Расчет антенны будем делать с помощью программы MMANA-GAL basic.

Поскольку в задаче не указан рабочий диапазон частот антенны, расчет будем производить для J-антенны.

Для частоты 5 МГц, определим размеры J-антенны, с помощью калькулятора расчета:

Рисунок 1 - Внешний вид J-антенны

В калькуляторе расчета записываем частоту 5 МГц в поле «Введите частоту» (рисунок 2):

Рисунок 2 - Калькулятор расчета

Нажимаем кнопку «Вычислить» и получаем размеры нашей антенны (рисунок 3):

Рисунок 3 - Калькулятор расчета с размерами антенны

Таким образом, имеем следующие значения:

А= 4300.4 см. (вибратор)

В= 1426.4 см. (согласующая линия)

С= 134.2 см. (точка подключения коаксиального кабеля)

D= 128 см. (расстояние между вибратором и согласующей линией)

В программе MMANA делаем расчет для частоты 5 МГц (рисунок 4) и строим диаграмму направленности J-антенны (рисунок 5):

Рисунок 4 - Расчет J-антенны

Рисунок 5 - Диаграмма направленности J-антенны на 5 МГц

радиосвязь индикаторный цифровой сигнал

2.2 Теоретический вопрос 1

Опишите основные характеристики антенн.

Устройства, предназначенные для излучения и приема электромагнитных волн, называются антеннами.

Антенны, применяемые в настоящее время, можно классифицировать:

. по назначению

. по диапазону использования

. по диапазонным свойствам

. по принципу действия и построения

. по свойствам направленности излучения и приема

. по способу использования

По назначению различают антенны:

ü  передающие

ü  приемные

ü  приемно-передающие

ü  антенны для радиорелейной связи

ü  антенны для тропосферной связи и т.д.

По диапазону использования различают:

ü  длинноволновые

ü  коротковолновые

ü  метровые

ü  дециметровые

ü  сантиметровые

По диапазонным свойствам различают антенны:

ü  узкополосные

ü  широкополосные

ü  частотно независимые

По принципу действия и построения различают антенны:

. Проволочные (или линейные, выполняемые из топких, по сравнению с их длинной и длиной волны проводников). Проволочные антенны могут быть симметричными и несимметричными, вибраторными, рамочными, спиральными, ромбическими и однопроводными. Они в основном применяются на MB, KB, СВ, ДВ и СДВ.

. Дифракционные антенны. К ним относятся: щелевые и полосковые, волноводно-рупорные, линзовые, зеркальные и антенны поверхностных волн (стержневые и плоскостные), а также комбинированные антенны (сочетание нескольких типов излучателей, например рупорно-зеркальные). Эти антенны используются на УКВ (в основном на СВЧ и отчасти на MB).

По свойствам направленности излучателя и приема различают антенны:

. Направленные;

. Ненаправленные.

Ненаправленные антенны можно разделить на антенны:

ü  Кругового (равномерного) излучения вдоль земли;

ü  Направленного излучения вдоль земли;

ü  Зенитного излучения;

ü  Комбинированного излучения (в зенит и вдоль земли).

По способу использования различают антенны:

ü  Стационарные;

ü  Полевые;

ü  Бортовые (устанавливаемые на сухопутных подвижных объектах, судах, летающих и других объектах).

Основные характеристики антенн.

Функциональные свойства антенн описываются системой электрических параметров, характеризующих различные стороны их работы. Эти параметры имеют определенную взаимосвязь и позволяют оценивать направленные, поляризационные, диапазонные, энергетические и шумовые свойства антенн.

При изучении всякой антенны необходимо рассчитывать поле излучения антенны, ее направленные свойства и входное сопротивление. Для определения этих параметров следует знать распределение тока и потенциала вдоль антенны.

Распределение тока и потенциала зависит от соотношения длины плеча вибратора 1 и длины волны λ, то есть так называемой электрической длины вибратора ml.

Антенна в режиме излучения (передачи) является нагрузкой для передатчика (генератора) и характеризуется входным сопротивлением Zа, определяемым отношением амплитуд напряжения Ua и тока Iа на ее входе (или отношением комплексной мощности, развиваемой передатчиком на сопротивлении Za к квадрату тока на входных зажимах антенны).

Часть подводимой к антенне мощности Рa,, расходуемой на создание электромагнитных волн, называется мощностью излучения РΣ.

Другая часть мощности Рп расходуется на нагрев проводов, в изоляторах, в земле и других источниках потерь и называется мощностью потерь в антенне. Отношение мощности излучения РΣ и мощности потерь Рп к половине квадрата амплитуды выходного тока определяет сопротивление излучения RΣА и сопротивление потерь антенны Рп.

Основанием для расчета вышеназванных величин (то есть мощности излучения, мощности потерь, сопротивления излучения, сопротивления потерь, реактивного сопротивления антенн) служит теорема Пойтинга.

Вектор Пойтинга (П) указывает направления распространения электромагнитной волны и по модулю равен плотности потока мощности, переносимой волной.

Правило определения направления вектора Пойтинга: если винт с правой резьбой вращать на угол 90° от вектора Е к вектору Н, то поступательное движение винта укажет направление распространения электромагнитной волны.

Рисунок 5 - Правило определения вектора Пойтинга

Реактивно сопротивление Ха обусловлено тем, что около антенны образуется связанное с ней местное электромагнитное поле, в котором запасаются средние за период колебаний энергии We и Wn электрических и магнитных полей, разность которых и определяет сопротивление Ха (реактивное сопротивление антенны).

При равенстве энергии электрических и магнитных полей антенна оказывается настроенной в резонанс с частотой генератора. При WC<WM (энергия электрического поля больше энергии магнитного поля) сопротивление носит индуктивный характер (Ха<0), при We>Wn (энергия магнитного поля больше энергии электрического) - емкостной (Ха>0).

Для того, чтобы передатчик отдавал в антенну максимальную мощность, необходимо обеспечить выполнение условий согласования антенны и передатчика.

a=Ra, Xa+Xг=0

Это согласование (трансформацию реактивного сопротивления антенны к внутреннему сопротивлению генератора, то есть передатчика) и компенсация реактивного сопротивления антенны осуществляется с помощью элементов связи и настройки, образующих вместе с антенной антенный контур, называемый также САУ.

Эффективность антенны как преобразователя ВЧ энергии в энергию ЭМВ определяется ее коэффициентом полезного действия. Потери мощности передатчика в антенном контуре зависит о сопротивления потерь.

Создаваемое антенной в дальней зоне электромагнитное поле характеризуется амплитудой, поляризацией и фазой вектора электрической напряженности Е, который зависит от расстояния и направления излучения. Зависимость амплитуды напряженности поля от направления в пространстве на одинаковом достаточно большом расстоянии от антенны называется характеристикой направленности.

Графическое изображение характеристики направленности называют диаграммой направленности. Для построения диаграммы направленности обычно используют полярную или прямоугольную систему координат. Так как построение пространственной диаграммы направленности в виде поверхности, точки которой удалены от начала координат затруднительно, на практике ограничиваются изображением ее наиболее характерных сечений двумя плоскостями, проходящими через максимум излучения.

Для антенн с линейной поляризацией в направлении максимума излучения в качестве сечений берут плоскость, в которой расположен вектор Е (диаграмма направленности в Е-плоскости), и плоскость, содержащую вектор Н (диаграмма направленности в FI-плоскости).

Для антенн, расположенных на земле, строят диаграмму направленности в вертикальной плоскости, а в качестве диаграммы направленности в горизонтальной плоскости принимают угол возвышения максимума излучения.

Поляризация излучения антенны полностью определяется ее поляризационным коэффициентом (фазором), зависящим от угловых координат при фиксированном расстоянии от антенны.

Фазор определяет следующие характеристики поляризации:

Плоскость поляризации (по отношению к вектору Е), которая может быть вертикальной и горизонтальной, меридиональной и азимутальной, в зависимости от расположения антенны относительно земли и объекта

Вид поляризации, которая может быть нелинейной, круговой, эллиптической и правым или левым вращением плоскости поляризации.

Для оценки свойства антенны концентрировать излучение в определенном направлении используют коэффициент направленного действия (КНД), определяемый отношением мощности излучения воображаемой ненаправленной антенны РΣ0 и данной антенны РΣ, создающих в направлении максимума излучения на одинаковом расстоянии равные напряженности поля [4].

.3 Теоретический вопрос 2

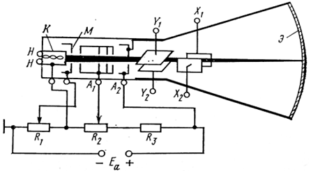
Приведите структурную схему радиопередающего устройства при частотной модуляции.

Радиопередающее устройство - это источник радиочастотных колебаний в системах радиосвязи, телевидения, радиолокации и др. Его назначение сформировать радиосигнал в соответствии с требованиями, установленными при разработке системы, и подвести его к антенне или линии связи.

Частотная модуляция (ЧМ) применяется в высококачественном радиовещании, в радиорелейных линиях с большим числом каналов, в радиолокационных системах непрерывного излучения. В системах частотной телеграфии (манипуляции) частота сигнала меняется скачком и может принимать два или несколько фиксированных значений.

На рисунке 6 изображена структурная схема радиовещательного передатчика

Рисунок 6 - Структурная схема радиопередатчика с частотной модуляцией

АПЧ - система автоматической подстройки частоты, ИП - источник питания

Список использованных источников

1.       Шахгильдян, В.В. Радиопередающие устройства: учеб. для вузов. / под ред. В.В. Шахгильдяна. - М.: Радио и связь, 2003. - 560 с.

.        Супрун, Б.А. Первичные коды. - М., Связь, 1970. - 161 с.

.        Замятин А.Г., Солодовниченко, М.Б. Радиотехника: Учебное пособие. - СПб., ГМА им.адм.С.О.Макарова, 2003 - 46 с.

.        Белоцерковский, Г.Б. Основы радиотехники и антенны, часть II. - М.: Советское радио, 1969. - 328.

Похожие работы на - Радиопередающие устройства

 

Не нашли материал для своей работы?
Поможем написать уникальную работу
Без плагиата!
Без нейросетей!