Товароведение бараночных изделий

  • Вид работы:
    Курсовая работа (т)
  • Предмет:
    Маркетинг
  • Язык:
    Русский
    ,
    Формат файла:
    MS Word
    410,11 Кб
  • Опубликовано:
    2012-11-14
Вы можете узнать стоимость помощи в написании студенческой работы.
Помощь в написании работы, которую точно примут!

Товароведение бараночных изделий

Содержание

 

Введение

1. Классификация

2. Российский ассортиментный рынок

3. Потребление в Российской Федерации

4. Производство

4.1 Сырье для производства и требования к качеству сырья

4.2 Подготовка сырья к производству

4.3 Технология производства

4.4 Упаковка, маркировка, хранение

5. Требование к качеству сушек и баранок

5.1 Пищевая ценность

5.2 Органолептические показатели

5.3 Физико-химические и структурно-механические показатели

5.4 Показатели безопасности

5.5 Дефекты

6. Фальсификация

6.1 Ассортиментная

6.2 Качественная

6.3 Количественная

6.4 Информационная

Заключение

Список литературы

Введение

Критериями современного потребительского рынка служат источники наполнения его товарами, соотношение спроса и предложения, которое в свою очередь определяет насыщенность рынка товарами, степень удовлетворения спроса, широту, полноту и структуру ассортимента. Современный ассортимент потребительских товаров разнообразен и различается происхождением, назначением, условиями хранения различных видов товаров. Кроме того, в настоящее время источниками насыщения рынка товарами служат как отечественные производители, так и в значительной степени товары, получаемые по импорту.

Рыночные отношения обусловили предъявление повышенных требований не только к формированию и рациональному управлению ассортиментом потребительских товаров в розничной торговой сети, но и к качеству товаров, реализуемых на потребительском рынке. В связи с этим необходимы совершенствование системы контроля и применение современных методов экспертизы. Развитие рыночных отношений, адаптация Системы ГОСТ к международным и европейским стандартам обусловили внедрение в торговлю государственной системы обязательной сертификации пищевых продуктов, продовольственного сырья.

Весьма актуальна проблема загрязнения потребительских товаров чужеродными веществами химического и биологического происхождения. Вопросы безопасности потребительских товаров решаются в цивилизованных странах путем обязательной сертификации - действенного механизма государственного контроля за качеством.

Этим и определяется актуальность темы данной курсовой работы.

Целью курсовой работы является подробное исследование физико-химических, структурно-механических и органолептических показателей сушек и баранок.

баранка качество ассортиментный фальсификация

При этом к бараночным изделиям относят различные виды баранок, сушек и бубликов, которые имеют форму кольца или овала, образованного жгутом круглого сечения, имеющие плоскую поверхность на стороне, которая лежала на листе, сетке или поду, а также соломку и хлебные палочки, выпекаемые из прямых жгутов из улучшенного или сдобного теста.

Сушки и баранки являются хлебными изделиями длительного хранения; бублики - промежуточным по влажности продуктом между булочными изделиями и баранками. Бараночные изделия различаются толщиной жгута, размерами колец и массовой долей влаги.

1. Классификация


К бараночным изделиям относят различные виды баранок, сушек и бубликов, которые имеют форму кольца или овала, образованного жгутом круглого сечения, имеющие плоскую поверхность на стороне, которая лежала на листе, сетке или поду, а также соломку и хлебные палочки, выпекаемые из прямых жгутов из улучшенного или сдобного теста [10, с.132].

Сушки и баранки являются хлебными изделиями длительного хранения; бублики - промежуточным по влажности продуктом между булочными изделиями и баранками. Бараночные изделия различаются толщиной жгута, размерами колец и массовой долей влаги.

В эту группу уходят бараночные изделия, вырабатываемые из пшеничной муки высшего и первого сортов. В группе бараночных изделий различают сушки, баранки и бублик вырабатываемые по ГОСТ 7128. Кроме них согласно общероссийскому классификатору в эту группу входят соломка и хлебные палочки, вырабатываемые по ГОСТ 11270 и ГОСТ 28881 [11, с.353].

2. Российский ассортиментный рынок


Ассортимент сушек, вырабатываемых из пшеничной муки высшего сорта, включает следующие наименования: ванильные, горчичные, с корицей, лимонные, любительские, молочные, с маком, новые, простые, в том числе ахлоридные, сдобные с солью, челночек, диабетические, минские, сушки к пиву; из пшеничной муки первого сорта: малютка, простые, в том числе ахлоридные, сдобные, детские, сдобные с тмином, соленые, чайные.

Ассортимент баранок, вырабатываемых из пшеничной муки высшего сорта, включает следующие наименования: ванильные, лимонные, обогащенные белками, простые для Крайнего Севера, славянские, сдобные, сахарные с маком (киевские), черкизовские, яичные из пшеничной муки первого сорта: горчичные, детские, молочные, сахарные, простые.

Ассортимент бубликов, вырабатываемых из пшеничной муки первого сорта, включает следующие наименования: ванильные, горчичные, донские, лимонные, молочные, сдобные, украинские, простые, с маком, с тмином.

Сушки, баранки и бублики вырабатывают в виде кольца овальной формы - для ванильных, лимонных баранок и сушек челночек, круглой формы для всех остальных изделий. В изделиях ручной разделки допускается заметное место соединения концов жгута и изменение толщины изделий в местах соединения концов жгута. Масса одного бублика должна быть 0,1 и 0,05 кг, для сушек и баранок регламентируется количество изделий в одном килограмме. Влажность сушек от 9 до 13%, баранок от 9 до 19%, бубликов от 22 до 27% в зависимости от вида изделий и сорта муки [11, с.354]. Сушки, баранки и бублики выпускают весовыми, фасованными и штучными. Срок максимальной выдержки бубликов на предприятии после выемки из печи - не более 6 ч, упакованных - не более 10 ч.

3. Потребление в Российской Федерации


В 2010-2011 гг. рынок сушек и бараночных изделий продемонстрировал неожиданно быстрый рост. По оценкам экспертов - около 30% в каждый из этих лет.

Это объясняется любопытной демографической тенденцией. Дело в том, что потребление недорогих кондитерских изделий, а особенно сушек и сухарей, резко возрастает при переходе через определенный уровень обеспеченности ($100-200 на члена семьи в месяц) (рис.1,2).

Рис.1. Динамика потребления сушек

Рис.2. Динамика потребления бубликов

Из рис.1 и 2 видно, что видно потребители с уровнем дохода $100-200 (на каждого члена семьи) потребляют изделия данной группы значительно чаще.

В 2002-2003 годах в г. Москве наблюдался массовый переход жителей как раз через этот уровень, результатом чего и стал такой феноменальный рост (или точнее восстановление) рынка сухарных и бараночных изделий.

Следует ожидать особенно быстрого роста этого сегмента рынка в провинции, где переход через границу уровня доходов $100-200 будет происходить в гораздо больших масштабах (в Москве он уже в основе своей произошел раньше).

Приведенные аргументы свидетельствуют о достаточно высокой динамике роста данного сегмента рынка изделий этой группы, обусловленной выгодной для товаров этой группы структурой социально-демографической ситуации.

Однако с точки зрения дальнейшего развития социально-демографической ситуации в стране можно прогнозировать в ближайшем будущем (1-2 года) резкое замедление роста рынка, а в более отдаленной перспективе (5 лет) сокращение емкости рынка. Это связано с тем, что по мере роста благосостояния населения и перехода его через границу дохода $200 оно склонно переключаться на более дорогие и претенциозные товары.

4. Производство


4.1 Сырье для производства и требования к качеству сырья


Мука - это продукт, получаемый в результате измельчения зерна в порошок с отделением или без отделения отрубей. Муку подразделяют на виды, типы и товарные сорта.

Вид муки определяется культурой, из которой она выработана. Основные виды - пшеничная и ржаная мука. Второстепенные виды - ячменная, кукурузная и соевая мука (могут использоваться в хлебопечении, но в небольшом количестве). Муку специального назначения - овсяную, рисовую, гречневую, гороховую - используют в пищеконцентратной промышленности; муку набухающую - для изготовления заварных сортов хлеба.

Тип муки зависит от ее целевого назначения. Так, пшеничную муку вырабатывают трех типов: хлебопекарную, макаронную и кондитерскую. Из ржи получают только один тип муки - хлебопекарную. Соевую муку делят на типы в зависимости от содержания жира: необезжиренная, полуобезжиренная и обезжиренная.

Товарный сорт муки зависит от того, какая часть зерновки попадает в муку, т.е. от технологии переработки зерна [10, с.110].

Пшеничная хлебопекарная мука вырабатывается пяти сортов: крупчатка, высший, 1-й, 2-й и обойная.

Мука разных сортов имеет различные степень измельченности и химический состав. При выработке муки происходит перераспределение основных частей зерновки по разным фракциям помола, и от того, какие части зерна и в каком количестве попадут в тот или иной сорт муки, зависит ее химический состав. Мука односортного помола любого сорта характеризуется более высокой пищевой ценностью, чем многосортного помола. Максимальное количество крахмала содержит мука более высоких сортов. Так, в пшеничной муке высшего сорта содержание крахмала доходит до 80%, а в муке 2-го сорта - только до 70%. Содержание белка в муке несколько увеличивается от высшего сорта ко 2-му. Следует отметить снижение количества клейковины в муке 2-го сорта, поскольку в нее попадают фрагменты зародыша и алейронового слоя, содержащие белки, которые не образуют клейковину. С понижением сорта муки увеличивается количество витаминов, минеральных элементов, а в белках - альбуминов и глобулинов, содержащих незаменимые аминокислоты. Но изделия из муки низших сортов более темного цвета, хуже усваиваются и имеют худшие хлебопекарные достоинства. Наибольшей калорийностью характеризуется мука высшего сорта.

Крупчатку вырабатывают из стекловидной мягкой пшеницы с добавлением твердой. Представляет собой крупные частицы, состоящие из чистого эндосперма центральных частей зерновки. Клейковина хорошего качества, содержание ее не менее 30%, зольность - не более 0,6% [10, с.112].

Мука высшего сорта состоит из тонкоизмельченных частиц центральной части эндосперма, практически не содержит отрубей, имеет белый цвет. Зольность - не более 0,55%, количество сырой клейковины - 28%.

Мука 1-го сорта - это тонкоизмельченные частицы всех слоев эндосперма, содержит 3-4% отрубей, цвет белый с желтоватым оттенком. Зольность - не более 0,75%, количество сырой клейковины - не менее 30%.

Мука 2-го сорта состоит из неоднородных частиц измельченного эндосперма, количество отрубей до 10%. Из-за присутствия оболочечных частиц мука приобретает сероватый оттенок. Зольность повышается до 1,25%, а содержание клейковины снижается до 25%, тем не менее муку используют в хлебопечении; в розничную торговлю она не поступает.

Обойную муку получают при измельчении всего зерна, она содержит до 16% отрубей. Мука неоднородна по размеру частиц. Цвет - белый с желтоватым или сероватым оттенками, заметны частицы оболочек зерна. Содержание сырой клейковины - не менее 20%, а зольность не должна превышать 2%.

Мука, поступающая на хлебопекарное предприятие, должна сопровождаться удостоверением, в котором указывается для пшеничной муки: сорт, влажность, крупность помола, зольность (или показатель белизны), содержание клейковины, качество клейковины по показателю упругих свойств на приборе ИДК (в ед. прибора с указанием группы качества), количество металломагнитной примеси, соответствие нормативной документации по показателям безопасности.

Важным условием выпуска качественной продукции является соответствие качества сырья требованиям нормативной документации, поэтому работники хлебопекарного предприятия должны проводить контроль качества приобретаемого сырья, в первую очередь муки.

Анализ сырья осуществляют работники лаборатории в соответствии с методами испытаний, представленных в соответствующих ГОСТах, наличие которых на хлебопекарных предприятиях является необходимым.

Входной контроль за качеством сырья заключается в проведении органолептической оценки и определении физико-химических показателей.

В соответствии с ГОСТ 27668 "Правила и методы отбора проб" муку принимают партиями [11, с.71]. Под партией понимают любое количество муки одного вида и сорта, однородное по качеству, предназначенное к одновременной приемке, отгрузке или хранению, в упаковке одного вида или без нее.

Каждая партия муки должна сопровождаться сертификатом или заявлением-декларацией с обязательным указанием в них показателей и норм качества муки, обеспечивающих безопасность муки для жизни и здоровья населения.

При приемке муки в таре производится внешний осмотр тары на прочность и чистоту мешковины, на наличие маркировки, на зараженность и загрязненность вредителями хлебных запасов. Для проверки соответствия качества муки, упакованной в тару, требованиям нормативно-технической документации отбирают выборку, т.е. определенное количество штучной продукции, отбираемое для контроля из партии продукции.

Экспертизу проводят по органолептическим, физико-химическим показателям и показателям безопасности [10, с.113].

Цвет зависит от вида и сорта муки. Более высокие сорта муки всегда светлее, а низшие - более темные, в них присутствуют оболочечные частицы.

Цвет муки имеет большое значение, так как от него в основном зависит цвет мякиша хлеба. Чем ниже сорт муки тем она темнее, так как в ней содержится больше оболочек зерна, а в них больше пигментов, придающих окраску муке. Цвет муки устанавливают путем сравнения испытуемой пробы с установленной или с характеристикой цвета, указанной в соответствующих стандартах на продукцию. При этом необходимо обращать внимание на наличие отдельных частиц оболочек и посторонних примесей, нарушающих однородность цвета муки.

Вкус муки должен быть свойственный, приятный, слабовыраженный без хруста при разжевывании. Посторонние привкусы (горький, кислый) не допускаются.

Запах муки слабый, специфический. Не допускаются плесневелый, затхлый и другие посторонние запахи.

Зольность - показатель контроля сорта муки на производстве. Чем больше оболочечных частиц попадает в муку, тем выше ее зольность. Кроме того, зольность муки - это количество минеральных веществ, содержавшихся в ней. Зольность является основным показателем сорта муки. Чем выше сорт муки, тем ниже зольность, так как в муке высоких сортов меньше содержится частиц оболочек, в составе которых много минеральных веществ зерна.

Определение зольности муки осуществляют по ГОСТ 27494 путем сжигания муки в муфельной печи при температуре 600.900° С до полного озоления с последующим определением несгораемого остатка [11, с.78].

Крупность частиц муки является характеристикой сорта муки и в значительной мере влияет на скорость протекания в тесте биохимических и коллоидных процессов и вследствие этого на свойства теста, качество и выход хлеба. Крупность частиц муки устанавливают в соответствии с ГОСТ 27560 [11, с.75].

Крупность помола характеризует степень измельчения зерна и влияет на технологические свойства муки. Чрезмерно крупная мука обладает пониженной водопоглотительной способностью. Процесс образования теста замедлен, хлеб получается некачественный. Если мука излишне измельчена, хлеб получается недостаточного объема и быстро черствеет. Оптимальная крупность в определенной степени связана с качеством клейковины и размерами крахмальных зерен. Мука с сильной клейковиной должна быть несколько мельче, чем со слабой. С точки же зрения хлебопекарных свойств желательно, чтобы мука имела наиболее однородные по размеру частицы. Путем пневмосепарирования частиц муки можно получить низкобелковую муку для производства мучных кондитерских изделий и муку с повышенным содержанием белка, которую можно использовать в качестве улучшителя силы обычной хлебопекарной пшеничной муки.

Зараженность и загрязненность муки вредителями не допускается. Зараженная мука реализации не подлежит.

Определение металломагнитной примеси в соответствии с ГОСТ 20239 заключается в выделении металломагнитной примеси (частиц металлов, руды и т.п., обладающих магнитными свойствами) магнитом механизированным способом или вручную, последующем вшивании и измерении ее частиц. Выделение примеси осуществляется на приборе ПВФ или ПВФ-2, измерение размеров металло-магнитной примеси на приборах ПИФ или ПИФ-2. Для определений используют подковообразный постоянный магнит из сплава марки ЮН1 ЗДК24 по ГОСТ 17809 [11, с.76]. Содержание металломагнитных примесей в муке допускается не более 3 мг на 1 кг продукта.

Для муки пшеничной проводят определение количества и качества клейковины по ГОСТ 27839 [11, с.80]. Клейковина - это комплекс белковых веществ, способных при набухании в воде образовывать связную эластичную массу. Чем больше в муке клейковины и чем она сильнее, тем лучше хлебопекарные свойства муки. Количество клейковины определяют путем отмывания ее из теста с помощью механизированных средств или вручную.

Количество и качество сырой клейковины определяют только в пшеничной муке, причем разные сорта различаются количеством клейковины. Для муки высшего сорта - не менее 28%, крупчатки и 1-го сорта - 30%, 2-го сорта - 25%, обойной - 20%. Клейковина пшеничной муки представляет собой сильно гидратированный комплекс, состоящий из белков глиадина и глютенина. Глютенин является основой, а глиадин - ее склеивающим началом. Качество клейковины определяют по цвету и запаху, эластичности и растяжимости. У клейковины хорошего качества белый или с сероватым оттенком цвет, слабый, приятный мучной запах, она упруга и эластична со средней растяжимостью. По этим показателям качества клейковину делят на три группы [10, с.114]:- хорошая упругость, длинная или средняя растяжимость;- хорошая упругость и короткая растяжимость или удовлетворительная упругость, короткая, средняя или длинная растяжимость;- слабая упругость, сильно тянущаяся, провисающая при растягивании, разрывающаяся под действием собственной тяжести.

Согласно требованиям стандарта качество клейковины должно быть не ниже II группы.

Качество клейковины может быть установлено с помощью прибора - измерителя деформации клейковины ИДК-1, в котором на шарик клейковины массой 4 г действует сила в течение 30 с. Чем глубже пуансон прибора погружается в клейковину, тем она хуже по качеству. Сильная клейковина I группы качества имеет значения 60-70 усл. ед. прибора; удовлетворительная II группы: крепкая - 20-40 и слабая - 80-100; неудовлетворительная III группы: крепкая 0-15 и слабая 105-120 усл. ед.

Влажность муки - важнейший показатель ее качества, в соответствии с которым рассчитывается количество воды для замеса теста. Влажность хлебопекарной муки в соответствии со стандартом не более 15,0%. Все расчеты на хлебопекарных предприятиях ведут на базисную влажность муки, равную 14,5% [11, с.76].

Кислотность муки характеризует продолжительность хранения муки и влияет на кислотность теста и хлеба. Кислотность хлеба регламентируется стандартами, поэтому на хлебопекарных предприятиях необходимо проверять кислотность каждой партии поступившей муки.

Рекомендуется использовать муку с кислотностью: для пшеничной муки высшего сорта - 2,5-3,0 град, для первого сорта 3,0-3,5 град, для второго сорта 4,0-4,5 град, для обойной 4,5-5,0 град [11, с.78].

К показателям безопасности относят содержание токсичных элементов, микотоксинов, пестицидов, радионуклидов, которые не должны превышать допустимые уровни (табл.1).

Таблица 1

Показатели безопасности зерна и продуктов его переработки [10, с.100]

Допустимые уровни ПДК

Зерновые и бобовые

Крупа, мука, макаронные изделия

Хлеб

Бараночные и сухарные изделия

Токсичные элементы, мк/кг, не более цинк свинец кадмий мышьяк ртуть медь

 0,50 0,10 0, 20 0,03 10,00 50,00

 0,50 0,10 0, 20 0,03 10,00 50,00

 0,35 0,07 0,15 0,01 7,00 35,00

 0,50 0,10 0, 20 0,02 10,00 50,00

Микотоксины, мг/кг, не более афлатоксин В1 еараленон Т-2 токсин дезоксиваленол

 0,005  1,000  0,100  0,700

 0,005 1,000 0,100 0,700

Контроль по сырью (мука)

Контроль по сырью (мука)

Пестициды, мг/кг, не более тексахлорциклогексан ДДТ и его метаболиты гексахлорбензол ртуть органические пестициды

 0,50 0,02 0,01 Не допускается

Контроль по сырью (зерно)

Контроль по сырью (мука)

Контроль по сырью (мука)

Радионуклиды, Бк/кг: цезий-137 стронций-90

 80 140

 60 100

 40 70

 50 80

Допустимые уровни ПДК

Зерновые и бобовые

Крупа, мука, макаронные изделия

Хлеб

Бараночные и сухарные изделия

Вредные примеси, мг/кг, не более загрязненность вредителями хлебных запасов спорынья вязель разноцветный головневые зерна фузариозные зерна

 15,00 0,05  0,10 10,00 1,00

 Не допускается

 Не допускается

 Не допускается


Вода в хлебопекарном производстве используется как растворитель соли, сахара и других видов сырья, для приготовления теста 40-70 л на каждые 100 кг муки, для приготовления жидких дрожжей, заварок, заквасок, идет на хозяйственные нужды - мойку сырья, оборудования, помещений, для теплотехнических целей производства пара, необходимого для увлажнения воздушной среды в расстойных шкафах и печах.

Для технологических и хозяйственных нужд хлебозаводы используют обычно воду из городского питьевого водопровода. Для бесперебойного снабжения водой и создания постоянного напора во внутренней водопроводной сети устанавливают специальные баки с холодной и горячей водой. Запас холодной воды должен быть таким, чтобы обеспечить бесперебойную работу предприятия в течение 8 ч, запас горячей воды рассчитывают на.5-6 ч. Температура горячей воды в этом баке должна быть 70° С.

Качество воды, используемой для технологических и бытовых целей, должно удовлетворять требованиям ГОСТ 2874. "Вода питьевая. Гигиенические требования и контроль за качеством" [11, с.96].

Вода питьевая, применяемая для приготовления теста, должна отвечать "Санитарным правилам и нормам" (СанПиН 2.1.4.559-96). Она должна быть прозрачной, бесцветной, не должна иметь постороннего запаха и вкуса, содержать ядовитых веществ и болезнетворных микроорганизмов. Безопасность воды в эпидемическом отношении определяется общим числом микроорганизмов и числом бактерий группы кишечных палочек. Число микроорганизмов в 1 мм3 воды должно быть не более 100, число бактерий группы кишечных палочек в 1 л воды должно быть не более 3, число образующих колонии бактерий в 1 мл (при определении общего микробного числа) не должно превышать 50. В воде регламентируются предельно допустимые концентрации (ПДК) токсичных элементов (мышьяк, свинец и др.). Жесткость воды характеризуется содержанием в ней растворимых солей кальция и магния и выражается в миллиграмм-эквивалентах кальция и магния на 1 л воды (1 мг-экв жесткости соответствует содержанию в 1 л воды 20,0 мг Са или 21,16 мг Мg).

Общая жесткость воды не должна превышать 7 мг-экв/л.

Контроль за качеством воды осуществляется органами санитарного надзора. Отбор проб для анализа воды питьевой и определение ее вкуса, запаха, цветности и мутности осуществляются согласно ГОСТ 24481 и ГОСТ 3351 [11, с.97].

Для производства хлебобулочных изделий на хлебопекарных предприятиях применяют дрожжи прессованные (ГОСТ 171), вырабатываемые специализированными и спиртовыми заводами, сушеные (ГОСТ 28483 и ТУ 10-0334585-90), дрожжевое молоко (ОСТ 18-369-81). Дрожжи применяют в количествах 0,5-4,0% для разрыхления теста. В тесте ферменты дрожжей вызывают спиртовое брожение. Брожение идет по следующей схеме [11, с.98]:

 кДж.

Диоксид углерода, образующийся в результате спиртового брожения разрыхляет тесто, придает ему пористую структуру.

Дрожжи хлебопекарные прессованные представляют собой скопления дрожжевых клеток определенной расы, выращенных в особых условиях на питательных средах при интенсивном продувании воздухом. В качестве основного компонента питательной среды используют мелассу - отход свеклосахарного производства. Из 1 т мелассы получают 700-800 кг дрожжей.

Качество прессованных дрожжей оценивается по органолептическим и физико-химическим показателям и должно соответствовать ГОСТ 171 [11, с.99]. К органолептическим показателям прессованных дрожжей относятся цвет, запах, вкус и консистенция. Дрожжи прессованные должны иметь светлый цвет с желтоватым или сероватым оттенком. На дрожжах не должно быть плесневого налета белого или другого цвета, а также различных полос и темных пятен на поверхности. Запах дрожжей должен быть характерный, слегка напоминающий фруктовый. Показатели качества дрожжей приведены в таблице 2, где:

* Концентрация дрожжей в 1 л дрожжевого молока в пересчете на дрожжи с влажностью 75% должна быть не менее 450 г.

** Допускается ухудшение подъемной силы на 5 % ежемесячно при хранении Дрожжей в сухом помещении при температуре не выше 15° С по сравнению с исходной подъемной силой дрожжей в день их выработки.

*** Через 72 ч хранения при температуре до 10° С - не более 360 мг.

**** В летнее время не менее 48 ч (2 сут) при неблагоприятных климатических условиях.

Физико-химические показатели качества дрожжей [11, с.99]

Наименование показателей

Нормы для дрожжей


пресова-нных

сушеных высший сорт

сушеных первый сорт

дрожжево-го молока

Массовая доля влаги, % не более

75,0

8,0

10,0

*

Подъемная сила (подъем теста до 70 мм), мин, не более

70,0

70,0

90,6**

75,0

Кислотность 100 г дрожжей в пересчете на уксусную кислоту, мг не более

120,0



120,0***

Гарантийный срок хранения дрожжей, не менее

12 сут

12 мес

5 мес

3 сут****


Сушеные дрожжи вырабатываются высшего и первого сортов в виде мелких зерен или порошка светло-желтого или светло-коричневого цвета. Расход сушеных дрожжей в 3-4 раза меньше, чем прессованных и зависит от их подъемной силы.

Сушеные дрожжи импортного производства, в том числе инстантные, обязательно должны иметь гигиенический сертификат, выданный Минздравом РФ.

Дрожжевое молоко (ТУ 10-033-4585-3-90) доставляют на хлебозаводы в автоцистернах по ГОСТ 9218-86Е, хранят при температуре от 2 до 15° С в специальных сборниках, изготовленных из нержавеющей стали, снабженных мешалками с указателем уровня и охладителями.

К сахаросодержащим продуктам, применяемым в хлебопечении, относят сахар-песок, сахарную пудру, различные виды патоки, мед.

Сахар-песок (ГОСТ 2178) - пищевой продукт, представляющий собой сахарозу в виде отдельных кристаллов размерами от 0,2 до 2,5 мм. Сахар-песок должен иметь сладкий вкус без посторонних привкусов и запахов. Это сыпучий продукт, без комков, имеет белый с блеском цвет. По физико-химическим показателям торговый сахар-песок должен удовлетворять требованиям, приведенным в таблице 3.

Таблица 3

Физико-химические показатели качества сахара-песка [11, с.100]

 Наименование показателей

Нормы для сахара-песка


Сахар-песок торговый

Сахар-песок прес-сованный быстро-растворимый

Массовая доля сахарозы в пересчете на сухие вещества, % не менее

99,75

99,9

Массовая доля редуцирующих веществ в пересчете на сухие вещества, % не менее

0,050

0,03

Массовая доля золы в пересчете на сухие вещества, % не более

0,03

-

Массовая доля влаги, % не более

0,14

0,02

Цветность, усл. ед. не более

0,8

-

Массовая доля ферропримесей, % не более

0,0003

0,0003


На хлебопекарные предприятия сахар-песок поступает в мешках. Сахар-песок должен быть упакован:

в новые мешки по ГОСТ 8516 или бывшие в употреблении чистые тканевые мешки первой и второй категорий. Мешки не должны загрязнять сахар кострой или ворсом и иметь посторонний запах;

в тканевые мешки с вкладышами (полиэтиленовыми толщиной не более 0,100 мм, размером 109x59 по ГОСТ 19360; бумажными трехслойными склеенными открытыми марки НМ, размером 92x60 см по ГОСТ 2226.

Жидкий сахар (ОСТ 18-170-85, ТУ 911-001-00335315-94) высшей (обесцвеченный адсорбентами) и первой (очищенный с помощью фильтрующих порошков) категорий применяют в соответствии с "Рекомендациями по приему, хранению и переработке жидкого сахара на хлебопекарных предприятиях" [11, с.101]. Жидкий сахар должен быть прозрачным, сладким на вкус, без посторонних привкусов и запахов, по цвету - светло-желтым, с массовой долей сахарозы не менее 99,80% (высшей категории) и 99,55% (первой категории) и массовой долей сухих веществ не менее 64%.

4.2 Подготовка сырья к производству


Все сырье, поступающее на хлебопекарные предприятия, должно удовлетворять требованиям соответствующих ГОСТов или ТУ. Сырье поступает на предприятия партиями.

Качество муки зависит от качества перерабатываемого зерна и технологии производства. Процесс производства складывается из двух этапов - подготовительного и непосредственного размола (помола) зерна.

На подготовительном этапе проводят очистку зерновой массы от примесей, ГТО зерна (только при сортовых помолах), составление помольной смеси (смешивание партий разного качества). ГТО зерна или его кондиционирование заключается в увлажнении зерна, тепловой обработке массы, отволаживании. В результате такой обработки ослабляются связи между оболочками и эндоспермом зерна, повышается эластичность оболочек, улучшаются мукомольные и хлебопекарные свойства зерна. Кондиционирование может быть горячим (40-50°С) и холодным (при комнатной температуре). Зерно ржи при подготовке к помолу подвергают только холодному кондиционированию из-за более низкой температуры клейстеризации крахмала.

Перед поступлением зерна в размольное отделение лаборатория проводит контроль его качества: определяют содержание сорной и вредной примесей, органической примеси (основное проросшее зерно, зерна других культур), содержание сырой клейковины и влажности [10, с.110].

Под партией понимают определенное количество сырья одного вида и сорта, одной даты выработки, предназначенных к одновременной сдаче-приемке по одной накладной. Каждая партия сырья должна сопровождаться специальным удостоверением или другим документом, характеризующим его качество. Сырье поступает на предприятие тарным или бестарным способами.

При приемке муки тарным способом проводится внешний осмотр тары на прочность и чистоту мешковины, на наличие маркировки, на зараженность вредителями хлебных запасов; при приемке муки, доставляемой в автоцистернах, проверяется наличие пломб на горловине и выпускном отверстии цистерны.

Сырье, как основное, так и дополнительное, доставляемое в таре, подлежит обязательному осмотру. Тщательно осматривают упаковку и маркировку сырья и проверяют ее соответствие нормативной документации. Если упаковка повреждена, то подсчитывают количество повреждений. Если возникают сомнения в соответствии качества сырья в поврежденных местах качеству всей партии, составляют пробу из таких мест и проводят соответствующие анализы.

Если дополнительное сырье, например маргарин, сахар, молочная сыворотка, поступает на предприятие в цистернах в жидком виде, то его приемку производят следующим образом. Из каждой цистерны отбирают пробы сырья. Из одной цистерны отбирают пробы не менее 3 раз в начале, середине и конце слива. Для отбора проб используют отводные краны в трубе для слива. Пробы отбирают путем пересечения струи.

Перед приемкой сырье взвешивают. При доставке его в автоцистернах (мука, жидкий жир, дрожжевое молоко) или машинах (соль) проводят проверку массы сырья путем взвешивания автоцистерн или машин на автомобильных весах с сырьем и без него. При приемке сырья в таре (мешках, ящиках, бочках) взвешивание может быть проведено на автомобильных весах или на платформенных весах. Допускается приемка сырья, доставляемого в стандартной таре по номинальной массе единицы упаковки (мешок, бочка и др.) с выборочной проверкой массы отдельных упаковок.

На каждой партии сырья должна быть прикреплена табличка с указанием наименования продукта, номера партии, предприятия-изготовителя, даты выработки и поступления, количества мест, массы одной упаковки и всей партии.

Качество сырья проверяет производственная лаборатория в соответствии с действующей нормативной документацией, "Положением о производственных лабораториях предприятий хлебопекарной промышленности" и объемом работ, утвержденным для них [11, с.129].

Просеивание муки осуществляется с целью удаления посторонних частиц, отличающихся по размерам от частиц муки. Кроме того, мука при просеивании разрыхляется, согревается и насыщается воздухом. Для просеивания муки применяются просеивающие машины различных типов.

Взвешивание муки осуществляется после просеивания, так как конструктивные особенности применяемых весовых устройств позволяют обеспечить стабильность их работы только на просеянной муке. В качестве весового устройства в последнее время применяется автоматический дозатор АД-50-НК [11, с.137].

4.3 Технология производства


Размол зерна в муку состоит из собственно размола (дробления) и просеивания продуктов размола. Дробление осуществляют на вальцовых станках с рифленой, шероховатой или гладкой поверхностью. После каждого вальцового станка устанавливают рассев (набор сит разных размеров, расположенных друг под другом) для сортировки продукта размола по крупности частиц. Вальцовый станок вместе с рассевом образуют систему, которая может быть драной или размольной. Драная система (вальцы имеют рифленую поверхность) предназначена для дробления зерна в крупку. Размольная система (вальцы с гладкой поверхностью) предназначена для получения муки.

Помолом (размолом) принято называть совокупность связанных между собой в определенной последовательности операций по переработке зерна в муку [10, с.110]. Помолы бывают разовые и повторительные.

При разовом помоле муку получают за один проход через размалывающую машину. Качество муки низкое - обойная пшеничная или ржаная с выходом 95-96,5%.

При повторительном помоле для получения муки зерно или продукты дробления пропускают неоднократно через драные и размольные машины. Повторительные помолы бывают простые и сложные. Простым повторительным помолом вырабатывают муку только одного сорта. Измельчение ведут на 3-4 системах. Эти помолы могут быть без отбора отрубей - обойный с выходом 95-96% обойной пшеничной или ржаной муки, с отбором отрубей - обдирный с выходом ржаной муки 87% и сеяный - 63% [10, с.111].

Сложный повторительный помол, который называют сортовым, состоит из пропускания зерна через драную систему, сортировку продуктов размола и их обогащения, а затем размола крупок на разных размольных системах. На первом этапе при сортовых помолах стремятся получить минимальное количество муки на драных системах. Продукты размола сортируют по крупности и плотности, обогащают на ситовейках, продувая воздух. В результате получают следующие фракции: крупку чистую (белую), состоящую из эндосперма; крупку пеструю (сростки), кусочки оболочки и эндосперма; дунсты - частицы крупнее муки, но мельче крупки; муку.

Лучшие по качеству крупки из центральной части эндосперма размалывают на первых трех размольных системах, получая муку высших сортов. Крупки из периферийных частей эндосперма хуже по качеству, их размалывают на последних размольных системах, получая муку низших сортов (1-го и 2-го). Пестрые крупки подвергают повторному дроблению, вновь просеивают и полученные продукты дробления размалывают в муку.

В общей сложности при сортовом помоле получают 16-22 потока муки разного качества, которые затем объединяют в один-три сорта в зависимости от сортового помола. Сортовые помолы могут быть односортными, двухсортными и трехсортными с различным выходом муки [10, с.111].

Для приготовления бараночных изделий на хлебозаводе обычно устанавливают специальные линии или выделяют отдельный цех.

Технологический процесс производства сушек, баранок и бубликов включает прием, хранение и подготовку сырья, приготовление теста, отлежку теста, натирку теста, повторную отлежку, формование тестовых заготовок, ошпарку или обварку тестовых заготовок, выпечку тестовых заготовок, упаковку и хранение готовых изделий.

Тесто для бараночных изделий готовят на густой или жидкой опаре, притворе, или ускоренными способами: на концентрированной молочнокислой закваске, молочной сыворотке и жидкой диспергированной фазе.

Приготовление теста на опаре: опару готовят в тестомесильной шине Т2-М-63 и др. влажностью 38-41% из муки, воды и дрожжей прессованных или жидких одновременно для нескольких порций теста [11, с.356]. Продолжительность расхода опары должна быть не более 2 ч.

При замесе теста опару тщательно перемешивают с водой, солевым раствором и дополнительным сырьем, после чего дозируют и продолжают замес до получения однородной массы теста.

Приготовление теста на притворе: притвор - это непрерывно возобновляемая густая опара. Тесто на притворе целесообразно готовить для сушек и баранок.

Притвор готовят в тестомесильной машине Т2-М-63 и др. из муки, воды, части спелого притвора и дрожжей. Влажность притвора 38-39%.

Для приготовления производственного притвора 1-2 раза в неделю готовят опару, на выброженной опаре с добавлением муки, воды с последующим выбраживанием получают притвор, который делят на 3-5 частей, из которых одну используют для приготовления производственного притвора, а остальные - на приготовление теста

Продолжительность расхода притвора 1-3 ч.

Готовность притвора определяют по кислотности. Притвор должен быть короткорвущимся и нелипким, с приятным фруктово-спиртовым запахом.

Притвор, воду, солевой раствор, дополнительное сырье дозируют в тестомесильную машину Т2-М-63 и др., тщательно перемешивают, не прекращая замеса вносят муку и продолжают замес теста получения однородной массы.

Параметры технологического процесса приготовления теста на притворе такие же, как и при опарном способе тестоведения. Количество притвора, идущего на приготовление теста, может уменьшаться на 20-30% по сравнению с количеством опары, вносимой в тесто, вследствие более высокой кислотности.

Приготовление теста на жидкой опаре: жидкую опару для бараночных изделии готовят на машине ХЗ-2М-300 и др. смесителях из части муки, соли, прессованных дрожжей и воды влажностью 64-65% несколько порций теста [11, с.357]. Продолжительность расхода одной порции жидкой опары не более 2,5 ч.

Для замеса теста в машину Т2-М-63 и др. дозируют жидкую опару, дополнительное сырье, солевой раствор, оставшиеся дрожжи прессованные или активированные, году, все тщательно перемешивают, затем вносят муку и продолжают замес до получения однородной массы. Продолжительность замеса 10-15 мин.

Приготовление теста на молочной сыворотке: в машину Т2-М-6 др. вносят все полагающееся по рецептуре сырье, молочную сыворотку, воду, активированные прессованные дрожжи с увеличением дозы их на 0,5-1,0% по сравнению с рецептурой, все смешивают до получения однородной массы с последующей усиленной механической обработкой. Возможно растворение сахара в молочной сыворотке.

Приготовление теста на концентрированной молочнокислой закваске: концентрированную молочнокислую закваску (КМКЗ) готовят из пшеничной муки первого или высшего сорта и воды с внесет в первую фазу разводочного цикла чистых культур молочнокислых бактерий L. plantarum-30 и L. fermenti-34 в жидком или сублимированном виде (сухой лактобактерин для жидких хлебных заквасок) [11, с.357].

В зависимости от необходимого производству количества КМКЗ отбирают 1/2, 2/3 или 3/4 части готовой КМКЗ и используют замес теста.

Для замеса теста в машину Т2-М-63 и др. дозируют КМКЗ, дополнительное сырье, воду и все тщательно перемешивают, после чего дозируют муку, прессованные дрожжи и продолжают замес теста в течение 8-10 мин до получения однородной массы.

Приготовление теста на жидкой диспергированной фазе (ЖДФ): жидкую диспергированную фазу (ЖДФ) готовят из 15-20% муки, воды, соли, дрожжей и дополнительного сырья, путем смешивания и диспергирования (интенсивного сбивания) в диспергаторе ШС-300 и других механических смесителях в комплекте с насосом получения однородной сметанообразной массы влажностью 45,5-6 в зависимости от рецептуры изделия.

Жидкую диспергированную фазу готовят сразу на несколько замесов теста с учетом продолжительности расхода не более 1 ч.

Для замеса теста в машину Т2-М-63 и др. дозируют жидкую диспергированную фазу, муку, воду (5-10 л), ароматизаторы (в зависимости от сорта изделия) и тщательно перемешивают до получения однородной массы.

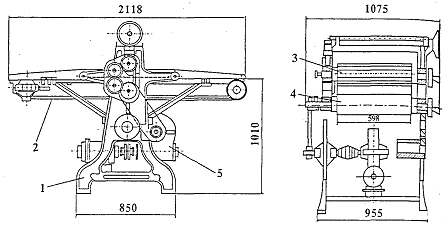
Отлежка, натирка и формование тестовых заготовок: тесто, приготовленное одним из вышеуказанных способов, после 10-20 мин. отлежки разрезают на куски по 5-15 кг и 3-4 раза пропускают через рифленые валки натирочной машины Н-1, Н-3, Н-4М (рис.3) и др., а тесто при., а тесто, приготовленное на молочной сыворотке, - не менее 7-8 раз.

Рис.3. Натирочная машина: 1 - станина; 2 - ленточный конвейер; 3 - рифленый валок; 4 - гладкий валок; 5 - электропривод [11, с.358]

После натирки пласт теста сворачивают в виде рулонов и оставляют для отлежки на 10-20 мин. Натирка - это механическая обработка пшеничного теста с целью обеспечения однородности структуры и свойств теста.

При механизированном производстве замешенное тесто сразу же поступает в натирочную машину, где ему придается форма пласта, который разрезают на куски массой 5-15 кг и оставляют для отлежки. Деление на куски бараночного теста и формование тестовых заготовок производят в универсальной делительно-закаточной машине Б-4-58 и др. марок или вручную "в раскатку" или "на щипок".

При ручной разделке теста "в раскатку" тесто разрезают на куски массой не более 8-10 кг. Кусок теста слегка разминают в пласт и пропускают через прокатно-жгуторезную машину Б-2. Полученные заготовки подвергают короткой ручной прокатке, затем оставляют на 10-15 мин для отлежки, после чего формуют тестовые кольца. Для обеспечения хорошей растяжимости теста формование бараночных изделий начинают с первоначально раскатанного конца.

Тестовые заготовки (кольца) делают следующим образом. Правой рукой зажимают конец заготовки большим и указательным пальцами. Протягивают заготовку через слегка задерживающую ее левую руку, огибают ею два-четыре пальца правой руки, накладывая на конец, находящийся между пальцами. Когда кольцо замкнется, правой рукой заготовку обрывают, при этом указательным и большим пальцами правой руки концы заготовки плотно сжимают, образуя слип ("замок").

При формовании заготовок для баранок для сглаживания видимых следов слипа и уравнивания толщины этого места с общей толщиной заготовки место слипа закатывают в ладони левой руки или на столе. При формовании заготовок для сушек место слипа соединяют нажимом большого пальца правой руки. Если сушки или баранки имеют овальную форму, то ее придают заготовкам, слегка вытягивая сформованные кольца.

При разделке теста "на щипок" от куска теста отрывают рукой кусочки одинаковой массы, равной массе разделываемых изделий с учетом упека. Кусочки теста раскатывают на столе ладонями в маленькие заготовки длиной, достаточной для получения бараночных изделий должного размера. После раскатки концы заготовок соединяют нажимом одного на другой для образования слипа и закатывают для обеспечения равномерной толщины и гладкой поверхности изделий.

Расстойка, ошпарка или обварка и выпечка: сформованные тестовые заготовки укладывают на фанерные доски или кассеты, которые помещают в расстойный шкаф.

Отделку тестовых заготовок производят при укладке на кассеты или доски. Продолжительность расстойки тестовых заготовок в зависимости от вида изделий составляет: для бубликов - 90-120 мин., баранок - 40-120 мин, сушек - 15-55 мин. Расстойка осуществляется при температуре 35-40° С и относительной влажности воздуха 75-85%.

Ошпарку или обварку тестовых заготовок осуществляют с целью увеличения заготовок в объеме и образования глянцевой корочки

Ошпарку тестовых заготовок, т.е. обработку паром, производят отдельно установленной паровой камере или входящей в состав расстойно-ошпарочных-печных агрегатов или ошпарочно-печного агрегата. Продолжительность ошпарки 1-3,5 мин. Если отсутствует камера для ошпарки тестовых заготовок, то их обваривают в специальной емкости при температуре воды 92-95° С. Продолжительность обварки тестовых заготовок для сушек составляет 45-90 с, для баранок 20-60 с, для бубликов - 5-20 с. После обварки тестовые заготовки слегка обсушивают. Выпечку бараночных изделий производят в печах ФТЛ, Г4-ПХ С-25, БН и др. Продолжительность выпечки: сушек - 12-18 ми баранок - 11-17 мин и бубликов - 9-18 мин при температуре печи ФТЛ-180-2700 С, Г4-ПХЗ-С-25 - 165-250° С и БН - 230-290° С. Механизм процесса выпечки бараночных изделий отличен от выпечки хлеба. При выпечке бараночных изделий ввиду быстрого их прогрева испарение начинает происходить также в центральных ело изделий и влага из них перемещается к поверхности изделий в виде пара. Температура центральных слоев достигает к концу выпечки: бубликов 104-106° С, баранок 107-108° С, сушек 110-112° С. Упаковка и хранение изделий. Бараночные изделия выпускают весовыми и расфасованными. Весовые бараночные изделия нанизывают на шпагат в связки на низальной машине или вручную и хранят в подвешенном состоянии на шпилечных вагонетках подкатных или стационарных отдельно от хлебобулочных изделий или в охлажденном виде упаковывают в ящики или бумажные мешки. Бублики допускается укладывать в лотки рядами. Фасовку бараночных изделий массой от 0,2 до 0,25 кг производят на автоматах АР-4Ж и др.

На рис.4 представлена аппаратурно-технологическая схема производства бараночных изделий, где 1 - производственные бункеры для муки; 2, 3, 4, 5, 9 - дозаторы для жидких градиентов; 6 - автомукомер; 7 - тестомесильная машина; 8 - бункер для брожения теста; 10 - транспортер для теста; 11 - натирочная машина; 12 - транспортер для отлежки теста; 13 - стол для отлежки; 14 - делительно-закаточная машина; 15 - расстойный шкаф; 16 - ошпарочный агрегат; 17 - печь; 18 - транспортер; 19 - низальная машина.

Рис.4. Аппаратурно-технологическая схема производства бараночных изделий [11, с.360]

В состав поточных линий для производства бараночных изделий входят производственные бункеры для муки, дозаторы муки и жидких рецептурных компонентов, тестомесильные машины, емкости для брожения полуфабрикатов, натирочная машина, делительно-закаточные машины, расстойный шкаф, ошпарочный агрегат, печь, ленточный или люлечный конвейер для охлаждения изделий и упаковочное оборудование.

Мука на производство подается в производственные бункеры т ХЕ-63 со шнеком ШП, жидкие рецептурные компоненты - в сборники типа АЕ. Для дозирования муки используют дозатор Ш2-ХДА, жидких компонентов - дозатор Ш2-ХДБ.

Тесто для бараночных изделий замешивают в основном в тестомесильных машинах ТМ-63. Брожение полуфабрикатов происходит в дежах подкатных или в дежах в составе тестоприготовительного агрегата типа Ш2-ХБВ, или в бродильной емкости в составе тестопритовительного агрегата типа Ш2-ХББ. Пластикацию теста после замеса и отлежки осуществляют на натирочной машине Н-ЧМ. Для формирования бараночных изделий используют делительно-закаточные машины Б-4-58, А2-ХБД (для бубликов), А2-ХБУ (для баранонок). Расстойка тестовых заготовок осуществляется в расстойных шкафах Т1-ХР-2А, Т1-ХР-2Гс различным числом люлек в зависимости производительности печи. Ошпарочный аппарат нестандартный. Для выпечки применяют хлебопекарные печи тупикового или тоннельного типа ФТЛ, Ш2-ХПА, Г4-ПХЗС-25 и др. [11, с.361].

Для охлаждения бараночных изделий применяют ленточный и люлечный конвейер, для упаковки - обычно низальные машины, фасовочные автоматы М1-АКГ-1 (для сушек), для хранения - шпилечные вагонетки и контейнеры.

4.4 Упаковка, маркировка, хранение


Хранение муки делят на два этапа. На первом этапе происходит улучшение хлебопекарных достоинств муки. В течение некоторого времени они сохраняются на достигнутом уровне. Затем начинается второй этап, характеризующийся ухудшением качества муки. Первый этап принято называть созреванием. Свежесмолотую муку в хлебопечении не используют, так как из нее получается некачественный хлеб (малого объема, пониженного выхода и т.д.). Поэтому свежесмолотая мука должна пройти отлежку в благоприятных условиях, называемую созреванием, в результате чего улучшаются, ее хлебопекарные свойства. Созреванию подвергают в основном пшеничную муку.

Созревание муки связано с окислительными и гидролитическими процессами в липидах и снижением активности ферментов до определенного уровня. После созревания мука становится светлее вследствие окисления каротиноидов, которые придают ей желтоватую окраску. В результате ферментативного окисления фитина высвобождаются фосфорная и другие органические кислоты, т.е. повышается усвояемость минеральных элементов. Но самое главное - улучшаются хлебопекарные свойства за счет укрепления клейковины. Такое действие оказывают перекиси, окисляющие части сульфгидрильных групп (-S-Н-) с образованием дисульфидных связей (-S-S-) между молекулами белка, образующими клейковину [10, с.115]. При взаимодействии белков с продуктами гидролиза и окисления жира получаются липопротеины, уменьшающие растяжимость клейковины. Таким образом, если мука после помола имела слабую клейковину, то после созревания слабая клейковина приобретает свойства средней, а средняя - сильной, сильная - очень сильной, возможно даже ухудшение качества, например, очень крепкая клейковина, крошащаяся.

Пшеничная сортовая мука созревает при комнатной температуре 1,5-2 мес., а обойная - 3-4 недели. Муку, предназначенную для длительного хранения, необходимо сразу охладить до 0 ºС, тогда созр¬вание будет продолжаться год. Если же муку со слабой клейковиной необходимо сразу использовать, то процесс созревания можно ускорить до 6 ч за счет ее аэрации теплым воздухом.

При созревании хлебопекарные свойства муки достигают оптимума, некоторое время они сохраняются, а затем качество муки начинает ухудшаться.

Хранят муку в сухих, хорошо проветриваемых, не зараженных вредителями хлебных запасов помещениях, соблюдая санитарные правила. Рекомендуют хранить при температуре не выше 20°С и относительной влажности воздуха 60%: сортовую пшеничную муку - 6-8 мес. [10, с.116]. При низких температурах (около 0°С и ниже) срок хранения муки продлевается до двух лет и более.

Хранение и подготовка сырья к пуску в производство ведется в соответствии с требованиями, предъявляемыми к каждому виду сырья.

Муку хранят отдельно от всех видов сырья.

Мучной склад должен быть сухим, чистым, отапливаемым, с хорошей вентиляцией; пол - плотным, без щелей, желательно асфальтированным. Стены должны быть гладкими, побеленными или облицованными керамической плиткой. Температуру в мучных складах следует поддерживать не ниже 8° С.

Муку отпускают со склада на производство в стандартной таре по количеству мешков. Выборочно проверяют массу муки в мешке. Муку со складов бестарного хранения отпускают по массе.

Во время хранения муки, особенно свежесмолотой, в ней происходит ряд процессов, вызывающих изменение ее качества. В зависимости от исходных свойств муки, продолжительности и условий хранения качество муки может либо улучшаться и тогда это явление называется созреванием, либо ухудшаться, и тогда это явление называется порчей муки.

Созревание пшеничной муки: свежесмолотая мука, особенно мука из только что убранного зерна, образует обычно липковатое, мажущееся и быстро разжижающееся при брожении тесто. Для получения из такой муки теста нормальной консистенции приходится уменьшать количество воды, добавляемой при замесе. При расстойке тестовые заготовки быстро расплываются. Хлеб из свежесмолотой муки получается пониженного объема и при выпечке на поду расплывается. На поверхности корки часто наблюдаются мелкие трещины. Выход хлеба понижен.

После хранения в нормальных условиях хлебопекарные свойства свежесмолотой муки улучшаются. Тесто и хлеб из муки, прошедшей период созревания, обладают нормальными для данной муки свойствами. При созревание пшеничной муки происходят следующие изменения [11, с.131]:

. Изменение влажности муки.

. Изменение цвета муки.

. Изменение кислотности муки.

Для улучшения хлебопекарных качеств муки могут быть созданы условия, способствующие процессу созревания муки.

Продолжительность процесса созревания муки зависит в основном от исходных свойств клейковины и температурного режима хранения муки.

Созревание муки заканчивается значительно быстрее в условиях ее хранения при температуре 25-40° С. Понижение температуры замедляет этот процесс, а при 0° С и ниже мука консервируется. С целью ускорения созревания муки целесообразно хранить ее и транспортировать бестарным способом. Можно применять для внутризаводского транспортирования подогретый воздух.

Складское помещение для хранения дрожжей должно быть сухим, чистым, вентилируемым. Прессованные дрожжи должны хранится при температуре от 0 до +4° С. Допускается хранение сменного или суточного запаса прессованных дрожжей на производстве в условиях цеха.

Дрожжи хлебопекарные прессованные хранят на предприятии уложенными на стеллажах или поддонах при температуре от 0 до +4°С.

В случае замерзания дрожжей перед употреблением их необходимо подвергнуть постепенному оттаиванию при температуре от 4 до 6° С.

Дрожжевое молоко хранят при температуре от 2 до 15° С в специальных сборниках, изготовленных из нержавеющей стали, снабженных мешалками, указателем уровня и охладителями. Дрожжевое молоко разводят водой примерно до консистенции, установленной для дрожжевой суспензии, принятой при использовании прессованных дрожжей. Дрожжевую суспензию перед пуском в производство целесообразно пропускать через проволочное стальное сито с размером ячеек не более 2,5 мм [11, с.139].

Дрожжи сушеные должны поступать и храниться в герметичной таре, бумажных мешках с вложенными внутрь их полиэтиленовыми мешками и без них, в плотных ящиках, внутри выстланных пергаментом или подпергаментом. Складское помещение для их хранения должно быть сухим, чистым, вентилируемым с температурой внутри склада не выше 15° С.

Дрожжи сушеные и прессованные перед употребление активируют. Активация дрожжей осуществляется путем разведения их в жидкой питательной среде, состоящей из воды, муки, солода или сахара, а иногда и других добавок, и выстаивания в течение 30-90 мин. В результате активации повышается подъемная сила дрожжей, что позволяет снижать их расход на приготовление теста на 10-20% или, не уменьшая расход, сокращать длительность брожения полуфабрикатов. Сушеные дрожжи активируют 5-6 ч в жидкой осахаренной мучной заварке, приготовленной из муки пшеничной 2 сорта (15 кг заварки на 1 кг дрожжей). Готовые активированные дрожжи рекомендуется расходовать в течение 4 ч.

Дрожжи инстантные отечественных и зарубежных фирм рекомендуется вносить в 3 раза меньше, чем прессованных дрожжей, и обычно в сухом виде.

Сахар-песок доставляют на хлебозаводы в мешках. Мешки с сахаром укладывают на стеллажи и хранят в сухом помещении, так как сахар очень гигроскопичен.

На производство сахар-песок подают в растворенном, профильтрованном виде. Сахарные растворы процеживаются через металлические сита с ячейками не более 1,5 мм. Дозировку сахарного раствора устанавливают в зависимости от фактической его плотности. Для обеспечения правильности дозирования сахара рекомендуется применять раствор с постоянной плотностью. Сахарный раствор при плотности 1,23 и температуре 38° С начинает выкристаллизовываться. Для предотвращения этого в раствор добавляют поваренную соль (2,5% к массе сахара). Комбинированные сахаро-солевые растворы выдерживают длительное хранение, не кристаллизуются при перемешивании, перекачке и снижении температуры до 17° С. Можно растворять сахар-песок в натуральной молочной сыворотке. Этот процесс осуществляется в сахарорастворителях или емкостях из нержавеющей стали, снабженных мешалками. Концентрация сахара в растворе сыворотки 45-65%. Содержание сахара в единице объема или массы определяется, исходя из плотности раствора. В производственных условиях (при температуре 25-35° С) хранить растворы рекомендуется не более 1-2 сут.

При необходимости использования сахара в нерастворенном виде (при производстве сдобных изделий) его просеивают через металлическое сито № 2,8-3,5 (по ГОСТ 3924) [11, с.140].

Хранение бараночных изделий производится отдельно от хлебобулочных изделий в сухих, чистых, хорошо проветриваемых помещениях, не зараженных вредителями хлебных запасов, при температуре 20-22°С и относительной влажности воздуха 65-75% [10, с.136]. Не допускается хранение вместе с продуктами, обладающими специфическим запахом.

Срок хранения баранок - 25 сут., сушек - 45, фасованных в полиэтиленовые и целлофановые пакеты - 15 сут.; срок реализации бубликов - 16 ч, в упаковке - 72 ч.

Срок реализации хлебных палочек - не более 30 сут., фасованных в полиэтиленовую пленку - не более 15 сут.; соломки соленой и сладкой - до 3 мес., киевской - 1 мес.; хлебцев хрустящих простых по рецептуре - до 4 мес., улучшенных - до 1,5, Андреевских хлебцев - до 6 мес. со дня выработки.

5. Требование к качеству сушек и баранок


5.1 Пищевая ценность


Пищевая ценность - это понятие, отражающее всю полноту полезных свойств продовольственного товара, включая степень обеспечения физиологических потребностей человека в основных пищевых веществах, энергию и органолептические достоинства. Характеризуется химическим составом продовольственного товара с учетом его потребления в общепринятых количествах [2, с.23].

Для изучения потребительских свойств продовольственных товаров и понимания процессов, происходящих в них на стадиях производства и хранения, необходимо знать прежде всего их химический состав и свойства входящих в них химических веществ.

По химическому составу и функциональному назначению органические и неорганические вещества, входящие в состав продовольственных товаров, делятся на энергетические, пластические (вода, белки, жиры, углеводы, минеральные вещества) и обменно-функциональные (витамины, азотистые, экстрактивные вещества и ферменты).

Бараночные изделия высшего и 1-го сортов выпускают простыми и сдобными. Сдобные изделия содержат сахар (7-18%), жир (1,5-10,5%), кроме того, могут вноситься ароматические добавки (ванилин, лимонная эссенция, корица и др.) [10, с.132]. Поверхность изделий может быть с обработкой и без нее.

Сушки вырабатывают из муки высшего и 1-го сортов. Из муки высшего сорта простые - сушка простая, в том числе ахлоридная, лимонная, с маком и др.; из муки 1-го сорта - простая, соленая, ахлоридная.

Сдобные сушки выпекают из муки высшего сорта - ванильные, с корицей, молочные, новые, челночек, минские; из муки 1-го сорта - малютка, сдобные, детские, чайные и др.

Баранки из муки высшего сорта выпускают простыми, а также сдобными (лимонные, ванильные, черкизовские, яичные и др.); из муки 1-го сорта - простыми и сдобными (горчичные, детские, молочные, сахарные).

Бублики выпекают из муки только 1-го сорта, штучными, массой 0,1 и 0,05 кг. В тесто для простых по рецептуре бубликов может быть добавлено до 3% сахара, они также могут отличаться отделкой поверхности. Ассортимент простых бубликов: простые, с маком, с тмином, с кунжутом и др. Ассортимент сдобных бубликов: ванильные, горчичные, лимонные, украинские и др. В их рецептуру входит 7-11,5% сахара и 2-7,5% жира.

5.2 Органолептические показатели


Проводят экспертизу по органолептическим показателям - форме (в виде кольца), состоянию поверхности, цвету, внутреннему состоянию, хрупкости [10, с.134]. Размер изделий контролируют по количеству штук в 1 кг. Количество сушек в 1 кг должно быть 90-130 (Малютка - 220-240), баранок - 20-65. Бублики вырабатывают только штучными, массой 0,05 и 0,1 кг.

Сушки представляют собой кольца диаметром 4-6 см, толщина жгута 1,0-1,7 см, масса одного кольца 6,5-12,0 г; баранки - кольца диаметром 7-9 см, толщина жгута до 2 см, масса одного изделия 25-40 г; бублики - кольца диаметром 7-10 см, толщина жгута до 3,3 см, масса одного изделия 50-100 г. [10, с.132].

5.3 Физико-химические и структурно-механические показатели


Условия хранения, транспортирования и эксплуатации товаров могут быть различными в зависимости от воздействия физико-химических, механических и биологических факторов.

Степень отрицательного воздействия указанных факторов на свойства материалов и товаров зависит от их физической и химической структуры, а также вида и интенсивности воздействующего фактора.

Основными физико-химическими факторами, способными повлиять на снижение качества товаров, являются влажность, температура, свет, компоненты воздуха (кислород, сероводород, сернистый газ).

Влажность характеризует содержание влаги в материале. Различают фактическую, нормальную и нормированную влажность материала.

Фактическая влажность показывает содержание влаги в материале в момент испытаний; нормальная - это равновесная влажность материала, которую он приобретает при выдерживании в течение определенного времени в стандартных климатических условиях; нормированная (кондиционная) - условная влажность, норма которой устанавливается в нормативно-технической документации на конкретный вид товара [10, с.56].

Показатели нормальной и нормированной влажности близки. Влажность материалов и товаров зависит от влажности окружающего воздуха и особенностей физико-химической структуры материала.

При высокой относительной влажности воздуха материалы и товары сильно увлажняются; при этом возможна капиллярная конденсация парообразной влаги сначала в мелких, а затем и в крупных капиллярах.

В наибольшей степени поглощают влагу вещества, в макромолекулах которых имеются гидрофильные группы (-ОН, - СООН и др.), обладающие большим сродством с молекулами воды. Изделия, в состав которых входят вещества, содержащие подобные группы, можно отнести к гигроскопическим. Наибольшей гигроскопичностью характеризуются целлюлозосодержащие и белковосодержащие материалы и товары (изделия из растительных волокон, шерсти, шелка, кожи, меха и др.). Наряду с высокой гидрофильностью названные материалы и товары из них имеют физическую структуру, которая способствует поглощению влаги: высокоразвитую поверхность, пористость на уровне макро - и микроструктуры, что приводит к скоплению в капиллярах конденсата паров влаги из воздуха или при намокании.

При повышении относительной влажности воздуха гигроскопические материалы и товары поглощают влагу из воздуха, вследствие чего изменяются их свойства и снижается качество [10, с.57]:

изменяется форма изделий, увеличиваются их размеры и масса;

активизируются процессы химической коррозии металлов и изделий из них;

ускоряются процессы повреждения материалов и товаров микроорганизмами;

изменяются физические свойства изделий;

изменяются механические свойства.

При недостаточной относительной влажности воздуха материалы теряют влагу, и следствием этого является уменьшение размеров, многие товары становятся хрупкими и жесткими.

При хранении и транспортировании большинства товаров поддерживают стандартную (нормальную) влажность в пределах 65 ±5%.

Для регулирования влажности используют кондиционеры, специальные поглотительные смеси, упаковку, при необходимости увлажнение.

Температура характеризует степень нагретости тела. От нее зависят относительная влажность воздуха, возможность и интенсивность протекания физико-химических и биологических процессов в материалах под воздействием влаги, света, кислот, щелочей, кислорода воздуха.

Для хранения большинства непродовольственных товаров нормальной считается температура 16-20°С.

При повышении температуры при нормальной или низкой относительной влажности воздуха снижается качество практически всех групп товаров. Ускоряются процессы окислительной и гидролитической деструкции полимерных материалов, вызывающей их старение.

Температура выше 25°С и относительная влажность воздуха более 65% способствуют размножению микроорганизмов различных групп, вызывающих процессы брожения и гниения, вследствие чего повреждаются или разрушаются сырье, материалы и изделия. Эти же режимы вызывают коррозию металлоизделий.

Температура ниже нормальной и особенно ниже О°С отрицательно влияет на качество многих изделий из пластмасс, парфюмерных товаров, средств бытовой химии и др.

Свет. Область видимого и ультрафиолетового света является частью общего спектра электромагнитного излучения.

Световые лучи передают изделию свою энергию, вызывая световое и светотепловое старение. Интенсивность светового воздействия на товары и материалы зависит от энергии световых лучей. В видимой части светового спектра (λ = 380-760 нм) наибольшую энергию несут фиолетовые лучи. В невидимой части спектра наибольшей мощностью обладают ультрафиолетовые лучи (λ = 10-380 нм). Действие световой энергии проявляется в окислительной деструкции полимеров: происходит разрыв цепей макромолекул, сшивание, образование в продуктах деструкции кислородосодержащих функциональных групп. В результате фотодеструкции изменяются потребительские свойства товаров: снижаются прочность, эластичность, стойкость к многократным деформациям, появляется хрупкость, изменяются сорбционные свойства - возрастает водопоглощение за счет увеличения кислородосодержащих функциональных групп; ухудшаются эстетические свойства - появляются трещины, уменьшается блеск, изменяется окраска.

В то же время свет замедляет микробиологические процессы, препятствует развитию насекомых. Поэтому на складах рекомендуется рассеянное дневное или искусственное освещение.

Состав воздуха оказывает существенное влияние на свойства и качество материалов и товаров. Чем меньше в воздухе пыли и вредных газов, тем лучше условия для хранения и эксплуатации товаров. Пыль, осаждаясь на увлажненной поверхности изделий, образует кислотные и щелочные растворы, под воздействием которых изменяются свойства изделий.

Сероводород вызывает почернение изделий из серебра, нарушает электрический контакт электронных приборов.

Сернистый газ способствует ускорению коррозии металлов, потемнению пигментов и красок.

Кислород воздуха, являясь активным окислителем, наиболее сильно влияет на свойства изделий. Под действием кислорода ускоряются процессы химической и микробиологической коррозии материалов всех видов, которые в свою очередь приводят к снижению прочности и эластичности, изменению окраски, появлению неприятного запаха и т.д.

Изделия для предохранения от вредного воздействия воздуха следует хранить в герметичной упаковке или покрывать защитной пленкой, содержать в хорошо проветриваемых складских помещениях.

В процессе изготовления, транспортирования и эксплуатации изделия испытывают разнообразные механические воздействия, вызывающие деформации растяжения, сжатия, изгиба и т.д. [10, с.59]. Величина механических напряжений - один из наиболее существенных факторов, влияющих на долговечность изделий.

Сила воздействия механических нагрузок зависит от их величины и продолжительности, а также от вида изделия, на которое они воздействуют.

Для предохранения товаров от механического воздействия (толчков, ударов, излишнего давления) необходимо соблюдать правила укладки и транспортирования, использовать потребительскую и транспортную тару.

Биоповреждения сырья, материалов и товаров приносят огромный экономический ущерб. К биологическим объектам, снижающим качество товаров, относят микроорганизмы, грызунов, насекомых, птиц.

Наибольший вред приносят микроорганизмы разных групп (бактерии, грибы, актиномицеты, водоросли), вызывающие порчу продовольственных и непродовольственных товаров.

В настоящее время установлено, что нет таких материалов, которые не повреждали бы микроорганизмы.

Под влиянием ферментов и других продуктов жизнедеятельности микроорганизмов происходят деструкция структуры и ухудшение свойств изделий: эстетических, функциональных, экологических, безопасности. Наблюдаются изменение первоначального цвета изделий, появление нежелательной окраски, гнилостного запаха, уменьшение блеска и т.п.

Микроорганизмы попадают на сырье и изделия в процессе их производства, транспортировки, хранения и эксплуатации из окружающей среды. Биоповреждения товаров зависят не только от их физической и химической структуры, вида воздействующих микроорганизмов, но и от загрязнения атмосферы, сопутствующих материалов, климатических факторов, преобладания определенной микрофлоры в верхних почвенных слоях.

Защиту от биоповреждения сырья, материалов и изделий следует рассматривать не только как один из факторов, способствующих сохранению качества товаров, но и как недостаточно использованный резерв экономики.

В качестве защиты от биоповреждений используют разнообразные средства: нормирование температурно-влажностных режимов, препятствующих развитию микроорганизмов, содержание помещений для хранения товаров в чистоте, обработку промышленного сырья и материалов при необходимости токами высокой частоты, ультрафиолетовым облучением, разнообразными химическими веществами.

Из физико-химических показателей бараночных изделий контролируют влажность (в %) [10, с.134]: сушек - 7,5-12; баранок - 9-18; бубликов - 23-25; кислотность (град., не более): сушек - 2,5-3,0; баранок - 3,0; бубликов - 3,0-3,5.

В изделиях с добавками сахара и жира устанавливают и контролируют их содержание. Определяют коэффициент набухаемости сушек и баранок, который должен быть не менее 2,5-3,0. Проводят контроль по показателям безопасности (см. табл.1).

5.4 Показатели безопасности


Свойства безопасности потребления - это обеспечение биологической, механической, электрической, пожарной и других видов безопасности при эксплуатации или потреблении товаров. В стандартах предусматриваются обязательные требования, обеспечивающие безопасность. На товары, использование которых по истечении определенного срока представляет опасность, должны устанавливаться сроки годности. Показатели безопасности характеризуют особенности товаров, обеспечивающие безопасность потребителя во всех режимах их потребления или эксплуатации, а также транспортирования, хранения и утилизации [1, с.9]. Номенклатуру показателей безопасности устанавливают в зависимости от специфики продукции и условий ее использования. Показатели безопасности товаров группируют по однородности характеризуемых ими свойств и с учетом различных видов опасностей. Безопасность продовольственных товаров - отсутствие токсического, канцерогенного, мутагенного или любого другого неблагоприятного воздействия продовольственных товаров на организм человека при употреблении их в общепринятых количествах [1, с.12]. Гарантируется установлением и соблюдением регламентируемого уровня содержания загрязнителей химического, биологического или природного происхождения.

5.5 Дефекты


Дефекты бараночных изделий: вздутия и пятна на поверхности (при интенсивном брожении или неравномерном распределении сахара в тесте), отсутствие глянца на поверхности (недостаточная или избыточная ошпарка тестовых заготовок), слипы (незаделанные жгуты), притиски (при тесной посадке в печь) [10, с.134].

6. Фальсификация


6.1 Ассортиментная


Фальсификация продовольственных товаров и продовольственного сырья представляет собой изготовление и реализацию поддельных продовольственных товаров и продовольственного сырья, не соответствующих своему названию и рецептуре [2, с.24].

При этом ассортиментная фальсификация - это замена хлебобулочных изделий, выработанных из одного сорта муки другим; одного вида хлебобулочных изделий другим.

Наиболее распространенной ассортиментной фальсификацией хлеба и хлебобулочных изделий является продажа изделий, выработанных из муки 1-го сорта под видом хлебобулочных изделий из муки высшего сорта [4, с.104]. Отличить такую подделку можно и по цвету, но более точное заключение можно сделать на основе физико-химических показателей: содержание клетчатки, пентозанов, кальция, фосфора, железа.

6.2 Качественная


Качественная фальсификация хлеба и хлебобулочных изделий может достигаться следующими приемами [4, с.104]:

повышенным содержанием воды;

добавлением других сортов муки;

заменой дрожжей на химические разрыхлители; введением пищевых красителей;

недовложением ценных компонентов (масла, яиц, сахара и др.), предусмотренных рецептурой; заменой дорогих ценных компонентов более дешевыми (маргарина - растительным маслом и т.п.);

несоблюдением технологических параметров производства хлеба;

добавлением консервантов, антибиотиков.

Повышенное содержание воды обычно встречается в зимний период, поскольку производство такого хлеба в летний период приводит к быстрому развитию картофельной болезни и плесневению.

В процессе выработки хлеба из того или иного сорта муки в него могут добавлять до 15-25% другого сорта муки, и такую фальсификацию обнаружить достаточно сложно. Этим пользовались еще в прошлом веке.

Новым видом фальсификации является введение различных химических разрыхлителей, которые усиливают выделение углекислого газа, после чего не нужно долго проводить процесс брожения теста вообще либо можно значительно его сократить [4, с.105]. В результате вместо хорошо выброженного пшеничного теста получают смесь воды и муки, слегка насыщенную углекислым газом. В хлебе, выработанном по такой технологии, нет аромата и вкуса, характерного для хлебобулочных изделий, мякиш имеет не серый цвет, а белый - цвет муки.

При полной замене процесса брожения на химический разрыхлитель хлеб вообще может иметь амбарный запах (запах мышиных испражнений).

Сдобные булочные изделия очень часто фальсифицируют путем недовложения ценных компонентов (масла, яиц, сахара, мака, изюма, орехов и др.), предусмотренных рецептурой, либо замены дорогих ценных компонентов более дешевыми (маргарина - растительным маслом, гидрожиром и т.п.).

При несоблюдении температурных режимов выпечки, особенно ржаного и ржано-пшеничных видов хлебобулочных изделий, вырабатывают непропеченные изделия, которые не должны поступать в реализацию. Отличить такой хлеб очень просто. При надавливании на мякиш и затем снятия нагрузки мякиш должен восстановить свою форму. Если он не восстанавливает форму, а даже прилипает к пальцу, то это - непропеченный хлеб.

Для удлинения сроков хранения хлебобулочных изделий в них могут добавлять консерванты или антибиотики. Отличить также изделия от других очень просто. Если срок хранения у хлебобулочных изделий более 48 часов, то в них введены консерванты или антибиотики, а если на этикетке хлеба об этом не указано, то перед вами - очередная фальсификация. Особенно часто вводят консерванты или антибиотики в хлеб, нарезанный на ломтики для тостеров.

6.3 Количественная


Количественная фальсификация хлеба и хлебобулочных изделий (недовес) - это обман потребителя за счет значительных отклонений параметров товара (массы), превышающих предельно допустимые нормы отклонений [4, с.106].

Выявить такую фальсификацию достаточно просто, измерив предварительно массу поверенными измерительными мерами веса.

6.4 Информационная


Информационная фальсификация хлеба и хлебобулочных изделий - это обман потребителя с помощью неточной или искаженной информации о товаре.

Этот вид фальсификации осуществляется путем искажения информации в товарно-сопроводительных документах, маркировке, рекламе товара. При фальсификации информации о хлебе и хлебобулочных изделиях довольно часто искажаются или указываются неточно следующие данные [4, с.106]:

наименование товара;

сорт муки, из которой изготовлены хлебобулочные изделия;

состав продукта.

Так же может осуществляться подмена сертификатов соответствия, сопроводительных документов.

Заключение


Анализируя результаты проделанной работы, можно сделать вывод, что основные физико-химические, структурно-механические и органолептические показатели сушек и баранок формируются и напрямую зависят от физико-химических, структурно-механических и органолептических показателей сырья.

Бараночные изделия вырабатывают их из пшеничной муки высшего и 1-го сортов с высоким содержанием клейковины. Технологический процесс производства включает приготовление теста, натирку, расстойку, ошпарку или обварку тестовых колец, выпечку, расфасовку и упаковку.

Тесто для бараночных изделий готовят крутое, на опаре или специальной закваске - притворе (для бубликов - только на опаре). Для придания тесту однородной консистенции проводят натирку, т.е. усиленную механическую обработку путем многократного пропускания через вальцы. После натирки тесто сворачивают в рулон и оставляют в покое на час для брожения. Созревшее тесто формуют в специальных делительно-закаточных машинах и направляют на расстойку. Для закрепления формы и получения изделий с гладкой блестящей поверхностью производят ошпарку тестовых заготовок (при отсутствии ошпарочной камеры эту операцию заменяют обваркой водой температурой 92-95°С). Закреплению формы изделий способствуют процессы, происходящие в тесте - денатурация белков и клейстеризация крахмала. Выпекают изделия при температуре от 165 до 290°С в зависимости от типа печей. Продолжительность выпечки (в мин): у сушек - 12-18, баранок - 11-17, бубликов - 9-18.

Проводят экспертизу по органолептическим показателям - форме (в виде кольца), состоянию поверхности, цвету, внутреннему состоянию, хрупкости [10, с.134]. Размер изделий контролируют по количеству штук в 1 кг. Количество сушек в 1 кг должно быть 90-130 (Малютка - 220-240), баранок - 20-65. Бублики вырабатывают только штучными, массой 0,05 и 0,1 кг.

Сушки представляют собой кольца диаметром 4-6 см, толщина жгута 1,0-1,7 см, масса одного кольца 6,5-12,0 г; баранки - кольца диаметром 7-9 см, толщина жгута до 2 см, масса одного изделия 25-40 г; бублики - кольца диаметром 7-10 см, толщина жгута до 3,3 см, масса одного изделия 50-100 г.

Из физико-химических показателей бараночных изделий контролируют влажность (в %):

сушек - 7,5-12;

баранок - 9-18;

бубликов - 23-25;

кислотность (град., не более): сушек - 2,5-3,0; баранок - 3,0; бубликов - 3,0-3,5.

В изделиях с добавками сахара и жира устанавливают и контролируют их содержание. Определяют коэффициент набухаемости сушек и баранок, который должен быть не менее 2,5-3,0. Проводят контроль по показателям безопасности.

Основными дефектами бараночных изделий являются: вздутия и пятна на поверхности (при интенсивном брожении или неравномерном распределении сахара в тесте), отсутствие глянца на поверхности (недостаточная или избыточная ошпарка тестовых заготовок), слипы (незаделанные жгуты), притиски (при тесной посадке в печь).

Список литературы


1.       Алексеев Н.С. Теоретические основы товароведения продовольственных товаров: Учебник. - М.: Экономика, 2006. - 294 с.

2.       Брозовский Д.И., Борисенко И.М. Основы товароведения: Учебник. - М.: Экономика, 2005. - 351 с.

.        Дурнев В.Д. Товароведение продовольственных товаров: Учебник. - М.: Филинь, 2007. - 530 с.

.        Идентификация и фальсификация продовольственных товаров / Под ред. И.П. Чепуриной. - М.: Дашков и К, 2006. - 460 с.

.        Жиряева Е.В. Товароведение. - СПб.: Питер, 2005. - 415 с.

.        Коммерческое товароведение: Учебник / Под ред.В.И. Теплова. - 2-е изд. - М.: Дашков и К, 2005. - 618 с.

.        Николаева М.А. Товароведение потребительских товаров. Теоретические основы: Учебник. - М.: НОРМА, 2005. - 283 с.

.        Справочник товароведа: продовольственные товары. - Т.3, 3-е изд., перераб. - М.: Экономика, 2006. - 576 с.

.        Товароведение и организация торговли продовольственными товарами: Учебник / Под ред.А.Н. Неверова. - М.: Академия, 2006. - 464 с.

.        Товароведение и экспертиза потребительских товаров: Учебник / Под ред.В. В. Шевченко. - М.: ИНФРА-М, 2007. - 544 с.

.        Циганова Т.Б. Технология хлебопекарного производства. - М.: ПрофОбрИздат, 2001. - 432 с.

.        Шепелев А.Ф. Товарная номенклатура внешнеэкономической деятельности. - М.: Приор, 2006. - 142 с.

Похожие работы на - Товароведение бараночных изделий

 

Не нашли материал для своей работы?
Поможем написать уникальную работу
Без плагиата!
Без нейросетей!