Розробка мембранного насоса на фріон
Вступ
Мембранний насос - об'ємний насос,
робочий орган якого - гнучка пластина (діафрагма, мембрана), закріплена по
краях; пластина згинається під дією рідини (гідравлічний привід), виконуючи
функцію, еквівалентну функції поршня в поршневому насосі.[1]
Області застосування в промисловості
Скло і скловолокно: Перекачування
полірувальної пасти для оптичних лінз, відпрацьованих стоків з верстатів
механічної обробки і різання скла.
Кораблебудування: Очищення суден,
осушення трюмів, днищ, кесонів для підводних робіт, систем пожежегасіння,
резервуарів, містять стічні води. Піщані суспензії для піскоструминних апаратів
для прибережного буріння.
Металургійна промисловість: Вторинна
окалина, хімікалії для травлення резервуарів, суміші для лиття в
піщано-глинисті форми, пальмові олії, масла для верстатів механічної обробки.
Шахти, буд майданчики, кесони, тунелі.
Лакофарбова промисловість: Фарба,
склоцементу, емаль, розчинники, латекс, фарбувальні речовини, добавки, хімічні
стабілізатори, смоли, абсорбенти.
Целюлозно-паперова промисловість:
Ґрунтовки, шпаклівки, стічні води, антисептики і лаки для деревини, біла вода,
клей, клейкі компоненти ламінату.
Авіаційна промисловість: Дренаж
стоків, перекачування стоків з фарбувальних камер, промислові відходи
Гальванопокриття. Поверхнева
обробка: Фільтрування та перекачування кислот і лужних розчинів з ванн,
перекачування сильно забруднених стічних вод і глинистих суспензій, дозування
концентрованих лужних розчинів або кислот.
Харчова промисловість та виробництво
напоїв: Перекачування джемів, желе, соусів, шоколаду, крему, горіхового масла,
соків, сиропів, вина, переробка харчових відходів, відпрацьованого сусла,
дріжджових заквасок, стоки пляшкомийне машин з вмістом паперових домішок (від
етикеток).
Автомобілебудування: Олія з піддонів
гідравлічних пресів та іншого металообробного обладнання, консистентні мастила,
масла, фарби, СОЖ, стічні води.
Нафтохімічна: Абразивні і корозійні
хімікалії, суспензії, нафтові олії, бентонітова глина, розчинники, мастила,
мило, косметика, очищають масла, відходи нафтопереробки, покриття, зв'язувальні
матеріали, клеї, полірувальні пасти і суспензії оксидів заліза.
Виробництво кераміки: керамічний
шлікер і лаки, припої та склоцементу, глина.[3]
Вони знайшли застосування в самих
різних областях промисловості завдяки простоті в установки, використанні та
невисоку вартість експлуатації. Насос мембранний, незважаючи на невеликі
габарити і невисоку потужність споживання має високі показники продуктивності.
Це робить використання таких насосів привабливим виходячи з економічних
міркувань. Насоси мембранні це універсальне устаткування для будь-якого
виробництва. Насоси виготовляються з: нержавіючої сталі, алюмінію і пластика.
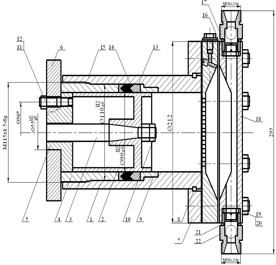
1.
Будова та принцип дії насоса
На рисунку 1.1 зображений мембранний
насос з плунжерним приводом
Рис. 1.1
Насос - мембранний, горизонтальний,
одноплунжерний, односторонньої дії. Гідроблок є корпусом 1, у якому виконані
свердлення, що утворюють проточну частину, і в якому закріплені усі основні елементи
гідравлічної частини.
До кришки 7 за допомогою шпильок 19 кріпиться
мембранний блок. На нагнітальному та всмоктувальному трубопроводах встановлені
клапани 17,22.
Всмоктувальний клапан 17 призначений
для впуску рідини до робочої порожнини гідроблока.
Запобіжний клапан 22 призначений для
перепуску рідини з напірної порожнини до всмоктувальної при перевищенні тиску
над допустимим.
Порожнина, розташована між плунжером
і мемюраною, називається робочою камерою насоса. Відстань між крайовими
положеннями плунжера називається ходом S.
Робочі клапани підіймаються з сідла
автоматично і вільно пропускають рідину тільки в одному напрямку.
Шток 3 приводиться у рух завдяки
електродвигуну з’єднаному через кривошипно-шатунний механізм з ним. До штоку
приєднаний плунжер 2, який переміщуює привідну рідну - воду, внаслідок чого
вона тисне на мембрану. Мембрана при цьому деформується виштовхуючи з іншого
боку фріон у напірний патрубок через клапан 17.
При зворотному русі штоку 3, тиск у
камері зменшується, і мембрана вигинається у зворотній бік, напірний клапан при
цьому закривається, а відкривається всмоктуючий 22 і фріон засмоктується у
порожнину між мембраною і кришкою 18.
З метою зменшення витоків води
встановлено кільцеву манжету 13.
Таким чином здійснюється дозуюче перекачування
фріону R-134.
2. Переваги та недоліки конструкції
Мембранні насоси з плунжерним
приводом мають багато цінних властивостей. Основними з них є наступні:
- придатність
для перекачування самих різноманітних рідин;
- незначна
залежність подачі від створюваного напору, що робить їх пристосованими до
перекачування рідин зі змінною в залежності від температури в’язкістю;
- здатність
до сухого всмоктування, самовсмоктування до 8 метрів водяного стовпа;
- можливість
досягнення доволі високих напорів при будь-яких, навіть незначних подачах;
- високий
коефіцієнт корисної дії;
- тонке
регулювання потоку;
- дуже
надійна, міцна і довговічна конструкція;
- патрубки
можуть обертатися на 180 градусів;
- здатність
до перекачування реактивних рідин, завдяки плавному, неротаційних принципом
дії.
• Здатність перекачувати:
- хімічні,
агресивні;
- рідини
з високою в'язкістю;
- абразиви;
- тверді
фрагменти;
- чутливі
до розшарування і в'язкі рідини;
- можливість
вибухобезпечного виконання.[5]
До недоліків насосів відносять:
- тихохідність,
що пов’язана з великими розмірами і масою насоса при значній подачі;
- відносна
складність конструкції;
- необхідність
у спеціальних пристроях для регулювання подачі при постійній частоті обертів
привода;
- нерівномірність
подачі;
- постійне
згинання мембрани - лімітує знос;
- необхідність
клапанів і всіх витікаючих недоліків.
3. Гідравлічні розрахунки
.1 Розрахунок основних гідравлічних
параметрів насоса
Розрахунок мембранного насосу з
плунжерним приводом на фріон, привідна речовина вода, здійснюється за таких
параметрів:
Об’ємний к.к.д. 0,9,
швидкість обертання двигуна - 1500
об/хв.,
швидкість плунжера 100 хід/хв.,
хід - 60 мм,
D=90мм,
dшт=20мм,
dтр=15мм,
t=550,
рвс=1,321*106 Па,
рнап=1,5*106 Па,
Нвс=15м,
ν=0,86*106 м2/с,
ζ=3*0,6,
ρ=1104кг/м3.
Розрахуємо теоретичний робочий об’єм
за формулою:
, м3
.
Підрахуємо теоретичну подачу
,м3/с
.
Визначаємо ефективну подачу
насосу за виразом:
, м3/с
.
Визначимо корисну потужність
, Вт
Підрахуємо споживану
потужність з урахуванням к.к.д.:
Визначимо швидкість руху
потоку рідини в трубопроводі
, м/с
, м/с
Підрахуємо максимально
можливе значення швидкості руху потоку рідни в трубі:
, м/с
де r=30мм,
Режим течії рідини в
патрубках визначаємо в залежності від числа Рейнольдса. Число Рейнольдса
визначаємо за формулою:
,
де
- число
Рейнольдса;
- коефіцієнт кінематичної в’язкості
рідини, м2/с.
Розрахунки показали, що режим
течії рідини для всього діапазону зміни в’язкості - турбулентний.
Використовуючи формулу
Блазіуса, визначимо λ:
Визначимо втрати напору по
довжині трубопроводу
, м
Для визначення втрат на
клапані складемо рівняння Бернуллі (враховуючи, що D=const, то
знехтуємо)
.2 Розрахунок та визначення
розмірів мембрани
Для того щоб мембрана у розтягнутому
стані при напірному і всмоктувальному ходах мала однакову конфігурацію
приймаємо D0=D.
Також приймемо, що діаметр твердого центру дорівнює діаметру плунжера. Також
враховуючи залежності:
D0=0.6Dм,
hм=0.1Dм
Підрахуємо Dм з
урахуванням вище вказаних залежностей:
Підрахуємо витрати рідини,
при зазорі 0,069 мм та ширині поршня 60мм.
,
де

м3/с
Якщо дно плунжеру знаходиться з
сторони штока то розрахуємо розміри комірки.
Підрахуємо довжину зазору між
плунжером і циліндром. Так як всі з’єднання підраховуємо з 20% запасом та
необхідність повернути всю рідину назад, то приймаємо що р2=1,8 МПа, тобто
більше ніж 1,5 МПа. Спочатку підрахуємо об’єм, який займає рідина що потрапляє
в штокову порожнину:
, звідки
Підрахуємо об’єм мембранної
порожнини:
, м3
Визначимо об’єм поршневої
порожнини:
Для ізотермічного процесу n=1
При даних об’ємах визначаємо
зазор
Для адіабатного процесу n=к=1,4
Довжина зазору при
адіабатному процесі:
Якщо дно плунжера знаходиться
зі сторони клапанів, то об’єм повітряної камери
де lкам=85мм;
V2=Vкам;
Знайдемо показник політропи,
при Твод=479 К, Т1=328 К
n=6,31.
.3 Розрахунок клапанів
Для розрахунку клапанів,
спочатку знайдемо швидкість руху рідини в каналі та у кільці, а також лобовий
опір.
Визначаємо швидкість руху
рідини в каналі:
Гідравлічний опір каналу
визначається за формулою:
,м
де μ=0,87;
dc=12мм;
hкл=4мм.
Визначимо швидкість руху
рідини у кільці, з урахуванням Dкл=15,08мм, D2=20-2*1,5=17мм,
за формулою:
Лобовий опір визначається за
формулою:
Вага кульки визначається за
формулою:
.4 Розрахунок ущільнень
Знайдемо силу тертя та осьову
силу при робочому ході поршня, якщо тиск у напірній лінії рн=1,5*106Па, витрати
у клапані Нкл, довжина манжети ущільнення поршня l1=12мм,
кількість манжет - 2, діаметр манжет D1 90мм, на
штоці - довжина l2- 16,8мм, діаметр D2-
32мм, на плунжері діаметр D3- 110мм,
довжина l3-
31,7мм та коефіцієнт тертя для води ƒтр 0,008.
Визначимо силу тертя за
формулою:
Тиск індикаторний
визначається за формулою:
, Па
Для поршня:
;
Для штоку:
Для плунжера:
Знайдемо осьову силу, за умов
що Т’=Т1+Т2;
Т’’=Т3,
за формулою:
Визначимо витрати потужності
на тертя на поршні, плунжері та штоці:
, Вт
Витрати потужності на поршні:
;
Витрати потужності на штоку:
;
Витрати потужності на
плунжері:
.
Визначимо к.к.д. ущільнення
за формулою
мембранный насос плунжерний фріон
ККД ущільнення на поршні:
;
ККД ущільнення на штоку:
;
ККД ущільнення на плунжері:
.
Знайдемо запас стійкості
штоку на коефіцієнт гнучкості, якщо коефіцієнт кріплення ν=2, модуль
пружності Е=21*1010Па, а довжина штоку 300мм, а діаметр 20мм. Спочатку
визначимо коефіцієнт гнучкості за формулою:
де ri - радіус
інерції.
;
.
Критичну силу визначаємо за
формулою :
,Н
де І - момент інерції
м4;
кН.
Дотичне критичне напруження
визначається за формулою:
,Па
де
- площа
штоку, м2;
.
Визначимо осьове напруження
за відношенням:
.
Запас стійкості визначається
за формулою:
,
.
Знайдемо запас міцності при
затягуванні ущільнення штока, якщо М42х1,5, Dм=42-1,5=40,5мм,
dшт=D1=90
мм, D2=110мм,
[σp]=800кг/см2=80МПа.
Для цього спочатку знайдемо
гідравлічну силу за формулою:
Зусилля затяжки визначається
з виразу:
,Н
.
Навантаження при затяжці
визначається за формулою:
.
Обертальний момент визначимо
за виразом:
Приведена напруга
визначається за формулою:
,Па
Па
,Па
Па
Визначимо запас міцності:
.
Значення коефіцієнту міцності
повинно бути не менше 1, в нашому випадку n=2,28,
що задовольняє умови .
.5 Розрахунок півкілець та
шпильок, визначення їх розмірів
Знайдемо напруження на
зминання у на півкільцях, якщо Dкіль=130мм, h=b=5мм,
l=Dкілπ, σзм=120
МПа. Спочатку підрахувавши силу, яка викликає зминання:
Напруження зминання
визначається за виразом:
- умова виконується.
Знайдемо діаметр шпильок,
якщо , [σp]=75
МПа, z=8
шт., Dфлан=130мм,
коефіцієнт деформації прокладки - 2,5-3.
Розтягуючи силу знаходимо за
формулою:
Площа шпильки розраховується
за формулою:
Визначимо діаметр шпильки за
формулою:
;
Приймаємо dшп=12мм,
тоді за відповідними формулами знаходимо площу шпильки, розтягуючи силу и
відповідно коефіцієнт деформації прокладки:
;
4. Вибір електродвигуна
За підрахованими раніше витратами
потужності на ущільненнях та відповідного к.к.д. на них, можемо визначити
необхідну потужність електродвигуна, Вона визначається за формулою:
Обираємо електродвигун АИР 56
В4 (
кВт, n=1300об/хв).[6]
5. Розрахунок редуктора
.1 Розрахунок черв’ячної
передачі
Розрахунок черв’ячної пари на
потужність
де
-
коефіцієнт потужності.
кВт.
Розрахунок передаточного
числа черв’ячної передачі:
.
Згідно [10], приймаємо
.
Кількість заходів черв’яка (
), тоді
кількість зуб’ів колеса:
,
.
Розрахунок обертального
моменту на колесі:
Нм.
Розрахунок швидкості
ковзання:
м/c.
Розрахунок допустимих
напружень.
Матеріал колеса БрАЖ 9-4,
МПа;
МПа;
;
МПа.
Допустиме напруження на згин:
,
МПа.
,
.
Розрахунок міжвісевої
відстані:
,
де
-
еквівалентний момент на колесі,
Нм;
- допустиме контактне напруження.
м.
Згідно креслень приймаємо
міжосьову відстань 40 мм.
Попереднє значення модуля:
Приймаємо m=1
мм.
Коефіцієнт діаметра черв’яка:
.
Приймаємо
,z2=60.
Коефіцієнт зміщення:
Розрахунок ділильного
діаметра черв’яка:
Розрахунок діаметра вершин
витків черв’яка:
Розрахунок діаметра западин
черв’яка:
Розрахунок довжини нарізної
частини черв’яка:
мм.
Розрахунок діаметра
ділильного кола колеса:
мм.
Розрахунок діаметра кола
вершин зуб’ів колеса:
мм.
Розрахунок максимального
діаметра колеса:
мм.
Розрахунок діаметра западин
колеса:

Розрахунок ширини вінця
колеса:
мм.
Розрахунок колової швидкості
черв’яка:
м/с.
Швидкість ковзання у
зачепленні:
м/с.
Якщо
м/с,
то
-
приведений кут тертя.
Розрахунок діаметру кочення
черв’яка:
мм.
Розрахунок коефіцієнта
навантаження:
Розрахунок колової швидкості
колеса:
м/с.
Якщо
м/с,
то
.
Розрахункова контактна
напруга:
.
Розрахунок ККД передачі.
де
.
.2 Розрахунок сил у
зачепленні
Колова сила, що діє на
колесо.
Колова сила, що діє на
колесо, дорівнює осьовій силі, що діє на черв’як.
Н.
Колова сила, що діє на
черв’як, дорівнює осьовій силі, що діє на колесо:
Н.
Радіальна сила:
Н.
Перевірка зуб’ів колеса по
напруженням згину:
де
-
еквівалентна колова сила на колесі, Н;
- коефіцієнт форми зуба.
Н.
Приведена кількість зуб’ів
колеса:
.
При
.
Тоді:
5.3 Розробка
кривошипно-шатунного механізму
- повзун;
- шатун з підшипниками;
- колінчатий вал в опорах.
.3.1 Розрахунок повзуна
У якості направляючої повзуна
застосуємо сталеву закалену та шліфовану гільзу. Матеріал повзуна - антифрикційний
чавун АЧС-1 ГОСТ 1585-70 для якого:
питомий тиск р, кгс/см2 25-90;
колова швидкість
, м/с
5-0,2;
125-18;
твердість, НВ 180-262.
Визначення максимальної
швидкості повзуна:
Після розрахунку черв’ячної
пари маємо:
;
об/хв.
Відхилення від заданого числа
обертів:
,
м/с.
Визначення зусилля, що діє на
палець повзуна з боку плунжера та ущільнення
Визначення зусилля Р і N на
палець повзуна:
,
.
Визначення основних розмірів
повзуна:
приймаємо
мм.
приймаємо b=2мм.
,
l=24…48мм,
приймаємо l=60мм.
,
δ2=2.4….16мм;
приймаємо
мм.
Визначення питомого тиску між
втулкою та пальцем малої голівки шатуна
Матеріал втулки - бронза,
латунь; матеріал пальця - сталь гартована
.
Визначення максимальної
швидкості ковзання між втулкою та пальцем малої голівки шатуна:
м/с,
.
Перевірка пальця по
напруженням згину:
.
Для більшої голівки шатуна
приймаємо:
мм;
мм;
приймаємо
мм.
Визначення швидкості ковзання
більшої голівки шатуна:
,
м/с.
Визначення питомого тиску між
втулкою та пальцем більшої голівки шатуна:
,
.
.3.2 Розрахунок шатуна
При найбільшому навантаженню
шатун працює на стиснення. Приймаємо ширину шатуна b=20мм.
Перевірка шатуна на усталість
Радіус інерції перерізу
стержня визначимо за рівнянням:
,
де
- момент
інерції, см4;
- площа перерізу, см2.
,
;
.
Гнучкість визначають за
формулою:
,
.
Коефіцієнт уздовжного згину
.
Умова усталості
Умова міцності:
.
Запас стійкості:
.
Визначення питомого тиску:
.
Визначення напруження
стиснення у різьбовій частині плунжера:
Для різьби М15х1,5
внутрішній діаметр d=12 мм.
Перевіримо плунжер на
повздовжній згин:
,
де
, якщо
.
.
Визначимо коефіцієнт
стійкості:
.
У дійсності коефіцієнт
стійкості буде значно більший, тому, що манжети сальника також є напрямними
плунжера.
.3.3 Розрахунок
ексцентрикового вала
Визначення реакцій в опорах у
площині YZ
колеса:
Реакції в опорах визначають з
умови рівноваги:
,
,
,
Визначення реакцій в опорах у
площині XZ
колеса:
,
,
,
Перевірка на статичну
міцність ексцентрикового валу у найбільш небезпечних перерізах.
Переріз під черв’ячним
колесом:
Результуючий момент:
,
Приведений момент по третій
теорії міцності:
6. Вибір підшипників
Визначення результуючих
реакцій в опорах
,
Визначення режиму
навантаження
Режим навантаження - II,
Визначення еквівалентних
навантажень
,
.
.
Згідно креслення встановлені
шарикові радіальні підшипники:
В опорі А - зафіксовано N206,
DxdxB=32x12x10,
вантажепід’ємністю Сr=7.65 кН, Соr=5.1
кН; в опорі D -
ковзаючий N208,
DxdxB=48x22x14,
Сr=12,8
кН, Соr=9,05
кН;
Із умови рівноваги вала:
Для опори А відношення
;
.
Відношення
, що менше
(V=1 при
обертанні внутрішнього кільця). Остаточно приймаємо
.
Визначення еквівалентного
динамічного навантаження
,
де
-
коефіцієнт безпеки;
;
кгс.
Визначення довговічності
підшипників
,
Для опори D:
кгс;
.
Визначення реакцій в опорах
черв’яка у площині YZ
,
;
Визначення реакцій в опорах
черв’яка у площині XZ
,
,
.
.
Матеріал черв’яка сталь 20Х,
т.о. цементація та закалка з подальшим шліфуванням та поліруванням витків.
Перевірка на статичну
міцність черв’яка у перерізі під колесом
Перевірка черв’яка на
жорсткість
Приведений момент інерції
поперечного перерізу черв’яка
,
Стріла прогину обчислюється
за формулою:
Підбір підшипників
,
Визначення еквівалентних
навантажень
,
,
,
За кресленням встановлені
конічні роликові підшипники легкої серії N7205;
- у розпір.
Для цього підшипника згідно з
[9],
табл. 24.16 знаходимо:
;
.
Визначення вісевих складових
від радіальних навантажень
,
,
Т.я.
і
, тоді
вісеві сили, що навантажують підшипник згідно з [10], табл. 7.2:
(кгс),
Відношення
- що менше
.
Тоді для опори А
і
.
Відношення
- що більше
.
Тоді для опори С
,
.
Визначення еквівалентних
динамічних навантажень
,
Як бачимо, більш навантажена
нижня опора черв’яка.
Визначення строку служби для
більш навантаженої опори
7. Система змащування
Змащування частин, що
рухаються, здійснюється мастилом індустрійним 50. Мастило заливається через люк
корпуса редуктора. Об’єм мастила визначається з умови 0,5-0,8(л) на 1 кВт
потужності. Раніше була визначена колова швидкість колеса
.
При цій швидкості черв’ячне
колесо занурюється в мастило на
радіуса. Об’єм мастила (за
кресленням) складає V=1,2л.
Більша голівка шатуна при роботі
періодично занурюється в мастило і створює масляний туман у порожнині корпуса
редуктора, у разі чого усі частини, що рухаються забезпечені змащенням, у тому
числі і верхній підшипник черв’яка і підшипник ексцентрикового вала. У
підшипник кривошипа мастило потрапляє через спеціальні отвори.
Підшипник ковзання малої
голівки шатуна має наступну систему змащення: кривошип періодично підкидає
мастило на напрямні повзуна, а також у верхню прорізь гільзи, далі по
спеціальній прорізі та отвору потрапляє на верхню поверхню повзуна і по отвору
у повзуні проти руху малої голівки шатуна потрапляє через отвір в підшипник
ковзання.
Відпрацьоване мастило по
спеціальному отвору у нижній частині корпуса потрапляє знову в картер.
Список літератури
1. Чиняев
И.А. Поршневые кривошипные насосы - А.; Машиностроение. 1983-176с.
2. Пособие
по курсовому проектированию поршневого насоса, под ред.
Соколов
А.П.
3. Анурьев
В.И. Справочник конструктора-машиностроителя: В 3-х Т. -5-е изд. перераб. и
доп. -М.; Машиностроение. 1989-864с.
4. Шейнбит
А.Е. Курсовое проектирование деталей машин: Учебное пособие. -М.: Высш. шк.,
1991-432с.
5. Дунаев
П.Ф. Конструирование узлов деталей машин. -М.: Высшая школа. 1985