Синтез следящей системы
МИНОБРНАУКИ РОССИИ
Федеральное бюджетное государственное
образовательное
учреждение высшего профессионального
образования
«Тульский государственный
университет»
Институт высокоточных систем
имени В.П. Грязева
Кафедра «Системы автоматического
управления»
Пояснительная записка к курсовой
работе
по теории автоматического управления
теме:
“Синтез следящей системы”
Выполнил: студент гр. 120092/031 Заметалин И.Е.
Проверил: д.т.н., проф. каф. САУ Феофилов С.В.
Тула 2012
Оглавление
Задание
Необходимые данные, полученные из анализа исходной системы
Синтез методом желаемой ЛАЧХ
Синтез модального управления объектом
Вывод по результатам синтеза
Библиографический список
Задание
Следящая система
Данные для синтеза системы
|
Закон изменения управляющей
величины “q 1”, рад
|
0.15
|
|
Максимальное значение
второй производной регулируемой величины, рад/с2
|
6.2
|
|
Время регулирования, с
|
1.5
|
|
Перерегулирование, %
|
30
|
|
Порядок астатизма
|
1
|
|
Установившееся значение
ошибки от момента нагрузки “МН”, %
|
0.5
|
Необходимые данные, полученные из анализа исходной системы
.Передаточная функция разомкнутой системы
.
Передаточная функция замкнутой системы по управляющему воздействию
.
Передаточная функция ошибки системы по управляющему воздействию
.
Передаточная функция замкнутой системы по возмущающему воздействию
Запасы по амплитуде равны 42,3 Дб.
Запасы по фазе равны 37,4 градусов
ЛАФЧХ разомкнутой системы
Синтез
методом желаемой ЛАЧХ
Метод
заключается в том, чтобы приблизить ЛАЧХ заданной системы к желаемой ЛАЧХ,
удовлетворяющей требованиям по времени регулирования
, перерегулированию
,
максимальному значению второй производной от выходного сигнала и установившейся
ошибке. Приближение производится с помощью корректирующих фильтров.
Передаточная
функция неизменяемой части разомкнутой системы имеет вид:
Определение
коэффициента передачи. Коэффициент передачи регулятора определяется, исходя из
заданной установившейся ошибки:
А
условие гласит, что коэффициент передачи регулятора K должен быть
больше 0 В нашем случае:
Так
как по условию коэффициент передачи регулятора : K
0
Примем
:
.
Тогда
коэффициент передачи фильтра:
Коэффициент
передачи скорректированной системы
Определение
частоты среза скорректированной системы
Строим
среднечастотную часть желаемой ЛАЧХ с наклоном -20дб/дек. Частота среза определяется
из условия:
Здесь
wcm - минимальная частота среза , определяемая по времени
регулирования, wco - частота среза оптимальной системы.
Для
определения wco используется равенство
в
котором величины gm , g0 являются исходными данными для синтеза.
Минимальная
частота среза по номограмме Солодовникова:
Условие
не выполняется, следовательно дальнейшее
использование номограмм замыкания теряет смысл.
Значение
частоты среза скорректированной системы должно удовлетворять условию:
Построение
желаемой ЛАЧХ
Низкочастотная
часть проходит через точку (
,
)
с
наклоном
.
Будем
работать в логарифмическом масштабе по частоте
, поэтому
соответствуют частоты сопряжения асимптотических ЛАЧХ:
и
Для
проверки правильности проведенного исследования, воспользуемся программным
средством Matlab:
Скорректированная
система
Передаточная
функция скорректированной системы:
ЛАФЧХ
скорректированной системы
Переходный
процесс скорректированной системы
Фильтр
Передаточная
функция фильтра:
Синтез
модального управления объектом
Метод
заключается в построении скорректированной системы путём задания корней
характеристического уравнения. Эти корни выбираются, исходя из требований к
системе: ко времени регулирования
и к
перерегулированию
. Корректировка системы осуществляется с помощью
обратных связей.
ЛАФЧХ
фильтра
Назначение
корней характеристического уравнения замкнутой системы.
Время
регулирования и перерегулирование связаны с косвенными оценками процессов в
линейных системах - степенью устойчивость
(модуль
вещественной части корня
характеристического уравнения, ближайшего к мнимой оси
и степенью колебательности
(
, где
,
) - следующими зависимостями:
, где
для астатических систем,
Получаем
следующие значения:
Таким
образом, корни
,
характеристического
уравнения должны удовлетворять зависимостям:
Для
систем третьего порядка добавляется условие удалённости вещественного корня от
пары комплексно-сопряжённых (разнос в 3-5 раз по вещественным частям)
Формирование
закона управления, обеспечивающего желаемые значения корней характеристического
уравнения.
В
отсутствии возмущающего воздействия структурная схема системы имеет вид:
,
Математическое
описание с помощью дифференциальных уравнений:
(1)
В
матричной форме математическое описание системы можно представить в виде:
, где
- вектор переменных состояния.
,
,
Передаточная
функция имеет вид:
.
Выбор
переменных состояния системы не является единственно возможным. Можно заменить
любым способом вектор
на вектор
, при
этом
, где
- неособая матрица. Тогда
,
,
Выберем
их таким образом, чтобы матрица
соответствовала
исходной системе дифференциальных уравнений, записанной в нормальной форме
Коши, т.е. чтобы матрица
имела вид:
Для
этого перейдём к дифференциальному уравнению, описывающему работу системы:
, где
Переменные
состояния выберем следующим образом:
,
,
.
При
выбранных переменных система дифференциальных уравнений примет вид:
при
этом матричное уравнение системы принимает
вид:
,
,
.
Сформируем
управление
:
(2)
так,
чтобы замкнутая система имела заранее заданные корни характеристического
управления. Матричное уравнение замкнутой системы:
.
Рассмотрим
матрицу
(3)
Определим
желаемые корни по найденным условиям. Пусть
, тогда
. Характеристическое уравнение примет вид:
(4)
Коэффициенты
а1=39180
а2
=4417 а3=108
Перейдём
к исходным переменным системы. Очевидно, что
,
.
Для
нахождения зависимости для
перепишем
второе уравнение системы (1):
.
Преобразуем
его к следующему виду, учитывая, что
:
.
Подставим
полученные зависимости для
,
в определяющее уравнение (2):
Сравнивая
полученное уравнение в исходных переменных с уравнением в заменённых
переменных, получаем окончательные выражения для коэффициентов
,
.
,
,
Реализуем
полученную схему при помощи системы MATLAB и проверим характеристики
качества и быстродействия.
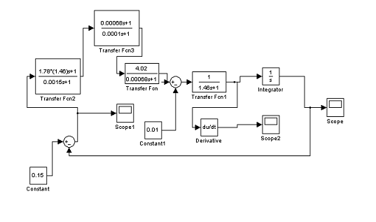
Схема
системы, скорректированной методом модального управления.
Выходной
сигнал скорректированной системы
tрег=0.48c
Графики входного и выходного сигнала исходной системы
Перерегулирование
Время
регулирования
Установившаяся
ошибка
График
выходного сигнала скорректированной системы
График
выходного сигнала
График
сигнала ошибки:
График
изменения 2-й производной
Вывод по
результатам синтеза
Максимальное
значение второй производной -
,
Максимальное
значение выходного сигнала -
,
Перерегулирование
,
Время
регулирования
,
Установившееся
значение ошибки
(
от
),
Запасы:
по амплитуде -
, по фазе -
.
Таким
образом следящая система удовлетворяет соотношению s%<20% и имеет сравнительно малое время регулирования
, т.е. система удовлетворяет заданным требованиям.
Библиографический
список
модальный управление
следящая система
1. Бесекерский В.А., Попов Е.П. Теория систем автоматического
регулирования - М.: Наука, 1975. - 768 с.
. Сборник задач по теории автоматического регулирования и
управления, под ред. В.А. Бесекерского - М.: Наука, 1978. - 512 с.
. Иващенко Н.Н. Автоматическое регулирование - М.:
Машиностроение, 1978. -736 с.
. В.В.Воробьёв, С.А.Руднев. ТАУ. Методические указания по
выполнению курсовой работы. Тула, 2002.-12 с.