Математическая модель замкнутой электромеханической системы автоматического управления
ДГМА
кафедра АПП
ЗАДАНИЕ НА
ПРОЕКТИРОВАНИЕ
ИСХОДНЫЕ
ДАННЫЕ
Вариант 12
Условие производственной ситуации:
|
Наименование показателя
элемента:
|
Значения
|
|
Исполнительный двигатель с
усилителем
|
|
|
ЦАП
|
|
|
Регулятор (микро-ЭВМ)
|
|
|
КО= КУ КД КЦАП
|
12
|
|
Период квантования Т, с
|
0,1
|
|
Пкрвоначальные коэффициенты
настроек регулятора
|
КП
|
1,4
|
|
КИ
|
1,0
|
|
КD
|
0,45
|
|
Время регулирования, не
более, с
|
1,5
|
|
Коэффициент ошибки по
положению
|
равен нулю
|
Примечание.
По приведённым данным разработать и исследовать математическую модель
замкнутой электромеханической САУ по заданным требованиям к качеству её работы.
1. Краткое
описание системы
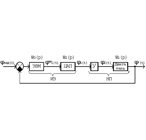
Дана структурная схема системы управления:
Рис.1
Структурная схема
Где К - суммирующее устройство;
мЭВМ - микро-ЭВМ (сбор аналоговой и цифровой информации, обработка
информации и формирование управляющих воздействий, вывод управляющих
воздействий на объект);
ЦАП - цифро-аналоговый преобразователь;
АЦП - аналогово-цифровой преобразователь;
У - усилитель;
М - исполнительный механизм;
Д - электродвигатель
Рис.2
Функциональная схема
2. Построение
математической модели САУ
Импульсную САУ можно представить как систему непрерывного действия, в
которой происходит периодическое прерывание контура, осуществляемое импульсным
элементом (ИЭ), Непрерывная часть (НП) импульсной системы играет роль фильтра
низких частот.
Рис.3
Математическая модель САУ
,
;
. Анализ
устойчивости непрерывной САУ
Устойчивость замкнутой САУ проверяется по логарифмическим амплитудным и
фазовым частотным характеристикам без применения корректирующего звена.
Рис.4
Структурная схема САУ для анализа устойчивости.
Передаточная
функция разомкнутой системы:
Передаточная
функция замкнутой системы:
Определитель
Гурвица по коэффициентам знаменателя:
Все
определители > 0. Делаем предположение, что система устойчива.
Для
проверки построим амплитудно-фазовую частотную характеристику системы:
Рис.5
АФЧХ непрерывной системы.
Из
Рис.5 видно, что годограф не охватывает точку (-1, j0). Делаем
вывод, что система устойчива.
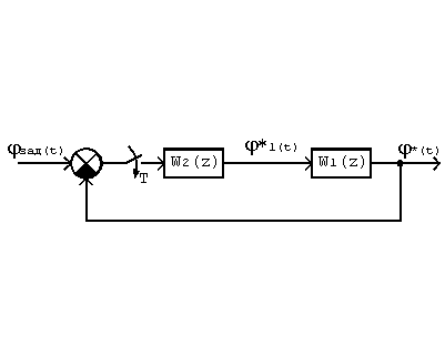
. Анализ дискретных
САУ
Рис.6 Структурная схема САУ без регулятора.
Передаточная функция разомкнутой системы:

Допустим
.
Тогда
Передаточная
функция разомкнутой системы:
После
сокращения получим:
Для
использования аналога критерия устойчивости Гурвица, сделаем подстановку в
знаменателе:
:
Найдём
коэффициенты числителя:
Т.к.
все определители > 0, то делаем вывод, что система устойчива.
Передаточная
функция замкнутой системы:
Знаменатель
ПФ:
Сделаем
подстановку в знаменателе:
.
Найдём
коэффициенты числителя:
Т.к.
все определители > 0, то делаем вывод, что система устойчива.
5. Анализ
переходного процесса в дискретной САУ при подаче ступенчатого воздействия
Подадим в систему ступенчатый сигнал:
Тогда
выходной сигнал будет равен:
Сделаем
обратное Z-преобразование выходного сигнала:
В
результате получим переходной процесс:
Рис.7 Переходной процесс в системе без регулятора при подаче единичного
ступенчатого сигнала.
Из графика видно, что перерегулирование в системе достигает 20%, время
регулирования превышает 3 с (30 тактов), а установившаяся ошибка по положению
равна 14%.
Чтобы получить более качественный переходной процесс, необходимо в
систему включить ПИД-регулятор.
Рис.8 Структурная схема САУ с ПИД-регулятором.
Передаточная функция ПИД-регулятора:
Тогда
передаточная функция замкнутой системы будет равна:
-преобразование
выходного сигнала:
Обратное
Z-преобразование выходного сигнала:
Получили
переходной процесс:
Рис.9 Переходной процесс в системе с ПИД-регулятором при подаче
единичного ступенчатого сигнала.
Из рис. 10 видно, что применение ПИД-регулятора положительно повлияло на
качество переходного процесса. Перегулирование уменьшилось до 10%,
установившаяся статическая ошибка по положению равна 0, а время регулирования
значительно уменьшилось: на 15-м такте (1.5 с) ошибка равна 0.2%, а нулевого
значения достигает на 40-м.
Для более тонкой настройки системы изменим коэффициенты КП и КD регулятора.
При КП =1.38, КD
=0.38 получим следующий переходной процесс:
система автоматический управление устойчивость
Рис.10 Переходной процесс в системе с ПИД-регулятором при подаче
единичного ступенчатого сигнала при отладке коэффициентов КП и КD регулятора.
Ошибка на 15-м такте не изменилась, но она уходит в 0 уже на 30-м такте.
Но вместе с тем мы добились более качественного переходного процесса при
подаче линейно-нарастающего воздействия (см. пункт 6 с. 14)
Для большей убедительности приведём график переходного процесса с
увеличением масштаба по оси Оу:
Рис.11
Переходной процесс в увеличенном масштабе
Проверка:
Проверку
осуществляем при помощи операторно-рекуррентого метода.
Уберём
из выходного сигнала единичное ступенчатое воздействие:
После
преобразования формула для вычисления выходного сигнала принимает вид:
Составим
рекуррентное уравнение с учётом начальных условий:

Рис.12
Переходной процесс, полученный в результате проверки.
Разница результатов вычисления первым и вторым методами не превышает
0.3%.
Вывод: переходный процесс рассчитан правильно, все требования к быстродействию
и качеству системы выполнены.
. Анализ
переходного процесса в дискретной САУ при подаче линейно-возрастающего
воздействия
Подадим на систему линейно-возрастающий сигнал rлин(t)=at:
,
где
Т=0.1 с - период квантования; а - коэффициент линейного уравнения (примем а=10
для наглядности).
Z-преобразование
выходного сигнала:
Уравнение выходного сигнала:
Получили
следующий переходной процесс:
Рис.13
Переходной процесс в системе с ПИД-регулятором при подаче линейно-нарастающего
сигнала.
Из
рис.14 видно. Что установившаяся ошибка по скорости постоянна.
Проверка:
Воспользуемся
ОР-методом.
Для
этого выделим и уберём из выходного сигнала единичное ступенчатое воздействие:
где
После
преобразования формула для вычисления выходного сигнала принимает вид:
Составим
рекуррентное уравнение с учётом начальных условий:
В
результате вычисления получим:

Рис.14
Переходной процесс, полученный в результате проверки.
Разница результатов вычисления первым и вторым методами не превышает 5%.
Вывод: переходный процесс рассчитан правильно.
7. Выбор технических
средств для реализации системы
Примем за основу имеющийся в системе усилитель, двигатель, рабочий
механизм с датчиком обратной связи.
Микро-ЭВМ реализуем на основе микропроцессора КР580ИК80. Этот МП имеет
относительно недорогую стоимость, очень широко распространен, имеет
устойчивость к неблагоприятным воздействиям внешней среды, на его базе
разработано большое количество устройств. Его тактовая частота (до 2,5 МГц)
позволит обеспечить необходимое быстродействие ЭВМ, а также последовательную передачу
двоичного сигнала. МПС на базе КР580ИК80 будет содержать (кроме ЦПУ) генератор
тактовых импульсов (КР580ГФ24), ППЗУ (К568РЕ1), ОЗУ (589РУ01),
синхронно-асинхронный приёмо-передатчик КР580ИК51 (преобразователь
последовательного кода в параллельный и наоборот), программируемое устройство
ввода-вывода (КР580ИК55), устройство прямого доступа к памяти (КР580ИК57),
системный таймер (КР580ВИ53), программируемый контроллер прерываний
(КР580ВН59), контроллер связи с клавиатурой (КР580ВВ59) и прочие устройства.
Для связи микро-ЭВМ с управляемой системой выберем специально
предназначенный для работы с МП 10-разрядный АЦП К1113ПВ1 последовательного
приближения, выходы которого могут подключаться к шинам ЭВМ и поэтому могут
отключаться внутри микросхемы потенциалом «1» по входу гашения. ЦАП выберем
также 10-разрядный типа К1118ПА1, особенностью которого являются малое время
установления (20 нс) и наличие 8-разрядного входа для подключения к МП.
Компаратор можно выбрать из серии 512СА1, крутизна фронта переключения которого
обеспечит приемлемое быстродействие.
Коммутирующее устройство можно выполнить на базе К555КП11 (два входа на
один выход).
В большинстве своём МПСУ реализуется на микросхемах серии КР580.
Приложение А
Описания операторов и действий программного пакета MathCAD 2000 Professional
|
Оператор (действие)
|
Значение
|
|
(…)Т
|
трансформировать матрицу (в
данной работе - для удобства)
|
|
…:= … if … …
otherwise
|
Присвоить переменной
(функции) какое-либо значение при определённом условии и другое значение во
всех остальных случаях
|
|
coeffs, z
|
Составить матрицу
коэффициентов многочлена
|
|
expand, z
|
Разбить выражение на дроби
по переменной z
|
|
factor
|
Сгруппировать выражение в
одну дробь
|
|
float, n
|
Округлить результат до n
знаков
|
|
Given …… Find(…)
|
Решить уравнение (систему
уравнений) и вывести результат
|
|
invztrans, z
|
Выполнить обратное z-преобразование
по переменной z
|
|
simplify
|
Упростить выражение
насколько это возможно
|
|
substitute, x=y
|
В данное выражение вместо x
подставить y
|