|
ЛА
|
-
|
летательный аппарат
|
|
БЛА
|
-
|
беспилотный летательный аппарат
|
|
БПЛА
|
-
|
беспилотный летательный аппарат
|
|
ДПЛА
|
-
|
дистанционно пилотируемый летательный аппарат
|
|
НДПУ
|
-
|
наземный пункт дистанционного управления
|
|
АРМ
|
-
|
автоматизированное рабочее место
|
|
НПУ
|
-
|
наземный пункт управления
|
|
|
|
|
ЭВМ
|
-
|
электронная вычислительная машина
|
|
ПЭВМ
|
-
|
персональная электронная вычислительная машина
|
|
ПК
|
-
|
персональный компьютер
|
|
ПП
|
-
|
программный продукт
|
|
СП
|
-
|
случайный процесс
|
|
ПО
|
-
|
программное обеспечение
|
|
ИС
|
-
|
информационная система
|
|
ВДТ
|
-
|
видеодисплейный терминал
|
|
|
|
|
ИК
|
-
|
инфракрасный
|
|
УКВ
|
-
|
ультракороткие волны
|
|
ЭМП
|
-
|
электромагнитное поле
|
|
ТВ
|
-
|
телевизионный
|
|
ПИ
|
-
|
приемник излучения
|
|
ПЗС
|
-
|
приборы с зарядовой связью
|
|
МОП
|
-
|
Металл - Оксид - полупроводник
|
|
ПЗИ
|
-
|
приборы с зарядовой инжекцией
|
|
ИСЗ
|
-
|
искусственный спутник Земли
|
|
|
|
|
ВМФ
|
-
|
военно-морской флот
|
|
РЛС
|
-
|
радиолокационная система
|
|
ЗРК
|
-
|
зенитно-ракетный комплекс
|
|
ПВО
|
-
|
противовоздушная оборона
|
|
ТВД
|
-
|
театр военных действий
|
Введение
На сегодняшний день беспилотные летательные аппараты широко
применяются для решения как военных, так и гражданских задач. Наиболее
распространенной из задач выполняемых при помощи БЛА является задача
наблюдения.
Беспилотный летательный аппарат - это разновидность летательного
аппарата, управление которым не осуществляется пилотом на борту.
Различают беспилотные летательные аппараты:
· беспилотные
неуправляемые;
· беспилотные
автоматические;
· беспилотные дистанционно-пилотируемые
летательные аппараты.
При выполнении задач наблюдения на БЛА устанавливается
аппаратура, чувствительная к разным областям спектра электромагнитного
излучения, в частности к видимой и инфракрасной областям.
При использовании инфракрасных камер, невидимое глазом
человека инфракрасное излучение преобразуется в электрические сигналы, которые
после усиления и автоматической обработки вновь преобразуются в видимое
изображение объектов.
В отличие от изображений в видимой области спектра, тепловые
изображения создаются за счет собственного теплового излучения объекта и
определяются различиями в температуре его элементов и окружающего фона.
Изменения температуры поверхности излучения объекта в определенной мере
соответствуют деталям визуально наблюдаемой картины, поэтому полученные
изображения в основном отвечают представлениям о форме и размерах
рассматриваемых объектов.
В авиационных тепловизионных системах, предназначенных для
картографирования и обзора местности, применяют сканирующее устройство с
вращающимся многогранным зеркалом. При этом последовательно просматриваются
участки земной поверхности, ширина которых определяется мгновенным углом
зрения, а длина - углом зрения. Перемещение с одной строки на другую происходит
благодаря движению носителя.
В результате неравномерности движения БЛА при снятии тепловых
карт местности происходит сдвиг соседних строк тепловой карты относительно друг
друга, что приводит к внесению геометрических искажений в тепловую карту.
Устранение данного вида искажений и является основной целью данной дипломной
работы.
1.
Обзор предметной области
.1
Обзор развития БПЛА
Самым первым дистанционно управляемым аппаратом было
миниатюрное радиоуправляемое судно, разработанное и продемонстрированное в 1898
г. известным ученым Николой Тесла.
А развитие беспилотных летательных аппаратов началось в 1910
году, когда вдохновленный успехами братьев Райт молодой американский военный
инженер из Огайо Чарльз Кеттеринг предложил использовать летательные аппараты
без человека. Созданные им летательные аппараты можно назвать прародителем
сегодняшнего высокоточного оружия. Управляемый часовым механизмом самолет в
заданном месте должен был сбрасывать крылья и падать как бомба на врага. Эти
летательные аппараты называвшиеся «Kettering Bug» даже были испытаны, но
в реальных боевых условиях так никогда и не использовались.
Рисунок 1.1 - первый в истории БПЛА «Kettering Bug»
В 1933 г. в Великобритании разработан первый БПЛА
многократного использования Queen Bee. Были использованы три отреставрированных
биплана Fairy Queen, дистанционно управляемые с судна по радио. Два из них
потерпели аварию, а третий совершил успешный полёт, сделав Великобританию
первой страной, извлёкшей пользу из БПЛА. Эта радиоуправляемая беспилотная
мишень под названием DH82A Tiger Moth использовалась на королевском
Военно-морском флоте с 1934 по 1943 г. Армия и ВМФ США с 1940 года использовали
ДПЛА Radioplane OQ-2 в качестве самолёта-мишени.
Рисунок 1.2 - первый БПЛА многократного использования Queen Bee
На несколько десятков лет опередили своё время исследования
немецких учёных, давших миру на протяжении 40-х годов реактивный двигатель и
крылатую ракету. Практически до конца восьмидесятых каждая удачная конструкция
БПЛА «от крылатой ракеты» представляла собой разработку на базе «Фау-1», а «от
самолёта» - «Фокке-Вульф» Fw 189. Крылатая ракета Фау-1 была первым
применявшимся в реальных боевых действиях беспилотным летательным аппаратом. В
течение Второй мировой войны немецкие учёные вели разработки нескольких
радиоуправляемых типов оружия, включая управляемые бомбы Henschel Hs 293 и
Fritz X, ракету Enzian и радиоуправляемый самолёт, заполненный взрывчатым
веществом. Несмотря на незавершённость проектов, Fritz X и Hs 293
использовались на Средиземном море против бронированных военных кораблей. Менее
сложным и созданным скорее с политическими, чем с военными целями был самолёт
V1 Buzz Bomb с реактивным пульсирующим двигателем, который мог запускаться как
с земли, так и с воздуха.
В СССР в 1930-1940 гг. авиаконструктором Никитиным
разрабатывался торпедоносец-планер специального назначения типа «летающее
крыло» в двух вариантах: пилотируемый тренировочно-пристрелочный и беспилотный
с полной автоматикой. К началу 1940 г. был представлен проект беспилотной летающей
торпеды с дальностью полёта от 100 км и выше. Однако этим разработкам не было
суждено воплотиться в реальные конструкции.
В 1982 году беспилотные аппараты израильского производства
использовались во время боевых действий в долине Бекаа в Ливане. Малоразмерные
БПЛА «Мастиф» фирмы «Тадиран» и «Скаут» компании IAI осуществляли разведку
сирийских аэродромов, позиций ЗРК и передвижений войск. По информации,
получаемой с помощью «Скаута», отвлекающая группа израильской авиации перед
ударом главных сил инициировала включение РЛС сирийских ЗРК, по которым
наносился удар самонаводящимися противорадиолокационными ракетами. Те средства
ПВО, которые не были уничтожены, подавлялись помехами. В печати сообщалось, что
во время войны 1982 года наступил звездный час противорадиолокационных средств
АОИ. 9 июня в ходе операции «Арцав-19» против ЗРК Сирии в Ливане истребители
«Фантом» выпустили по ЗРК около 40 управляемых ракет нового типа - «Стандард»,
одновременно нанесли удар и наземные средства - «Кахлилит» и «Керес». В ходе
операции широко применялись и ложные воздушные цели - «Тэлем», «Самсон» и
«Далила».
Тогдашний успех израильской авиации был действительно
впечатляющим. Система ПВО Сирии в Ливане была разгромлена. Сирия потеряла 86
боевых самолетов и 18 батарей ЗРК. Аналитики отмечали, что в июне 1982 года, во
время пятой арабо-израильской войны странная «напасть» вдруг поразила сирийскую
систему ПВО. За короткий период было уничтожено большое количество пусковых
установок и командных пунктов. И зачастую израильские ракеты попадали прямо в
открытые люки наземных машин, что мало укладывалось в теорию вероятности.
Приглашенные тогда сирийским руководством из Советского Союза военные
специалисты сделали вывод: израильтяне применили новую тактику - сочетание БПЛА
с телекамерами на борту и наводящихся с их помощью ракет. Это было первое столь
эффектное применение беспилотных самолетов, которым сегодня предсказывают
тотальное господство в «небе будущего».
За дальнейшие тридцать лет своего существования БПЛА прошли
долгий эволюционный путь от радиоуправляемых моделей, оснащенных видеокамерами,
до многофункциональных боевых систем. Динамично развивающийся рынок БПЛА
привлекает внимание ведущих производителей авиационной техники, которые
инвестируют значительные средства в их разработку и производство. Вооруженные
силы многих стран мира все более активно применяют беспилотные системы и
разрабатывают тактико-технические требования для следующих поколений БПЛА.
.2
Функции выполняемые БПЛА
На сегодняшний день ДПЛА представляют собой частный класс
летательных аппаратов, занимающий промежуточное положение между пилотируемой
авиацией и беспилотной ракетной техникой.
Термин «дистанционно-пилотируемые» подразумевает не просто
радиоуправляемый аппарат по типу модели. Смысл дистанционного управления
сводится к тому, что между человеком - оператором, находящимся на НПДУ, и
летящим ДПЛА непрерывно происходит обмен информацией, а с помощью полезной
нагрузки, находящейся на борту, создается иллюзия наблюдения за наземными
целями под его крылом. Огромное значение имеет и то, что на оператора не
действуют реальные физические и психологические нагрузки, свойственные экипажам
пилотируемых самолетов.
Эффект информационного присутствия человека на борту ДПЛА,
позволяющий сохранить основные положительные качества авиации - гибкость и
быстроту реакции на непредвиденное изменение обстановки и многоразовость
применения этих аппаратов, - вот основные отличия ДПЛА от беспилотных аппаратов
вообще.
В последние годы создание ДПЛА стало одной из наиболее быстро
развивающихся отраслей авиационно-космической промышленности во многих странах
мира. 41 страна, в той или иной степени, ведет сейчас разработки подобных
машин. В значительной степени это вызвано успешным использованием их в ряде
проведенных в последние десятилетия, боевых операций.
Одними из основных достоинств беспилотных аппаратов перед
летательными аппаратами являются исключение потерь личного состава в ходе
боевых действий, что особенно важно при ведении ограниченных войн и в локальных
конфликтах, возможность достижения тех же целей при меньших затратах, более
низкие демаскирующие признаки, высокая маневренность и большая живучесть.
Так же среди преимуществ можно выделить следующие качества:
повышенная надежность, уменьшенная масса и стоимость аппарата, благодаря снятию
многих конструктивных ограничений, связанных с отсутствием летчика. На порядок
и более повышается пребывание ДПЛА в разведываемом районе, при этом имеется
возможность обнаружения целей с безопасной дальности и высоты пролета над ними.
Получение необходимых видеоданных в реальном масштабе времени
обеспечивает ситуационную осведомленность командующих на ТВД, а также
обнаружение движущихся и высокомобильных целей. Значительно ниже и стоимость
жизненного цикла из-за отсутствия летного состава и сокращенное
материально-техническое обеспечение.
1.3
Виды полезной нагрузки и выполняемых задач
Рынок ДПЛА динамично развивается в последние годы и
достаточно перспективен. Конфликты в Боснии и Косово, где для наблюдения,
разведки и целеуказания широко применялись беспилотные аппараты, привели к
активизации этого рынка.
В основном на сегодняшний день разрабатываются тактические
ДПЛА. Пересеченная местность, горные вершины и дороги показали, почему
современная армия нуждается в тактических ДПЛА: они могут обеспечить их
информацией о том, что ждет войска за ближайшим холмом или укрытием близлежащих
горных хребтов.
ОКБ имени А.С. Яковлева работает над тактическими ДПЛА с
1980-го и является единственной организацией из нескольких десятков, сумевшей
дойти в этом деле до финиша создать аппарат, который завершил госиспытания,
освоен в серийном производстве и поставлен на вооружение.
Это было обусловлено тем, что ДПЛА «Пчела - 1Т»
разрабатывался как обычный военный самолет без скидок на размеры. При этом в
процессе его разработки лежало полное выполнение требований заказчика, а не
достижение уникальных характеристик. Это позволило успешно использовать
«Пчелу-1Т» в двух чеченских войнах, причем в условиях, когда применение
зарубежных тактических ДПЛА практически исключалось.
Комплекс «Строй-П» с ДПЛА «Пчела - 1Т», созданный в 1990-м,
предназначен для круглосуточного наблюдения объектов и передачи их
телевизионного или тепловизионного изображения в реальном масштабе времени на
наземный пункт управления. В 1997-м комплекс, допускающий телевизионную
разведку в светлое время суток, принят на вооружение Российской армии.
Боевые действия на Северном Кавказе показали, что из
существующих беспилотных самолетов, находящихся на вооружении в РФ или на
различных этапах разработки, «Пчела» наиболее пригодна к применению в реальных
условиях. С помощью «Пчелы» получили уникальную развединформацию, которую
невозможно добыть другими способами. Эти сведения, использованные при нанесении
артиллерийских ударов и действий подразделений сухопутных войск и морской
пехоты, спасли жизнь сотням российских солдат.
«Пчела-1Т» является многоцелевым летательным аппаратом и
может быть переоборудована в ДПЛА для постановки помех связным радиостанциям и
в воздушную мишень. При замене бортовой телевизионной аппаратуры аппаратурой
постановки помех «Пчела - 1Т» способна подавлять радиостанции в УКВ - диапазоне
в радиусе 10-20 км.
Рисунок 1.3 - ДПЛА «Пчела - 1Т»
В варианте воздушной мишени на ДПЛА вместо телевизионной системы
устанавливается оборудование для увеличения заметности аппарата в оптическом и
радиолокационном диапазонах, в том числе самолетными ответчиками и трассерами.
При этом обеспечивается имитация воздушных целей, типа легких самолетов со
скоростями 120-180 км или радиолокационной станцией бокового обзора с
синтезированной апертурой РСА - М402К3. Для детального наблюдения используется
гиростабилизированная оптико-электронная система в составе совмещённых ТВ, ИК
камер и лазерного дальномера.
.4
Тепловизоры
Одним из ключевых элементов комплекса является инфракрасная
камера, он же тепловизор.
Тепловизоры - устройства, предназначенные для
наблюдения нагретых объектов по их собственному тепловому излучению. Они
преобразуют невидимое глазом человека инфракрасное излучение в электрические
сигналы, которые после усиления и автоматической обработки вновь преобразуются
в видимое изображение объектов.
В отличие от изображений в видимой и ближней инфракрасной
областях спектра, полученных за счет отраженного излучения объекта и различий в
отражательной способности его элементов и отражающего фона, тепловые
изображения создаются за счет собственного теплового излучения объекта и
определяются различиями в температуре и излучательной способности его элементов
и окружающего фона. Изменения температуры поверхности излучения объекта в
определенной мере соответствуют деталям визуально наблюдаемой картины, поэтому
создаваемые тепловизором изображения в основном отвечают представлениям о форме
и размерах рассматриваемых объектов.
Первым тепловизором условно можно считать эвапорограф, в котором разность
температур рассматриваемого объекта и окружающего его фона преобразовывалась в
разность толщин масляной пленки, неравномерно испаряющейся в процессе нагрева.
В основу устройства эвапорографа были положены опыты Джона
Гершеля, который использовал для эвапорографии тонкую фильтровальную бумагу,
смоченную спиртом и закопченную со стороны, обращенной к наблюдаемому объекту.
В эвапорографе Черни использовалось не испарение спирта, а
возгонка нафталина и камфары. Во время второй мировой войны в Германии был
создан усовершенствованный вариант эвапорографа Черни - EVA. Аналогичный прибор
был построен в Кембридже в 1950 г. В Советском Союзе сотрудниками ГОИ имени
С.И. Вавилова был разработан эвапорограф ЭВ-84. Все эти конструкции
эвапорографов принадлежали к классу несканирующих тепловизоров и не получили
широкого применения из-за присущих им недостатков. Время, требуемое для
получения изображения в эвапорографах, достигало десятков секунд; разрешающая
способность по температуре составляла около 1°С.
Другим прибором, относящимся к классу несканирующих
тепловизоров, являлся эджеограф. Принцип его действия основан на температурной
зависимости длинноволновой границы полосы собственного поглощения некоторых
материалов: край полосы поглощения смещается при изменении температуры. Если
через пленку селена пропускать монохроматическое излучение от вспомогательного
источника с длиной волны, близкой к длинноволновой границе полосы поглощения,
интенсивность прошедшего через пленку излучения будет зависеть от ее
температуры. Это явление положено в основу устройства прибора, с помощью
которого можно было наблюдать и фотографировать теплоизлучающие объекты.
Эджеограф позволял фиксировать перепады температур порядка ICC при разрешающей
способности 2 лин. с, разрешающая способность по температуре 1°С. Опытные
образцы самолетных систем FLIR были созданы и прошли летные испытания в 1965 г.
Результаты были успешными, и в последующий период было разработано несколько десятков
и изготовлено несколько сот таких систем.
Техника создания тепловизоров достигла высокой степени
развития с разработкой одноэлементных и многоэлементных ПИ, имеющих
чувствительность, близкую к теоретическому пределу, и малую инерционность.
Малогабаритные криогенные устройства охлаждения приемников и постоянный
прогресс в миниатюризации электроники обеспечили создание тепловизоров с
небольшими габаритными размерами и малым потреблением мощности.
В современных тепловизорах зарубежного производства применяют
ПИ на основе теллурида кадмия и ртути, имеющие рабочий диапазон длин волн от 8
до 14 мкм. Каждый приемник содержит несколько сотен чувствительных элементов и
охлаждается до температуры 77 К адиабатическим микрохолодильником
Джоуля-Томсона, работающим в замкнутом цикле рекуперации. Для упрощения общей
схемы прибора применяют линейную мозаику приемников и сканирование,
осуществляемое вращающимся барабаном с зеркальными гранями, либо колеблющимся
зеркалом.
Иначе выполнены тепловизоры с фотоэлектронной системой
сканирования. Здесь изображение исследуемого теплового поля проецируется на
фотокатод телевизионной передающей трубки, а затем «просматривается»
электронным лучом, управляемым электрическим или магнитным полем. Несмотря на
преимущества фотоэлектронной системы сканирования по сравнению с
оптико-механической, разработка тепловизоров с фотоэлектронной системой
сканирования шла медленно. Причиной тому было отсутствие малогабаритных и
высокочувствительных передающих телевизионных трубок, способных регистрировать
собственное излучение низкотемпературных объектов.
Сообщение об одной из ранних разработок телевизионной трубки
с длинноволновой границей чувствительности около 2 мкм появилось в 1959 г. В
трубке использовалась мишень из кремния, легированного золотом, работающая при
низких температурах. Однако достаточно высокой чувствительности получить не
удалось. В 1962 г. был разработан инфракрасный видикон с длинноволновой
границей чувствительности 2 мкм, имеющий мишень из сульфида свинца, а в 1969 г.
- видикон с мишенью из PbS-РbО и мозаичной мишенью из германиевых фотодиодов.
Обе трубки нуждались в охлаждении и дополнительном подсвете рассматриваемой
картины.
В 1971 г. появились телевизионные передающие трубки с
одномерной и двумерной мозаикой из фотодиодов на основе арсенида индия со
спектральной чувствительностью от 2,5 до 3,4 мкм. Исследования показали, что
эти трубки могут удовлетворительно работать в диапазоне 3…5 мкм при наблюдении
объектов на земных фонах.
Было предпринято несколько попыток разработки чувствительных
в инфракрасной области спектра трубок по образу электронно-оптических
преобразователей, но все они имели малую температурную чувствительность и в
дальнейшем не получили широкого применения. И только изобретение пирикона -
передающей телевизионной трубки с пироэлектрической мишенью открыло новые
перспективы создания тепловизоров, способных без каких-либо устройств
охлаждения наблюдать низкотемпературные объекты по их собственному излучению. В
1966 г. в СССР была впервые создана передающая телевизионная трубка с
пироэлектрической мишенью. С ее помощью были получены изображения простейших
фигур.
Тепловые изображения, получаемые с помощью телевизионных
передающих трубок-пириконов, в отличие от видимых изображений, практически не
имеют теней, поэтому пространственное восприятие объектов ухудшается. Кроме
того, яркие участки видимого изображения могут оказаться темными в тепловом
изображении и наоборот. Тем не менее область применения тепловизоров с
пириконами все время расширяется.
Развитие технологии тонкопленочных транзисторов в 60-е годы
стимулировало разработку твердотельных матриц, отдельные элементы которых
сканировались по двум взаимно перпендикулярным направлениям с помощью сдвиговых
регистров, располагаемых по краям матрицы. Одновременно была доказана
принципиальная возможность преобразования оптических сигналов в электрические с
помощью кремниевой структуры, состоящей из набора фототранзисторов. Таким
образом, исследования, выполняемые в 60-е годы, наметили пути создания
«самосканирующихся» твердотельных приборов.
В начале 70-х годов появились приборы с зарядовой связью,
работающие как аналоговый сдвиговый регистр. ПЗС состоит из трех частей:
) источника неосновных носителей, потенциалом которого
можно управлять, и затвора, который может контролировать поступление зарядов из
источника носителей в первую потенциальную яму;
) узла переноса, состоящего из последовательностей
электродов; при определенном чередовании напряжений на электродах потенциальные
ямы перемещаются к выходу;
) выходного узла, напряжение на котором зависит от
поступающего зарядового пакета. Этот узел обычно подключается к МОП-усилителю.
Таким образом, ПЗС позволяют осуществить линейный перенос сгруппированных на
отдельных участках зарядов от одного элемента к следующему до достижения ими
края матрицы. Здесь заряд детектируется как переменный во времени видеосигнал.
В 70-е годы появились приборы с зарядовой инжекцией, у
которых в процессе считывания используется не междуячеечная, а внутриячеечная
зарядовая связь. Эти приборы используются в последних образцах тепловизоров.
Одна из возможных схем классификации тепловизоров показана на рисунке.
Рисунок 1.6 - Классификация тепловизоров
1.5
Сканирующие устройства и траектории сканирования
Далее мы рассмотрим работу оптомеханических сканирующих
устройств и их траектории сканирования. В оптико-механических сканирующих
устройствах сканирование производится путем изменения направления оптической
оси прибора. При этом общее поле обзора последовательно анализируется
мгновенным полем зрения оптической системы прибора.
Траектории сканирования могут быть самыми разнообразными. В
тепловизорах обычно применяют телевизионную развертку: оптическая ось
перемещается с постоянной скоростью по двум взаимно перпендикулярным
направлениям. Движение по горизонтали создает строчную развертку;
прочерчиваемые при этом линии называются строками. В результате перемещения по
вертикали, создаваемого кадровой разверткой, все строки располагаются одна под
другой. За один период кадровой развертки происходит передача неподвижного
изображения, называемого кадром.
Оптико-механические сканирующие устройства достаточно инерционны, так как
основаны на колебательном или вращательном движении сравнительно крупных
оптических деталей; тепловизоры с оптико-механическими сканирующими
устройствами более чувствительны, чем с фотоэлектронными сканирующими
устройствами, так как в первых ширина полосы частот усилителей фототока может
быть выбрана достаточно узкой. В качестве ПИ в тепловизорах с оптико-механическими
сканирующими устройствами применяют фоторезисторы, чувствительные в
инфракрасной области спектра. При этом различают тепловизоры с одноэлементным
приемником и двумерным сканированием и тепловизоры с линейным многоэлементным
приемником и одномерным сканированием. Второму варианту в настоящее время
отдается предпочтение, хотя изменение чувствительности от элемента к элементу
ухудшает качество получаемого изображения.
Классификация оптико-механических сканирующих устройств и
рассмотрение многочисленных вариантов их конструктивного выполнения приведены в
работах. Ниже кратко рассматриваются устройства, наиболee часто применяемые в
тепловизорах.
Сканирование колеблющимися плоскими зеркалами. Для
сканирования теплового поля прямоугольной формы при одноэлеметном ПИ применяют
плоское зеркало, совершающее колебательные движения относительно двух взаимно
перпендикулярных осей. Изменение положения зеркала достигается посредством
различных электромеханических и электромагнитных приводов. В процессе сканирования
мгновенное поле зрения прибора движется в плоскости расположения наблюдаемого
объекта, образуя телевизионный растр.
Зеркало размещают либо до объектива в параллельном пучке
лучей, либо за объективом в сходящемся пучке. В первом случае достигается
высокое качество изображения, но при этом размеры колеблющегося зеркала должны
быть большими и требования к качеству изготовления его отражающей поверхности -
жесткими.
Рисунок 1.7 - Сканирующие устройства с колеблющимся зеркалом
На рисунке 1.7 цифры соответствуют следующим обозначениям: 1
- ПИ; 2 - объектив; 3 - сканирующее зеркало; 4 - поле обзора
При расположении зеркала за объективом размеры зеркала можно
уменьшить, но в этом случае при повороте зеркала поверхность изображения
получается не плоской, а сферической и пятно остаточных аберраций
увеличивается.
Построчное сканирование с помощью колеблющегося плоского
зеркала приводит к отклонению растра от прямоугольного, если зеркало
расположено под некоторым углом Y к оптической оси. Принимая за количественную
характеристику этого отклонения наибольшее относительное изменение размеров,
соответствующее краю поля зрения, получим следующую формулу:
где атах и Ртах - максимальные углы поворота зеркала
относительно осей ох и оу соответственно; L0 = 00. При небольших значениях рйах
искажения поля зрения Ду, поэтому предельно допустимая частота вращения
барабана
Линейная ширина участка местности, просматриваемого за один
оборот барабана, где Я - высота полета летательного аппарата N - число
зеркальных граней барабана; Умгн - мгновенный угол зрения. Так как система
обзора должна работать без пропусков, то смежные участки должны соприкасаться
или перекрываться, что выполняется при условии
где b - коэффициент перекрытия; V - скорость носителя.
Из полученного выражения предельно допустимая частота
вращения барабана, мин
Из формул и видно, что существует как верхний, так и нижний
Допустимые пределы частоты вращения зеркального барабана; кроме этого,
максимальная частота ограничивается механическими возможностями системы и
обычно не превышает 3000 мин-1. Для уменьшения скорости вращения барабана
стремятся увеличить число его отражающих граней. Максимальное число граней
JVmax= 2яH, поэтому в аппаратуре необходимо применять специальные вычислители
отношения VH принято выражать числом радиан в секунду, определяющим скорость
углового перемещения самолета относительно некоторой фиксированной точки на
местности. Графики на рисунке 1.9 дают представление о практически
встречающихся отношениях VH, используются для регулирования частоты вращения
сканирующего зеркала так, чтобы выполнялось неравенство.
Недостатки рассмотренной системы строчного обзора
пространства определяются зависимостью частоты вращения зеркального барабана от
скорости полета носителя при заданном коэффициенте перекрытия строк и
необходимостью вращения с большой скоростью крупноразмерных оптических
элементов. Кроме этого, излучающие объекты находятся на разных расстояниях от
носителя в пределах угла зрения, что приводит к различию сигналов от одинаковых
объектов, расположенных в разных местах зоны обзора.
.6
Использование тепловизоров для снятия тепловых карт местности
Использование тепловизоров для снятия тепловых карт местности
основано на дистанционном измерении температуры земной поверхности с самолета
или с ИСЗ. Получаемые тепловые карты несут информацию об энергетическом
состоянии исследуемых участков поверхности Земли, что используется для решения
различных научных и практических задач.
Тепловые карты позволяют судить о геологическом строении и
полях активности кратеров, способствуют поискам и регистрации тепловых источников,
гейзеров, мест подземных утечек в энергосистемах, тепломагистралях, дренажных
устройствах, позволяет своевременно обнаруживать очаги за - рождающихся пожаров
и определять границы крупных пожаров сквозь пелену сплошного дыма, а также
границы пожаров горючих ископаемых по скрытым очагам в штабелях угля, сланцев,
шахтных отвалов и т.д.
Большое внимание в нашей стране и за рубежом уделяется
использованию самолетных тепловизоров при борьбе с лесными пожарами. При этом
выделяют три основные задачи: обнаружение малых очагов зарождающихся пожаров с
температурой 600…700°С; картирование контуров охваченного огнем значительного
участка леса или торфяного болота сквозь сплошную пелену дыма, когда визуальные
методы неэффективны; контроль за затухшим или затухающим пожаром, обнаружение
участков кромки, где можно ожидать вторичного возгорания.
Тепловые карты применяют также для изучения океанских течений
и течений, обусловленных стоком рек; обнаружения заболеваний лесной и
сельскохозяйственной растительности; определения мощности и возраста льдов,
прогнозирования образования ледовых трещин; исследования природных ресурсов
Земли и т.д.
Тепловые карты существенно отличаются от обычных
аэрофотоснимков, так как в формировании последних участвует отраженное
излучение, в формировании тепловых карт - отраженное и собственное излучение, а
в ряде случаев лишь последнее. Поэтому на тепловых картах обнаруживаются
нагретые объекты или участки местности, которые не выявляются на фотоснимках.
Особенностью тепловых карт является зависимость динамики тепловых процессов,
протекающих в течение суток. В связи с этим тепловые карты, полученные в разное
время даже от одних и тех же объектов отличаются друг от друга.
Основные требования, предъявляемые к тепловизионной
аппаратуре для снятия тепловых карт местности: рабочий спектральный диапазон
должен соответствовать спектральным областям наибольшего пропускания
инфракрасного излучения атмосферой и областям максимального излучения
исследуемой поверхности; чувствительность и разрешающая способность должны
позволять обнаруживать и регистрировать мелкие объекты с малыми температурными
контрастами; угол обзора должен быть достаточно большим, но при этом ухудшение
разрешающей способности на краю поля обзора не должно превышать допустимые
значения.
Тепловизоры, предназначенные для снятия тепловой карты
местности и устанавливаемые на летательных аппаратах, выполняют сканирование
мгновенного угла зрения только в плоскости, перпендикулярной направлению
полета, обеспечивая просмотр по строке. Просмотр по кадру осуществляется за
счет прямолинейного движения носителя аппаратуры. Обычно в таких тепловизорах
применяют систему с оптико-механическим сканированием, реже - системы с
электронным сканированием и самосканированием.
Наиболее простая тепловизионная система для снятия тепловой
карты местности содержит одноэлементный приемник излучения 1 и плоское
качающееся зеркало 2, расположенное в сходящемся пучке лучей за объективом 3.
Ширина строки об, где бп - линейный размер чувствительной площадки ПИ в направлении
полета летательного аппарата; Н - высота полета; fo6 - фокусное расстояние
объектива. Период сканирования строки Тс= 1vHrlI.
В оптико-механических сканирующих устройствах тепловизионных
систем, предназначенных для снятия тепловой карты местности, используются также
многогранные призмы и многогранные усеченные пирамиды.
Русунок 1.10
Несмотря на некоторые достоинства тепловизнонных систем с
одним ПИ они заменяются системами с многоэлементным приемником. За период сканирования
просматривается одновременно п строк, где п - число ЧЭ ПИ.
Выходные сигналы чувствительных элементов можно обрабатывать
параллельно в п каналах и последовательно, сведя все сигналы в единый канал.
Последовательная обработка сигналов может быть реализована высокоскоростной
коммутацией или мультиплексированием с помощью приборов с зарядовой связью.
Рисунок 1.11 - Схема тепловизионной системы с одноэлементным
и с матричным приемниками излучения
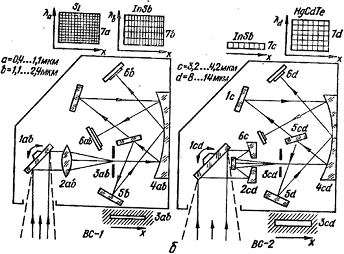
В Институте космических исследований АН СССР была разработана
схема тепловизионной аппаратуры с матричным приемником излучения. Аппаратура
состоит из двух каналов ab и cd с поддиапазонами с, б 0,4…2,4 и с, d 3,2…14
мкм. Каждый канал состоит из колеблющегося зеркала, объективов 2 и 4, щелевых
диафрагм 3, дифракционных решеток 5 и матричных приемников излучения 6.
Изображение, вырезаемое щелью 3, разлагается в спектр. Полученный кадр
считывается матричным ПИ. Каждая строка кадра соответствует изображению узкой
полосы сканируемой поверхности в определенной области спектра.
Колебания самолета относительно его центра масс вызывают
искажения геометрических контуров при снятии тепловой карты местности и
ухудшают разрешающую способность тепловизора. Колебания по углу тангажа и приводят
к периодическому сгущению и разрежению строк сканирования, по углу крена y-к
смещению во времени строк параллельно самим себе по синусоидальному закону, а
по углу рысканья - ф - к веерообразному периодическому развороту строк.
Рисунок 1.12 - Влияние колебаний самолета на искажения
геометрических контуров при линейно-строчном обзоре местности
Рисунок 1.13 - Схема самолетного тепловизора с
гироскопической стабилизацией
На краях полосы просмотра разрешающая способность ухудшается
до-, полнительно из-за рысканья самолета.
В табл. приведены значения разрешающей способности для
телевизоров с одноэлементным и многоэлементными линейными ПИ для двух типов
самолетов; ширина полосы просмотра принята равной 60°.
Устранение влияния колебаний самолета относительно его центра
масс на искажение геометрических контуров при снятии тепловой карты местности и
ухудшение разрешающей способности тепловизоров достигается гироскопической
стабилизацией. В кардановом подвесе с внешней 5 и внутренней 7 рамками
размещается трехгранная зеркальная пирамида 6, приводимая во вращение
двигателем 9. Пирамида выполняет функции сканирующего устройства и ротора
трехстепенного гироскопа. Коррекция гироскопа по курсу производится датчиком
момента 1 от самолетного гирокомпаса; коррекция по тангажу - датчиком момента,
расположенным на вертикальной оси, который отрабатывает сигнал тангажа,
выдаваемый датчиком 2 встроенной гировертикали 3.
В схему тепловизора входят также магнитная головка 4
синхронизации развертки визирного луча с разверткой электронного луча ВКУ и
приемник излучения 8. Головка связана с выходной осью по углу крена встроенной
гировертикали передачей 1:1. Таким образом, поле обзора тепловизора
стабилизировано по всем трем осям xlt yt и гг
Рассмотренные системы с линейно-строчным обзором местности
обладают следующими недостатками: зависимость потребной частоты вращения
зеркального барабана от скорости полета носителя при заданном коэффициенте
перекрытия строк; необходимость вращения с большой частотой крупноразмерных
оптических элементов; различная амплитуда сигналов от одинаковых объектов,
расположенных в разных местах зоны обзора; нелинейная форма строки.
Этих недостатков во многом лишена система с коническим
обзором, в которой мгновенный угол зрения вращается относительно оси
сканирования, совмещаемой с вертикалью. При этом размер площадки земной
поверхности, проектируемый в каждый момент времени на ЧЭ_ПИ, остается
неизменным.
Для уменьшения отражений от неба и облаков составляющей
инфракрасного излучения угол визирования а выбирается близким к углу Брюстера.
За счет полета самолета круговая траектория сканирования превращается в
трохоидальную. Шаг трохоиды определяет расстояние между ее витками, равное при
любом угле сканирования расстоянию; которое пролетает самолет за один цикл
сканирования.
В системах сканирования с разверткой визирного луча по
образующей конуса сканирование земной поверхности без пропусков и наложения
строк получается при соотношении размеров чувствительной площадки ПИ, равном 1:
3; применение мозаичного ПИ с числом ЧЭ 6 X 2 приводит к небольшому выигрышу в
чувствительности за счет снижения скорости сканирования в 6 раз и накопления
сигнала на двух площадках, последовательно просматривающих элементы тепловой
карты местности;
сканирование визирного луча по образующей конуса позволяет
получать квазипараллельное движение проекции ЧЭ приемника на местности.
Траектории просмотра земной поверхности каждой точкой не пересекаются между
собой; при использовании однозеркального сканера мозаичный ПИ не применяют, так
как невозможна ориентация проекции его ЧЭ вдоль направления полета ЛA.
В схеме одного из тепловизоров для картографирования и обзора
местности с самолета, изображенной на рисунок 1.14, в качестве сканирующего
устройства используется вращающаяся зеркальная пирамида, которая перемещает
мгновенный угол зрения в плоскости, перпендикулярной направлению полета J1A.
Поток излучения участка земной поверхности попадает в объектив и фокусируется
на ЧЭ приемника излучения.
Электрический сигнал с выхода ПИ, пропорциональный принятому
потоку излучения, усиливается и подается на модулирующий электрод
электронно-лучевой трубки. Развертка вдоль горизонтальных строк производится
синхронно с вращением призмы, а перемещение строк по кадру происходит в
соответствии с высотой и скоростью полета ЛA. В результате на экране трубки
воспроизводится тепловое изображение участка местности.
Рисунок 1.13 - Форма строки при сканировании многогранной
зеркальной призмой
Рисунок 1.14. Функциональная схема тепловизора для
картографирования и обзора местности с самолета:
1 - кинескоп; 2 - усилитель фототока; 3 - приемник излучения;
4 - объектив; 5 - вращающаяся зеркальная пирамида; 6 - двигатель вращения
пирамиды; 7 - синхронизирующее устройство
Эффективность аппаратуры для аэросъемки при решении
конкретных задач зависит от правильного выбора порога температурной
чувствительности АТ и разрешающей способности прибора. Практика применения
тепловизионной аппаратуры для изучения природных ресурсов показывает, что
удовлетворительные результаты получают при AT = 0,3…0,5°С на фоне 20°С и й =
5…7'. Рекомендуется в тепловизорах для изучения природных ресурсов с воздуха
иметь два канала - один, с высоким пространственным разрешением, другой с
низким. В полете нет необходимости производить непрерывную одновременную
регистрацию по обоим каналам. В необходимых случаях оператор использует тот или
иной канал простым переключением на фоторегистрирующее устройство.
Тепловизионную аппаратуру широко применяют в авиации для
обзора местности перед самолетом, обнаружения низкотемпературных излучающих
объектов, при посадке летательных аппаратов в условиях пониженной видимости,
для картографирования местности и т.д.
В современных тепловизионных системах, предназначенных для
установки на ЛА, используют также ПИ из HgCdTe, работающие при температуре
жидкого азота. На основе этих систем фирмой «Дженерал дайнемикс» разработано
несколько картографических устройств с линейным сканированием, осуществляющих
съемку непосредственно под самолетом.
Хотя туман и влажность атмосферы оказывают неблагоприятное влияние на работу
тепловизионных систем, инфракрасное излучение лучше распространяется в такой
среде, чем видимый свет в дневных условиях.
Например, в случае, когда дальность метеорологической
видимости составляла всего 800…1400 м из-за наличия густого тумана с дымом,
получено хорошее изображение местности при съемке с больших расстояний.
Во всех рассмотренных тепловизорах для снятия тепловой карты
местности предусматривается сканирование последней под ЛА, в связи с чем они не
позволяют получить продольную стереопару тепловых карт. В настоящее время
разработаны тепловизоры, позволяющие за один проход получить ИК стереопару. В
таком тепловизоре зеркальные грани призмы расположены под разными углами,
благодаря чему при вращении ее производится поочередное сканирование в двух
плоскостях, расположенных под углом 30°. Оптическая система фокусирует ИК
излучение участка земной поверхности на ЧЭ ПИ. Выходной сигнал приемника после
усиления подается на модулирующий электрод электронно-лучевой трубки. Световое
пятно на экране трубки с помощью объектива, вращающегося синхронно с призмой,
формирует строки изображений поочередно на двух фотопленках. Таким образом,
создаются два тепловых изображения одного и того же объекта, отснятые под
разными углами, что позволяет использовать для распознавания объекта такой
параметр, как его высота.
2.
Постановка задачи
беспилотный летательный искажение программный
Требуется разработать программное обеспечение для обработки
результатов съемки тепловых карт местности и устранения геометрических
искажений изображений типа сдвиг.
Для достижения поставленной задачи нам необходимо выполнить
следующие этапы обработки изображения:
· Предварительная обработка. Нам необходимо
обработать исходное изображение медианным фильтром для устранения импульсного
шума. И после применения медианного фильтра необходимо внести только те
изменения, которые являются значительными, чтобы сохранить малые изменения
исходного изображения.
· Далее нам необходимо рассчитать сдвиг
каждой строки для восстановления геометрических искажений, при помощи взаимной
корреляции строк.
· Требуется скорректировать полученный
список сдвигов по пилотажно-навигационной информации, соответствующей исходному
изображению.
· Скорректировать сильные геометрические
искажения, полученные при расчете сдвигов по взаимной корреляции строк, причем
сохранив исправления малых геометрических искажений, для проведения этой
операции мы будем использовать метод Дугласа-Пекера для упрощения полилинии.
В качестве исходных данных нашего программного обеспечения
используется растровое изображение, описывающее тепловую карту местности и
соответствующий ей набор пилотажно-навигационной информации.
3. Специальная часть
В качестве исходных данных для ПП мы будем использовать
изображение и соответствующие ему пилотажно-навигационные данные, а на выходе
системы мы получаем скорректированное изображение.
.1
Повышение качества изображения перед обработкой
Изображение описывающее построчную съемку местности имеет
импульсный пиксельный шум который в последствии ухудшает возможности вычисления
сдвига строк по взаимной корреляции. Для удаления статичного шума мы будем
использовать медианный фильтр. Но так как медианный фильтр удаляет не только
пиксельный шум, но и сглаживает мелкие элементы изображения, нам придется их
сохранять.
.2
Медианный фильтр
Медианный фильтр - один из видов цифровых фильтров, широко
используемый в цифровой обработке сигналов и изображений для уменьшения уровня
шума. Медианный фильтр является нелинейным фильтром с конечной импульсной
характеристикой.
Медианный фильтр в одних случаях обеспечивает подавление
шума, а в других - вызывает нежелательное подавление сигнала. Медианный фильтр
не влияет на пилообразные и ступенчатые функции, что обычно является полезным
свойством, однако он подавляет импульсные сигналы, длительность которых
составляет менее половины ширины окна. Концепцию медианного фильтра
можно легко обобщить на два измерения, применяя окно прямоугольной или близкой
к круговой формы.
Как и сглаживающий фильтр, медианный фильтр используется для
подавления аддитивного и импульсного шумов на изображении. Однако аддитивный
шум медианный фильтр подавляет слабо, более эффективен он для импульсных помех.
Характерной особенностью медианного фильтра, отличающей его от сглаживающего,
является сохранение перепадов яркости. Особенно эффективным медианный фильтр
является в случае импульсного шума. Импульсным называют шум, если действие шума
сказывается не по всей протяженности поля изображения, а только в случайно
расположенных точках, в которых значения функции яркости заменяются случайными
величинами. На изображении такие помехи выглядят изолированными контрастными
точками. Импульсный шум характерен для устройств ввода изображений с камеры или
любых других устройствах, где присутствует ПЗС - матрица. Медианный фильтр
полностью подавляет одиночные выбросы на равномерном фоне.
Значения отсчётов внутри окна фильтра сортируются в порядке
возрастания; и значение, находящееся в середине упорядоченного списка,
поступает на выход фильтра. В случае четного числа отсчетов в окне выходное
значение фильтра равно среднему значению двух отсчетов в середине
упорядоченного списка. Окно перемещается вдоль фильтруемого сигнала и
вычисления повторяются.
Результат применения медианного фильтра представлен на
рисунке.
Результат применения
медианного фильтра
3.3 Сохранение малых элементов исходного
изображения
беспилотный летательный искажение программный
Медианный фильтр имеет один существенный недостаток -
подавление малых элементов изображения, что в нашем случае может приводить к
ухудшению результатов корреляционного сравнения строк. Для устранения данного недостатка
мы выполняем следующий алгоритм:
. Вычтем из исходного изображения, изображения
полученное в результате медианной фильтрации, в результате получаем карту силы
изменений исходное изображение, где яркостью отмечено насколько сильно
изменился тот или иной пиксель.
. Из полученной карты силы изменений мы можем выделить
сильно и слабо изменившиеся пиксели по заданному критерию, в нашем случае по
яркости. Поэтому для отсечения малых изменений мы применим соответствующий
фильтр в результате работы фильтра для сильных изменений значение
устанавливается равным «1», а для всех остальных равным «0».
Таким образом мы отделили пиксели с сильным изменением от
пикселей со слабым. Для пикселей в которых произошли сильные изменения мы
переносим пиксели из изображения обработанного фильтром в исходное. В
результате чего большая часть импульсного шума удаляется, а малые элементы
исходного изображения оказываются незатронутыми
В результате проведенных действий качество исходного
изображения значительно повышается, что значительно повышает точность алгоритма
корреляционного сравнения строк и расчета списка сдвигов восстановления.
3.4
Восстановление изображения
Основным геометрическим искажением изображения со сточной
системы является разброс сдвига строк относительно друг друга вызванный
неравномерностью движения БЛА. В результате чего строки изначально оказываются
сдвинутыми относительно друг друга, что и необходимо исправить.
Поэтому для дальнейшей обработки изображения мы разбиваем его
на строки. После чего мы создаем массив описывающий размер сдвига каждой из
строк для восстановления изображения. Данный массив мы назовем: «списком сдвига
восстановления».
.5
Расчет сдвига восстановления по взаимной корреляции строк
Корреляция - статистическая взаимосвязь двух или нескольких
случайных величин. При этом, изменения одной или нескольких из этих величин
приводят к систематическому изменению другой или других величин. Математической
мерой корреляции двух случайных величин служит коэффициент корреляции.
Некоторые виды коэффициентов корреляции могут быть
положительными или отрицательными. Если предполагается, что на значениях
переменных задано отношение строгого порядка, то отрицательная корреляция -
корреляция, при которой увеличение одной переменной связано с уменьшением другой
переменной, при этом коэффициент корреляции может быть отрицательным;
положительная корреляция в таких условиях - корреляция, при которой увеличение
одной переменной связано с увеличением другой переменной, при этом коэффициент
корреляции может быть положительным.
Автокорреляция - статистическая взаимосвязь между
случайными величинами из одного ряда, но взятых со сдвигом, например, для
случайного процесса - со сдвигом по времени.
Ковариацией случайных величин
и
, которые соответственно
могут принимать значения
и
, называется интеграл:
Если средние значения случайных величин отличны от нуля, то
вычисления удобнее проводить, предварительно перейдя к центрированным случайным
величинам. В этом случае пользуются понятием корреляции.
Корреляцией двух центрированных случайных величин и
называется интеграл:
Корреляция двух случайных величин показывает степень линейной
зависимости этих величин друг от друга. На практике, как правило, перед началом
вычисления характеристик временных рядов производится процедура приведения
временного ряда к нулевому среднему значению. При нулевых средних понятия
ковариации и корреляции совпадают. С практической точки зрения отличие этих
характеристик лишь в том, что ковариация содержит полную информацию о средней
энергии процесса, тогда как корреляция теряет часть информации при удалении
среднего значения.
Если в качестве случайных величин выбрать два значения одного
процесса в различные моменты времени, то эти значения будут сильно
коррелированы, когда моменты времени очень близки друг к другу, поскольку
случайная величина не может за короткое время существенно измениться.
Корреляция между двумя величинами в далеко отстоящие друг от друга моменты
времени мала, так как за такое время случайные величины могут претерпевать
практически любые изменения.
Для случайных процессов вводят понятия корреляционных и
ковариационных функций, аргументом которых в случае стационарных СП
является временной интервал
, разделяющий два выборочных значения случайных
процессов. Если случайные величины являются значениями одного и того же СП,
например, процесса
, то указанная функция называется автоковариационной;
она рассчитывается по формуле:
и характеризует меру статистической зависимости значений
и
, сдвинутых относительно
друг друга на интервал времени
. Величина временного сдвига
может быть как
положительной, так и отрицательной, и меняется в пределах
.
Аналогично автокорреляционная функция СП
имеет вид:


Если же случайные величины принадлежат разным случайным
процессам, например,
и
, то функции называются взаимными
ковариационной и корреляционной, рассчитываются по формулам:





и характеризуют степень связанности двух СП
и
в зависимости от
временного сдвига
.
В случае эргодических СП авто- и взаимные ковариационные и
корреляционные функции можно вычислить по одной реализации случайного процесса
следующим образом:








Перечислим основные свойства взаимных ковариационных и
корреляционных функций.
Свойства взаимных ковариационных и корреляционных
функций
. Для пары случайных процессов
и
можно построить две, в
общем случае отличающиеся друг от друга взаимные ковариационные функции
и
, а также две взаимные
корреляционные
и
, т.е. при вычислении взаимных функций важен
порядок индексов.
. Значения взаимных ковариационных и корреляционных функций
при
не имеют энергетической
интерпретации, тем не менее, для них справедливы равенства:
и
. Взаимные ковариационные и корреляционные функции не
обязательно должны иметь максимум при
, но всегда выполняются
следующие соотношения:
и
,
которые справедливы для любых
. Это означает, что
максимумы взаимных ковариационной и корреляционной функций могут оказаться при
каком угодно
, но не могут превысить значений
и
соответственно.
. Если два случайных процесса
и
статистически
независимы, то для любого интервала времени
выполняются равенства:
Если среднее значение либо одного, либо обоих независимых СП
равно нулю, то взаимная ковариационная функция равна нулю. Отметим, что из
факта равенства нулю взаимных ковариационной и корреляционной функций не
следует статистическая независимость СП, кроме случая, когда случайные процессы
характеризуются совместной гауссовой плотностью распределения.
. В общем случае взаимные ковариационные и корреляционные
функции не являются четными относительно
. Тем не менее, для них существует вид симметрии,
описываемый соотношениями:
Эти соотношения отражают тот факт, что сдвиг СП
во времени в
определенном направлении эквивалентен сдвигу СП
в противоположном
направлении.
Укажем еще одно замечательное свойство ковариационных
функций, которое нам понадобится в дальнейшем: ковариационная функция суммы СП
равна сумме ковариационных функций каждого СП плюс сумма всех взаимных
ковариационных функций:
Аналогичное свойство выполняется для корреляционных функций.
В подавляющем большинстве практических случаев ковариационные
и корреляционные функции не могут быть вычислены по формулам -, поскольку
совместные плотности вероятности неизвестны. Поэтому оценивают временные
ковариационные и корреляционные функции по ограниченной выборке по формулам - в
предположении, что случайный процесс является эргодическим.
Пусть случайный процесс
наблюдается в течение
интервала времени от 0 до
секунд, т.е. имеется выборка
. Тогда ковариационную и
корреляционную функции можно оценить по формулам:




в которых
. Время усреднения равно
, а не
, поскольку выборочная
функция охватывает только часть наблюдаемых данных, включающих как
, так и
. Итак, чтобы оценить,
например, ковариационную функцию, следует сдвинуть реализацию на время
, перемножить исходную и
сдвинутую реализации и усреднить полученное произведение по всей реализации или
по некоторому ее отрезку. Эта процедура выполняется для всех требуемых значений
сдвига времени
.
На практике выполнить интегрирование в и невозможно, т.к.
математическое выражение для
обычно неизвестно. В этом случае интеграл аппроксимируют
суммой выборок из непрерывной временной функции в определенные моменты времени.
Таким образом, если выборки из исследуемой реализации
соответствуют моментам
времени
и если их значения равны
, то дискретными
эквивалентами выражений и будут следующие:




здесь
Вычисление взаимных ковариационных и корреляционных функций
производится аналогичным образом. Отметим лишь одно обстоятельство: одинаковая
точность оценок авто- и взаимных ковариационных и корреляционных функций
достигается лишь в том случае, если число выборок, используемых для расчета
взаимных функций, намного превышает количество выборок, применяемых для расчета
авто - ковариаций и корреляций.
В нашем случае мы рассматриваем две соседние строки
изображения. И нам необходимо определить сдвиг строк первой относительно
второй, при котором данные они будут наиболее «близки» друг к другу. Тогда мы
представляем строки изображения в виде массива чисел, длинна которого
соответствует длине строки в пикселях, а яркости самих пикселей записаны как
значения от 0 до 255.
Для определения «близости» полученных последовательностей мы
построим взаимно корреляционную функцию между ними. В дискретном случае
взаимную корреляцию двух последовательностей можно рассчитывать по следующей
формуле:
где i - сдвиг между последовательностями относительно друг
друга, а верхний индекс в виде звёздочки означает комплексное сопряжение. В
программе для вычисления взаимно корреляционной функции мы используем
специальную функцию в математическом модуле NumPy. Данная функция для
быстрого вычисления корреляционной последовательности использует одно из
свойств взаимно корреляционной функции:
где
означает преобразование Фурье. Данное свойство часто
используется вместе с алгоритмами быстрого преобразования Фурье для
эффективного вычисления величины взаимной корреляции. В результате выполнения
функции мы получаем последовательность соответствующую взаимно корреляционной
функции для дискретного случая. Далее мы находим в этой последовательности
максимум, положение которого в последовательности соответствует размеру сдвига
при наиболее «близком» положении обоих строк, из чего мы и получаем размер
сдвига.
Для восстановления геометрических искажений исходного
изображения нам необходимо рассчитать размер сдвига для всех строк этого
изображения. Так как при вычисление сдвига по взаимной корреляции строк мы
вычисляем сдвиг только между соседними строками. Сдвиг между предыдущей и
текущей строкой назовем - относительным сдвигом. А нам необходимо для каждой
строки рассчитать абсолютный сдвиг. Для этого положим, что абсолютный сдвиг
первой строки равен нулю, а абсолютный сдвиг каждой следующей строки равен
сумме абсолютного сдвига предыдущей строки и относительного сдвига текущей
строки.
В результате проделанных операций мы получим список
абсолютных сдвигов, с помощью которого можно выровнять изображение и
значительно снизить количество геометрических искажений исходного изображения.
Результат восстановления изображения после восстановления геометрических
искажений по взаимной корреляции строк представлен на рисунке.
Результат восстановления
3.6
Коррекция сдвига восстановления по пилотажно-навигационной информации
Для повышения точности восстановления изображения мы
скорректируем сдвиг при помощи пилотажно-навигационной информации. Данная
информация поставляется вместе с изображением отдельным файлом. Структура
которого представлена в таблице 3.1. Далее составляется список координат по
навигационным данным.
Таблица 3.1 - Структура данных
пилотажно-навигационной информации
|
№
|
Диапазон
|
Описание
|
|
1
|
±
180º
|
Угол рысканья
|
|
2
|
±
90º
|
Угол крена
|
|
3
|
±
60º
|
Угол тангажа
|
|
4
|
±
180º
|
Угол пути
|
|
5
|
0 - 200 м/c
|
Приборная скорость
|
|
6
|
0 - 200 м/c
|
Путевая скорость
|
|
7
|
-500 - 10000 м
|
Высота Н
|
|
8
|
0 - 6000 м
|
Радиовысота
|
|
9
|
м
|
Координата Х
|
|
10
|
м
|
Координата Y
|
|
11
|
± 30º
|
Угол атаки
|
|
12
|
± 60 м/с
|
Вертикальная скорость
|
|
13
|
± 10 м/с
|
Поперечная скорость
|
|
14
|
с
|
Абсолютное время UTC с точностью 1 с
|
|
15
|
мс
|
Время внутри секунды с точностью 1 мс
|
|
16
|
-
|
Состояние навигационных параметров
|
Полученный список координат позволяет построить траекторию
движения БЛА во время съемки данного изображения. Далее бреем за нулевую ось
прямую проходящую через первую и последнюю точки траектории и для всех
остальных точек траектории высчитываем смещение относительно нулевой оси.
где h - высота полета,
- угол обзора, а
- количество пикселей в
линейке камеры.
Далее мы переводим полученный ранее список отклонений курса
из метров в пиксели. В случае, когда размер полученного списка отклонений курса
меньше размера списка сдвигов восстановления, мы дополняем первый до размера
второго с помощью линейной интерполяции соседних вершин. После чего добавляем
значения отклонений к соответствующим значениям сдвигов.
3.7
Выравнивание сдвига восстановления
В результате обработки изображения мы исправили импульсные и
быстроменяющиеся геометрические искажения. Но в результате работы алгоритмов
исправления мы внесли крупные, но медленно изменяющиеся изменения полученные
искажения представлены на рисунке.
Крупные геометрические искажения
В результате этого нам необходимо удалить низкочастотные
искажения, при этом сохранив исправления высокочастотных искажений. Из этого
следует, что нам необходимо найти приближение низкочастотных искажений.
Для этого представим последовательность сдвигов в виде
полилинии. Причем полилинию мы образуем следующим образом: по оси
двумерного пространства
мы будем откладывать номера строк, а по оси
отложим значения
абсолютного сдвига, соответствующее номеру строки для каждой из строк исходного
изображения. Полученный набор точек мы принимаем за последовательный набор
вершин рассматриваемой полилинии. Для получения низкочастотной составляющей,
нам необходимо удалить все малые ее изменения, другими словами нам необходимо
провести операцию упрощения полилинии.
Для проведения этой операции мы будем использовать метод
упрощения полилинии Дугласа-Пекера с ненулевой оценкой. Далее представлены
этапы работы его работы:
На первом этапе мы подготавливаем исходные данные для работы
метода. Для нашего случая это список вершин полилинии и начальный отрезок. В
качестве начального отрезка мы принимаем отрезок между первой и конечной
вершинами исходной полилинии.
На втором этапе работы метода нам необходимо найти наиболее
удаленную вершину полилинии от исходного отрезка. Расстояние мы будем
рассчитывать через произведение векторов по формуле:
Расстояние рассчитывается для каждой из вершин исходной
полилини, после чего выбирается та, расстояние до которой является
максимальным.
В случае когда полученное расстояние
меньше заданного размера
оценки
мы помечаем исходный
отрезок как завершенный и прекращаем его обработку.
В противном случае, когда
, мы заменяем исходный
отрезок на два отрезка проходящих через наиболее удаленную от исходного отрезка
точку. И для каждого из них повторяем второй этап метода Дугласа-Пекера как для
исходного отрезка.
Полученная в результате упрощения полилилния будет
соответствовать низкочастотным геометрическим искажениям исходного изображения.
Поэтому нам надо вычесть полученную полилинию из полилинии образованной по
последовательности сдвигов. То есть для сдвига каждой отдельной строки мы
вычитаем соответствующее значение.
Полученный в результате проведенных операций список сдвигов
мы считаем конечным и передаем в функцию применения сдвига.
4. Экономическая часть
В дипломной работе разрабатывается комплекс обработки
информации со строчных систем ЛА. В работе рассмотрены следующие проблемы:
. Разработка алгоритма компенсации искажений по
взаимной корреляции строк.
. Разработка алгоритма компенсации искажений по
пилотажно-навигационной информации и вывод в геокоординатах.
. Разработка и реализация макета ПО.
Результатом дипломной работы макет ПО обработке информации со
строчных систем ЛА. В экономической части настоящей дипломной работы содержатся
расчеты по обоснованию технико-экономической эффективности и целесообразности
разработки программного продукта. В данном разделе также приводится
характеристика технической и научной значимости проводимых работ, оценка трудоемкости
и затрат на их проведение и получение экономической эффективности от
разработки.
.1
Оценка целесообразности разработки программного продукта
Для обоснования целесообразности разработки программного
продукта необходимо выполнить следующие действия:
· Выбрать его аналог. В качестве аналога
возьмем ПП «Строка.net», которая является более ранней версией ПП рассматриваемого в
дипломной работе, которая обладает аналогичной функциональностью.
· сформулировать перечень функциональных
характеристик по предлагаемому варианту разработки ПП. При выборе характеристик
качества мы будем учитывать систему характеристик качества программных средств
по стандарту ISO 9126:1991 из которых мы выберем характеристики свойственные
рассматриваемому ПП:
o точность
o временная экономичность
o изменяемость
o стабильность
o адаптируемость.
· определить конкретные уровни
характеристик, их значимость. Уровень функциональных характеристик
разрабатываемого программного продукта и их значимость приведены в таблице 4.1.
Таблица 4.1. Уровни функциональных характеристик программного
продукта и их значимость
|
Характеристики качества ПП
|
Значения характеристик качества ПП
|
Значимость характеристик
|
|
аналог
|
новый вариант
|
|
|
Точность
|
5
|
7
|
0,4
|
|
Временная эконом.
|
5
|
6
|
0,05
|
|
Изменяемость
|
5
|
7
|
0,15
|
|
Стабильность
|
6
|
6
|
0,1
|
|
Адаптируемость
|
3
|
6
|
0,3
|
· Рассчитать интегральный показатель
качества разрабатываемого ПП Который определяется по формуле:
Где
- интегральный показатель качества,
- коэффициент влияния, в нашем случае
, как для техники
улучшающей характеристики системы управления.
А параметр
определяется по следующей формуле:
Где
,
- значение i-й функционально
технической характеристики соответственно нового и базового ПП,
- значимость i-й функционально
технической характеристики качества изделия, n - количество
рассматриваемых функционально технических характеристик.
В нашем случае получим:
Полученное значение интегрального показателя качества ПП
превышает единицу, что
свидетельствует о целесообразности разработки ПП рассматриваемого в данной
дипломной работе.
.2
Определение трудоемкости и затрат на создание программного продукта
Основой для определения затрат на создание программного
продукта является показатель трудоемкости работ. Трудоемкость работ может быть
определена различными способами в зависимости от используемого инструментария и
целей создания программного продукта. Структура затрат на создание программного
продукта представлена в таблице 4.2.
Таблица 4.2. Структура трудовых затрат разработки алгоритмов
и ПП
|
№ п/п
|
Наименование стадии работ
|
доля работ на стадии в общем объеме работ, %
|
|
1
|
Анализ предметной области
|
1
|
|
2
|
Изучение средств разработки
|
2
|
|
3
|
Изучение программируемой задачи
|
2
|
|
4
|
Анализ методов решения задачи
|
4
|
|
5
|
Составление структурной схемы алгоритма
|
2
|
|
6
|
Технеко-экономическое обоснование выбранного
варианта алгоритма
|
4
|
|
7
|
Уточнение и доработка выбранного варианта
алгоритма
|
15
|
|
8
|
Составление программы
|
20
|
|
9
|
Отладка программы и составление документации
|
35
|
|
10
|
Анализ работы ПП
|
5
|
|
11
|
Испытание ПП в реальных условиях
|
10
|
|
ИТОГО
|
100
|
Затраты труда в чел.-час. определяются следующим образом по
следующей формуле:
где:
- затраты труда на подготовку описания задачи,
комплекса задачи;
- затраты труда на изучение и постановку задачи,
комплекса задач;
- затраты труда на разработку алгоритма решения
задачи, комплекса задач;
- затраты труда на программирование по
блок-схемам;
- затраты труда на отладку программы;
- затраты труда на подготовку документации по
ПП;
- условное количество операторов в машинной
программе, где:
- количество этапов и элементарных процедур
преобразования информации;
- коэффициент сложности программы;
количество коррекций;
- коэффициент квалификации разработчика,
программиста;
- увеличение затрат на изучение и постановку
задачи вследствие ее сложности и новизны;
;
чел.
час;
чел.
час;
чел.
час;
=
чел.
час;
Используя получившиеся данные, рассчитаем затраты труда по
созданию программного продукта:
.3
Календарное планирование
Календарное планирование работ по созданию алгоритмов и ПП
осуществляется согласно директивному графику. Разработка календарного плана
производится на основе данных о трудоемкости работ, связанных с выполнением
дипломной работы. Окончательно структуру трудоёмкости отдельных этапов
определяют, используя данные о видах работ, подлежащих выполнению.
Структура трудоемкости отдельных этапов разработки
программного продукта представлена в таблице 4.3:
Таблица 4.3. Структура трудоемкости отдельных этапов
разработки ПП
|
Наименование стадии работы
|
Удельный вес, %
|
Трудоемкость стадии, Чел.-час
|
Длительность стадии в календ. днях
|
|
Обзор предметной области
|
6
|
17,85
|
3
|
|
Постановка задачи
|
5
|
14,875
|
2
|
|
Сборка изображения из отдельных строк
|
8
|
23,8
|
3
|
|
Применение фильтров для подавления шумов
|
6
|
17,85
|
3
|
|
Компенсация искажений по корреляции строк
|
15
|
44,625
|
6
|
|
Яркостная коррекция изображения
|
5
|
14,875
|
2
|
|
Геокодирование изображения
|
10
|
29,75
|
4
|
|
Компенсация искажений по навигационной
|
15
|
44,625
|
6
|
|
Разработка макета ПО
|
30
|
89,25
|
12
|
|
ИТОГО
|
100
|
297,5
|
41
|
В таблице 4.4 представлен календарный график этапов
разработки ПП.
Таблица 4.4. Календарный график этапов разработки ПП
|
№ этапа
|
наименование стадии работы
|
Календарные даты работ
|
|
|
Начало
|
Окончание
|
|
1
|
Обзор предметной области
|
02.11.2010
|
04.11.2010
|
|
2
|
Постановка задачи
|
05.11.2010
|
08.11.2010
|
|
3
|
Сборка изображения из отдельных строк
|
09.11.2010
|
11.11.2010
|
|
4
|
Применение фильтров для подавления шумов
|
12.11.2010
|
16.11.2010
|
|
5
|
Компенсация искажений по корреляции строк
|
17.11.2010
|
24.11.2010
|
|
6
|
Яркостная коррекция изображения
|
25.11.2010
|
26.11.2010
|
|
7
|
Геокодирование изображения
|
29.11.2010
|
02.12.2010
|
|
8
|
Компенсация искажений по навигационной
|
03.12.2010
|
10.12.2010
|
|
9
|
Разработка макета ПО
|
13.12.2010
|
28.12.2010
|
Таким образом, затраты труда на создание алгоритмов и
программного продукта составили 297,5 чел.-час или 41 день.
На рисунке 4.1 приведен календарный план работ по созданию
алгоритмов и ПП.
Рисунок 4.1 - Календарный план работ по созданию алгоритма и
ПП
4.4
Определение себестоимости и цены план работ по созданию алгоритма и
программного продукта
Разработка программ и алгоритмов является областью с малой
материало- и энергоемкостью, и основные затраты связаны с непосредственным или
овеществленным трудом специалистов различных категорий. При этом учитываются
все категории специалистов, участвующих непосредственно или косвенно в создании
данного программного продукта.
Основные статьи расходов при разработке алгоритма:
1. Материалы
2. Заработная плата основных исполнителей
. Отчисления на социальные нужды
. Накладные расходы
. Прочие расходы
Основные статьи расходов при разработке алгоритма и их
удельный вес в общем объёме затрат представлены в таблице 4.2.
К статье затрат вспомогательные материалы относятся
следующие элементы:
две пачки бумаги для принтера формата А4 стоимостью 150 руб.
за пачку, 150 * 2 = 300 руб.;
один картридж для принтера марки HP стоимостью 1500 руб.;
Итого по статье «материалы» затраты составили:
З = 1500 + 300 = 1800 р.
К статье затрат заработная плата разработчиков - основная и
дополнительная заработная плата разработчиков.
Заработная плата рассчитывается на основе трудоёмкости
соответствующих стадий работ. Величина заработной платы определяется по
следующей формуле:
где k - количество стадий работ;
-трудоёмкость ой стадии;
- средняя дневная тарифная ставка оплаты работ j-ой стадии.
Премия составляет 15% от заработной платы.
По каждой стадии работ определяются исполнители и показатели
оплаты труда. Результаты расчёта представлены в таблице 4.5.
Таблица 4.5. Результаты расчёта заработной платы персонала
|
№ стадии работ
|
Трудоемкость стадии
|
Исполнители
|
Часовая ставка
|
Заработная плата
|
|
|
должность
|
Числ.
|
|
|
|
1
|
17,85
|
Программист и руководитель
|
2
|
100 руб. час
|
1963,5
|
|
2
|
14,875
|
|
|
|
1636,25
|
|
3
|
23,8
|
|
|
|
2618
|
|
4
|
17,85
|
|
|
|
1963,5
|
|
5
|
44,625
|
|
|
|
4908,75
|
|
6
|
14,875
|
|
|
|
1636,25
|
|
7
|
29,75
|
|
|
|
3272,5
|
|
8
|
44,625
|
|
|
|
4908,75
|
|
9
|
89,25
|
|
|
|
9817,5
|
|
ИТОГО
|
297,5
|
|
|
|
32725
|
|
Премия
|
15%
|
37633,75
|
Распределение трудоемкости и заработной платы между
работником и руководителем представлено в таблице 4.6.
Таблица 4.6. Распределение трудоемкости и заработной платы
|
№ стадии работ
|
Трудоемкость
|
Заработная плата
|
|
Стадии
|
для работ.
|
Для руков.
|
работника
|
руководит.
|
общая
|
|
1
|
17,85
|
16,065
|
1,785
|
1606,5
|
357
|
1963,5
|
|
2
|
14,875
|
13,3875
|
1,4875
|
1338,75
|
297,5
|
1636,25
|
|
3
|
23,8
|
21,42
|
2,38
|
2142
|
476
|
2618
|
|
4
|
17,85
|
16,065
|
1,785
|
1606,5
|
357
|
1963,5
|
|
5
|
44,625
|
40,1625
|
4,4625
|
4016,25
|
892,5
|
4908,75
|
|
6
|
14,875
|
13,3875
|
1,4875
|
1338,75
|
297,5
|
|
7
|
29,75
|
26,775
|
2,975
|
2677,5
|
595
|
3272,5
|
|
8
|
44,625
|
40,1625
|
4,4625
|
4016,25
|
892,5
|
4908,75
|
|
9
|
89,25
|
80,325
|
8,925
|
8032,5
|
1785
|
9817,5
|
|
Итого
|
297,5
|
267,75
|
29,75
|
26775
|
5950
|
32725
|
Норматив отчислений на социальные нужды составляет 26,2% от
заработной платы основных исполнителей, тогда их можно рассчитать как:
Величина накладных расходов определяется по отношению к
заработной плате:
, где
- коэффициент накладных
расходов, для ПП принимается н6а уровне
, в данном случае
, тогда
Прочие расходы можно рассчитать по следующей формуле:
.
Таблица 4.7. Основные статьи расходов
|
№ п./п.
|
Наименование статей затрат
|
Затраты, руб.
|
Удельный вес, %
|
|
1
|
Материалы
|
1800
|
1,7%
|
|
2
|
Заработная плата основных исполнителей
|
37633
|
36,2%
|
|
3
|
Отчисления на социальные нужды
|
9860
|
9,5%
|
|
4
|
Накладные расходы
|
50805
|
48,9%
|
|
5
|
Прочие расходы
|
3763
|
3,6%
|
|
ИТОГО
|
103862
|
100,00%
|
Общие затраты на создание алгоритмов и программного продукта
составили ЗОБЩ = 103862 руб.
Цена на первоначально разработанных алгоритмов и ПП
определяется с учетом рентабельности разработки:
руб.
Выводы
В экономической части дипломной работы по разработке
комплекса обработки информации со строчных систем ЛА были проведены расчеты,
которые позволяют судить о технической, экономической и научной значимости программного
продукта, а также о целесообразности его разработки.
В результате расчетов получили:
· индекс технического уровня программного
продукта, равный 1.91, что свидетельствует о целесообразности разработки;
· годовой экономический эффект составляет
руб., уровень
экономической эффективности -
, а срок окупаемости 1,33 года после внедрения,
что отражает эффективность применения разработанного программного продукта;
· продолжительность выполнения работ по
созданию алгоритмов и программного продукта составляет 297 часов или 41 день.
Список
литературы
1. СанПиН
2.2.22.4.1340-03 «Гигиенические требования к персональным
электронно-вычислительным машинам и организации работы»
2. Бобков
Н.И., Голованова Т.В. «Охрана труда на ВЦ» - Изд-во МАИ, 1991 г.
. ГОСТ
12.1.030. - 81. ССБТ. Электробезопасность. Защитное заземление. Зануление.
Введ. 01.07.82 г.
4. ГОСТ
12.1.038. - 82. ССБТ. Предельнодопустимые уровни напряжений прикосновения и
токов. Введ. 01.07.83 г.
5. Яров
В.Н. Выбор мероприятий и расчет элементов электрозащиты. Методические указания
по разделу «Охрана труда» дипломных проектов. - М.: МАИ, 1988.з
6. Крылья
Родины. Юрий Янкевич. «Кому лететь на разведку»
. C.
Ганин, А. Карпенко, В. Колногоров, Г. Петров. «Беспилотные летательные
аппараты»
. Драгун
В.Л. Тепловизионные системы в исследовании тепловых
процессов.arhivteplovizory.html
Уголок неба - большая авиационная энциклопедия
http:www.airwar.rubpla pix_in_line
Приложение 1
Листинг пограммы
«»«возвращает сдвиг в пикселях «»»
def navi_shift:=, navi_data]= math.sqrt==
metr_per_pixel
i in navi_data:=, i]= math.sqrtrc!= 0:=
math.acosmppx).append.insertb
calculate_navigation_shift:= open_data =
navi_read.closenavi_shift)))
__name__ == «__main__»:len >1:_name =
sys.argv= calculate_navigation_shiftfile_namei in res:print
round«=========================»
Файл FiltrateImage.py
# -* - coding: cp1251 -*-PIL import ImagePIL
import ImageFilterPIL import ImageChopsnumpytimemath
Filtrate:= image.filter)= ImageChops.difference=
50= Image.newx in range:y in range:=imageDif.getpixel >
alpha:.putpixel):.putpixel)result
CorrelationShift:= numpy.correlateresult.argmax
-ImageToArray:= list= img.tostringi in range:= img.size*i= img.size*=
ims.append))result
ShiftCount:= list.appendi in range - 1):.append
+result)result
ShiftApply:= min= max= listi in
range):.append)result
LineShiftApply:= len + abs + MaxShift= minShift -
shift= newSize - len + leftSize= listi in range):.extend.extendi in
range:.extendres
ArrayToImage:=, len)= «L»= listi in
imgArr:.extend= str)= Image.fromstringresult
Restore:= Filtrate= ImageToArray=
ShiftCountnavi_shift!= None:= add_navi_shift= shift_correction=
ArrayToImage)result
add_navi_shift:= len_expand_count = float -
1))=]i in navi_shift:= result= i= float * + y0.append)result
shift_approximate:=]=]= range=i in range):=,
data].append)_new = numpy.array.argmaxdistances <= eps::=.extend).extend)
return result
«» «растояние от отрезка AB до точки»"»
def distance:= - pointA, point - pointA]= -
pointA, pointB - pointA]
_size = math.sqrt_size = math.sqrt
== 0:= 1:= /temp > 1: temp = 1temp < -1:
temp = -1= math.acosa_size * math.sin
__name__ == «__main__»:syslen >1:_name =
sys.argv_name = load_name + '' + load_namelen >2:_name = sys.argv= Image.open=
Restore.save
print_tree:type!= type:):i in tree:_tree