Конструкция путевых машин
Министерство
транспорта
Федеральное
агентство Железнодорожного Транспорта
Государственного
образовательное учреждение высшего профессионального
Филиал
ГОУ БПО «Иркутский государственный университет путей сообщений в г. Чита»
Читинский
Техникум Железнодорожного Транспорта
(ЧТЖТ
ЗабИЖТ ИрГУПС)
Курсовой
проект
Конструкция
путевых машин
Выполнил
Студент
гр.СДМ-31
Киреев
Г.Г
Проверил
Бекетов
А.А
Введение
Железные дороги России занимают
первое место в мире по протяженности электрифицированных линий; второе место
(после США) - по эксплуатационной длине железных дорог; третье место в мире по
перевозкам грузов (после Китая и США) и по перевозкам пассажиров (после Японии
и Индии).
Железнодорожный транспорт
состоит из многих взаимодействующих между собой и взаимозависящих друг от друга
отраслей, которые составляют в целом единый хозяйственный организм, единую
систему.
Внедрение более эффективной
системы ремонтов, создающей возможности значительного сокращения работ по
текущему содержанию пути вполне реально уже в ближайшее время, поскольку
ожидается более полное обеспечение путевого хозяйства материалами верхнего
строения пути. Кроме этого созданы и создаются соответствующие технические
средства, которые позволят значительно повысить темпы и качество ремонтов пути.
Для успешного решения
поставленных задач производственные организации железнодорожного транспорта и
транспортного строительства интенсивнее оснащаются разными по назначению и
сложности строительными, путевыми, транспортными и погрузочно-разгрузочными
машинами. Уже сейчас технологические процессы строительства, текущего
содержания и капитального ремонта пути и железнодорожных объектов представляют
собой совокупность взаимосвязанных во времени, машинизированных операций по
обработке, формоизменению, сборке и перемещению предметов и материалов,
осуществляется на основе производственного потенциала в первую очередь путем
оценки возможностей имеющегося машинного парка.
В создание путевого
машиностроения внесли существенный вклад отечественные инженеры изобретатели. В
число первых путевых машин, созданных еще на заре развития железнодорожного
транспорта, плуг на конной тяге для механизированной очистки пути от снега. В
1879 г. инженер С.С. Гендель сконструировал снегоочиститель-таран. В 1887 г.
инженер И.Н. Ливчак создал вагон-путеизмеритель, а в 1910г. инженер А.Н.
Шумилов - первую снегоуборочную машину с погрузкой снега на состав. В 1913 гл.
инженер Н.Е. Долгов разработал путеизмерительную тележку и более совершенный
вагон-путеизмеритель.
Особое внимание механизации
путевых работ стало уделяться в годы Советской власти. В 30-е годы только что
созданные путевые машинные станции стали получать высокопроизводительные
путевые машины - путевые струги и балластеры с пневмоуправлением, звеньевые
путеукладчики. На новую ступень поднялось путевое хозяйство после Великой
Отечественной войны.
1. Аннотация машин применяемых
для укладки РШР
При ремонте и строительстве
железных дорог применяют укладочные краны УК-25/9-18. Кран состоит из следующих
частей: платформ, металлоконструкции, грузоподъемного оборудования,
гидропривода и кранового электрооборудования. Платформа смонтирована на двух
трёхосных тележках, у которых две крайние оси приводные. Укладочный кран служит
для укладки звеньев длиной 25м с железобетонными шпалами, что обеспечивается
стрелой, изготовленной из легированной стали 10ХСНД, четырехкратными
полиспастами для подвески звена, специальной траверсой, дополнительными
противовесами, обеспечивающими устойчивость крана при поднятии звена массой
18т, повышенной мощностью электродвигателя (З2кВт) и большей канатоёмкостью
барабанов грузовой лебёдки.
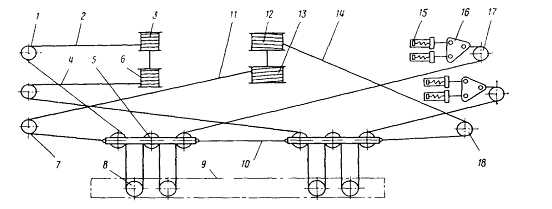
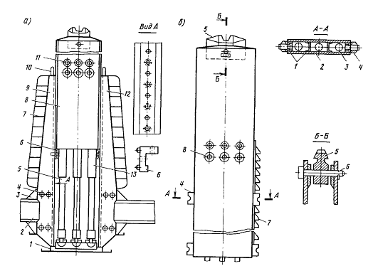
Кран состоит из трёхосных
тележек 1(Рис 1.1) рамы 2, двух силовых установок 3, правого и левого пульта
управления 4, съёмной кабины управления 5, электрооборудование платформы 6,
двух лебёдок 7 для перетягивания пакетов звеньев, траверсы 8, двух грузовых
тележек 9, стрелы 12, опирающейся поперечными балками 16 и откидными балками 18
на подвижные каретки 19, грузовой 13 и тяговой 15 лебедок, пульта управления 14
на стреле, ограничителя грузоподъёмности 17, обводных блоков 10 и 11,
гидропривода 20, стойки 21, ограждения 22, роликового конвейера 3 и
электрооборудования 24 на стреле. Каждая трёхосная тележка имеет две крайние
приводные оси и среднюю ось непригодную. На приводной оси смонтирован
двухступенчатый редуктор, а на раме тележки - тяговый электродвигатель ДК-309А
мощностью 43кВт.
Рис. 1.1 Укладочный кран УК - 25/9 - 18
Технические характеристики:
Тип двигателя: Два дизеля У1Д6,
ЯМЗ-238
Тип передачи:
Электромеханическая
Тип ходовых тележек специальной
конструкции: Трехосные приводные
Грузоподъемность платформы, т.:
Не более 40
Максимальная конструкционная
скорость, км/ч: 50
Максимальная скорость движения
в составе поезда, км/ч: 70
Габаритные размеры, мм:
Длина общая - 43864
Ширина - 3250
Высота в транспортном положении
- 5285
Высота в рабочем положении -
6625
Масса, т.: 78
Грузоподъемность крана, т.: 9
По конструкции эти
путеукладчики аналогичны, отличаются только грузоподъемностью.
Производительность этих путеукладчиков до 3-4 км/см.
2. Выбор варианта конструкции
машины. Описание машины
.1. Описание, назначение и
работа машины
Укладочные краны служат для
снятия с пути старогодных рельсовых звеньев и укладки новых звеньев. Различают
следующие типы укладочных кранов; УК-25/9-18 грузоподъемностью 18 т и УК-25/21
грузоподъемностью 21 т для работы с 25-метровыми звеньями и шпалами любых
типов; УК-2519 грузоподъемностью 9 т для работы с 25-метровыми рельсовыми
звеньями и деревянными шпалами и 12,5 метровыми звеньями с железобетонными
шпалами. Серийно выпускается кран УК-25/9-18, широко распространены также краны
УК-25/9.
Укладочный кран (рис. 2.1)
является самоходной единицей и состоит из моторной платформы 18, на которой на
четырех телескопических стойках 15 укреплена ферма 2 с расположенным на ней
грузоподъемным оборудованием. Для установки фермы в рабочее или транспортное
положение предусмотрена гидросистема.
Моторная платформа крана имеет
две силовые дизель-генераторные установки, смонтированные в средних отсеках
рамы, их мощность расходуется на передвижение крана и прицепной нагрузки, на
привод кранового оборудования, лебедки для перетяжки пакетов, компрессоров,
гидронасосов и на освещение. При движении крана самоходом питание тяговых
двигателей ходовых тележек может осуществляться от одной дизель-генераторной
установки или от двух; при этом каждая ходовая тележка получает электроэнергию
от ближайшего к ней генератора. При работе крана одна силовая установка
используется для питания грузоподъемного оборудования, а другая - для
передвижения крана с питающим составом. Вдоль настила рамы размещены ролики 16
роликового конвейера.
Рис. 2.1. Схема укладочного
крана УК-25/9-18
а - комплекс СЗП-600; 1-машина
СЗП-600; 2- УТМ-1; 3- ВП-1; 6 -машина СЗП-600; 1 - рама; 2 - поворотный
конвейер; 3 - стрела ротора; 4 - основной конвейер; 5 - ротор; 6 - крылья
плуга; 7 - стрела плуга; 8 - трёхосная тележка; 9 - кабина обслуживающего
персонала; 10 - стабилизирующие опоры; 11 - опоры; 12 - бункер
Ходовые тележки 17 крана
трехосные, две крайние колесные пары ведущие, а средняя поддерживающая. Буксы
тележек роликовые, подпятник и скользуны вагонного типа. Каждая ходовая тележка
имеет два тяговых двигателя. При трогании с места и при движении на малых
скоростях они включаются последовательно, а при разгоне и на больших скоростях
параллельно. Тележка оборудована колодочным тормозом. Рычажная система
колодочного тормоза выполнена раздельно на каждую ведущую колесную пару с
двусторонним нажатием колодок на колесо. На каждой тележке установлено по два
тормозных цилиндра, воздух к которым подводится от воздушной магистрали гибкими
шлангами, а также имеется ручной привод к рычажной передаче тормоза,
аналогичный установленному на МГЩ. Тормозное оборудование крана такое же, как
на МПД. Управление передвижением крана осуществляется с правого или левого
нижних пультов 12, расположенных сбоку платформы в ее средней части,
Крановое оборудование состоит
из четырех портальных стоек 15 с выдвижными каретками 14 и фермы 2, на которой
расположено грузоподъемное оборудование, состоящее из грузовой 7 и тяговой 10
лебедок, тросо-блочной системы 4-19, двух крановых тележек 1, ограничителей
подъема 13, канатных поддержек 6, откидных балок 3, грузоподъемной траверсы 5 и
кранового электрооборудования.
Фронт работ при необходимости
освещается прожекторами. Краны, работающие на электрифицированных участках,
оборудуются изолированными от фермы лыжами-отбойниками. Ферма крана при рабочем
положении передвигается вперед или назад по роликам консолей 9 л поднимается, а
при транспортировке устанавливается в среднее симметричное относительно оси
платформы положение. Подъем и опускание фермы осуществляются 12
гидроцилиндрами, вмонтированными в каретки портальных стоек. Пульт управления 8
крановым оборудованием расположен в средней части фермы крана. Управление
грузовой и тяговой лебедками осуществляется с помощью контроллеров.
Безопасность работы обслуживающего персонала обеспечивается за счет бокового
ограждения 11.
Стойка (рис. 2.1.1. а)
представляет собой балку коробчатой формы, состоящую из двух вертикальных
направляющих 9 и 12 и горизонтальной плиты 1.
Стойки болтами 4 Неподвижно
прикреплены к бобышкам 3 рамы платформы 2. с внутренней стороны направляющих
есть ряд отверстий (вид А) для крепления башмаков 6. В рабочем положении
каретка поддерживается двумя башмаками, каждый из которых сбоку имеет два шипа,
вставляемых в отверстие стойки. Башмак болтами крепится к стойке и каретке 8. с
наружной стороны вдоль каждой направляющей расположена лестница 7, используемая
при закреплении или снятии башмаков. Горизонтальная плита 1 служит основанием
для крепления к ней нижних концов штоков 5 цилиндров 13 гидросистемы. Сами
цилиндры валиками 11 шарнирно укреплены внутри каретки. С внутренней стороны
стойки на пальцы 10 надевается консоль с двумя роликами для перетяжки фермы.
Каретка (рис. 2.1.1. б) состоит
из четырех швеллеров 1, сваренных с двумя стальными листами 2, образуя
пустотелую коробку. Внутри последней расположены цилиндры 3. С наружной стороны
к каждой каретке приварена рейка 7 с храповыми зубьями. В рабочем положении
каретка удерживается собачкой, шарнирно закрепленной в одной из направляющих
стойки. Для опускания фермы собачка выводится из зацепления с зубьями рейки.
Каретки внутри стойки направляется приливами 4, приваренными с обеих сторон
нижней части каретки.
Каретка соединяется с фермой
балансиром 5, укрепленным на оси 6. На концах опорных балок фермы имеются
опорные башмак, соединяющиеся в замок с балансирами кареток. При этом башмак
опорной балки охватывает выступ балансира каретки. От продольных перемещений
ферма удерживается болтами, ввернутыми опорную балку и заходящими в паз
балансира. Доступ к пробкам 8 для выпуска воздуха из гидравлических цилиндров
обеспечивается через три отверстия с лицевой стороны каретки.
Рис. 2.1.1 Схемы: а - стойка
крана: б каретка крана
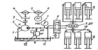
Гидравлическая система. Для
подъема фермы крана в верхнее рабочее и опускание ее в нижнее транспортное
положения предназначена гидросистема. состоящая из двух одинаковых комплектов
оборудования соответственно для правой и левой сторон машины. В комплект
гидросистемы (рис. 2.1.2) входят насос 1, масляный бак 11, золотниковый
распределитель 8, разгрузочно-предохранительный клапан 12, манометр 7, дозатор
(делитель потока) 9, шесть гидравлических цилиндров 10 и маслопроводы 2. Все
части гидросистемы, кроме цилиндров, расположены под рамой платформы. Поршневой
насос 1 посредством муфт втулочно-пальциевой 3. зубчатой 4 и цепной передачи 5
соединен с электродвигателем 6 лебедки для передвижения пакетов. Включение и
выключение насоса осуществляются зубчатой муфтой посредством рычага, что
обеспечивает раздельную работу гидросистемы и лебедки. Для предупреждения
повышения давления в системе свыше 8,5 МПа предусмотрен
разгрузочно-предохранительный клапан, через который масло сливается в бак,
минуя золотниковый распределитель.
На рис. (2.1.2) применены
обозначения: Б -- бак; Н - насос; МН- манометр; Ц --цилиндр; ДП -- дозатор: КП
-разгрузочно-предохранительный клапан.
Рис. 2.1.2. Схема
гидравлической системы
Золотниковый распределитель
(рис. 2.1.3) служит для распределения потока масла по одному из трех
направлений; от насоса бак, от насоса в цилиндры и из цилиндров в бак. Для
уменьшения количества маслопроводов распределитель укреплен непосредственно на
баке и сообщается с последним каналами, В корпус 1 распределителя ввернутьт
штуцеры 3 и 6 для подвода масла от насоса и подачи его в цилиндры. Внутрь
корпуса запрессована гильза 2 с кольцевыми выточками, образующими полости .4,
Б, В и Г. Выточки А и Г постоянно сообщаются с баком, выточка Б со штуцером 6,
а, следовательно. с цилиндрами, выточка В - со штуцером 3 и тем самым с
насосом. К внутренней поверхности гильзы 2 притерт трехсекционный золотник 4.
Сверху гильза закрыта глухой крышкой 5, а снизу - крышкой 7 с уплотнением. На нижнюю
часть золотника навинчена вилка 9. В нейтральное положение золотник
устанавливается автоматически под действием пружины и шарикового фиксатора 11.
для предохранения золотника от пыли есть защитный кожух 8.
Золотник устанавливается в
требуемое положение рукояткой управления 10. При нейтральном (среднем)
положении (рис. 2.1.3. а) масло, поступающее из насоса, перетекает из полости в
полость Г, т.е. возвращается в бак. Для подъема фермы рукоятку управления надо
приподнять. В этом случае золотник перекрывает выточки А и Г (рис. 2.1.3. б), а
выточки В и Б оказываются сообщенными между собой, и масло, подаваемое насосом,
поступает в цилиндры. Для опускания фермы рукоятка управления переводится в
нижнее положение, золотник перекрывает выточку В (рис. 2.1.3. в), а выточки А и
Б оказываются сообщенными между собой. Масло выдавливается из цилиндров весом
фермы и через выточку А возвращается в масляный бак. При подъеме или опускании
фермы рукоятку Управления необходимо удерживать до полного окончания работы, в противном
случае она под действием пружины устанавливается в нейтральное положение и
работа прекращается.
укладочный лебёдка путевая машина
Рис. 2.1.3. Золотниковый
распределитель
Для управления правой и левой
сторонами укладочного крана предназначены раздельные гидросистемы, поэтому
работа по подъему и опусканию фермы должна вестись одновременно двумя золотниковыми
распределителями, управляемыми машинистом и его помощником. Для равномерного
распределения масла, поступающего в цилиндры гидросистемы, предназначен
дозатор, представляющий собой шестеренный насос.
В его корпусе расположены три
одинаковые цилиндрические шестерни, находящиеся между собой в зацеплении и
свободно посаженные на осях. Корпус имеет три штуцера: к одному из них
подводится масло от золотникового распределителя, а два других подают его к
цилиндрам двух противоположных стоек крана. При нагнетании масла в цилиндры
шестерни дозатора, вращаясь с одинаковой скоростью, подают впадинами зубьев
одинаковые порции масла в цилиндры правой и левой сторон крана, осуществляя
этим подъем фермы без перекосов. При вытеснения масла из цилиндров при опускании
фермы происходит вращение шестерен дозатора в обратную сторону. Дозаторы
укреплены на шкворневых балках платформы; для их обслуживания в настиле
платформы предусмотрены люки.
Конструкция цилиндров и схема
их работы приведены на рис. (2.1.4). Внутри каждой каретки днищем вверх
расположены три гидроцилиндра. Цилиндр 1 состоит из трубы и стального корпуса,
спаренных между собой. Корпус разъемный, соединенный болтами 5. Цилиндр
посредством валика 4 и надетой на него сферической втулки соединен с кареткой.
Для удаления воздуха из гидросистемы в цилиндре есть пробка 3. Цилиндры
являются подвижными частями, тогда как поршни неподвижными. Своим основанием
поршни 2 укреплены к продольной балке стойки. Каждый поршень состоит из диска,
большой и малой труб и отливки со сферическим днищем. Малая труба служит
маслопроводом, а большая - направляющей для цилиндра. Уплотнение цилиндра
выполнено в виде четырех резиновых манжет 6, удерживаемых нажимным кольцом 7,
ввинченным в цилиндр. Днище поршня прикреплено к плите 12, приваренной к балке
стойки, и удерживается двумя планками 11. Сферическая форма днища поршня и
втулки цилиндра допускает их некоторый перекос при подъеме фермы. К штуцеру 13
подводится маслопровод от насоса, в днище поршня имеется ряд вертикальных и
горизонтальных каналов, в одном из которых установлен клапан 14, прижимаемый к
седлу пружиной 8, а в другом - регулировочная игла 9, прикрываемая колпачком
10. При подъеме фермы в рабочее положение масло от насоса поступает через
дозатор к штуцеру 13. Под давлением масла клапан 14 отжимается от седла, и по
малой трубе масло попадает в цилиндр. Увеличение количества масла в цилиндрах
вызывает их подъем вместе с каретками. Опускается ферма под действием своего
веса при нижнем положении золотника распределителя. В этом случае путь масла по
каналам иной, чем при подъеме фермы. Давлением масла и пружины клапан 14
прижимается к седлу, закрывая выход масла к дозатору. При этом масло проходит
по нижнему горизонтальному каналу, частично перекрываемому иглой, по
вертикальному каналу подходит к штуцеру 13 и через дозатор и распределитель
поступает в бак. Регулировочная игла 9 обеспечивает регулирование скорости
опускания фермы; она позволяет добиться равномерного опускания цилиндров левой
и правой сторон крана.

Крановое оборудование состоит
из грузовой и тяговой лебедок, двух грузовых тележек, тросо-блочного
оборудования, ограничителей подъема, ограничителей хода грузовых тележек,
канатных поддержек и грузозахватных траверс.
Грузовая лебедка предназначена
для подъема и опускания звена рельсошпальной решетки. Она смонтирована на плите
и укреплена болтами к ферме крана. Лебедка (рис. 2.1.5.) состоит из
электродвигателя 1 типа д-806 мощностью 32 кВт с частотой вращения 900 об/мин,
зубчатой муфты 2, трехступенчатого цилиндрического редуктора 3 с передаточным
числом i =16,3, на выходном валу которого укреплены два барабана 4 и 5 с
канавками. Ведущий вал редуктора имеет тормозной шкив 6 двухколодочного
электромагнитного тормоза с грузовым замыканием. Благодаря небольшой разнице
диаметров барабанов стыкуемый конец звена опускается быстрее, что облегчает его
укладку.
Рис. 2.1.5. Кинематическая
схема грузовой лебедки
В зависимости от того, работает
ли кран с 25-метровым звеном с деревянными или железобетонными шпалами,
применяют соответственно двух- или четырехкратный полиспаст. В первом случае
скорость подъема груза составляет 0,416 м/с, а во втором - 0,208 м/с, что
соответствует технической производительности крана 1000 или 750 м/ч, На рис.
(2.1.6.) изображена схема запаковки грузовых канатов при четырехкратном
полиспасте одни концы грузовых канатов 2 и 4 закреплены на барабанах 3 и 6,
затем они последовательно огибают отклоняющие блоки 1 на конце фермы крана,
неподвижные блоки 5, установленные на грузовой тележке, подвижные блоки 8
грузозахватной траверсы 9, концевые блоки 17 на другом конце фермы и вторыми
своими концами крепятся к балкам 16, присоединенным к ограничителям грузоподъемности
15. При наматывании грузовых канатов на барабаны происходит подъем звена, а при
сматывании опускание.
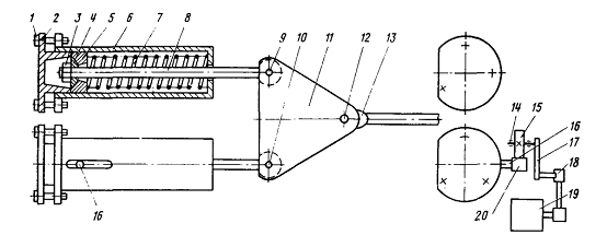
Рис. 2.1.6 Тяговая лебедка.
УК.25/9-18
Кинематическая схема запасовки
каната (рис. 2.1.7.) служит для передвижения грузовых тележек вдоль фермы крана
из одного крайнего положения в другое, что позволяет выносить звено с платформы
с укладкой его в путь или собирать старогодные звенья с укладкой их на
платформу крана.
Тяговая лебедка, как и
грузовая, смонтирована на собственной раме, прикрепленной болтами в средней
части фермы крана. Обе лебедки расположены таким образом, что пульт управления
ими расположен между ними. Лебедками управляет кранооператор с верхнего поста
управления.
Рис. 2.1.7. Кинематическая
схема запасовки каната
Схема запаковки тяговых канатов
приведена на рис. (2.1.6.) Кинематически тяговая лебедка состоит из тех же
узлов, что и грузовая, т. е. электродвигателя 4 типа Д-41 Мощностью 24 кВт при
частоте вращения 970 об/мин, зубчатой муфты 3, трехступенчатого цилиндрического
редуктора 2 с передаточным числом i = 25,2, двухколодочного нормально
замкнутого грузового тормоза 1 с электромагнитным выключением и двух барабанов
5 и 6 с канавками. В отличие от грузовой лебедки оба барабана имеют одинаковый
диаметр, равный 700 мм. Однако конструкция обоих барабанов различная: барабан 5
выполнен цельнолитым и крепится на ведомом валу лебедки на шпонке; барабан 6
сборный. В качестве ступицы барабана использовано храповое колесо 8,
закрепленное на том же валу шпонкой. В теле диска барабана 6 с внутренней
стороны сделаны шесть пазов под собачки 7 храпового устройства. Последние
пружинами постоянно прижаты к зубьям храпового колеса. С обеих сторон храповой
механизм ограничен двумя дисками 9, соединенными болтами с барабаном 6.
Наличие храпового устройства
внутри барабана необходимо для натяжения тягового каната при его удлинении.
Перемещение грузовых тележек
вдоль фермы осуществляется тяговой лебедкой с барабанами 12 и 13 (см. рис.
2.1.6.) посредством трех тяговых канатов 10, 11 и 14, два из которых огибают
концевые блоки 7 и 18 фермы. Концы канатов 11 и 14 закрепляются на барабанах с
различных сторон, поэтому при вращении вала барабанов один конец каната
свивается с барабана, а другой навивается.
Грузовая тележка (рис. 2.1.8.)
несет неподвижные блоки грузового полиспаста, поддерживающего траверсу со
звеном. Рама тележки состоит из двух сварных боковин 1, соединенных болтами с
распорными втулками. В средней части тележки на осях 5 на подшипниках попарно
посажены блоки б. По концам рамы с обеих ее сторон на осях 3 укреплены
балансиры 2 с безребордными опорными катками 4, которыми тележка передвигается
по нижним полкам главной балки фермы. Для лучшего направления тележки вдоль
балки с обеих сторон боковин укреплены кронштейны 8, в которых на осях
укреплены безребордные ролики 9. для разведения балок канатных поддержек в
стороны для прохода через них в нижней части боковин тележки приварены
направляющие лыжи 7, а для воздействия на конечные выключатели ограничителей
хода тележки верхние части боковин снабжены планками, сужающимися по концам.
Тяговые канаты коушами 10 крепятся на втулках крайних болтов, скрепляющих
боковины.
Рис. 2.1.8 Грузовая тележка
Траверса (рис. 2.1.9.) для
крана служит грузозахватным устройством. Она представляет собой коробчатую
балку 2, по концам которой шарнирно закреплены две поперечные
полуавтоматические траверсы 1 и 5 с клещевыми захватами, а для подвешивания к
ферме крана - подвижные блоки 3 грузового полиспаста, свободно посаженные на
осях 4. Траверсы обеспечивают полуавтоматический захват головок рельсов типов
Р50, Р65 и Р75. Конструкцию и работу траверс можно проследить по рис. (2.1.9.
б, в). Внутри коробчатой балки 1 расположены две пары челюстей 2 для захвата
головок рельсов звена, два стопора 8 с коленчатыми рычагами 9 и противовесами
10, рукоятка 15 для ручного освобождения стопоров, рукоятка 14 с тягой 12 для
выключения замковых рычагов 6, стержни 5, соединенные с челюстями и толкателем
3, опирающиеся на головки рельсов. Для управления двумя стопорами от одной
рукоятки предусмотрена рычажная передача, имеющая три канатика 11 и двуплечий
рычаг 13. За счет пружины 7 замковые рычаги 6 постоянно прижаты к большему или
меньшему диаметру стержней 5. При опускании траверс на звено за счет веса
грузозахватного устройства челюсти траверс разводятся в разные стороны,
рукоятка 15 запирается в крайнее правое положение, при этом оба стопора 8
устанавливаются в выключенное положение. При поднятии траверс грузовыми
канатами челюсти надежно захватывают головки рельсов звена. Для раскрытия
челюстей и снятия траверс со звена его опускают до соприкосновения с балластом
или звеном, рукоятки 14 перемещают вправо, а затем отпускают, рукоятку 15
перемещают влево. Тогда за счет противовесов 10 стопоры 8 выдвигаются в
наружные стороны и удерживают челюсти от закрывания при последующем поднятии
траверс.
Рис. 2.1.9. Траверса УК-25/9-18
Ограничители подъема (рис.
2.1.10.) предохраняют ферму крана и грузоподъемное оборудование от перегрузок.
На кране установлено два ограничителя подъема, неподвижно укрепленных на ферме
над стойками крана. Основой прибора служат два цилиндра б, расположенных по
вертикали. В них вставлены пружины 7, один конец которых неподвижен, а другой
соприкасается с упорной шайбой 5. Пружина сжимается на расчетное усилие фланцем
2 и тремя болтами 1. К упорной шайбе с помощью гайки 3 и полусферы 4
присоединена тяга 8, выходящая за пределы цилиндра. К двум таким тягам валиками
9 и 10 крепятся серьги 11 с прикрепленным к ним при помощи пальца 12 и коуша 13
концом грузового каната. Когда кран поднимает звено с железобетонными шпалами,
нагрузка от каната равномерно распределяется на оба цилиндра. Если кран
работает с деревянными шпалами, то верхний валик 9 снимают и тогда усилие
Каната приходится только на нижний цилиндр.
В нижних цилиндрах обоих
ограничителей подъема выфрезерованы пазы, через которые в упорную шайбу завинчивается
палец 16. На палец надета рейка 20, находящаяся в зацеплении с шестерней 15.
укрепленной на валу 14 в корпусе привода конечного выключателя. На выходной
конец вала насажен рычаг 17, касающийся ролика 18 конечного выключателя 19.
Ограничители подъема регулируют таким образом, чтобы при подъеме груза каждой
тележкой, равной 11700 кг, происходил разрыв электроцепи в конечном выключателе
и электродвигатель грузовой лебедки выключался.
Если кран работает на
грузоподъемность до 9 т, пружины цилиндров регулируют на грузоподъемность
каждой тележки в 5500 кг. После окончательной регулировки ограничителя подъема
передние крышки корпусов и рычаги пломбируют. Производить подъем груза с
отключенным или неправильно отрегулированным ограничителем подъема запрещается.
Рис. 2.1.10 Ограничитель
подъема
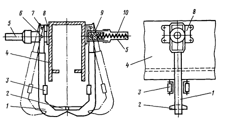
Канатные поддержки (рис.
2.1.11) предназначены для уменьшения провисания канатов. Они равномерно
расположены вдоль всей фермы. Каждая из шести пар поддержек представляет собой
изогнутые в нижней части рычаги 1, шарнирно прикрепленные своей верхней частью
осями 7 к корпусу 8. Последний болтами прикреплен к главной балке 4 фермы. В
корпус свободно вставлен направляющий стакан 9, соединенный с рычагом при
помощи валика 6. Рычаг в месте соединения с корпусом имеет форму рамки. Для
возможности соединения стакана с рычагом в корпусе под валик выфрезерованны
пазы. Снаружи корпус заканчивается резьбой, на которую навинчен колпак 5.
Пружина 10, расположенная между стаканом и колпаком, прижимает оба рычага друг
к другу. Изогнутая часть рычагов несет на себе подушки 2 из алюминиевого
сплава. Они и поддерживают канаты. Подушки обоих рычагов соединяются в замок,
что исключает заклинивание канатов между ними. При подходе крановой тележки к
канатной поддержке направляющие лыжи тележки, воздействуя на ролики 3. разводят
рычаги поддержки в противоположные стороны, пропуская тележку, после чего
пружины возвращают их в исходное положение. На рисунке тонкой линией изображены
рычаги, раздвинутые в стороны, а контуром - исходное положение рычагов.
Рис. 2.1.11. Канатная поддержка
Ограничители хода грузовой
тележки. Они установлены по обоим концам фермы и предназначены для отключения
электродвигателя тяговой лебедки при подходе тележки к крайнему положению. Лыжа
рамы тележки при подходе к ограничителю нажимает на концевой упор, заходящий
внутрь балки фермы и, выдвигал его, воздействует на рычаг конечного
выключателя. Последний размыкает цепь контактора, тем самым разрывая цепь
электродвигателя тяговой лебедки. Движение тележек в обратном направлении
осуществляется реверсированием двигателя лебедки.
Крепление фермы и ее перетяжка.
В транспортном положении ферма установлена симметрично относительно средней оси
фермы и опирается на четыре откидные балки. В рабочем положении она опирается
на каретки стоек в четырех точках, при этом две передние опоры на ферме
являются балками средней части, которые жестко приварены к ферме, а две другие
задние опоры являются откидными балками. Наличие на ферме восьми откидных балок
и четырех опор позволяет выдвигать ферму в одну или другую сторону и
устанавливать ее в среднее положение. На концах откидных балок имеются опорные
балки, которые при соединении с балансирами кареток закрепляются от вертикальных
перемещений в замок. Закрепление фермы от продольных перемещений на каретках
осуществляется специальными болтами. Устройство для передвижения фермы состоит
из четырех консольных балок, постоянно установленных на каретках стоек. На
каждой консольной балке имеется балансир с двумя ребордчатыми роликами, на
которые опирается ферма крана, пои ее перекатывании. Передвижение фермы
производится только при опущенном положении фермы.
Взаимное положение различных
узлов при перетяжке фермы показано на (рис. 2.1.12.) для перетяжки крановые
тележки 3 и 5 устанавливаются в такое положение, при котором дополнительный
канат 6 мог бы быть закреплен за одну из консольных балок 2 или 7. затем
вывинчивают стопорные болты откидных балок и включают в работу тяговую лебедку
4. При этом ферма начинает поступательно перемещаться в нужную сторону, до тех
пор, пока соответствующие опорные балками не дойдут до балансиров кареток
крана. В этом положении ферму необходимо снова закрепить болтами.
Рис. 2.1.12. Схема перетяжки
фермы
Управление краном
осуществляется с двух постов: нижнего и верхнего. Нижний пост управления
аналогичен посту управления моторной платформы, дополнительно здесь установлен
рычаг управления золотниковым распределителем гидравлической системы. Верхние
посты расположены по обеим сторонам средней части фермы. Управление грузовой и
тяговой лебедками контроллерное, при помощи двух рычагов с цепными передачами.
Сигнал при работе подается нажатием кнопки. Напротив сиденья кранооператора на
ферме расположен щиток приборов, на котором размещены выключатель осветительных
ламп пульта управления, кнопка Пуск, амперметр, вольтметр, рубильник,
выключатели освещения фронта работ и предохранители.
3. Основы расчёта
.1 Расчёт параметров грузовой лебёдки для
кранов, у которых подвешивается к двум траверсам (рис. 4.1), нагрузку R2
,Н на переднюю тележку можно найти из уравнения моментов относительно точки 1
Поскольку при изменении направления укладки
звеньев канаты перепасовывают с одной тележки на другую и задняя тележка
становится передней, канат для второго барабана принимают таким же, как и для
первого. Звено захватывается одной длинной траверсой (Ltp
=12,8 м), которая подвешивается к передней и задней грузовым тележкам на двух
четырёхкратных полиспастах, центр тяжести подвешенного звена смещён от середины
траверсы по направлении к крану на f
= 0,5 м, а расстояние межlу
полиспастами составляет Ь2 =7м.
Рис. 4.1. Расчётная схема подвески звена к
укладочному крану УК-25/9.
Нагрузка от подвешенного звена на четырехкратные
полиспаст, Н: передний полиспаст
(4.1.2)
задний полиспаст
(4.1.3.)
здесь R1 > R2, поэтому
канат рассчитывают на усилие R1, а усилие в канате будет равно
(4.1.4)
где а - кратность полиспаста (а =
4);
кпд блока на подшипниках качения (
0,97-0,98).
Крутящий момент на выходном валу редуктора
лебёдки от двух барабанов, H
м,
(4.1.5)
Скорость наматывания каната, м/с,
(4.1.6)
Мощность электродвигателя привода
лебёдки, кВт
(4.1.7)
где
кпд, двукратного полиспаста и двух
обводных блоков;
. барабана (
=0,97) и
редуктора.
.2 Растёт параметров тяговой лебедка
Усилие в тяговом канате преодолевает
сопротивления, возникающие при движении грузовых тележек с подвешенным звеном,
и сопротивление в обводных блоках тягового каната.
Сопротивление, Н: от сил трения на
уклоне
(4.2.1)
от подъёма на уклоне
(4.2.2)
в грузовых блоках при перекатывании
по ним грузового каната
(4.2.3)
от провисания тягового каната из-за
разницы натяжений тягового каната с одной и другой сторон тележки
(4.2.4)
Натяжение тягового каната, н
где
- масса 1м каната, кг/м;
-
максимальная длина свободно висящего тягового каната, м;
- провисание
тягового каната:
Сопротивление силы давления ветра на
торец звена, Н,
(4.2.5)
где
- давление ветра 490 Па;
- площадь торца звена с учётом его
провисания, м2, (
=0,7-0,8).
С учётом к.п.д. обводных блоков
тяговое усилие, Н
(4.2.6)
где
- масса звена, траверсы двух
грузовых тележек, кг;
- диаметр колеса тележки, см;
- коэффициент трения качения колеса
о беговую дорожку стрелы (
= 0,04-0,06);
- коэффициент зрения в подшипниках
качения колёс (
=0,02);
- диаметр цапфы колеса, см;
- коэффициент увеличения трения
реборд колёс о полки стрелы (
= 1,5-1,8);руководящий уклон пути (i
= 0,12);
а- кратность полиспаста;
- к. п. д. блока.
Мощность электродвигателя привода
лебёдки для установившегося движения, кВт
(4.2.7)
где
- скорость наматывания каната, м, (
=1,5м/с);
- к. п. д. барабана (
=0,97-0,98)
и редуктора (
=0,9-0,92).
При разборке пути на подъёме нужно
учитывать сопротивление передвижению грузовых тележек от прогиба стрелы, Н,
(4.2.8)
где
- прогиб стрелы в месте расположения
передней тележки, см;
(а+b) - длина
консоли стрелы, см.
3.3 Устойчивость укладочного крана в
рабочем режиме
Устойчивость укладочных кранов
должна быть достаточной в наиболее неблагоприятных условиях, то есть в тот
момент, когда на платформе нет звеньев, а укладываемое звено выдвинуто вперёд и
подвешено к стреле. По правилам Гостехнадзора определяют коэффициенты грузовой
устойчивости
и
собственной устойчивости
.
Коэффициентом грузовой устойчивости называют отношение удерживающего момента,
создаваемого нагрузками от веса частей крана относительно ребра опрокидывания
(УК-25/9 относительно подпятника передней тележки) за вычетом моментов от сил
инерции и ветровой нагрузки, к опрокидывающему моменту, создаваемому грузом,
траверсой и грузовыми тележками. Коэффициент грузовой устойчивости
(4.6.1)
Для крана УК-25/9 момент. Нм
(4.6.2)
где МG- момент от
веса частей крана, Нм;
,5GTl)-удерживающий
момент, создаваемый половиной веса задней ходовой тележки.
Суммарный момент от сил инерции,
возникающих при торможении грузовых тележек вместе со звеном
(4.6.3)
где
- масса грузовой тележки, траверсы и
звена, кг;
- замедление тележек со звеном при
их торможении в конце хода, м/с:
=2-2,3;
- высота центра тяжести грузовой
тележки над горизонтальной плоскостью подпятника, м (
= 4,56 м ).
Суммарный момент от ветровой
нагрузки для укладочных кранов
(4.6.4)
где
- давление ветра, которое по нормам
расчёта вагонов принимается равным 490 Па;

- подветренная площадь стрелы, двух
стоек одного портала, траверсы и звена, м2;
- высота центра давления ветра от
плоскости подпятника до стрелы, стоек, траверсы и звена, м.
Грузовой момент для крана
УК-25/9-18, Н м,
(4.6.5)
где
- масса звена, кг;
- длина звена, (
=25 м);
f -
несоосность центров тяжести звена и траверсы, f = 5 м
По правилам Гостехнадзора
коэффициент устойчивости определяется без учёта сил инерции и ветровой нагрузки
(4.6.6)
Собственную устойчивость крана
проверяют без груза (звена) на стреле, причём опрокидывающий момент создаётся
противовесом вокруг подпятника задней тележки и ветровыми нагрузками.
Коэффициент собственной устойчивости
(4.6.7)
МВ - момент от ветровой нагрузки,
действующий в ту же сторону опрокидывания, что и противовес, Н м.
.4 Производительность укладочного
крана
Производительность П укладочного
крана, м/ч зависит от времени укладки звена
’, с, и длины звена
, м
(4.8.1)
Для прямого участка пути
,где
- время
строповки звена;
- время подъёма звена на высоту
= 0,З-0,4 м
(
=
/
);
- средняя скорость подъёма, м/с;
-время передвижения тележки со
звеном, с, (
=
- путь разгона тележек со звеном (
0,5-0,8 м);
- путь движения тележек со звеном с
установившейся скоростью, м;
- тормозной путь (
=0,5 м);
-установившаяся
скорость (
=1,35-1,5
м/с);
время опускания звена со средней
высоты, с (
=
/
);
средняя
высота, м;
- скорость опускания звена, м/с (
=0,35- 0,45
м/с);
- время
стыковки заднего конца звена, окончательного опускания звена, расстроповки
звена, подъёма траверс на среднюю высоту, с (
)
скорость подъёма траверс, м/с (
= 0,35-0,45
м/с);
-время передвижения порожних тележек
на длину
, с (
=
/
;
- длина передвижения порожних.
тележек, м;
- скорость
движения порожних тележек, м/с (
=1,7-1,8 м/с);
- время опускания, с.
Укладочный кран с рабочей секцией
поезда передвигается на длину уложенного звена одновременно с передвижением
грузовых тележек, опусканием траверс и строповкой звена. Пакет звеньев
передвигается также одновременно с укладкой последнего звена и при хорошей организации
работы дополнительного времени на передвижение не требуется. Время цикла
укладки
можно
представить в виде циклограммы (рис. 4.8.1.). Цикл укладки звена на кривом
участке пути
увеличивается
на время, затрачиваемое на сдвиг переднего конца укладываемого звена на ось
пути и его изгиб. Остальные операции такие же, что и в цикле на прямом участке
пути.
Рис. 4.8.1 Циклограмма укладки звена
На прямом участке
=6+3+19+8+8+5+8+8+18+3=86
На кривом участке
=6+3+19+9+10+5+8+8+18+3=89
4. Мероприятия по обеспечению безопасности
движения поездов и при производстве механизированных работ
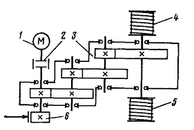
Порядок закрытия перегона и ограждения места
работ
Закрытие перегона или одного из путей
производится с разрешения начальника отделения дороги и по согласованию с
начальником службы движения, если предоставляемое "окно" не вызывает
изменения установленных размеров движения с соседними дорогами. Если такое
закрытие вызывает изменения установленных размеров движения и время прибытия
поездов на соседние дороги, оно может быть разрешено только начальником дороги
по согласованию с Управлением движения МПС (ЦД МПС).
Порядок ограждения мест производства работ
осуществляется в соответствии с Инструкцией по обеспечению безопасности
движения поездов при производстве путевых работ (ЦП/4402) с учетом требований
Инструкции по сигнализации на железных дорогах Российской Федерации.
При фронте работ более 200 м на расстоянии 50 м
от границы участка устанавливают красные сигналы, охраняемые сигналистами с
ручными красными сигналами. Когда место производства работ находится вблизи
станции, то ограждение производится переносным красным сигналом, установленным
по оси пути против входного сигнала или сигнального знака «Граница станции», с
укладкой трёх петард, охраняемых сигналистами. Места производства работ,
требующие следования поездов с уменьшенной скоростью на перегонах ограждают с
обеих сторон от границы участка работ на расстоянии 50 м переносными сигналами
«Начало опасного места» и «Конец опасного места».
Ограждение места работ
Технические требования на приемку отремонтированного
пути
Приемку отремонтированных участков пути
выполняют после проведения всего комплекса работ комиссионно под
председательством начальника дистанции пути.
В состав комиссии входят: исполнитель работ,
приемщик по качеству ремонта, дорожный мастер и бригадир пути.
При сдаче отремонтированных участков пути
составляется акт приемки выполненных работ по форме ПУ-48 и представляется
следующая техническая документация:
исполненный продольный профиль;
графики, отражающие состояние кривых участков пути
по стрелам прогиба;
выписка из ведомости состояния
отремонтированного пути по данным вагона-путеизмерителя (для станционных путей
- по данным путеизмерительной тележки или ручных промеров);
акт об укладке в путь сварных рельсовых плетей;
ведомость состояния стыковых зазоров и др.
5. Техника безопасности при работе на УК-25/9-18
При обслуживании машин необходимо соблюдение
следующих правил: нельзя допускать течей топлива и масла из баков и в
соединениях трубопроводов; во время стоянки и при запуске двигателя машина
должна находиться в заторможенном состоянии; перед запуском двигателя все
рабочие органы следует застопорить, при этом людям нельзя находиться под
машиной; не допускается производить осмотр, крепление, регулировку и ремонт
двигателя, компрессоров и других агрегатов с вращающимися или движущимися
частями при их работе; запрещается хранение и перевозка на машинах
легковоспламеняющихся веществ и применение их для протирки машин. При
эксплуатации машин запрещается пользоваться открытым огнём на машине и рядом с
ней; сходить и садиться на ходу машины, устранять неисправности пневматических
и гидравлических устройств, находящихся под давлением; подниматься на крышу
машины на электрифицированном участке; ремонтировать и устранять неисправности
рабочих органов, находящихся в поднятом состоянии. Выполнение путевых работ
впереди и сзади машины разрешается на расстоянии не ближе 50 м.Не допускается
работа машин в тёмное время суток при отсутствии необходимого освещения, во
время сильного тумана или при грозе. Машинисту, помощнику, операторам и
мастерам пути запрещено находиться в междупутье рядом с машиной. Перед началом
работ на вторых путях бригада, обслуживающая машину УК-25, должна узнать у
руководителя работ наибольший вылет стрелы крана. При работе соседние пути
следует ограждать сигналами остановки. Изоляцию электрооборудования
рекомендуется осматривать не реже одного раза в неделю и проверять мегомметром
не реже одного раза в месяц. Запрещается приступать к работе при наличии
неисправностей в машине.
Заключение
Таким образом, в ходе выполнения данной курсовой
работы я ознакомился с путевыми машинами применяемыми в путевом хозяйстве для
укладки РШР. А также согласно заданию подробно изучил устройство машин для
укладки РШР на примере УК 25/9-18. Согласно исходным данным произвел расчеты.
Список литературы
1.
Путевые машины. Под ред. Соломонова С.А. - М.: Транспорт, 1984.
.
Машины и механизмы для путевого хозяйства: Учебник для техникумов/ М.А.
Плохоцкий, С.А. Соломонов, А.Ф. Толмазов и др.; Под ред. М.А. Плохоцкого. - 2-е
изд., перераб. и доп. - М.: “Транспорт”, 1978. - 389 с.
.
Путевые машины и механизмы. Отраслевой каталог. 18-3-82. Часть 1. Москва 1982.
Каталог подготовили: В.Н. КОРОТКОВ, А.А. ЗАВЬЯЛОВ, Е.К. НОВИКОВ. Центральное
конструкторское бюро тяжелых путевых машин
Н.
Н. ЕЛСАКОВ, И. А. ЛАВРОВА. Проектно - технологическо - конструкторское бюро
Главного управления пути МПС. В.В. ФОМИН, В.П. ШМАКОВ. ПКБ
Главстрой-механизации К. П. СТУДНИЦЫНА, В. И. ЦЫГАНКОВА. ЦНИИТЭИтяжмаш.