|
Характеристики
|
Значения
|
|
1
Производительность фактическая, м/ч 2 Транспортная скорость, км/ч 3 Масса
машины, т 4 Экипаж чел/смен
|
до
2000 до 80 106,5 8-10
|
2. ОПИСАНИЕ
КОНСТРУКЦИИ И ПРИНЦИПА ДЕЙСТВИЯ ВЫПРАВОЧНО-ПОДБИВОЧНО-ОТДЕЛОЧНОЙ МАШИНЫ
Выправочно-подбивочно-отделочная машина (Рис.10)
предназначена для выполнения работ по чистовой дозировке выгруженного балласта,
выправки пути в продольном и поперечном профилях и плане, а также для планирования
балластной призмы и уплотнения ее со стороны откосов.
Выправочно-подбивочно-отделочные работы могут
выполняться машиной в комплекте с другими работами, раздельно и в комплексе
машин, применяемых при капитальном, среднем и подъемочном ремонтах пути.
Путевая машина ВПО - тяжелого типа, непрерывного
действия и высокой производительности представляет собой несамоходную единицу.
Дозировка балласта, подъемка, сдвижка пути и выправка его в поперечном профиле,
оправка и уплотнение балластной призмы производится согласно принятой
технологии механизированных путевых работ.
Подбивка шпал выполняется со стороны их торцов
вибрационным способом с применением безинерционного пригруза. Достигается это
тем, что Подбивочные элементы - виброплиты большой длины расположены под углом
к оси пути. Виброплиты совершая два движения: колебательное (перпендикулярно
оси пути) относительно точек подвеса плит к раме машины и поступательные
(вместе с машиной) вдоль пути, производят виброуплотнение с одновременным
обжатием слоя балласта.
Исполнительные органы машины монтируются на ее
несущей металлической раме, установленной на двух тележках. Передняя тележка
трехосная, приводная, на ней установлен механизм выключения рессор. Машина
имеет ручное (кнопочное) и автоматическое управление. Электродвигатели
вибраторов и системы управления питаются от электростанции, установленной на
раме машины в будке. Так же там смонтированы пульт управления дозатором и
измерительными рамками. В задней будке находится центральный пульт управления и
хозяйственное помещение. Машина оборудована автосцепкой, пневматическим и
ручным тормозами, звуковой и световой сигнализацией и средствами связи.
Несущая конструкция машины состоит из двух ферм
со сплошной стенкой. Сечение фермы представляет собой двутавр.
Исполнительные органы машины смонтированы на ее
несущей конструкции в последовательном порядке, удовлетворяющем условиям
технологии производства путевых работ.
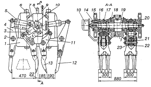
К исполнительным органам (Рис. 11) относятся:
дозатор; рельсовые щетки; механизм подъема, сдвига и перекоса; вибрационные
уплотнители балластной призмы (правый и левый); струнка; планировщик откосов;
механизм выключения рессор (задней ходовой тележки); вибрационные уплотнители
откосов балластной призмы (правый и левый).
Дозатор используется для чистовой дозировки
выгруженного из хоппер-дозаторной вертушки щебня, оправки балластной призмы и
частичной вырезки щебня со стороны междупутья для прохода виброплит. Схема и
конструкция дозатора, соответствует дозатору исполненном на электробалластере
ЭЛБ-1. отличие состоит в том, что угол раскрытия боковых крыльев изменяется с
помощью телескопических распорок установленных сзади (по ходу машины) крыльев.
Длина распорок регулируется винтовым механизмом. Для нарезки в междупутье
траншей в балластном слое крылья дозатора оборудуются специальными съемными
плугами.
Рис. 11 размещение на ферме рабочих органов:
,8-тележки; 2-дозатор; 3-рельсовая щетка;
4-виброплита; 5,7-механизм подъема, сдвига и перекоса путевой решетки;
6,9-планировщик и уплотнитель откосов; 10-шпальные щетки; 11-выбросной
конвейер.
Рельсовые щетки предназначены для очистки от
щебня головок рельс (после прохода дозатора) для беспрепятственного прохода
электромагнитов и ходовых частей задней тележки машины. Автоматическое
устройство обеспечивает прижатие рельсовых щеток к головкам рельсов независимо
от продольного профиля пути и величины его подъемки.
Каждая из виброплит с помощью рессорных подвесок
шарнирно крепится к продольным балкам двух поворотно-подъемных кронштейнов,
смонтированных на боковых трубчатых стойках фермы машины. Подъем и опускание
кронштейнов производится с помощью винтовых пар вмонтированных в трубчатые
направляющие стойки.
Для приведения виброплит в рабочее транспортное
положение применяются телескопические распорки.
Виброплиты закрепляются на продольных балках
подъемно-рихтовочных кронштейнов с помощью рессорных подвесок. Во внутренней
плоскости виброплит на шести вертикальных валах, закрепленных в шарнирных
подшипниках, на шпонках посажены шестерни. К шестерням прикреплены дебалансы.
Планировщик используется для засыпки торцов шпал
и планировки откосов балластной призмы (после прохода виброплит). Конструктивно
планировщик с механизмами подъема, изменения наклона и поворота крыльев
выполнен также как и дозатор. Но отличием является то, что планировщик имеет
только боковые крылья, т. е. у него отсутствует поперечный щит.
Для восстановления откосов балластной призмы и
придания им необходимого уклона на крыльях планировщика поставлены секторные
ножи и несколько изменены очертания планирующей кромки. Корневые крепления
крыльев перемещаются по трубчатым направляющим, смонтированных на ферме машины.
Рис. 12 Рельсовые щетки:
-металлические плужки; 2-спиральные пружины;
3-поперечная балка; 4-рычаг; 5-соеденительное звено; 6-подъемный винт;
7-червячный редуктор; 8-ролики; 9-вертикальные балки; 10-микропереключатели;
11-фиксирующие валики; 12-рама; 13,15-ролики; 14-поперечные балки; 16-тросовые
щетки.
Вибрационный уплотнитель откосов балластной
призмы (Рис. 16). Незначительные пустоты, неуплотненный балласт под концами
шпал и на откосах призмы вызывает быстрое появление остаточных деформаций пути
и их интенсивное нарастание. Уплотнитель откосов, установленный на машине
ВПО-3000, исключает возможность появления подобных недостатков.Уплотнитель
откосов состоит из двух виброуплотнительных механизмов, симметрично
расположенных по отношению к оси пути и смонтированных на несущей конструкции
машины под задней ходовой тележкой. Рабочим органом уплотнителя откосов
является виброплита, внутри которой смонтированы в шариковых подшипниках три
вала, с неуравновешенными дебалансами.
Рис.13 Виброуплотнительные плиты:
-уплотнительная плита; 2-механизм подъема;
3-концевой выключатель; 4-продольная балка; 5-телескопическая распорка;
6-балка; 7-кронштейн; 8-колона; 9-рама; 10-валик; 11-листовые рессоры;
12-винтовая стяжка.
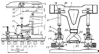
Рис. 14 Механизм подъема, сдвига и перекоса
пути:
-электромагнит; 2-поперечная балка; 3-валик;
4-механизм подъема; 5-шкала-указатель; 6,14-кожух; 7-реверс-редуктор;
8-редуктор; 9-поперечная балка; 10-концевой выключатель; 11-механизм сдвига;
12-плужок; 13, 18-ролики; 15-электродвигатель подъема; 16-подъемный винт;
17-рама; 19-подвеска; 20-винтовая стяжка; 21-рихтующий ролик; 22-ограничивающая
скоба.
При вращении дебалансов возникает возмущающая
сила. Подъем и опускание виброплиты производится специальным механизмом
подъема. В транспортном положении уплотнитель на винтовые растяжки.
Шпальные щетки применяются для обметания
балласта со шпал и удаления его на обочину пути и представляют собой
вращающийся щеточный барабан (Рис. 17), подвешенный на кронштейнах снизу
заднего конца несущей конструкции машины.
Рис. 15 Планировщик откосов:
-втулка; 2- корень; 3- планировочное крыло;
4-тяга; 5-подкрылок; 6-откидные щиты; 7-закрылок; 8-штырь; 9, 11, 12-оси;
10-секторный нож; 13-съемный нож.
Рис.16 Уплотнитель откосов:
-откосная виброплита; 2,16-рамы;
3,14-электродвигатели; 4-параллелограмная подвеска; 5-рейка; 6-механизм
подъема; 7, 11-резино-металлические втулки; 8, 12, 18-оси; 9-листовые рессоры;
17-ходовой винт; 19-кожух; 20карданный вал.
Вал барабана закреплен по концам в подшипниках
продольной (по отношению к оси пути) и горизонтальной поставленной рамы, на
которой монтируются узлы привода щеточного барабана и поперечный ленточный
транспортер. Подъем и опускание рамы производится с помощью двух винтов и
червячных редукторов с приводом от электродвигателя. Редукторы соединены между
собой карданным валом. При работе щеточный барабан вращается в направлении, противоположном
движению машины.
Рис. 17 Рельсовые щетки:
-концевые выключатели; 2-челюсть; 3-ходовой
винт; 4-щеточный барабан; 5-ленточный транспортер; 6-кожух; 7-червячный
редуктор; 8,9-электродвигатели; 10-карданный вал; 11-карданношлицевоц вал; 12-вал
червячного редуктора; 13-винтовая стяжка; 14-подкрылок; 15-тяга; 16-тросовая
щетка; 17-электродвигатель; 18-редуктор.
3.
ТЕХНОЛОГИЯ ПРОИЗВОДСТВА РАБОТ МАШИНЫ НА РЕМОНТАХ ПУТИ
Машина ВПО непрерывного действия применима на
всех видах ремонта и текущего содержания пути, применяемых на железных дорогах.
Работу машины целесообразно организовывать по скользящему графику,
установленному службой пути дороги. Опыт работ машины показывает, что качество
выполнения его работы по выправке ремонтируемого пути и по стабилизации
балластной призмы зависит не только от квалификации бригады, обслуживающей
машину, но и не меньшей степени определяется также обеспеченностью
ремонтируемого участка балластом, правильно выгруженным на путь.
Средний и капитальный ремонт пути машиной ВПО
предусматривает две выгрузки щебеночного балласта, нового - один раз. Первая
выгрузка щебня предназначена для подготовки основания ремонтируемого пути.
Щебень выгружают перед работой машины на старую путевую решетку после выгрузки
из междупутья и из шпальных ящиков грязного песчаного балласта.
Эксплуатация машины показывает, что наиболее
устойчивый путь получается при работе машины с подъемкой пути 3÷7
см.
Для того чтобы не выправлять путь за два прохода машины при минимальной
подъемке, необходимо при первой выгрузке в путь уложить основную массу щебня.
Второй раз щебень выгружают в меньшем объеме, чем в первый. При второй выгрузке
70÷75%
щебня
должно быть уложено по сторонам пути (на концы шпал) и 25÷30%
на
середину пути (для достаточного заполнения шпальных ящиков). Щебень,
выгруженный на концы шпал, при выправочной подъемке пути машиной, подбивается
основными уплотнительными плитами под путевую машину. Часть его, обрушенная
плитами на обочину земляного полотна и в междупутье, подбирается планировщиком
откосов, идущим вслед за основными уплотнительными плитами, и укладывается по
концам шпал. Уплотнитель откосов придает балластной призме окончательные
проектные размеры и очертания. Для обеспечения такого распределения балласта
его выгружают из каждых двух хоппер-дозаторов на концы шпал на отметке
стопор-фиксаторов - 5-0, а из каждого третьего - на середину пути на отметке
15.
Подъемку пути на большую величину осуществляют
за два прохода машины. Первый раз машина поднимает путь по заданной программе до
7 см на фронте основных работ, а второй раз на 3÷5 см
с окончательной постановкой на проектные отметки на фронте отделочных работ.
Второй проход машины на отделочных работах целесообразно производить в
следующее очередное «окно» перед началом работы машины на фронте основных
работ.
Для работы машины на подъемочном ремонте пути в
графике движения поездов должно устанавливаться «окно», продолжительность
которого определяют в зависимости от фронта работ из расчета примерно 1час на 1
км железнодорожного пути. Если в графике движения поездов заложены
технологические «окна», то они могут быть использованы для работы машины на
подъемочном ремонте пути.
При движении по перегонам машину необходимо
включать в состав поезда, отметив в предупреждении машиниста поезда о
разрешенной скорости транспортирования машины 80 км/ч. Также при работе в
«окно» тяговым элементом является локомотив, так как машина ВПО не самоходная.
.
КИНЕМАТИЧЕСКИЕ И ПРОЧНОСТНЫЕ РАСЧЕТЫ
Расчет геометрических параметров
виброплиты.
К геометрическим параметрам виброплиты можно
отнести: длину уплотнительного клина - bр,
высоту
- α, и угол атаки - β к
оси пути уплотнительных клиньев. Эти параметры непосредственно влияют на
степень уплотнения балласта, так как определяют объем подаваемого в подшпальную
зону щебеночного балласта.
Рис. 18 Схема к расчету виброплиты
Длину уплотнительного клина определяем по
формуле:
, (1)
где: Vн - скорость
движения машины при уплотнении, м/с Vн =3
км/ч=0,84 м/с;
β - угол атаки, принимаем β=8
÷160;
- минимальное время вибрирования
щебня, принимаем
=5÷7 сек.
м
Определим высоту уплотнительных
крыльев.
, (2)
где: Ер - коэффициент,
учитывающий заданную степень плотности призмы, принимаем Ер =2,23÷2,33;
l - длина
шпалы, l=274 см;
h - толщина
балласта под шпалой, принимаем h=25÷45см;
Δh - высота
подъемки пути при уплотнении, принимаем Δh =5 см;
Сшп - расстояние между
осями шпал, Сшп = 55 см;
mшп - ширина
шпалы, mшп =24 см;
ψ - коэффициент учитывающий
приток балласта под шпальную зону, принимаем ψ=0,85÷1,05;
gз - величина
захода плиты за конец шпалы, gз =10÷16см.
см
Высоту уплотнительных крыльев
принимаем 20 см.
Усилия подъема и сдвига
рельсошпальной решетки.
Рис. 19 Схема приложения сил при
подъемке и сдвиге пути
где Е - модуль упругости рельсовой
стали
, принимаем
Е=2.1
- соответственно моменты инерции
поперечного сечения рельса относительно горизонтальной и вертикальной осей,
h,f - подъем и
сдвиг путевой решетки в точках приложения сил
, h=f=10см;
- равномерно распределенная нагрузка
от веса рельсов, шпал, скреплений,
,
;
- длина полуволны поднятой путевой
решетки от точки приложения силы
до точки, не имеющей подъемки, см:

- расстояние от точки приложения
силы
до оси
ближайшей колесной пары,
=3460мм;
- коэффициент сцепления шпал со
щебеночным балластом, для железобетонных шпал,
=1.2;
G - вес
сдвигаемой путевой решетки, Н;
;
- вес вывешенной путевой решетки, Н
;
;
- коэффициент сопротивления балласта
сдвигу,
;
=9.5
- число сдвигаемых шпал,
;
t - среднее
расстояние между осями шпал, t =550 мм;
- длина полуволны сдвигаемой путевой
решетки от точки приложения силы
до точки, не имеющей сдвижки, см
- ширина шпалы,
=240 мм
- заглубление шпалы в балласт,
=200мм
L - зона
выклинивания балласта при сдвиге L=20 см
- равномерно распределенная нагрузка
от сопротивления балласта сдвигу пути, Н/см;
=95 Н/см;
G=
=70.6(346+346)=48855.2
H
Расчет потребной мощности для работы
виброплит.
При уплотнении мощность виброплит
расходуется на: поддержание колебательного процесса с заданной амплитудой,
преодоление внешних сопротивлений и внутренние потери.
, кВт (3)
где: Nупл - мощность,
расходуемая на: уплотнение балластной призмы, преодоление сил инерции
балластного материала и трения виброплит о балласт, кВт;
Nо(н) - мощность,
расходуемая на преодоление боковых сопротивлений, сил инерции, сил трения
виброплит о балласт со стороны обочины пути и междупутья, кВт
Nх(р) - мощность,
расходуемая на преодоление внутренних потерь виброплиты при холостом и рабочем
режимах ее колебаний, кВт.
, (4)
где: Свупл -
приведенный коэффициент вязкого сопротивления среды колебаний, Свупл =
(45÷75)·10-3 Нс/м;
А - амплитуда колебаний, принимаем
А=5÷7
мм;
ω - угловая скорость колебаний,
принимаем ω
=180÷200 с-1.
, кВт
, кВт (5)
где: hв - величина
погружения виброплит в балласт, принимаем hв =50÷55см;
γ - объемный вес балласта,
принимаем γ=1700÷2000
кг/м2;
ε(о)н -
коэффициент учитывающий работу виброплиты со стороны обочины
ε(о)н =0,75 , и
междупутья ε(о)н =1.
, м/с (6)
м/с
кВт
кВт
, кВт
кВт
Мощность при уплотнении виброплит
будет ровна:
кВт
Определим мощность электродвигателя
привода виброплиты с учетом КПД передачи (ηп =0,96) и
коэффициента запаса на неученые в расчете сопротивления ( ε =1,15 ).
, кВт (8)
кВт
Тяговый расчет машины.
Обще сопротивление движению машины
ВПО непрерывного действия, возникающее при взаимодействии ее рабочих органов с
балластом и путевой решеткой, определяется по формуле:
, кН (9)
где: Wосн - основное
сопротивление движению машины, кН;
Wупл -
сопротивление движению машины от виброплит, кН;
Wотк -
сопротивление движению от уплотнителей откосов, кН;
Wвсп -
сопротивление движению машины, возникающее от вспомогательного оборудования,
кН.
Эти сопротивления должны
преодолеваться силой тяги машины.
, кН (10)
где: ξ - коэффициент
запаса тягового усилия на неучтенные сопротивления, принимаем ξ =1,2.
Основное сопротивление движению
машины и сопротивление от вспомогательного оборудования (дозатор, рельсовые
щетки, магниты и рихтующие ролики, планировщики, рассекатели, шпальные щетки)
определяем по тяговому расчету электробалластеров.
Тяговые сопротивления виброплиты
возникают от сил Р уплотнения, контактирующих поверхностей виброплиты о
балласт (Рис. 20).
Рис. 20Схема сопротивлений
виброплиты.
Силы сопротивления движению
виброплиты складываются из следующих составляющих:
, кН (11)
где:
- сопротивление движению виброплиты
в направлении m-m от удельных
сил уплотнения, кН;
- сопротивление трению рабочей
площади виброплиты о балласт, кН
- сопротивление трению защемленной
или новой части виброплиты о балласт, кН.
. кН (12)
где: ρ - удельное давление
на рабочую площадь при виброобжатии, принимаем ρ =70÷120 Н/см2
.
кН
, кН (13)
где: μ - коэффициент
трения виброплиты о балласт, принимаем μ=0,45.
кН
, кН (14)
F - площадь
защемленной клиновой части виброплиты,
F=8000÷10000
см2;
γ - угол между направлением
колебания виброплиты и абсолютной скоростью, град.
(15)
ε - коэффициент, учитывающий
трение плиты о балласт ε=1,5.
машина ремонт путь
прочностный
кН
Тогда
кН
Сопротивление перемещению
уплотнителей откосов :
, кН (16)
где: kt -
коэффициент, учитывающий эффект вибрации, определяется:
Qотк -
нормальная составляющая сила пригрузки от одного уплотнителя откосов на
балласт, Н.
Работа без уплотнителей откосов.
Основное сопротивление определим по
формуле:
, кН (17)
где: Gм - вес
машины, Gм =1065 кН;
- основное удельное сопротивление,
зависящее от типа подшипников колесных пар, нагрузки на ось, скорости движения,
наличия привода перемещения, Н/кН., для самоходных машин с приводными тележками
тепловозов
=1,9+0,01V+0,0003V2, где V - скорость
движения, км/ч, для машин со скоростями 0÷10 км/ч в
расчетах принимаем V=3 км/ч.
=1,9+0,01·3+0,0003·32=1,93
Н/кН
кН
Сопротивление при движении в кривой.
, кН (18)
где:
- удельное сопротивление при
движении машины в кривой, н/кН. Радиус кривой примем усредненного значения.
Н/кН
Тогда
кН
Сопротивление от уклона пути.
Величину уклона пути примем среднюю.
, кН (19)
кН
Тогда основное сопротивление будет
равно:
кН
Рассчитаем сопротивление от
вспомогательного оборудования. При дозировке балласта в путь могут быть два
случая характерного нагружения дозатора: 1- симметричная нагрузка на два
раскрытых крыла и щит дозатора, возникающая на кривом участке пути, имеющего
возвышение рельса на 150 мм. При этом наружное (полевое) крыло повернуто на
наибольший угол (
) , имеет
наибольшую ширину захода и находится в самом низком положении. По условиям
прочности дозатора второй случай нагружения является самым приемлемым.
При симметричной нагрузке на дозатор
действует несколько сил (Рис.21)
Рис. 21 Схема симметричной нагрузки
на два крыла и щит дозатора.
Сопротивление движению дозатора
определяется по формуле:
, кН (20)
где: W1 -
сопротивление балласта резанию;
W2 -
сопротивление трения балласта о балласт перед щитом и перед двумя крыльями;
W3 -
составляющая силы трения от двух крыльев, направленная вдоль машины по оси «Х»;
W4 - сила
трения нижних кромок крыльев о балласт;
Определим сопротивление резанию
балласта.
, кН (21)
где: k - удельное
сопротивление резанию, k=(60÷90)·103 Н/м2;
hщ - глубина
резания щебня щитом, принимаем hщ =2,2 м;
Sстр - площадь
сечения стружки, равна суммарной площади проекции стружки, срезаемой крылом, на
площадь перпендикулярную продольной оси машины, м2;
Площадь сечения стружки определим по
формуле:
, м2 (22)
где: hкор - глубина
резания щебня корнем крыла, принимаем hкор =0.25 м;
hкр.ср - средняя глубина
резания, принимаем hкр.ср =0,2 м;
hп.кр - глубина
резания подкрылком, принимаем hп.кр =0,1 м;
lкор - длина
корня крыла, принимаем lкор =0,95 м;
lкр - длина
крыла, принимаем lкр =2,3 м;
lп.кр - длина
подкрылка, принимаем lп.кр =0,75 м;
a1 - угол поворота крыла, принимаем a1 =370;
b1 - угол наклона крыла к горизонту,
принимаем b1 =200.
м2
Тогда сопротивление резанию балласта
равно.
Н
Определим сопротивление трения
балласта о балласт перед щитом и перед двумя крыльями, W2.
, Н (23)
где: zб -
коэффициент внутреннего трения балласт о балласт, принимаем zб =0,6¸0,8;
g
- плотность балласта, принимаем g
=2000 кг/м3;
g - ускорение
свободного падения, g =9,81 м/с;
Vщ - объем
щита перемещаемого перед щитом балласта, м3;
, м3
м
- объем перемещаемого балласта перед
каждым крылом, м3;
, (24)
где: Нкор - высота корня
крыла, Н=1м;
Нкр.ср - средняя высота
крыла, принимаем Нкр.ср =0,85 м;
Нп.кр - высота подкрылка,
принимаем Нп.кр =0,85 м.
м3.
Получим сопротивление трения
балласта о балласт перед щитом и перед двумя крыльями W2 .
Н
определим составляющую силы трения
от двух крыльев направленной вдоль машины по оси X, W3.
, кН (25)
где: Wпр - сила
трения балласта о крыло, направленная вдоль крыла,
кН (26)
где: zбк -
коэффициент трения балласта о сталь крыльев, zбк =0,4
Н
Тогда
Определим силу трения нижних кромок
крыльев о балласт.
, кН (27)
где: Рпр - сила пружины,
действующая от наклонной тяги на крыло, принимаем Рпр =32 кН;
j1- угол отклонения наклонной тяги от
вертикали, принимаем j1 - 500.
, кН
Из проведенных выше расчетов
просуммировав, получим:
кН
Сопротивление движению шпально -
рельсовой щетки:
кН (28)
где: rщ - удельное
погонное сопротивление тросовых элементов щетки на 1 м при их стреле прогиба 10
см, Н/м2.
lщ - длина
щетки с набором кусков каната, м;
Н
Эти сопротивления учтем
коэффициентом тягового усилия.
Сопротивление от перемещения
электромагнитов:
, кН (29)
где: Q - нагрузка,
приходящаяся на ролик магнитов, кН
Р - усилие для подъема РШР, кН
Рэм - усилие, развиваемое
электромагнитом, Рэм =200 кН;
Vст - коэффициент трения в ступице
ролика, Vст =0,02;
к - коэффициент трения качения
ролика по рельсу, к=0,06;
b
- коэффициент, учитывающий трение реборды о головку рельса, b =1,5.
, кН (30)
где: Е - модуль упругости рельсовой
стали, для Р-50 Е=20,6*106 Н/мм2
Jx - момент
инерции двух рельсов относительно горизонтальной оси, для рельсов типа Р-50, Jx =6070.
h - высота
подъема, h=80 мм;
r
- погонное сопротивление подъему путевой решетки, принимаем,
r=123,5
Н/см.
кН.
, кН (31)
кН
Тогда
кН
Теперь найдем сопротивление
перемещению с учтем коэффициентом тягового усилия.
кН
По формуле (9) определим общее
сопротивление движению машины:
кН.
Затем по формуле (10) определим
сопротивление преодолеваемое силой тяги машины:
кН
Выберем дизель-генераторную
установку.
, кВт (32)
кВт
5.ТЕХНИКА
БЕЗОПАСНОСТИ И ОХРАНА ТРУДА ПРИ РАБОТЕ МАШИНЫ
Машина ВПО-3000 непрерывного действия является
сложной комбинированной машиной, выполняющей одновременно в короткое строго
регламентированное время большой и разнообразный комплекс работ по ремонту
пути. Машина в процессе работы подвержена значительным вибрационным
воздействиям и работе в условиях движения поездов соседнему пути, в связи с чем
обеспечение требований охраны труда и безопасности движения поездов имеет очень
важное значение.
Применение машин на производстве должно
способствовать не только повышению производительности, но и созданию безопасных
условий труда для обслуживающих бригад, бригад наладчиков и лиц работающих в
непосредственной близости от машины.
При конструировании машин должны
предусматриваться:
ограждения вращающихся и движущихся частей, за
исключением тех, ограждение которых не допускается их функциональным
назначением;
сигнализация, предупреждающая о пуске машины и
средства остановки и отключения от источников энергии в случае, если
исполнительные органы машины и представляют опасность для людей и не могут быть
ограждены;
меры по защите обслуживающего персонала от
вредного воздействия шума, вибрации, газов, пыли, заземления частей машины и
агрегатов, могущих оказаться под напряжением;
создание санитарно-гигиенических условий труда.
Типовые требования учитывают также при
модернизации эксплуатируемых машин и механизмов. Применение в конструкциях
машин материалы не должны быть опасными и вредными. Не следует использовать
новые вещества и материалы, не прошедшие гигиеническую проверку и оценку на
пожаробезопасность.
Повышение квалификации и культурно-технического
уровня трудящихся, применение при выполнении работ рациональных и безопасных
приемов труда являются важнейшими условиями обеспечения безопасности и роста
производительности труда. Дальнейшее улучшение безопасности и оздоровление
условий труда во многом зависит от руководящих и инженерно-технических кадров,
от знания ими законоположений по технике безопасности, производственной
санитарии и трудового законодательства, от умения правильно применять эти
знания. Культура производства - комплекс мер по организации труда, направленных
на создание благоприятной рабочей обстановки. Она достигается правильной
организацией рабочих процессов и отношений между работающими, благоустройством
рабочих мест и территории предприятия, эстетическим преобразованием среды.
В основе повышения культуры производства лежат
требования научной организации труда. Таким образом, культуру производства
нельзя рассматривать в отрыве от рациональной организации управления, труда и
производства. Культура производства включает в себя эстетику производства,
техническую эстетику и эргономику. Основная задача эстетики производства
заключается в изучении реакции организма человека на воздействие факторов
окружающей среды, в выработке гигиенических нормативов, предусматривающих
наилучшие условия для работы и обеспечивающих безопасные условия труда.
Техническая эстетика изучает область деятельности конструктора при создании
новых промышленных изделий.
Эргономика труда - наука, изучающая
функциональные возможности человека в трудовых процессах с точки зрения
анатомии, антропологии, физиологии и гигиены в целях создания орудий и условий
труда, а также технологически процессов, наиболее соответствующих требованиям
человеческого организма.
К работе на машине допускаются лица не моложе 18
лет, прошедшие обучение в дорожных технических школах или на курсах, прошедшие
в установленном порядке медицинское освидетельствование, имеющие свидетельство
на право управление машиной, выданное квалификационной комиссией дороги, и
сдавшие экзамены по ПТЭ, инструкциям по сигнализации, движению поездов и
маневровой работе, правилам по технике безопасности и по должностным
обязанностям.
Все лица, работающие на машине, должны иметь при
себе удостоверение на право управление ей и о сдаче испытаний по технике
безопасности в объеме инструкций по эксплуатации оборудования, установленного
на машине, а также инструкций по обеспечению безопасности движения поездов и
ведению путевых работ.
Во время движения и при работах на машине должен
находится экипаж в полном составе. Запрещается покидать машину всему экипажу.
Бригада должна быть обеспечена спецодеждой. Во
время работы одежда должна быть застегнута, стянута поясами, а волосы убраны
под головной убор.
машина должна быть оснащена аптечками для
оказания первой медицинской помощи.
Запрещается движение при неисправных тормозах,
звуковой и световой сигнализации, неисправном переговорном устройстве, а также
при любой неисправности, угрожающей безопасности движения поездов и
обслуживающей бригаде.
Машину необходимо содержать в чистоте. Следить,
чтобы в кабине, на ступеньках, полах борта и поручнях не было масла и грязи.
Машина должна быть снабжена огнетушителями,
расположенными в легко доступном месте, в полной готовности к применению.
Не допускается хранение и перевозка в кабине
легко воспламеняющихся веществ.
Обтирочные и смазочные материалы должны
храниться в плотно закрывающейся таре на борту.
Перед началом работ по осмотру и обслуживанию
машины необходимо убедиться, что она заторможена и под заднюю колесную пару
уложен тормозной башмак, если путь, на котором стоит машина, имеет уклон.
Перед выездом необходимо убедиться, что все
движущие части механизмов надежно защищены кожухами.
Перед началом работы, в перерывах во время
работы, по окончании смены должен обязательно выполнятся весь объем
контрольно-осмотровых работ, предусмотренный Инструкцией.
Во время работы и при движении запрещается
находиться лицам, не имеющим отношения к работе.
Запрещается сходить и садиться на машину во
время движения.
Спускаться с машины следует, только повернувшись
к ней лицом и держась за поручни.
Перед запуском двигателя и опробованием тормозов
необходимо убедиться в отсутствии людей под машиной и впереди нее.
При следовании по перегону запрещается превышать
допустимую скорость.
Запрещается производить осмотр и ремонт при
работающем двигателе, наличия давления в пневмо- и гидросистемах.
Запрещается курить в кабине, и непосредственной
близости от нее, пользоваться открытым огнем при ее обслуживании и рядом с ней.
При возникновении пожара необходимо подать
сигнал пожарной тревоги, остановиться и принять меры к ликвидации пожара.
Запрещается останавливать машину на мостах и в местах, препятствующих тушению
пожара.
При остановке на стоянку обязательно отсоединить
аккумуляторы выключением кнопки «Масса», затормозить ручным тормозом, подложить
тормозные башмаки.
Список
литературы
1. «Путевые
машины». Под редакцией Соломонова С.А. - Москва; Транспорт. 2000 г.
2. Иванов
Е.Р. , Плохотский М.А. Попович М.В. «Выпровочно-подбивочно-отделочная машина
ВПО-3000». Москва; Транспорт.1976г.
3. Электрооборудование
и устройства автоматизации путевых и погрузо-разгрузочных машин. Под редакцией
Иванова Е. Р. ;- Транспорт