Разработка отладочной платы устройства для отладки микроконтроллеров
Содержание
Введение
. Техническая часть
.1 Анализ технического задания
.2 Патентный поиск
.3 Технико-экономическое обоснование элементной базы
.4 Описание схемы электрической принципиальной
. Расчетно-конструкторская часть
.1 Расчет надежности
.2 Расчет печатной платы
. Технологическая часть
.1 Технология изготовления печатной платы
. Техническое обслуживание и ремонт
.1 Алгоритм поиска и устранения основных неисправностей
.2 Выбор приборов и инструментов
Введение
Микроконтроллер предназначен для управления различными электронными
устройствами и осуществления взаимодействия между ними в соответствии с
заложенной в микроконтроллер программой. В отличие от микропроцессоров,
используемых в персональных компьютерах, микроконтроллеры содержат встроенные
дополнительные устройства. Эти устройства выполняют свои задачи под управлением
микропроцессорного ядра микроконтроллера. Микроконтроллеры предназначены для
управления различными электронными устройствами, а также для осуществления
взаимодействия между ними, в соответствии с записанной в микроконтроллер
программой.
Микроконтроллеры можно встретить в огромном количестве современных
промышленных и бытовых приборов: станках, автомобилях, телефонах, телевизорах,
холодильниках, стиральных машинах... и даже кофеварках. Среди производителей
микроконтроллеров можно назвать Intel, Motorola, Hitachi, Microchip, Atmel,
Philips, Texas Instruments, Infineon Technologies (бывшая Siemens Semiconductor
Group) и многих других.
Достоинства МК:
малые габариты;
высокая производительность;
возможность программирования по заданной программе.
В состав большинства микроконтроллеров входят следующие блоки:
центральный процессор (ЦП);
устройства памяти;
устройства ввода/вывода;
аналого-цифровые и цифро-аналоговые преобразователи;
последовательные и параллельные интерфейсы передачи информации;
таймеры реального времени;
широтно-импульсные модуляторы (ШИМ);
генераторы программируемых импульсов и т. п.
Исходя из вышеизложенного, в данной работе ставилась задача разработать
сравнительно простое в эксплуатации, и дешевое устройство для отладки
микроконтроллера. Так как благодаря микроконтроллеру разработанное устройство
имеет сравнительно несложное схемотехническое решение, небольшие габариты,
простое в эксплуатации и невысокую стоимость.
Поэтому, целью курсовой работы является разработка, сравнительно
несложной и доступной по стоимости отладочной платы. Этот прибор предназначен
для отладки микроконтроллеров.
1. Техническая часть
.1 Анализ технического задания
Многие известные отладочные платы в стремлении обеспечить их
универсальность слишком усложнены и, следовательно дороги. Другие слишком
просты и не содержат многих нужных узлов. В ходе разработки рассматриваемой
платы добивается максимальная практичность и дешевизна конструкции в целом. Было
решено ограничиться отладкой программ для микроконтроллеров фирмы Microchip в
18-выводных DIP-корпусах. В частности, наиболее популярного из них PIC16F628A
[1], причём сконфигурированного для работы со встроенным тактовым
RC-генератором. На первых этапах работы с микроконтроллерами этого вполне
достаточно.
Для соединения установленного на плате микроконтроллера с программатором
предусмотрен разъём. Если используемый программатор способен питать
подключённую к нему отладочную плату напряжением 5 В при токе 100 мА, отдельный
источник питания для неё не требуется. Но может использоваться и внешний
источник питания, особенно в тех случаях, когда в процессе отладки программ к
плате подключают периферийные устройства, требующие большего тока.
Разработанная отладочная плата имеет следующие технические
характеристики:
- напряжение питания: В +5;
ток потребления, не более, мА 500;
- размер габаритные размеры, мм х мм х мм: 130 х 60 х 10.
Условия эксплуатации:
температура окружающего воздуха, ˚С т 0 до +50;
относительная влажность, % до 95;
атмосферное давление от 84 до 106,7.
.2 Патентный поиск
Патент - охранный документ, удостоверяющий исключительное право,
авторство и приоритет изобретения, полезной модели либо промышленного образца.
Патент выдается государственным органом исполнительной власти по
интеллектуальной собственности, в Российской Федерации таким органом является
Федеральная служба по интеллектуальной собственности, патентам и товарным
знакам Роспатент.
Патентный поиск - это процесс отбора соответствующих запросу документов
или сведений по одному или нескольким признакам из массива патентных документов
или данных. При этом осуществляется процесс поиска из множества документов и
текстов только тех, которые соответствуют теме или предмету запроса.
Для быстрой и качественной разработки любого устройства необходим анализ
особенностей, достоинств и недостатков уже существующих разработок. В связи с
этим был произведен патентный поиск, результатом которого стал перечень
патентов наиболее схожих с данным устройством:
(54)Название: ВНУТРИСХЕМНЫЙ ЭМУЛЯТОР
(21) Заявка: 99125815/09, 07.12.1999
(24) Дата начала отсчета срока действия патента: 07.12.1999
(45) Опубликовано: 20.10.2003
(72) Автор(ы): Федорцов Алексей Олегович (BY),
Долинский Михаил Семенович (BY)
(73) Патентообладатель(и):
Гомельский государственный университет им. Франциска Скорины (BY)
Изобретение относится к вычислительной технике и предназначено для
отладки микропроцессорных систем, построенных на базе микропроцессоров,
микроконтроллеров, процессоров цифровой обработки сигналов. Техническим
результатом является обеспечение возможности выполнения внутрисхемным
эмулятором эмуляции широкого спектра семейств микроконтроллеров и
микропроцессоров. Для этого заявленный эмулятор содержит блоки интерфейсов системы
проектирования и отлаживаемой системы, блоки регистров адреса и управления,
блок управления записью/чтением, блок памяти, блок формирования команды
холостого цикла работы, коммутатор шин, анализатор кода, блок переадресации,
блок захвата адреса и блок сравнения адреса.
(54) УСТРОЙСТВО ДЛЯ ФУНКЦИОНАЛЬНОГО КОНТРОЛЯ ОДНОКРИСТАЛЬНОГО
МИКРОКОНТРОЛЛЕРА
(21)Заявка: 2002113837/09, 27.05.2002
(24) Дата начала отсчета срока действия патента: 27.05.2002
(45) Опубликовано: 10.07.2004
(72) Автор(ы): Ведерников В.Л. (RU), Биктимиров З.Н. (RU), Ерошкин С.А.
(RU), Ершов А.А. (RU), Матвеенко А.С. (RU), Ярулин Р.Р. (RU)
(73) Патентообладатель(и): Российский федеральный ядерный центр -
Всероссийский научно-исследовательский институт экспериментальной физики (RU),
Министерство Российской Федерации по атомной энергии (RU)
Изобретение относится к цифровой вычислительной технике и может быть
использовано в автоматизированных системах для контроля микроЭВМ, содержащих
цифровые входы-выходы. Его использование позволяет получить технический
результат в виде упрощения управления для пользователя и обслуживания.
Технический результат достигается за счет того, что в устройство для
функционального контроля однокристального микроконтроллера, содержащее блок
коммутации, блок постоянных запоминающих устройств тестовых
последовательностей, блок оперативных запоминающих устройств, ПЭВМ и блок
начальной установки контролируемого однокристального микроконтроллера,
дополнительно введены управляющий однокристальный микроконтроллер, постоянное
запоминающее устройство управляющего однокристального микроконтроллера, блок
начальной установки управляющего однокристального микроконтроллера, блок
последовательного интерфейса, блок дешифрации управляющих сигналов, блок
формирования адресов для постоянных запоминающих устройств тестовых
последовательностей, блок записи в блок оперативных запоминающих устройств,
блок чтения из блока оперативных запоминающих устройств, блок формирования
адресов для блока оперативных запоминающих устройств и блок индикации.
.3 Технико-экономическое обоснование элементной базы
Конденсаторы
Исходными данными для выбора конденсаторов являются:
номинальная величина емкости, указанная на схеме и допуск на величину
емкости;
назначение цепи, в которой стоит конденсатор;
режим цепи (постоянный ток, перемены ток или импульсный режим и,
соответственно, сила тока, частота, параметры импульсов);
условия эксплуатации прибора, указанные в техническом задании на
разработку прибора (температура, влажность, давление воздуха, механические нагрузки);
конструктивное оформление конденсатора.
В процессе разработки выделяем следующие конденсаторы К50-74, К50-18,
К50-35, исходя из цены и конструктивного оформления, выбираем конденсатор
К50-35.
Габаритные размеры конденсатора К50-35 представлены на рисунке 1.1
Рисунок 1.1
Технические характеристики электролитических конденсаторов
Номинальное напряжение, В 3.2 - 100 В
Номинальная ёмкость, мкФ 1.5 - 680
Интервал рабочих температур, °С -60...+85
Полное сопротивление при 10 кГц, Ом 1 - 25
Резисторы
Исходными данными для выбора резисторов являются:
номинальная величина сопротивления, указанная на схеме и допуск на
величину сопротивления;
мощность рассеивания;
назначение цепи, в которой установлен резистор;
режим цепи (постоянный ток, перемены ток или импульсный режим и,
соответственно, сила тока, частота, параметры импульсов);
максимально допустимая рабочая частота;
условия эксплуатации прибора, указанные в техническом задании на
разработку прибора (температура, влажность, давление воздуха, механические
нагрузки);
желательное конструктивное оформление резисторов.
Резисторы подразделяются на проволочные и непроволочные. В
разрабатываемом устройстве используем непроволочные резисторы, так как они
имеют меньший вес, стоимость, габариты и паразитные параметры. Непроволочные
резисторы подразделяются на углеродистые тонкослойные, металлодиэлектрические
тонкослойные и композиционные объемные.
В данной схеме возможно использование резисторов: С2-10, С2 - 23, С2 -
23В и МЛТ. Выбираем С2 - 10 т.к. они имеют более высокую точность, которая
требуется в данном устройстве, и нужное конструктивное оформление.
Габаритные размеры резисторов С2 - 23 приведены на рисунке 1.2.
Рисунок 1.2
=6,0 - 0,6; D=2,0 - 0,15; l=20
±3; d=0,6 ±0,1
Технические характеристики:
- номинальное сопротивление, кОм 220;
точность, % 5;
номинальная мощность, Вт 2;
максимальное рабочее напряжение, В 750;
- рабочая температура, 0С 155.
Светодиоды
Светодиод может быть любого типа и любого типа свечения, выбираем
АЛ307БМ. Так как он имеет красный цвет свечения и его хорошо видно при любом
условии эксплуатации.
Технические характеристики:
цвет свечения красный;
сила света, мкд не менее 0,9;
постоянное прямое напряжение (Uпр), B не более 2,0;
максимальный постоянный прямой ток (Iпр), мА 20;
Габаритные размеры светодиода приведены на рисунке 1.3.
Рисунок 1.3
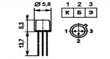
Транзисторы
В разрабатываемом устройстве можно использовать любые маломощные
транзисторы структуры n-p-n, такие как MPSA09, BC182B, КТ3102Б, в данной схеме исходя из
цены и конструктивного исполнения, используем транзистор КТ3102Б.
Габаритные размеры представлены на рисунке 1.4
Рисунок 1.4
Технические характеристики:
Максимально допустимое (импульсное) напряжение коллектор-база, В 50;
Максимально допустимое (импульсное) напряжение коллектор-эмиттер, В 50;
Обратный ток коллектора, мкА ≤0.05;
Коэффициент шума биполярного транзистора, дБ ≤10.
Блок индикации
В качестве индикатора выбираем СС56-12 так как этот индикатор имеет
высокую яркость, низкое рабочее напряжение, большой срок службы, устойчивость к
механическим воздействиям.
Данный блок индикации обладает следующими параметрами:
Максимальное прямое напряжение (при токе 20 мА), В 2,5;
Максимальный прямой ток, мА 25-30;
Максимальное обратное напряжение, В 5;
Обратный ток (при напряжение 4 В), мкА 10;
максимальный импульсный ток, мА 140-160.
Габаритные размеры показаны на рисунке 1.5.
Рисунок 1.5
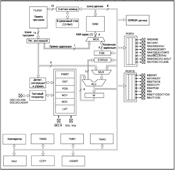
Выбор микроконтроллера (МК)
-выводные FLASH
микроконтроллеры PIC16F62X входят в состав распространенного семейства PICmicro PIC16CXX.
Микроконтроллеры этого семейства имеют 8-разрядную, высокопроизводительную и
полностью статическую RISC
архитектуру.
По сравнению с 8-разряжными микроконтроллерами этого класса, при
использовании PIC16F62X выигрыш в
эффективности использования памяти программ достигает 2:1, а производительность
4:1.
Для разрабатываемого устройства берем микроконтроллер PIC16F628А,
Так как он имеет малую стоимость и большую производительность по
сравнению с другими микроконтроллерами. Габаритные размеры указаны на рисунке
1.6. Блок - схема PIC16F628А представлена на рисунке 1.7.
Рисунок 1.6
Рисунок 1.7
Назначение портов указанны на рисунке 1.8.
Рисунок 1.8
.4 Описание схемы электрической принципиальной
Все выводы установленного на ней микроконтроллера DD1 (кроме входа
начальной установки MCLR, выводов питания и общего провода) соединены со
штырями 15-контактного разъёма ХР1, предназначенного для подключения
информационных цепей периферийных устройств отлаживаемой системы. В том числе
светодиодов HL1-HL5, аноды которых через резисторы выведены на разъём ХР2
Необходимые соединения выполняют проводами, оснащёнными одиночными гнёздами,
надеваемыми на штыри разъёмов. Такие можно найти, например, в старых
компьютерах. Это позволяет быстро собрать систему, не прибегая к пайке, а также
при необходимости легко её изменить.
На отладочной плате имеется четырёхразрядный семиэлементный светодиодный
индикатор HG1 Общие катоды его разрядов коммутируют транзисторы VT1-VT4.
Сигналы, подаваемые на аноды элементов индикатора, формирует сдвиговый регистр
DD2 - 74HC595N [2]. Микроконтроллер загружает в него информацию
последовательным кодом. Такое схемное решение позволило занять под вывод
информации на цифровой индикатор всего семь выводов микроконтроллера. Если этот
индикатор в конкретной разработке не требуется, выводы RA0, RA1, RA6, RA7,
RB3-RB5 можно освободить, сняв перемычки S1-S7, и использовать произвольным
образом. В частности, к выводам RA6, RA7 (в соответствующей конфигурации
микроконтроллера они становятся OSC1 и OSC2) можно по стандартной схеме
подключить кварцевый резонатор.
Разъём ХР3 предназначен для соединения установленного на плате
микроконтроллера с программатором. Длина кабеля между ними не должна быть более
50 см, иначе при программировании возможны сбои.
Учтите, что подключённые к используемым при программировании линиям РВ6 и
РВ7 периферийные устройства могут создавать помехи работе программатора.
Поэтому их на время программирования рекомендуется отключать. Если это
невозможно или нежелательно, необходимо включить в эти цепи последовательно
между микроконтроллером и периферийным устройством резисторы номиналом не менее
1 кОм.
Очень часто выводы микроконтроллера, к которым, например, подключают
кнопки, приходится соединять резисторами с плюсом питания либо с общим проводом.
Резисторы для этого (R10- R19) номиналом 5,1 кОм на плате предусмотрены и
выведены на контакты 1 - 10 разъёма ХР5. На остальные контакты этого разъёма, а
также на разъём ХР4 выведены цепи питания (VCC - +5 В) и общего провода (GND).
Отсюда можно брать напряжение для питания периферийных устройств. Внешний
источник питания подключают к штекерному гнездуХ51.
Для проверки работоспособности установленных на отладочной плате
микроконтроллера и узла четырёхразрядного светодиодного цифрового индикатора к
статье прилагается тестовая программа. Коды из файла test.hex необходимо с
помощью программатора загрузить в программную (FLASH) память микроконтроллера.
Если всё сделано правильно, после включения питания на индикатор будет выведено
число 1234.
Эта программа записывает байты состояния анодов элементов индикатора HG1
в регистр DD2 последовательным кодом. Установив на линии RA7 микроконтроллера
уровень, соответствующий значению (1 или 0) очередного разряда байта, она
нарастающим перепадом уровня на линии RA1 "вдвигает" это значение в
младший разряд сдвигового регистра микросхемы DD2. Прежнее содержимое регистра
при этом сдвигается на один разряд в сторону старшего.
Записав таким образом все восемь разрядов байта, программа переносит их
нарастающим перепадом уровня на линии RA0 в регистр хранения микросхемы DD2,
выводя этим загруженный код на её выходы. После этого программа включает
соответствующий разряд индикатора, устанавливая высокий уровень на одной из
линий RB3-RB5, RA6. Через 100 мс она выключает этот разряд и приступает к
загрузке в регистр кода для следующего.
Эти операции выполняет процедура indic(x). Параметр х - целое число без
знака в интервале 0-9999. В начале своей работы она преобразует двоичное
значение параметра в четыре десятичные цифры (тысячи, сотни, десятки, единицы),
отображаемые далее в соответствующих разрядах индикатора. Имеется также
процедура ind(a1,a2,a3,a4), отличающаяся от описанной тем, что
двоично-десятичное преобразование не производится, поскольку цифры 0-9 для
вывода в каждом разряде индикатора задают отдельными параметрами.
2. Расчетно-конструкторская часть
.1 Расчет
надежности
Надежность - это свойство изделия сохранять работоспособность в течение
заданного интервала времени при заданных условиях эксплуатации.
Надежность рассчитывается для того, чтобы определить, сколько времени
изделие будет сохранять свою работоспособность при заданных условиях
эксплуатации, то есть определение гарантийного срока службы изделия.
Различают три вида расчета:
- прикидочный;
- ориентировочный;
- окончательный.
Окончательный расчет проводится на этапе технического проектирования,
когда отработана схема, выбрана элементная база, определены все режимы работы
элементов и известны условия эксплуатации. Обязательно оценивается гарантийный
срок.
Для упрощения расчета надежности принимаются два допущения:
- в устройстве имеется основное
соединение элементов;
- отказы носят случайный и независимый
характер.
Расчет надежности осуществляется по формуле:
lу
= kl×Sai×loi
×ni, (2.1)
где λу-
интенсивность отказов;
Кλ-поправочный коэффициент, учитывающий условия эксплуатации;
ai-поправочный коэффициент, учитывающий режим работы элементов и
температура внутри блока;
- λoi-интенсивность отказа элементов,
работающих в номинальном режиме при нормальных условиях эксплуатации;
ni-количество однотипных элементов, работающих в одинаковом режиме при
одинаковой температуре внутри блока.
Исходные данные для расчета интенсивности отказов занесены в таблицу
Таблица 1
|
Наименование и тип элемента
|
Количество элементов ni, шт.
|
Интенсивность отказов номинальная λoi×10-6 (1/ч)
|
Режимы работы
|
Поправочный Коэффициент i
|
Интенсивность отказов действительная
|
|
|
|
Кн
|
Температура °С
|
|
aiλoi10-6(1/ч)
|
ai
λoini106(1/ч)
|
|
Конденсаторы
|
|
|
|
|
|
|
|
|
К50-35
|
1
|
0,24
|
1
|
40
|
1
|
0,24
|
0,24
|
|
Резисторы
|
|
|
|
|
|
|
|
|
С2 - 23
|
19
|
0,02
|
1
|
40
|
1
|
0,02
|
0,32
|
|
Светодиоды
|
|
|
|
|
|
|
|
|
АЛ307БМ
|
5
|
1,8
|
1
|
|
1
|
1,8
|
9
|
|
Индикаторы
|
|
|
|
|
|
|
|
|
СС56-12
|
1
|
0,8
|
1
|
|
1
|
0,8
|
0,8
|
|
Транзисторы
|
|
|
|
|
|
|
|
|
КТ3102Б
|
4
|
0,4
|
1
|
40
|
1
|
0,4
|
1,6
|
|
Микросхемы
|
|
|
|
|
|
|
|
|
PIC19F628A
|
1
|
0,15
|
1
|
40
|
1
|
0,15
|
0,15
|
|
74HC595N
|
1
|
0,1
|
1
|
40
|
1
|
0,1
|
0,1
|
|
Пайка
|
108
|
0,004
|
1
|
40
|
1
|
0,004
|
0,436
|
|
Итого:
|
|
12,62
|
Так как устройство разработано, в основном, для ЭВМ, то поправочный
коэффициент, учитывающий условия эксплуатации будет равенКλ= 1.
Исходя из формулы (2.1)отказов будет равна:
λy=1.0×12,62×10-6=12,62×10-6 (1/ч).
Среднее время наработки до первого отказа определяется по формуле:
. (2.2)
Таким
образом, исходя из формулы (2) среднее время наработки до первого отказа равно:
Тср
=106 / 12,62= 79251 (ч).
Для
построения графика зависимости вероятности безотказной работы от времени
рассчитывается значение вероятности безотказной работы по формуле:
Р(t) = e-lt (2.3)
При
λy
меньше 0.1 вероятность безотказной работы с достаточной степенью точности может
быть рассчитана по формуле:
Р(t) =
1-lt
(2.4)
Результаты
расчетов занесены в таблицу.
Таблица
2
|
t,ч
|
0
|
10
|
102
|
1×103
|
2×103
|
5×103
|
104
|
2×104
|
5×104
|
79251
|
|
λ·t
|
0
|
12,62×10-5
|
12,62×10-4
|
12,62×10-3
|
0,02524
|
0,0631
|
0,1262
|
0,2524
|
0,631
|
0,999
|
|
P(t)
|
1
|
0,99987
|
0,9987
|
0,987
|
0,97476
|
0,9369
|
0,881
|
0,776
|
0,531
|
0,368
|
Гарантийный срок службы изделия определяется на уровне 0,7. При этом Р(t) устройства будет равен 0,368.
Отсюда гарантийный срок службы будет равен:
tг =
0,368/l=
0,368/4,28
× 10-6 =29160 (ч).
Исходя из того, что в году 365 дней, и устройство будет использоваться 12
часов в сутки, гарантийный срок службы будут равен:
tг =
3,35 г.
.2 Расчет печатной платы
отладочный плата резистор микроконтроллер
Параметры печатной платы можно разделить на электрические и
конструктивные.
Электрические параметры - параметры, связанные с электрическими
величинами:
- ширина печатного проводника;
- электрическое сопротивление;
- паразитная индуктивность;
- паразитная емкость.
Конструктивные параметры:
- размеры печатной платы;
- диаметр отверстий и их количество;
- диаметры контактных площадок;
- минимальное расстояние между центрами
двух отверстий для прокладки нужного количества проводников.
Ширина печатного проводника определяется по формуле:
, (2.5)
где j - плотность тока, А/мм2;
h -
толщина фольги, мм; t - ширина
печатного проводника, мм;максимальный ток протекающий по проводнику, А.
Максимальный ток, протекающий по проводнику I = 0,8 А. Толщина фольги h = 0,1 мм.
Максимально допустимая плотность тока для печатных проводников следующая:
30 А/мм2 для внешних слоев печатной платы бытовой аппаратуры;
А/мм2 для внешних слоев печатной платы специальной аппаратуры;
А/мм2 для внутренних слоев многослойной печатной платы.
Таким образом, исходя из формулы (5), минимальная ширина печатного
проводника будет равна:
Выбор расстояния между печатными проводниками определяется из соображений
обеспечения электрической прочности. Поскольку материал для изготовления
печатной платы фольгированный стеклотекстолит, то при рабочем напряжении до +
25 В минимальное расстояние между печатными проводниками может составлять (от
0,1 до 0,2) мм.
Учитывая расстояния между выводами микросхем и плотность монтажа,
выбирается первый класс точности изготовления печатной платы.
Основные параметры третьего класса точности:
- ширина печатного проводника t = 0,75 мм;
- расстояние между двумя печатными
проводниками, S = 0,75 мм;
- радиальная ширина контактной
площадки, b = 0,3 мм.
Плата изготовлена комбинированным позитивным методом сухим фоторезистом,
следовательно, удельное сопротивление меди равно R = 0,02 Ом-мм2/м.
Сопротивление печатного проводника определяется формуле:
(2.6)
где: 1 - длина самого протяженного проводника, 1=0,06 м.
Исходя из формулы, (2,6)рассчитано сопротивление печатного проводника:
Для выбора размера печатной платы нужно найти площадь печатной платы,
которая определяется по формуле:
,(2.7)
гдеFэрэ - площадь, занимаемая ЭРЭ
определяется по установочным размерам или площади, занимаемой элементом на
плате, мм2;
Fто-площадь, занимаемая технологическими
или крепежными отверстиями, мм2;
FCB - площадь, которая не должна заниматься
электро-радиоэлементами по конструктивным соображениям;
К3 - коэффициент заполнения печатной платы.
Исходные данные для определения площади, занимаемой ЭРЭ, занесены в
таблицу 3.
(2.8)
Таблица 3
|
Тип ЭРЭ
|
Кол-во
|
Площадь занимаемая ЭРЭ, мм2
|
Площадь занимаемая всеми ЭРЭ, мм2
|
|
Конденсаторы К50-35
|
1
|
78,5
|
78,5
|
|
Резисторы С2 - 23
|
19
|
12
|
228
|
|
Светодиоды АЛ307БМ
|
5
|
28
|
140
|
|
Индикатор СС56-12
|
1
|
955,7
|
955,7
|
|
Транзистор КТ3102Б
|
4
|
33,64
|
134,56
|
|
Микросхемы PIC16F629A 74HC595N
|
1 1
|
146,25 22,5
|
146,25 22,5
|
|
Монтажные отверстия для ЭРЭ
|
72
|
0,8
|
57,6
|
|
Итого Fэрэ
|
|
|
1763,11
|
Для проектируемой печатной платы Fто равна 0.
Для проектируемой печатной платыFCB равна 0.
Коэффициент заполнения печатной платы выбирается из следующих
соображений:
- если Кз менее значения 0,3, то,
следовательно, компоновка плохая;
- если значение Кз более 0,8, то
усложняется обеспечение теплового режима и электромагнитной совместимости.
Исходя из выше сказанного, принимаем значение Кз равное 0,7.
Следовательно, площадь печатной платы:
Далее необходимо выбрать габаритные размеры печатной платы, при этом
учитываются, что размеры сторон должны быть кратны 2.5. Принимаем длину платы
70 мм, а ширину 60 мм.
Реальный коэффициент заполнения печатной платы определяется по формуле:
(2.9)
где А - длина печатной платы;
В - ширина печатной платы.
Исходя из формулы (2.9), реальный коэффициент заполнения равен:
.
Определение диаметров монтажных отверстий производится, учитывая
следующие требования:
- диаметр монтажного отверстия должен
быть такой, чтобы в него свободно входил вывод радиоэлемента;
- его величина не должна быть слишком
большой, иначе будет большой коэффициент непропайки.
Определяется этот диаметр по формуле:
d0=dB+D (2.10)
гдеdB - диаметр вывода ЭРЭ, мм.
Если dB<0,8 мм, то
= 0,2 мм. Если dB>0,8 мм, то
= 0,3 мм.
При dB =0,6 мм,
= 0,2мм=>d0= 0,8. При dв = 1,2 мм,
= 0,3мм=>d0= 1,5.
Результаты расчета диаметров монтажных отверстий сведены в таблицу 4.
Таблица 4
|
Наименование
|
dB, мм
|
d0, мм
|
|
Конденсаторы К50-35
|
0,8 0,8
|
1,1 1,1
|
|
Резисторы С2-23
|
0,6
|
0,8
|
|
Светодиоды АЛ307БМ
|
0,8
|
1,1
|
|
Индикатор СС56-12
|
0,6
|
0,8
|
|
Транзисторы КТ3102Б
|
0,8
|
1,1
|
|
Микросхемы PIC16F629A 74HC595N
|
0,6 0,6
|
0,8 0,8
|
Диаметры контактных площадок определяются по формуле:
, (2.11)
где b -радиальная ширина контактной
площадки, мм;
d -
предельное отклонение диаметра монтажного отверстия, мм;
Td -значение позиционного допуска расположения осей отверстий, мм;
TD - значение позиционного допуска расположения центров контактных
площадок, мм.
Согласно ГОСТ 23751-86 для печатных плат третьего класса точности: b = 0,1; для отверстий с диаметром до
1 мм с металлизацией предел отклонения диаметра
d = 0,1 мм и, так как размер печатной платы по большей стороне
меньше 180 мм, то Td =
0,08 мм; Т0 = 0,15 мм - для двусторонней платы.
Диаметр контактных площадок при диаметре отверстий 0,8 мм равен:
.
Диаметр контактных площадок при диаметре отверстий 1,3 мм равен:
Минимальное расстояние между центрами двух соседних отверстий для
размещения нужного количества проводников определяется по формуле:
(11)
где:-
- диаметры монтажных отверстий, между которыми
прокладываются проводники, мм;
n-
количество, прокладываемых проводников;
- предельное отклонение ширины печатного проводника, мм;
Те - значение позиционного допуска расположения печатного
проводника, мм.
Исходя из формулы (11),минимальное расстояние между центрами двух
соседних отверстий, с диаметром 0.8 мм., для прокладки одного проводника равно:

Для
двух проводников - 2,73;
Для
двух проводников - 3,28;
3. Технологическая часть
.1 Технология изготовления печатной платы
Толщина печатной платы составляет 1 мм. Для ее изготовления выбран
фольгированный стеклотекстолит марки СФ-35-1,5.
Метод изготовления печатной платы включает в себя следующие операции:
получение заготовки с припуском 10 мм по периметру;
подготовка поверхности (механическая зачистка, промывка, обезжиривание);
сверление монтажных отверстий на станке с числовым программным
управлением (ЧПУ);
металлизация отверстий, включающая в себя химическое и гальваническое
меднение;
нанесение сухого фоторезиста с помощью ламинаторов;
фотолитография (используется позитивный фотошаблон с высокой точностью
изготовления);
засвечивание рисунка (задублевание фоторезиста в пробельных местах под
действием ультрафиолетового света);
удаление незадубленного фоторезиста с пробельных мест;
стравливание меди с пробельных мест (опускание платы в хлорное железо); '
оплавление оловом для улучшения пайки;
нанесение маски (покрытие готовой платы лаком через трафарет);
упаковка платы в полиэтиленовый пакет.
Достоинства такого метода изготовления платы:
высокая плотность монтажа;
100% металлизация отверстий;
автоматизация процесса.
Также имеется один недостаток: требуется новое оборудование для получения
высокой точности в фотолитографии.
Получение заготовок
Фольгированные диэлектрики выпускаются размерами (1000...1200) мм,
поэтому первой операцией практически любого технологического процесса является
резка заготовок. Для резки фольгированных диэлектриков используют роликовые
одноножевые, многоножевые и гильотинные прецизионные ножницы. На одноножевых
роликовых ножницах можно получить заготовки размером от 50x50 до 500x900 мм при
толщине материала (0,025...3) мм. Скорость нарезания плавно регулируется в
пределах (2... 13,5) м/мин. Точность нарезания - 1 мм. Для удаления пыли,
образующейся при нарезании заготовки, ножницы оборудованы пылесосом. Из листов
фольгированного диэлектрика одноножевыми роликовыми ножницами нарезаются
заготовки с припуском на технологическое поле по 10 мм с каждой стороны. Далее
с торцов заготовки напильником снимаются заусенцы во избежание повреждения рук
во время технологического процесса. Качество снятия заусенцев определяется
визуально.
Резка заготовок не должна вызывать расслаивания диэлектрического
основания, образования трещин, сколов, а также царапин на поверхности
заготовок.
Пробивка базовых отверстий
Базовые отверстия необходимы. для фиксации плат во время технологического
процесса. Сверление отверстий является разновидностью механической обработки.
Это одна из самых трудоемких и важных операций. При сверлении важнейшими
характеристиками являются: конструкция сверлильного станка, геометрия сверла,
скорость нарезания и скорость осевой подачи. Для правильной фиксации сверла
используются специальные высокоточные кондукторы и мощные пылесосы для
моментального удаления стружки из зоны сверления. Так как стеклотекстолит
является высоко абразивным материалом, применяются твердосплавные сверла.
Применение сверл из твердого сплава позволяет повысить производительность труда
при сверлении и улучшить чистоту обработки отверстий. В большинстве случаев
заготовки сверлят в пакете (высота пакета до 6 мм). Заготовки собираются в
кондукторе, закрепляются на сверлильном станке и просверливаются базовые
отверстия.
Подготовка поверхности заготовок
Качество подготовки поверхности имеет большое значение как при нанесении
фоторезиста, так и при осаждении металла.
Широко используют химические и механические способы подготовки
поверхности или их сочетания. Консервирующие покрытия легко снимаются
органическим растворителем, с последующей промывкой в воде и сушкой. Окисные
пленки, пылевые и органические загрязнения удаляются последовательной промывкой
в органических растворителях (ксилоле, бензоле, хладоне) и водных растворах
фосфатов и соды. Удаление оксидного слоя толщиной не менее 0,5 мкм производят
механической очисткой щетками или абразивными валиками. Недостаток этого
способа -быстрое зажиривание очищающих валиков, а затем, и очищающей
поверхности. Часто для удаления оксидной пленки применяют гидроабразивную
обработку Высокое качество зачистки получают при обработке распыленной
абразивной пульпой. Гидроабразивная обработка удаляет с фольги заусенцы,
образующиеся после сверления, и очищает внутренние медные торцы контактных
площадок в отверстиях многосторонних печатных плат от эпоксидной смолы.
Высокое качество очистки получают при гидроабразивной обработке с
использованием водной суспензии. На этом принципе работают установки для
зачистки боковых поверхностей заготовок и отверстий печатных плат нейлоновыми
щетками и пемзовой суспензией. Обработка поверхности производится вращающимися
латунными щетками в струе технологического раствора. Установка может
обрабатывать заготовки максимальным размером 500x500 мм при их толщине
(0,1...3) мм, частота вращения щеток 1200 об/мин, усилие поджатия плат к щеткам
147 Н. Химическое удаление оксидной пленки (декапирование) наиболее эффективно
осуществляется в 10%-ном растворе соляной кислоты. К качеству очистки
фольгированной поверхности предъявляют высокие требования, так как от этого,
зависят адгезия фоторезиста и качество рисунка схемы.
Сверление отверстий
Наиболее трудоемкий и сложный процесс в механической обработке печатных
плат - получение отверстий под металлизацию. Их выполняют, главным образом,
сверлением, так как сделать отверстия штамповкой в приемлемых для производства
платах стеклопластика трудно. Для сверления стеклопластиков используют твердосплавный
инструмент специальной конструкции. Применение инструмента из твердого сплава
позволяет значительно повысить производительность труда при сверлении и
зенковании и улучшить чистоту обработки отверстий. Чаще всего сверла
изготавливают из твердоуглеродистых сталей марок У-7, У-10 и У-18. В основном
используют две формы сверла: сложнопрофильные и цилиндрические. Так как
стеклотекстолит является высокоабразивным материалом, то стойкость сверл
невелика. Так, например, стойкость тонких сверл - около 10 000 сверлений.
При выборе сверлильного оборудования необходимо учитывать такие
особенности, как точность расположения отверстий, необходимость обеспечения
абсолютно гладких и перпендикулярных отверстий поверхности платы, обработка
плат без заусенцев и так далее. Точность и качество сверления зависят от
конструкции станка и сверла. В настоящее время используют несколько типов
станков для сверления печатных плат.
Перед сверлением отверстий необходимо подготовить заготовки и
оборудование к работе. После сверления необходимо удалить стружку и пыль с
платы и продуть отверстия сжатым воздухом. После этого следует проверить
количество отверстий и их диаметры, проверить качество сверления. При сверлении
не должно образовываться сколов, трещин. Стружку и пыль следует удалять сжатым
воздухом.
Металлизация отверстий
Она включает химическое и гальваническое меднение. Химическое меднение
является первым этапом металлизации отверстий. При этом возможно получение
плавного перехода от диэлектрического основания к металлическому покрытию,
имеющих разные коэффициенты теплового расширения. Процесс химического меднения
основан на восстановлении ионов двухвалентной меди из ее комплексных солей.
Толщина слоя химически осажденной меди (0,2...0,3) мкм. Химическое меднение
можно проводить только после специальной подготовки - каталитической активации,
которая может проводиться одноступенчатым и двухступенчатым способами. При
двухступенчатой активации печатную плату сначала обезжиривают, затем декапируют
торцы контактных площадок. Далее следует первый шаг активации - сенсибилизация,
для чего платы опускают на (2...3) мин в солянокислый раствор дихлорида олова.
Второй шаг активации - палладирование, для чего платы помещают на (2...3) мин в
солянокислый раствор дихлорида палладия. Адсорбированные атомы палладия
являются высокоактивным катализатором для любой химической реакции. При
одноступенчатой активации предварительная обработка (обезжиривание и
декапирование) остается той же, а активация происходит в коллоидном растворе,
который содержит концентрированную серную кислоту и катионы палладия при
комнатной температуре. Слой химически осажденной меди обычно имеет небольшую
толщину (0,2...0,3) мкм, рыхлую структуру, легко окисляется на воздухе,
непригоден для токопрохождения, поэтому его защищают гальваническим
наращиванием (затяжкой)(1...2) мкм гальванической меди. После гальванической
затяжки слой осажденной меди имеет толщину (1...2) мкм. Электролитическое
меднение доводит толщину в отверстия до 25 мкм, на проводниках - до (40...50)
мкм. Чтобы при травлении проводники и контактные площадки не стравливались их
необходимо покрыть защитным металлическим покрытием. Существуют различные
металлические покрытия (в основном сплавы), применяемые для защитного покрытия.
В данном технологическом процессе применяется сплав олово-свинец. Сплав
олово-свинец стоек к воздействию травильных растворов на основе персульфата
аммония, хромового ангидрида и других, но разрушается в растворе хлорного
железа, поэтому в качестве травителя раствор хлорного железа применять нельзя.
Нанесение сухого пленочного фоторезиста
От фоторезиста очень часто требуется высокое разрешение, а это
достигается только на однородных, без проколов пленках фоторезистов, имеющих
хорошее сцепление с фольгой. Необходимо свести до минимума содержание влаги на
платах или фоторезисте, так как она может стать причиной проколов или плохой
адгезии. Все операции с фоторезистом нужно проводить в помещении при
относительной влажности не более 50%. Для удаления влаги с поверхностей плат
применяют сушку в термошкафах. В зависимости от применяемого фоторезиста
существуют несколько методов нанесения фоторезиста на поверхность
фольгированного диэлектрика. Жидкий фоторезист наносится методом окунания,
полива, разбрызгивания, электростатического распыления с последующей сушкой при
температуре 400°С в центрифуге до полного высыхания. Такая сушка обеспечивает
равномерность толщины слоя. Сухие пленочные фоторезисты (СПФ) наносятся
ламинированием. СПФ состоит из слоя полимерного фоторезиста, помещенного между
двумя защитными пленками. Для обеспечения возможности нанесения сухопленочных
фоторезистов на автоматическом оборудовании пленки поставляются в рулонах. На
поверхность заготовки СПФ наносится в установках ламинирования. Адгезия СПФ к
металлической поверхности заготовок обеспечивается разогревом пленки
фоторезистана плите до размягчения с последующим прижатием при протягивании
заготовки между валиками. Установка снабжена термопарой и прибором контроля
температуры нагрева пленки фоторезиста. На установке можно наносить СПФ на
заготовки шириной до 600 мм со скоростью их прохождения между валиками (1...3)
м/мин. Фоторезист нагревается до температуры (110...1200)°С. В процессе
нанесения одну защитную пленку с фоторезиста удаляют, в то время как другая
остается и защищает фоторезист с наружной стороны. В данном технологическом
процессе применяется сухой пленочный фоторезист СПФ-2, наносимый на ламинаторе
КП 63.46.4.
Фотолитография
В любом фотолитографическом методе - контактном, проекционном, и в методе
сканирующего луча - необходимым отправным пунктом является некоторый шаблон,
образец, содержащий информацию о размерах, расположениях, конфигурации и т.д.
получаемых изображений. При наличии современных фоторезистов и отработанной
технологии качество фотолитографии во многом определяется качеством
фотошаблонов, а производство их является в настоящее время одним из наиболее
сложных процессов, связанных с фотолитографией.
Далее производят задубливание фоторезиста в пробельных местах под
действием ультрафиолетового света и удаление незадубленного фоторезиста. При
использовании негативного фотошаблона незащищенными, пригодными для
металлизации остаются те участки плат, которые в последующем формируют рисунок
печатного монтажа.
Гальваническое лужение
Лужение печатных плат перед монтажом улучшает паяемость, значительно
облегчает и ускоряет монтаж, уменьшает опасность перегрева элементов при
монтаже. Лудить можно в алюминиевой посуде (плата должна умещаться на дне
плашмя). В посуду наливают глицерин (толщина слоя около 1 см) и разогревают его
примерно до 60°С. Затем в глицерин кладут куски сплава Розе и продолжают
подогрев до его расплавления. Не следует разогревать расплав выше 100°С. Платы
декапируют в 20%-ном растворе соляной кислоты, промывают водой и опускают в
расплав на (1...3) с. Вынутые платы быстро протирают поролоновой губкой, удаляя
с поверхности излишки сплава. Остатки глицерина смывают теплой водой. Чтобы
уменьшить опасность отслаивания проводников во время пайки деталей, платы, за
исключением контактных площадок, после лужения покрывают слоем клея БФ-2.
Удаление задубленного фоторезиста с пробельных мест. Перед операцией травления
фоторезист с поверхностей плат необходимо снять.
Стравливание меди с пробельных мест
Травление предназначено для удаления незащищенных участков фольги с
поверхностей плат с целью формирования рисунка схемы. Существуют несколько
видов травления:
травление погружением;
травление с барботажем;
травление разбрызгиванием;
травление распылением.
Существует также несколько видов растворов для травления:
раствор хлорного железа;
раствор персульфата аммония;
раствор хромового ангидрида.
Чаще всего применяют раствор хлорного железа. Скорость травления зависит
от концентрации раствора. Наилучшие результаты травления получаются при
плотности раствора 1,3 г/см3. Процесс травления зависит также и от температуры
травления. При температуре выше 250°С процесс ускоряется, но портится защитная
пленка. При комнатной температуре медная фольга растворяется за 30 с до 1 мкм.
Оплавление оловом для улучшения пайки
Оплавление печатных плат производится с целью покрытия проводников и
металлизированных отверстий оловянно-свинцовым припоем. Наиболее часто
применяют конвейерную установку инфракрасного оплавления ПР-3796. Проводники
должны иметь блестящую гладкую поверхность. Допускается на поверхности
проводников наличие следов кристаллизации припоя и частично непокрытые торцы
проводников. Не допускается отслаивание проводников от диэлектрической основы и
заполнение припоем отверстий диаметром большим 0,8 мм. Не допускается наличие
белого налета от плохо отмытого флюса на проводниках и в отверстиях печатных
плат.
Готовые платы покрывают через трафарет лаком и упаковывают в
полиэтиленовые пакеты. Существуют различные лаки для защитного покрытия, такие
как лак СБ-1с на основе фенолформальдегидной смолы, лак Э-4100 на основе
эпоксидной смолы, лак УР-231 и другие.
4.
Техническое обслуживание и ремонт
.1 Алгоритм
поиска и устранения основных неисправностей
Для обслуживания и ремонта бортового термометра-вольтметра в данном
проекте разработана методика поиска и устранения неисправностей, которая
представлена в таблице.
Таблица 5
|
Краткое описание дефекта
|
Возможная причина
|
Проверка
|
Способ устранения неисправностей
|
|
Механические повреждения
|
Окисел контактов или микротрещины в печатной плате
|
Визуальный осмотр, лупа
|
Устранение неисправного узла
|
|
Не работает индикация
|
Плохой контакт, окисел или загрязнение контактов
|
Мультиметр
|
Проверить плотность подключения платы, протереть контакты
этиловым спиртом
|
|
Не работает индикация кода
|
Выход из строя МК.
|
Запуск кода
|
Заменить микроконтроллер
|
|
Нет индикации +5 В
|
Неисправность цепи питания индикаторов
|
Мультиметр
|
Проверить цепи питания
|
Все виды работ по поиску и устранению неисправностей выполняет техник.
4.2 Выбор
приборов и инструментов
Приборы и инструменты, применяемые при техническом обслуживании (ТО) и
ремонте, приведены в таблице 6.
Таблица 6
|
Наименование
|
Марка
|
Обозначение
|
гост
|
|
Основные
|
|
1 Осциллограф 2 Мультиметр
|
С1-120 ТЛ-4
|
|
9816-81 9618-83
|
|
Дополнительные
|
|
1 Вольтметр 2 Сигнатурный анализатор
|
|
|
|
|
Инструменты и материалы
|
|
- Набор отверток - Бокорезы
- Плоскогубцы
- Надфиль
- Паяльник
(36 В, 18 Вт) - Припой - Флюс - Канифоль - Ветошь,
пропитанная антистатической жидкостью - Пинцет - Химические
реактивы
|
П-411119 ПОС61 Stabilifnt-22
|
|
17.199-75 54.825-88 21930-76 5465-68 717.13-95
21241-77 913.06-76
|