Приспособления и инвентарь, необходимые для монтажа

  • Вид работы:
    Курсовая работа (т)
  • Предмет:
    Строительство
  • Язык:
    Русский
    ,
    Формат файла:
    MS Word
    303,65 Кб
  • Опубликовано:
    2012-05-15
Вы можете узнать стоимость помощи в написании студенческой работы.
Помощь в написании работы, которую точно примут!

Приспособления и инвентарь, необходимые для монтажа















Приспособления и инвентарь необходимые для монтажа

Введение

Строительство является одной из важнейших отраслей материального производства. В моей курсовой работе предоставляются инструменты и инвентарь необходимые для монтажа наружных стеновых панелей, материалы необходимые для монтажа, а так же дан технологический процесс монтажа наружных стеновых панелей в крупнопанельном бескаркасном здании с устройством стыков открытого типа, организация рабочего места монтажника, техника безопасности и требования к качеству работ.

1. Приспособления и инвентарь, необходимые для монтажа:

.Страховочный пояс для работы на высоте

. Люлька для работы на высоте

. Четырехветвевой строп

. Емкость для содержания бетона

. Монтажный лом

. Монтажные механизмы

Для монтажа сборных конструкций жилых и общественных зданий применяют грузоподъемные краны: стреловые самоходные гусеничные, пневмоколесные и автомобильные; передвижные, приставные и самоподъемные башенные, а также козловые и портальные.

Инструменты:

. Строительный монтажный лом 2. Зубило 3. Молоток-кулачок 4. Стальные щетки, или скребки 5. Стальную конопатку и деревянную киянку. 6. Уровень, 7.Пневмоконопатка, 8. Строительный пистолет, 9. Глубинный вибратор.

. Материалы, необходимые для монтажа

.        Наружная стеновая панель

.        Воздухозащитная проклейка

.        Термовкладыш

.        Бетон

.        Упругая прокладка: (пороизол или гернит)

.        Водоотбойная лента

.        Воздухозащитная лента

.        Цементный раствор: (раствор М200)

.        Маяки

. Технологический процесс монтажа наружных стеновых панелей

Организация рабочего места монтажников:

Правильная организация рабочего места обеспечивает высокую производительность труда.

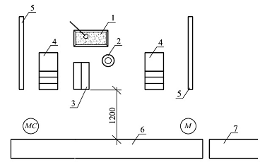
Рисунок - Схема организации рабочего места монтажников при монтаже наружных стеновых панелей.

. Состав и порядок работ:

.        Подготовка к монтажу:

А) Подготовка инструмента, оборудования и инвентаря.

Б) Подготовка места монтажа:

Очистка поверхности

Наклеивание герметизирующего шнура:- На горизонтальной кромке панели.

Укладка утеплителя: - В горизонтальный стык.

Установка маяков:

• Под каждую панель устанавливают 2 маяка на растворе. Верх маяков должен находиться на проектной отметке. Его выставляют по нивелиру.

Укладка растворной постели (раствор М200):

• Верх растворной пастели должен быть на 3-5 выше уровня уложенных маяков. Пастель не должна доходить до обреза стены на 2-3 см, чтобы раствор не выдавливался наружу.

Внешний осмотр :

• Проверка маркировки, целостности, проверка на наличие дефектов , наличие и состояние монтажных петель.

Проверка размеров

Г) Строповка и подача панели в зону монтажа.

.        Установка стеновой панели: - Производят по рискам и шаблону, по торцам нижней панели.

.        Выверка панели в плане: - Рихтовка монтажным ломом.

.        Временное крепление и выверка панели по вертикали: - Временно закрепляют двумя подкосами на каждую панель, выверку панели по вертикали проверяют рейкой отвесом.

.        Расстроповка панели: - С лестниц стремянок.

.        Постоянное закрепление: - Производится после гидроизоляции, утепления стыка, монтажа внутренних стеновых панелей и сварки закладных деталей, монтажа плит перекрытия.

.        Снятие временного крепления: - После постоянного закрепления.

.        Заделка стыков.

В открытом (вентилируемом) стыке водозащита обеспечивается водоотбойным экраном (лентой) и декомпрессионным каналом, а воздухозашита - уплотняющими прокладками или оклеечной изоляцией . Этот тип стыка рекомендуется для районов с расчетной зимней температурой не ниже -20 С . В качестве уплотняющих прокладок применяют пороизол, гернит и другие материалы, обладающие малым водопоглощением. Для герметизации стыков используют тиоколовую и изобутиленовую мастики. Для обеспечения теплозащиты в стык между панелями вводят утеплитель (термовкладыш).

 

6. Техника безопасности при монтаже

Безопасность работ при возведении панельных зданий обеспечивается соблюдением требований проекта производства работ, общих правил техники безопасности на стройках и правил подъема и установки сборных конструкций.

При монтаже необходимо обеспечивать безопасные условия труда в соответствии со СНиП III-4-80.

• Территория строительно-монтажной площадки должна быть ограждена, в темное время суток освещена. Проезды, проходы, подкрановые пути, разгрузочные площадки необходимо постоянно очищать от мусора и грязи, в зимнее время- от снега и льда.

• На границах опасных зон должны быть установлены предупреждающие знаки и надписи, хорошо видимые в дневное и ночное время.

• К монтажным работам допускаются лица не моложе 18 лет, прошедшие обучение, общий инструктаж и инструктаж на рабочем месте по технике безопасности.

• Рабочие должны иметь каски и предохранительные пояса.

• Не разрешается укладка инструментов и приспособлений на грани стеновых панелей или у краев перекрытий.

• По окончании монтажа опасные зоны (лестничные марши и площадки, проемы лифтовых шахт и т. п.) должны быть ограждены.

• У края перекрытий на время отсутствия стеновых панелей должно быть установлено инвентарное металлическое ограждение.

. Требования к качеству работ

Отклонения, допущенные при монтаже наружных стеновых панелей не должны превышать размеров, указанных в СНиП 3.03.01- 87. Для обеспечения требуемого качества монтажа конструкций необходимо всегда выполнять полный объем выверочных работ, пользуясь шаблонами и другими средствами измерений. Смещение осей панелей стен в нижнем сечении относительно разбивочных осей не должно превышать - (8мм.). отклонение плоскостей панелей стен от вертикали в верхнем сечении - (10мм). Зазоры между панелями наружных стен (ширина и вертикальных и горизонтальных швов) должны быть в пределах 10-20 мм.

инвентарь монтаж кран безопасность

Заключение

Здания панельного типа в настоящее время “возвращаются” в массовое строительство.

В Брянске уже немало объектов жилого строительства , которые возводятся из сборных железо бетонных панелей. Поэтому важно знать технологию их монтажа.

Данная курсовая работа может быть использована в качестве подготовки к уроку в учебном заведении по теме, подготовки и разработки дипломной работы, в качестве практического руководства для производства данного вида работ.

Литература

1.       И.И.Ищенко Монтаж стальных и железобетонных конструкций, М., Издательский центр “Высшая школа”, 1991г.

.        СНиП III-4-80 - Техника безопасности в строительстве.

.        СНиП 3.03.01- 87 - Требования к качеству работ.

Похожие работы на - Приспособления и инвентарь, необходимые для монтажа

 

Не нашли материал для своей работы?
Поможем написать уникальную работу
Без плагиата!
Без нейросетей!