Расчет экономической эффективности мероприятий по промышленной безопасности
СОДЕРЖАНИЕ
ВВЕДЕНИЕ
. ОБЩИЕ СВЕДЕНИЯ О ПРЕДПРИЯТИИ
2. АННОТАЦИЯ ПРЕДЛАГАЕМЫХ
МЕРОПРИЯТИЙ
2.1 Мероприятия в сфере промышленной
безопасности
.2 Мероприятия в сфере охраны труда
.3 Мероприятия в сфере охраны
окружающей среды
. МЕТОДИКА РАСЧЕТА ПОКАЗАТЕЛЕЙ ЭКОНОМИЧЕСКОЙ
ЭФФЕКТИВНОСТИ НАУЧНО-ТЕХНИЧЕСКИХ И ОРГАНИЗАЦИОННЫХ МЕРОПРИЯТИЙ
3.1 Капитальные вложения
.2 Эксплуатационные затраты
.3 Экономический эффект
.4 Налог на имущество
.5 Налог на прибыль
.6 Чистая прибыль
.7 Чистый доход
.8 Дисконтирование
.9 ЧДД
.10 Накопленный ЧДД
.11 Индекс доходности
.12 Внешняя норма доходности
.13 Срок окупаемости
4. РАСЧЕТ ПОКАЗАТЕЛЕЙ ЭКОНОМИЧЕСКОЙ
ЭФФЕКТИВНОСТИ ПРЕДЛАГАЕМЫХ МЕРОПРИЯТИЙ
.1 В сфере промышленной безопасности
.1.1 Капитальные вложения
.1.2 Эксплуатационные затраты
.1.3 Экономический эффект
.1.4 Налог на имущество
.1.5 Налог на прибыль
.1.6 Чистая прибыль
.1.7 ЧД
.1.8 ЧДД по годам
.1.9 Накопленный ЧДД
.1.10 ИД
.1.11 Внутренняя норма доходности
.1.12 Срок окупаемости
.1.13 Сводный расчет показателей
экономической эффективности
.2 В сфере ОТ
.2.1 Капитальные вложения
.2.2Эксплуатационные затраты
.2.3 Экономический эффект
.2.4 Налог на имущество
.2.5 Налог на прибыль
.2.6 Чистая прибыль
.2.7 ЧД
.2.8 ЧДД по годам
.2.9 Накопленный ЧДД
.2.10 ИД
.2.11 Внутренняя норма доходности
.2.12 Срок окупаемости
.2.13 Сводный расчет показателей
экономической эффективности
.3 В сфере ООС
.3.1 Капитальные вложения
.3.2Эксплуатационные затраты
.3.3 Экономический эффект
.3.4 Налог на имущество
.3.5 Налог на прибыль
.3.6 Чистая прибыль
.3.7 ЧД
.3.8 ЧДД по годам
.3.9 Накопленный ЧДД
.3.10 ИД
.3.11 Внутренняя норма доходности
.3.12 Срок окупаемости
.3.13 Сводный расчет показателей
экономической эффективности
ЗАКЛЮЧЕНИЕ
СПИСОК ИСПОЛЬЗУЕМЫХ ИСТОЧНИКОВ
ВВЕДЕНИЕ
Целью данной курсовой работы является расчет
показателей экономической эффективности мероприятий по промышленной
безопасности, охране труда и охране окружающей среды.
Для достижения поставленной цели необходимо
решить следующие задачи:
составить методику расчета показателей экономической
эффективности;
- рассчитать экономическую эффективность от
мероприятий по улучшению условий труда на предприятии ТПП
"ЛУКОЙЛ-Ухтанефтегаз";
рассчитать показатели экономической
эффективности предлагаемых мероприятий.
Решение проблем,
связанных с улучшением условий труда, промышленной безопасности и охраны
окружающей среды находится в прямой зависимости от состояния экономики
предприятия и реализации механизма исполнения законодательства в области
безопасности и гигиены труда.
1.
ОБЩИЕ СВЕДЕНИЯ О ПРЕДПРИЯТИИ
Территориальное производственное предприятие
"ЛУКОЙЛ-Ухтанефтегаз" является структурной единицей ООО
"ЛУКОЙЛ-Коми" ОАО НК "ЛУКОЙЛ".
ТПП
"ЛУКОЙЛ-Ухтанефтегаз" осуществляет свою деятельность на территории 6
административных районов Республики Коми: Сосногорского района, Ухтинского
района, Вуктыльского района, Усть-Цилемского района, Ижемского района,
Печорского района.
Предметом деятельности ТПП
"ЛУКОЙЛ-Ухтанефтегаз" является:
- разведка нефтяных и газовых месторождений;
добыча нефти и газа;
комплексное освоение и эксплуатация нефтяных и
газовых место-рождений;
организация и осуществление деятельности по
транспортировке добытых ресурсов до узлов магистральной сети трубопроводов;
осуществление природоохранной деятельности в
сферах добычи и транспортировки нефти и газа в рамках экологической программы
общества;
разработка технических проетов на строительство
эксплуатационных и иных скважин;
осуществление строительства, специализированных
монтажно-наладочных работ, технического обслуживания и ремонта средств и систем
автоматизации, контрольно-измерительных приборов.
Основными операциями, производимыми с нефтью,
являются: добыча, подготовка, транпортировка и хранение (накопление).
ТПП
"ЛУКОЙЛ-Ухтанефтегаз" ведет добычу нефти и газа на 35 месторождениях.
Фонд нефтяных скважин: эксплуатационный - 760, дейс-твующий - 636. Годовой
объем добычи нефти - 3 млн.тонн. В
состав предприятия входят следующие производственные подразделения:
- Комплексный цех по добыче нефти и газа № 1
(КЦДНГ- 1);
Комплексный цех по добыче нефти и газа № 2
(КЦДНГ- 2);
Комплексный цех по добыче нефти и газа № 3
(КЦДНГ- 3);
Комплексный цех по добыче нефти и газа № 4
(КЦЦНГ- 4);
Комплексный цех по добыче нефти и газа № 5
(КЦДНГ- 5);
Комплексный цех по добыче нефти и газа № 6
(КЦЦНГ- 6);
Цех по подготовке и перекачке нефти № 1 (ЦППН
-1);
Цех по подготовке и перекачке нефти № 2 (ЦППН -
2);
Цех по подготовке и перекачке нефти № 3 (ЦППН -
3);
Нефтешахтное управление "Яреганефть"
(НШУ "Яреганефть");
Цех капитального ремонта трубопроводов и
сооружений (ЦКРТС);
Цех пароводоснабжения (ЦПВС);
- Участок антикоррозионной защиты (УАЗ);
- Центральная комплексная лаборатория
физико-химических исследований (ЦКЛФХИ). Структура
управления ТПП "ЛУКОЙЛ-Ухтанефтегаз" представлена на рисунке 1.1.
Рисунок 1.1 - Организационная структура
управления ТПП "ЛУКОЙЛ-Ухтанефтегаз"
Объекты предприятия расположены таким образом,
что вокруг каждого опасного производственного объекта существуют
санитарно-защитные зоны, размеры которых соответствует проектным.
Опасные производственные объекты предприятия
обеспечены разработанными декларациями промышленной безопасности и полисами
страхования ответственности за причинение вреда жизни, здоровью или имуществу
других лиц и окружающей природной среде в случае аварии на опасном
производственном объекте.
Для выполнения производственных задач
предприятием используется автомобильный, железнодорожный и трубопроводный
транспорт.
Теплоснабжение объектов предприятия
осуществляется горячей водой и паром от 13 котельных цеха пароводоснабжения.
Электроснабжение предприятия осуществляется
централизованно по двум ниткам ЛЭП 110 кВт с закольцеванием двух независимых
ТЭЦ (Сосногорской и Печорской).
Вопросами организации работы в области
безопасности и экологичности производства в ТПП "ЛУКОЙЛ-Ухтанефтегаз"
занимается отдел Техники Безопасности и Охраны Окружающей Среды.
Основными задачами отдела ТБ и ООС является
организация системы управления промышленной безопасностью, охраной труда и
пожарной безопасности.
Для решения основных задач на отдел ТБ и ООС
возложены следующие функции :
- организация
реализации системы управления промышленной безопасностью, охраной труда и
пожарной безопасностью в цехах и структурных подразделениях ТПП.
- разработка
предложений по нормативным актам, регулирующим деятельность ТПП и его
структурных подразделений, осуществление контроля исполнения нормативных актов
по вопросам промышленной безопасности, охраны труда техники и пожарной
безопасности, законодательства по охране труда, правил организации и
безопасного проведения работ.
- организация работы постоянно действующей
комиссии (ПДК) по безопасности труда предприятия и осуществление периодических
проверок состояния условий труда в цехах
и на объектах, согласно плану работы, с привлечением к этой работе специалистов
отделов, служб ТПП.
Все производственные процессы, так или иначе,
связаны с опасными и вредными факторами которые могут создавать прямую или
косвенную угрозу жизни или здоровью человека. Вредные производственные факторы
обычно воздействует на организм человека не сразу, а постепенно, имеют свойство
накапливаться в организме и, достигнув определенного предела, могут привести к
нарушению здоровья. В связи с этим в 2009 г. ТПП
"ЛУКОЙЛ-Ухтанефтегаз" проведена аттестация рабочих мест по условиям
труда. При аттестации рабочих мест наряду с оценкой технического оснащения РМ и
их организации проведен анализ их соответствия по травмобезопасности и
обеспеченности средствами индивидуальной защиты с оформлением протоколов.
Количество рабочих мест, на которых проведена
аттестация по условиям труда - 287 р.м., количество работников занятых на этих
рабочих местах составляет 722 чел. Аттестовано с классами условий труда 1 и 2 и
соответствует требованиям по обеспеченности СИЗ - 7 р.м. на которых работает 7
чел., аттестовано с классами условий труда 3, 3.1, 3.2, 3.3, 3.4 - 280 р.м. на
которых работает 715 чел. Результаты аттестации представлены в:
картах аттестации рабочих мест по условиям
труда;
ведомостях рабочих мест и результатов их
аттестации по условиям тру-да в подразделениях;
сводной ведомости рабочих мест и результатов их
аттестации по условиям труда в НШУ "Яреганефть";
2.
АННОТАЦИЯ ПРЕДЛАГАЕМЫХ МЕРОПРИЯТИЙ
.1 Мероприятия в сфере промышленной безопасности
В настоящее время в нефтяной и газовой
промышленности происходит большое число несчастных случаев на производстве.
Согласно статистике травматизма с 2000 по 2010 год основными факторами
несчастных случаев являются:
организационные - 54 %:
а) отсутствие должного руководства и технадзора
за соблюдением работающими норм технической эксплуатации, техники безопасности,
внутреннего трудового распорядка и санитарных правил при выполнении работ - 10
%;
г) низкая трудовая дисциплина - 11 %;
д) недостатки в организации рабочего места и
неудовлетворительное его содержание (загромождение рабочих мест, проходов
разбросанными материалами, изделиями, оборудованием и отходами производства),
отсутствие планировки и неудовлетворительное содержание территории, плохое
состояние пола, перекрытий, бессистемное расположение оборудования - 6 %;
е) нерациональная освещенность - 5 %;
ж) неудовлетворительное состояние
погрузо-разгрузочных площадок - 8 %;
з) неисправное состояние или отсутствие
вспомогательных устройств - 2 %;
и) отсутствие или недостаточность инструктажа и
обучения рабочих правилам техники безопасности и производственной санитарии - 1
%;
к) обслуживание работающими агрегатов без
специального обучения и надлежащего оформления полученных знаний (отсутствие
прав, удостоверений) - 3 %;
л) низкая квалификация административного
аппарата и ИТР, осуществляющих руководство работами - 2 %;
м) не использование, неисправность спецодежды,
спецобуви и индивидуальных защитных приспособлений - 4 %;
н) нарушение правил техники безопасности,
допущение не по вине администрации (несчастные случаи, происшедшие по вине
сторонних организаций) - 2 %;
технические - 46 %:
а) конструктивные недостатки оборудования,
ограждений, приборов, аппаратов - 7 %;
б) отсутствие или недостаточность средств
механизации тяжелых и опасных операций - 2 %;
в) отсутствие ограждающих устройств на опасных
участках работы - 14 %;
г) нарушение правил электробезопасности,
отсутствие устройств, ограждающих от токоведущих частей оборудования,
отсутствие или плохое качество заземления, работы на ЛЭП и так далее - 6 %;
д) неисправное состояние подъемно-транспортных
механизмов, устройств и приспособлений к ним - 6 %;
е) неисправное состояние технологического
оборудования, включая сменный инструмент, ограждения и приспособления - 3 %;
ж) неисправное состояние ручного или переносного
механизированного инструмента - 4 %;
з) несоблюдение габаритов (в складских
помещениях, проездах и т.п.) - 1 %;
и) отсутствие сигнализации (блокировки и т.п.) 2
%;
к) перевозка людей на необорудованном транспорте
- 1 %.
Для снижения травматизма предложено проводить
предсменное обследование при помощи психофизиологической программы.
Основная цель внедрения программы
психофизиологического обследования:
оценка психоэмоционального и физического
состояния работника для обеспечения надежности профессиональной деятельности и
сохранения здоровья персонала.
Основные задачи:
организация и проведение психофизиологического
сопровождения профессиональной деятельности и профессионального
психологического отбора работников энергетических предприятий;
организация и проведение психофизиологических
обследований работников, связанных с эксплуатацией ОПО;
выявление психических или соматических
расстройств;
определение по результатам обследований
необходимости проведения психокоррекционных, реабилитационных мероприятий,
последующего обследования;
разработка с учетом человеческого фактора
мероприятий по повышению безопасности и надежности;
Предложенный вариант внедрения программы
разработан с учетом возможного финансирования и временных затрат для
осуществления медико-психофизиологического обследования предсменного
оперативного персонала. Для внедрения необходимо:
назначить ответственных за организацию работ по
внедрению ПФО;
создать необходимые условия для предсменных
психофизиологических обследований;
составить списки работников, подлежащих
регулярному предсменному осмотру.
Состав комплекса аппаратно-программного
неинвазивного исследования центральной гемодинамики методом объемной
компрессионной осциллоетрии представлен в таблице 3.4.
Таблица 3.4 - Состав КАП ЦГ "Глобус"
|
Наименование
|
Обозначение
|
Кол-во,
шт
|
|
1.
Блок измерительный
|
ТУ9441-003-22221983-2004
|
1
|
|
2.
Кабель питания
|
|
1
|
|
3.
Кабель интерфейсный
|
|
1
|
|
4.
Комплект манжет (с учетом окружности плеча: 18-26 см; 25-36 см; 33-46 см)
|
|
1
|
|
5.
Компакт диск с программным обеспечением
|
|
1
|
|
6.
Руководство по эксплуатации
|
02.1.02.00.00РЭ
|
1
|
|
7.
Паспорт
|
02.1.02.00.00ПС
|
1
|
|
8.
Инструкция по применению ПЭВМ
|
|
1
|
Реализация предложенного мероприятия позволит
снизить количество получаемых травм, а следовательно уменьшить затраты
предприятия на выплату пособий.
.2 Мероприятия в сфере охраны труда
Одним из видов деятельности предприятия ТПП
"ЛУКОЙЛ-Ухтанефтегаз" является разведка нефтяных и газовых
месторождений. Разведка ведется путем бурения новых скважин, далее
месторождение обустраивается и к нему подводят межпромысловый нефтепровод.
В процессе бурения бурильщик подвергается
сильному воздействию вибрации. Согласно карте аттестации рабочих мест по
условиям труда 2009 г. 35 % рабочих мест, связанных с буровыми работами не
соответствует санитарным нормам по уровню вибрации. В результате рабочее место
бурильщика получило класс условий труда 3.3
Доплаты к зарплате рабочим, занятых
на работе, относящейся к классу опасности 3.3 составляют 12 %.
Прямым следствием неудовлетворительных условий
труда, в которых трудятся работающие, является высокой уровень профессиональной
заболеваемости. Регистрируемый уровень профессиональной заболеваемости не
отражает истинной ситуации, поскольку выявляемость профпатологии неполная и
происходит в основном на поздних стадиях развития заболевания, чаще всего
принявшего хроническую форму.
Основными показателями заболеваемости по
нозологическим формам, являются: вибрационная болезнь (37 %), бруцеллез (25 %),
радикулит (12 %), остеохондроз (12 %), туберкулез (8 %), неврит кохлеарный (6
%).
Предлагается уменьшить класс условий труда
бурильщика с 3.3 до 3.1 путем применения вибродемпфирования рабочего места
бурильщика стальными пружинами с резинометаллической площадкой представленной
на рисунке 2.
Рисунок 2 - пружины с резинометаллической
площадкой
Виброизоляция сводится к установке между
источником возбуждения и защищаемым объектом виброизоляторов - устройств
(материалов) с большим внутренним трением в данном случае это стальные пружины
с резинометаллической площадкой.
.3 Мероприятия в сфере охраны окружающей среды
В настоящее время при использовании современной
техники и технологий не более 10 % сырья из недр и с поверхности планеты
превращается в готовую продукцию, а 90 % идёт в отходы, загрязняющие биосферу.
Отходы загрязняют атмосферный воздух, почву, растительность, подземные и
поверхностные воды.
На ТПП часть отходов вывозится, а часть
утилизируется путём сжигания на промышленной площадке предприятия, что
оказывает негативное действие на ОС. В то же время обычные процессы сжигания
твердых бытовых отходов сопровождается образованием сильно токсичных
газообразных веществ, в том числе и диоксидов.
Весьма перспективным считается сжигание ТБО в
расплавах металлов или в расплавленном шлаке. Преимущество этого способа
заключается в том, что из-за высокой температуры таких расплавов разложение
твердых бытовых отходов происходит очень быстро и полностью поэтому значительно
сокращается выброс ВВ (до минимума) и исключается выброс углеводорода, а
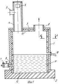
минеральные составляющие расплавляются и переходят в шлак. На рисунке 3
представлена установка для сжигания ТБО в шлаке.
Рисунок 3 - установка для сжигания
ТБО.
Печь содержит: 1- корпус; 2- подину;
3 - свод; 4 - загр.устройство; 5 - окна для загрузки отходов; 6 - флюсы; 7 -
горелки; 8 - трубопровод; 9 - патрубок; 10 - желоб; 11 - шлаковый расплав; 12 -
шпур; 13 - теплоотводящие элементы-кессоны.
На предприятии
образуется до 17298 т/год ТБО, которые сжигаются на промышленных площадках и вывозятся
за пределы предприятия. Следовательно при использовании установки можно
избавится от расходов на предприятие занимающееся ТБО и сократить расходы за
выброс вредных веществ в атмосферу.
В соответствии с техническими
условиями при объеме камеры 900 литров, производительность установки по отходам
составляет 100 кг/час, т.е. установка при 8 часовом рабочем дне может сжигать
до 321 000 кг ТБО в год.
3.
МЕТОДИКА РАСЧЕТА ПОКАЗАТЕЛЕЙ ЭКОНОМИЧЕСКОЙ ЭФФЕКТИВНОСТИ НАУЧНО-ТЕХНИЧЕСКИХ И
ОРГАНИЗАЦИОННЫХ МЕРОПРИЯТИЙ
Экономическая эффективность предлагаемых в
работе мероприятий рассчитывается с целью определения их потенциальной
коммерческой привлекательности. Показатели
коммерческой эффективности мероприятия учитывают финансовые последствия его
осуществления для участника, реализующего данное мероприятие, в предположении,
что он производит все необходимые для его реализации затраты и пользуется всеми
его результатами. В то же время для
мероприятий в сфере ПБ, ОТ и ООС нельзя рассматривать "получение
дохода" в качестве приоритетного показателя эффективности, т.к. основная
ценность реализации подобных мероприятий заключается в решении насущных
экологических и социальных проблем общества. Показатели
экономической эффективности учитывают стоимостную оценку затрат и результатов,
связанных с реализацией мероприятия. Расчет
экономической эффективности проведен в соответствии "Методическими
рекомендациями по оценке эффективности инвестиционных проектов и их отбору для
финансирования" (Москва, 2000 год). В
работе рассчитываются следующие показатели:
капитальные вложения на проведение мероприятия;
эксплуатационные затраты по мероприятию;
экономический эффект от мероприятия;
чистый доход;
чистый дисконтированный доход;
индекс доходности;
внутренняя норма доходности;
срок окупаемости капитальных вложений.
3.1 Капитальные вложения
Капитальные вложения - совокупность
единовременных затрат, направляемых на создание и воспроизводство основных
фондов, связанных с реализацией предлагаемых мероприятий.
Капитальные
вложения включают:
затраты на научно-исследовательские и
опытно-конструкторские работы; - затраты на
освоение производства, разработку и освоение опытных образцов продукции;
затраты на приобретение, транспортировку, монтаж
и наладку производственного оборудования;
затраты на демонтаж ранее установленного
оборудования в связи с внедрением новой техники;
стоимость строительства или реконструкции зданий
и сооружений, производственных площадей, пополнение других основных
производственных фондов, связанных с внедрением новой техники;
пополнение оборотных средств, связанных с
внедрением новой техники;
затраты на предотвращение отрицательных
социальных, экологических и других последствий;
затраты на создание социальной инфраструктуры.
При реализации мероприятий в сфере ПБ, ОТ, ООС
капитальные вложения могут включать:
стоимость покупки, доставки и монтажа нового
оборудования, программного обеспечения, иного объекта в рамках предлагаемых
мероприятий; - затраты на
обучение (переобучение) персонала, связанное с внедрением новой техники,
технологии производства;
- стоимость проектов НДВ, НДС, лицензий и пр.
документации при внедрении новых объектов, воздействующих на ОС;
- прочие единовременные вложения по мероприятию.
3.2 Эксплуатационные затраты
Эксплуатационные затраты - это ежегодные текущие
издержки предприятия, связанные с реализацией проекта.
Эксплуатационные затраты группируют по следующим
экономическим статьям: материальные затраты, затраты на оплату труда,
социальные отчисления, амортизационные отчисления, прочие расходы.
1. Материальные затраты включают
в себя затраты на сырье, материалы, топливо, энергию, запасные части и пр.
Годовые затраты на электроэнергию (Зэ)
рассчитываются по формуле:
Зэ = Т * М * Ц
(3.1)
где: Т - время работы оборудования в течение
года, час;
М - потребляемая мощность, кВт/ч;
Ц - тариф на электроэнергию, руб. /кВт*ч
Годовые затраты на топливо (Зт) рассчитываются
по формуле:
Зт = Т *Р * Ц
(3.2)
где: Т - время работы оборудования в течение
года, час.;
Р - расход топлива, кг/ч;
Ц - цена топлива, руб. /кг.
. Затраты на оплату труда (Зот)
рассчитываются по формуле:
Зот = Зср *
Чр * 12 (3.3)
где: Зср - среднемесячная заработная плата 1
работника, руб.;
Чр - численность работников, чел.;
- количество месяцев в году.
. Страховые взносы (социальные отчисления)
с 1 января 2011 года составляют 34% от фонда заработной платы, том числе:
в Пенсионный Фонд - 26 %;
в Фонд социального страхования - 2,9 %;
в Федеральный фонд обязательного медицинского
страхования - 2,1 %;
в Территориальный фонд обязательного
медицинского страхования - 3 %.
Зсв = Зот*0,34 (3.4)
4. Амортизационные отчисления
Амортизация - процесс постепенного переноса
стоимости основных фондов на себестоимость готовой продукции в течение срока
полезного использования объекта по мере его износа.
Годовые амортизационные отчисления (Аг):
Аг = ОФп / Та (3.5)
где: ОФп - первоначальная стоимость объекта
основных фондов, руб.;
Та - амортизационный период (срок полезного
использования) объекта, лет.
. Прочие расходы включают затраты
предприятия на оплату командировочных расходов, арендную плату, рекламу,
экологические платежи, налоги (транспортный, земельный), канцелярские расходы и
пр.
3.3 Годовой экономический эффект
Экономический эффект от мероприятий в сфере
промышленной безопасности, охраны труда или защиты окружающей среды может
выражаться приростом прибыли предприятия в результате следующих косвенных
эффектов:
экономия от снижения материальных затрат;
экономия от снижения трудоемкости производства;
прирост производительности труда работников;
сокращение времени простоев оборудования;
увеличение продолжительности межремонтного
периода оборудования;
экономия на затратах по боль-ничным листам
работников;
экономия на компенсационных выплатах за вредные
условия труда.
.4 Налог на имущество
Налог на имущество (Ни) рассчитывается по ставке
2,2 % от среднегодовой остаточной стоимости имущества предприятия:
Ни = 0,022 * ОФо
(3.6)
ОФо = ОФп - И
(3.7)
И = Аг * N
(3.8)
где: ОФо - остаточная стоимость основных фондов,
руб.;
ОФп - первоначальная стоимость основных фондов,
руб.;
И - сумма начисленного износа, руб.
N - время
фактической работы оборудования, лет.
.5 Налог на прибыль
Налог на прибыль (Нп) рассчитывается по ставке
20% от балансовой прибыли предприятия (Пб):
Нп = 0,2 * Пб (3.9)
Балансовая прибыль является финансовым
результатом деятельности предприятия и нашем случае рассчитывается как разность
между экономическим эффектом, эксплуатационными затратами и налогом на
имущество:
Пб = Эг - Зг - Ни
(3.10)
где: Эг - годовой экономический эффект, тыс.
руб.;
Зг - годовые эксплуатационные затраты, тыс.
руб.;
Ни - налог на имущество, тыс. руб.
.6 Чистая прибыль
Чистая прибыль предприятия (Пч) рассчитывается
как разница между балансовой прибылью (Пб) и налогом на прибыль (Нп):
Пч = Пб - Нп
(3.11)
.7 Чистый доход
Осуществление научно-технических и
организационных мероприятий сопровождается притоком (Пt) и оттоком
(Ot) денежных средств, разность между которыми представляет собой
чистый доход (ЧДt):

(3.12)
Величина притока денежных средств в
t-ом году включает:
все виды экономических эффектов
(Эг), рассчитанные в п. 3.3;
другие доходы предприятия, связанные
с реализацией мероприятия.
Величина оттока денежных средств в
t-ом году включает:
дополнительные вложения в основной и
оборотный капитал (Kв) (см. п.3.1);
эксплуатационные затраты, связанные
с осуществлением мероприятия (Зг) (см. п.3.2);
налоги и сборы, относимые на
финансовый результат деятельности предприятия (Ни, Нп) (см.п.3.4, п.3.5).
Чистый доход предприятия в t-ом году
(ЧДt) рассчитывается по формуле:
(3.13)
где: Пчt - прирост чистой
прибыли предприятия в t-ом году;t - амортизационные отчисления в
t-ом году, руб.;
Кt - капитальные вложения
в t-ом году, руб.
.8 Дисконтирование
Расчет экономической и коммерческой
эффективности проводится с обязательным приведением разновременных затрат и
результатов к единому моменту времени (первому году реализации проекта).
Процесс дисконтирования осуществляется путем умножения стоимостных величин за
каждый год на коэффициент дисконтирования.
Коэффициент дисконтирования (αt)
рассчитывается по формуле:

(3.14)
где Е - норма дисконта, доли ед.;
t -
порядковый номер года расчета.
Норма дисконта (Е) должна отражать
возможную стоимость капитала, соответствующую возможной прибыли инвестора,
которую он мог бы получить на ту же сумму капитала, вкладывая его в другом
месте.
Норма дисконта должна являться
минимальной нормой прибыли, ниже которой предприниматель счел бы инвестиции
невыгодными для себя.
В качестве приближенного значения
нормы дисконта могут быть использованы существующие усредненные процентные
ставки по долгосрочным банковским кредитам или средний процент годовой
инфляции.
.9 Чистый дисконтированный доход
Чистый дисконтированный доход по
годам расчетного периода (ЧДДt)
определяется умножением чистых доходов, полученных в t-ом году (ЧДt), на
соответствующий коэффициент дисконтирования (
).

(3.15)
где
-
коэффициент дисконтирования (приведения разновременных затрат и результатов к
расчетному году), доли ед.;
3.10 Накопленный ЧДД
Накопленный ЧДД представляет собой
разность между совокупным доходом от реализации продукции, рассчитанный за весь
период реализации проекта, и всех оттоков денежных средств, суммированных за
тот же период, с учетом фактора времени, т.е. дисконтированием разновременных
доходов и расходов.
Другими словами, накопленный ЧДД -
это сумма ЧДДt по годам за весь период реализации
проекта:
(3.16)
Условием экономической эффективности проекта
является неравенство: ЧДД > 0,
т.е.
если накопленный ЧДД проекта положителен, проект является экономически
эффективным.
.11 Индекс доходности
Индекс доходности является важным показателем
коммерческой эффективности научно-технических и организационных мероприятий и
используется для финансового обоснования их реализации.
Определяется соотношением финансовых затрат и
результатов, обеспечивающих требуемую норму доходности на вкладываемый капитал.
Индекс доходности (ИД) представляет собой
отношение накопленного чистого дисконтированного дохода к дисконтированным
капитальным вложениям, увеличенное на 1.

(3.17)
Индекс доходности показывает, сколько рублей
дохода получит инвестор в конце срока реализации проекта на каждый вложенный им
рубль.
Если ЧДД положителен, то индекс доходности
больше единицы, проект считается экономически выгодным.
3.12 Внутренняя норма доходности
Внутренняя норма доходности (Евн)
представляет норму дисконта, при которой стоимость всех поступлений от проекта
равна современной стоимости затрат на проект.
Другими словами, внутренняя норма доходности
представляет собой норму дисконта (Евн), при которой величина
чистого дисконтированного дохода равна 0, определяется на основе решения
уравнения:
Евн сравнивается с требуемой
инвестором нормой дохода на вкладываемый капитал. Если Евн равна или
больше требуемой инвестором нормы дохода на капитал, инвестиции в данный проект
оправданы, и может рассматриваться вопрос о его принятии; если меньше -
инвестиции в данный проект не целесообразны.
Таким образом, проект считается рентабельным,
если внутренняя норма доходности не ниже нормы дисконта:
Евн
≥ Е
Значение внутренней нормы доходности для
конкретного проекта может трактоваться как нижний гарантированный уровень
прибыльности инвестиций.
.13 Срок окупаемости
Срок окупаемости капитальных вложений показывает
число лет, в течение которых капитальные вложения окупаются за счет ежегодно
получаемых доходов.
Срок окупаемости - это минимальный временной
интервал от начала осуществления проекта, за пределами которого чистый
дисконтированный доход является положительным.
Срок окупаемости (Ток) представляет собой
порядковый год, в котором чистый дисконтированный доход равен нулю, и
определяется на основе решения уравнения:
,
4.
РАСЧЕТ ПОКАЗАТЕЛЕЙ ЭКОНОМИЧЕСКОЙ ЭФФЕКТИВНОСТИ ПРЕДЛАГАЕМЫХ МЕРОПРИЯТИЙ
.1 В сфере промышленной безопасности
.1.1 Капитальные вложения
Капитальные вложения в мероприятия в сфере
промышленной безопасности приведены в таблице 4.
Таблица 4 - Капитальные вложения в мероприятия в
сфере промышленной безопасности
|
№
п/п
|
Наименование
капитальных затрат
|
Сумма,
руб.
|
Покупка
КАП "Глобус"
|
11
000
|
|
2
|
Транспортировка
|
2000
|
|
3
|
Монтаж
оборудования, наладка и настройка
|
1500
|
|
Итого:
|
14
500
|
Капитальные вложения в мероприятия в сфере
промышленной безопасности составят 14 500 рублей.
.1.2 Эксплуатационные затраты
Эксплуатационные затраты на мероприятия в сфере
промышленной безопасности - амортизационные отчисления и затраты на
электроэнергию. Годовые затраты на
электроэнергию. Время работы
прибора составляет 1 000 часов в год. Потребляемая мощность 0,5 кВат/час.
Годовые
затраты на электроэнергию оборудования:
Зэ = 1 000 · 0,5 · 1 602,65 · 10-3
= 801,325 руб.
Годовые амортизационные отчисления вычисляются
по формуле:
Аг = ОФп / Та,
(1)
где ОФп - первоначальная стоимость
основных фондов объекта, руб.,
Та - амортизационный период (срок)
полезного использования, лет.
Первоначальная стоимость основных фондов -
фактические затраты предприятия на постройку (приобретение) объекта, включая
затраты на доставку и монтаж, которые существовали в год, когда вводили
основные фонды. Рассчитывается по формуле:
ОФп = Сп + Сд +
См,(2)
где Сп - стоимость покупки, руб.;
Сд
- стоимость доставки, руб.; См,
- стоимость монтажа, руб.
Стоимость покупки КАП "Глобус" равна Сп
= 11 000 рублей. Стоимость доставки и монтажа составляет
Сд + См = 3 500 рублей.
ОФп = 11 000 + 3500 = 14 500 рублей.
Срок полезного использования КАП ЦГ
"Глобус" равно 10 лет. Годовые амортизационные отчисления составят:
Аг = 14 500 / 10 = 1 450руб./год.
Таким образом, эксплуатационные затраты для КАП
ЦГ "Глобус" составят
Зг = 801,325 + 1 450 = 2 251,325
рублей.
4.1.3 Экономический эффект
Вследствие внедрения мероприятия снизится число
получаемых работниками травм на производстве на 30%, что приведет к приросту
прибыли предприятия в результате экономии на затратах по больничным листам
работников.
Например за 2007 - 2010 год было получено 10
травм на НШУ Яреганефть, выплаты работникам составили: 9 300 руб., 7 020 руб.,
7 500 руб., 8 190 руб., 8 750 руб., 9 555 руб., 9 880 руб., 10 000 руб., 10 920
руб., 11 115 руб.
Таким образом, экономический эффект равен:
Э = ( 9 300 + 7 020 + 7 500 + 8 190 +
8 750 + 9 555 + 9 880 + 10 000 + 10 920 + 11 115 ) / 4 = 23 057 ∙ 0,3 = 6
917 рублей.
4.1.4 Налог на имущество
Расчет налога на имущество представлен в таблице
5.
Таблица 5 - Остаточная стоимость мероприятий в
сфере промышленной безопасности
|
Срок
службы устройства
|
Кап.
вложения, т.р.
|
Амортизац.
отчисления, т.р.
|
Остаточн.
стоим-ть, т.р.
|
Ставка
налога
|
Налог
на имущество
|
|
1
год
|
14,5
|
1,45
|
13,05
|
0,022
|
0,287
|
|
2
год
|
-
|
1,45
|
11,6
|
|
0,255
|
|
3
год
|
-
|
1,45
|
10,15
|
|
0,223
|
|
4
год
|
-
|
1,45
|
8,7
|
|
0,191
|
|
5
год
|
-
|
1,45
|
7,25
|
|
0,159
|
|
6
год
|
-
|
1,45
|
5,8
|
|
0,127
|
|
7
год
|
-
|
1,45
|
4,35
|
|
0,095
|
|
8
год
|
-
|
1,45
|
2,9
|
|
0,063
|
|
9
год
|
-
|
1,45
|
1,45
|
|
0,031
|
|
10
год
|
-
|
1,45
|
0
|
|
0
|
4.1.5 Налог на прибыль
Расчет налога на прибыль представлен в таблице
6.
Таблица 6 - Налог на прибыль
|
Срок
службы устройства
|
Годовой
экономический эффект, т.р.
|
Годовые
эксплуатационные затраты, т.р.
|
Налог
на имущество, т.р.
|
Балансовая
прибыль, т.р.
|
Ставка
налога на прибыль, доли ед.
|
Налог
на прибыль, т.р.
|
|
1
год
|
6,92
|
2,25
|
0,287
|
4,409
|
0,2
|
0,88
|
|
2
год
|
6,92
|
2,25
|
0,255
|
4,439
|
|
0,89
|
|
3
год
|
-
|
-
|
0,223
|
4,469
|
|
0,89
|
|
4
год
|
-
|
-
|
0,191
|
4,499
|
|
0,9
|
|
5
год
|
-
|
-
|
0,159
|
4,519
|
|
0,9
|
|
6
год
|
-
|
-
|
0,127
|
4,549
|
|
0,91
|
|
7
год
|
-
|
-
|
0,095
|
4,579
|
|
0,92
|
|
8
год
|
-
|
-
|
0,063
|
4,609
|
|
0,92
|
|
9
год
|
-
|
-
|
0,031
|
4,639
|
|
0,93
|
|
10
год
|
-
|
-
|
0
|
4,669
|
|
0,93
|
Балансовая прибыль по годам увеличивается, так
как снижается налог на имущество.
.1.6 Чистая прибыль
Расчет чистой прибыли представлен в таблице 7.
Таблица 7 - Чистая прибыль от мероприятий в
сфере промышленной безопасности
|
Срок
службы устройства
|
Балансовая
прибыль, т.р.
|
Налог
на прибыль, т.р.
|
Чистая
прибыль, т.р.
|
|
1
год
|
4,409
|
0,88
|
3,53
|
|
2
год
|
4,439
|
0,89
|
3,55
|
|
3
год
|
4,469
|
0,89
|
3,58
|
|
4
год
|
4,499
|
0,9
|
3,6
|
|
5
год
|
4,519
|
0,9
|
3,62
|
|
6
год
|
4,549
|
0,91
|
3,64
|
|
7
год
|
4,579
|
0,92
|
3,66
|
|
8
год
|
4,609
|
0,92
|
3,69
|
|
9
год
|
4,639
|
0,93
|
3,71
|
|
10
год
|
4,669
|
0,93
|
3,74
|
4.1.7 Чистый доход
Расчет чистого дохода представлен в таблице 8.
Таблица 8 - Чистый доход от мероприятий в сфере
промышленной безопасности
|
Срок
службы устройства
|
Чистая
прибыль, т.р.
|
Кап.
вложения, т.р.
|
Амортизац.
отчисления, т.р.
|
Чистый
доход, т.р.
|
|
1
год
|
3,53
|
14,5
|
1,45
|
- 9,52
|
|
2
год
|
3,55
|
-
|
-
|
5
|
|
3
год
|
3,58
|
-
|
-
|
5,03
|
|
4
год
|
3,6
|
-
|
-
|
5,05
|
|
5
год
|
3,62
|
-
|
-
|
5,07
|
|
6
год
|
3,64
|
-
|
-
|
5,09
|
|
7
год
|
3,66
|
-
|
-
|
5,11
|
|
8
год
|
3,69
|
-
|
-
|
5,14
|
|
9
год
|
3,71
|
-
|
-
|
5,16
|
|
10
год
|
3,74
|
-
|
-
|
5,19
|
4.1.8 Чистый дисконтированный доход по годам
Расчет ЧДД по годам представлен в таблице 9.
Таблица 9 - Чистый дисконтированный доход по
годам от мероприятий в сфере промышленной безопасности
|
Срок
службы устройства
|
Чистый
доход, т.р.
|
Коэффициент
дисконтирования, доли ед.
|
Чистый
дисконтированный доход по годам, т.р.
|
|
1
год
|
- 9,52
|
1,00
|
- 9,52
|
|
2
год
|
5
|
0,91
|
4,5
|
|
3
год
|
5,03
|
0,83
|
4,17
|
|
4
год
|
5,05
|
0,75
|
3,79
|
|
5
год
|
5,07
|
0,68
|
3,55
|
|
6
год
|
5,09
|
0,62
|
3,16
|
|
7
год
|
5,11
|
0,56
|
2,86
|
|
8
год
|
5,14
|
0,51
|
2,62
|
|
9
год
|
5,16
|
0,47
|
2,43
|
|
10
год
|
5,19
|
0,42
|
2,18
|
Величина ЧДД по годам снижается за счет влияния
фактора дисконтирования, который приводит будущие денежные потоки к их
современной стоимости, показывая, таким образом, как инфляция обесценивает
будущие доходы предприятия.
.1.9 Накопленный чистый дисконтированный доход
Расчет накопленного ЧДД представлен в таблице
10.
Таблица 10 - Накопленный чистый дисконтированный
доход по годам
|
Срок
службы устройства
|
Чистый
дисконтированный доход по годам, т.р.
|
Накопленный
чистый дисконтированный доход, т.р.
|
|
1
год
|
- 9,52
|
-9,52
|
|
2
год
|
4,5
|
-5,02
|
|
3
год
|
4,17
|
- 0,85
|
|
4
год
|
3,79
|
2,94
|
|
5
год
|
3,55
|
6,49
|
|
6
год
|
3,16
|
9,65
|
|
7
год
|
2,86
|
12,51
|
|
8
год
|
2,62
|
15,13
|
|
9
год
|
2,43
|
|
10
год
|
2,18
|
19,79
|
Накопленный ЧДД проекта положительный,
следовательно, проект является экономически эффективным.
.1.10 Индекс доходности
Индекс доходности мероприятия равен:
ИД = 19,79/14,5 + 1 = 2,36
Индекс доходности больше 1, проект экономически
выгодный.
.1.11 Внутренняя норма доходности
Рассчитанная в программе Microsoft
Excel внутренняя норма
доходности из ряда динамики ненакопленного чистого дисконтированного дохода
равна 18 % > 10 % (принятая норма дохода), следовательно, инвестиции в
данный проект оправданы.
.1.12 Срок окупаемости
Расчет срока окупаемости приведен в таблице 11.
Таблица 11 - Срок окупаемости мероприятий
|
Срок
службы
|
Накопленный
чистый дисконтированный доход, т.р.
|
Срок
окупаемости
|
|
1
год
|
- 9,52
|
|
|
2
год
|
-5,02
|
|
|
3
год
|
- 0,85
|
|
|
4
год
|
2,94
|
|
|
5
год
|
6,49
|
|
|
6
год
|
9,65
|
|
|
7
год
|
12,51
|
|
|
8
год
|
15,13
|
|
|
|
7
лет 10 месяцев
|
12,51/12,51 + 2,36/12 = 10,17 = 10
месяцев.
.1.13 Сводный расчет показателей
экономической эффективности
Расчет представлен в таблице 12.
Таблица 12 - Сводный расчет
показателей экономической эффективности мероприятий в сфере промышленной
безопасности
|
Показатели
|
1
год
|
2
год
|
3
год
|
4
год
|
5
год
|
|
1.
Капитальные вложения, тыс. руб.
|
14,5
|
-
|
-
|
-
|
-
|
|
2.
Годовые эксплуатационные затраты, тыс. руб. 2.1 Амортизационные отчисления,
тыс. руб.
|
2,25
1,45
|
2,25
1,45
|
2,25
1,45
|
2,25
1,45
|
2,25
1,45
|
|
3.
Годовой экономический эффект, тыс. руб.
|
6,92
|
6,92
|
6,92
|
6,92
|
6,92
|
|
4.
Годовой ЧД, тыс. руб.
|
- 9,52
|
5
|
5,03
|
5,05
|
5,07
|
|
5.
Коэффициент дисконтирования при Е = 10 %, доли ед.
|
1,00
|
0,91
|
0,83
|
0,75
|
0,68
|
|
6.
ЧДД по годам, тыс. руб.
|
- 9,52
|
4,5
|
4,17
|
3,79
|
3,55
|
|
7.
Накопленный суммарный ЧДД, тыс. руб.
|
-9,52
|
-5,02
|
-0,85
|
2,94
|
6,49
|
|
8.
Дисконтированные капитальные вложения, тыс. руб. Остаточная стоимость
имущества, тыс. руб. Налог на имущество, тыс. руб. Налог на прибыль, тыс.
руб. Чистая прибыль, тыс. руб.
|
14,5 13,05 0,287 0,88 3,53
|
-
11,6 0,255 0,89 3,55
|
-
10,15 0,223 0,89 3,58
|
-
8,7 0,191 0,9 3,6
|
-
7,25 0,159 0,9 3,62
|
|
9.
ИД, руб. / руб.
|
2,36
|
|
10.
Евн., %
|
18
|
|
|
|
|
|
11.
Ток
|
7 лет 10 месяцев
|
Итоговые показатели экономической эффективности
проекта представлены в таблице 13.
Таблица 13 - Итоговые показатели экономической
эффективности проекта
|
№
п / п
|
Показатели
|
Значение
|
|
1
|
Капитальные
вложения, тыс. руб.
|
14,5
|
|
2
|
Годовые
эксплуатационные затраты, тыс руб.
|
2,25
|
|
3
|
Годовой
экономический эффект, тыс. руб.
|
6,92
|
|
4
|
ЧДД
накопленный (к концу реализации), тыс. руб.
|
19,79
|
|
5
|
ИД,
руб. / руб.
|
2,36
|
|
6
|
Евн.,
%
|
18
|
|
7
|
Ток
|
7
лет 10 месяцев
|
Таким образом проект можно считать экономически
обоснованным, а инвестиции в него обоснованными, так как все показатели
эффективности имеют удовлетворительные значения уже к 4 году его реализации.
4.2 В сфере охраны труда
.2.1 Капитальные вложения
Капитальные вложения в мероприятия в сфере
охраны труда приведены в таблице 14.
Таблица 14 - Капитальные вложения в мероприятия
в сфере охраны труда
|
№
п/п
|
Наименование
капитальных затрат
|
Сумма,
руб.
|
|
1
|
Покупка
виброгасящего оборудования
|
20
000
|
|
2
|
Транспортировка
и монтаж оборудования
|
5000
|
|
Итого:
|
25
000
|
Кв1 - стоимость покупки, доставки и
монтажа нового оборудования (25000 р.);
Кв2 - стоимость проектов НДВ, НДС,
лицензий и пр. документации при внедрении новых объектов = 10000 р.

+ Кв2
Капитальные вложения для установки виброгасящего
оборудования составят Кв = 35000 р.
.2.2 Эксплуатационные затраты
Эксплуатационные затраты на мероприятия в сфере
охраны труда включают в себя годовые затраты на амортизационные отчисления.
Амортизационный период полезного использования
виброгасящего оборудования равен 5 лет. Годовые амортизационные отчисления
вычисляются по формуле (1) и равны:
Аг = 35 000 / 5 = 7 000 руб./год.
4.2.3 Экономический эффект
Вследствие внедрения данного мероприятия
снизятся выплаты предприятия работникам за вредные условия труда, что приведет
к приросту прибыли предприятия в результате экономии на компенсационных
выплатах за вредные условия труда.
Компенсационные выплаты одному рабочему
составляют 12 % от оклада. Оклад одного бурильщика 30 000 руб. Итак,
экономический эффект составит:
Э = 0,12 · 30 000 · 12 = 43 200 руб.
.2.4 Налог на имущество
Расчет налога на имущество приведен в таблице
15.
Таблица 15 - Остаточная стоимость мероприятий в
сфере охраны труда
|
Срок
службы
|
Кап.
вложения, т.р.
|
Амортизац.
отчисления, т.р.
|
Остаточн.
стоим-ть, т.р.
|
Ставка
налога
|
Налог
на имущество
|
|
1
год
|
35
|
7
|
28
|
0,022
|
0,56
|
|
2
год
|
-
|
7
|
21
|
|
0,42
|
|
3
год
|
-
|
7
|
14
|
|
0,28
|
|
4
год
|
-
|
7
|
7
|
|
0,0,14
|
|
5
год
|
-
|
7
|
0
|
|
0
|
Сумма налога на имущество снижается погодам, так
как уменьшается остаточная стоимость имущества ввиду его постепенного износа.
4.2.5 Налог на прибыль
Расчет налога на прибыль приведен в таблице 16.
Таблица 16 - Налог на прибыль в сфере охраны
труда
|
Срок
службы
|
Годовой
экономический эффект, т.р.
|
Годовые
эксплуатационные затраты, т.р.
|
Налог
на имущество, т.р.
|
Балансовая
прибыль, т.р.
|
Ставка
налога на прибыль, доли ед.
|
Налог
на прибыль, т.р.
|
|
1
год
|
43,2
|
7
|
0,56
|
35,64
|
0,
2
|
7,13
|
|
2
год
|
-
|
7
|
0,42
|
35,78
|
|
7,16
|
|
3
год
|
-
|
7
|
0,28
|
35,92
|
|
7,18
|
|
4
год
|
-
|
7
|
0,14
|
36,06
|
|
7,21
|
|
5
год
|
-
|
7
|
0
|
36,2
|
|
7,24
|
Балансовая прибыль по годам увеличивается, так как
снижается налог на имущество.
.2.6 Чистая прибыль
Расчет чистой прибыли приведен в таблице 17.
Таблица 17 - Чистая прибыль от мероприятий в
сфере охраны труда
|
Срок
службы
|
Балансовая
прибыль, т.р.
|
Налог
на прибыль, т.р.
|
Чистая
прибыль, т.р.
|
|
1
год
|
35,64
|
7,13
|
28,51
|
|
2
год
|
35,78
|
7,16
|
28,62
|
|
3
год
|
35,92
|
7,18
|
28,74
|
|
4
год
|
36,06
|
7,21
|
28,85
|
|
5
год
|
36,2
|
7,24
|
28,96
|
4.2.7 Чистый доход
Расчет чистого дохода приведен в таблице 18.
Таблица 18 - Чистый доход от мероприятий в сфере
охраны труда
|
Срок
службы
|
Чистая
прибыль, т.р.
|
Кап.
вложения, т.р.
|
Амортизац.
отчисления, т.р.
|
Чистый
доход, т.р.
|
|
1
год
|
28,51
|
35
|
7
|
0,51
|
|
2
год
|
28,62
|
-
|
7
|
35,62
|
|
3
год
|
28,74
|
-
|
7
|
35,74
|
|
4
год
|
28,85
|
-
|
7
|
35,85
|
|
5
год
|
28,96
|
-
|
7
|
35,96
|
4.2.8 Чистый дисконтированный доход по годам
Расчет ЧДД по годам приведен в таблице 19.
Таблица 19 - Чистый дисконтированный доход по
годам от мероприятий в сфере охраны труда
|
Срок
службы
|
Чистый
доход, т.р.
|
Коэффициент
дисконтирования, доли ед.
|
ЧДД
по годам, т.р.
|
|
1
год
|
0,51
|
1,00
|
0,51
|
|
2
год
|
35,62
|
0,91
|
32,06
|
|
3
год
|
35,74
|
0,83
|
29,66
|
|
4
год
|
35,85
|
0,75
|
26,89
|
|
5
год
|
35,96
|
0,7
|
25,17
|
Величина ЧДД по годам снижается за счет влияния
фактора дисконтирования, который приводит будущие денежные потоки к их
современной стоимости, показывая, таким образом, как инфляция обесценивает
будущие доходы предприятия.
4.2.9 Накопленный чистый дисконтированный доход
Расчет накопленного ЧДД приведен в таблице 20.
Таблица 20 - Накопленный чистый дисконтированный
доход по годам от мероприятий в сфере охраны труда
|
Срок
службы
|
Чистый
дисконтированный доход по годам, т.р.
|
Накопленный
чистый дисконтированный доход, т.р.
|
|
1
год
|
0,51
|
0,51
|
|
2
год
|
32,06
|
32,57
|
|
3
год
|
29,66
|
62,23
|
|
4
год
|
26,89
|
89,12
|
|
5
год
|
25,17
|
114,29
|
Накопленный ЧДД проекта положительный,
следовательно, проект является экономически эффективным.
.2.10 Индекс доходности
Индекс доходности мероприятия равен:
114,29/35 + 1 = 4,26
Индекс доходности больше 1, проект экономически
выгодный.
4.2.11 Внутренняя норма доходности
Рассчитанная в программе Microsoft
Excel внутренняя норма
доходности из ряда динамики ненакопленного чистого дисконтированного дохода
равна 90 % > 10 % (принятая норма дохода), следовательно, инвестиции в
данный проект оправданы.
4.2.12 Срок окупаемости
Расчет срока окупаемости приведен в таблице 21.
Таблица 21 - Срок окупаемости мероприятий в
сфере промышленной безопасности
|
Срок
службы
|
Накопленный
чистый дисконтированный доход, т.р.
|
|
1
год
|
0,51
|
|
|
2
год
|
32,57
|
|
|
3
год
|
62,23
|
|
|
|
2
года 10 месяцев
|
32,57/32,57 + 4,26/12 = 10 месяцев.
.1.13 Сводный расчет показателей
экономической эффективности
Расчет представлен в таблице 22.
Таблица 22 - Сводный расчет
показателей экономической эффективности мероприятий в сфере охраны труда
|
Показатели
|
1
год
|
2
год
|
3
год
|
4
год
|
5
год
|
|
1.
Капитальные вложения, тыс. руб.
|
35
|
-
|
-
|
-
|
-
|
|
2.
Годовые эксплуатационные затраты, тыс. руб. 2.1 Амортизационные отчисления,
тыс. руб.
|
7
7
|
7
7
|
7
7
|
7
7
|
7
7
|
|
3.
Годовой экономический эффект, тыс. руб.
|
43,2
|
43,2
|
43,2
|
43,2
|
43,2
|
|
4.
Годовой ЧД, тыс. руб.
|
0,51
|
35,62
|
35,74
|
35,85
|
35,96
|
|
5.
Коэффициент дисконтирования при Е = 10 %, доли ед.
|
1,00
|
0,91
|
0,83
|
0,75
|
0,7
|
|
6.
ЧДД по годам, тыс. руб.
|
0,51
|
32,06
|
29,66
|
26,89
|
25,17
|
|
7.
Накопленный суммарный ЧДД, тыс. руб.
|
0,51
|
32,62
|
62,23
|
89,12
|
114,29
|
|
8.
Дисконтированные кап. вложения, тыс. руб. Остаточная стоимость имущества,
тыс. руб. Налог на имущество, тыс. руб. Налог на прибыль, тыс. руб. Чистая
прибыль, тыс. руб.
|
35
28 0,56 7,13 28,51
|
-
21 0,42 7,16 28,62
|
-
14 0,28 7,18 28,74
|
-
7 0,14 7,21 28,85
|
-
0 0 7,24 25,17
|
|
9.
ИД, руб. / руб.
|
4,26
|
|
10.
Евн., %
|
90
|
|
11.
Ток
|
2
года 10 месяцев
|
|
|
|
|
|
|
|
Итоговые показатели экономической эффективности
проекта представлены в таблице 23.
Таблица 23 - Итоговые показатели экономической
эффективности проекта
|
№
п / п
|
Показатели
|
Значение
|
|
1
|
Капитальные
вложения, тыс. руб.
|
35
|
|
2
|
Годовые
эксплуатационные затраты, тыс. руб.
|
7
|
|
3
|
Годовой
экономический эффект, тыс. руб.
|
43,2
|
|
4
|
ЧДД
накопленный (к концу реализации), тыс. руб.
|
114,29
|
|
5
|
ИД,
руб. / руб.
|
4,26
|
|
6
|
Евн.,
%.
|
90
|
|
7
|
Ток
|
2
года 10 месяцев
|
Таким образом проект можно считать экономически
обоснованным, а инвестиции в него обоснованными, так как все показатели
эффективности имеют удовлетворительные значения.
.3 В сфере охраны окружающей среды
.3.1 Капитальные вложения
Капитальные вложения в мероприятия в сфере
охраны окружающей среды приведены в таблице 24.
Таблица 24 - Капитальные вложения в мероприятия
|
№
п/п
|
Наименование
капитальных затрат
|
Сумма,
руб.
|
|
1
|
Покупка
установки
|
50
000
|
|
2
|
Транспортировка
|
5
000
|
|
3
|
Монтаж
оборудования
|
5
000
|
|
Итого:
|
60
000
|
Капитальные вложения в мероприятия в сфере
охраны окружающей среды составят 60 000 рублей.
4.3.2 Эксплуатационные затраты
Эксплуатационные затраты на мероприятия в сфере
охраны окружающей среды включают в себя годовые затраты на электроэнергию и
амортизационные отчисления.
Годовые затраты на электроэнергию вычисляются по
формуле (3).
Время работы установки составляет 2 880 часов в
год. Потребляемая мощность 3,6 кВат/час.
Годовые затраты на электроэнергию оборудования:
Зэ = 2 880 · 3,6 · 1 602,65 · 10-3
= 16 616 руб.
Амортизационный период полезного использования
установки равен 10 лет. Годовые амортизационные отчисления вычисляются по
формуле (1) и равны:
Аг = 60 000 / 10 = 6 000 руб./год.
Таким образом, эксплуатационные затраты при
работе оборудования составят:
Зг = 16 616 + 2 880 = 19 496 рублей.
.3.3 Экономический эффект
Платёж предприятия за вывоз ТБО (79 800р/год) и
выброс в атмосферу ВВ (91 960,39р/год) составляет 171 760 р/год.(ФЗ ,,Об охране
атмосферного воздуха,, проект ПДВ)
Т.к. при внедрении установки затраты на вывоз
ТБО исключаются и концентрация выброса вредных веществ сокращается на 40%, то
платежи предприятия за год (Пг) за выброс в атмосферу ВВ (Сатм)
составляют:
Пг = Сатм - 40% = 91
960,39 - 40% = 61 308,26 рублей.
Экономия на экологических платежах составит:
Ээп = 61 308,26 + 79 800 = 140 606,55 руб.
Экономический эффект для мероприятий по охране
окружающей среды составит 140 606,55 руб.
.3.4 Налог на имущество
Расчет налога на имущество представлен в таблице
25.
Таблица 25 - Остаточная стоимость мероприятий
|
Срок
службы установки
|
Кап.
вложения, т.р.
|
Амортизац.
отчисления, т.р.
|
Остаточн.
стоим-ть, т.р.
|
Ставка
налога, доли ед.
|
Налог
на имущество
|
|
1
год
|
60
|
6
|
54
|
0,022
|
1,08
|
|
2
год
|
-
|
6
|
48
|
|
0,96
|
|
3
год
|
-
|
6
|
42
|
|
0,84
|
|
4
год
|
-
|
6
|
36
|
|
0,72
|
|
5
год
|
-
|
6
|
30
|
|
0,6
|
|
6
год
|
-
|
6
|
24
|
|
0,48
|
|
7
год
|
-
|
6
|
18
|
|
0,36
|
|
8
год
|
-
|
6
|
12
|
|
0,24
|
|
9
год
|
-
|
6
|
6
|
|
0,12
|
|
10
год
|
-
|
6
|
0
|
|
0
|
4.3.5 Налог на прибыль
Расчет налога на прибыль приведен в таблице 26.
Таблица 26 - Налог на прибыль
|
Срок
службы устройства
|
Годовой
экономический эффект, т.р.
|
Годовые
эксплуатационные затраты, т.р.
|
Налог
на имущество, т.р.
|
Балансовая
прибыль, т.р.
|
Ставка
налога на прибыль, доли ед.
|
Налог
на прибыль, т.р.
|
|
1
год
|
140,6
|
19,49
|
1,08
|
120,03
|
0,2
|
24,01
|
|
2
год
|
--
|
19,49
|
0,96
|
120,15
|
|
24,03
|
|
3
год
|
--
|
19,49
|
0,84
|
120,27
|
|
24,05
|
|
4
год
|
--
|
19,49
|
0,72
|
120,39
|
|
24,08
|
|
5
год
|
--
|
19,49
|
0,6
|
120,51
|
|
24,1
|
|
6
год
|
--
|
19,49
|
0,48
|
120,63
|
|
24,13
|
|
7
год
|
--
|
19,49
|
0,36
|
120,75
|
|
24,15
|
|
8
год
|
--
|
19,49
|
0,24
|
120,87
|
|
24,17
|
|
9
год
|
--
|
19,49
|
0,12
|
120,99
|
|
24,2
|
|
10
год
|
--
|
19,49
|
0
|
121,11
|
|
24,22
|
4.3.6 Чистая прибыль
Расчет чистой прибыли приведен в таблице 27.
Таблица 27 - Чистая прибыль от мероприятий
|
Срок
службы устройства
|
Балансовая
прибыль, т.р.
|
Налог
на прибыль, т.р.
|
Чистая
прибыль, т.р.
|
|
1
год
|
120,03
|
24,01
|
96,02
|
|
2
год
|
120,15
|
24,03
|
96,12
|
|
3
год
|
120,27
|
24,05
|
96,22
|
|
4
год
|
120,39
|
24,08
|
96,31
|
|
5
год
|
120,51
|
24,1
|
96,41
|
|
6
год
|
120,63
|
24,13
|
96,5
|
|
7
год
|
120,75
|
24,15
|
96,6
|
|
8
год
|
120,87
|
24,17
|
96,7
|
|
9
год
|
120,99
|
24,2
|
96,79
|
|
10
год
|
121,11
|
24,22
|
96,89
|
4.3.7 Чистый доход
Расчет чистого дохода приведен в таблице 28.
Таблица 28 - Чистый доход от мероприятий
|
Срок
службы устройства
|
Чистая
прибыль, т.р.
|
Кап.
вложения, т.р.
|
Амортизац.
отчисления, т.р.
|
Чистый
доход, т.р.
|
|
1
год
|
96,02
|
60
|
6
|
42,02
|
|
2
год
|
96,12
|
-
|
6
|
102,12
|
|
3
год
|
96,22
|
-
|
6
|
102,22
|
|
4
год
|
96,31
|
-
|
6
|
102,31
|
|
5
год
|
96,41
|
-
|
6
|
102,41
|
|
6
год
|
96,5
|
-
|
6
|
102,5
|
96,6
|
-
|
6
|
102,6
|
|
8
год
|
96,7
|
-
|
6
|
102,7
|
|
9
год
|
96,79
|
-
|
6
|
102,79
|
|
10
год
|
96,89
|
-
|
6
|
102,89
|
.3.8 Чистый дисконтированный доход
Расчет ЧДД приведен в таблице 29.
Таблица 29 - Чистый дисконтированный доход по
годам
|
Срок
службы устройства
|
Чистый
доход, т.р.
|
Коэффициент
дисконтирования, доли ед.
|
ЧДД
по годам, т.р.
|
|
1
год
|
42,02
|
1,00
|
42,02
|
|
2
год
|
102,12
|
0,91
|
91,91
|
|
3
год
|
102,22
|
0,83
|
84,84
|
|
4
год
|
102,31
|
0,75
|
76,73
|
|
5
год
|
102,41
|
0,68
|
71,69
|
|
6
год
|
102,5
|
0,62
|
63,55
|
|
7
год
|
102,6
|
0,56
|
57,46
|
|
8
год
|
102,7
|
0,51
|
52,38
|
|
9
год
|
102,79
|
0,47
|
48,31
|
|
10
год
|
102,89
|
0,42
|
43,21
|
4.3.9 Накопленный чистый дисконтированный доход
Расчет накопленного ЧДД приведен в таблице 30.
Таблица 30 - Накопленный чистый дисконтированный
доход по годам
|
Срок
службы устройства
|
Чистый
дисконтированный доход по годам, т.р.
|
Накопленный
чистый дисконтированный доход, т.р.
|
|
1
год
|
42,02
|
29,78
|
|
2
год
|
91,91
|
133,93
|
|
10
год
|
43,21
|
632,1
|
Накопленный ЧДД проекта положительный,
следовательно, проект является экономически эффективным.
.3.10 Индекс доходности
Индекс доходности мероприятия равен:
632,1/60
+ 1 = 11,5
Индекс доходности больше 1, проект экономически
выгодный.
.3.11 Внутренняя норма доходности
Рассчитанная в программе Microsoft
Excel внутренняя норма
доходности из ряда динамики ненакопленного чистого дисконтированного дохода
равна
339
% > 10 % (принятая норма дохода), следовательно, инвестиции в данный проект оправданы.
4.3.12 Срок окупаемости
Расчет срока окупаемости приведен в таблице 31.
Таблица 31 - Срок окупаемости мероприятий
|
Срок
службы
|
Накопленный
чистый дисконтированный доход, т.р.
|
Срок
окупаемости
|
|
1
год
|
42,02
|
|
|
2
год
|
91,91
|
|
|
|
1
год 9 месяцев
|
42,02/42,02 + 11,5/12 = 9,42 = 9 месяцев
.3.13 Сводный расчет показателей экономической
эффективности
Расчет представлен в таблице 32.
Таблица 32 - Сводный расчет показателей
экономической эффективности
|
Показатели
|
1
год
|
2
год
|
3
год
|
4
год
|
5
год
|
|
1.
Капитальные вложения, тыс. руб.
|
60
|
-
|
-
|
-
|
-
|
|
2.
Годовые экспл-е затраты, тыс. р. 2.1 Амортизационные отчисления, тыс. руб.
|
19,49
6
|
19,49
6
|
19,49
6
|
19,49
6
|
19,49
6
|
|
3.
Годовой экономический эффект, тыс. руб.
|
140,6
|
--
|
--
|
--
|
--
|
|
4.
Годовой ЧД, тыс. руб.
|
42,02
|
102,12
|
102,22
|
102,31
|
102,41
|
|
5.
Коэффициент дисконтирования при Е = 10 %
|
1,00
|
0,91
|
0,83
|
0,75
|
0,68
|
|
6.
ЧДД по годам, тыс. руб.
|
42,02
|
91,91
|
84,84
|
76,73
|
71,69
|
|
7.
Накопленный суммарный ЧДД, тыс. р.
|
42,02
|
133,93
|
_
|
_
|
295,5
|
|
8.
Дисконт-е кап. вложения, тыс.р. Остаточная стоимость имущества, тыс. р. Налог
на имущество, тыс. руб. Налог на прибыль, тыс. руб. Чистая прибыль, тыс. руб.
|
60 54 1,08
96,02
|
- 48 0,96
96,12
|
- 42 0,84 96,22
|
- 36 0,72
96,31
|
- 30 0,6
96,41
|
|
9.
ИД, руб. / руб.
|
11,5
|
|
10.
Евн., %
|
339
|
|
11.
Ток
|
1
год 9 месяцев
|
Итоговые показатели экономической эффективности
проекта представлены в таблице 33.
Таблица 33 - Итоговые показатели экономической
эффективности проекта
|
№
п / п
|
Показатели
|
Значение
|
|
1
|
Капитальные
вложения, тыс. р.
|
60
|
|
2
|
Годовые
экспл-е затраты, тыс. р.
|
19,49
|
|
3
|
Годовой
экономический эф., тыс. р.
|
140,6
|
|
4
|
ЧДД
накопленный тыс. р.
|
632,1
|
|
5
|
ИД,
руб. / руб.
|
11,5
|
|
6
|
Евн.,
%
|
339
|
|
7
|
Ток
|
1
год 9 месяцев
|
ЗАКЛЮЧЕНИЕ
Целью данной работы былрасчет показателей
экономической эффективности мероприятий по промышленной безопасности, охране
труда и охране окружающей среды. Для достижения поставленной цели были решены
следующие задачи:
- составление методики расчета показателей
экономической эффективности;
- расчет экономической эффективности от
мероприятий по улучшению условий труда на предприятии ТПП
"ЛУКОЙЛ-Ухтанефтегаз";
расчет показателей экономической эффективности
предлагаемых мероприятий.
Из расчетов видно, что каждое предложенное
мероприятие в ПБ, ОТ и ООС можно считать экономически обоснованным, а инвестиции
в него обоснованными, так как все показатели эффективности имеют
удовлетворительные значения.
СПИСОК ИСПОЛЬЗОВАННЫХ ИСТОЧНИКОВ
экономический труд
окупаемость доход
1. Система управления охраной труда
и промышленной безопасностью ОАО "ЛУКОЙЛ" [Текст]:/А.С. Филиппов -
Инта.: ОАО "ЛУКОЙЛ", 2009 г. - 43 стр.;
. Методические указания по
выполнению практической работы "Расчет платы предприятия за загрязнение
окружающей среды" [Текс]: - Ухта, 13 стр.;
. О нормативах платы за выбросы в
атмосферный воздух загрязняющих веществ стационарными и передвижными
источниками, сбросы загрязняющих веществ в поверхностные и подземные водные
объекты, размещение отходов производства и потребления, утвержденных
Постановлением Правительства РФ от 12 июня 2003 г. № 344 [Текст]: - 18 стр.