Расчет детали 'втулка эксцентриковая'

  • Вид работы:
    Курсовая работа (т)
  • Предмет:
    Другое
  • Язык:
    Русский
    ,
    Формат файла:
    MS Word
    101,77 Кб
  • Опубликовано:
    2012-04-15
Вы можете узнать стоимость помощи в написании студенческой работы.
Помощь в написании работы, которую точно примут!

Расчет детали 'втулка эксцентриковая'

Оглавление

Введение

. Служебное назначение изделия

. Анализ технологичности конструкции детали

. Выбор маршрута механической обработки

. Выбор технологических баз

. Расчет припусков и межоперационных размеров

6. Выбор технологического оборудования, оснастки и средств автоматизации

7. Расчет режимов резания и норм времени

Список литературы

Введение

В данном курсовом проекте по технологии машиностроения производится расчет детали «Втулка эксцентриковая». Для расчета необходим конструкторский чертеж детали со всеми техническими требованиями, указанными материалом детали и ее массой.

Материал детали необходим для того, чтобы выбрать вид заготовки и обоснование его технологичности, а также необходимые припуски для механической обработки.

Правильно разработанная технология позволяет изготавливать деталь необходимого качества в соответствии с требованиями конструкторского чертежа и обеспечить наибольшую производительность при минимальных производственных затратах.

Данный техпроцесс разрабатывается с учетом имеющегося оборудования, инструмента, типа производства на основе высокопроизводительных методов обработки.

Заготовкой детали «Втулка эксцентриковая» является отливка 5 класса по ОСТ 2МТ21-2-83. Материал детали - СЧ-20 ГОСТ 1412-85.

1. Служебное назначение изделия

Деталь «Втулка эксцентриковая» изготавливается из серого чугуна СЧ-20 ГОСТ 1412-85 и относится к классу втулок. Детали является телом вращения.

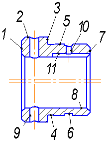
Деталь состоит из двух частей диаметрами 50 и 42 мм. На диаметре 50 мм просверлены четыре отверстия диаметром 5 мм. На диаметре 42 мм имеются проточки, в одной из которых просверлено отверстие диаметром 3 мм. В детали имеет отверстие со смещением центра относительно центра детали на 1,5 мм. В отверстии имеется канавка.

С точки зрения механической обработки деталь изготавливается достаточно просто без особых затруднений. Она достаточно технологична, поэтому допускает применение высокопроизводительных методов и режимов обработки, имеет достаточно хорошие базовые поверхности.

Химический состав и механические свойства материала СЧ-20 приведены в таблицах 1.1 и 1.2.

Таблица 1.1 - Химический состав серого чугуна СЧ-20 ГОСТ 1412-85

C

Si

Mn

S

P

3,3 - 3,5

1,4 - 2,4

0,7 - 1

до 0,15

до 0,2


Деталь «Втулка эксцентриковая» не имеет сложных для обработки поверхностей, поэтому может быть обработана на универсальном оборудовании с использованием стандартного инструмента.

. Анализ технологичности конструкции детали

При конструкции отдельных деталей необходимо достичь удовлетворения не только эксплуатационных требований, но также требований наиболее рационального и экономичного изготовления изделия.

Технологичной считается такая конструкция детали, которая позволяет изготавливать деталь наиболее рациональным и экономичным способом. Основными критериями технологичности являются трудоемкость и себестоимость изготовления детали. Чем меньше трудоемкость и себестоимость изготовления детали, тем больше экономичность.

Таблица 2.1 - Анализ технологичности конструкции детали

Показатели технологичности

Требование технологичности

Анализ ТКД по чертежу

Заключение по технологичности

1. Обрабатываемые поверхности

Должны быть взаимно параллельны или взаимно перпендикулярны

Поверхности взаимно параллельны или взаимно перпендикулярны

Т

2. Обрабатываемые поверхности

Должны быть сквозными без внутренних канавок и выточек

Имеется внутренняя канавка

Н

3. Расстояние между осями отверстий

Должны быть не менее 25 мм, что позволяет применять многошпиндельные сверлильные станки

Расстояние менее 25 мм

Н

4. Длина резьбовых поверхностей

Должна быть не более двух номинальных диаметров резьбы

Отсутствует

Т

5. Расположение пазов

Должны быть доступны для обработки на металлорежущих станках

Пазы доступны для обработки

Т

6. Наличие обработки по месту

Обработка по месту должна отсутствовать в конструкции детали

Обработка по отсутствует в конструкции детали

Т

7. Соответствие точности и шероховатости поверхности

Точные по размерам поверхности должны иметь соответствующие параметры шероховатости

Точные поверхности соответствуют параметры шероховатости

Т

8. Размеры конструкторских баз

Должны иметь размеры по типовым правилам базирования

Имеют размеры по типовым правилам базирования

Т

9. Методы обработки

Конструкция детали должна быть такой, что при ее изготовлении можно было применять высокопроизводительные методы обработки

Возможно применение высокопроизводительных методов обработки

Т


Рассчитываем коэффициент технологичности детали:


где Т - количество показателей ТКД, соответствующие требованиям технологичности, Т = 7;

N - общее число анализируемых показателей, N = 9.


Рисунок 2.1 - Эскиз детали с обозначением поверхностей

Таблица 2.2 - Анализ технологичности конструкции по точностным требованиям

№ поверхности

Наименование поверхности

Общее количество

Количество поверхностей, обрабатываемых по следующим квалитетам точности

Необрабатываемые поверхности




Высокая точность

Средняя точность

Свободный размер





5

6

7

8

9

%

10

11

12

%

13

14

%


2, 4, 5, 6

Наружные цилиндрические поверхности

4

-

1

-

-

-

25

-

-

-

-

-

3

100

-

8, 9, 10

Отверстия

3

-

-

1

-

-

33

-

-

-

-

-

2

67

-

1, 3, 7

Торцевые поверхности

3

-

-

-

-

-

-

-

-

1

33

-

2

67

-

11

Пазы

1

-

-

-

-

-

-

-

-

-

-

-

1

100

-

Итого

11

-

1

1

-

-

-

-

-

1

-

-

8

-

-


Вывод: квалитет точности 6 (высокая точность) для поверхности 5 достигается двойным точением (черновым и чистовым) и двойным шлифованием (предварительным и чистовым). Квалитет точности 7 (высокая точность) для поверхности 8 достигается развертыванием. Квалитет точности 12 (средняя точность) для поверхности 3 достигается черновой подрезкой. Квалитет точности 14 (свободный размер) для остальных поверхностей достигается однократной обработкой (подрезка торцев, точение, сверление).

втулка эксцентриковая деталь механический

Таблица 2.3 - Анализ технологичности конструкции детали по величине параметров шероховатости обрабатываемых поверхностей

№ поверхности

Наименование поверхности

Общее количество

Количество поверхностей, обрабатываемых по следующим квалитетам точности

Необрабатываемые поверхности




50

25

12,5

6,3

3,2

2,5

1,6

1,25

0,63

0,2

0,1


2, 4, 5, 6

Наружные цилиндрические

4

-

-

-

2 50%

1 25%

-

-

-

1 25%

-

-

-

8, 9, 10

Отверстия

3

-

-

2 67%

-

-

-

-

1 33%

-

-

-

-

1, 3, 7

Торцевые

3

-

-

-

-

-

3 100%

-

-

-

-

-

-

11

Пазы

1

-

-

1 100%

-

-

-

-

-

-

-

-

-

Итого

11


-

-

-

-

-

-

-

-

-

-

-


Вывод: Технологичность конструкции детали удовлетворяет всем требованиям, предъявляемым к изделию. Вышеприведенный анализ показал, что деталь в целом технологична.

. Выбор маршрута механической обработки

Технологический процесс изготовления детали «Втулка эксцентриковая» разработан на основе высокопроизводительных методов обработки. Этот метод обеспечивает изготовление детали в соответствии с требованиями рабочего чертежа при сохранении высокой производительности.

Крупносерийное производство предполагает использование автоматов и полуавтоматов, что значительно увеличивает производительность.

Рисунок 3.1 - Эскиз детали с обозначением поверхностей

Таблица 3.1 - Технологический процесс изготовления детали

№ операции

Наименование и краткое содержание

Технологическая база

Наименование оборудования

005

Токарно-автоматная Установ А 1. Подрезать торец 1. 2. Точить поверхность 2 в размер Ø50 мм на длину 16 мм. 3. Точить фаску 2×45°.  Установ Б 1. Подрезать торец 7. 2. Точить поверхность 5 в размер Ø43-0,25 мм на длину 25-0,2 мм с образованием торца 3. 3. Точить начисто поверхность 5 в размер Ø42-0,1 мм на длину 25-0,2 мм. 4. Точить за один проход две канавки и фаску 2×45°.

  Наружная необработанная поверхность Ø46 мм;      Наружная обработанная поверхность Ø50 мм;

Токарный полуавтомат 1Б265НП-6К

010

Вертикально-сверлильная 1. Сверлить эксцентриковое отверстие 8 в размер Ø12 мм. 2. Рассверлить отверстие до диаметра 24 мм. 3. Зенкеровать отверстие в размер Ø29 мм. 4. Развернуть отверстие в размер Ø30Н7 мм. 5. Зенковать две фаски 2×45°.

Наружная поверхность 2; торец 1

Вертикально-сверлильный станок мод. 2Н55

015

Вертикально-сверлильная 1. Сверлить четыре отверстия 9 в размер Ø5 мм. 2. Сверлить отверстие 10 в размер Ø3 мм.

Наружная поверхность 5; торец 7

Вертикально-сверлильный станок мод. 2Н55

020

Долбежная Долбить канавку в размер 22 мм.

-

Вертикально-долбежный станок мод. ГД200

025

Круглошлифовальная Шлифовать поверхность 5, Ra 0,63 мкм.

Оправка

Круглошли-фовальный станок мод. М1432С

025

Моечная Промыть деталь.

-

Масляная ванна

030

Контрольная Контролировать размеры и шероховатость поверхностей согласно ТУ чертежа.

-

Стол ОТК


. Выбор технологических баз

При разработке технологического процесса технолог выбирают исходные, установочные и измерительные базы для каждой операции. Выбор технологических баз - один из ответственных моментов в разработке техпроцесса, т.к. он предопределяет точность обработки и конструкцию приспособления. Неправильный выбор баз часто приводит к усложнению конструкции приспособления, появлению брака и увеличению вспомогательного времени на установку и снятие детали. На первой операции в качестве базы обычно принимают необработанную поверхность - черновую базу.

Для повышения точности детали необходимо применять принцип совмещения баз - технологической и измерительной баз.

1.Торцы заготовки (зажим осуществляется 4-мя прихватами).

Данная схема базирования широко применяется при обработке на вертикально-сверлильных станках при обработке центрального отверстия. Деталь базируется по торцу заготовки, установленному на столе станка Зажим осуществляется 4-мя прихватами по противоположному торцу заготовки. Прихваты располагаются равномерно по окружности (под углом 90°). Данная схема закрепления вполне обеспечивает заданную точность обработки (по НИ).

2.Наружная поверхность заготовки (зажим осуществляется в 3-х кулачковом патроне).

Данная схема базирования широко применяется при предварительной и чистовой токарной обработке: зажим в 3-х кулачковом самоцентрирующем патроне обеспечивает точность обработки до 9 квалитета.

3.Внутренняя поверхность заготовки (резьбовая оправка).

Данная схема базирования применяется при обработке на горизонтально-фрезерных станках в случае обработки одной или нескольких плоскостей. Использование резьбовой оправки увеличивает точность обработки, а также обеспечивает надежное закрепление детали на станке. В данном случае при обработке используется делительная головка, которая обеспечивает поворот детали на определенный угол без переустановки, что значительно уменьшает затраты вспомогательного времени.

.Центральное отверстие детали (оправка цехового изготовления).

Данная схема базирования является универсальной, т.е. находит применение для многих видов механической обработки. Обеспечивает свободный доступ практически ко всей наружной поверхности, а также значительно уменьшает погрешность установки.

5. Расчет припусков и межоперационных размеров

Расчет припусков на обработку внутренней поверхности Ø30Н7(+0,021)

Припуски на обработку по переходам определяются по формуле:

2zmin = 2(Rzi-1 +hi-1Σ i-1 +ε ), мкм

где Rzi-1 - высота неровностей профиля на предшествующем переходе, мкм;i-1 - глубина дефектного слоя на предшествующем слое поверхности, мкм;

ΔΣi-1 - суммарные отклонения расположения поверхности на предшествующем переходе, мкм;

ε - погрешности установки заготовки на выполняемом переходе, мкм.

Суммарные отклонения расположения поверхности на предшествующем переходе ΔΣ i-1 определяются по формуле, [2, с.334];

, мкм

где  - отклонения от соосности, мкм;

 - кривизна поковок типа валов, мкм на мм длины заготовки.


Заготовка

Значения параметров:= 150 мкм; Т = 250мкм;

Рассверливание

Значения параметров:=40 мкм. Т=60 мкм.


zmin = 2(40 +60 +60) = 2·160мкм.

Зенкерование

Значения параметров:= 50 мкм; Т = 50 мкм;


zmin = 2·(50 +50+40) =2·140 мкм.

Развертывание

Значения параметров:= 20 мкм; Т =25 мкм;


Расчетный размер последнего перехода dp min = 30,021 мм.

Для остальных переходов расчетный размер dp определяем по формуле

dp = dp i- 2zmin, мм

Для зенкерованияp = 30,021 - 0,28= 29,741 мм;

Для рассверливанияp = 29,741 - 0,32 = 29,421 мм;

Для заготовкиp = 29,421 - 2,8 = 26,621 мм.

Наибольшие предельные размеры

max=dр - ТБ.

Для исходной заготовкиmax= 26,621 - 0,52= 26,101 мм.

Для рассверливанияmax= 29,421 - 0,21 = 29,211 мм.

Для зенкерованияmax= 29,741 - 0,052 = 29,689 мм.

Для развертыванияmax= 30 мм

Минимальные и максимальные предельные значения припусков

2zmax = d i max - d i-1 max,

2zmin = d i min - d i-1 min.

Для рассверливания

zmax = 29,211 - 26,101 =3,11 мм;

zmin = 29,421 - 26,621 = 2,8 мм.

Для зенкерования

zmax = 29,689 - 29,211 = 0,478 мм;

zmin = 29,741 - 29,421 =0,32 мм.

Для развертывания

zmax = 30 - 29,689 = 0,311 мм;

zmin = 30,021 - 29,741 = 0,28 мм.

Таблица 5.1 - Карта расчета припусков на обработку и предельных размеров по переходам

Элементарная пов-ть и технологический маршрут обр-ки

Элементы припуска , мкм

Расчетный припуск 2zmin

Минимальный размер

Допуск на изготовление Td

Предельные размеры

Полученные предельные припуски


Rz

Т

ρ

ε




dmin

dmax

2zmin

2zmax

Заготовка

150

250

1000

-

-

26,621

520

26,621

26,101

-

-

Рассверливание

40

60

60

-

2·1400

29,421

210

29,421

29,211

2800

3110

Зенкерование

50

50

40

-

2·160

29,741

52

29,741

29,689

320

478

Развертывание

20

25

30

-

2·140

30,021

21

30,021

30

280

311


Проверка:

1 - Td2=2zmax - 2zmin ;1 - Td2 = 520 - 210 =310 мкм;

zmax1 - 2zmin1 = 3110- 2800 = 310 мкм;2 - Td3 = 210 - 52 = 158 мкм;

zmax2 - 2zmin2 = 478 - 320 =158 мкм;3 - Td4 = 52 - 21 = 31 мкм;

zmax3 - 2zmin3 = 311 - 280 = 31 мкм.

. Выбор технологического оборудования, оснастки и средств автоматизации

Структура технологической операции

Производительность технологических операций в значительной степени зависит от их структур, определяемых количеством заготовок, одновременно устанавливаемых в приспособлении или на станке (одно- или многоместная обработка); количеством инструментов, используемых при выполнении операции (одно- или многоинструментальная обработка) и последовательностью работы инструментов при выполнении операции.

Последовательное вступление инструментов в работу характеризует структуру операции с последовательной обработкой. При параллельном расположении обрабатываемых заготовок и при одновременной обработке нескольких поверхностей заготовки формируется структура операции с параллельной обработкой.

Исходя из технологических особенностей детали выбираем структуру с одноместной последовательной обработкой несколькими сменными инструментами.

Выбор необходимого оборудования

. Токарный п/а 1Б265НП-6К.

. Вертикально-сверлильный станок 2Н55.

. Вертикально-долбежный станок ГД200.

. Круглошлифовальный станок мод. М1432С.

. Масляная ванна.

. Расчет режимов резания и норм времени

Произведем расчет режимов резания для некоторых видов операций.

Операция 005 Токарно-автоматная

Установ А. Переход 1

Подрезать торец 1.

Подачу S выбираем из таблицы 11 [2, стр. 266]: S = 0,2 мм/об.

Определение скорости резания:


где Т - период стойкости резца, Т = 45 мин;

СV, m, x, y - коэффициент и показатели степени, выбираем по таблице 17 [2, стр. 270]:

СV = 68,5, y = 0,4, m = 0,2.V - общий поправочный коэффициент, учитывающий фактические условия резания,


где  - коэффициент, учитывающий влияние материала заготовки,


где nυ - показатель степени, nυ = 1,25 [2, стр. 262, табл. 2].

 - коэффициент, учитывающий влияние состояния поверхности заготовки,  [2, стр. 263, табл. 5];

 - коэффициент, учитывающий влияние материала инструмента,  [2, стр. 263, табл. 6].

Определим частоту вращения шпинделя:

 об/мин.

Выбираем по паспорту станка nст = 250 об/мин.

Определяем фактическую скорость резания:


Расчет силы резания:


где Cp = 158, y = 1, n = 0 [2, стр. 274, табл. 22];p - коэффициент, учитывающий фактические условия обработки


где


где n - показатель степени, n = 0,4 [2, стр. 264, табл. 9].

 [2, стр. 275, табл. 23]

Определение мощности резания:


Проверка по мощности:≤ Nшп

,21 (кВт) < 30 (кВт) - таким образом, обработка возможна.

Определение основного времени


где Lр.х. - длина рабочего хода инструмента,

р.х. = Lрез + y,

где Lрез - длина резания, Lрез = 25 мм;- вылет инструмента, y = 0.р.х. = 25 мм.

 мин.

Установ А. Переход 2

Точить поверхность 2 в размер Ø50 мм на длину 16 мм

Так как точение производится с диаметра D0 = 56 мм до диаметра = 50 мм, то глубина резания будет:


Подачу S выбираем из таблицы 11 [2, стр. 266]: S = 0,75 мм/об.

Определение скорости резания:


где СV, m, x, y - коэффициент и показатели степени, выбираем по таблице 17 [2, стр. 270]:

СV = 243, x = 0,15, y = 0,4, m = 0,2.

Определим частоту вращения шпинделя:

 об/мин.

Выбираем по паспорту станка nст = 500 об/мин.

Определяем фактическую скорость резания:


Расчет силы резания:


где Cp = 92, x = 1, y = 0,75, n = 0 [2, стр. 274, табл. 22];

Определение мощности резания:


Проверка по мощности:≤ Nшп

(кВт) < 30 (кВт) - таким образом, обработка возможна.

Определение основного времени


где Lр.х. - длина рабочего хода инструмента,

р.х. = Lрез + y,

где Lрез - длина резания, Lрез = 16 мм;- вылет инструмента, y = 4.р.х. = 16 + 4 = 20 мм.

 мин.

Установ А. Переход 3

Точить фаску 2×45°.

Так как точение производится с диаметра D0 = 50 мм до диаметра = 46 мм, то глубина резания будет:


Подачу S выбираем из таблицы 11 [2, стр. 266]: S = 0,75 мм/об.

Определение скорости резания:


где СV, m, x, y - коэффициент и показатели степени, выбираем по таблице 17 [2, стр. 270]:

СV = 243, x = 0,15, y = 0,4, m = 0,2.

Определим частоту вращения шпинделя:

 об/мин.

Выбираем по паспорту станка nст = 500 об/мин.

Определяем фактическую скорость резания:


Расчет силы резания:


где Cp = 92, x = 1, y = 0,75, n = 0 [2, стр. 274, табл. 22];

Определение мощности резания:


Проверка по мощности:≤ Nшп

(кВт) < 30 (кВт) - таким образом, обработка возможна.

Определение основного времени


где Lр.х. - длина рабочего хода инструмента,

р.х. = Lрез + y,

где Lрез - длина резания, Lрез = 2 мм;- вылет инструмента, y = 0.р.х. = 2 мм.

 мин.

Установ Б. Переход 1

Подрезать торец 7.

Подачу S выбираем из таблицы 11 [2, стр. 266]: S = 0,2 мм/об.

Определение скорости резания:


где СV, m, x, y - коэффициент и показатели степени, выбираем по таблице 17 [2, стр. 270]:

СV = 68,5, y = 0,4, m = 0,2.

Определим частоту вращения шпинделя:

 об/мин.

Выбираем по паспорту станка nст = 315 об/мин.

Определяем фактическую скорость резания:


Расчет силы резания:


где Cp = 158, y = 1, n = 0 [2, стр. 274, табл. 22];

Определение мощности резания:


Проверка по мощности:≤ Nшп

,24 (кВт) < 30 (кВт) - таким образом, обработка возможна.

Определение основного времени


где Lр.х. - длина рабочего хода инструмента,

р.х. = Lрез + y,

где Lрез - длина резания, Lрез = 22,5 мм;- вылет инструмента, y = 0.р.х. = 22,5 мм.

 мин.

Установ Б. Переход 2

Точить поверхность 5 в размер Ø43 мм на длину 25 мм

Так как точение производится с диаметра D0 = 45 мм до диаметра = 43 мм, то глубина резания будет:


Подачу S выбираем из таблицы 11 [2, стр. 266]: S = 0,75 мм/об.

Определение скорости резания:


где СV, m, x, y - коэффициент и показатели степени, выбираем по таблице 17 [2, стр. 270]:

СV = 243, x = 0,15, y = 0,4, m = 0,2.

Определим частоту вращения шпинделя:

 об/мин.

Выбираем по паспорту станка nст = 630 об/мин.

Определяем фактическую скорость резания:


Расчет силы резания:


где Cp = 92, x = 1, y = 0,75, n = 0 [2, стр. 274, табл. 22];

Определение мощности резания:


Проверка по мощности:≤ Nшп

,13 (кВт) < 30 (кВт) - таким образом, обработка возможна.

Определение основного времени


где Lр.х. - длина рабочего хода инструмента,

р.х. = Lрез + y,

где Lрез - длина резания, Lрез = 25 мм;- вылет инструмента, y = 5.р.х. = 25 + 5 = 30 мм.

 мин.

Установ Б. Переход 3

Точить начисто поверхность 5 в размер Ø42-0,1 мм на длину 25-0,2 мм.

Так как точение производится с диаметра D0 = 43 мм до диаметра = 42 мм, то глубина резания будет:


Подачу S выбираем из таблицы 12 [2, стр. 267]: S = 0,2 мм/об.

Определение скорости резания:


где СV, m, x, y - коэффициент и показатели степени, выбираем по таблице 17 [2, стр. 270]:

СV = 292, x = 0,15, y = 0,2, m = 0,2.

Определим частоту вращения шпинделя:

 об/мин.

Выбираем по паспорту станка nст = 1000 об/мин.

Определяем фактическую скорость резания:


Расчет силы резания:


где Cp = 92, x = 1, y = 0,75, n = 0 [2, стр. 274, табл. 22];

Определение мощности резания:


Проверка по мощности:≤ Nшп

,32 (кВт) < 30 (кВт) - таким образом, обработка возможна.

Определение основного времени


где Lр.х. - длина рабочего хода инструмента,

р.х. = Lрез + y,

где Lрез - длина резания, Lрез = 25 мм;- вылет инструмента, y = 5.р.х. = 25 + 5 = 30 мм.

 мин.

Установ Б. Переход 4

Точить фаску 2×45°.

Так как точение производится с диаметра D0 = 50 мм до диаметра = 46 мм, то глубина резания будет:


Подачу S выбираем из таблицы 11 [2, стр. 266]: S = 0,75 мм/об.

Определение скорости резания:


где СV, m, x, y - коэффициент и показатели степени, выбираем по таблице 17 [2, стр. 270]:

СV = 243, x = 0,15, y = 0,4, m = 0,2.

Определим частоту вращения шпинделя:

 об/мин.

Выбираем по паспорту станка nст = 500 об/мин.

Определяем фактическую скорость резания:


Расчет силы резания:


где Cp = 92, x = 1, y = 0,75, n = 0 [2, стр. 274, табл. 22];

Определение мощности резания:


Проверка по мощности:≤ Nшп

(кВт) < 30 (кВт) - таким образом, обработка возможна.

Определение основного времени


где Lр.х. - длина рабочего хода инструмента,

р.х. = Lрез + y,

где Lрез - длина резания, Lрез = 2 мм;- вылет инструмента, y = 0.р.х. = 2 мм.

 мин.

Определение штучного времени:

Тшт = φ∙∑То,

где φ = 2,14 - для станков токарной группы,

∑То = 0,5 + 0,053 + 0,0053 + 0,45 + 0,06 + 0,15 + 0,0053 = 1,224 мин.

Тшт = 2,14∙1,224 = 2,62 мин.

Операция 010 Вертикально-сверлильная

Переход 1

Сверлить эксцентриковое отверстие 8 в размер Ø12 мм на всю длину

Глубина резания:

= D/2 = 12/2 = 6 мм.

Подачу S выбираем из таблицы 25 [2, стр. 277], S = 0,32 мм/об.

Выбранную подачу умножаем на поправочный коэффициент, учитывающий глубину сверления, KlS = 0,9.

Тогда подача будет равна: S = 0,32∙0,9 = 0,29 мм/об.

Определение скорости резания:


где Т - период стойкости сверла, Т = 20 мин [2, стр. 280, табл. 30];- диаметр сверла, D = 12 мм;

СV = 34,2, q = 0,45, y = 0,3, m = 0,2.V - общий поправочный коэффициент, учитывающий фактические условия резания,


где  - коэффициент, учитывающий влияние материала заготовки,

 - коэффициент, учитывающий глубину сверления,  [2, стр. 280, табл. 31];

 - коэффициент, учитывающий влияние материала инструмента,  [2, стр. 263, табл. 6].

Определим частоту вращения шпинделя:

 [об/мин].

Корректируется по паспорту станка nст = 1800 об/мин

Определим действительную скорость резания:

 м/мин.

Расчет крутящего момента


где CМ = 0,012, q = 2,2, y = 0,8 [2, стр. 281, табл. 32];p - коэффициент, учитывающий фактические условия обработки,

Определение мощности резания


Проверка по мощности:≤ Nшп

(кВт) < 4 (кВт) - таким образом, обработка возможна.

Определение основного времени


где Lр.х. - длина рабочего хода инструмента,

р.х. = Lрез + y,

где Lрез - длина резания, Lрез = 40 мм;- вылет инструмента, y = 5 мм.р.х. = 40 + 5 = 45 мм.

 мин.

Переход 2

Рассверлить эксцентриковое отверстие 8 в размер Ø24 мм на всю длину

Глубина резания:

= (D - d)/2 = (24 - 12)/2 = 6 мм.

Подачу S выбираем из таблицы 25 [2, стр. 277], S = 0,5 мм/об.

Выбранную подачу умножаем на поправочный коэффициент, учитывающий глубину сверления, KlS = 0,9.

Тогда подача будет равна: S = 0,5∙0,9 = 0,45 мм/об.

Определение скорости резания:


где Т - период стойкости сверла, Т = 50 мин [2, стр. 280, табл. 30];- диаметр сверла, D = 24 мм;

СV, q, m, х, y, - коэффициент и показатели степени, выбираем по таблице 29 [2, стр. 279]:

СV = 56,9, q = 0,5, х = 0,15, y = 0,45, m = 0,4.

Определим частоту вращения шпинделя:

 [об/мин].

Корректируется по паспорту станка nст = 630 об/мин

Определим действительную скорость резания:

 м/мин.

Расчет крутящего момента


где CМ = 0,196, q = 0,85, х = 0,8, y = 0,7 [2, стр. 281, табл. 32];

Определение мощности резания


Проверка по мощности:≤ Nшп

,6 (кВт) < 4 (кВт) - таким образом, обработка возможна.

Определение основного времени


где Lр.х. - длина рабочего хода инструмента,

р.х. = Lрез + y,

где Lрез - длина резания, Lрез = 40 мм;- вылет инструмента, y = 5 мм.р.х. = 40 + 5 = 45 мм.

 мин.

Переход 3

Зенкеровать отверстие в размер Ø29 мм

Глубина резания:

= (D - d)/2 = (29 - 24)/2 = 2,5 мм.

Подачу S выбираем из таблицы 26 [2, стр. 277], S = 1,1 мм/об.

Определение скорости резания:


где Т - период стойкости зенкера, Т = 40 мин [2, стр. 280, табл. 30];- диаметр зенкера, D = 29 мм;

СV, q, m, y, - коэффициент и показатели степени, выбираем по таблице 29 [2, стр. 279]:

СV = 105, q = 0,4, х = 0,15, y = 0,45, m = 0,4.

Определим частоту вращения шпинделя:

 [об/мин].

Корректируется по паспорту станка nст = 630 об/мин

Определим действительную скорость резания:

 м/мин.

Расчет крутящего момента


где CМ = 0,196, q = 0,85, х = 0,8, y = 0,7 [2, стр. 281, табл. 32];

Определение мощности резания


Проверка по мощности:≤ Nшп

,98 (кВт) < 4 (кВт) - таким образом, обработка возможна.

Определение основного времени

где Lр.х. - длина рабочего хода инструмента,

р.х. = Lрез + y,

где Lрез - длина резания, Lрез = 40 мм;- вылет инструмента, y = 5 мм.р.х. = 40 + 5 = 45 мм.

 мин.

Переход 4

Развернуть отверстие в размер Ø30Н7 мм

Глубина резания:

= (D - d)/2 = (30 - 29)/2 = 0,5 мм.

Подачу S выбираем из таблицы 27 [2, стр. 278], S = 1,5 мм/об.

Определение скорости резания:


где Т - период стойкости развертки, Т = 75 мин [2, стр. 280, табл. 30];- диаметр развертки, D = 30 мм;

СV, q, m, х, y, - коэффициент и показатели степени, выбираем по таблице 28 [2, стр. 278]:

СV = 109, q = 0,2, х = 0, y = 0,5, m = 0,45.

Определим частоту вращения шпинделя:

 [об/мин].

Корректируется по паспорту станка nст = 200 об/мин

Определим действительную скорость резания:

 м/мин.

Расчет крутящего момента


где Sz - подача на зуб,

z = S/z = 1,5/10 = 0,15 мм/зуб.

р = 123, х = 1, y = 0,85 [2, стр. 274, табл. 22];

Определение мощности резания


Проверка по мощности:≤ Nшп

,38 (кВт) < 4 (кВт) - таким образом, обработка возможна.

Определение основного времени


где Lр.х. - длина рабочего хода инструмента,

р.х. = Lрез + y,

где Lрез - длина резания, Lрез = 40 мм;- вылет инструмента, y = 5 мм.р.х. = 40 + 5 = 45 мм.

 мин.

Определение штучного времени:

Тшт = φ∙∑То,

где φ = 1,72 - для станков сверлильной группы,

∑То = 0,086 + 0,159 + 0,065 + 0,15 = 0,46 мин.

Тшт = 1,72∙0,46 = 0,79 мин.

Операция 015 Вертикально-сверлильная

Переход 1

Сверлить четыре отверстия 9 в размер Ø5 мм.

Подачу S выбираем из таблицы 25 [2, стр. 277], S = 0,15 мм/об.

Выбранную подачу умножаем на поправочный коэффициент, учитывающий глубину сверления, KlS = 0,9.

Тогда подача будет равна: S = 0,15∙0,9 = 0,135 мм/об.

Определение скорости резания:

где Т - период стойкости сверла, Т = 15 мин [2, стр. 280, табл. 30];- диаметр сверла, D = 5 мм;

СV, q, m, y, - коэффициент и показатели степени, выбираем по таблице 28 [2, стр. 278]:

СV = 34,2, q = 0,45, y = 0,3, m = 0,2.

Определим частоту вращения шпинделя:

 [об/мин].

Корректируется по паспорту станка nст = 2500 об/мин

Определим действительную скорость резания:

 м/мин.

Расчет крутящего момента


где CМ = 0,012, q = 2,2, y = 0,8 [2, стр. 281, табл. 32];

Определение мощности резания


Проверка по мощности:≤ Nшп

,22 (кВт) < 4 (кВт) - таким образом, обработка возможна.

Определение основного времени


где Lр.х. - длина рабочего хода инструмента,

р.х. = Lрез + y,

где Lрез - длина резания, Lрез = 23 мм;- вылет инструмента, y = 3 мм.р.х. = 23 + 3 = 26 мм.

 мин.

Переход 2

Сверлить отверстие 10 в размер Ø3 мм.

Подачу S выбираем из таблицы 25 [2, стр. 277], S = 0,1 мм/об.

Выбранную подачу умножаем на поправочный коэффициент, учитывающий глубину сверления, KlS = 0,9.

Тогда подача будет равна: S = 0,1∙0,9 = 0,09 мм/об.

Определение скорости резания:


где Т - период стойкости сверла, Т = 15 мин [2, стр. 280, табл. 30];- диаметр сверла, D = 3 мм;

СV, q, m, y, - коэффициент и показатели степени, выбираем по таблице 28 [2, стр. 278]:

СV = 34,2, q = 0,45, y = 0,3, m = 0,2.

Определим частоту вращения шпинделя:

 [об/мин].

Корректируется по паспорту станка nст = 2500 об/мин

Определим действительную скорость резания:

 м/мин.

Расчет крутящего момента


где CМ = 0,012, q = 2,2, y = 0,8 [2, стр. 281, табл. 32];

Определение мощности резания


Проверка по мощности:≤ Nшп

,05 (кВт) < 4 (кВт) - таким образом, обработка возможна.

Определение основного времени

где Lр.х. - длина рабочего хода инструмента,

р.х. = Lрез + y,

где Lрез - длина резания, Lрез = 9 мм;- вылет инструмента, y = 3 мм.р.х. = 9 + 3 = 12 мм.

 мин.

Определение штучного времени:

Тшт = φ∙∑То,

где φ = 1,72 - для станков сверлильной группы,

∑То = 4∙0,077 + 0,053 = 0,36 мин.

Тшт = 1,72∙0,36 = 0,62 мин.

Операция 020 Долбежная

Переход 1

Долбить канавку шириной 3 мм, длиной 22 мм, глубиной 2 мм.

Принимаем глубину резания t = 2 мм.

Выбираем подачу S = 0,42 мм/дв.ход [2, стр. 268, табл. 14].

Определение скорости резания:


где Т - период стойкости резца, Т = 45 мин;

СV, m, x, y - коэффициент и показатели степени, выбираем по таблице 17 [2, стр. 269]:

СV = 243, x = 0,15, y = 0,4, m = 0,2.V - общий поправочный коэффициент, учитывающий фактические условия резания, KV = 0,75;уV - коэффициент, учитывающий ударную нагрузку, KуV = 0,6.

Расчет силы резания


где Cp = 92, x = 1, y = 0,75, n = 0 [2, стр. 273, табл. 22];p - коэффициент, учитывающий фактические условия обработки


Где

где n - показатель степени, n = 0,4 [2, стр. 264, табл. 9].

 [2, стр. 275, табл. 23]

Определение мощности резания:


Проверка по мощности:≤ Nшп

,07 (кВт) < 3,6 (кВт) - таким образом, обработка возможна.

Операция 025 Круглошлифовальная

Переход 1

Шлифовать поверхность 5, Ra 0,63 мкм.

Диаметр шлифования d = 42 мм.

Ширина шлифования b = 25 мм.

Скорость круга Vк = 30 м/с [2, стр. 301, табл 55].

Скорость заготовки Vз = 20 м/мин [2, стр. 301, табл 55].

Радиальная подача Sр = 0,005 мм/об [2, стр. 301, табл 55].

Эффективная мощность:


где CN = 0,14, r = 0,8, у = 0,8, q = 0,2, z = 1 [2, стр. 303, табл. 56].


Список литературы

1.   А.Г. Косилова, Р.К. Мещеряков «Справочник технолога-машиностроителя», Т.1 М. «Машиностроение», 2000.

2.       А.Г. Косилова, Р.К. Мещеряков «Справочник технолога-машиностроителя», Т.2 М. «Машиностроение», 2000.

.         А.Н. Ковшов «Технология машиностроения», М. «Машиностроение», 1984.

.         М.А. Нефедов, К.А. Осипов «Сборник задач и примеров по резанию металлов и режущему инструменту», М. «Машиностроение», 1990.

.         Справочник «Общемашиностроительные нормативы времени».

Похожие работы на - Расчет детали 'втулка эксцентриковая'

 

Не нашли материал для своей работы?
Поможем написать уникальную работу
Без плагиата!
Без нейросетей!