Проект цеха по производству древесностружечных плит
ПРОЕКТ ЦЕХА ПО ПРОИЗВОДСТВУ
ДРЕВЕСНОСТРУЖЕЧНЫХ ПЛИТ
Содержание
Введение
Выбор
принципиальной схемы производства ДСтП
. Выбор
исходных технологических данных для проектирования
. Расчёт
производительности цеха
. Расчёт
расхода сырья и материалов
.
Пооперационный расчёт перерабатываемого материала в производстве
древесностружечных плит
. Разработка
технологической схемы производства ДСтП, подбор и расчёт количества основного
технологического оборудования
. Описание
технологического процесса производства трехслойных ДСтП
Заключение
Список
использованных источников
Введение
Древесностружечные плиты (ДСтП) применяются в мебельной промышленности,
строительстве, а также в других отраслях народного хозяйства. Они имеют ряд
преимуществ перед другими древесными материалами. Для их получения используются
низкокачественная древесина и отходы деревообрабатывающих производств. В
условиях переменной влажности размеры плит меняются незначительно. Возможно
получать плиты с одинаковыми и различными свойствами вдоль и поперек пласти
(анизотропные и изотропные), с повышенной огнестойкостью и устойчивостью к
действию дереворазрушающих грибов и насекомых-вредителей, пониженными
показателями водо- и влагопоглощения. Процесс производства плит характеризуется
высокой экономичностью и почти полной автоматизацией.
Развитию производства ДСтП способствует высокая эффективность их
применения.
Производство ДСтП, организованное первоначально лишь для использования
отходов деревообработки, превратилось в самостоятельную отрасль промышленности.
Исследования
возможности использования древесных отходов для изготовления плит проводились
еще в конце XIX в.. Промышленное производство таких плит началось и
развивалось по мере повышения дефицитности деловой древесины. Однако основной
рост промышленности по производству плит из древесных частиц относится к
пятидесятым годам, когда было создано специализированное оборудование и
улучшена технология, обеспечившая хорошее качество плит. В 1950 г. мировое
производство плит составляло 20 тыс.
, а в
дальнейшем росло исключительно быстрыми темпами и к началу 80-х годов превысило
4 млн.
плит.
В
СССР научно-исследовательские работы в области производства ДСтП начались в
1952 г., а первый экспериментальный цех был пущен в 1955 г. Отрасль быстро
развивалась и уже значительно обогнала по объему производства некоторые отрасли
деревообрабатывающей промышленности, выпускающие традиционные плитные материалы
(столярные и полутвердые древесноволокнистые плиты и др.).
Для
этого производится реконструкция действующих предприятий, направленная на
увеличение объема производства и повышение качества продукции при условиях
снижения ее материалоёмкости и комплексного использования сырья. Одновременно
осуществляется строительство и освоение мощности новых предприятий.
В
дальнейшем производство ДСтП будет развиваться еще быстрее на основе
рационального и комплексного использования сырья. Это позволит в большей
степени, чем в настоящее время, удовлетворять потребность в плитах различных
отраслей народного хозяйства. В настоящее время основная масса выпускаемых ДСтП
используется в производстве мебели; в то время как в ряде стран Западной Европы
использование плит в строительстве составляет значительную часть в общем,
объеме их потребления.
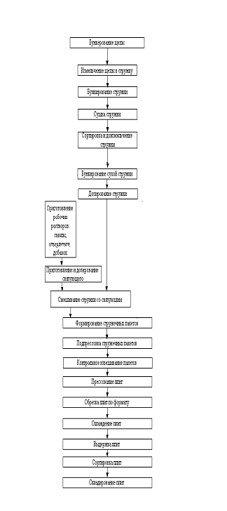
Выбор
принципиальной схемы производства ДСтП
Рисунок 1 -
Принципиальная схема производства ДСтП
1.
Выбор
исходных технологических данных для проектирования
Таблица 1.1
Характеристика продукции
|
Наименование
|
Обозначения
|
Показатели
|
|
Марка плит
|
П - Б
|
|
|
Вид поверхности
|
|
Мелкоструктурная
|
|
Степень обработки поверхности
|
НШ
|
Нешлифованная
|
|
Класс эмиссии формальдегида
|
Е - 1
|
до 10 мг формальдегида на 100 г абсолютно сухой плиты
|
|
Формат готовых плит, мм
|
|
|
|
длина
|
l
|
3500
|
|
ширина
|
b
|
1750
|
|
толщина
|
s
|
16
|
|
Конструкция (слойность) плит
|
|
Однослойные
|
|
Плотность, кг/м3
|
rлп
|
600
|
|
Область применения
|
|
Для производства мебели, в строительстве, машиностроении,
радиоприборостроении и в производстве тары.
|
Таблица 1.2
Физико-механические показатели выпускаемой плиты марки П-Б
|
Наименование
|
Показатели
|
|
Влажность,%
|
8
|
|
Разбухание не более,% при повышенной водостойкости
|
25
|
|
Предел прочности при изгибе, МПа, для плиты толщиной 16 мм
|
16
|
|
Предел прочности при растяжении перпендикулярно пласти
плит, МПа,
|
|
|
для плиты толщиной 16 мм
|
0,3
|
Таблица 1.3
Характеристика сырья
|
Наименования
|
Показатели
|
|
Состав сырья по виду,% технологическая щепа
|
|
100
|
|
Природный состав сырья,%
|
|
|
|
сосна
|
i1
|
100
|
|
Содержание гнили,%
|
Ргн
|
5
|
|
Влажность сырья,%
|
W
|
80
|
Средневзвешенная
условная плотность древесного сырья
, (кг/м3),
определяется по формуле:
, (1.1)
где
-средневзвешенная условная плотность одной породы,
кг/м3;
rдр, rк, rгн - соответственно условная плотность здоровой
древесины, коры, гнили (rгн = 0,65 rдр);
Рдр,
Рк, Ргн - соответственно доля здоровой древесины
(rдр = 100-Рк-Ргн),
коры, гнили в общем объеме сырья,%.
;
Средневзвешенная
плотность древесного сырья при определенной влажности
, (кг/м3), определяется по формуле:
, (1.2)
гдеrwдр, rwк, rwгн - соответственно условная плотность
здоровой древесины, коры, гнили (rгн = 0,65 rwдр) при влажности W, кг / м3.
кг/м3,
Таблица 1.4
Физико-механические свойства смолы
СФЖ - 3014
|
Внешний вид
|
Однородная прозрачная жидкость от красновато- коричневого
до темно вишневого цвета
|
|
Массовая доля сухого остатка,%
|
46 - 52
|
|
Массовая доля свободного формальдегида,%, не более
|
0,15
|
|
Вязкость условная по ВЗ-4 (сопло 4,000 ± 0,015 мм), с
|
17 - 90
|
|
Массовая доля свободного фенола,% не более
|
0,10
|
|
Массовая доля щелочи
|
6,5-7,5
|
|
Разрушающее напряжение при скалывании по клеевому слою
образца после кипячения в воде в течение 1 часа, Мпа, не менее
|
1,5
|
Нормы расхода связующего устанавливаются в зависимости от породного
состава сырья, слоя и конструкции плиты, %. [1, приложение 1, табл. 1.3]
Р=Р1 i1; (1.3)
Pн
=9,5 %;
2. Расчет
производительности цеха
2.1 Годовой
фонд рабочего времени
Число рабочих дней в году А, определяется по формуле:
А = рmТ, (2.1)
Где р - фонд рабочего времени (304 дня);- число рабочих смен в сутки (3);
Т - продолжительность рабочей смены (8 часов).
= 304 × 3 × 8 = 7 296 ч
2.2
Характеристика параметров режима горячего прессования
Цикл прессования tц, мин,
определяется по формуле:
tц= tпр+tвсп =
+tвсп (2.2)
где
tуд -
удельная продолжительность прессования зависит от ряда факторов, с учетом
которых подбирается по табл. 2.1 (приложение 2), мин/мм; (tуд =
0,24);-толщина прессуемой плиты, мм;
DS -припуск по
толщине плиты на шлифование, (DS =0)
tвсп - продолжительность вспомогательных операций на один
цикл работы пресса (загрузка и разгрузка, смыкание и размыкание плит, подъем
давления), принимается равным 1,0 - 1,5 мин;
tпр - продолжительность прессования (время с момента
достижения максимального давления, до начала раскрытия плит пресса), мин.
tц = (0,24×1,1× 16)+1,0= 5,62 мин;
Рисунок
2 - Диаграмма прессования
2.3
Производительность прессов горячего прессования, Пч, м3 /час
Пгод, м3/год, определяется по формуле:
Пч
=
; (2.3)
Пгод
=
, (2.4)
Где
Пч, Пгод - соответственно часовая и годовая
производительность. пресса, м3/ч, м3/год;
А
- число рабочих часов в году определяется по формуле (2.1);- число рабочих
промежутков пресса;, b, S- соответственно длина, ширина, толщина готовых
чистооб
резных
плит (см. табл. 4.1), м;
Кu
- коэффициент использования всех агрегатов главного принимается равным 0,8 -
0,9;
tц - цикл прессования определяется по формуле (2.2), мин.
Пч
=
м3/ч;
Пгод
=
м3/год;
. Расчет
расхода сырья и материалов
3.1 Расчет
количества стружки на одну плиту
Определяем массу готовой стружечной плиты (кг), определяется по формуле:
, (3.1)
Где
l,b -длина, ширина плиты, м;-толщина плиты, мм;
кг,
Расход
абсолютно сухих древесных частиц на одну плиту
, (кг),
определяется по формуле:
кг;
(3.2)
где
qпл -определяется по формуле (3.1.);пл -влажность готовых
плит [1, табл. 4.1 ],%;
Р
-расход связующего,%.
кг;
Расход
стружки с некоторой влажностью на одну плиту
, (кг),
определяется по формуле:
, (3.3)
где
W - влажность сухой стружки, принимается равной 2-3%.
кг;
.2 Расчет
количества стружки на 1 м3 плит
Определяем количество абсолютно сухой стружки на 1 м3 плит qнабс.с,
(кг), определяется по формуле:
qабс.с
=
, (3.4)
где
rпл -
плотность плиты, кг/м3;пл - влажность готовых плит,%;
Р
- норма расхода связующего,%
абс.с =
кг;
Количество
стружки с некоторой влажностью на 1 м3 плит без учета потерь qнw,
(кг), определяется
по
формуле:
w =
, (3.5)w =
кг;
3.3
Расчет расхода древесины на 1 м3 плит
Расход
древесины на 1 м3 плит Vдр, (кг / м3),
определяется по формуле:
др =
; (3.6)
где
rпл
-плотность изготовляемых плит, кг / м3;
Р
-норма расхода связующего;пл -влажность готовых плит,%;
rусл -средневзвешенная условная плотность древесного
сырья, кг / м3;
Кп
-коэффициент, учитывающий потери и отходы сырья на отдельных технологических
операциях, определяется по формуле (3.7).
др=
кг/м3;
Коэффициент
Кп, учитывающий технологические потери и отходы древесины на
отдельных технологических опреациях при изготовлении плит определяем по
формуле:
Кп
= Кразд Ксорт.щ Кс Ктр Ксуш
Кобр Кшл, (3.7)
где
Кразд - коэффициент потерь при разделке сырья. При разделке сырбя на
метровые отрезки Кразд=1,01, при отсутствии разделки Кразд=1;
Ксорт.щ
-коэффициент потерь сырья при сортировке щепы, в расчетах принимается Ксорт.щ=
1,06. При отсутствии сортировки щепы Ксорт.щ=1;
Кс
- коэффициент, учитывающий вид сырья. Кс = 1,12;
Ктр
- коэффициент потерь сырья при транспортировке стружки, в расчетах принимается
Ктр=1,01;
Ксуш
- коэффициент потерь стружки в период сушки, в расчетах принимаются потери Ксуш=1,03;
Кобр
- коэффициент потерь сырья при обрезке плит по периметру зависит от формата
плиты до и после обрезки, разница между которыми составляет 5 см по длине и
ширине на обе стороны.
Кп
= 1 × 1 × 1 × 1,01 × 1,03 × 1,04 ·1 = 1,082;
3.4 Расчет
расхода смолы на одну плиту
Расход смолы (в пересчете на сухой остаток) на одну плиту qсух.см,
(кг), определяется по формуле:
qсм =
; (3.9)см
=
кг;
.5 Расчет
расхода смолы и отвердителя на 1 м3 плит
Расход смолы (в пересчете на сухой остаток) на 1 м3 плит qсух.см,
(кг), опрделяется по формуле:
qсух.см =
; (3.10)сух.см
=
кг
Расход
смолы стандартной концентрации qст.см, (кг), опрделяется по формуле:
qст.см =
, (3.12)
где
К - стандартная концентрация смолы,%, (К = 50%):
ст.см =
кг;
древесный стружечный горячий пресс
4. Пооперационный расчет перерабатываемого материала в
производстве древесностружечных плит
Для определения количества единиц технологического оборудования необходимо
знать, сколько материала перерабатывается на каждой технологической операции.
Данный расчет позволяет определить расход сырья и связующего для выполнения
заданной программы. Расход сырья состоит из его полезного выхода, вошедшего в
готовую продукцию, и отходов, часть которых теряется безвозвратно, а другая
часть может быть собрана и использована в основном производстве.
.1 Определение массы абсолютно сухого материала в готовых чистообрезных
плитах, кг/ч
(4.1)
где
Пч- часовая производительность цеха, м3/ч;
,08
- коэффициент, учитывающий влажность плиты (Wпл=8%).
.2
Определение массы абсолютно сухого материала в нешлифованных плитах, кг/ч
(4.2)
По
заданию выпускаемые плиты не шлифуются.
.3
Определение массы абсолютно сухого материала в необрезной плите, кг/ч
(4.4)
где
Кобр- коэффициент потерь сырья при обрезки плит по периметру.
Принимается равным как и в формуле 3.7. Кобр=1,04.
qг- масса абсолютно сухого материала в готовых
чистообрезных шлифованных плитах, кг/ч.
Отходы
материала при обрезки измельчаются и на 90% возвращаются в бункер сухой или
сырой стружки внутреннего слоя. Количество возвращаемого материала после
обрезки определяется по формулам
(4.5)
где
0,9 - коэффициент возврата отходов после обрезки в производство.
Остальные
обозначения такие же, как и в предыдущих формулах.
.4
При формировании стружечного ковра на ленте коэффициент потерь равен 1,005. Он
возникает при разделении ковра на пакеты. Тогда масса абсолютно сухого
материала, проходящего через формирующие машины, qвф, (кг / ч),
определяется:
(4.6)
Масса
абсолютно сухого материала в разделительной коробке определяется по формуле
(4.7)
где
qнеоб-
масса абсолютно сухого материала в наружных слоях не обрезной плиты, кг/ч.
формирующую
машину, кг/ч.
Определяется
масса абсолютно сухого материала до формирующей машины с учетом возврата
стружечной массы из разделительных коробок в бункер формирующих машин, кг/ч
qдоф=qвф-yф, (4.8)
где
qнеоб-
масса абсолютно сухого материала в наружных слоях не обрезной плиты, кг/ч.
qвф- масса абсолютно сухого материала наружных слоев,
проходящего через формирующую
машину,
кг/ч;
уф
- масса абсолютно сухого материала в разделительной коробке, кг/ч.
qдоф = 9385,25 - 1224,16 = 8161,09 кг/ч.
.5
Определяется масса абсолютно сухого связующего, находящегося в массе абсолютно
сухого материала, и поступающего в смесители, кг/ч
(4.9)
где
Р, Р- расход связующего соответственно в наружных и внутреннем слое,%.
.6
Определяется масса абсолютно сухой стружки, находящейся в массе абсолютно
сухого материала, поступающей в смеситель, кг/ч
qсм=qдоф-qсвяз, (4.10)
где
qсвяз, qдоф, - определяются по формулам (4.16-4.12).
qсм = 8161,09 - 708,04 = 7453,05 кг/ч;
.7
Определяется масса абсолютно сухой стружки, поступающей в бункер с учетом
возврата шлифованной пыли в бункер наружного слоя и дробленки от форматной
обрезки в бункер внутреннего слоя, кг/ч
qб=qсм - yоб, (4.11)
где
qсм, -
масса абсолютно сухой стружки, находящейся в массе абсолютно сухого материала,
поступающей в смеситель, кг/ч;
уш-
количество шлифованной пыли, возвращаемой в производство, кг/ч;
qб = 7453,05 - 282,5 = 7170,65 кг/ч
.8
Потери стружки при сепарации отсутствуют. Может отделяться часть крупной
стружки и сколов, которые дополнительно измельчаются и возвращаются на
сортировку. При такой технологии возможен вариант, когда часть мелких древесных
частиц и пыли отбирается из внутреннего слоя и направляется в наружные, а часть
крупных древесных частиц, отделяемых при сепарации стружки наружного слоя,
отправляется в стружку внутреннего слоя. Следовательно необходимо выполнить
расчет для определения количества древесных частиц, перебрасываемых на другие
потоки.
.9
Определяется (условно) масса абсолютно сухой стружки, поступающей в сушилки,
кг/ч
qсуш = qб*Ксуш,
(4.12)
где
Ксуш, - коэффициент потерь при сушке стружки. Принимается: Ксуш=1,03;.
qб, - масса абсолютно сухой стружки, поступающей в
бункер, кг/ч.
qсуш = 7170,55∙1,03 = 7385,67 кг/ч
.10
Определяется потребность производства в абсолютно сухой древесине с учетом
потерь при раскрое и измельчении сырья, изготовлении и транспортировке стружки,
кг/ч
qдр=qсуш*Кразд*Ксортщ*Кс*Ктр,
(4.13)
где
qсуш, -
масса абсолютно сухой стружки, поступающей в сушилки,, кг/ч;
Кразд,
Ксортщ, Кс, Ктр- коэффициенты, учитывающие
потери сырья соответственно на участке разделки сырья, сортировки щепы,
учитывающий вид сырья и транспортировки стружки.
qдр = 7385,67*1,01 = 7459,53 кг/ч;
.11
Определяется расход материалов данной влажности при каждой технологической
операции, кг/ч
(4.14)
где
qабс.с-
расход абсолютно сухого материала на каждой технологической операции, кг/ч;
W- влажность
материала на каждой технологической операции,%.
Все расчеты
по расходу материалов на каждой технологической операции сведены в таблицу 4.1.
4.12
Определение удельного расхода древесного сырья и смолы с учётом всех потерь на
1
плит
Часовой
расход древесного сырья
,
:
, (5.25)

Удельный
расход древесного сырья на 1
плит
,
:
,(5.26)

Удельный
расход смолы на изготовление 1
плит
,
:
,(5.27)

Удельный
расход смолы стандартной концентрации на изготовление 1
плит,
,
:
,(5.28)

Годовая
потребность в древесном сырье
,
:
,(5.29)

Годовая
потребность в смоле стандартной концентрации
, кг:
,(5.30)
кг
Таблица 4.1
Часовой расход абсолютно сухого материала и при данной влажности на
каждой технологической операции при изготовлении ДСтП
|
Технологические операции
|
Расход абсолютно сухого материала, кг/ч
|
Влажность материала,%
|
Расход материала заданной влажности, кг/ч
|
|
Готовые шлифованные плиты
|
7847,2
|
8
|
8474,98
|
|
Необрезные плиты
|
8161,09
|
8
|
8813,98
|
9385,25
|
12
|
10511,48
|
|
До формирующих машин
|
8161,09
|
12
|
9140,42
|
|
В смесителе
|
7453,05
|
12
|
8347,42
|
|
В бункерах сухой стружки
|
7170,55
|
3
|
7385,67
|
|
На сортировке стружки
|
7170,55
|
3
|
7385,67
|
|
До сушки стружки
|
7385,67
|
80
|
13294,21
|
|
До измельчения (потребность в сырье)
|
7459,53
|
80
|
14919,06
|
5.
Разработка технологической схемы производства ДСтП, подбор и расчет количества
основного технологического оборудования
Исходя их задания на курсовое проектирование (конструкции плит, области
их применения, вида сырья) и опираясь на принципиальную схему производства ДСтП
и технологические расчеты, разрабатывается технологическая схема производства
ДСтП.
Выбор оборудования зависит от применяемой технологической схемы,
технологической характеристики и загрузки станка или установки.
Количество единиц оборудования на каждой технологической операции
рассчитывается по следующей формуле:
, (5.1)
где
q - часовой расход материала на каждой технологической операции (см. табл.), кг
/ ч;
Пч
- часовая производительность оборудования, выбирается из технической
характеристики или рассчитывается по эмпирическим формулам;
Кu
- коэффициент использования оборудования, принимается равным 0,8 - 0,9.
Принимаем
число единиц оборудования (n), путем округления (до ближайшего целого числа)
расчетного количества оборудования (m).
Определим
процент загрузки оборудования по формуле:
%, (5.2)
Где
m -число станков, полученное по расчету;-принятое число станков.
.1
Бункерование щепы
Требуемое
количество бункеров
, шт:
,(6.1)
где
τ - время, в течении которого бункер обеспечивает
бесперебойную работу потока на
данном
участке, ч;
- объём
бункера, м3;
-
коэффициент заполнения рабочего объёма бункера;
Принимается
τ=2 ч - с.49[1];
=150
- с.148[2] для ДБО-150;
=0,95 -
с.49[1] для вертикальных бункеров.
шт
Принимается
1 бункер ДБО-150 с коэффициентом загрузки 40%.
.2
Измельчение щепы в стружку
Требуемое
количество станков
, шт:
, (6.2)
где
- часовая производительность оборудования,
;
-
коэффициент использования оборудования.
Принимается
=4300
- таблица 7.8[2] для ДС-7 B с толщиной
стружки 0,4 мм.
шт
Принимается
2 станок ДС-7 B с коэффициентом загрузки 96%.
.3
Бункерование влажной стружки после её измельчения
Требуемое
количество бункеров
, шт:
, (6.3)
где
- объём бункера, м;
-
насыпная масса влажной стружки,
;
Принимается
=100
-
с.148[2] для ДБО-100;
= 140
- приложение 4[1] для древесных частиц от центробежных станков с W=80%.
шт
Принимается
1 бункер ДБО-100 с коэффициентом загрузки 107%.
.4
Доизмельчение стружки
Требуемое
количество зубчато-ситовых мельниц
, шт:
Принимается
=6000
-
с.161[2] для ДМ-8 и стружки
= 80%.
шт
Принимается
2 зубчато-ситовых мельницы ДМ-8 с коэффициентом загрузки 73%.
.5
Бункерование влажной стружки
Требуемое
количество бункеров для влажной стружки m, шт:
,(6.5)
где
- насыпная масса влажной стружки, кг¤м3.
Принимается
=60
-
с.148[2] для ДБО-60;
= 135
кг¤м3- приложение 4[1] для
древесных частиц от мельниц с W=80%.
шт
Принимается
2 бункера ДБО-60 с коэффициентом загрузки 93%.
.6
Сушка стружки
Требуемое
количество сушилок m, шт:
, (6.6)
Принимается
=5900
- таблица
11.1[2] для наружных слоёв сушилки Н167-66;
шт
Принимается
2 сушильных барабана “Прогресс” Н167-66 с коэффициентом загрузки 70%.
.7
Сортировка и доизмельчение сухой стружки
.7.1
Механическая сортировка стружки
Требуемое
количество сортировок
, шт:
,(6.7)
Принимается
=8000
-
с.187[2] для ДРС-2;
шт
Принимается
1 механическая сортировка ДРС-2 с коэффициентом загрузки 99%.
.7.2
Пневматическая сортировка стружки
Требуемое
количество оборудования для сортировки стружки по толщине m,
шт:
,(6.8)
Принимается
=8000
-
с.194[2] для ДПС-1.
шт
Принимается
1 пневматическая сортировка ДПС-1 с коэффициентом загрузки 99%.
.7.3
Доизмельчение сухой стружки
Для
доизмельчения сухой стружки принимается одна зубчато-ситовая мельница ДМ-8.
.8
Бункерование сухой стружки
Требуемое
количество бункеров m:
,(6.9)
Принимается
=60
-
с.148[2] для ДБОС-60;
=100
- прил. 4[1] для сухих мелких древесных частиц от
мельниц.
шт
Принимается
3 бункера ДБОС-60 с коэффициентом загрузки 84%.
.9
Дозирование сухой стружки
Для
дозирования сухой стружки потоке принимается выравнивающий бункер- питатель
ДБД-2.
.10
Смешивание стружки со связующим
Требуемое
количество оборудования m, шт:
, (6.10)
Принимается
=10000
- таблица
13.3[2] для “Бизон” (ФРГ).
шт
Принимается
1 смеситель “Бизон” (ФРГ) с коэффициентом загрузки 83%.
.11
Формирование стружечного пакета
Требуемое
количество оборудования m, шт:
,(6.11)
Принимается
=12000
- таблица
15.1[2] для “Бэре и Гретен”.
шт
Принимается
1 формирующая машина с коэффициентом загрузки 97%.
.12
Подпрессовка пакета
Для
подпрессовки стружечного пакета принимается пресс ПР-5
.13
Контрольное взвешивание пакетов
Для
взвешивание пакетов принимаются контрольные весы ВЛВ-5
.14
Обрезка плит по формату
Производительность
форматнообрезных станков П,
:
,(6.12)
где
U - скорость подачи, м⁄мин;
-
коэффициент использования станка;
-
коэффициент использования рабочего времени.
Принимается
U =10 м⁄мин - c.287[3] для
станка ДЦ-3М;
=0,85;
=0,75 - с.50[1].
Требуемое
количество станков m, шт:
(6.13)
где
Пч - часовая производительность многоэтажного пресса,
.
шт
.15
Охлаждение плит
Для
охлаждение принимается веерный охладитель.
Для
снятия внутренних напряжений производится выдержка на складах в плотных пачках.
Для
нормальной работы оборудования требуются правильно подобранные транспортные
связи, которые должны учитывать состояние и геометрические размеры древесных
частиц, а также дальность и профиль перемещения. Как правило, для
транспортировки технологического сырья применяются цепные и ленточные транспортеры,
для транспортировки щепы, стружки - ленточные, скребковые, с погружными
скребками, пневмотранспортные установки; для транспортировки плит - роликовые
транспортеры.
. Описание
технологического процесса производства трехслойных ДСтП
В наиболее распространенных цехах, т. е. средних по мощности, где
применяется однотипное оборудование, организуют производство трехслойных ДСтП.
При этом создают два потока подготовки стружки: один-для наружных слоев плиты,
другой - для внутреннего слоя. Это связано с некоторым усложнением
технологического процесса, но позволяет получать трехслойные ДСтП высокого
качества.
Технологическая щепа поступает по скребковому конвейеру 1 в вертикальный
бункер ДБО-150 2.
Поток подготовки стружки наружных слоев начинается с подачи щепы к
центробежному стружечному станку ДС-7 3. Полученная стружка наружных слоев
пневмотранспортом подается в бункер для операционного запаса ДБО-100 4, откуда
далее поступает на доизмельчение в зубчато-ситовую мельницу ДМ-8 5, а затем
подается в бункеры влажной стружки ДБО-60 6. Оттуда стружка попадает в
сушильные установки с вращающимся барабаном “Прогресс” марки Н-167-66 7.
Высушенная стружка пневмотранспортом через циклон подается в противопожарный
бункер 8 и далее на механическую сортировку качающегося типа ДРС-2 9 для
обеспечения разделения стружки по площади её поверхности. Затем для разделения
по толщине, стружка попадает на пневматический двухступенчатый сепаратор ДПС-1
11. Крупная стружка, превышающая допустимые параметры, отправляется на доизмельчение
в зубчато-ситовую мельницу ДМ-8 10. Высушенная и отсортированная стружка
пневмотранспортом через циклон подаётся в вертикальные бункеры сухой стружки
ДБОС-60 12. От сюда она подается в выравнивающий бункер-питатель ДБД-2 13,
служащий для дозирования сухой стружки в смеситель ДСМ-7 13, в котором она
смешивается со связующим. Осмоленная стружка ленточным конвейером 15 подается в
формирующие машины ДФ-6 16 наружных слоев.
Формирование пакетов и прессование плит осуществляются на общей поточной
автоматической линии, управляемой с общего пульта. Процесс формирования
стружечных пакетов начинается с подачи поддонов конвейером 27 на формирующий
конвейер 28 через определенные промежутки времени, соответствующие заданному
ритму главного конвейера. Кромки поддонов механически перекрываются траверсами
(отсекателями), обеспечивающими прямоугольность передней и задней кромок
пакета. Просыпавшаяся между поддонами стружка падает на ленточные конвейеры, с
которых пневмотранспортом возвращается в формирующие машины.
По выходе из зоны формирующих машин стружечные пакеты проходят через
металлоулавливатель 29 и далее подаются к прессу для подпрессовки ПР-5 30, где
предварительно уплотняются. Вышедший из пресса 30 стружечный брикет поступает
на площадку контрольных весов ВЛВ-5 31, где проверяют точность формирования
брикетов по массе. С контрольных весов брикеты передаются в загрузочную
этажерку. После заполнения всех этажей происходит загрузка пресса ПР-6Б 32 и
одновременно выгрузка из пресса готовых плит в разгрузочную этажерку.
Из нее плиты по одной с помощью конвейеров направляются к
форматно-обрезному станку ДЦ-3М 33. Поступившие в станок плиты обрезаются
сначала по поперечным кромкам, затем по продольным, после чего они поступают
для охлаждения в веерный охладитель 34 и далее в штабелеукладчик 35, где
собираются в пакеты объемом 2,5 м3. Эти пакеты перевозят в отделение
выдержки.
Заключение
В данном курсовом проекте был произведен выбор принципиальной схемы
производства ДСтП и исходных технологических данных, расчёт производительности
цеха, расходов сырья и материалов, пооперационный расчёт сырья, разработка
технологической схемы производства ДСтП. Также осуществлен подбор, расчёт
количества основного технологического оборудования и описан технологический
процесс производства ДСтП.
Список
использованных источников
1. Евдокимов М.И., Ковальчук Т.А.,
Твердохлебова В.Н. Технология древесных плит и пластиков: Метод. указ. к
курсовому и дипломному проектированию. - Красноярск: КГТА, 1996.-56 с.
2. Справочник по производству
древесностружечных плит/ Под редакцией Отлева И.А. и др.- 2-е изд. - М: Лесная
промышленность, 1990.-З84 с.
3. Шварцман Г.М., Щедро Д.А.
Производство древесностружечных плит.- М.: Лесная промышленность, 1987.-320 с.
4. ГОСТ 10632-89. Плиты древесностружечные.
Технические условия.
5. Ермолина Т.В. Оформление текстовых
документов: Методические указания для студентов специальности 26.02. -
Красноярск: СТИ, 1996.-28с.