Проект привода ленточного конвейера

  • Вид работы:
    Курсовая работа (т)
  • Предмет:
    Другое
  • Язык:
    Русский
    ,
    Формат файла:
    MS Word
    749,59 Кб
  • Опубликовано:
    2012-04-15
Вы можете узнать стоимость помощи в написании студенческой работы.
Помощь в написании работы, которую точно примут!

Проект привода ленточного конвейера

Содержание

1. Условия эксплуатации машинного агрегата

. Выбор двигателя, кинематический и силовой расчет привода

. Выбор материала и термообработки закрытой передачи. Расчет допускаемых напряжений

. Расчет зубчатой передачи редуктора

. Расчет клиноременной передачи

. Определение нагрузки валов редуктора

. Проектный расчет валов. Эскизная компоновка редуктора

. Определение реакций в подшипниках. Построение эпюр крутящих и изгибающих моментов

9.Проверка подшипников на динамическую грузоподъемность и долговечность

Список использованных источников

Введение

привод ленточный конвейер

Технический уровень всех отраслей народного хозяйства тесно связан и в значительной степени определяется уровнем развития машиностроения. На основе машиностроения осуществляется комплексная механизация в лесной и деревообрабатывающей промышленности, на транспорте, в строительстве, в коммунальном хозяйстве. Уделяется внимание усовершенствованию и развитию конструкций современных машин, указываются направления и требования, которые необходимо учитывать при проектировании новых машин и механизмов. Проектируемые машины должны иметь высокие эксплуатационные показатели, небольшой расход энергии и материалов при наименьшей массе и габаритах, высокую надежность. Они должны быть экономичны и как в процессе производства, так и в процессе эксплуатации, удобны и безопасны в обслуживании, допускать стандартизацию деталей и сборочных единиц.

Различные машины и механизмы в большинстве своем состоят из однотипных по служебным функциям деталей и сборочных единиц. Отсюда следует, что одни и те же методы анализа, расчета и проектирования находят применение, казалось бы, в далеких друг от друга отраслях техники. Поскольку большинство деталей общего назначения используются в приводах, то они выбраны одним из объектов курсового проектирования. Привод рабочей машины - это система, состоящая из двигателя и связанных с ним устройств, для приведения в движение рабочих органов машины.

При проектировании привода производят кинематический и силовой расчет, решают вопросы, связанные с выбором материалов, выполняют проектные и проверочные расчеты деталей, освещают вопросы установки, сборки, разборки и смазки отдельных сборочных единиц и привода в целом.

Основной задачей на этапе конструирования привода является минимизация его стоимости и габаритов, при обеспечении надежности и работоспособности. Это достигается оптимальным соотношением параметров привода и электродвигателя по рекомендуемым значениям передаточных чисел, передач привода. Исходным документом при проектировании является техническое задание.

Знания и опыт, приобретенные при выполнении этого проекта, являются базой для выполнения курсового проекта по грузоподъемным устройствам и дипломного проекта.

1 Условия эксплуатации машинного агрегата

1.1 Устанавливаем место расположения привода, его назначение, условия эксплуатации, число смен и их продолжительность. Проводим анализ кинематической схемы в направлении энергетического потока и определяем срок службы приводного устройства

.2 Срок службы приводного устройства определяем по формуле [1, с. 39]

=365· LГ · tс · Lс

LГ - срок службы привода по заданию, лет;с - продолжительность смены устанавливаем, часов;с - число смен устанавливаем.

.3 Принимаем время простоя машинного агрегата 15% ресурса и определяем рабочий ресурс.

.4 Составляем табличный отчет.

Ленточный конвейер мощностью 2,2 кВт, предназначен для погрузки и разгрузки, работает в течение 3 лет (по заданию), работа в две смены, продолжительностью 8 часов

Устанавливаем конвейер на железнодорожной станции, для обработки товарных вагонов, работа в две смены, нагрузка мало меняющаяся, режим реверсивный, продолжительность смены tс = 8 ч.

Определяем ресурс привода=365· LГ · tс · Lс = 365 ·2,2 · 8 · 2 = 12848 ч.

Принимаем время простоя машинного агрегата 15% ресурса.

Тогда Lh = 12848 · 0,85 = 10920 ч.

Рабочий ресурс привода принимаем Lh=10 · 103 ч.

Составляем табличный отчет, как показано в таблице 1

Таблица 1 - Эксплуатационные характеристики машинного агрегата

Место установки

Lh

Характер нагрузки

Режим работы

Железнодорожная станция

3

2

8

10 · 103

С малыми колебаниями

Реверсивный


2 Выбор двигателя, кинематический и силовой расчет привода

2.1 Определяем мощность на валу рабочей машины, кВт, по формуле[1., с 41]

 кВт

где F - тяговая сила, по заданию, кН;

υ - скорость тягового органа, по заданию, м/с.

.2 Определяем частоту вращения приводного вала ленточного конвейера, об/мин, по формуле[1., с 43]

об/мин

где D - диаметр барабана, по варианту, мм,

.3 Определяем общий к.п.д. привода по формуле[1., с 41]

,

где ηз.п, ηо.п, ηмуфты, ηподш - к.п.д. механизмов выбираем по таблице[1., табл. 2.2,с. 42]

.4.Определяем требуемую мощность электродвигателя, кВт, по формуле[1., с 42]

Рэл.дв= = кВт

Принимаем стандартную мощность, кВт, по таблице [1., табл. К9 с. 406] округлив, в большую сторону, до стандартного значения.

Двигатель с полученной мощностью может иметь разную частоту вращения.

.5 Определяем возможные варианты общего передаточного числа [1., с. 43, п.2]

вариант:  ; 2 вариант:  ;

вариант: ; 4 вариант: ,

где 3000, 1500, 100 и 750об/мин синхронная частота вращения двигателей.

Определяем предельные значения общего передаточного числа привода, передаточные числа закрытой и открытой передачи выбираем по таблице[1., табл 2,3, с.45]


Из четырех вариантов выбираем приемлемые.

2.6     Назначить оптимальные передаточные числа

uз.п .- закрытой передачи

uо.п - открытой передачи.

 об/мин

2.7 Определяем передаточное число открытой передачи по формуле [1., п.7, с.45]

.8 Таким образом, выбираем двигатель 4АМ100L6У6 , (Рном =2,2 кВт,

пном = 950 об/мин)

.9 Определяем частоты вращений, угловые скорости, мощности и вращающие моменты всех валов привода по формулам указанным в таблице [1., табл. 2,4, с.46]

Частота вращения: nI, nII, и тIII , об/мин,

nI=nэл.дв=950 об/мин

nII = об/мин, ( где и1 , передаточное число передачи установленной после электродвигателя).

nIII == nр.м = 86 об/мин

Угловые скорости для каждого вала ωI , ωII , ωIII , рад/с

рад/с, рад/с, рад/с

Мощности на валах привода Р1 ,Р2 и Р3 , кВт

РI =Рэл.двиг =2,2 кВт РII =Рэл.двиг∙=0,97·2,2=2,1 кВт

РIII = РII∙ =2,1· 0,97=2 кВт

Вращающие моменты на валах Т1 , Т2 и Т3 кНм

ТI= Нм , ТII= Нм, ТIII= Нм

.10 Полученные значения заносим в таблицу 2

Таблица 2 - Силовые и кинематические параметры привода

Тип двигателя… Рном=… кВт; пном=… об/мин

Вал

Частота вращения, п, об/мин

Угловая скорость, ω, рад/с

Мощность, Р, кВт

Момент, Т, кНм

Передаточ-ные числа

I Электродвигателя Быстроходный ременной передачи

950

99,4

2,2

20

иобщ

11

II Тихоходный ременной Быстроходный редуктора

345

36

2,2

50

ио.п.

2,75

III Тихоходный редуктора Рабочей машины

86

9

2,1

222

из.п.

4


3 Выбор материала и термообработки закрытой передачи. Расчет допускаемых напряжений

 

3.1 Материал для изготовления зубчатых колес выбираем по таблице [1, табл. 3.1, с. 52]

Варианты термообработки выбираем по таблице [1, табл. 3.2, с. 53] Перевод единиц твердости из НRС в НВ проводим по графику [1, рис.3.1, с. 52]

Чем выше твердость поверхностей зубьев, тем выше допускаемые напряжения и тем меньше размеры редуктора.

Так как к размерам проектируемого редуктора не предъявляют высоких требований, применяем сталь 40Х с термообработкой:

для шестерни улучшение плюс закалка ТВЧ, средняя, твердость , переводим в единицы НВ по графику [1, рис. 3.1, с. 52] НВ1ср=457

для колеса 40Х улучшение, средняя твердость .

.2 Определяют число циклов переменных напряжений:

для колеса  , циклов

для шестерни , циклов

где ω2 - угловая скорость тихоходного вала редуктора, рад/с;- время работы передачи, ч.

Число циклов переменных напряжений NН0, соответствующее пределу контактной выносливости определяем интерполированием по таблице [1, табл. 3.3, с. 55]

для шестерни, при НВ=457, NН01= 69,9 млн. циклов

для колеса, при НВ=285,5 NН02= 22,45 млн. циклов

.3 Определяем коэффициенты долговечности по контактным напряжениям КНL и по напряжениям изгиба КFL [1. с. 55]

так как N >NН0 , КНL1 =КНL1 =1.

так как N >4·106 КFL1= КFL2=1.

.4 Определяем допускаемые напряжения [σ]H0 и [σ]F0,, Н/мм2 соответствующие числу циклов переменных напряжений NH0 и NF0 по таблице [1, табл. 3.1, с 52]

для шестерни при улучшении и закалки для твердости

, в предположении, что модуль т<3

для колеса при улучшении для твердости

.5 .Определяем допускаемые контактные напряжение [σ]H , Н/мм2 с учетом времени работы передачи по формулам [1, с.55]

для шестерни для колеса

 

Среднее контактное напряжение определяем по формуле [1, с.55]

[σ]Н = 0,45([σ]Н1 + [σ]Н2)

.6 Определяем допускаемые напряжения изгиба [σ]F с учетом времени работы передачи по формуле [1, с.56]

для шестерни для колеса

 

.7 Полученные значения напряжений, заносим в таблицу 3

Таблица 3 - Механические характеристики материалов зубчатой передачи

Элемент передачи

Марка стали

Dпред

Термооб работка

НRC1ср

[σ]H

[σ]H среднее

[σ]F



S пред


НВ2ср

Н/мм2

Шестерня

40Х

80

У + ТВЧ

47,5

835

 637,16

232,5

Колесо

40Х

125

У

285,5

580,9


220,5


4 Расчет зубчатой передачи редуктора


Проектный расчет

.1 Определяем межосевое расстояние аω, мм, по формуле[1, с. 61]

 мм

где

Ка=43, вспомогательный коэффициент для косозубых передач;

u - передаточное число закрытой передачи по таблице 1;

Т2 , Н·м, вращающий момент на тихоходном валу редуктора, по таблице 2 ;

Ψа== 0,28…0,36 коэффициент ширины венца колеса, для шестерни расположенной симметрично относительно опор;

[σ]H =637,16, Н/мм2, среднее контактное напряжение, по таблице1;

КHβ=1., коэффициент неравномерности нагрузки по длине зуба, для прирабатывающихся зубьев.

Полученное значение аω округляем до стандартного (1, табл. 13.15, с. 326)

.2 Определяем модуль зацепления, т, мм, по формуле[1, с. 62]


где

=5,8, вспомогательный коэффициент, для косозубых передач;

Т2 - вращающий момент на тихоходном валу зубчатой передачи, Н·м;- делительный диаметр колеса, мм, определяем по формуле [1, с. 62]

 мм- ширина венца колеса, мм, определяем по формуле, [1, с. 62]

мм

 - допускаемое напряжение изгиба материала колеса с менее прочным зубом, Н/мм2, [σ]F = 220,5Н/мм2

Полученное значение модуля т, округляем в большую сторону, до стандартного числа, из ряда чисел [1, с. 62]

Примечание 1 - Значение стандартных модулей зубчатых колес

т,

мм   1- ряд - 1,0; 1,5; 2; 2,5; 3; 4; 5; 6; 8; 10

- ряд - 1,25; 1,75; 2,25; 2,75; 3,5; 4,5; 5,5; 7; 9

При выборе 1-й ряд предпочтительней 2-ому.

.3 Определяем угол наклона зубьев βmin по формуле[1, с. 62]

,

.4 Определяем суммарное число зубьев шестерни и колеса по формуле[1, с. 62]

ZΣ=Z1+Z2=шт

Полученное значение ZΣ округляем в меньшую сторону до целого числа.

.5 Уточняем действительную величину угла наклона зубьев по формуле[1, с. 62]

 ,

4.6 Определяем число зубьев шестерни z1 по формуле[1, с. 63]

шт

Значение z1 округляем до ближайшего целого числа. Из условия уменьшения шума и отсутствия подрезания зубьев выполняем рекомендацию≥ 18

.7 Определяем число зубьев колеса Z2 по формуле [1, с. 63]

Z2 = ZΣ - Z1=83-17=66 шт

.8 Определяем фактическое передаточное число uф и проверяем его отклонение от заданного Δu по формулам[1, с. 63]:

 

Проверяем норму отклонения от заданного и Δu≤4%

При невыполнении нормы отклонения передаточного числа пересчитать число зубьев шестерни и колеса.

.9 Определяем фактическое межосевое расстояние, мм, (для косозубой передач), по формуле [1, с. 63]:

мм

.10 Определяем основные геометрические параметры передачи, мм, [1, с.63, п. 10], точность вычислений ведем до 0,01мм, значение ширины зубчатых венцов округляем по ГОСТ 6636-69 (1, табл. 13.15, с. 326):

Делительный диаметр шестерни d1=мм

Диаметр вершин зубьев шестерни da1=d1+2m=44+2 · 2,5=45=52мм

Диаметр впадин зубьев шестерни df1=d1-2,4m=44-2,4 · 2,5=38=39мм

Ширина венца шестерни b1=b2+(2…4)=30+3=33мм

Делительный диаметр колеса d2=

Диаметр вершин зубьев колеса da2=d2+2m=175+5=180=185 мм

Диаметр впадин зубьев колеса df2=d2-2,4m=175-2,4 · 2,5=169=165мм

Ширина венца колеса b2=ψааω=0,28 · 108=30 мм

Проверочный расчет

.11 Проверяем межосевое расстояние по формуле[1, с. 63]

мм

.12 Проверяем пригодность заготовок колес по условию пригодности[1, с. 64]

Dзаг< Dпред ; Sзаг<Sпред

Предельные значения заготовок определяем по таблице[1, с. 53, табл. 3.2]

Dпред =125мм , Sзаг = 80мм

Диаметр заготовки шестерни определяем по формуле [1, с. 64]

Dзаг=da1+6мм =52+6=58 мм

da1 - диаметр вершин зубьев шестерни

Толщина диска заготовки колеса закрытой передачи определяем по формуле [1, с. 64]

Sзаг=b2+4мм=30+4=34мм b2 b2- ширина венца колеса, мм.

Неравенства выполняется, следовательно, заготовки пригодны.

.13 Проверяем контактные напряжения σН Н/мм2 по формуле [1, с. 64]

Н/мм2

где

К - вспомогательный коэффициент, для косозубых передач К=376;

иф - фактическое передаточное число;- окружная сила в зацеплении, Н, определяем по формуле[1, с. 64]

 Нм2

Т2 - вращающий момент на тихоходном валу редуктора, Н·м, по таблице 1 расчетно-конструкторского раздела,- делительный диаметр колеса, мм;- ширина венца колеса, мм;

KHα - коэффициент, учитывающий распределение нагрузки между зубьями, определяем по графику [1, рис. 4.2, с. 66] в зависимости от окружной скорости колес υ и степени точности передачи.

Окружную скорость определяем по формуле [1, с. 64]

м/с

где

ω2 - угловая скорость тихоходного вала редуктора, рад/с.

Степень точности передачи, устанавливаем по таблице [1, табл. 4.2, с. 64]

KHβ - коэффициент неравномерности нагрузки по длине зуба, KHβ =1, для прирабатывающихся колес.

KHυ - коэффициент динамической нагрузки, определяем по таблице [1, табл. 4.3, с. 64]

[σН]=637,16 Н/мм2, допускаемое контактное напряжение

Неравенство σН ≤ [σН]=637,16.

.14 Проверяем напряжения изгиба зубьев шестерни σF1 и колеса σF2, н/мм2 по формулам неравенства [1, с. 65] :

Н/мм2

Н/мм2

где

YF1 и YF2 - коэффициенты формы зуба шестерни и колеса, определяем по таблице [1, табл. 4.4, с. 67]от эквивалентного числа зубьев шестерни Zυ1 и колеса Zυ2 . Эквивалентное число зубьев определяем по формулам[1, с. 66]:

для шестерни  и колеса ,

гдеи Z2 - число зубьев шестерни и колеса соответственно;

β - угол наклона зубьев;

Yβ = 1- () - коэффициент, учитывающий угол наклона зуба.- окружная сила в зацеплении, Н;- ширина венца колеса, мм, из расчета;

т - модуль зацепления, мм, из расчета;

KFα - коэффициент распределение нагрузки, зависит от степени точности передачи, выбираем по таблице [1, стр. 66];

KFβ - коэффициент неравномерности нагрузки по длине зуба,(KFβ=1 для прирабатывающихся коле)с;

KFυ - коэффициент динамической нагрузки, зависящий от окружной скорости колес и степени точности передачи, выбираем по таблице[1, табл. 4.3стр. 64];

[σ]F1 и [σ]F2 - допускаемые напряжения изгиба шестерни и колеса, Н/мм2 по таблице 1.

Неравенства σF1 ≤ [σ]F1 и σF2 ≤ [σ]F2 , выполняются, изгибная прочность обеспечена.

.15 По итогам расчета заполняем таблицу 4

Таблица 4 - Параметры зубчатой цилиндрической передачи, мм

Проектный расчет

Параметр

Значение

Параметр

Значение

Межосевое расстояние аω

109,5

Угол наклона зубьев β

17

Модуль зацепления т

2,5

Диаметр делительной окружности: шестерни d1 колеса d2

  44 175

Ширина зубчатого венца: Шестерни b1 колеса b2

 33 30



Число зубьев: шестерни Z1 колеса Z2

 17 66

Диаметр окружности вершин шестерни dа1 колеса dа2

  52 185

Вид зубьев

косозубый

Диаметр окружности впадин шестерни df1 колеса df2

  39 165


Рисунок 4.1 - Эскиз шестерни и колеса в зацеплении

Расчет клиноременной передачи

Проектный расчет

.1 Выбираем сечение ремня, в зависимости от передаваемой мощности и частоты вращения по номограммам [1, рис 5.2 и 5.3 с 86]

Ремень: тип А нормального сечения

.2 Определяем минимально допустимый диаметр ведущего шкиваmin ,мм, по таблице [1, таблица 5.4 с 87]min=90 мм

.3 Задаемся расчетным диаметром ведущего шкива, диаметр ведущего шкива выбираем на 1…2 порядка выше, чем d1min по таблице [1, табл К40 с 448]

d min=112 мм

..4 Определяем диаметр ведомого шкива d2, мм, по формуле [1, с 87]

где и - передаточное число открытой передачи;- расчетный диаметр ведущего шкива, мм;

ε - коэффициент скольжения, ε=0,01….0,02.

Полученное значение d2 округляем до стандартного по таблице [1, табл. К40 с 448]=315 мм

.5 Определяем фактическое передаточное число и проверяем его отклонение, от заданного и по формулам [1, с 88]

 , < 3% ,

.6 Определяем ориентировочное межосевое расстояние, а, мм

 мм

где h, мм, высота сечения клинового ремня [1, табл. К31, с 440]и d2 - диаметры ведущего и ведомого шкивов, мм

.7 Определяем расчетную длину ремня, l, мм

мм

Значение l округляем до ближайшего значения, по таблице[1, табл. К31, с 440]

L=1250 мм

.8 Уточняем значение межосевого расстояния по стандартной длине по формуле[1, с 88]

,

Примечание 4 - При монтаже передачи предусматриваем возможность уменьшения межосевого расстояния а на 0,01l для того, чтобы облегчить надевание ремня на шкив; для увеличения натяжения ремней предусматриваем возможность увеличения а на 0,025l.

.9 Определяем угол обхвата ремнем ведущего шкива α1, град, по формуле[1, с 88]

,

Угол α , соответствует требованию α > 1200

.10 Определяем скорость ремня υ, м/с по формуле[1, с 88] и сравниваем с допускаемой

 < [υ],

где d1 - диаметр ведущего шкива, мм;

n1 - частота вращения ведущего шкива об/мин;

[υ]- допускаемая скорость, м/с: [υ]=25 м/с - для клиновых ремней;

[υ]=40 м/с - для узких клиновых и поликлиновых ремней.

.11 Определяем частоту пробегов ремня U, с - 1, по формуле [1, с 88] и сравниваем с допускаемой

≤ [U],

где υ - скорость ремня м/с;- длина ремня, м;

[U]=30 с-1 - допускаемая частота пробегов.

Соблюдение соотношения U< [U] гарантирует срок службы ремня 1000…5000 часов.

5.12 Определяем допускаемую мощность, передаваемую одним клиновым ремнем по формуле [1, с 90]

 кВт

где [Po], кВт, - допускаемая приведенная мощность, по таблице [1, с 89 табл. 5.5]

Ср ,Сα, Сl, Сz, - поправочные коэффициенты выбираем по таблице [1, с 82 табл. 5.2]

.2.13 Определяем количество клиновых ремней в комплекте по формуле[1, с 90]

шт

где Рном - мощность электродвигателя, кВт, по таблице 1.

Условие для проектируемой передачи комплект клиновых ремней Z<5 выполняется.

(При необходимости уменьшить Z следует увеличить d1)

.14 Определяем силу предварительного натяжения одного клинового ремня F0 , Н, по формуле[1, с 91]

где Рном - мощность электродвигателя, кВт;

Сl, Сα, Ср - поправочные коэффициенты выбираем по таблице [1, с 82, табл. 5.2]

υ - скорость ремня, м/с,- число ремней в комплекте.

.15 Определяем окружную силу, передаваемую комплектом клиновых ремней, Ft, Н, по формуле [1, с 91]

Н

.16 Определяем силы натяжения ведущей F1 и ведомой F2 ветвей, Н,

одного клинового ремня по формулам[1, с 91]

,

.17 Определяем силу давления на вал комплекта клиновых ремней по формуле [1, с 91]

,

где α1 - угол охвата малого шкива, град.

Проверочный расчет

5.18 Проверяем прочность ремня по максимальным напряжениям в сечении ведущей ветви σmax, н/мм2 по неравенству [1, с 91]

σmax=σ1+σи+συ2,5+5,2+0,04=7,74 Н/мм2 ≤ [10 Н/мм2]

где σ1-напряжение растяжения, H/мм2, определяем по формуле [1, с 84]

Н/мм2

где А - площадь сечения одного клинового ремня, мм2, по таблице [1, с 440, т К31]

σи - напряжение изгиба, H/мм2, определяем по формуле[1, с 84]

 Н/мм2

Еи=80…100 H/мм2- модуль продольной упругости при изгибе для прорезиненных ремней;- высота ремня, мм, по таблице [1, с 440, т К31];- диаметр ведущего шкива;

συ-напряжение от центробежных сил, H/мм2, по формуле [1, с 84]

 Н/мм2

ρ=1250…1400 кг/м3 - плотность материала ремня;

υ - скорость ремня м/с

[σp] - допускаемое напряжение растяжения, [σ]p =10 H/мм2 - для клиновых ремней.

Примечание 5 - Если получится σmax > [σp], то следует увеличить диаметр d1 ведущего шкива или принять большее сечения ремня и повторить расчет передачи.

.19 Полученные значения параметров открытой передачи сводим в таблицу 5.2

Таблица 5.2 - Параметры клиноременной передачи

Параметр

Значение

Параметр

Значение

Тип ремня

А

Частота пробегов ремня U, 1/с

4,4

Межосевое расстояние а

243

Диаметр ведущего шкива d1

112

Толщина ремня δ

нормальная

Диаметр ведомого шкива d2

315

Ширина ремня b


Максимальное напряжение σтах, Н/мм2

7,74

Длина ремня l

1250

Предварительное натяжение ремня F0, Н

141

Угол охвата ведущего шкива α1, град.

142

Сила давления ремня на вал Fоп, Н

795


.Определение нагрузки валов редуктора

.1 Определяем силы в зацеплении по формулам таблицы [1, с.100, табл.6,1]

Окружная сила, Н

где Т2 - момент на тихоходном валу редуктора, Н·м;- делительный диаметр колеса, мм

Радиальная сила, Н

где α=200 , угол зацепления, tgα= 0,3640;

β - угол наклона зубьев, град, по таблице 3.

Осевая сила, Н

,

. 2 Определяем консольные силы

Радиальная сила

клиноременной передачи, Н

,

где FO - сила предварительного натяжения, Н;- число ремней клиноременной передачи

α1 - угол обхвата малого шкива, град.

Радиальная сила муфты на тихоходном валу, Н

где Т2 - момент на тихоходном валу редуктора Н·м,

или на быстроходном валу

.3 Результаты заносим в таблицу 6

Таблица 6 - Нагрузки валов редуктора

Сила

Значение

Окружная сила в зацеплении, Ft, кН

2,53

Радиальная сила в зацеплении, Fr, кН

0,96

Осевая сила в зацеплении, Fа , кН

1,07

Открытой передачи, Fоп , кН

0,8

Муфты, Fм , кН

1,8


Рисунок 6.1 - Схема сил в зацеплении косозубой цилиндрической передачи

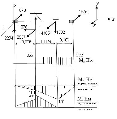
7 Проектный расчет валов. Эскизная компоновка редуктора

.1 Выбор материала валов редуктора

Для валов применяем легированную сталь 40Х (или 45). Проектный расчет выполняем по напряжениям кручения [τ]к = 10…20 Н/мм2

.2 Определяем геометрические размеры ступеней валов редуктора. Редукторный вал представляет собой ступенчатое цилиндрическое тело, количество и размеры ступеней которого зависят от количества и размеров деталей. В проектном расчете ориентировочно определяем геометрические размеры степеней быстроходного и тихоходного валов .Расчеты ведем по таблице 7.1 приложения И. По полученным размерам вычерчиваем тихоходный и быстроходный вал рисунок 7.1.

а)

б)

Рисунок 7.1 - Эскизы валов редуктора

а) быстроходный вал (вал - шестерня)

б) тихоходный вал (l*3 - в коническом редукторе)

7.3 Предварительный выбор подшипников качения

Тип подшипников, серию и схему установки для тихоходного и быстроходного вала определяем в соответствии с таблицей [1, с. 115, т. 7.2]

По таблице [1. табл. К27…К29 с.432…439] выбираем типоразмер подшипника по величине внутреннего кольца d, равного диаметру второй и четвертой ступеней вала под подшипники. .Выписываем основные параметры подшипников:

геометрические размеры - d, D, B(Т, с)

динамическую Сr и статическую С0r грузоподъемности.

Основные параметры подшипников записываем в таблицу 7

.4 Эскизная компоновка редуктора

Разработку чертежа рабочего вида выполняем в соответствии с требованиями ЕСКД на миллиметровой бумаге, в последовательности, приведенной на рисунке 7.2.

.4.1 В конструкции колеса предусматриваем ступицу. Наружный диаметр ступицы dст=(1,55…1,6)d=82; длина ступицы lст=(1,1…1,5)d=45, где d - внутренний диаметр ступицы, равный диаметру 3-й ступени вала d3.

7.4.2 Зазор между внутренней поверхностью стенки и вращающимися поверхностями колеса для предотвращения задевания: х=мм, L L≈

.4.3.Расстояние от оси шестерни до внутренней поверхности корпуса f=D/2+х, где D - диаметр наружного кольца подшипника быстроходного вала.

Расстояние между дном корпуса и поверхностью колеса у>4х.

.4.4 Проводим осевые линии валов и намечаем компоновку, в соответствии с кинематической схемой. Вычерчиваем редукторную пару

.4.5 Проводим линию контура внутренней стенки корпуса на расстоянии х=8…10 мм от вращающихся деталей, такой же зазор предусматриваем между подшипниками и контуром. Расстояние между дном и поверхностью колес у>4х.

.4.6 Вычерчиваем ступени вала по размерам, полученным в проектном расчете.

.4.7 На 2-й и 4-й ступенях валов вычерчиваем контур подшипников, по размерам d, D, В(Т, с), в соответствии со схемой установки.

.5 Определяем замерами расстояния между точками приложения реакций подшипников, мм,Б - быстроходный вал lТ - тихоходный вал

Определяем точки приложения консольных сил.

От открытой передачи Fоп в середине выходного конца вала, lо , мм.

Сила давления муфты Fм находится в торцевой плоскости выходного конца, lм , мм.

.6 Заполняем таблицу 7

Таблица 7 - Параметры ступеней валов и подшипников

Вал

Размеры ступеней, мм

Подшипники


d1

d2

d3

d4

Типоразмер

d х D х В(Т). мм

Динамическая грузоподъёмность Сr , кН

Статическая грузоподъёмность Сr0 , кН


l1

l2

l3

l4





Быстроходный

31

35

44

35

207

35*72*17

25,5

13,7


35

23

55

16,5





Тихоходный

39

45

55

45

209

45*85*19

33,2

18,6


49

58

55

52






Определение реакций в подшипниках. Построение эпюр крутящих и изгибающих моментов

.1 Выписываем исходные данные для расчетов:

.1.1Нагрузки валов, Н, по таблице 6.

Силы в зацеплении: окружная Ft1 =Ft2 =Ft, радиальная Fr1 =Fr2 =Fr и осевая сила Fа1 =Fа2 =Fа.

Сила от ременной передачи: открытой передачи Fоп .

Сила от муфты: Fм

.1.2 Моменты на валах, Нм, по таблице 1.

Быстроходный вал - Т1 , тихоходный вал - Т2.

.1.3 Геометрические размеры.

Расстояние между точками приложения реакций в подшипниках по таблице 7.

Тихоходный вал lТ

Быстроходный вал lБ

Делительные диаметры, м, по таблице 4.

Шестерни (быстроходный вал) d1

Колеса (тихоходный вал) d2

8.2 Вычерчиваем расчетную схему быстроходного и тихоходного валов, рисунок 8. 1, в соответствии с кинематической схемой













8.3 Определяем реакций в подшипниках и строим эпюры:

Быстроходный вал



Тихоходный вал






9 Проверка подшипников на динамическую грузоподъемность и долговечность

.1 Проверяем пригодность подшипника тихоходного вала на примере №209, редуктор работает с умеренными толчками. Частота вращения кольца подшипника п=86об/мин. Осевая сила в зацеплении Rа= Fа=1078Н. Реакции в подшипниках RС=2319Н, RD=4660Н. Грузоподъемность подшипников по таблице [1., т. К27, с.432 ] Сr= 25500Н,С0r=18600 Н. Коэффициенты для определения радиальной нагрузки по таблице [1., т.9.1, с.141]:

Х=0,56 - коэффициент радиальной нагрузки;=1 - коэффициент осевой нагрузки;

Кб=1,3 - коэффициент безопасности

КТ=1 - температурный коэффициент

а1=1 - коэффициент надёжности

а23=0,8 - коэффициент, учитывающий качество подшипников.

Требуемая долговечность, определена ранее Lh=20000 (ресурс работы привода)

.2 Подшипники установлены враспор.

9.2.1 Определяем отношение  .

.2.2 Определяем отношение и по таблице [1., т.9.2, с.143] интерполированием находим е=0,263, Y=1,68.

.2.3 По соотношению >е выбираем формулу и определяем эквивалентную нагрузку наиболее нагруженного подшипника:Е=(XVRr2 +YRа) Kб KТ=(0,56·1·4660+1,8·1078)1,3·1=5599 Н.

.2.4 Определяем динамическую грузоподъемность и сравниваем с базовой:

Сrр=RЕ<Сr

подшипник пригоден

.2.5 Определяем долговечность подшипника и сравниваем с требуемым сроком службы привода L10h=а1а23ч> Lh

Долговечность подшипника достаточна.

.4 Проверяем пригодность подшипника быстроходного вала на примере №207, редуктор работает с умеренными толчками. Частота вращения кольца подшипника п=345об/мин. Осевая сила в зацеплении Rа= Fа=1078Н. Реакции в подшипниках RС=919Н, RD=1825Н. Грузоподъемность подшипников по таблице [1., т. К27, с.432 ] Сr= 25200 Н,С0r=13700 Н. Коэффициенты для определения радиальной нагрузки по таблице [1., т.9.1, с.141]:

Х=0,56 - коэффициент радиальной нагрузки;=1 - коэффициент осевой нагрузки;

Кб=1,3 - коэффициент безопасности

КТ=1 - температурный коэффициент

а1=1 - коэффициент надёжности

а23=0,8 - коэффициент, учитывающий качество подшипников.

Требуемая долговечность, определена ранее Lh=20000 (ресурс работы привода)

.3 Подшипники установлены враспор.

.3.1 Определяем отношение  .

.3.2 Определяем отношение и по таблице [1., т.9.2, с.143] интерполированием находим е=0,28, Y=1,55.

.3.3 По соотношению >е выбираем формулу и определяем эквивалентную нагрузку наиболее нагруженного подшипника:Е=(XVRr2 +YRа) Kб KТ=(0,56·1·1825+1,55·1078)1,3·1=2882 Н.

.2.4 Определяем динамическую грузоподъемность и сравниваем с базовой:

Сrр=RЕ<Сr

подшипник пригоден

.3.5 Определяем долговечность подшипника и сравниваем с требуемым сроком службы привода L10h=а1а23ч> Lh

Долговечность подшипника достаточна.

Список использованных источников

1 Шейнблит А.Е. Курсовое проектирование деталей машин. М., ВШ., 2004.

Шейнблит А.Е. Курсовое проектирование деталей машин. М., ВШ., 1991.

Эрдеди А.А., Эрдеди Н.А. Детали машин. М., ВШ., 2002.

Дунаев П.Ф., Леликов О.П. Детали машин. Курсовое проектирование.- М., ВШ.,1985.

Ицкович Г.М. Сборник задач и примеров расчетов по курсу Деталей машин

М., Машиностроение, 1974.

Иосилевич Г.Б. Детали машин. М., Машиностроение. 1988.

Куклин Н.Г., Куклина Г.С. Детали машин. М., Машиностроение, 1987.

Ряховский О.А., Клыпин А.В., Детали машин. М.,ООО «Дрофа», 2002.

Романов М.Я., Константинов В.А., Покровский Н.А., Сборник задач по деталям машин. М., Машиностроение. 1984.

Стандарт СМК СТП 1.4-01-2005, ГОУ ВПО БрГУ, Братск 2005.

Похожие работы на - Проект привода ленточного конвейера

 

Не нашли материал для своей работы?
Поможем написать уникальную работу
Без плагиата!
Без нейросетей!