|
Наибольший диаметр изделия,
мм
|
35
|
64
|
92
|
120
|
|
Усилие штамповки, МН
|
0,6
|
2,3
|
8
|
12
|
|
Масса заготовки, г
|
20-150
|
50-700
|
170-1700
|
400-3000
|
|
Диаметр проката, мм
|
14-25
|
19-40
|
28-50
|
36-60
|
|
Длина отрезаемой заготовки,
мм
|
15-45
|
22-72
|
32-110
|
45-135
|
|
Число позиций штамповки
|
3
|
3
|
4
|
4
|
|
Производительность, шт/мин
|
120-180
|
70-120
|
55-90
|
35-70
|
Автоматы с вертикальным расположением матриц имеют серьезные недостатки
по сравнению с автоматами с их горизонтальным расположением: неравномерность
охлаждения инструмента, поломка инструмента и клещей при выпадении из верхних
позиций, затрудненность смены штампов на тяжелых автоматах.
ГША для штамповки деталей стержневого типа, например, болтов
распространены гораздо меньше. Причина не только в трудоемкости удаления
стержневых деталей из цельной матрицы, но и в особенностях нагрева. Сплошной нагрев
не дает возможности последующей качественной накатки резьбы из-за окалины.
Кроме того, резка горячей заготовки приводит к искажению отрезаемого торца.
Более перспективны ГША, в которых штучная заготовка отрезается в холодную, а
затем высаживаемая часть прутка нагревается в щелевом индукторе, встроенном в
автомат. Такая технология наиболее успешно реализована в ГША с движением
заготовки по дуге окружности (с револьверным расположением позиций).
.2 Применяемые модели для исследований перегрузок кривошипных прессов и
их результаты при исследовании КГШП
При эксплуатации кривошипных прессов наблюдается явления, причины которых
следует искать в проявлении динамических свойств элементов и машин в целом
(раскачивание прессов и разрушение фундаментов, недопустимый шум и
виброактивность, интенсивный износ зубчатых передач, быстрый выход из строя
шлицевых и шпоночных соединений, разрушение болтов муфты и тормоза и т.д.). Для
расчета динамических нагрузок на детали пресса, а так же нагрузок на фундамент
разрабатываются динамические модели пресса. Они могут быть совершенно разной
сложности, в зависимости от того, какие факторы хотели учесть разработчики, и
какие допущения сделаны ими при создании модели.
В статье рассмотрен специализированный КГШП для штамповки низких поковок.
Его основные особенности: одноступенчатый привод, уменьшенный радиус кривошипа,
повышенное число ходов, уменьшенная мощность электродвигателя.
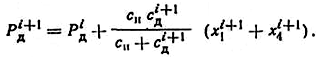
Для анализа динамики специализированного КГШП 25 МН задавалась
четырехмассовая крутильная динамическая система (рис. 15). В качестве первой
массы J1 принят приведенный момент инерции кривошипно-шатунного механизма;
второй массы J2 - момент инерции эксцентрикового вала и тормоза; третьей массы
J3 - момент инерции ведомых дисков и шлицевой ступицы; четвертой массы J4 -
ведущие диски, корпус муфты и маховый венец. Массы соединены жесткостями.
Первая жесткость с12 - приведенная крутильная жесткость кривошипно-шатунного
механизма и станины; вторая жесткость с23 - жесткость эксцентрикового вала;
третья жесткость с34 - жесткость муфты. Моменты инерции J1, J2, J3, J4 и
жесткости с12, с34 рассчитывались по общеизвестным методикам. Жесткость муфты
определялась на основании экспериментальных данных по величине жесткости, отнесенной
к одному квадратному сантиметру площади поверхности трения и равной 0,7
Н.м/рад. м2.
Система дифференциальных уравнений, характеризующих движение
четырехмассовой системы, имеет вид
φ1, φ2, φ3, φ4 - угловое перемещение масс J1, J2, J3, J4
соответственно; M(t)= 0,5 Mmax(1-cos υt); Mmax - максимальный расчетный крутящий момент на эксцентриковом валу
от технологического сопротивления; υ - круговая частота возмущающей функции; t - время.
Рис.16.
Изменение возмущающей функции в зависимости от радиуса кривошипа R при одном и
том же графики силы деформации низкой поковки: 1 - R=0,175 м (КГШП 25МН К866С);
2 - R=0,125 м (специализированный КГШП 25 МН)
Наибольший
коэффициент динамичности kд, представляющий собой отношение максимального
динамического момента Мд max к Mmax, наблюдается на последнем звене - муфте. Для
универсального КГШП 25МН коэффициент динамичности на муфте при штамповке низких
поковок (частота возмущений больше 80 1/сек) равен 1,75 - 2, на станине - 1,15
- 1,5 (оценка согласно данным по приведенной жесткости).
Отмечается,
что благодаря уменьшению радиуса кривошипа и применению одноступенчатого
привода удается существенно снизить динамичность на основных звеньях пресса
(рис. 16). Так же, штамповка низких поковок на специализированном КГШП силой 25
МН не вызывает тех отрицательных эффектов, которыми сопровождается штамповка
низких поковок на универсальном КГШП силой 25 МН (преждевременный износ
зубчатой передачи, шлицевые соединения муфты, посадочных мест подшипников
качения и самих подшипников и т.д.).
Рис.
17. Схема динамических нагрузок в момент сцепления муфты
Отмечается
так же, что жесткий удар по штампам в ручье поковки (повторный удар для
высвобождения поковки при плохой работе выталкивателей) вызывает значительную
динамическую перегрузку на станине универсального КГШП силой 25 МН (kд =
1,5). Жесткий удар на специализированном КГШП силой 25 МН вызывает не менее
значительную перегрузку на станине (kд =1,36). Поэтому жесткие удары
в КГШП, особенно по подстывшему металлу, совершенно не допустимы, так как могут
явиться причиной преждевременного выхода машины из строя.
В
статье приводятся результаты исследований ЭНИКМАШа. В ней говорится о том, что
поскольку каждый цикл работы пресса сопровождается повторяющейся совокупностью
переходных процессов, то возникновение и способ проявления отдельных
динамических нагрузок при рассмотрении процесса в целом удобно связывать с
определенными этапами цикла: включение муфты, торможением эксцентрикового вала,
выполнением технологической операции, холостым ходом, состоянием,
сопровождающим разделительные операции после исчезновения сопротивления
заготовки.
Возникновение
динамических сил при включении фрикционной муфты и торможении эксцентрикового
вала рассмотрим на примере горячештамповочного пресса (рис. 17). В первом
приближении процесс включения муфты можно рассматривать как удар, при котором
происходит мгновенное изменение угловых скоростей ведущего и ведомого валов.
Удар с величиной импульсов S’=S’’=S осуществляется по линии контакта ведущей шестерни и
колеса.
Более строгая механическая модель движения элементов
машины должна быть составлена с учетом податливости деталей. Особенно это
относится к валопроводу, зубчатым передачам и фрикционным узлам. По-видимому,
достаточное для практического использования представление о проявлении
динамических нагрузок можно получить с учетом жесткости элементов на основе
уравнений их движения. Однако такое описание требует знания момента трения в
муфте сцепления как функции времени. Выдвигались некоторые рабочие гипотезы о
виде этой функции, однако количество экспериментальной информации по данному
вопросу недостаточно.
Аналогично можно рассмотреть динамические нагрузки,
возникающие при торможении разогнанных деталей.
При выполнении технологической операции механическое
представление о причинах возникновения динамических нагрузок и оценку их
величин в зависимости от параметров машины следует получать на основании
выбранной динамической модели.
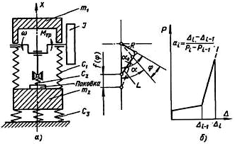
Рис. 18. Динамическая модель силовой системы (а),
график технологической операции (б)
Обычно рассматривают механическую систему пресса,
нагруженную заданными во времени силами Р(t), придавая им смысл сопротивления
заготовки деформации. Такой метод требует обоснования в каждом случае. Дело в
том, что действительный вид функции Р(t) заранее не может быть известен,
поскольку он зависит от исследуемого динамического поведения системы. Эти
затруднения могут быть устранены при использовании модели, представленной на
рис. 18,а. На рис. 18,б приведен график зависимости сопротивления заготовки от
величины ее пластической деформации (но не от времени). Этот график обычно
аппроксимируют кусочно-линейной функцией. В рассматриваемую динамическую модель
включен маховик, поскольку возбуждение системы определяется резким изменением
именно его кинетического момента.
Составляя для описания динамической модели уравнения
Лагранжа в форме
где Ai - неконсервативные силы, получаем систему
уравнений
где f(φ) - зависимость перемещения ползуна от
угла поворота кривошипа (φ=αo - α).
Система уравнений (1) описывает движение элементов
механической системы внутри любого линейного участка графика на рис. 18,б.
Теперь усилие на ползуне вычисляется по формуле
и зависит от решения системы (1), т.е. от
Таким образом, в рассматриваемой схеме изменение
усилия на ползуне во времени является результатом решения задачи, а не вносится
извне на основании приближенных соображений.
Рассмотренная динамическая модель может быть
распространена на исследование привода, если учесть соответствующие степени
свободы, обусловленные деформациями валов, шатуна, муфты и пр.
Силы трения в механической системе обычно приводят к
моменту сопротивления движению эксцентрикового вала. Этот момент трения
рассчитывают по методике М. В. Сторожева при значении коэффициента трения
f=0,06. Но, согласно некоторым исследованиям, этот коэффициент может быть и
меньше - до 0,05. Остается невыясненным, является ли коэффициент трения
величиной постоянной в процессе цикла, хотя и начаты исследования этого
вопроса.
При использовании предложенной динамической модели
качественное влияние сил инерции устанавливается независимо от введенной в
расчет величины коэффициента трения.
Динамическая модель, приведенная на рис. 18, в
модифицированном виде была использована для изучения механики заклинивания
горячештамповочного пресса. Выяснено, что для определения усилия заклинивания
(максимального усилия на ползуне) массами т1 и т2 можно пренебречь.
Одним из результатов анализа механической системы
является получение значения давления пресса на основание, если последнее
включено в динамическую модель. Например, согласно обозначениям рис. 18,а, это
давление равно с3х2.
Проведенные экспериментальные измерения напряжений в
некоторых деталях позволяют сделать вывод о существенных динамических нагрузках
в элементах привода КГШП, значительно превышающих их статические расчетные
значения. Например, расшифровка осциллограмм крутящего момента на промежуточном
валу пресса мод. К8544 и момента на эксцентриковом валу в месте заделки ступицы
муфты пресса мод. КБ8544 [14] показывает, что максимальные значения моментов в
первом случае в 2 раза, а во втором в 1,5 раза больше их значений, подсчитанных
по известной формуле М.В. Сторожева [26].
Рис. 19. Динамическая расчетная модель КГШП
Предлагаемая динамическая модель КГШП (рис. 19) и
разработанный алгоритм с учетом допущений и приближений позволяют более реально
представить причины возникновения при выполнении технологической операции
динамических нагрузок в элементах привода как обычного двухступенчатого, так и
одноступенчатого без промежуточного вала. Приведение масс и жесткостей
осуществляется общепринятыми методами. На рис.19 обозначено J1 - J5 и m1 - m5 -
моменты инерции и массы соответственно маховика, шестерни, зубчатого колеса
(или маховика для пресса с одноступенчатым приводом), эксцентрика, диска
тормоза, ползуна, эксцентрикового вала (вместе с зубчатым колесом для пресса с
двухступенчатым приводом), верхней части станины с приводом и стола; сш, св,
сст и со - жесткость шатуна, изгибная жесткость эксцентрикового вала в опорах
станины, жесткость станины пресса и жесткость опоры основания.
График нагружения ползуна силой сопротивления поковки
деформированию выражен в функции абсолютного перемещения ползуна с учетом
упругой деформации элементов пресса. Для «жесткого» удара сила деформирования
определяется как произведение переменной жесткости инструмента си на абсолютную
его деформацию еи=x1+x4. Для условий нагружения гидравлическим нагружателем
Рд=си (х1+х4). Для нагружения при штамповке детали
Здесь х1 - абсолютное перемещение ползуна; х4 -
перемещение стола; сн - жесткость нагружателя; сдi+1 - текущее значение переменной жесткости штампуемой детали,
индексы i и i+1 обозначают предыдущее и последующее значение переменных
величин. Последнее выражение Рдi+1
позволяет вводить в расчет нагрузочный график любой формы, однако для этого
необходимо знать или задаваться законом изменения жесткости деформирования
детали.
Зазоры в данном исследовании в любое упругое звено
вводятся с помощью кусочно-линейной характеристики жесткости (рис. 20).
Рис. 20. Характеристики жесткости сочленения с зазором
(узел подшипника с зазором)
Динамическая модель включает в себя два колебательных
контура - поступательный и крутильный, взаимодействие которых осуществляется
через кривошипно-шатунный механизм.
Специальный эксперимент, позволяющий определить нагрузки в тех же
элементах привода для КГШП мод. КБ8544, показал, что выполнение тех же
технологических операций на пониженных скоростях (при пониженном числе ходов
пресса) приводит к снижению динамических нагрузок до значений, близких
статическим (рис. 21,а).
При этом расчетные результаты близки результатам, полученным
экспериментальным путем. На рис. 21, б даны подобные расчетные результаты для
КГШП мод. К8544.
На примере пресса К8544 с двухступенчатым приводом проведен анализ
величин, влияющих на динамику нагружения элементов пресса.
В условиях эксплуатации давление воздуха в уравновешивателях иногда по
тем или иным причинам ниже требуемой величины, что приводит к выборке зазоров в
соединении шатуна с ползуном и эксцентриком ударным путем в момент начала выполнения
технологической операции.
Увеличивающиеся в результате износа зазоры в элементах
шатунно-кривошипной группы приводят к увеличению динамических нагрузок на
шатун, станину, эксцентриковый вал; при этом прослеживается тенденция к
снижению динамических нагрузок на валах привода (рис. 22).
Для анализа динамики при работе кривошипных прессов, в частности КГШП и
ножниц, в [32] предлагается принять модель, приведенную на рис. 23.
Рис. 22. Графики влияния величины зазора на величину коэффициента
динамичности КГШП мод. К8544:а - суммарного зазора по шатуну(Δш); б - зазора в коренных опорах
эксцентрикового вала (Δв); в - зазора в месте посадки ступицы маховика (Δ12); г - зазора в месте посадки ступицы
муфты (Δ34); д - зазора в зубчатом зацеплении (Δ23)
Особенностями модели являются:
закрытая станина в виде двухмассового колебательного контура;
открытый крутильный колебательный контур привода и поступательный контур,
который замыкается усилием поастического сопротивления Fи, причем это замыкание
осуществляется через функцию перемещения ползуна s=f(φ4);
- упругое опирание зубчатых колес при учете трех степеней свободы для
каждого из них (рис. 24);
учет изгибных и крутильных колебаний кривошипного вала. Жесткость Сt67
является приведенный жесткостью зубчатого привода между валом маховика и
последней зубчатой парой, а J7 - соответственно приведенный момент маховика с
приводом. Как показали исследования, такое приведение вполне допустимо,
поскольку не искажает величины нагрузок, действующих на последнюю зубчатую пару
и кривошипно-ползунный механизм.
В данной статье автор проводил исследования только для сортовых ножниц,
для которых, на основании данной модели были подобраны упругие опоры и угол
размещения малого колеса для уменьшения динамических нагрузок на детали пресса.
Из проведенного обзора можно сделать выводы о том, что развитие
электронно-вычислительной техники позволило создавать все более сложные математические
модели перегрузки и распора кривошипных прессов для учета тех или иных
факторов, влияющих на динамику прессов. По видимому, по этой причине величины
расчетных перегрузок для разных моделей различаются от 1,5 до 2,5 раза. Кроме
того, в публикациях, авторы приводят структуру и математическое описание
предлагаемых моделей, но результаты вычислений для КГШП показаны очень скудно.
Наиболее полно представлены результаты расчетов только лишь в [14]. Все это
послужило предпосылкой для создания собственной модели перегрузки и распора
кривошипных прессов.
Экспериментальные данные по замерам перегрузок на КГШП просто
отсутствуют. Это связанно с тем, что при проведении таких экспериментов на
реальной машине может привести к поломке ее деталей. Все испытания в основном
проводят, нагружая ползун пресса гидравлическим домкратом, но такие испытания
являются статическими.
.4 Предохранители применяемые в кривошипных прессах
Предохранительные устройства, или, как их просто
называют - предохранители, можно разделить на две большие группы [15]:
. Самовосстанавливающиеся, не требующие вмешательства
рабочего после срабатывания предохранителя.
Рис. 25. Классификация средств защиты машин от
перегрузки предохранителей
. Несамовосстанавливающиеся.
Последние можно разделить на две подгруппы:
разрушающиеся и требующие для возобновления работы
замены сломавшегося предохранителя;
неразрушающиеся.
На рис. 25 приведена классификация средств защиты от
перегрузок, в число которых входят предохранители и приспособления,
предупреждающие перегрузку. Все предохранители должны иметь электроблокировку,
которая давала бы команду на отключение муфты включения и остановку ползуна
пресса. Пример чисто электрического предохранителя [1] представлен на рис. 26.
Задав любую желаемую кривую изменения усилий по ползуну (предельную), мы
автоматически получим отключение муфты и остановку ползуна при превышении
усилия в любой точке ползуна в виде величины ординаты заданной предельной
кривой. В настоящее время эти предохранители почти не применяются, так как их
конструкция достаточно сложна и, что самое главное, слишком велико время их
срабатывания, т. е. время от фиксации перегрузки до отключения муфты. Поэтому
они не всегда могут надежно предохранить машину. В настоящее время проводится
работа по усовершенствованию этого типа предохранителей.
Рис. 26. Схема электрического предохранителя:
- элемент, воспринимающий нагрузку на ползун и преобразующий ее в
изменение электрического тока; 2 - потенциометр, вносящий поправку на
неравномерность силовой характеристики пресса; 3 - усилитель; 4 - реле; 5, 6 -
электромагнитные пускатели в цепи управления муфты сцепления и главного
электродвигателя
В последнее время для обнаружения сдвоенных заготовок
подвижные части штампа изолируют и соединяют с низковольтной цепью постоянного
тока, а неподвижную часть штампа, установленную на столе пресса, заземляют. При
попадании в штамп нескольких заготовок цепь замыкается, и специальное реле
мгновенно отключает пресс. Во время нормальной работы упор, устанавливаемый на
ползуне, не дает цепи замкнуться.
Из приведенных на рис. 25 двух групп предохранителей
наиболее удобной с точки зрения эксплуатации является группа
самовосстанавливающихся предохранителей. Первый тип из этой группы
предохранителей - предохранители электрические мы выше охарактеризовали. Далее
идут предохранители пневматические, гидропневматические и гидравлические.
Применяются подобные предохранители лишь на прессах с номинальным усилием свыше
1 МН ввиду сравнительно большой сложности этих устройств [28].
На рис. 27 показана схема гидропневматического
предохранителя. Для возобновления работы пресса не требуется замены каких-либо
деталей предохранителя или дополнительной регулировки их. В этом отношении этот
предохранитель имеет большие преимущества перед гидропневматическим
предохранителем с ломким диском (рис. 28), который относится по классификации
(рис. 25) к группе разрушающихся предохранителей.
Поэтому применение этого типа предохранителя не рекомендуется.
Необходимо отметить из этой же группы самовосстанавливающихся предохранителей
конструкцию гидравлических предохранителей, применяемых для вытяжных прессов
(рис. 29). В качестве устройств, компенсирующих перегрузку, могут применяться
также гидравлические столы.
Рис. 29. Гидропредохранитель Бузинова
- манометр; 2 - кольцевой канал; 3 - щелевые
отверстия; 4 - канавки в цилиндре; 5, 6 - полость над поршнем; 7, 8 - шатун; 9
- редукционный клапан; 10 - кулачок; 11 - манометр; 12 - резервуар; 13 -
отверстие; 14 - конечный выключатель; 15 - кулачок; 16 - предохранительный
клапан; 17 - клапан
На рис. 30 представлена конструкция фрикционного
предохранителя, применяемая в маховиках горячештамповочных прессов, горизонтально-ковочных
машин и кузнечно-прессовых (высадочных) автоматов. Выбор предохранителей
производится на основании следующих подсчетов. Расчетный крутящий момент
предохранительной муфты
где β=1,2 - коэффициент запаса; К0 -
коэффициент, зависящий от конструкции предохранителя; для фрикционных дисковых
муфт сухих К0 = 0,7;
для фрикционных дисковых муфт в масле К0 = 0,8;
где z - число поверхностей трения. Значения
коэффициента трения f и допускаемого удельного давления приведены в табл. 4.
Усилие нажатия на диски
Влиянием моментов инерции при подсчете Мрасч обычно
для листоштамповочных кривошипных прессов пренебрегают [28].
Для горячештамповочных прессов и
горизонтально-ковочных машин необходим учет момента инерции вращающихся частей.
Расчетный момент предохранителя определяется по формуле, полученной в
результате анализа и упрощения формулы, приведенной в работе [31] (второй член
в ней всегда <1 %):
Таблица 4.
где Iм - момент инерции маховика; I2 - момент инерции
деталей муфты и эксцентрикового вала; Iпр - момент инерции приемного вала; i2 -
передаточное отношение зубчатой передачи; Мкр - крутящий момент на коленчатом
валу; β - коэффициент запаса сцепления. Для
исключения влияния инерции вращающихся масс желательно приближение
предохранителя к источнику перегрузки, т.е. к ползуну. С этой точки зрения
лучше выполнен фрикционный предохранитель, применявшийся в старых конструкциях
горизонтально-ковочных машин (рис. 31). В них предохранитель связывался с
зубчатой шестерней, свободно сидящей на приводном валу. В этом случае цепь
деталей от источника перегрузки (ползуна) до предохранителя значительно
уменьшается, что положительно сказывается на работе предохранителя.
Определение расчетного крутящего момента
предохранителя производится в этом случае по формуле
Обычно отношение
составляет менее 2% от величины
знаменателя формулы (6).
Поскольку правильность затяжки предохранительного
устройства имеет первостепенное значение, для этой цели применяются специальные
приспособления (рис. 32). Это устройство служит для затяжки шпилек
предохранителя с тарельчатыми пружинами. Некоторые авторы [3], [11] рекомендуют
применение в качестве предохранителей фрикционных муфт включения. Однако ряд
моментов показывает, что рационально использование как предохранителей лишь
однодисковых муфт в машинах (например, в ножницах) и муфт прессов, работающих
на автоматическом цикле. В остальных случаях не рекомендуется использовать
муфты включения как фрикционные предохранители по следующим причинам. С ростом
числа поверхностей трения и их размеров значительно ухудшается точность
срабатывания предохранителя, что вызывается различным состоянием трущихся
поверхностей. Применение в качестве предохранителей муфт включения на машинах,
работающих одиночными ходами, не может быть рекомендовано в связи с тем, что
возможные частые незначительные перегрузки вызовут проскальзывание дисков,
которое не будет замечено обслуживающим машину персоналом. А частое
проскальзывание вызовет разогрев дисков и их повышенный износ, что приведет к
быстрому выходу из строя обкладок муфты и необходимости их частой замены.
Некоторые авторы предполагают, что, меняя по желанию давление в воздушной
полости муфты, можно получать любое необходимое предельное усилие на ползуне. В
этом случае нормальная работа пресса во многом будет зависеть от стабильности
давления подаваемой в муфту воздуха.
Рис. 30. Фрикционный дисковый предохранитель
горячештамповочного пресса
Рис. 31. Фрикционный предохранитель
горизонтально-ковочной машины
Внедрение однодисковых муфт с ретинаксом, материалом
более износостойким, создает условия для применения муфт как предохранителей.
При этом рабочее давление воздуха в муфте определяется опытным путем
(срабатывание на самой тяжелой операции). После этого давление воздуха
увеличивается на 0,5 кГ/см2. Другой способ использования муфт как
предохранителей - прекращение подачи воздуха в муфту на половине хода ползуна и
дальнейшее понижение давления до необходимого путем применения выхлопных
клапанов, действующих от кулака. Сделана попытка углубленно рассмотреть работу
предохранителей с учетом динамики их срабатывания [10]. Однако в этой работе не
проводились опыты при удельных давлениях порядка 20 кГ/см2, при которых
работают фрикционные предохранители в современых горяче-штамповочных прессах.
Рис. 32. Схема приспособления для затяжки фрикционного
предохранителя:
- гайка; 2 - нажимное кольцо; 3 - натяжная гайка
Следующая большая группа самовосстанавливающихся
предохранителей- это предохранители пружинные. Необходима отметить, что они не
получили распространения в кривошипных прессах и ими незаслуженно пренебрегают.
На рис. 33 приведены примеры таких предохранителей, конструкции которых ясны из
рисунков и не требуют описаний.
Более сложный предохранитель предложен чешскими
конструкторами для ползуна кривошипного горячештамповочного пресса усилием 700
тс (рис. 34), однако практика применения предохранителя говорит о необходимости
конструктивной era переработки.
Выбору предохранителей с пружинами тарельчатого типа
без рычагов посвящена работа [30], где рекомендуется постановка предохранителей
по рис. 35, а, б в пакет штампов или по рис. 35, в в шатун пресса. Следует
отметить, что сомнительна содержащаяся в статье [30] рекомендация об
использовании подобных предохранителей не в конце хода ползуна, а в любой точке
его хода'со снабжением предохранителя микровыключате-лем для быстрого
выключения муфты и остановки ползуна пресса. В действительности муфта не успеет
выключиться и может произойти поломка пресса.
Рис. 33. Пружинные предохранители
Рис. 34. Предохранитель ползуна кривошипного
горячештамповочного пресса усилием 700 тс: 1 - эксцентриковый вал; 2 - ось; 3 -
ползун; 4 - втулка; 5 - рычаг; 6 - винт; 7 - ползушка; 8 - упорное кольцо; 9 -
шайба; 10 - пластина; 11 - гайка; 12 - шаровая гайка; 13 - тарельчатые пружины
Широко применяются пружинно-рычажные предохранители в
современных горизонтально-ковочных машинах. На рис. 36, а) представлена
конструкция предохранителя, применяемая в горизонтально-ковочных машинах с
вертикальным разъемом матриц, а на рис. 36, б) - конструкция предохранителя
горизонтально-ковочной машины с горизонтальным разъемом матриц.

а и б - монтируемые в пакет штампа; в - монтируемые в
шатун
Рис. 36. Пружинные предохранители в
горизонтально-ковочных машина:
а - с вертикальным разъемом матриц; б - с
горизонтальным разъемом матриц
Предохранители рассчитываются исходя из усилия
зажимного ползуна Рзаж = 0,35 Рвыс.
К группе самовосстанавливающихся предохранителей
относятся кулачковые муфты (рис. 37), применяемые в приводах (в кулачковых
валах) холодновысадочных автоматов.
Расчетный крутящий момент кулачкового предохранителя:
Мпр=1,2Мк.
Окружное усилие на кулачке:
Усилие пружин для обеспечения момента Мпр (рис. 37)
где α - угол наклона рабочей поверхности
кулачка в град:
α = 45°; φк - угол трения между кулачками в
град; φк = 8 - 9°; D - расчетный диаметр
кулачков;
Рис. 37. Кулачковая предохранительная муфта:к -
приведенный коэффициент трения в подвижной ступице
Удельное давление на рабочих поверхностях кулачка
где h - высота кулачка; b - ширина кулачка.
Перейдем к рассмотрению второй обширной группы -
разрушающихся предохранителей.
Подгруппу «Гидропневматические предохранители с ломким
диском», поскольку они не рекомендуются для применения, не рассматриваем. Их
расчет достаточно полно изложен в работах. Для всех остальных подгрупп этих
предохранителей (срезного штифта, продавливаемой чашки, ломающейся планки и
разрывной шпильки) характерно то общее, что они ломаются по достижении
действующего на них усилия определенной величины и требуют для возобновления
работы машины своей замены. Общим для них (срезных штифтов, стальных срезных
пластин и разрывающихся шпилек) также является то, что с течением времени их
предел выносливости понижается. В связи с этим, для того чтобы они не
разрушались при долговременной работе с номинальным усилием, необходимо вести
их расчет не менее чем на 1,3 Рн. Раньше существовало мнение, что для срезных
штифтов можно применять только каленую сталь, у которой σт близко к σв. С другой стороны, часто
встречались в конструкциях и срезные предохранители из сталей 10 и 15. Первым
требованием является применение для этих предохранителей сталей с малой
циклической вязкостью. С этой точки зрения постановка предохранителей из сталей
10 и 15 является недопустимой, так как эти стали обладают большой циклической
вязкостью. Срезные штифты выполняются с канавкой (под 60°), наличие которой
позволяет без помех извлекать разрушившийся предохранитель и в качестве
предохранителей применять и некаленые стали (например, сталь 45 без
термообработки). Применение этой стали для предохранителей вместо каленой стали
40Х может быть подкреплено также следующими соображениями. Применение каленой
стали 40Х - стали с повышенными механическими качествами потребует постановки
предохранителя меньшего диаметра, а из ряда опытов известно, что с уменьшением
диаметра (в пределах диаметров 3-12 мм) предохранителя увеличивается диапазон
его срабатывания. Кроме того (и это главное), применение некаленых
предохранителей из стали 45 проще в условиях наших цехов, эксплуатирующих
кузнечно-прессовое оборудование. Здесь необходимо отметить, что культура
эксплуатации оборудования даже на крупных заводах находится на недостаточном
уровне. Внедрение надлежащей культуры эксплуатации уменьшит простои оборудования
из-за поломок его деталей, увеличит отдачу оборудования и технико-экономические
показатели работы цехов. На рис. 38-41 приведены эскизы разрушающихся
предохранителей, в подрисуночных подписях указаны рекомендуемые материалы и
эмпирические соотношения для выбора их размеров. Диаметр рабочего сечения
стержня в выточке для односрезных штифтов (рис. 38) определяется по формулам:
для стали
чугуна
где Т - сила, срезающая штифт, в кГ;
σв-временное сопротивление материала
штифта в кГ/см2.
Рис. 38. Срезной предохранитель
,
Рис. 39. Чашечный предохранитель:
Р - усилие пресса в кГ; D - диаметр окружности в мм; S
- толщина пластины в мм.
При заданном крутящем моменте на валу Мк в кГсм сила Т
определяется по формуле (для предохранителя в маховике)
Рис. 40. Ломающийся пластинчатый предохранитель:
рекомендуемый материал-чугун СЧ 21-40; σв = 40 кГ/мм2
Рис. 41. Разрывающийся предохранитель:=1,5d; R=0,6d;
материал предохранителей - сталь 45, сталь 40Х каленая
где R - радиус детали, на которой установлен
предохранитель;
η1 - коэффициент, учитывающий трение в
подшипниках вала;
η2 - коэффициент, учитывающий трение во
втулке маховика;
обычно η1 = η1 = 0,98.
Толщина пластины чашечного предохранителя (рис. 39)
определяется по формулам [4], [28]: для стали
для чугуна
здесь Dср - расчетный диаметр в мм, Dcp = 0,5 (D + d),
D = d + 0,25S.
Таблица 5. Рекомендуемые материалы предохранителей и
механические свойства материалов
Расчетная толщина ломающейся пластинки (рис. 40)
определяется по формуле
где b - ширина пластины в мм;
Рис. 42. Разрывающийся предохранитель «куркового» типа
горизонтально-ковочной машины
σви - предел прочности
предохранительной пластины на изгиб в кГ/см2; Т - сила, действующая на
предохранитель, в кГ. Диаметр разрывного предохранителя, (рис. 47) определяется
по формуле
где σв - предел прочности материала
предохранителя в кГ/мм2; Т - усилие, на которое рассчитывается предохранитель,
в кГ. В табл. 5 приведены механические свойства материалов, применяемых для
предохранителей.
Перечисленные выше четыре типа предохранителей
применяются в следующих механизмах.
Срезные штифты применяются в маховиках и зубчатых
колесах, в механизмах подач кривошипных прессов, в механизмах отрезки,
выталкивания, подачи и зажима заготовки холодновысадочных автоматов.
Продавливаемые чашки или срезные пластины применяются
в ползунах одностоечных и однокривошипных наклоняемых прессов и в нажимных
винтах ковочных вальцов. Применение продавливаемых чашек и срезных пластин в
двухкривошипных и четырехкривошипных прессах не рекомендуется, так как в случае
среза одной чашки (пластины) и продолжения эксплуатации пресса без ее замены
ползун перекашивается и может повредить направляющие.
Рис. 43. Разрывающийся предохранитель механизма
отрезки холодновысадочного многопозиционного автомата
Ломающаяся планка применяется в основном в механизмах
выталкивания и механизмах отрезки холодновысадочных автоматов. Разрывные
шпильки раньше широко применялись в составных шатунах горизонтально-ковочных
машин (рис. 42). В настоящее время от их применения в шатунах ГКМ отказались.
Разрывные шпильки применяются в некоторых конструкциях узлов отрезки (рис. 43)
и выталкивания (рис. 44) многопозиционных холодновысадочных автоматов, но
конструктивное оформление этих шпилек иное, что улучшает стабильность их
срабатывания. В любом случае применения разрушающихся предохранителей должна
быть электроблокировка, выключающая муфту и останавливающая ползун после
поломок предохранителя. Ползун может быть приведен в движение лишь после замены
предохранителя.
А. X. Грикке [6], а за ним ряд других авторов [9]
рассматривают совмещенные графики усилий по ползуну, допускаемых прочностью
деталей пресса, и график крутящих моментов, допускаемых прочностью деталей
пресса (рис. 45) в зависимости от угла поворота кривошипа, и приходят к выводу,
что выгоднее применение предохранителя по усилию, если на участке предохранения
кривая усилий допускаемых прочностью деталей пресса проходит более полого, чем
кривая допускаемых моментов.
Рис. 44. Разрывающийся предохранитель механизма
выталкивания холодновысадочного многопозиционного автомата
И наоборот, если на данном участке более полого
происходит изменение кривой допускаемых моментов, чем изменение кривой усилий
по ползуну, допускаемых прочностью деталей пресса, то выгоднее применение
предохранителей по крутящему моменту (фрикционных или срезных, устанавливаемых
на маховиках или зубчатых колесах). Приведенная выше концепция справедлива в
общем случае, но авторы применяют ее к определенным усилиям срабатывания
предохранителей и здесь впадают в ошибку. При рассмотрении предохранителей,
защищающих пресс по усилию, авторы базируются на кривой усилий по ползуну,
допускаемых прочностью пресса, построенной исходя из расчета деталей на выносливость
с определенными запасами прочности. А когда речь идет о работе, например,
универсального кривошипного пресса (предназначенного для вырубки, гибки и
неглубокой вытяжки) на значительном участке хода, то исключению единичной
перегрузки, а не какой-либо многократно приложенной нагрузки должен быть уделен
максимум внимания. Ошибки в регулировке штамповой высоты, выпадение какой-то
детали инструмента и заклинивание ее между штампами и т. д. - вот перегрузки,
возникающие на большом участке хода и влекущие за собой сразу же заклинивание
пресса с поломкой предохранителей или при их отсутствии поломкой одной или
нескольких деталей пресса. Например, на одном из московских заводов в
результате невнимательного отношения к инструменту на однокривошипном закрытом
двухстоечном прессе 160 тс Барнаульского завода механических прессов (модели
К262Б), не снабженного предохранительными устройствами, дважды происходила
поломка деталей. В первом случае в результате выпадения и заклинивания
инструмента был оборван один из стяжных болтов и 'поломана траверса пресса. Во
втором случае отремонтированная и усиленная (сваркой) траверса выдержала
перегрузку, но сломался шатун пресса. В обоих случаях усилие перегрузки
превышало номинальное усилие более чем в 2 раза:
Рис. 45. Совмещенные графики допускаемых усилий и
моментов
(Pзакл
≈ 350 тс при Pн= 160 тс или
раза)
Наличие
в данном прессе предохранителя по усилию исключило бы в обоих случаях поломку
дорогостоящих деталей пресса и не потребовало бы столь длительного простоя
пресса для ремонта этих ответственных деталей. Конечно, в данном случае запас
прочности траверсы был недостаточным.
Разберем,
какую же перегрузку будут воспринимать детали пресса при применении
предохранителя, защищающего пресс по усилию и выбранного с Pпр=1,3Pном. Столь
небольшая единичная перегрузка не может вызвать поломки деталей пресса даже при
ее приложении на значительном недоходе ползуна пресса. Если рассмотрим кривую
усилий на ползуне, допускаемых прочностью сечения коленчатого вала
однокривошипного пресса с односторонним приводом и нормальным ходом, то
получим, что
н
доп = 510 d02 (при αн= 30о), а P90o доп= 270 d02.
Если
же мы определим величины единичных перегрузок, которые может выдержать вал
(считая, что такими предельными перегрузками будут случаи, когда эквивалентные
напряжения в опасном сечении
Рис. 46. Указатель перегрузки - измеритель деформации:
а - рычаг контакта;
Рис. 47. Предохранительное пневматическое
приспособление, разгружающее при перегрузке стяжные болты вала от изгиба и
кручения достигнут предела текучести), то получим
oпер = 1100 d02 , а P90o пер= 540 d02
необходимая же перегрузка 1,3Pн = 510 d02 ·1,3 = 660
d02. Таким образом, предохранитель по усилию (при достаточном его ходе
срабатывания) может предохранить пресс примерно на угле поворота α ≈75°. Аналогичные соотношения
можно получить и для прессов других типов. Но с точки зрения эксплуатации, как
уже говорилось выше, прессы усилием более 100 тс рекомендуется снабжать
гидропневматическими предохранителями, а преесы номинальным усилием менее 100
тс- пружинными предохранителями, конструкция которых должна быть отработана.
На рис. 48 - 50 приведены конструкции существующих и
модернизированных фрикционных предохранительных устройств, применяемых в
настоящее время в различных прессах. Эти устройства однотипны. Следует указать
на степень ограничения затяжки тарельчатых пружин (см. рис. 49). В прессе НКМЗ
для затяжки шпилек фрикционного предохранительного устройства рекомендуется
гидравлический домкрат.
В прессах ЗТМП модели К-8544 на шпильках в местах
посадки тарельчатых пружин (см. рис. 49) имеются втулки, что сделано для
предохранения шпилек от разрушения пружинами.
Для контроля степени затяжки пружин рекомендуются
втулки 4 (см. рис. 49), которые монтируют свободно на пружину 5 между ступицей
маховика и втулкой 3 с зазором 0,5 - 1 мм. При необходимости увеличения силы затяжки
пружин втулки можно проточить на нужную величину. Если втулки 4 неподвижны,
фрикционное устройство перетянуто и не может работать нормально. Необходимо
также обвязать проволокой гайки 2 с болтами 1.
Рис. 48. Приемный вал в сборе с маховикоми малой
шестерней пресса НКМЗ (Рн =4000 тс): а - старого выпуска; б - модели К-8546
Рис. 49. Приемный вал в сборе с маховиком и малой
шестерней пресса ЗТМП модели К-8544 (Рн = 2500 тс)
Рис. 50. Приемный вал в сборе с маховиком и малой шестерней пресса ЗИЛ
(Рт = 2500 тс): а - старый тип привода; б - модернизированный тип привода
Предохранительное устройство, смонтированное на
приемном валу, крайне необходимо и от него отказываться не следует, хотя
высказывается мнение в работе [11] о его неэффективности во время перегрузки
пресса при наличии в нем фрикционной муфты, расположенной на главном валу
пресса. Приемный вал может нагружаться значительными инерционными силами от
маховых масс привода, возникающих при заклинивании зубчатой передачи.
В качестве приспособлений, предупреждающих перегрузку,
могут применяться всевозможные индикаторные механизмы, измерители деформации и
т. п. (46рис. 22), специальные пневматические цилиндры с системой рычагов
(47рис. 23), электрические приборы, замеряющие напряжения в деталях.
Серьезным моментом является вывод пресса из
заклиненного положения. Наиболее тяжелый режим вывода пресса - сейчас же после
заклинивания, наиболее легкий - по прошествии 20 - 30 ч. Вывод ползунов тяжелых
прессов, имеющих разъемные станины со стяжными болтами, рационально производить
путем нагрева этих болтов встроенными в них электронагревателями. При наличии в
прессе предохранительного устройства по типу 47рис. 23 вывод ползуна из
заклиненного положения значительно облегчается. Для этого достаточно уменьшить
давление в пневматических цилиндрах предохранительного приспособления.
1.5 Разброс масс и температур исходных заготовок при ГОШ
1.5.1
Статистический разброс массы исходной заготовки при резке
Разрезка сортового проката в штампах и на сортовых
ножницах может быть выполнена разными способами. Применяемые в производстве и
перспективные способы можно классифицировать по нескольким признакам: по
степени ограничения перемещения и пластического течения металла в полости ножей
и в зоне реза по температуре разрезаемого металла и по скорости отрезки.
Таблица 6
Классификация способов и схем отрезки сортового
проката сдвигом
|
Способы отрезки
|
Схемы отрезки
|
|
А. Без поперечного зажима
|
С поперечным зажимом
|
Г. С осевым сжатием
|
|
|
Б. Пассивным
|
В. Активным
|
|
|
1. Открытая
|
|
-
|
-
|
-
|
|
2. Неполностью открытая
|
-
|
|
|
-
|
|
3. Неполностью закрытая
|
-
|
|
|
-
|
|
4. Закрытая
|
-
|
-
|
-
|
|
Классификация способов отрезки по степени ограничения
перемещения и пластического течения металла приведена в табл. 6. Согласно этой
классификации возможны четыре способа отрезки, для наименования которых примем
следующие условные термины: открытая, неполностью открытая, неполностью
закрытая, закрытая. Способы 2 и 3 имеют две разновидности, различающиеся по
виду поперечного зажима прутка в ножах: 2Б, ЗБ - с пассивным зажимом; 2В, ЗВ -
с активным зажимом. Способ отрезки характеризуется схемой, которая определяет
взаимоположение прутка и ножей, возможности их взаимного перемещения, силовое
воздействие на них в процессе отрезки, напряженное состояние, форму и размеры
зоны пластической деформации.
Обеспечение требуемого качества заготовок - главная
задача, которую приходится решать при проектировании технологического процесса
разрезки проката и конструировании отрезного штампа. Успешное решение той
задачи обусловливает конкурентоспособность отрезки в штампе по сравнению, с другими
способами разделения проката на заготовки.
Качество отрезаемой от прутка заготовки зависит от
совокупности влияющих на отрезку факторов, перечисленных в схеме, показанной на
рис. 51.
Рис. 51. Схема зависимости качества заготовки от
влияющих факторов
Рис. 52. Схемы измерения заготовки, отрезанной
неполностью открытой или неполностью закрытой отрезкой (а) и точной короткой
заготовки, полученной закрытой отрезкой (б)
Прежде чем рассматривать влияние этих факторов на
отрезку, выясним, чем определяется и как оценивается качество отрезаемой
заготовки, какие требования к ней предъявляются.
Качество отрезанной заготовки является комплексным
понятием, включающим геометрическую точность, состояние поверхности среза и
состояние металла в приторцовых зонах.
Геометрическая точность. Этот главный компонент
качества заготовки определяется степенью соответствия ее формы и размеров
идеальному прототипу[7]. Погрешности формы и отклонения размеров при отрезке
возникают в результате пластической деформации и разрушения металлов в зоне
реза. На них влияют упругая деформация системы штамп-пруток, износ режущих
частей штампа. Развитию нежелательной пластической деформации способствуют
использование неоптимальных схем отрезки и ее параметров, несоответствие формы
и размеров ножей и разрезаемого проката.
Геометрическую точность оценивают относительными
показателями, вычисляемыми по результатам измерения заготовки. При, одинаковых
условиях отрезки с увеличением размеров сечения прутка абсолютные значения
показателей геометрической неточности заготовки возрастают, а относительные
изменяются мало. Искажения формы рассматривают в осевом сечении заготовки и в
плоскости торца. На рис. 52 показана схема измерения заготовки, на которой
искажения формы представлены для наглядности в утрированном виде.
У заготовки следует различать передний П и задний З
концы, которые обычно не тождественны по степени точности. Пруток и отрезаемая
от него заготовка находятся при разрезке в неодинаковых условиях по действию на
них внешних сил и по возможности перемещений. Вследствие несимметрии отрезки
передний и задний концы заготовки получают разные отклонения от идеальной
формы. Большие отклонения наблюдаются у заднего конца, поэтому оценку
геометрической точности заготовки проводят по результатам его измерений.
Размеры, по которым оценивают геометрическую точность заготовки, приведены в
табл. 7.
Таблица 7 Размеры (мм) и относительные показатели,
характеризующие точность заготовки (см. рис. 52)
|
Размеры, характеризующие
точность
|
Обозначение
|
Относительные показатели
геометрической неточности
|
Обозначение
|
|
Утяжина продольная
|
b
|
Утяжка продольная
|
b'=b/d
|
|
Утяжина поперечная
|
f
|
Утяжка поперечная
|
f '=f/d
|
|
Вмятина продольная
|
п
|
Смятие продольное
|
n'=n/d
|
|
Вмятина поперечная
|
k
|
Смятие поперечное
|
k'=k/d
|
|
Глубина волны на торце
|
g
|
Волнистость торца
|
g'=g/d
|
|
Высота торца
|
d1
|
Овальность торца
|
o=(d-dl)/d
|
|
Длина заусенца
|
w
|
Относительный заусенец
|
з=w/d
|
|
Длина заготовки наибольшая
|
l
|
Непараллельность торцов
(коротких заготовок)
|
t=(l-lmin)/d
|
|
Длина заготовки наименьшая
|
lmin
|
|
|
|
Ширина пластического пояска
|
с
|
|
|
|
Угол скоса торца
|
φ°
|
|
|
Принципиальная схема, представленная на рис. 52,
синтезирует в себе все виды возможных искажений формы заготовок. В зависимости
от способа и условий отрезки те или иные из них будут близки к нулю. Измерение
точных коротких заготовок, полученных закрытой отрезкой, выполняют по схеме,
приведенной на рис. 52,б.
Отклонение заготовки от идеальной формы можно оценить
совокупностью относительных показателей геометрической неточности, приведенных
в табл. 8.
штамповка пресс заготовка предохранитель
Таблица 8
Неоднородность, дефекты поверхностей торцов и
приторцовых зон
|
Наименование
|
Эскиз
|
Наименование
|
Эскиз
|
|
Неоднородность поверхности:
а - плоский 1 пластический (блестящий) поясок, б - шероховатая волнистая
поверхность
|
|
Наплыв
|
|
|
Несколько блестящих поясков
|
|
Задиры
|
|
|
Ступенчатый торец
|
|
Вырыв
|
|
|
Заусенец торцовый
|
|
Зарез
|
|
|
Заусенец боковой
|
|
Закол
|
|
|
Пригар
|
|
Скол
|
|
|
Микро- и макротрещины
торцовые
|
|
Трещины поперечные
|
|
Кроме показателей, перечисленных в табл. 7, иногда
используют еще угол базирования φбаз. Этот угол между вертикалью и
осью заготовки, поставленной торцом на горизонтальную плоскость, равен углу
между плоскостью опоры торца (проходящей через вершины выступов) и плоскостью
перпендикулярной оси заготовки. От величины угла φбаз зависит устойчивость заготовки
под действием силы тяжести G. Угол скоса торца φ измеряется в осевой плоскости и
поэтому не всегда совпадает с углом базирования, так как торец имеет
криволинейную поверхность. Угол базирования зависит от способа отрезки (рис.
53). На производстве обычно используют только те относительные показатели, от
которых существенно зависит точность заготовок. К ним относятся: утяжка
продольная (или поперечная), овальность торца, непараллельность торцов и угол
скоса.
Рис. 53. Зависимость угла базирования заготовки от
способа отрезки (φбаз ≠ φбаз1):
а - открытая; б - неполностью открытая;
в - неполностью закрытая; г - закрытая
Одним из показателей геометрической неточности
заготовки является также относительная неточность ее объема (массы) δV=(V- V0)/V0 , где V-фактический объем;
V0 - номинальный объем заготовки.
Требования к качеству заготовок зависят от их дальнейшего использования.
Все виды заготовок в зависимости от их назначения можно разделить на три
группы: используемые без дальнейшей доработки; подвергаемые обработке резанием;
используемые для обработки давлением. Общим требованием к заготовкам всех групп
является отсутствие дефектов. Требования к точности, состоянию приторцовых зон
зависят от назначения заготовки. в заготовке под горячую штамповку допустимы
приторцовые деформированные зоны упрочненного металла, поскольку упрочнение
снимается при нагреве.
Качество заготовок, отрезаемых от сортового проката в
штампах, зависит от комплекса факторов (см. рис. 51).
Влияние металлургической природы проката на отрезку, и
качество заготовок изучено еще недостаточно. Наилучшее качество поверхности
среза получается при разрезке прутков, изготовленных холодным волочением.
Сильно влияет на качество отрезаемых заготовок химический состав металла. Так,
качество поверхности среза и геометрическая точность заготовок, отрезаемых от
стальных прутков, существенно зависят от содержания углерода. С увеличением содержания
углерода в стали снижается ее пластичность, что приводит к уменьшению
пластических деформаций при отрезке, волнистости и неперпендикулярности
поверхности среза. Повышенное содержание серы в стали ухудшает поверхность
среза, возможно появление трещин.
Таблица 9 Ориентировочные наибольшие относительные
показатели геометрической неточности заготовок под штамповку
|
Назначение заготовки
|
Рекомендуемый способ
отрезки и схема
|
Допустимые наибольшие
относительные показатели геометрической неточности заготовок
|
Рекомендуемая обработка
заготовки после отрезки
|
|
|
b'
|
f '
|
О
|
g'
|
з
|
φ
|
Г
|
δV. %
|
|
|
ХОШ: выдавливание
|
3В
|
0,25
|
0,06
|
0,07
|
0,02
|
0,01
|
10
|
0,03-0,2
|
±1
|
Отжиг, осадка, калибровка
|
|
4Г
|
0,10
|
0,01
|
0,02
|
0
|
0,005
|
30-40'
|
0,99-1,0
|
±1
|
Отжиг, галтовка
|
|
закрытая осадка
|
ЗВ
|
0,30
|
0,06
|
0,07
|
0,02
|
0,01
|
3-5°
|
0,2-0,3
|
±1
|
Отжиг
|
|
4Г
|
0,10
|
0,02
|
0,02
|
0
|
0,006
|
30-40'
|
0,99-1,0
|
±1
|
Отжиг, галтовка
|
|
ГОШ: закрытая открытая
|
ЗБ, ЗВ
|
0,40
|
0,07
|
0,09
|
0,05
|
0,02
|
5°
|
0,03-0,2
|
±2
|
-
|
|
2Б, ЗБ ЗВ
|
0,60 0,80
|
0,10 0,20
|
0,15 0,25
|
0,06 0,05
|
0,04 0,03
|
8-10 6-8
|
0,03-0,2 0,03-0,2
|
±3 ±3
|
-
|
Влияет на отрезку и фазовый состав металла. Более
высокое качество заготовок получают при разрезке прутков из однофазных
металлов. Отмечено, что с повышением карбидной неоднородности металла
увеличивается вероятность образования трещин и изломов при отрезке.
Очистку поверхности горячекатаного проката можно
выполнять механическими или химическими способами. Однако химическое травление
прутков без механического воздействия (очистка стальными щетками, вращающимися
микрорезцовыми инструментами, наложение ультразвука, дробеструйная обработка и
т. д.) не обеспечивает необходимого качества поверхности, поэтому не исключает
операций по очистке поверхности от окалины при подготовке заготовок к
штамповке.
На процесс отрезки и качество заготовок сильно влияет
характеристики пластичности и прочности разрезаемого металла. От значений
характеристик пластичности (ψ, δ) и прочности (σт, σb, НВ) зависит степень пластической
деформации, характер образования поверхности раздела, показатели неточности
заготовок, силовые характеристики процесса отрезки. От них в первую очередь
зависит выбор схемы отрезки, параметры процесса и температурно-скоростные
условия отрезки (табл. 10).
Таблица 10 Выбор схемы отрезки и ее параметров в
зависимости от твердости углеродистой стали
|
Разрезаемая сталь
|
Наилучшая схема отрезки
|
(l/d)min
|
Оптимальные параметры
|
|
Марка
|
HB
|
|
|
|
|
Ст2, 10
|
< 140
|
|
1,2
|
α=6-9°, zп=0, zoc≥0,07d, Q=P
|
|
20, 30
|
140 -180
|
|
1,0
|
α=3-7°,zп=0, zoc≥0,04d, Q=(0,7÷1,0)P
|
|
40
|
180-260
|
|
0,8
|
α=0, zп=0, zoc≤0,03d Q=(0,25÷l,0)Pmax
|
|
50, 60
|
|
|
0,7
|
|
По влиянию твердости на отрезку углеродистые стали
можно разделить на три группы: мягкие (HB<140); средней твердости (НВ
140-180) и повышенной твердости (НВ 180-260). Однако характеристики прочности
не определяют однозначно параметры процесса отрезки всех металлов, например,
осевой зазор между ножами.
Для обеспечения наибольшей геометрической точности
заготовок необходимо при разработке технологического процесса отрезки и штампов
учитывать форму сечения разрезаемого проката и придавать ему наилучшую
ориентацию относительно направления реза и ножей. При этом надо стремиться к
тому, чтобы размер сечения прутка в направлении реза был меньше, чем в
перпендикулярном направлении. Например, прокат прямоугольного профиля надо
разрезать по широкой стороне сечения.
По возможности нужно придавать сечению такую
ориентацию, при которой под действием ножей в нем возникали бы сжимающие
напряжения. Например, прокат квадратного профиля лучше разрезать в угловых
ножах с угла на угол, чем плоскими ножами по плоским граням. Ориентация формы
сечения относительно направления реза оказывает влияние на усилие и работу
деформации при отрезке, что видно на рис. 55.
На точность отрезаемых заготовок существенно влияют
колебания в размерах сечения прутка. Чем больше допуски на размеры сечения, тем
больше назначают поперечный зазор между ножом и прутком, ухудшающий качество
заготовки. Колебание размеров сечения особенно сильно снижает точность объема
заготовки. Объем отрезаемой заготовки V является функцией двух переменных
величин: площади поперечного сечения F и длины l
V = Fl
Рис. 56 Зависимость силы и работы отрезки от радиуса
скругления режущей кромки ножа (сталь 10, d=40мм): 1 - острая кромка; 2 -
скругление rк=0,5мм; 3 - rк=1,0 мм; 4 - rк=1,5 мм;
Площадь поперечного сечения прутков непостоянна
вследствие колебаний размеров в пределах допусков и искажений формы. Длина
отрезаемой заготовки изменяется от неточной установки упора штампа, неточной
подачи прутка, поворота его вокруг своей оси, нестабильности отрезки. Поэтому,
фактический объем заготовки, отрезаемой от прутка, будет колебаться на величину
ΔV=ΔVF+ΔVl=ΔFl+ΔlF
где ΔVF - изменение объема, вызванное
отклонением площади поперечного сечения, ΔVF = ΔlF;ΔVl - изменение объема, вызванное
отклонением длины заготовки, ΔVl= ΔlF.
Абсолютное значение ΔF зависит от отклонений размеров
сечения и повышается с их увеличением.
Для круглого профиля
где
Δв, Δн -
верхнее и нижнее отклонения размера d (абсолютные значения); Δ = ΔВ+ΔН.
Соотношение
формы и размеров полости ножа и прутка в поперечном сечении имеет важное
значение при его разрезке. Наилучшие условия отрезки обеспечиваются, если форма
полости идентична форме поперечного сечения прутка. При этом уменьшается
деформация поперечного сечения заготовки при отрезке.
Для
получения хорошей поверхности среза необходимы ножи с острой режущей кромкой.
Однако для повышения стойкости ножа допустимо при его изготовлении скруглять
кромку по дуге радиусом rк<0,005 d. Скругление кромки в результате
затупления не должно превышать 0,01 высоты (диаметра) сечения прутка, так как
большее затупление ведет к некоторому росту усилия и значительному увеличению
работы деформирования (рис. 56), усилия распора, а также к образованию
заусенцев на заготовках.
Недостаточная
жесткость штампа приводит к упругой деформации его частей под действием усилия
отрезки и распирающих усилий, в результате чего нарушаются заданные
геометрические параметры: осевой зазор между ножами, поперечный зазор, угол
наклона прутка. Так, установленный при наладке штампа оптимальный осевой зазор
при недостаточной жесткости увеличится в процессе отрезки, что вызовет
ухудшение качества заготовки. Опыт показывает, что изменение осевого зазора
более чем на 10 % нежелательно. Поэтому для получения точных заготовок
непригодны штампы малой жесткости.
1.5.2
Допустимый интервал температур при ГОШ
Для нагрева заготовок под горячую объемную штамповки в настоящее время, в
основном, применяют электромагнитные индукторы. Основными плюсами данного вида
нагрева перед пламенными печами являются: экологичность, меньшее
окалинообразование и возможность автоматизации производства.
Для анализа неравномерности нагрева заготовок под штамповку в
индукционных печах рассмотрим опыты приведенные в [5].
Для этой цели была разработана конструкция нагревательных моделей,
помещаемых внутрь индуктора вместо заготовок. Так как в индукторе обычно
нагревают заготовки диаметрами d = D/( 1,4÷2,5), то в соответствии с этим были
изготовлены три модели диаметрами 40, 60 и 70 мм с положительным допуском 1-2
мм длиной между хомутами 850, 830, 830 мм соответственно. При нагреве модели
измеряли температуру в трех точках ее длины (середина длины, край и между
ними), мощность, потребляемую спиралью (по показаниям ваттметра, вольтметра и
амперметра), температуру внутренней и наружной поверхности шамотных втулок,
температуру входящей и выходящей воды из спирали индуктора, а также ее расход.
Все измерения производили при установившемся режиме, т. е. после того, как
устанавливалась постоянная температура поверхности нагретой модели и
температура выходящей воды из спирали индуктора. Температуру модели и футеровки
измеряли с помощью платина - плати-нородиевых и хромель-алюмелевых термопар,
подключенных к потенциометрам. Температуру воды измеряли ртутными термометрами
с ценой деления шкалы 0,1 °С.
При стационарном тепловом режиме можно измерить тепловые потери через
футеровку и через кольцевой зазор между ней и спиралью. Потери теплоты через
футеровку индуктора определяли калориметрированием - по расходу и температуре
входящей и выходящей воды. Потери теплоты через кольцевой зазор находили как
разность между энергией, подводимой к участку спирали в индукторе, и энергией,
отводимой водой. Все величины измеряли с интервалом температур 50-100°С.
В табл. 11 приведены режимы нагрева моделей при трех температурах.
Напряжение и ток при нагреве моделей изменялись в следующих пределах: при
нагреве модели диаметром 40 мм - U= 18÷36 В, I= 1254÷138 А; диаметром 60 мм -U = 28÷44В; I=125÷82А; диаметром 70 мм - U = 29÷49 В; I=120÷195 А.
Таблица 11 Некоторые результаты измерений при нагреве
моделей различного диаметра в индукторе
|
Температура спирали, оС
|
Температура поверхности
шамотных втулок, оС
|
Температура воды, оС
|
Расход воды q, г/с
|
Мощность на нагрев спирали,
Рсп, КВт
|
Мощность потерь с водой,
Рв, КВт
|
Приведенная мощность к
длине футеровки, Рф, КВт
|
|
В середине t1
|
175 мм от середины, t2
|
350 мм от середины t3
|
наружной t5
|
внутренней t4
|
входящей t6
|
выходящей t7
|
|
|
|
|
|
d = 60 мм
|
|
720
|
728
|
698
|
594
|
375
|
3,4
|
18,5
|
33,1
|
3,6
|
2,1
|
3,2
|
|
1000
|
1012
|
950
|
901
|
572
|
3,3
|
27,9
|
39,4
|
5,6
|
4,0
|
5,0
|
|
1300
|
1325
|
1220
|
1233
|
770
|
3,1
|
39,4
|
46,8
|
9,3
|
7,1
|
8,3
|
|
d = 70 мм
|
|
720
|
-
|
-
|
595
|
353
|
3,3
|
16,5
|
36,6
|
3,5
|
2,0
|
3,0
|
|
1000
|
-
|
-
|
880
|
530
|
3,0
|
24,7
|
46,9
|
5,6
|
4,3
|
4,9
|
|
1300
|
-
|
-
|
1195
|
721
|
3,4
|
42,2
|
43,6
|
9,8
|
7,1
|
8,5
|
|
d = 40 мм
|
|
720
|
-
|
-
|
571
|
347
|
3,3
|
18,1
|
26,6
|
2,8
|
1,7
|
2,4
|
|
1000
|
-
|
-
|
861
|
534
|
3,6
|
35,6
|
26,5
|
4,8
|
3,5
|
4,2
|
|
1300
|
-
|
-
|
1209
|
729
|
3,2
|
43,8
|
38
|
8,9
|
6,4
|
7,8
|
|
|
|
|
|
|
|
|
|
|
|
|
|
Из приведенных электрических параметров нагрева моделей можно заключить,
что для данного характера исследований вполне приемлемы трансформаторы,
применяемые для электродуговой сварки. В связи с тем что в производственных
условиях при нагреве в одном и том же индукторе заготовок разного диаметра
последние располагают на направляющих не концентрично относительно окна
футеровки, модель каждого диаметра также размещали в индукторе различным
образом. В частности, проводили нагревы при концентричном расположении модели
(на подставках) и при расположении ее лежа непосредственно на футеровке. Как
оказалось, разница в расположении модели в индукторе крайне незначительно
сказывалась на изменении тепловых потерь через футеровку.
Для наглядного представления характера соотношения температур поверхности
модели и шамотной футеровки на рис. 57 приведена диаграмма циклов нагрева.
Анализ диаграммы показывает, что концы модели имеют более низкую температуру,
чем ее средние участки, и эта разница тем больше, чем выше общая температура
модели. В области температур 1000-1300 °С эта разница (t2-t1) составляет 80 -
100 °С. Эксперименты по нагреву моделей диаметрами 40 и 70 мм показывают, что
разница между температурами концов и средних участков нагретых моделей в
указанной области температур почти не изменяется.
Рис. 57. Диаграмма распределения температур в нагревательной модели
диаметром 60 мм (1-3) и в футеровке индуктора (4, 5)
Необходимо напомнить, что при нагреве заготовок в индукторе тоже
происходит подстуживание их концов, следовательно, нет надобности стремиться
получить абсолютно равномерный нагрев по длине модели, так как это нарушит
истинную картину теплообмена. В процессе проведения исследований было замечено,
что длина подстуженных концевых участков моделей диаметром 70 мм составляла
30-40 мм, у моделей диаметром 40 мм - около 40-50 мм; у модели диаметром 60 мм
- 35-45 мм. Естественно, это сказывается и на температуре поверхности
футеровки.
В результате из табл. 11 можно заключить, что абсолютное значение
мощности тепловых потерь при одинаковой температуре не слишком резко зависит от
размера диаметра модели. Например, при нагреве модели диаметром 70 мм и ее
температуре 1300 °С мощность потерь с водой (табл. 11) составляет 7,1 кВт, а
при нагреве модели диаметром 40 мм - 6,4 кВт. В данном случае диаметр модели
изменился почти в два раза, а потери всего на 0,7 кВт.
Из-за возможных погрешностей измерений было проведено в общей сложности
более 100 опытов при различных температурах от 700 до 1300°С.
Анализ полученных данных показывает, что отношение длины модели к
диаметру не оказывает заметного влияния на тепловые потери, так как даже при
разнице в соотношениях l/d почти в два раза (15/8) сохраняется
пропорциональность расстояния между кривыми во всем диапазоне температур. Таким
образом, основным параметром, влияющим на потери через кольцевой зазор,
является соотношение диаметров D/d.
Экспериментальные работы по исследованию индукционного нагрева решают две
тесно связанные задачи: электрическую и тепловую. Они не могут быть оторваны
друг от друга, поэтому для правильных, экономически оправданных результатов
исследователь должен достаточно глубоко вникнуть не только в специфику
технологии деформирования, но и в специфику электротехнических вопросов. Как
правило, технологи - обработчики давлением, не учитывая возможностей
индукционного нагрева, иногда задают неоправданно жесткие требования к
соблюдению температурного режима нагрева заготовки с отклонениями в 20-30 °С
при температурах в 1150 -1250 °С.
Следует считаться с тем, что в заводских условиях регистрация таких малых
отклонений температур представляет определенные трудности, так как при обычно
используемой измерительной аппаратуре они могут находиться в пределах
погрешности измерений. Подобные отклонения возникают в результате нагрева
заготовок с различными размерами в пределах допусков от номинала,
нестабильности темпа толкания, наличия различной толщины окалины, искажающей
оптические измерения, и т. п.
По данным [19] колебания температуры нагрева заготовок в индукторе
составляет 35 - 45 оС. Это вызвано систематическим изменением характеристик
энергопитания нагревательного устройства.
Из приведенных выше материалов можно сделать вывод о том, что для
расчетов сил деформирования операций объемной штамповки отклонение начальной
температуры от номинальной следует принять ±50 оС. Предположительно именно
такой разброс начальных температур можно принять за среднестатистический.
Однако, уменьшить диапазон разброса начальных температур при расчете операций
объемной штамповки представляется возможным, если есть экспериментальные данные
замера температур заготовок после индукционного нагрева для конкретного
технологического процесса.
.6 Влияние технологических параметров и жесткости прессов на точность
получаемого изделия
Точность штампуемых на кривошипных горячештамповочных
прессах (КГШП) поковок зависит от параметров конструкции пресса и
технологического процесса. КГШП характеризуются жестким ходом ползуна,
перемещение которого определяется размерами, положением и упругой деформацией
главного исполнительного механизма, станины и других элементов конструкции
пресса.
Для увеличения точности штампуемых поковок необходимо,
чтобы жесткость пресса была максимально возможной. Уменьшение жесткости снижает
точность штампуемых заготовок по высоте и увеличивает потери энергии на упругую
деформацию пресса.
Зависимость при штамповке на КГШП точности заданных
размеров отштампованных поковок определяется многими параметрами,
характеризующими технологический процесс. Одним из параметров является сила
деформирования заготовки в конце хода ползуна пресса.
Основными факторами, влияющими на силу деформирования
при выполнении технологического процесса, являются колебания температуры Δt и объема ΔV3 штампуемой заготовки. В меньшей
степени на силу деформирования оказывают влияние такие факторы технологического
процесса, как смазка штампа μ, шероховатость рабочей поверхности
штампа R, точность центрирования е заготовки в штампе, линейное расширение
штамповых вставок, температура которых не постоянна и некоторые другие факторы.
Упругую деформацию пресса во время хода деформирования
определяют зависимостью
где
Р =f(t, V3, μ, R, е,...)- сила деформирования; С -приведенная
жесткость пресса.
При
штамповке наибольшее влияние на точность размеров поковки по высоте оказывает
упругая деформация пресса, поэтому долю влияния упругой деформации штампа в
рассматриваемом случае учитывать не будем.
Отклонения
объема ΔVЗ заготовки связаны с неточностью отрезки заготовки и
колебаниями допуска на размеры сечения проката, из которого изготавливается
заготовка. Более точный объем заготовки обеспечивают точной резкой проката с
учетом изменения размеров сечения проката. Уменьшение разброса температуры ΔtЗ заготовки является также сложной задачей.
Температура заготовки в момент штамповки зависит от многих причин: температуры
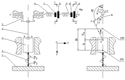
заготовки в индукторе, времени переноса заготовки из индуктора в штамп, времени
контакта заготовки со штампом.
Перед
штамповкой закрытую высоту пресса настраивают на величину Smax, которая
определяет крайнее нижнее положение верхней матрицы штампа при холостом ходе
ползуна с учетом возможности получения заданной высоты поковки при номинальных
значениях ее температуры tH и объема VН с учетом упругой деформации пресса в
конце хода деформирования.
Отклонения
размеров δ1 и δ2
заготовок от номинальной величины, полученной при штамповке заготовки с
номинальными значениями tH и VH, определяются реальной температурой заготовки
во время штамповки и объемом заготовки. При минимальных значениях температуры и
максимальном объеме заготовки высота отштампованной поковки больше номинальной
на δ1, а при максимальных значениях температуры и
минимальном объеме заготовки высота отштампованной поковки меньше номинальной
на δ2
где
Рmax - сила в конце хода деформирования при номинальном режиме штамповки при tH
и VH; Рmах1 -сила в конце хода деформирования при tmin и V1; Рmах2 -сила в
конце хода деформирования при tmах и V2.
Максимальный
диапазон отклонения размера заготовки
Величина
возможного допустимого отклонения δ определяется величиной допуска Δ по высоте отштампованной поковки
где
kЗ - коэффициент запаса, необходимый для получения гарантированного допуска Δ по высоте штампуемой поковки.
Повышение
точности штампуемых поковок без увеличения жесткости пресса возможно
регулированием закрытой высоты пресса перед каждым ходом деформирования с
учетом температуры и объема заготовки. В работе приведен способ получения
точных размеров по высоте поковок при регулировании закрытой высоты пресса
непосредственно перед ходом деформирования. Перед штамповкой заготовки
диаметром DH и высотой НН закрытая высота пресса настраивается на получение
заданного номинального хода деформирования SH и номинального размера
отштампованной по высоте поковки при штамповке из заготовки с номинальным
объемом и с номинальной температурой.
Уменьшение
упругой деформации пресса компенсируется увеличением закрытой высоты пресса.
Сам
способ регулировки точности изготовляемой детали по высоте, упомянутый выше,
требует применения специальной аппаратуры, для замера температуры и массы
заготовки. Также требуется механизм подрегулировки закрытой высоты. Вся система
подрегулировки должна быть одновременно точна и малоинерционна, в противном
случае смысла в ней нет. Малоинерционность нужна для того, что бы пресс с такой
системой мог работать в условия крупносерийного и массового производства, но с
учетом размеров, обеспечить малоинерционность такой системы является очень
сложной задачей. Так же требуется дополнительный персонал, который обеспечивал
бы своевременное обслуживание, настройку и ремонт всей установки, что приводит
только к удорожанию всего комлекса.
Более
результативным методом является уменьшение отклонений от номинальных размеров и
номинальной температуры заготовок под штамповку, путем применения современных
технологий и оборудования с большей точностью резки и нагрева. Так же большое
внимание нужно уделять точности размеров проката, поставляемого в цех, по
сечению. При реализации этого метода уменьшается допуски на размеры
отштампованной детали по высоте. Причем никакая модернизация пресса не
производится.
Еще
одним методом является применение конструкций прессов, имеющих жесткость
большую, чем обычные КГШП. Причем жесткости таких прессов добиваются не за счет
металлоемкости станины, а именно за счет их конструктивной особенности.
Конструирование таких прессов является одним из научных направлений кафедры
«Машины и технология обработки металлов давлением» Московского государственного
индустриального университета. Огромным преимуществом такого пресса является
простота его использования, по сравнению с прессами, применяющими системы
адаптивного управления.
.7 Применение теории подобия для конструирования гамм кривошипных прессов
При проектировании новой конкурентноспособной гаммы сначала отрабатывается
первый типоразмер, на котором проверяются идеи, лежащие в основе будущей гаммы.
Чтобы ускорить и удешевить освоение остальных типоразмеров гаммы,
целесообразно прибегнуть к проектированию по коэффициентам, когда каждый
параметр нового типоразмера равен произведению соответствующего параметра уже
созданного типоразмера на определенный коэффициент. При научно обоснованном
выборе коэффициентов связь параметров обоих типоразмеров должна согласовываться
с фундаментальной теорией подобия.
Принемаются следующие три условия подобия кривошипных машин.
Первое условие (условие однозначности) заключается в том, что величина
каждого параметра нового пресса гаммы должна быть заданной однозначной функцией
главного параметра, в данном случае - номинального усилия.
Второе условие (условие равной надежности) заключается в том, что в
полностью подобных прессах должны быть одинаковы все критериальные показатели:
удельные силы и напряжения в соответствующих точках, коэффициенты износа,
коэффициенты динамичности и т. д.
Хотя таких показателей в принципе может быть предложено как угодно много
(по крайней мере для кривошипных машин), независимыми являются четыре
показателя, характеризующие статику, динамику, энергетику пресса, а также -
инерционность ведомых масс. Остальные показатели являются производными одного
из независимых показателей.
Третье условие - условие технологической равнозначности или
технологического подобия.
В двух прессах одной и той же гаммы, но разного номинального усилия,
удовлетворяющих условиям, величины соответствующих друг другу одноименных
параметров относятся как корни квадратные из отношения номинальных усилий этих
прессов, возведенные в целую отрицательную, нулевую или положительную степень,
величина которой определяется размерностью сравниваемых параметров.
Кривошипные машины теоретически равнонадежны и геометрически подобны,
хотя типовые графики их технологических операций не подобны геометрически
(геометрически подобны в теории сами типовые изделия). Важно понять, что
полностью подобные прессы не обязательно должны быть оптимальными. Но если хотя
бы один пресс гаммы соответствует оптимуму по какой-либо целевой функции, то
остальные типоразмеры прессов этой гаммы, удовлетворяющие условиям полного
подобия, также соответствуют оптимуму по этой целевой функции.
Не все параметры главного привода удается подобрать на основе соотношений
полного подобия.
В заключение необходимо особо отметить, что вторая, не менее важная роль
соотношений полного подобия (кроме ускоренного проектирования гаммы по
прессу-представителю) - возможность перенесения результатов численных или
натурных экспериментов, полученных на одном прессе-представителе, на прессы
всей гаммы.
1.8 Направления конструирования новых гамм КГШП
КГШП развиваются по двум направлениям: технологической специализации и
конструктивного совершенствования. Технологическая специализация КГШП сводится
на сегодняшний день к созданию многопозиционных КГШП, КГШП для горячего
выдавливания и КГШП двойного действия. Из них традиционные КГШП и КГШП для
горячего выдавливания создаются на базе КГШП общего назначения традиционной или
не традиционной конструкции путем количественного, а не качественного изменения
базовых прессов. Конструкция КГШП двойного действия принципиально отличается от
конструкции КГШП простого действия, прежде всего наличием ДИМ. Конструктивная
схема ИМ КГШП двойного действия усилием 5/5 МН имеет циклограмму - на рис. 57.
Как уже говорилось, в 40-60-е годы 20 века КГШП выпускались по весьма
близким друг другу классическим схемам фирм «National» и «Ajax» (чаще по схемам последней). Но с 70-х годов и до
настоящего времени создается все большее количество отдельных элементов и КГШП
в целом, существенно отличающихся от классических схем. Среди этих конструкций
встречаются как весьма перспективные, так и неудачные. Но сформировались
характерные тенденции совершенствования устройства КГШП простого действия, о
которых мы и будем говорить далее в данном разделе, используя конкретные
конструкции в качестве примеров, помогающих понять эти тенденции.
Рис. 57. Циклограмма перемещения ползунов пресса:
- внутреннего; 2 - наружного.
Одна из наиболее ранних и устойчивых тенденций - отказ от регулировки
закрытой высоты в столе и перенос ее в ИМ (рис. 58). Регулировка выполняется
либо в виде усовершенствованного клинового устройства с гидроприводом,
расположенного на месте болстерной плиты ползуна, либо чаще всего, в виде
эксцентрикового устройства, расположенного (рис. 58) в любой шарнирной паре ИМ.
Преимущества устройств в том, что они защищены от грязи и окалины, дают
возможность пользоваться неподвижной плоскостью стола как естественной базой
для установки и наладки средств автоматизации и не требуют освобождения от
крепления к прессу штамповых пакетов при регулировке закрытой высоты.
Фиксатором клинового устройства является гидроустройство 7, расположенное на
противоположном от гидродвигателя 10 торце клина 4. Фиксаторами эксцентрикового
устройства являются болты 6, упруго зажимающие эксцентриковую втулку 4 через
паз в шатуне. В пазу размещен гидродомкрат 3, создающий усилие, разжимающее
болты 6 при регулировке закрытой высоты. Регулировка закрытой высоты
осуществляется поворотом эксцентриковых букс крепления главного вала в станине,
жестко связанных с поворотными секторами 1, которые в свою очередь, зацепляются
с шестернями, сидящими на оси 2. Регулировка производится вращением шестерни
вручную или от электродвигателя. Фиксация эксцентрикового устройства
осуществляется самотормозящимся исполнением резьбы винтов с шаровыми опорами. Регулировка
закрытой высоты (рис. 58) осуществляется поворотом сопрягаемой с шатунной
шейкой коленчатого вала 6 сборной эксцентриковой втулки 7. Фиксатором являются
шпильки, упруго зажимающие втулку 7 через систему клиньев.
Рис. 58. КГШП «Eumuco»
ряда KSP: 1 - станина; 2 - гайка стяжной
шпильки станины; 3 - главный электродвигатель; 4 - уравновешиватель; 5 -
маховик; 6 - коленчатый вал; 7 - эксцентриковая втулка регулировки закрытой
высоты; 8 - шатун; 9 - клин; 10 - ползун; 11 - верхний выталкиватель; 12 - тяга
нижнего выталкивателя
Перенос устройств регулировки закрытой высоты в ИМ обострил внимание к
проблеме вывода КГШП из распора. Создан ряд конструкций, опирающихся на
следующие идеи. Предлагается выводить КГШП из распора путем повышения давления
в муфте в 2-2,5 раза по сравнению с рабочим. Предлагается использовать
отдельный клиновой блок, узел выполнен как отдельный агрегат, изолирован
надежными уплотнителями, а на клинья в процессе вывода пресса из распора
подается масло высокого давления, создающее масляную прослойку между
поверхностями скольжения, благодаря которой клин горизонтального перемещения
легко передвигается в сторону, обеспечивающую увеличение закрытой высоты и
ликвидацию распора. Описанная конструкция разработана фирмой «National» для установки в столе, но с тем же
успехом она может быть установлена вместо болстерной плиты ползуна или между
ней и ползуном. Той же фирмой для заказчиков, не желающих применить указанную
конструкцию, разработана выжигаемая автогеном специальная проставка. Ряд фирм,
применивших эксцентриковую регулировку закрытой высоты в ИМ («Smeral», «Hasenclever») предложили параллельно
использовать ее как устройство предохранения от перегрузок и (или) вывода
пресса из распора в надежде на то, что в освобожденном от фиксации
эксцентриковом устройстве усилие распора выжмет эксцентриковый элемент,
развернув его в сторону саморасклинивания пресса. Наконец, ПО
«Воронежтяжмехпрес» использует устройства (рис. 59а, б), получившие условное
название гидрогаек. Напомним, что идея заключается в том, что стяжные шпильки
разборной станины растягиваются не гайками, а специальными гидродомкратами
высокого давления. Гайки же служат лишь для фиксации расчетной степени
растяжения шпилек и сжатия станины.
Существует две разновидности гидрогаек. Устройство рис. 59а состоит из
сборной станины 1, стяжных стержней (шпилек) 2 и сборных гаек 3-10, выполняющих
одновременно роль гидродомкрата. Сборная гайка состоит из гайки-плунжера 3,
проставки-цилиндра 4, уплотнений 5, 6, затягиваемых фланцами 7, 8, мерных
секторных проставок 9 и крепежа. Для подачи масла служит горизонтальное
отверстие в проставке-цилиндре, в которое ввертывается плунжер, не показанный
на рисунке. Вертикальное отверстие в гайке-плунжере 3 служит для прокачки
гидросистемы при попадании в нее воздуха и в нормальном состоянии глушится
торцевой заглушкой. Устройство работает следующим образом. При необходимости
затянуть станину масло подается в горизонтальное отверстие проставки-цилиндра 4
при удаленных мерных секторных проставках 9 до тех пор, пока между фланцем 7 и
гайкой-плунжером 3 не образуется зазор, достаточный для монтажа этих проставок.
При этом указанная в документации устройства величина контрольного давления
должна соответствовать определенной величине зазора. Если зазор больше, то
давление спускают и гайку-плунжер подворачивают, если меньше - отворачивают.
После затяжки станины и монтажа проставок 9 последние фиксируют болтами 10, и
масло спускают. При разборке станины или выводе пресса из распора вновь подают
давление, демонтируют проставки 9, после чего разбирают станину или выводят
пресс из распора.
а) б)
Рис. 59. Устройства для гидравлической затяжки стяжных стержней разъемных
станин и вывода прессов из распора («гидрогайки»): а - гидродомкрат,
совмещенный с гайкой; б - съемный гидродомкрат.
Определенным недостатком устройства рис. 59а является то обстоятельство,
что если при затянутой станине или находящемся в распоре прессе оно окажется
неисправным, например, из-за пропуска уплотнений 5, 6, восстановить его при
замкнутой станине окажется невозможным. Этого недостатка лишено устройство рис.
59б с разделенными функциями: затяжка шпильки выполняется гидродомкратом, а
фиксация этой затяжки - отдельной гайкой. Устройство рис.59б состоит из сборной
станины 1, стяжного стержня (шпильки) 2, нижней гайки 3, проставки 4,
гидродомкрата 5 и верхней гайки 6. Затяжка станины производится подачей до
расчетного уровня давления в гидроцилиндре 5 при завернутой до упора верхней
гайке 6 и отвернутой через боковые окна в проставке 4 нижней гайке 3. Наличие
зазора между нижней гайкой 3и станиной фиксируется через щель 7. После затяжки
нижняя гайка затягивается до выбора зазора между ней и станиной, а масляная
полость гидродомкрата сообщается со сливом.
Следует сказать, что исходя из теории вопроса и опыта эксплуатации можно
утверждать, что расположенные в ИМ эксцентриковые устройства при надлежащем
исполнении надежно регулируют закрытую высоту КГШП. Но они не способны столь же
надежно выводить пресс из глубокого распора, а тем более предохранять его от
перегрузок. Главная причина этой, по существу имманентной, неспособности лежит
в нестационарном характере трения в шарнирных поверхностях.
Разъемные станины и теоретически и практически не менее жестки, чем
цельные, а их стоимость в конечном итоге не выше стоимости цельных станин, так
как увеличение величины обрабатываемых поверхностей компенсируется уменьшением
массы и габаритов обрабатываемых деталей. Вообще выводить из глубокого распора
лучше средствами прямого увеличения закрытой высоты (в том числе - традиционным
клиновым столом или гидроклиновым устройством, выжигаемым элементом,
гидрогайками), чем устройством, развивающим крутящий момент (фрикционной
муфтой, устройством эксцентриковой регулировки закрытой высоты и пр.).
В заключение рассмотрения новых устройств регулировки закрытой высоты и
вывода КГШП из распора следует отметить, что устройство пригодно лишь для
одновальных КГШП с одноступенчатой клиноременной передачей главного привода и
маховиком на главном валу. Причина в том, что с изменением закрытой высоты при
неподвижной оси быстроходного вала меняется межцентровое расстояние передачи.
Для сочетания регулировки закрытой высоты эксцентриковыми буксами с зубчатой
передачей необходимо эту передачу выполнить как зубчато-рычажный механизм, в
котором рычажная часть представляет собою кривошипно-коромысловый
четырехзвенник (кривошипом служит эксцентриситет букс, шатуном, точнее
спаренными шатунами, - серьги, связывающие оси главного вала и вала шестерни,
коромыслом - серьга, связывающая ось шестерни со станиной).
Другие тенденции развития вспомогательных устройств КГШП - применение
микроприводов и средств технической диагностики, включая датчики усилия на
ползуне.
Рис.
60. КГШП «Hasenclever» ряда VER.
Рис. 61. КГШП «Erie»
Характерной
тенденцией является отказ от традиционной конструкции ИМ КГШП простого действия
в пользу либо компактного четырехзвенного кривошипно-ползунного ИМ, либо ИМ с
промежуточным клином (рис. 58, 60, 61). Эта тенденция особенно ясно проявилась
при создании сверх тяжелых уникальных КГШП
МН,
большинство которых создается на базе указанных новых ИМ. Целью является
увеличение жесткости пресса, создание зоны устойчивого плоского контакта
ползуна со станиной, уменьшение габаритов и массы пресса, ликвидация
крепящегося шпильками разъема шатуна с крышкой, разрушающегося при упругой
отдаче. Во всех компактных ИМ применен рамный ползун, взамен ползуна с хоботом.
Применение клина (рис. 58) примерно вдвое уменьшает усилие, передаваемое на
шатун и главный вал.
Отличие
современных СВ КГШП от традиционных в том, что в большинстве случаев стали
применяться дисковые тормозы, в некоторых случаях - ленточные тормозы с
шарнирно-колодочной лентой. Известны попытки отказаться от раздельного
включения муфт и тормозов с помощью проходящего внутри главного вала штока,
соединяющего через упорный подшипник нажимные диски муфты и тормоза.
Наиболее
существенное изменение, связанное с технологией изготовления КГШП, - переход с
литых станин на сварные.
В
качестве жесткой фиксации зубчатых колес, ступиц и других деталей, передающих
большие крутящие моменты, с главным валом и валами главного привода, ряд фирм
применил так называемые бесшпоночные соединения. Применяется два вида
соединений: через упругие элементы (рис. 62) и на конус. В последнем случае
монтаж ведется с нагревом детали с конусным отверстием, а демонтаж - с помощью
накачки масла высокого давления в специальную проточку сопряженного с валом
конусного отверстия.
КГШП с компактным исполнительным механизмом позволяют значительно
увеличивать как линейную так и угловую жесткость прессов. А так же
металлоемкость конструкции пресса.
На современном этапе развития прессостроения не должно быть взгляда на
КГШП только как на машину, предназначенную для изготовления поковок. Необходимо
понимание, что конечным итогом кузнечно-штамповочного производства являются
поковки большой точностью и требуемыми механическими свойствами. В этой связи
очень важно рассматривать одну систему «машина-поковка», т.е. систему,
способную подстраиваться под требуемую точность производимой поковки.
.9 Современные методы математического моделирования технологических
процессов ГОШ
Современные программные средства реализации численных алгоритмических
моделей расчета напряженно-деформированного состояния (НДС) основаны в
большинстве случаев на конечно-элементной аппроксимации исходных формулировок.
Однако задачи формоизменения металлов сильно отличаются от других задач
анализа деформаций и напряжений, например, в конструкциях. Главное отличие -
это очень большая степень деформации, исчисляемая тысячами процентов, которая
исключает применение программ, предназначенных для прочностного анализа. Такие
известные программы как ANSYS, COSMOS, NASTRAN при всем своем совершенстве не
могут быть использованы в этой области сколько-нибудь эффективно. Моделирование
течения металла в большинстве технологических процессов предполагает
многократное (сотни и тысячи раз за расчет) автоматическое перестроение сетки,
течение металла по поверхности инструмента с трением (контактная нелинейная
задача), связь деформации с полем температуры, выход на качественные параметры
изделия (формирование волокнистой структуры поковки).
Результаты такого уровня и качества могут быть получены только при помощи
специализированных программ, целенаправленно разработанных для данной области
применения.
Здесь выбор программ невелик. В настоящее время на мировом рынке
представлены четыре программы. Вот их названия в алфавитном порядке:
• DEFORM;
• FORGE;
• QForm;
• SuperForge/SuperForm.
Каждая из них имеет свою историю, преимущества и ограничения.раньше всех
появилась на рынке и получила наиболее широкое распространение в США. В
Германии она делит рынок с QForm и FORGE, а в Англии и Швеции, например,
существенно уступает QForm. В России распространяется компанией ТЕСИС наряду с
десятком других инженерных программ разных производителей, что позволяет
усомниться в качестве поддержки потенциальных пользователей. Согласно сайту
компании, количество пользователей на всем пространстве СНГ не превышает 5
заводов и 5 вузов в регионах.- это очень мощная программа, нацеленная на продвинутых
пользователей. Обладает широкими возможностями, но очень сложным интерфейсом.
Используется в основном на наиболее технически продвинутых заводах, где есть
возможность создания специализированного центра моделирования с
высококвалифицированным персоналом. Имеет почти монопольное использование во
Франции (пользуется протекционистской поддержкой французского правительства),
значительно меньше применяется в США, делит рынок с QForm и DEFORM в Германии и
с QForm в Италии. Самая дорогая по цене. В России не продается и не имеет
представительства./SuperForm - проект со сложной судьбой. Первоначально основы
подхода (так называемый метод конечных объемов) и собственно программа
SuperForge были разработаны в Японии. Затем были куплены гигантом на рынке инженерных
программ американской корпорацией MSC. Тогда же MSC купила программу MARC
AutoForm (основанная на методе конечных элементов) вместе с самой компанией
MARC Inc. и переименовала ее в SuperForm. Обе программы были объединены под
общим интерфейсом, что сделало продукт довольно громоздким. Проект оказался
коммерчески несостоятельным, и в марте 2007 года MSC объявила, что прекращает
его разработку и передала права на поддержку и распространение этой программы
компании FEMUTEC в Германии. Дальнейшие перспективы пока неясны.
Наконец, QForm, наверно, единственный российский продукт для инженерного
анализа, который получил широкое распространение во всех индустриально развитых
и быстро развивающихся странах. Этого успеха удалось достичь за счет высокого
научного уровня разработки, использования самых современных технологий
программирования, международной кооперации и стратегически правильного выбора
пути развития в соответствии с основными потребностями пользователей на
наиболее перспективных рынках и видах производств.
Здесь решается 2 и 3-х мерные задачи неизотермического
упруго-вязкопластического формоизменения металла при объемной деформации.
Система QFORM 3D позволяет моделировать нестационарное течение металла
пошаговым методом в условиях неизотермического температурного поля. Результаты
моделирования обеспечивают прогнозирование возможных технологических дефектов,
проверку правильности выбора технологических переходов на стадии проектирования
техпроцесса. Программно обеспечивается высокий уровень автоматизации процедур
решения.
К достоинствам рассмотренных систем следует отнести: возможность
просмотра полного цикла формоизменения и получением информации о НДС на каждом
малом шаге деформации; учет влияния температурного поля заготовки и
механических характеристик деформируемого материала; высокий уровень
интерактивности и графической иллюстративности при пользовании. К недостаткам -
вопросы, связанные с численной реализацией базовых математических моделей на
основе МКЭ. В частности, наличие погрешности в выполнении условия
несжимаемости, проявляющееся в реальных численных потерях объема поковки на
конечной стадии относительно объема исходной заготовки. Различная точность
вычисления скоростей и напряжений, при вариационных формулировках задач,
приводит к весьма значительным погрешностям в оценках усилия деформирования.
Моделирование всех процессов объемной деформации металла в этой работе
проводились в программе QForm v. 4.2.4. Причиной выбора именно этой программы
послужили следующие обстоятельства: во-первых, это то, что компания
QuantorForm, производитель программного продукта QForm, тесно сотрудничает с
кафедрой «Машины и технология обработки металлов давлением» МГИУ; во-вторых,
широкое распространение программы QForm и ее применение многими мировыми машиностроительными
предприятиями не дают усомниться в точности и надежности результатов
моделирования, данным программным продуктом и, в-третьих, QForm обладает
наименее простым интерфейсом по сравнению с рассмотренными выше программными
продуктами для моделирования операций объемной штамповки.
Входная информация для работы QFORM 3D включает сведения о геометрии
начальной заготовки и инструмента, параметры окружающей среды, пластические,
механические и температурные свойства материала заготовки, начальную температуру
заготовки и штампов, а так же параметры используемых смазки и оборудования.
Ввод данных, свойствах материала заготовки и инструмента, параметров
смазки и оборудования построен на заполнении базы данных. Остальные же
параметры операции вводятся непосредственно во время создания операции, с
помощью «мастера создания операций».
Вывод информации производится непосредственно во время расчета. То есть,
предоставлена возможность непосредственно наблюдать за текущими параметрами
расчета на каждом его шаге.
Выходные данные составляют:
графические и табличные сведения об исходных данных;
графические и табличные сведения о зависимостях силы, работы, мощности,
энергии деформирования от хода, времени или угла поворота кривошипа;
поля распределения температур, деформации, скоростей деформации,
сопротивления деформации, работы пластической деформации, среднего напряжения,
показателя Лоде и скоростей вдоль осей в поковке;
поля распределения напряжений, деформаций, перемещений, контактных
давлений и показателя износа в инструменте.
Основная цель при применении данных программ для исследования динамики
КГШП это получение графиков зависимости технологической силы деформирования от
хода ползуна, времени операции или угла поворота кривошипа. По сравнению с
экспериментальным получением этих данных моделирование позволяет получить их с
наименьшими затратами материальных и временных ресурсов.
.10 Цель и задачи работы
В соответствии с поставленной целью работы, а именно: разработать систему
комплексного предохранения КГШП от перегрузок на основе исследования динамики
их нагружения и проведенного обзора, ставятся следующие задачи:
. На основании выясненных разброса массы и начальной температуры в
условиях современного горячештамповочного производства, рассчитать форму и
характер графиков технологического нагружения в процессах горячей объемной
штамповки для различных видов поковок, а так же оценить величины статистических
разбросов конечных сил штамповки при помощи программы конечно-элементного
анализа QForm.
. Подобрать методы предохранения от перегрузок по крутящему моменту на
главном валу КГШП.
. Разработать упруго-пластическую систему предохранения от перегрузок по
силе на ползуне для КГШП.
. Предложить комплексную систему предохранения пресса от перегрузок как
по уровню, т.е. по величине максимальных перегрузок по моменту или силе, так и
статистическую, т.е. по количеству разовых перегрузок.
2. Исследование нагружения КГШП при штамповке
В связи с отсутствием данных о разбросе максимальных сил штамповки в
зависимости от начальных параметров заготовки, а так же из-за дороговизны
такого рода натурных экспериментов, встает необходимость производить
моделирование данных задач в программных продуктах конечно-элементного анализа.
Моделирование процессов горячей объемной штамповки проводилось в
программе конечно-элементного анализа QForm 4.2. Все расчеты проводились для
осесимметричных поковок или поковок с отношением ширины к длине не более 2, так
как в этой работе мы пытались оценить только влияние линейной жесткость пресса
на конечную высоту поковки, перекосы ползуна и угловая жесткость прессов не
учитывались.
В качестве варьируемых начальных параметров принимались: начальная
температура и объем заготовки. В соответствии, с рассмотренным материалом в
разделе 1.5, объем заготовки был взят, как ±1,5% от номинального объема, а
начальная температура ±50 oC от номинальной начальной температуры заготовки.
Для каждой поковки было проведено три расчета. Первый, с максимальным объемом и
с минимальной начальной температурой, второй, соответственно наоборот, с
минимальным объемом и максимальной начальной температурой и третий, с
номинальными значениями начальной температуры и объема заготовки.
Все технологические параметры операции и данные оборудования брались из
конкретных технологических процессов штамповки на КГШП. За исключение
оборудования для штамповки поковки типа «лопатка», данная деталь
изготавливалась на винтовом прессе энергией 1200 кДж. Исходя из максимальной
расчетной силы деформирования в этой операции, для последующего моделирования были
приняты параметры оборудования такие, как у КГШП силой деформирования 80 МН.
По результатам расчетов были построены графики зависимости
технологической силы деформирования от недохода ползуна до крайнего рабочего
положения (рис. 64, 67, 70, 73). Дальнейшее их приведение к силе деформирования
равной 25 МН осуществлялось по теории подобия в следующем порядке:
1) Максимальную приведенную силу деформирования для расчета с
номинальными параметрами заготовки (Рн пр max) принимали равной 25МН;
2) Текущую приведенную силу деформирования заготовки (PП) вычисляли по формуле
где
Рн max - максимальная сила деформирования для заготовки с
номинальными начальными параметрами; P - текущая сила деформирования
заготовки.
3) Величину приведенного недохода ползуна до крайнего рабочего
положения (sП) вычисляли как
где
s - текущий недоход ползуна до КРП.
Моделирования
процесса штамповки «шатун» (рис. 63) проводились со следующими исходными
данными табл. 12.
Рис.
63. Общий вид поковки «шатун».
Таблица
12 Параметры заготовки и оборудования при моделировании процесса штамповки
поковки «шатун»
|
Напряжение текучести, МПа
|
|
параметр
|
величина
|
ед. измерения
|
|
|
Параметры заготовки
|
|
|
Плотность
|
7750
|
|
|
|
Теплопроводность
|
45,5
|
|
|
|
Теплоемкость
|
549
|
|
|
|
Температура плавление
|
1539
|
оС
|
|
Деформация (относит.)
|
|
|
|
|
|
Параметры оборудования
|
|
Зависимость напряжения
текучести от относительной деформации для стали 45Х, при температуре 1000 oC
и скорости деформации равной: а) 0,001 1/с; б) 0,01 1/с; в) 0,1 1/с; г) 1
1/с; д) 10 1/с; е) 100 1/с; ж) 1000 1/с.
|
|
|
Ход ползуна
|
350
|
мм
|
|
Ходов в минуту
|
65
|
|
|
|
|
|
|
Номинальное усилие
|
25
|
МН
|
|
Отношение радиуса кривошипа
к длине шатуна
|
0,18
|
-
|
Результирующие графики зависимости расчетной технологической силы
деформирования от недохода ползуна до КРП для операции штамповки поковки
«шатун» представлены на рис. 64 и рис. 65.
Рис. 64 Расчетная сила деформирования при штамповке поковки «шатун»: 1 -
расчет при максимальном объеме и минимальной начальной температуре заготовки; 2
- расчет при минимальном объеме и максимальной начальной температуре заготовки
Рис. 65. Приведенная расчетная сила деформирования при штамповке поковки
«шатун»: 1 - расчет при максимальном объеме и минимальной начальной температуре
заготовки; 2 - расчет при минимальном объеме и максимальной начальной
температуре заготовки
Моделирования процесса штамповки «лопатка» (рис. 66) проводились со
следующими исходными данными табл. 13.
Рис. 66. Общий вид поковки «лопатка»
Таблица 13. Параметры заготовки и оборудования при моделировании процесса
штамповки поковки «лопатка»
|
Напряжение текучести, МПа
|
|
параметр
|
величина
|
ед. измерения
|
|
|
Параметры заготовки
|
|
|
Плотность
|
7750
|
|
|
|
Теплопроводность
|
28
|
|
|
|
Теплоемкость
|
900
|
|
|
|
Температура плавление
|
1539
|
оС
|
|
Деформация (относит.)
|
|
|
|
|
|
Параметры оборудования
|
|
Зависимость напряжения
текучести от относительной деформации для стали 13Х11Н2В2МФ, при температуре
1000 oC и скорости деформации равной: а) 0,05 1/с; б) 7,5 1/с; в) 150 1/с.
|
|
|
Ход ползуна
|
450
|
мм
|
|
Ходов в минуту
|
30
|
|
|
Номинальное усилие
|
80
|
МН
|
|
Отношение радиуса кривошипа
к длине шатуна
|
0,2
|
-
|
Результирующие графики зависимости расчетной технологической силы
деформирования от недохода ползуна до КРП для операции штамповки поковки
«лопатка» представлены на рис. 67 и рис. 68.
Рис. 67 Расчетная сила деформирования при штамповке поковки «лопатка»: 1
- расчет при максимальном объеме и минимальной начальной температуре заготовки;
2 - расчет при минимальном объеме и максимальной начальной температуре
заготовки
Рис. 68 Приведенная расчетная сила деформирования при штамповке поковки
«лопатка»: 1 - расчет при максимальном объеме и минимальной начальной
температуре заготовки; 2 - расчет при минимальном объеме и максимальной
начальной температуре заготовки
Моделирования процесса штамповки «крестовина» (рис. 69) проводились со
следующими исходными данными табл. 14.
Рис. 69. Общий вид поковки «лопатка»
Таблица 14. Параметры заготовки и оборудования при моделировании процесса
штамповки поковки «крестовина»
|
Напряжение текучести, МПа
|
|
параметр
|
величина
|
ед. измерения
|
|
|
Параметры заготовки
|
|
|
Плотность
|
7530
|
|
|
|
Теплопроводность
|
28
|
|
|
|
Теплоемкость
|
636
|
|
|
|
Температура плавление
|
1539
|
оС
|
|
Деформация (относит.)
|
|
|
|
|
|
Параметры оборудования
|
|
Зависимость напряжения
текучести от относительной деформации для стали 20 ХГНМ, при температуре 1000
oC и скорости деформации равной: а) 0,3 1/с; б) 2 1/с; в) 10 1/с.
|
|
|
Ход ползуна
|
мм
|
|
Ходов в минуту
|
65
|
|
|
Номинальное усилие
|
25
|
МН
|
|
Отношение радиуса кривошипа
к длине шатуна
|
0,18
|
-
|
Результирующие графики зависимости расчетной технологической силы
деформирования от недохода ползуна до КРП для операции штамповки поковки
«лопатка» представлены на рис. 70 и рис. 71.
Рис. 70. Расчетная сила деформирования при штамповке поковки
«крестовина»: 1 - расчет при максимальном объеме и минимальной начальной
температуре заготовки; 2 - расчет при минимальном объеме и максимальной
начальной температуре заготовки
Рис.71. Приведенная расчетная сила деформирования при штамповке поковки
«крестовина»: 1 - расчет при максимальном объеме и минимальной начальной
температуре заготовки; 2 - расчет при минимальном объеме и максимальной
начальной температуре заготовки
Моделирования процесса штамповки «шестерня» (рис. 72) проводились со
следующими исходными данными табл. 15.
Рис. 72. Общий вид поковки «шестерня»
Таблица 15 Параметры заготовки и оборудования при моделировании процесса
штамповки поковки «шестерня»
|
Напряжение текучести, МПа
|
|
параметр
|
величина
|
ед. измерения
|
|
|
Параметры заготовки
|
|
|
Плотность
|
7530
|
|
|
|
Теплопроводность
|
28
|
|
|
|
Теплоемкость
|
636
|
|
|
|
Температура плавление
|
1539
|
оС
|
|
Деформация (относит.)
|
|
|
|
|
|
Параметры оборудования
|
|
Зависимость напряжения
текучести от относительной деформации для стали 20 ХГНМ, при температуре 1000
oC и скорости деформации равной: а) 0,3 1/с; б) 2 1/с; в) 10 1/с.
|
|
|
Ход ползуна
|
305
|
мм
|
|
Ходов в минуту
|
42
|
|
|
Номинальное усилие
|
19,62
|
МН
|
|
Отношение радиуса кривошипа
к длине шатуна
|
0,2
|
-
|
Результирующие графики зависимости расчетной технологической силы
деформирования от недохода ползуна до КРП для операции штамповки поковки
«шестерня» представлены на рис. 73 и рис. 74.
Рис. 73 Расчетная сила деформирования при штамповке поковки «шестерня»: 1
- расчет при максимальном объеме и минимальной начальной температуре заготовки;
2 - расчет при минимальном объеме и максимальной начальной температуре
заготовки
Рис.74. Приведенная расчетная сила деформирования при штамповке поковки
«шестерня»: 1 - расчет при максимальном объеме и минимальной начальной
температуре заготовки; 2 - расчет при минимальном объеме и максимальной
начальной температуре заготовки.
Для более наглядного представления, всех приведенные графики зависимости
силы деформации от недохода ползуна до КРП были сведены в один (рис. 75). Так
же, для удобства сравнения полученных данных представлен график типовой кривой
зависимости технологической силы деформирования от недохода ползуна до КРП
(ЭНИКМАШ).
Выводы
В результате разбросов объема и начальной температуры заготовки
результирующая сила деформирования будет так же различна, а при предположении
того, что жесткость пресса является постоянной величиной, будет изменяться
высота поковок. Увеличение высоты поковок приводит к увеличению объема металла,
который необходимо удалить при последующей обработке резаньем, что
соответственно приведет, к увеличению времени последующей обработки и расходам
на инструмент на единицу поковок. При наличии массового производства, с миллионными
программами выпуска, данное обстоятельство приводит к существенным материальным
потерям машиностроительных предприятий.
Увеличение жесткости прессов необходимо, так как позволяет существенно
повысить годовой экономический эффект при последующей обработке резаньем.
Необходимо оценить, как колебания результирующей силы штамповки поковок
влияют на динамику перегрузок кривошипных прессов, в том числе прессов с
увеличенной жесткостью.
Полученные графики зависимости технологической силы деформирования от
недохода ползуна до крайнего рабочего положения имеют существенное отклонение
от типовой кривой. Это говорит о том, что для получения расчетных результатов
наиболее близких к реальным, необходимо проводить исследования динамики
кривошипных машин по графикам зависимости, полученных, путем моделирования
конкретных технологических процессов в программах конечно-элементного анализа.
Используя полученные данным об отклонении максимальных сил штамповки при
различных сочетаниях технологических факторов (начальной температуры и объема
заготовки) возможно оценить величину отклонения высотных размеров конечной
поковки при помощи уравнений (9) и (10). Принимая эффективную жесткость пресса
силой 25 МН равной 6,6 МН/мм, получим следующие значения высотных отклонений
поковки (табл. 16).
Таблица 16 Отклонения высотных размеров различных видов поковок после их
штамповке на КГШП 25МН
|
Тип поковки
|
Отклонение высоты поковки
от номинала, мм
|
Максимальный диапазон
отклонения высоты поковки, мм
|
|
Vmax Tmin
|
Vmin Tmax
|
|
|
Шатун
|
+0,68
|
-0,68
|
1,36
|
|
Лопатка
|
+1,06
|
-1,06
|
2,12
|
|
Крестовина
|
+0,38
|
-0,38
|
0,76
|
|
Шестерня
|
+0,17
|
-0,17
|
0,34
|
3. Исследование динамики перегрузки и распора КГШП традиционной
конструкции
Так как натурное моделирование таких машин как КГШП чрезвычайно дорого,
исследование динамики процесса перегрузки и распора проводится с помощью
компьютерного моделирования по математической модели. На рис. 76 представлена
математическая модель перегрузки и распора двухвального КГШП традиционной
конструкции разработана руководителем настоящей работы. Результаты исследования
данной математической модели были отражены в [29].
Рис. 76. Структура расчетной схемы: 1 - станина; 2 - безинерционный
элемент с линейной податливостью (технологическое усилие); 3 - ползун; 4 -
шатун; 5 - главный вал; 6 - безинерционный элемент с угловой податливостью
главного вала; 7 - ведомые части муфты; 8 - расположенные на главном валу
ведущие части муфты с приведенными к ним инерциями шестерни и половины
приемного вала; 9 - безинерционный элемент с угловой податливостью,
расположенный на приемном валу; 10 - расположенные на приемном валу элементы
главного привода и фрикционного предохранителя, являющиеся при его срабатывании
ведомыми по отношению к маховику; 11 - маховик
Остальные
обозначения:
,
,
- оси коренных шеек главного вала, шатунной шейки и
опоры главного вала, соответственно;
и
- центры масс шатуна и главного вала, соответственно;
и
-
условные сечения по поверхностям сцепления муфты и фрикционного предохранителя,
соответственно;
и
- углы
поворота кривошипа в прямой и обратной системах отчета, соответственно;
- угол наклона шатуна;
- полный
ход ползуна от его крайнего исходного положения (КИП) до КРП;
и
-
текущий ход и недоход ползуна, соответственно;
,
и
- радиус
кривошипа, кинематическая длина шатуна и коэффициент шатуна, соответственно;
и
- массы
ползуна и шатуна, соответственно;
- момент
инерции шатуна относительно его центра масс;
- момент
инерции главного вала относительно оси
;
,
-
моменты инерции соответствующих элементов;
,
- приведенные к главному валу моменты инерции
соответствующих элементов;
-
линейная жесткость элемента 2;
-
угловая жесткость элемента 6;
-
приведенная к главному валу угловая жесткость элемента 9;
,
,
,
,
,
-
геометрические радиусы и радиусы трения соответствующих шарниров;
,
,
,
-
коэффициенты трения соответствующих шарниров и приведенный коэффициент трения
исполнительного механизма (ИМ);
,
,
-
реакции (равнодействующие всех сил) соответствующих шарниров;
- текущий крутящий момент сил в сечении
;
-
приведенный к главному валу текущий крутящий момент сил в сечении
;
- момент
сцепления муфты;
- приведенный к главному валу момент сцепления
предохранителя;
,
- угол
упругого закручивания элемента 6 и соответствующий ему крутящий момент сил;
,
-
приведенный к главному валу угол упругого закручивания элемента 9 и соответствующий
ему крутящий момент сил, приведенный к тому же валу;
- внешний крутящий момент сил, вращающих маховик,
приведенный к главному валу.
Принимаемые
допущения:
.
Все элементы системы (рис. 76) не разрушаемы.
.
Элементы 1, 3, 4, 5, 7, 8, 10, 11 абсолютно жесткие и инерционные.
.
Элемент 2 обладает линейной податливостью, но не обладает инерцией.
.
Элементы 6 и 9 обладают угловой податливостью, но не обладают инерцией.
.
Соединения в шарнирах беззазорные.
.
Величины радиусов трения несоизмеримо меньше кинематических размеров звеньев
и
, поэтому
этими величинами можно пренебречь при определении сил
,
,
.
.
, поэтому для малых углов синусы, тангенсы и сами углы
в радианной мере тождественны по величине, а косинусы близки к единице.
.
Силы и работы трения в направляющих пары ползун-станина, а также в опорах
качения валов главного привода пренебрежимо малы и не оказывают существенного
влияния на изучаемый процесс. Другими словами, диссипативных факторов, кроме
трения в опорах
,
,
не существует.
.
Ползун вырожден в материальную точку, имеющую массу
.
.
Гравитационные силы и пневматического уравновешивания пренебрежительно малы и
не оказывают существенного влияния на изучаемый процесс.
.
Внешний момент
существенен и достаточен для поддержания циклового
движения системы на холостом ходу (
), но
пренебрежительно мал для учета его влияния на процесс перегрузки.
.
Коэффициенты трения в опорах
,
,
существенно
(несоизмеримо) меньше единицы, контакты в опорах точечные, то есть радиусы
трения могут быть представлены численно как произведения геометрических
радиусов опор на коэффициенты трения в этих опорах.
В качестве базовых параметров КГШП традиционной конструкции было решено
выбрать технические характеристики пресса ЗИЛ-2500 (см. табл. 17), в силу
типовой конструкции данного пресса и наличия полной документации.
Таблица 17 Основные характеристики пресса ЗИЛ - 2500
|
№ п/п
|
Параметр пресса
|
Величина
|
|
1
|
Номинальное усилие,, МН
|
25
|
|
2
|
Номинальный недоход, мм
|
0,32
|
|
3
|
Ход ползуна, мм
|
350
|
|
4
|
Мощность электродвигателя,
кВт
|
130
|
|
5
|
Число оборотов главного
вала, об/мин
|
55
|
|
6
|
Момент инерции ведомых
масс, кг∙м2
|
2300
|
|
7
|
Размеры ползуна в плане, мм
|
1070 x
1120
|
При математическом моделировании процессов перегрузки и распора КГШП
традиционной конструкции будем рассматривать следующие задачи:
показать характер изменения кинематических и силовых параметров в сечении
6 (см. рис. 76) базового пресса при протикании процессов перегрузки и распора.
установить границы применимости статических расчетов при определении
усилия на ползуне и крутящего момента на главном валу.
оценить влияние основных факторов на величину максимальной перегрузки.
Текущее
усилие
деформации элемента 2 при «глухом» ударе задается
через эффективную жесткость
пресса
(рис. 77) и обобщенную координату
или
в начале рабочего (нагруженного) участка хода ползуна
(рис. 77а). При штамповке (77рис. 18б) под
следует
понимать кусочно-линеаризованную величину тангенса угла наклона участков
,
и
к оси абсцисс, которая находится как сумма
податливостей поковки и пресса, то есть величина
на рис.
77б величины реальной осадки поковки по высоте при усилии
на величину линейной деформации пресса при этом
усилии. Другими словами приведенный недоход
с учетом
упругости пресса будет соотноситься с величиной точной осадки поковки
в соответствии с зависимостью
где
- максимальное значение
, а
-
линейная жесткость пресса на участке
.
Соотношения
координат в прямой и обратной системе отсчета
В
соответствии с (12) и (13)
При
«глухом ударе» текущее усилие на ползуне может быть определено по формуле
а) б)
Рис.
77. Изменение усилия деформации элемента 2: а - при «глухом» ударе; б - при
кусочно-линеаризованном графике нагрузки от типовой технологической операции
Соотношения
приведения параметров элементов 9, 10, 11, расположенных на приемном валу
(отмечены знаком *), к главному валу
где
- передаточное отношение приемного вала к главному.
Приведение приемного вала к элементу 8 производится аналогичным образом.
Кинематические
соотношения выражаются следующими зависимостями
,
,
отсчитываются
от крайних исходных положений точек
,
,
,
соответственно, в сторону их крайних рабочих положений.
и
отсчитываются
от оси перемещения точки
, положительное направление - вправо от оси (рис. 76).
Крутящий
момент на главном валу
находим из уравнения элементарных работ
откуда
Угол упругого закручивания элемента 6
где
,
Угол
поворота звена 7
Дальнейший
вид математической модели зависит от величины крутящих моментов в сечениях
и
Если
и
то
математическая модель системы включает следующие уравнения
где
Из
соотношений (19), (20) и (22) выразим ускорение главного вала
Если
,
то
математическая модель пресса описывается двумя независимыми системами
уравнений, решаемыми независимо друг от друга.
Первая
система состоит из уравнений (12) - (20), (24)
.
Из
(20) и (24) определяется ускорение главного вала
Вторая
система состоит из уравнений
где
Из
соотношений (26) выразим ускорение ведущих масс муфты (звена 8 на рис. 76)
Если
,
то
математическая модель пресса описывается 3 независимыми системами уравнений.
Первая
система состоит из уравнений (26).
Вторая
система состоит из уравнений (28).
где
Из
соотношений (28) выразим ускорение ведущих масс муфты (звена 8 на (рис. 76)
Третья
система состоит из уравнения
Алгоритм
численного решения математической модели следующий:
Задаются
начальные условия процесса:
Угловая
скорость главного вала
где
- число непрерывных ходов пресса. Угол начала
приложения технологической нагрузки (угол встречи)
- является варьируемым параметром в процессе
численного эксперимента. Выбирается согласно методике эксперимента.
Для
положения главного вала
определяются все требуемые параметры по зависимостям
(12) - (20). Внешний момент в процессе решения принимается нулевым
.
Ускорение
главного вала
находится из соответствующего уравнения (23) или (25)
следующим образом. Присваивается значение
.
Решаются уравнения (12) - (23). Ищется значение ускорения
из уравнения (23) или (26). Критерием правильности
найденного значения
является нижеследующее условие
при
котором уравнение (23) или (26) обращается в тождество. Поэтому алгоритм
нахождения
сводится к перебору значений
таким образом, чтобы при каждом новом значении
выполнялось условие
Аналогичным
образом рассчитываются ускорения ведущих частей муфты
и маховика
.
Далее
осуществляется решение математической модели в следующем положении главного
вала. Новое значение координаты положения вала
где
- приращение угла (итерационный шаг), выбираемое
таким образом, чтобы обеспечивалась требуемая точность решения.
Новая
угловая скорость главного вала
Из
рис. 78 видно, что при приложении к ползуну пресса резко возрастающей нагрузки,
такой как эффективная жесткость пресса, на главном валу возникают свободные
крутильные колебания (рис. 78в).
а)
б )
в)
Рис. 78. Характер изменения силовых и кинематических величин: а) крутящий
момент на главном валу пресса, угол встречи с заготовкой 120º; б) крутящий момент на главном валу
пресса, угол встречи с заготовкой 160º; кривые 1-5 отбражают расчеты при
следующих условиях: 1 - для безинерционного ИМ; 2 - с учетом инерции только
главного вала; 3 - с учетом инерции главного вала и ползуна; 4 - с учетом
инерции главного вала и шатуна; 5 - для реального ИМ; в) характер изменения
ускорения главного вала при различных числах непрерывных ходов пресса: 4 - при
4 х/мин; 8 - при 8 х/мин; 16 - при 16 х/мин; 32 - при 32 х/мин; 64 - при 64
х/мин
Рис. 79 и 80 показывают, что с увеличением числа ходов пресса возрастает
перегрузка пресса по усилию на ползуне и крутящему моменту на главном валу. При
этом влияние числа ходов на величину перегрузок тем сильнее, чем дальше от КРП
начинается приложение резко возрастающей нагрузки. Это вполне закономерно,
поскольку при значительных недоходах до КРП ползун движется существенно
быстрее, чем вблизи КРП. Соответственно, резкая остановка ползуна под действием
технологической нагрузки приводит к мгновенному замедлению главного вала,
вызывающему значительное ускорение и, соответственно, инерционный момент,
передающийся на опасные сечения вала и ползун. При этом процесс настолько
быстротечен, что диссипация энергии в опорах ИМ и на пробуксовку муфты
незначительна.
Рис. 79. Зависимость максимального усилия на ползуне от угла встречи
ползуна с заготовкой. График технологической нагрузки - типовой линеаризованный
график ГОШ ЭНИКМАШ: 10 - при n=10
х/мин; 20 - при n=20 х/мин; 40 -
при n=40 х/мин; 60 - при n=60 х/мин; 80 - при n=80 х/мин; 100 - при n=100 х/мин
Рис. 80. Зависимость максимального крутящего момента на главном валу от
угла встречи ползуна с заготовкой. График технологической нагрузки - эффективная
жесткость пресса: 10 - при n=10
х/мин; 20 - при n=20 х/мин; 40 -
при n=40 х/мин; 60 - при n=60 х/мин; 80 - при n=80 х/мин; 100 - при n=100 х/мин
а)
б)
Рис. 81. Зависимость максимального крутящего момента на главном валу (а)
и максимального усилия на ползуне (б) от угла встречи ползуна с заготовкой.
Работа на густой смазке: 1 - m=0.03; 2 - m=0.04;
3 - m=0.05; 4 - m=0.06.
Возникновение перегрузки пресса вблизи КРП, где скорость ползуна
стремится к нулю, носит статический характер, о чем свидетельствует стремление
графиков на рис. 79 в одну точку при приближении угла встречи к КРП. То же
можно сказать и о крутящем моменте на главном валу (рис. 80). Поэтому при
нормальных условиях работы пресс можно рассматривать как статическую машину.
График зависимости максимального крутящего момента от угла встречи с заготовкой
(рис. 80) выглядит вполне логично, крутящий момент тем больше, чем больше число
непрерывных ходов пресса, причем это справедливо для всех углов встречи с
заготовкой. Увеличение максимального момента с увеличением скорости вращения
главного вала, объясняется тем, что при этом увеличивается энергия ведомых
масс, соответственно их энергия и вызывает большую перегрузку.
а)
б)
Рис. 82. Зависимость максимального крутящего момента на главном валу (а)
и максимального усилия на ползуне (б) от угла встречи ползуна с заготовкой.
Работа на жидкой смазке: 1 - m=0; 2 - m=0.01; 3 - m=0.02; 4 - m=0.03. Момент сцепления муфты
уменьшен и равен 0.7МН
а)
б)
Рис. 83. Зависимость максимального крутящего момента на главном валу (а)
и максимального усилия на ползуне (б) от угла встречи ползуна с заготовкой: 1 -
при Iпр = 0.4I; 2 - при Iпр =
0.8I; 3 - при Iпр=I; 4 -
при Iпр=1.2I; 5 - Iпр=1.6I, где I - момент инерции ведомых частей муфты. Приведенный
коэффициент трения в ИМ μ = 0.03
Своеобразна зависимость максимального усилия на ползуне для различного
числа ходов (рис. 78). На малых скоростях вращения главного вала кривые
выглядят вполне логично - максимальное усилие возрастает при приближении к КРП.
Это объясняется тем, что при приближении к КРП муфта начинает пробуксовывать
при большем усилии, то есть к моменту пробуксовки пресс накапливает большую
линейную деформацию и, соответственно, усилие. На больших числах ходов
максимальное усилие перегрузки наоборот, начинает падать при приближении угла
встречи к КРП. Это объясняется опять же влияние инерции главного вала. Момент в
сечении I (см. рис. 76) падает с увеличением
инерционности вала, поэтому при больших числах ходов на малых углах муфта
начинает пробуксовывать позже, чем по статическому расчету, а вблизи КРП муфта
начинает пробуксовывать раньше. Этот вывод нуждается в дальнейшей проверке.
Влияние приведенного коэффициента трения в ИМ на величину максимальной
перегрузки по моменту и усилию приведено на рис. 80 и 81. Для работы на жидкой
смазке момент сцепления муфты пересчитан по уравнению элементарных работ и
составляет 0,6 от момента сцепления пресса КГШП ЗиЛ 25 МН - 0,7 МН∙м. Из
графков видно, что коэффициент трения практически не влияет на величину
перегрузки, по усилию. Переход на жидкую смазку ведет к уменьшению момента
сцепления муфты. Это уменьшение приводит к примерно пропорциональному
уменьшению крутящего момента при перегрузке, но оно не значительно. Рис. 83
свидетельствует о существенном влияние ведомых масс на величину перегрузки по
крутящему моменту на главном валу и усилию на ползуне, она меньше, чем меньше
момент инерции ведомых масс. При этом влияние ведомых масс тем больше, чем
дальше от КРП происходит встреча ползуна с заготовкой.
4. Предохранение КГШП от перегрузок
.1 Общая структура системы предохранения
Высокий темп штамповки, все возрастающая жесткость кривошипных прессов и
частые переналадки диктуют необходимость обеспечения их надежной защиты от
перегрузок, и в то же время исключают использование традиционных способов
предохранения. Поэтому необходима система комплексной защиты, основанная на
сочетании статистического предохранения (предохранение по частоте) и
предохранения по уровню перегрузок.
Такая система состоит из:
1. Четырех промышленных пъезодатчиков закрепленных на стойка пресса.
Сами датчики практически безъинерционны по отношению к процессам
перегрузки, но инерционность устройств систем управления и включения,
отключающих ИМ при сигнале о перегрузке, такова, что не позволяет предупредить
первую перегрузку. Фактически ликвидируются лишь последующие перегрузки и
уменьшается, причем весьма существенно, их общее количество в единицу времени,
скажем за 1 год. Долговечность пресса существенно увеличивается, хотя уровень
допустимого усилия на ползуне может быть превзойден. Этот способ
статистического предохранения хорош своей информативностью, точностью,
сравнительной доступностью по начальной цене, сравнительной универсальностью. Но
плох инерционностью, не способностью решить окончательно проблему предохранения
от перегрузки. При этом датчики, не зависимо от своей физической природы,
тарируются в фиксированном положении ползуна установленными в штамповое
пространство пресса гидродомкратами.
. Соответствующей системы управления, которая показывает:
суммарную силу на ползуне с предохранением по величине этой силы;
превышение номинальной силы на одной стойке;
превышение номинальной силы на двух стойках, не диагональных;
эксцентриситет приложенной нагрузки.
. Упруго-пластического предохранителя, по величине приложенной силы к
ползуну.
4. Предохранитель по крутящему моменту.
Как показали исследования, предохранитель по крутящему моменту,
расположенный в маховике практически не работоспособен, а муфта включения (при
использовании ее как устройства предохранения от перегрузок по крутящему
моменту) является очень грубым предохранителем. В связи с этим, предлагается не
применять какие-то ни было устройства предохранения по крутящему моменту, а применять
конструкцию главного вала, способную с запасом выдерживать перегрузки, что
приведет к срабатыванию при перегрузках только упруго-пластического
предохранителя.
Сильно увеличить запас прочности вала можно за счет ухода от
концентраторов напряжения. Добиться этого можно, если применять конструкцию
составного вала, когда отдельно изготовленный эксцентрик одевается на отдельно
изготовленный гладкий вал по средствам горячей или гидропрессовой посадки.
Такая конструкция вала, кроме увеличенного запаса прочности позволяет увеличить
технологичность его изготовления.
.2 Принцип действия упруго-пластического предохранителя кривошипных
прессов от перегрузок
Суть
упруго-пластического предохранения сводится к следующему. Разъемная станина
стягивается сквозными стержнями (шпильками). Принципиальное отличие от
традиционной разъемной станины состоит в способе затяжки стяжных стержней.
Традиционные стяжные стержни изготавливаются нарезкой резьбы на концах катаных
или кованых штанг. Диаметр их средней части примерно равен наружному диаметру
резьбовых концов. Их прочность рассчитывается исходя из их не разрушения, а
затяжка - из условия не раскрытия стыков при любом возможном уровне нагружения
ползуна, включая перегрузку, исходя из того, что станина считается базовым элементом
пресса. При упруго-пластическом предохранении резьбовые концы стяжных стержней
выполняются таких же диаметров
, как у
традиционных стержней. Затяжка же ведется из расчета раскрытия стыков, начиная
с
.
Кривая
развития перегрузок с упруго-пластической системой предохранения носит
характер, показанный на рис. 84, в виде жирной линии «а-б-в-г-е-д». Нагружение
начинается в некоторой точке «а» недохода ползуна до к.р.п. До пробуксовки
муфты нагружение характеризуется кривой «а-б», зависящей от жесткости системы
пресс-заготовка, обобщенной координаты начала протекания процесса, момента
сцепления муфты, коэффициента трения в опорах ИМ и числа непрерывных ходов
пресса. Участок «б-в», кроме выше указанных параметров, зависит от коэффициента
трения скольжения на фрикционных поверхностях муфты. Участок «в-г»
характеризуется упругой деформацией предлагаемого предохранителя, после
раскрытия стыка станины. Он представляет собой линию наклоненную под углом,
определяемым жесткостью деформируемого материала предохранителя. Горизонтальный
участок «г-д» характеризуется пластическим течением материала предохранителя.
Кривая нагружения «а-б-в-г-е-д» может прерваться вертикальной пунктирной линией
«е-ж», проведенной исходя из условия, что заштрихованная площадь контура
«а-б-в-г-е-ж» равна сумме кинетической энергии подвижных масс и работы
электропривода за вычетом потерь, при условии что кривая построена в размерных
координатах
. Кривая нагружения, без предлагаемой системы
предохранения, носит характер кривой «а-б-в-и-к». Она полностью идентична
кривой нагружения пресса с системой предохранения, но только до точки «в».
После точки «в» перегрузка развивается по кривой «в-и» характеризуемой
пробуксовкой муфты и идет до точки «и», положение которой определяется тем же
условием, что и положение точки «е». Видно, что ордината точки «и» значительно
выше ординаты точки «е», и соответствует максимальному усилию перегрузки при отсутствии
системы предохранения.
Рис.
84. Диаграмма нагружения пресса
Можно
считать, что стяжные шпильки подвергаются только растяжению, стойки станины
только сжатию, остальные элементы станины являются абсолютно жесткими, а
зависимость усилие - податливость как для шпилек, так и для стоек имеет
линейный характер. Тогда связь усилия
и
деформаций
может быть представлена известной диаграммой,
показанной на рис. 85.
Рис.
85. Диаграмма податливости.
Линия
ОАВС характеризует жесткость (податливость) стяжных шпилек, а линия АД -
приведенную жесткость (податливость) станины. Деформации шпилек обозначены
, деформации станины
.
- деформации шпилек, соответственно: при затяжке
станины усилием
, когда текущее усилие на ползуне
; при приложении к ползуну текущего усилия
; при расчетном усилии растяжения стержней
, возникающем при приложении к ползуну номинального
усилия; при критическом усилии растяжения стержней в мгновение раскрытия
стыков; при максимально возможном усилии растяжения стержней
, определяемого текучестью их наименьшего диаметра.
- деформации сжатия стоек станины, соответственно:
при затяжке станины (
), при приложении к ползуну текущего усилия
, при приложении к ползуну номинального усилия (
).
-
относительные (безразмерные) усилия на шпильках, соответственно: в затянутом
состоянии (
), расчетное (
),
критическое (в мгновение раскрытия стыков), максимальное, определяемое пределом
текучести номинального диаметра.
Под
действием силы затяжки
стяжные шпильки получают растягивающие деформации
, а стойки станины
сжимающие,
при этом
, вследствие различных жесткостей стяжных шпилек и станины.
Момент раскрытия стыка, соответствует моменту компенсации деформаций сжатия
станины, под действием нарастающего усилия на ползуне, т.е.
, но усилие, действующие на станину не определяет
величину перегрузки, т.к. до момента раскрытия стыка происходит компенсация
усилия затяжки, а после раскрытия стыка усилие на ползуне непосредственно
воспринимается стяжными шпильками (рис. 85).
Датчики,
расположенные на стойках станины, непосредственно измеряют
, вырабатывая электросигнал, пропорциональный
деформациям. При
(
),
электросигнал поступает в систему ответственную за диагностику и
диспетчеризацию, минуя комплексную систему предохранения. При
(
)
электросигнал поступает в систему комплексного предохранения, в результате чего
по команде из системы управления муфта-тормоз останавливает ползун в крайнем
исходном положении, прекращая технологический процесс. Таким образом, в
диапазоне
система работает как статистическая, уменьшая
частоту, но не уровень перегрузок.
При
(
)
элетросигнал останавливает ползун, как и в предыдущем случае. Но благодаря
текучести стержней перегрузка ограничивается значением
. Таким образом, в этом случае система предохраняет по
уровню перегрузок.
Выше
изложенные рассуждения непосредственно применимы для центрального нагружения
ползуна. При внецентральном нагружении алгоритм работы несколько усложняется,
но в целом подобен выше описанному [21].
Из
приведенных рассуждений следует, что упруго-пластические предохранители
обладают ограниченной долговечностью. Теоретически это действительно так.
Практически дело обстоит по-другому. Во-первых, упруго-пластическое
предохранение сочетается со статистическим предохранением, исключающим
неоднократно повторяемые перегрузки. Во вторых, муфта сцепления, в данном
случае, эффективно играет роль предохранителя по моменту, отсекая от
упруго-пластического предохранителя все перегрузки на большом недоходе ползуна
до крайнего рабочего положения. На долю последнего остаются перегрузки в
пределах нескольких миллиметров недохода ползуна до крайнего рабочего
положения, в результате чего пластические деформации стержней достаточно редки.
В третьих, стержни не теряют своих свойств в пределах незначительных пластических
деформаций [24].
.3.
Разработка пластического предохранителя для КГШП силой 25 МН
Конструкция
предлагаемого предохранителя основывается на конструкции рассмотренной в [21].
Отличием предлагаемого предохранителя является то, что стяжные шпильки пресса
не подвергаются изменению, за исключением возможного удлинения. Основная идея
заключается в размещении под гидрогайками стяжных шпилек (рис. 59, б)
контейнеров с пластичным материалом, который начинал бы деформироваться при
заранее рассчитанной силе.
Для
разработки предлагаемого предохранителя необходимо было выявить такие операции
холодной объемной штамповки, при которых сила деформирования пластического
материала не возрастала в течение процесса формоизменения. Для выявления
подобных операция были произведены расчеты в программе QForm, результаты этих
расчетов приведены в таб. 18
Таблица
18. Зависимость силы деформирования от хода ползуна для операций объемной
штамповки
|
№пп
|
Схема операции
|
График зависимости силы
деформирования от хода ползуна
|
|
1
|
|
|
|
2
|
|
|
|
3
|
|
|
|
4
|
|
|
|
5
|
|
|
|
6
|
|
|
|
|
|
|
|
Исходя из соображений ограниченности пространства под гидрогайкой, а так
же из желаемой простоты изготовления комплектующих предохранителя, для
предохранения целесообразно выбрать операцию обратного выдавливания (таб.18
п.3).
Для определения силы, приходящейся на один контейнер предохранителя, а
так же для расчета составляющих деталей было произведено моделирование в
программе QForm v.4.2.
Деформируемым материалом была выбрана медь (М1).
Рис. 86. Конечно-элементная модель в программе QForm
Первоначальная форма заготовки для деформирования так же имеет значение,
так как для того, чтобы сила деформирования в течении процесса, по крайней
мере, не увеличивалась необходимо, чтобы обратное выдавливание проходило на
стадии установившегося режима. Для этого необходимо предварительно продавить
пуансон в заготовку на величину 5÷7 мм.
На рис. 86 представлена конечная модель, применяемая в программе QForm.
На рис. 86 представлены результаты расчета процесса обратного
выдавливания. Одним из основных задач конструкции предохранителя является то,
чтобы не допустить касания зоной очага деформации дна стакана (матрицы). Если
же произойдет такое касание, то процесс деформации пластического материала
заготовки выйдет из установившегося режима и как результат начнется резкий рост
силы деформации.
Разогрев заготовки в процессе деформирования (рис. 86) способствует тому,
что напряжение текучести в областях локального увеличения температуры сильно
уменьшается, что не способствует росту силы деформирования.
Следующим этапом исследования был расчет инструмента. Здесь основным
параметром нас интересующим являлось эквивалентное напряжение в пуансоне и
матрице. Для расчета была выбрана инструментальная сталь Р18.
Общие выводы
Из проведенных расчетов перегрузок, на основании динамической модели
КГШП, разработанной Свистуновым В.Е. было выявлено, что основные направления
исследования следует вести в области перегрузки по моменту. Перегрузка по силе
по нашим расчетам в относительных единицах меньше, но она есть, что так же
подтверждается в ряде выводов, приведенных в обзоре (раздел 1.2.).
В настоящей работе перегрузки исследовались только для двух видов
графиков зависимости технологического усилия от хода ползуна, это типовой
график зависимости (ЭНИКМАШ) и график эффективной жесткости пресса. Очевидно,
что моделирование только на этих графиках не может полностью отразить
возникновение перегрузок, поэтому была решена задача построения графиков
зависимости технологической силы деформации от хода ползуна для конкретных
операций. Для этого взяты 4 типовые поковки: очень низкая - «лопатка», низкие -
«шатун» и «крестовина» и мясистая, осесимметричная - «шестерня». Расчет велся
для различных параметеров начального объема и температуры, определенной на
основе аналитического обзора (раздел 1.5). Было принято, что начальная
температура заготовки варьируется в пределах ±50oС, а объем в приделах ±1,5% от номинальных значений.
Проведенные в программе QForm
исследования показали, что разброс приведенных конечных усилий составил от ±7
МН для поковки «лопатка», ±4,5 МН, для поковки «шатун», ±2,5 МН для поковки
«крестовина» и ±1,1 МН для поковки «шестерня». Кроме того исследования показали
значительные отличия формы графика технологической силы этих операций, как от
друг друга, так и от типовой кривой (ЭНИКМАШ).
Поскольку КГШП испытывает перегрузки и по силе и по моменту необходимо
вести исследования в этих двух направлениях, т.к. показано в разделе 1.4 на
сегодняшний день эффективных предохранителей для КГШП нет.
В области предотвращения перегрузок по силе предложен оригинальный способ
пластического предохранения, основанный на применении процессов холодной
объемной штамповки с условно-постоянной зависимостью силы деформирования от
хода пуансона. Проведенные исследования ряда таких процессов (таб. 18)
позволило сделать вывод, что в условиях ограниченности пространства под гидрогайкой
стяжной шпильки для размещения предохранителя наиболее целесообразно применение
процесса обратного выдавливания (таб. 18 п.3). По результатам исследования
предложено конкретное решение, реализованное в форме эскизного проекта.
Конструкция предохранителя состоит из пяти составных контейнеров, расположенных
под каждой гидрогайкой стяжных шпилек.
Оптимальным материалом для пуансона является сталь Р18, а для
деформируемого материала медь М1. При этом конструкция обладает достаточными
прочностными характеристиками, о чем свидетельствуют проведенные расчеты.
Наряду с пластическим предохранением КГШП предлагается оснастить
комплексом системного контроля усилия на основе тензодатчиков, расположенных на
стяжных шпильках.
Таким образом, не решенными остаются две задачи, требующие дальнейшего
исследования, это:
разработка конструкции предохранителя по крутящему моменту;
исследование перегрузки на основе реальных графиков технологической
нагрузки.
Библиографический список литературы
1. Бузинов Ю.М. Модернизация механических прессов с целью
предохранения их от перегрузок. Сборник «Модернизация кузнечно-штамповочного
оборудовании». Л., Машгиз, 1961.
2. Власов В.И. Системы включения кривошипных прессов. М.
«Машиностроение», 1969.
. Волковицкий В.Ф. К расчёту усилий при перегрузке кривошипных
горячештамповочных прессов. - «Вестник машиностроения», 1960, № 1.
. Гирш И.И. Исследование ломких предохранителей механических
прессов. ЦНИИТМАШ, кн. 17, М., Машгиз, 1949.
. Головин Г.Ф., Зимин Н.В.; под ред. Шамова А.Н. Технология
термической обработки металлов с применением индукционного нагрева. Л. :
Машиностроение, 1990.
. Грикке А.Х. Предохранители кривошипных прессов от перегрузок.
Сборник «Техническая информация», Горький, ГОНТО Машпром, 1957.
. Живов Л.И., Колесников Ф.И. О динамических нагрузках на рамные
основания кривошипных прессов. «Известия вузов Машиностроение», 1969, №9.
. Живов Л.И., Чумаков Б.Н., Дроздов Н.Г. Особенности динамики
кривошипного горячештамповочного пресса для штамповки низких поковок. «Известия
вузов. Машиностроение», 1971, №1.
. Игнатов А.А., Игнатова Т.А. Кривошипные горячештамповочные
прессы. М., Машиностроение, 1974.
. Изотов Е.Н. Исследование динамики привода и предохранительных
устройств кривошипных прессов при перегрузках. Диссертация. Московский
автомеханический институт. М. 1959.
. Изотов Е.Н., Розенблат М.М., Соков В.И. О применении муфты
включения в качестве предохранительного устройства. - «Кузнечно-штамповочное
производство», 1961, № 2.
. Инженерные программы поставляемые ООО ТЕСИС. Deform.
http://tesis.com.ru/software/deform/ (23 нояб. 2007).
13. Компьютерные системы моделирования пластических деформаций:
Учебное пособие / Б.Г. Каплунов, Е.Г. Полищук, Д.С. Жиров, Е.В. Селюнина.
Челябинск: Изд. ЮУрГУ, 2000. - 67 с.
. Ланской Е.Н., Соков В.И., Крук А.Т. О динамических нагрузках в
элементах КГШП при выполнении технологических операций. «Кузнечно-штамповочное
производство», 1983, №3.
. Ланской Е.Н., Банкетов Л.Н. Элементы расчета деталей и узлов
кривошипных прессов. М., Машиностроение, 1966.
. Магазинер В.В., Розенблат М.М., Соков В.И. О расчете
гидропневматических предохранителей листоштамповочных прессов. -
«Кузнечно-штамповочное производство», 1961, № 1.
. Маркович Б.Н. Выбор типа и определение основных параметров
гидропневматических предохранителей кривошипных прессов. -
«Кузнечно-штамповочное производство», 1959, № 9.
. Маркович Б.Н. Исследование гидропневматического предохранителя
кривошипных прессов. Сборник «Расчёт и конструирование кузнечно-прессовых
машин», ЭНИКМАШ, кн. 2, М., Машгиз, 1960.
. Перевертов В.П., Бочаров Ю.А., Марушкин М.Е. Управление
кузнечными машинами в ГПС. - Куйбышев\:Кн. Изд-во, 1986.
. Пруцков Р.Н., Опаренко В.Ф., Родов Г.М., Бугин О.П. Элементы
расчета подшипников гидродинамического трения эксцентрикового вала кривошипных
горячештамповочных прессов, работающих в режиме непрерывных ходов. Сб. ЭНИКМАШ.
Вып. 25, М., НИИМАШ, 1971.
. Расчетно-пояснительная записка к проекту гибкой производственной
системы листовой штамповки из ленты усилием до 1МН. 2-ая редакция в 9-ти книгах.
Завод-втуз при ЗИЛе, М., 1988
. Ровинский Г.Н. Прессовое оборудование листоштамповочных цехов.
М., Машгиз, 1960.
. Родов Г.М., Иванов В.А. О динамических нагрузках в кривошипных
прессах. «Кузнечно-штамповочное производство», 1972, №3.
. Свистунов В.Е. Кузнечно-прессовые машины. Готовится к изданию в
РИЦ МГИУ, 2008
. Соловцов С.С. Безотходная разрезка сортового проката в штампах.
М., Машиностроение, 1985
. Сторожев М.В. при участии Н. Копылова. Основы расчетов
кривошипных прессов. «Вестник промышленности», 1935, №10, 11.
. Тепинкичиев В.К. Экспериментальное исследование срезных
предохранительных муфт. - «Станки и инструменты», 1946, № 10/11.
. ЦБКМ. Типовой расчёт холодновысадочных автоматов КНЧI-7, М.
1962.
. Фейгин М.М. Конструирование и расчёт пружинных предохранителей
кривошипных прессов. - «Кузнечно-штамповочное производство», 1962, № 14.
. Хуан Шу-хуай. Определение расчётного крутящего момента
предохранителей механических прессов. - «Вестник машиностроения», 1958, №1.
. Хупфер П. Динамические нагрузки в кривошипных прессах. -
Кузнечно-штамповочное производство, 1988, №2.
33. FEMUTEC: Simulating Manufacturing.://www.femutec.de/en/solutions/index.html
(25 нояб. 2007).
34. Transvalor : Simulation software for material forming
processes http://www.transvalor.com/forge_gb.php (25 нояб. 2007).