Исследование влияния работы уплотнения на закономерности деформации и уплотнения при горячей штамповке
Лабораторная
работа № 1
ИССЛЕДОВАНИЕ
ВЛИЯНИЯ РАБОТЫ УПЛОТНЕНИЯ НА ЗАКОНОМЕРНОСТИ ДЕФОРМАЦИИ И УПЛОТНЕНИЯ ПРИ ГОРЯЧЕЙ
ШТАМПОВКЕ
Цель работы:
установить закономерности уплотнения и деформации пористой порошковой заготовки
при её горячей штамповке в жесткой матрице.
Пояснения к работе
уплотнение деформация порошковый
заготовка
Для получения низкопористых порошковых и
композиционных материалов разработаны различные способы горячей обработки
давления: статическое прессование, изостатическое и квазиизостатическое
прессование, одно- и двухосная ковка, штамповка, прокатка, экструзия пористого
тела, штамповка свободно насыпанных порошков и др.
При статическом горячем прессовании
(активированное спекание) совмещаются процессы прессования и спекания. Этот
метод широко применяется при формовании плохо прессуемых композиций на основе
боридов, карбидов, силицидов и др. По характеру явлений, происходящих при
горячем прессовании, этот процесс стоит ближе к спеканию, чем к прессованию.
Уплотнение металлических порошков при высоких
температурах прессования
обусловлено процессами вязкого течения компактного материала частиц порошка,
окружающего пору. В зависимости от величины приложенных давлений в основе
изменения плотности могут лежать процессы пластической деформации,
нестационарного и стационарного диффузионного крипа. На скорость уплотнения
пористой заготовки при горячем прессовании оказывают влияние температура
нагрева, давление и длительность выдержки. Обычно давление при горячем
прессовании не превышает
, а время
выдержки составляет несколько минут, но в отдельных случаях они могут иметь
более высокие значения. Однако невысокая производительность процесса и довольно
сложное оборудование ограничивают применение горячего прессования. Горячее
выдавливание металлических порошков и спеченных заготовок применяют при
производстве изделий сложного состава. Процесс позволяет изготавливать трубки,
пластины, низкопористые порошковые длинномерные заготовки различного сечения.
Горячее квазиизостатическое
прессование порошковых материалов осуществляется путем штамповки в «жидкой»
матрице на кузнечно-прессовом оборудовании. При этом в металлической матрице
размешаются вставки из компактного несжимаемого материала (например,
), в которой
имеется полость соответствующей конфигурации, заполненная порошком. При
температуре прессования материал вставки размягчается и передает внешнее
давление, уплотняемому порошковому материалу. Другим вариантом
квазиизостатического прессования является
процесс, включающий формование порошковой
заготовки, ее спекание, предварительную засыпку нагретого керамического порошка
передающей среды в жесткую матрицу (или контейнер), установку в ней нагретой
порошковой заготовки, окончательную засыпку нагретого керамического порошка с
последующим прессованием. По технологии
получают порошковые заготовки,
требующие дополнительной механической обработки.
Одним из наиболее перспективных
способов получения горячепрессованных низкопористых материалов является
динамическое горячее прессование порошковых заготовок в жесткой матрице,
разработанный в ЮРГТУ (НПИ) и названный позже горячей штамповкой
.
включает
операции приготовления порошковой шихты требуемого состава, её дозировки и
холодного прессования, кратковременного нагрева заготовок в различных средах
(при отсутствии необходимости в гомогенизации материала), их допрессовки в
закрытых или открытых штампах на быстроходных прессах и молотах, выбивки и
охлаждения с требуемыми скоростями. При реализации технологии
, наряду с
процессами формообразования изделий и уплотнения пористого материала,
обеспечиваются сращивание частиц на контактных поверхностях и
структурообразование порошкового материала с повышенными функциональными
свойствами. С целью получения порошковых низкопористых изделий с заданным
распределением плотности по их высоте разработаны различные схемы горячего
доуплотнения: одно и двухсторонняя штамповка; штамповка с плавающей (или
подвижной) иглой и плавающей (или неподвижной) матрицей.
В ЮРГТУ (НПИ) предложены перспективные
способы горячей штамповки, обеспечивающие расширение номенклатуры
горячепрессованных порошковых изделий: горячее уплотнение пуансонами,
незаходящими в полость «плавающей» матрицы, позволяющее получать плоские
изделия при снижении усилия штамповки; горячая штамповка с элементами
экструзии, обеспечивающая формообразование элементов деталей сложной формы,
отсутствующих на спеченных заготовках простой формы, а также формирование
структуры горячедеформированных порошковых материалов с повышенными свойствами;
«зонная» штамповка, при которой заготовка подвергается неравномерному нагреву;
горячая штамповка по схеме вдавливания, предусматривающая полный и непрерывный
контакт поверхностей заготовки и формующего инструмента, обеспечивающий
получение детали с продольными пазами; горячая поперечная штамповка, при
которой уплотнение осуществляется в направлении, нормальном осевому перемещению
инструмента в виде дорна. С целью изготовления длинномерных трубчатых деталей
из труднодеформируемых материалов (например, высокомарганцовистой порошковой
стали
) с
повышенными физико-механическими свойствами разработаны комбинированные способы
, сочетающие
осадку и поперечное уплотнение по внутренней и наружной поверхностям нагретой
заготовки.
В общем случае уравнение баланса
работ
имеет вид
, (1.1)
где
- приведенная (удельная) работа
единицы
объема порошкового материала,
;
- удельная работа деформирования
- приведенная работа сил трения;
- потери удельной работы, связанные
с неоднородностью распределения плотности порошкового материала;
-удельная работа формоизменения и
уплотнения.
При оптимальных значениях
геометрического фактора зоны деформации порошковой заготовки
(где
- высота и
диаметр изделия) потери на трение и связанные с неоднородностью распределения
плотности минимальны. Без учета потерь на трение в условиях равномерной
деформации уравнение (1.1) примет вид
.(1.2)
В процессе
пористой
заготовки (рис. 1.1)при наличии технологического зазора
схема
деформированного состояния изменяется от одноосного до одностороннего сжатия.
По мере заполнения полости штампа коэффициент бокового давления
увеличивается
от
, при
наличии технологического зазора, до
на заключительном этапе
. Среднее
значение
составляет
0,94 и напряженное состояние близко к изобарическому. В процессе горячего
уплотнения уменьшается высота заготовки от
до
за счет её осадки и увеличивается
диаметр заготовки за счет заполнения технологического зазора и упругой деформации
матрицы.
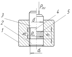
Рисунок 1.1.- Схема
порошковых
материалов.
-давление
;
- боковое
давление; 1-матрица; 2, 3- нижний и верхний пуансоны; 4-нагретая пористая
порошковая заготовка; 5- горячедеформированная заготовка.
Для определения среднего напряжения
и объёмной
деформации
рассмотрим
напряженно-деформированное состояние порошкового материала в процессе
без учета
сил трения, описываемое тензорами напряжений
и деформаций
:
,
,
где
-радиальная;
-высотная
деформации.
Среднее напряжение равно
,
а объёмная деформация определяется как сумма
диагональных членов тензора деформаций:
,
где
и
- объём порошковой заготовки до и
после деформации.
С учетом реологического уравнения
состояния (
, где
-
коэффициент сжимаемости, МПа)сжимаемой пористой среды выражение для приведенной
работы уплотнения единицы объема запишется в виде
.(1.3)
В процессе осевой
порошковых
изделий цилиндрической формы можно принять, что при отсутствии технологического
зазора форма тела не изменяется, а происходит только уплотнение порошкового
материала. При
в условиях
изобарического напряженного состояния
и
равен изотропной части тензора
напряжений
,
,
а девиатор тензора напряжений равен
нулю (
). Тогда
значения приведенных работ деформирования
и уплотнения
равны и
уравнение (1.2) с учетом зависимости
(1.3) примет вид
.
На основе результатов
экспериментальных исследований влияния приведенной работы
на объёмную
деформацию
определим
коэффициент сжимаемости:
.
Для описания закономерностей
уплотнения нагретой пористой заготовки в процессе
проф. Ю.Г.
Дорофеевым предложены политропические, экспоненциальные и логарифмические
уравнения. Экспериментальные закономерности
могут быть описаны уравнениями
уплотнения:
, (1.4)
, (1.5)
где
- максимальная приведенная работа
уплотнения, обеспечивающая получение беспористого материала;
- суммарная работа деформации
единицы пластически смещенного объёма частиц;
- параметры уравнения уплотнения;
- максимальная доля объёма частиц,
пластически деформированных в течение всего процесса уплотнения;
- исходная плотность порошковой
заготовки;
- относительная плотность
горячедеформированного порошкового материала (
);
- плотность компактного материала.
Уравнения (1.4),(1.5) могут быть
представлены в виде линейных функций
,
,
позволяющих определить параметры
уравнений уплотнения на основе экспериментальных данных.
Используя континуальную модель
пористого тела, проф. Л.И. Тучинским получено энергетическое уравнение
уплотнения композиционных материалов, упрочненных дисперсными сферическими
частицами или хаотично ориентированными волокнами, а также неармированных
порошковых материалов при горячей штамповке в жесткой матрице:
,
где
-сопротивление пластической
деформации компактного материала;
-пористость ГДПМ;
- исходная пористость порошковой
заготовки.
Выполнение практической части работы
Оборудование и материалы:
- порошки
и др.;
смеситель;
весы аналитические электрические;
пресс гидравлический;
пресс-формы для холодного
прессования и горячей штамповки;
копер с массой подающих частей
;
печь электрическая;
микрометр;
Порядок выполнения работы:
спрессовать формовки при постоянном
давлении
;
измерить высоту
и диаметр
, определить
массу
, объем
, и
плотность формовки
,
;
определить дисперсию
,
где n -число
опытов,
- средняя плотность формовок;
нагреть пористую холоднопрессованную
формовку в течение
при
температуре
;
провести
при
различных значениях
, м;
измерить высоту
и диаметр
;
взвесить
с облоем
и без облоя
;
определить объём 
и плотность
, высотную
, радиальную
и объемную
деформации;
и
относительную плотность
;
рассчитать
результаты расчета занести в таблицы
1.1-1.4;
построить зависимости
рассчитать параметры
уравнений
уплотнения, приведенных к линейным функциям
:
используя метод наибольших квадратов
;
где N- число
опытов;
сделать выводы и оформить отчет.
Таблица 1.1 - Размеры, плотность и
пористость формовок
|
   Ахп,см   
|
|
|
|
|
|
|
|
|
|
|
1
|
1,6
|
7,16
|
12,72
|
1,27
|
0,909
|
2
|
2,20
|
0,81
|
0,19
|
|
2
|
1,6
|
7,13
|
12,72
|
1,27
|
0,905
|
2
|
2,21
|
0,82
|
0,18
|
|
3
|
1,6
|
6,96
|
12,72
|
1,27
|
0,884
|
2
|
2,26
|
0,84
|
0,16
|
|
4
|
1,6
|
7,07
|
12,72
|
1,27
|
0,898
|
2
|
2,23
|
0,83
|
0,17
|
|
5
|
1,6
|
7,18
|
12,72
|
1,27
|
0,912
|
2
|
2,19
|
0,19
|
|
6
|
1,6
|
7,30
|
12,72
|
1,27
|
0,927
|
2
|
2,16
|
0,80
|
0,20
|
|
7
|
1,6
|
7,07
|
12,72
|
1,27
|
0,898
|
2
|
2,23
|
0,83
|
0,17
|
Таблица 1.2.- Размеры, плотность и пористость
ГДПМ
|
         
|
|
|
|
|
|
|
|
|
|
|
|
1
|
0,065
|
43,86
|
5,41
|
13,39
|
2
|
0,76
|
2,62
|
0,97
|
0,03
|
|
2
|
0,089
|
60,05
|
5,19
|
13,43
|
2
|
0,73
|
2,68
|
1,00
|
0
|
|
3
|
0,13
|
87,71
|
5,12
|
13,46
|
2
|
0,73
|
2,69
|
1,00
|
0
|
|
4
|
0,155
|
104,58
|
5,16
|
13,46
|
2
|
0,73
|
2,69
|
1,00
|
0
|
|
5
|
0,175
|
118,08
|
5,12
|
13,46
|
2
|
0,73
|
1,00
|
0
|
|
6
|
0,089
|
60,05
|
5,30
|
13,49
|
2
|
0,76
|
2,64
|
0,98
|
0,02
|
|
7
|
0,089
|
60,05
|
5,21
|
13,49
|
2
|
0,74
|
2,65
|
0,99
|
0,01
|
|
|
|
|
|
|
|
|
|
|
|
|
|
|
Таблица 1.3.- Значения высотной,
радиальной и объёмной деформаций заготовки при
|
   
|
|
|
|
|
|
1
|
-28,03
|
5,13
|
-17,75
|
0,032
|
|
2
|
-31,76
|
5,43
|
-20,89
|
0,046
|
|
3
|
-30,70
|
5,65
|
-19,39
|
0,037
|
|
4
|
-31,49
|
5,65
|
-20,71
|
0,043
|
|
5
|
-33,81
|
5,65
|
-22,26
|
0,049
|
|
6
|
-32,02
|
5,88
|
-19,86
|
0,039
|
|
7
|
-30,53
|
5,88
|
-19,35
|
0,037
|
Таблица 1.4.- Вспомогательные данные для расчета
параметров уравнений уплотнений
|
      
|
|
|
|
|
|
|
|
|
1
|
3,78
|
0,03
|
0,010
|
0,01
|
127,7
|
0,28
|
0,36
|
|
2
|
0,01
|
0,011
|
0,016
|
|
0,27
|
0,59
|
|
3
|
4,47
|
0,01
|
0,012
|
0,018
|
|
0,47
|
0,82
|
|
4
|
4,65
|
0,01
|
0,011
|
0,018
|
|
0,51
|
1,05
|
|
5
|
4,77
|
0,01
|
0,011
|
0,018
|
|
0,47
|
1,27
|
|
6
|
4,09
|
-0,02
|
0,011
|
0,017
|
|
0,2925342
|
0,56
|
|
7
|
4,09
|
-0,01
|
0,011
|
0,017
|
|
0,34
|
0,54
|
Вывод
В ходе лабораторной работы были установлены
закономерности уплотнения и деформации пористой порошковой заготовки при ГШ в
жесткой матрице, построены зависимости εh
εr
εv
ρгш=f(ωгш);
выявлено, что с увеличением приведенной работы (ωгш)
высотная деформация εh
и
объемная деформация εv,
уменьшаются, а радиальная деформация εr
и плотность ρгш увеличиваться.