Особенности шахтной плавки свинцовых концентратов и конструкции печи

  • Вид работы:
    Реферат
  • Предмет:
    Другое
  • Язык:
    Русский
    ,
    Формат файла:
    MS Word
    93,12 Кб
  • Опубликовано:
    2012-06-16
Вы можете узнать стоимость помощи в написании студенческой работы.
Помощь в написании работы, которую точно примут!

Особенности шахтной плавки свинцовых концентратов и конструкции печи

Министерство образования Российской Федерации

Уральский Федеральный Университет им. Первого президента России Б.Н. Ельцина

Кафедра теплофизики и информатики в металлургии








Реферат

по металлургии цветных металлов

ТЕМА: ОСОБЕННОСТИ ШАХТНОЙ ПЛАВКИ СВИНЦОВЫХ КОНЦЕНТРАТОВ И КОНСТРУКЦИИ ПЕЧИ










Екатеринбург

ВВЕДЕНИЕ

Свинец - один из немногих металлов, который нашел практическое применение уже в глубокой древности. Уже в 5-7 тысячелетиях до нашей эры из свинца делали монеты и медальоны; в Древнем Риме из свинца был построен первый водопровод. Широкое применение свинца было обусловлено тем, что он легкоплавкий и пластичный, поэтому его можно было обрабатывать самыми примитивными методами. Были распространены свинцовые сосуды, трубы, кровельные листы, орнаментальные литые изделия. В Средние века алхимики широко использовали свинец в опытах по получению золота. Свинец получали попутно из серебряных руд, выплавляли в горнах.

В настоящее время свинец является важным промышленным металлом. Его свойства: высокая атомная масса и плотность, коррозионная стойкость, пластичность - обуславливают его применение в различных отраслях. Большая часть свинца используется автомобильной промышленностью - для изготовления аккумуляторов. В химической и металлургической промышленности из него изготовляют футеровки агрегатов, работающих в контакте с агрессивными средами. На основе свинца производятся славы: припои, типографские сплавы, баббиты. Кроме этого, свинец используется для изготовления оболочек кабелей, для защиты от жесткого электромагнитного излучения; для приготовления красителей, антидетонационных добавок в топливо и т.д. По выпуску и потреблению свинец занимает четвертое место, после алюминия, меди и цинка.

Для производства свинца из первичного сырья в основном используется пирометаллургическая технология. Существуют следующие процессы: реакционная плавка, осадительная плавка, восстановительная шахтная плавка.

В данном реферате будет рассмотрена шахтная восстановительная плавка, химизм процессов, лежащих в ее основе, а также конструктивные особенности печи.

1. Общая характеристика шахтной восстановительной плавки

Восстановительная плавка - это наиболее распространенный процесс получения свинца. Она характеризуется универсальностью и высокими технико-экономическими показателями. Цели восстановительной плавки свинцового агломерата:

получить максимальное количество свинца в виде чернового металла, содержащего золото, серебро, медь, висмут, сурьму, мышьяк, олово, теллур;

ошлаковать пустую породу и перевести в шлак максимальное количество цинка.

В настоящее время на большинстве свинцовых заводов восстановительную плавку проводят в шахтных печах, так как в ней легко создать и регулировать восстановительную атмосферу.

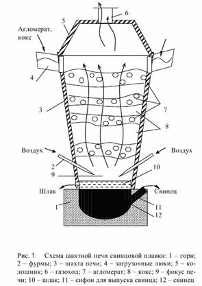
Рис. 1

Исходными материалами для плавки являются офлюсованный свинцовый агломерат, кокс и воздух. Агломерат содержит свинец (35-65%), сопутствующие металлы (медь, цинк, золото, серебро, висмут и т.д.) и все необходимые компоненты для образования шлака. Свинец содержится как в металлическом виде, так и в виде соединений: PbO, PbO·Fe2O3, PbO·SiO2, PbSO4. Также в шихту может добавляться аккумуляторный лом, очищенный от органических материалов. Загрузка агломерата и кокса в печь осуществляется послойно. В нижней части печи (горне) скапливаются жидкие продукты плавки: черновой свинец, штейн, шлак. Выше слоя шлака расположен столб шихты, нижняя часть которого (0,5-1,0 м) состоит из раскаленного кокса (фокус печи). Для горения кокса через фурмы в печь подают сжатый воздух. В результате интенсивного горения кокса температура в фокусе печи достигает 1500 °С. Раскаленные печные газы, проходя через столб шихты, нагревают ее и участвуют в реакциях восстановления окисленных соединений свинца и других металлов. На выходе из печи (в колошнике) газы имеют температуру 200-400 °С. Столб шихты (4-6 м) по мере выгорания кокса и выплавления продуктов плавки медленно опускается вниз (около 1 м/ч) и его пополняют очередными загрузками агломерата и кокса. Жидкие продукты плавки стекают вниз и собираются во внутреннем горне, где вследствие разности плотностей расслаиваются и выпускаются из печи по мере накопления.


Кокс, загружаемый в печь, играет роль топлива и роль восстановителя. Сжигание кокса является основным процессом в шахтной плавке, влияющим на состав газовой фазы и удельную производительность печи. В области фурм кокс сгорает по реакциям

С + О2 = СО2 + 391,86 кДж (1)

С + 0,5О2 = СО + 110,08 кДж (2)

Горячие газы, поднимаясь вверх, нагревают шихту, СО 2 взаимодействуют с раскаленным коксом по реакции Будуара:

СО2 + С = 2СО - Q (3)

Образующийся по реакции (3) оксид углерода (СО) является основным восстановителем в шахтной печи. Восстановление оксидов металлов оксидом углерода происходит в результате протекания реакции:

МеО + СО ⇄ Ме + СО2 (4)

Реакция обратима. В зависимости от условий, в которых протекает реакция, может происходить либо восстановление оксида металла оксидом углерода, либо окисление металла диоксидом углерода СО 2 . Направление протекания реакции в условиях плавки зависит от состава газовой фазы в печи. Для восстановления различных оксидов металлов необходимы различные концентрации оксида углерода и температуры. При восстановительной плавке желательно максимально восстановить свинец, но не восстанавливать цинк до металла, так как он возгоняется, в верх- ней части печи окисляется и образует тугоплавкие настыли. Нежелательно восстанавливать до металла и железо, т .к . оно с углеродом кокса может образовать тугоплавкий чугун и настыли в нижней части печи. Для селективного восстановления свинца, без восстановления цинка и железа в печи создается определенная восстановительная атмосфера (не более 60 % СО). В этих условиях происходит восстановление оксидных соединений свинца по реакциям

PbO + CO = Pb + CO 2 (5) ·Fe2O3 + 2СО = Pb + 2FeO + CO2 (6) ·SiO2 + 2СО = 2Pb + SiO2 + 2 CO2 (7)

Сульфат свинца интенсивно восстанавливается оксидом углерода до сульфида при 550°С по реакции

+ 4CO = PbS + 4CO2 (8)

Сульфид свинца в условиях восстановительной шахтной плавки практически не восстанавливается и переходит в штейн. Прямое извлечение свинца в черновой металл при шахтной восстановительной плавке составляет 90-93 %. При плавке свинцового агломерата вместе со свинцом восстанавливаются окисленные соединения меди, мышьяка, сурьмы, висмута и других цветных металлов. Эти элементы растворяются в расплавленном свинце, образуя черновой металл:

O + CO = 2Cu + CO2 (9) O·Fe2O3 + 2CO = 2Cu + 2FeO + 2CO2 (10) O·SiO2 + CO = 2Cu + SiO2 + 2CO2 (11) O5 + 5CO = 2As + 5CO2 (12) O5 + 5CO = 2Sb + 5CO2 (13) O3 + 3CO = 2Bi + 3CO2 (14)

Если в агломерате оставлено много серы, то оксид меди реагирует с сульфидами других металлов по реакциям

O + FeS = Cu2S + FeO (15) O + PbS = Cu2S + PbO (16)

Металлическая медь также взаимодействует с сульфидами других металлов:

Cu + FeS = Cu2S + Fe (17)

и при плавке образуется сплав сульфидов меди, железа, свинца - штейн. Медь при плавке с получением штейна на 70-80 % переходит в штейн, при безштейновой плавке на 85 % переходит в свинец. При температуре 1100°С начинается процесс образования жидкого шлака, оканчивающийся полным расплавлением шихты. В шлак переходят оксиды кальция, кремния, алюминия, магния. При восстановительной свинцовой плавке высшие оксиды железа восстанавливаются до FeO, который в присутствии кремнезема легко образует силикаты (2 FeO·SiO2):

Fe 2O 3 + СО = 2Fe 3O 4 + СО 2 (18) O4 + СО = 3FeO + СО 2 (19)

FeO + SiO2 = 2FeO·SiO2 (20)

3. Продукты шахтной восстановительной плавки

Продуктами шахтной восстановительной плавки являются черновой свинец, шлак, штейн, шпейза и пыль. Жидкие продукты плавки скапливаются в горне печи. Вследствие различия в объемных массах и малой взаимной растворимости в горне шахтной печи образуется три четко разграниченных слоя: нижний слой - черновой свинец, средний - штейн и верхний - шлак. Черновой свинец, получаемый при плавке свинцовых концентратов, всегда содержит примеси: медь, сурьму, мышьяк, олово, висмут, благородные металлы и другие элементы. В черновом свинце может содержаться, %: 92-98 Pb; 1-5 Cu; 0,5-2 As; 0,5-2 Sb; 0,1-0,2 Bi; 0,01-0,05 Te; 1 000-1 500 г/т Ag; 50-100 г/т Au. Общее содержание примесей достигает от 2 до 10 %.

Шлак представляет собой многокомпонентный расплав, формирующийся из оксидов пустой породы и специально вводимых флюсов. Шлак служит для отделения компонентов пустой породы от чернового свинца и других ценных продуктов плавки (штейна и шпейзы). Шлаки свинцовой плавки должны иметь температуру плавления 1100-1150 °С, вязкость при 1200 °С - около 0,5 Па·с, плотность - не более 3,5-3,8 г/см 3 . Шлаки с такими свойствами содержат, %: 20-30 SiO2 ; 30-40 FeO; 10-18 CaO. Важной особенностью шлаков свинцовой плавки является наличие в них окиси цинка - 5-25 %. Сумма компонентов SiO2, FeO, СaO и ZnO в шлаке может достигать 90 % и даже более. Со шлаками шахтной плавки теряется 2 -3 % свинца. На 60 -75 % свинец в шлаке присутствует в металлическом состоянии, на 8 -10 % - в виде сульфида и на 15 -20 % - в виде окисленных соединений (силикатов, ферритов).

Штейн свинцового производства включает сульфиды железа, свинца, меди и цинка. Во всех медно-свинцовых штейнах присутствуют растворенные металлы: свинец, медь, железо, серебро, золото. В зависимости от характера сырья и принятой технологии получают медно-свинцовые штейны различного состава, %: 7-40 Cu, 16-45 Fe, 20-25 S, 8-17 Pb. Штейн - нежелательный продукт плавки, так как для переработки его с целью извлечения меди, свинца и благородных металлов необходимы сложные дополнительные переделы, сопряженные с затратами топлива, материалов и с потерями металлов. Плавка с получением штейна особенно нежелательна, если в свинцовых концентратах содержится много цинка. При плавке сульфид цинка распределяется между штейном и шлаком, затрудняя разделение этих продуктов. Плавку с образованием штейна ведут в том случае, если в агломерате содержание меди более 2-3 %.

При заметном содержании в шихте мышьяка в условиях восстановительной атмосферы образуется шпейза - расплав арсенидов металлов. Шпейза более тугоплавкая и тяжелая, чем штейн (плотность 5,6 - 6,0 г/см3, температура плавления 1370-1420К). Она размещается в горне печи между свинцом и штейном. Отделение и переработка шпейз сопряжена с большими трудностями. Состав шпейз колеблется в пределах, %: 2-15 Pb; 2-34 Cu; 20-50 Fe; 18-30 As; 1-6 Sb; 0,001-0,01 Au; 0,015-0,2 Ag.

Пыли свинцового производства - ценное полиметаллическое сырье. В процессе шахтной восстановительной плавки в пыли переходит до 70 % Tl, 55 % Se, 40-50 % Te, около 2 5 % In, а также значительная часть кадмия, германия и других ценных компонентов сырья. Средний состав пылей шахтной печи, %: 45-55 свинца; 10-20 цинка; 2-3 кадмия; 0,3-3 мышьяка; 0,03-0,5 селена; 0,04-0,2 теллура; 0,005-0,02 таллия; 0,002-0,02 индия; 0,005-0,01 германия; 3-7 серы.

4. Конструктивные особенности шахтной печи

Шахтная печь представляет собой агрегат с вертикальным рабочим пространством, в которое сверху загружают специально подготовленную шихту и кокс, а снизу через фурмы вдувают воздух. В шахте происходит нагрев и расплавление шихты, сопровождаемое химическими реакциями, в результате чего получают черновой металл и шлак, а иногда штейн и шпейза. Шахтная печь свинцовой плавки состоит из следующих основных частей: внутреннего горна с сифонами, шахты с фурмами, колошника с загрузочным устройством, отстойника. Площадь сечения печи в области фурм 2-5 м2. Внутренний горн расположен на массивном бетонном фундаменте. Стены горна толщиной 600-800 мм выложены из огнеупорного кирпича. Кладка горна заключена в плотный стальной сварной кожух, стянутый металлическими тягами. По длине и ширине горн соответствует размерам печи в области фурм. Горн постоянно заполнен расплавом. В нижней его части собирается свинец, а в верхней - шлак. Свинец из горна выпускают непрерывно через сифон. Шлак выпускается из внутреннего горна периодически через специальное отверстие (шпур), которое расположено в торце печи немного ниже фурм, или непрерывно через сифон.

Шахта печи выполнена из стальных водоохлаждаемых кессонов. Кессоны делают сварными из котельного железа с толщиной внутренней стенки 10-14 мм и наружной 6 -8 мм, расстояние между стенками равно 100 -150 мм. В нижнюю часть кессона под напором подается холодная вода, в верхней части кессона вода отводится с температурой 60 -70 0С. Обычно шахта печи состоит из двух рядов кессонов. Кессоны длинных стенок шахты устанавливают обычно под углом 5 -7 град к вертикали. Это приводит к расширению верхней части шахты, что способствует снижению скорости отходящих газов и сокращению выноса пыли из печи. Кессоны торцевых стенок всегда устанавливают вертикально. При работе печи на внутренней стороне кессонов образуется корка из застывших продуктов плавки (гарнисаж), предохраняющая кессоны от разрушения.

Воздух в печь подают через специальные устройства - фурмы, охлаждаемые водой. Фурменные отверстия в кессоне расположены на высоте 300 - 400 мм от нижнего его края. Диаметр отверстий равен 100 - 125 мм. Число фурм в печи достигает 30-40. Воздух подводят к фурмам через кольцевой коллектор, который соединен с фурмами гибкими рукавами. Расход воздуха (дутья) колеблется в пределах 25 -50 м3/мин на 1 м 2 площади сечения печи в области фурм. Давление воздуха, вдуваемого в печь, составляет 13-26 кПа, в зависимости от крупности и пористости перерабатываемого материала.

Рис. 2

Колошник служит для загрузки шихты и отвода газов из печи. Он представляет собой металлический водоохлаждаемый каркас, заполненный огнеупорным кирпичом. Иногда колошник кессонируют. Загрузку материала в печь производят через окна в колошнике, расположенные вдоль длинных сторон печи (по 3 -4 с каждой стороны). В шахтную печь загружают крупнокусковой материал (20-100 мм). Загрузка идет послойно: слой агломерата, слой кокса, слой агломерата, слой кокса и т.д. Отходящие из печи газы имеют температуру 200-400 °С и содержат значительное количество пыли (8-17 г/м 3). После пылеочистки (в циклонах и рукавных фильтрах) их выбрасывают в атмосферу.

Применение печей сложного профиля с двумя рядами фурм позволит увеличить время пребывания шихты в атмосфере восстановительных газов, в результате этого полнее происходят химические процессы, и, как следствие, снижается расход кокса на 6 - 10 % и увеличивается извлечение свинца на 0,5-0,7 %; кроме того, в таких печах воздух и газы распределяются более равномерно, сокращается скорость их движения, уменьшается пылевынос, сокращается расход кокса и увеличивается проплав печи, который составляет 70 -100 т/м2 сут по сечению нижних фурм. Впервые печь такого типа была построена в 1935 г. на заводе «Порт - Пири» (Австралия). В 50-х гг. печи сложного профиля начали эксплуатировать в Западной Европе на заводах: «Нуайель - Годо» (Франция), «Хобокен» (Бельгия), «Ла-Пертусола» (Италия), «Лауриум» (Греция). В 1966-1969 гг. аналогичные печи были построены в США на заводах «Геркулениум», «Бьюик», «Гловер» и «Ист-Халена», а также на Чимкентском свинцовом заводе. Ширина такой печи в области нижнего ряда фурм составляет 1,6 м, а в области верхнего ряда - 3 м. Расстояние между верхним и нижним рядами фурм составляет около 1 м. Давление дутья в нижнем ряду составляет 9,8-19,6 кПа, в верхнем ряду - 2,5-2,9 кПа. Такое расположение фурм способствует равномерному прохождению газов через слой шихты по всему сечению печи. Колошник печей переменного сечения открытый, и газы отсасываются через газозаборное устройство, опущенное в шихту.

В целях снижения расхода кокса ведутся исследования по замене его природным газом. Природный газ обладает рядом преимуществ по сравнению с твердым и жидким топливом. Газ просто и легко транспортируется к потребителю. Его легче смешивать с окислителем, что дает возможность сжигать газ с меньшим избытком воздуха и поэтому эффективнее и экономичнее.

Хорошие результаты были достигнуты при частичной замене кокса природным газом, с одновременным подогревом дутья. Исследования показали, что при подогреве дутья природным газом до 650°С печь устойчиво работала с удельным расходом кокса на 25% меньше, чем с холодным дутьем, при этом производительность печи была на 6 -10 % выше. Температура колошниковых газов снизилась на 160 °С. Однако содержание свинца в шлаке в этом случае повысилось. Опытные плавки с нагретым дутьем и при снижении расхода кокса не более чем на 20 % от обычного расхода позволили получить шлаки при плавке с меньшим содержанием свинца, чем при плавке на холодном дутье.

В результате длительных испытаний при плавке свинцового агломерата в шахтных печах с дутьем, нагретым природным газом, были установлены следующие оптимальные условия плавки: температура дутья - 620-700 °С, удельный расход кокса - 11,5 %, расход природного газа на нагрев воздуха - 300 м 3 /ч, суммарный расход условного топлива - 13,8 %, удельная производительность - 47 т/ м2 сут, содержание свинца в шлаке - 1,5 %.

ЗАКЛЮЧЕНИЕ

шлак шахтный печь кокс

В данном реферате были рассмотрены особенности шахтной восстановительной плавки свинцовых концентратов. В результате можно сделать вывод, что шахтная плавка обладает следующими особенностями: универсальность процесса (можно перерабатывать и богатое и бедное сырье), сравнительно высокое прямое извлечение свинца в металл (около 93 %), высокая комплексность использования сырья, высокая производительность оборудования непрерывного действия. Недостатком процесса являются сравнительно большой расход дорогостоящего дефицитного кокса и высокая запыленность газов, требующая сложную систему пылеулавливания; а также большое число продуктов плавки, требующих специальной переработки.

СПИСОК ЛИТЕРАТУРЫ

1.  Набойченко С.С. Процессы и аппараты цветной металлургии: Учебник для вузов [Текст] / С.С. Набойченко, Н.Г. Агеев, А.П. Дорошкевич, В.П. Жуков, Е.И. Елисеев, С.В. Карелов, А.Б. Лебедь. - Екатеринбург: УГТУ, 1997. - 648 с.

2.       Марченко Н.В. Металлургия тяжелых цветных металлов [Электронный ресурс] : электрон. учеб. пособие / Н.В. Марченко, Е.П. Вершинина, Э.М. Гильдебрандт. Режим доступа: http://library.krasu.ru›ft/ft/_umkd/1821/u_manual.pdf

.        Уткин Н.И. Металлургия цветных металлов. Учебник для вузов [Текст]. М., Металлургия, 1985. - 440 с.

Похожие работы на - Особенности шахтной плавки свинцовых концентратов и конструкции печи

 

Не нашли материал для своей работы?
Поможем написать уникальную работу
Без плагиата!
Без нейросетей!