Технология конструкционных материалов
Государственное
образовательное учреждение высшего
профессионального образования
Северо-Западный государственный заочный технический университет
Кафедра
материаловедения и технологии материалов и покрытий
Конспект лекций по дисциплинам
Технология конструкционных
материалов"
для специальностей: 151001.65
- "Технология машиностроения"
150202.65 –"Оборудование
и технология сварочного производства"
Технология материалов и покрытий
Специальность:
150501.65 –"Материаловедение в машиностроении"
Санкт-Петербург
2008
ЛЕКЦИЯ
1
Основы
металлургического производства. Производство чугуна
Основы
металлургического производства
Современное
металлургическое производство и его продукция
Современное металлургическое
производство представляет собой комплекс различных производств, базирующихся на
месторождениях руд и коксующихся углей, энергетических комплексах. Оно
включает:
– шахты и карьеры по добыче руд и
каменных углей;
– горно-обогатительные комбинаты,
где обогащают руды, подготавливая их к плавке;
– коксохимические заводы
(подготовка углей, их коксование и извлечение из них полезных химических
продуктов);
– энергетические цехи для
получения сжатого воздуха (для дутья доменных печей), кислорода, очистки
металлургических газов;
– доменные цехи для выплавки чугуна и ферросплавов или
цехи для производства железорудных металлизованных окатышей;
– заводы для производства
ферросплавов;
– сталеплавильные цехи
(конвертерные, мартеновские, электросталеплавильные);
– прокатные цехи (слиток в
сортовой прокат).
Основная продукция чёрной
металлургии:
– чугуны: передельный,
используемый для передела на сталь, и литейный, для производства фасонных
отливок;
– железорудные металлизованные
окатыши для выплавки стали;
– ферросплавы (сплавы железа с
повышенным содержанием марганца, кремния, ванадия, титана и т.д.) для
легированных сталей;
– стальные слитки для производства
проката,
– стальные слитки для изготовления
крупных кованых валов, дисков (кузнечные слитки).
Основная продукция цветной металлургии:
– слитки цветных металлов для
производства проката;
– слитки для изготовления отливок
на машиностроительных заводах;
– лигатуры – сплавы цветных
металлов с легирующими элементами для производства сложных легированных
сплавов;
– слитки чистых и особо чистых
металлов для приборостроения и электротехники.
Материалы
для производства металлов и сплавов
Для производства чугуна, стали и
цветных металлов используют руду, флюсы, топливо, огнеупорные материалы.
Промышленная руда – горная порода, из которой целесообразно извлекать
металлы и их соединения (содержание металла в руде должно быть не менее 30…60 %
для железа, 3..5% для меди, 0,005…0,02 % для молибдена).
Руда состоит из минералов,
содержащих металл или его соединения, и пустой породы. Называют руду по одному
или нескольким металлам, входящим в их состав, например: железные,
медно-никелевые.
В зависимости от содержания
добываемого элемента различают руды богатые и бедные. Бедные руды обогащают –
удаляют часть пустой породы.
Флюсы – материалы, загружаемые в плавильную печь для
образования легкоплавкого соединения с пустой породой руды или концентратом и
золой топлива. Такое соединение называется шлаком.
Обычно шлак имеет меньшую
плотность, чем металл, поэтому он располагается над металлом и может быть
удален в процессе плавки. Шлак защищает металл от печных газов и воздуха. Шлак
называют кислым, если в его составе преобладают кислотные оксиды (
), и основным, если в его
составе больше основных оксидов (
).
Вводят в виде агломерата и
окатышей.
Топливо – в металлургических печах используется кокс,
природный газ, мазут, доменный (колошниковый) газ.
Кокс получают сухой перегонкой при
температуре 1000 0С (без доступа воздуха) каменного угля коксующихся
сортов. В коксе содержится 80…88 % углерода, 8…12 % золы, 2…5 % влаги. Куски
кокса должны иметь размеры 25…60 мм. Это прочное неспекающееся топливо, служит
не только горючим для нагрева, но и химическим реагентом для восстановления
железа из руды.
Огнеупорные материалы применяют для изготовления внутреннего облицовочного
слоя (футеровки) металлургических печей и ковшей для расплавленного металла.
Они способны выдержать нагрузки
при высоких температурах, противостоять резким изменениям температуры,
химическому воздействию шлака и печных газов.
По химическим свойствам
огнеупорные материалы разделяют на группы: кислые (кварцевый песок, динасовый
кирпич), основные (магнезитовый кирпич, магнезитохромитовый кирпич),
нейтральные (шамотный кирпич).
Взаимодействие основных
огнеупорных материалов и кислых шлаков, и наоборот, может привести к разрушению
печи.
Углеродистый кирпич и блоки
содержат до 92 % углерода в виде графита, обладают повышенной огнеупорностью.
Применяются для кладки лещади доменных печей, электролизных ванн для получения
алюминия, тиглей для плавки и разливки медных сплавов.
Производство
чугуна
Чугун – сплав железа и углерода с
сопутствующими элементами (содержание углерода более 2,14 %).
Для выплавки чугуна в доменных
печах используют железные руды, топливо, флюсы.
К железным рудам относятся:
– магнитный железняк (
) с содержанием железа 55…60
%, месторождения – Соколовское, Курская магнитная аномалия (КМА);
– красный железняк (
) с содержанием железа 55…60 % ,
месторождения – Кривой Рог, КМА;
– бурый железняк (гидраты оксидов
железа 2Fe2O3 * 3H2O и Fe2O3
* H2O) c содержанием железа 37…55 % – Керчь.
Марганцевые руды применяются для
выплавки сплава железа с марганцем – ферромарганца ( 10…82%
), а также передельных чугунов,
содержащих до 1% марганца. Mарганец в рудах содержится в виде окислов и карбонатов:
и др..
Хромовые руды применяются для
производства феррохрома, металлического хрома и огнеупорных материалов –
хромомагнезитов.
Топливом для доменной плавки служит кокс, возможна частичная
замена газом, мазутом.
Флюсом является известняк
или доломитизированный известняк, содержащий
и
, так как в шлак должны входить основные оксиды
(
), которые необходимы
для удаления серы из металла.
Подготовка руд к доменной
плавке осуществляется для повышения
производительности доменной печи, снижения расхода кокса и улучшения качества
чугуна.
Метод подготовки зависит от
качества руды.
Дробление и сортировка руд по крупности служат для получения кусков
оптимальной величины, осуществляются с помощью дробилок и классификаторов.
Обогащение руды основано на различии физических свойств
минералов, входящих в ее состав:
а) промывка – отделение плотных
составляющих от пустой рыхлой породы;
б) гравитация (отсадка) –
отделение руды от пустой породы при пропускании струи воды через дно
вибрирующего сита: пустая порода вытесняется в верхний слой и уносится водой, а
рудные минералы опускаются;
в) магнитная сепарация –
измельчённую руду подвергают действию магнита, притягивающего железосодержащие
минералы и отделяющего их от пустой породы.
Окусковывание производят для переработки концентратов в кусковые
материалы необходимых размеров. Применяют два способа окусковывания:
агломерацию и окатывание.
При агломерации шихту, состоящую
из железной руды (40…50 %), известняка (15…20 %), возврата мелкого агломерата
(20…30 %), коксовой мелочи (4…6 %), влаги (6…9 %), спекают на агломерационных
машинах при температуре 1300…1500 0С. При спекании из руды удаляются
вредные примеси (сера, мышьяк), разлагаются карбонаты, и получается кусковой
пористый офлюсованный агломерат,
При окатывании шихту из
измельчённых концентратов, флюса, топлива увлажняют и при обработке во
вращающихся барабанах она приобретает форму шариков-окатышей диаметром до 30
мм. Их высушивают и обжигают при температуре 1200…1350 0С.
Использование агломерата и
окатышей исключает отдельную подачу флюса– известняка в доменную печь при
плавке.
Выплавка
чугуна
Чугун выплавляют в печах шахтного
типа – доменных печах.
Сущность процесса получения чугуна
в доменных печах заключается в восстановлении оксидов железа, входящих в состав
руды оксидом углерода, водородом и твердым углеродом, выделяющимся при сгорании
топлива.
При выплавке чугуна решаются
задачи:
1.
Восстановление железа из окислов
руды, науглероживание его и удаление в виде жидкого чугуна определённого
химического состава.
2.
Оплавление пустой породы руды,
образование шлака, растворение в нём золы кокса и удаление его из печи.
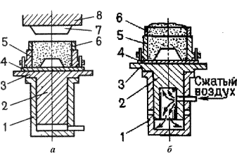
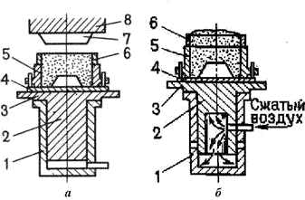
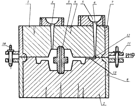
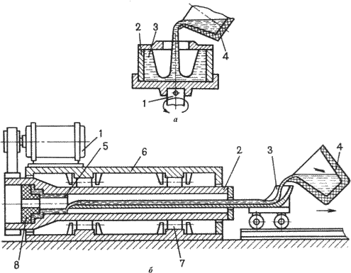
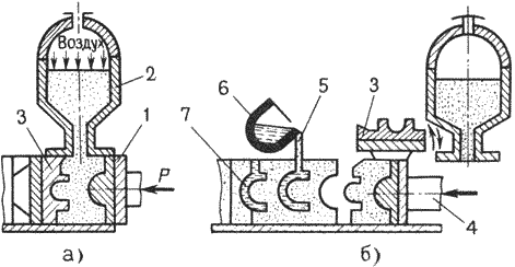
Устройство и работа доменной
печи.
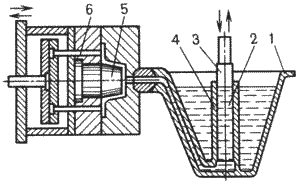
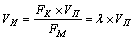
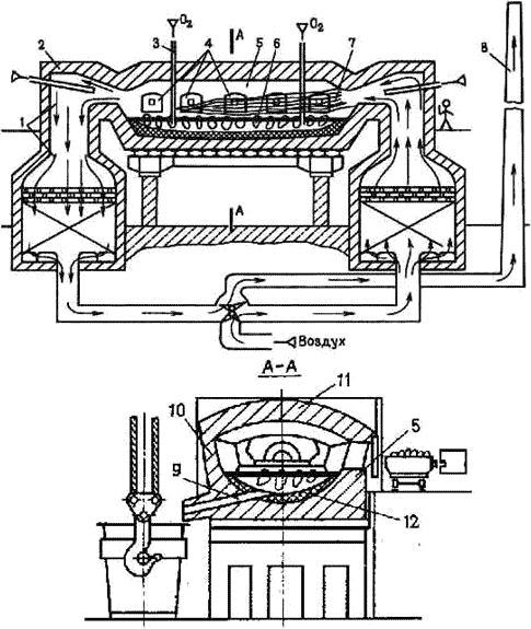
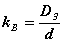
Доменная печь (рис. 1.1) имеет
стальной кожух, выложенный огнеупорным шамотным кирпичом. Рабочее пространство
печи включает колошник 6, шахту 5, распар 4, заплечики 3,
горн 1, лещадь 15.
Рис.
1.1. Устройство доменной печи
В верхней части колошника
находится засыпной аппарат 8, через который в печь загружают шихту.
Шихту подают в вагонетки 9 подъемника, которые передвигаются по мосту 12
к засыпному аппарату и, опрокидываясь, высыпают шихту в приемную воронку 7
распределителя шихты. При опускании малого конуса 10 шихта попадает в
чашу 11, а при опускании большого конуса 13 – в доменную печь,
что предотвращает выход газов из доменной печи в атмосферу.
При работе печи шихтовые
материалы, проплавляясь, опускаются, а через загрузочное устройство подают
новые порции шихты, чтобы весь полезный объ¨м был заполнен.
Полезный объем печи – объем,
занимаемый шихтой от лещади до нижней кромки большого конуса засыпного аппарата
при его опускании.
Полезная высота доменной печи (Н)
достигает 35 м, а полезный объем – 2000…5000 м3.
В верхней части горна находятся
фурменные устройства 14, через которые в печь поступает нагретый воздух,
необходимый для горения топлива. Воздух поступает из воздухонагревателя, внутри
которого имеются камера сгорания и насадка из огнеупорного кирпича, в которой
имеются вертикальные каналы. В камеру сгорания к горелке подается очищенный
доменный газ, который, сгорая, образует горячие газы. Проходя через насадку,
газы нагревают ее и удаляются через дымовую трубу. Через насадку пропускается
воздух, он нагревается до температуры 1000…1200 0С и поступает к
фурменному устройству, а оттуда через фурмы 2 – в рабочее пространство
печи. После охлаждения насадок нагреватели переключаются.
Горение топлива. Вблизи фурм природный газ и углерод кокса,
взаимодействуя с кислородом воздуха, сгорают:
В результате горения выделяется
большое количество теплоты, в печи выше уровня фурм развивается температура
выше 2000 0С.
Продукты сгорания взаимодействуют
с раскаленным коксом по реакциям:
Образуется смесь восстановительных
газов, в которой окись углерода
является главным восстановителем железа из его
оксидов. Для увеличения производительности подаваемый в доменную печь воздух
увлажняется, что приводит к увеличению содержания восстановителя.
Горячие газы, поднимаясь, отдают
теплоту шихтовым материалам и нагревают их, охлаждаясь до 300…400 0С
у колошника.
Шихта (агломерат, кокс) опускается
навстречу потоку газов, и при температуре около 570 0С начинается
восстановление оксидов железа.
Восстановление железа в
доменной печи.
Закономерности восстановления
железа выявлены академиком Байковым А.А.
Восстановление железа происходит
по мере продвижения шихты вниз по шахте и повышения температуры от высшего
оксида к низшему, в несколько стадий:
Температура определяет характер протекания
химических реакций.
Восстановителями окcидов железа
являются твердый углерод, оксид углерода и водород.
Восстановление твердым углеродом
(коксом) называется прямым восстановлением, протекает в нижней части
печи (зона распара), где более высокие температуры, по реакции:
Восстановление газами (
и
) называется косвенным восстановлением,
протекает в верхней части печи при сравнительно низких температурах, по
реакциям:
За счет
и
восстанавливаются все высшие оксиды железа до
низшего и 40…60 % металлического железа.
При температуре 1000…1100 0C
восстановленное из руды тв¨рдое железо, взаимодействуя с оксидом углерода,
коксом и сажистым углеродом, интенсивно растворяет углерод. При насыщении
углеродом температура плавления понижается и на уровне распара и заплечиков
железо расплавляется (при температуре около 1300 0С).
Капли железоуглеродистого сплава,
протекая по кускам кокса, дополнительно насыщаются углеродом (до 4%),
марганцем, кремнием, фосфором, которые при температуре 1200 0C
восстанавливаются из руды, и серой, содержащейся в коксе.
В нижней части доменной печи
образуется шлак в результате сплавления окислов пустой породы руды, флюсов и
золы топлива. Шлаки содержат
. Шлак образуется постепенно, его состав
меняется по мере стекания в горн, где он скапливается на поверхности жидкого
чугуна, благодаря меньшей плотности. Состав шлака зависит от состава применяемых
шихтовых материалов и выплавляемого чугуна.
Чугун выпускают из печи каждые 3…4
часа через чугунную летку 16, а шлак – каждые 1…1,5 часа через шлаковую
летку 17 (летка – отверстие в кладке, расположенное выше лещади).
Летку открывают бурильной машиной,
затем закрывают огнеупорной массой. Сливают чугун и шлак в чугуновозные ковши и
шлаковозные чаши.
Чугун поступает в
кислородно-конвертерные или мартеновские цехи, или разливается в изложницы
разливочной машиной, где он затвердевает в виде чушек-слитков массой 45 кг.
Продукты
доменной плавки
Основным продуктом доменной
плавки является чугун
Передельный чугун предназначается
для дальнейшего передела в сталь. На его долю приходится 90 % общего
производства чугуна. Обычно такой чугун содержит 3,8…4,4 % углерода, 0,3…1,2 %
кремния, 0,2…1 % марганца, 0,15…0,20 % фосфора, 0,03…0,07 % серы.
Литейный чугун применяется после переплава на машиностроительных
заводах для получения фасонных отливок.
Кроме чугуна в доменных печах
выплавляют
Ферросплавы – сплавы железа с кремнием, марганцем и другими
элементами. Их применяют для раскисления и легирования стали.
Побочными продуктами доменной
плавки являются шлак и доменный газ.
Из шлака изготовляют шлаковату,
цемент, удобрения (стараются получить гранулированный шлак, для этого его
выливают на струю воды).
Доменный газ после очистки
используется как топливо для нагрева воздуха, вдуваемого в печь.
Важнейшие
технико-экономические показатели работы доменных печей
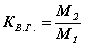
1. Коэффициент использования
полезного объёма доменной печи (КИПО) – это отношение полезного
объема печи V (м3) к ее среднесуточной производительности Р
(т) выплавленного чугуна.
(м3/т)
Чем ниже КИПО, тем выше
производительность печи. Для большинства доменных печей КИПО = 0,5…0,7 (для
передовых – 0,45)
2.Удельный расход кокса, К
– это отношение расхода кокса за сутки А(т) к количеству чугуна,
выплавленного за это же время Р(т).
Удельный расход кокса в доменных
печах составляет 0,5…0,7 (для передовых – 0,36…0,4)
K – важный показатель, так как стоимость кокса
составляет более 50% стоимости чугуна.
ЛЕКЦИЯ
2
Процессы
прямого получения железа из руд. Производство стали
Процессы
прямого получения железа из руд
Под процессами прямого получения
железа понимают такие химические, электрохимические или химико-термические
процессы, которые дают возможность получать непосредственно из руды, минуя
доменную печь, металлическое железо в виде губки, крицы или жидкого металла.
Такие процессы ведутся, не
расходуя металлургический кокс, флюсы, электроэнергию (на подготовку сжатого
воздуха), а также позволяют получить очень чистый металл.
Методы прямого получения железа
известны давно. Опробовано более 70 различных способов, но лишь немногие
осуществлены и притом в небольшом промышленном масштабе.
В последние годы интерес к этой
проблеме вырос, что связано, помимо замены кокса другим топливом, с развитием
способов глубокого обогащения руд, обеспечивающих не только высокого содержания
железа в концентратах (70…72%), но и почти полное освобождение его от серы и
фосфора.
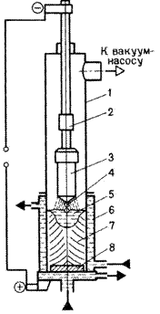
Получение губчатого железа
в шахтных печах.
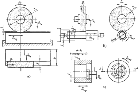
Схема процесса представлена на
рис. 2.1.
Рис. 2.1. Схема установки для
прямого восстановления железа из руд и получения металлизованных окатышей
При получении губчатого железа
добытую руду обогащают и получают окатыши. Окатыши из бункера 1 по грохоту 2
поступают в короб 10 шихтозавалочной машины и оттуда в шахтную печь 9,
работающую по принципу противотока. Просыпь от окатышей попадает в бункер 3 с
брикетировочным прессом и в виде окатышей вновь поступает на грохот 2.
Для восстановления железа из окатышей в печь по трубопроводу 8 подают смесь
природного и доменного газов, подвергнутую в установке 7 конверсии, в
результате которой смесь разлагается на водород
и оксид углерода
. В восстановительной зоне печи В создается
температура 1000…1100 0C, при которой
и
восстанавливают железную руду в окатышах до
твёрдого губчатого железа. Содержание железа в окатышах достигает 90…95%. Для
охлаждения железных окатышей по трубопроводу 6 в зону охлаждения 0 печи
подают воздух. Охлаждённые окатыши 5 выдаются на конвейер 4 и поступают на
выплавку стали в электропечах.
Восстановление железа в
кипящем слое
Мелкозернистую руду или концентрат
помещают на решётку, через которую подают водород или другой восстановительный газ
под давлением 1,5 МПа. Под давлением водорода частицы руды находятся во
взвешенном состоянии, совершая непрерывное движение и образуя «кипящий»,
«псевдосжиженый» слой. В кипящем слое обеспечивается хороший контакт
газа-восстановителя с частицами оксидов железа. На одну тонну восстановленного
порошка расход водорода составляет 600…650 м3.
Получение губчатого железа
в капсулах-тиглях.
Используют карбидокремниевые
капсулы диаметром 500 мм и высотой 1500 мм. Шихта загружается концентрическими
слоями. Внутренняя часть капсулы заполнена восстановителем – измельченным твердым
топливом и известняком (10…15%) для удаления серы. Второй слой –
восстанавливаемая измельченная руда или концентрат, окалина, затем еще один
концентрический слой – восстановителя и известняка. Установленные на вагонетки
капсулы медленно перемещаются в туннельной печи длиной до 140 м, где происходит
нагрев, выдержка при 1200 0C и охлаждение в течение 100 часов.
Восстановленное железо получают в
виде толстостенных труб, их чистят, дробят и измельчают, получая железный
порошок с содержанием железа до 99 %, углерода – 0,1…0,2%.
Производство стали
Сущность процесса
Стали – железоуглеродистые сплавы, содержащие практически
до 1,5% углерода, при большем его содержании значительно увеличиваются
твёрдость и хрупкость сталей и они не находят широкого применения.
Основными исходными материалами
для производства стали являются передельный чугун и стальной лом (скрап).
Содержание углерода и примесей в
стали значительно ниже, чем в чугуне. Поэтому сущность любого металлургического
передела чугуна в сталь – снижение содержания углерода и примесей путем их
избирательного окисления и перевода в шлак и газы в процессе плавки.
Железо окисляется в первую очередь
при взаимодействии чугуна с кислородом в сталеплавильных печах:
.
Одновременно с железом окисляются
кремний, фосфор, марганец и углерод. Образующийся оксид железа при высоких
температурах отдаёт свой кислород более активным примесям в чугуне, окисляя их.
Процессы выплавки стали
осуществляют в три этапа.
Первый этап – расплавление шихты и
нагрев ванны жидкого металла.
Температура металла сравнительно
невысокая, интенсивно происходит окисление железа, образование оксида железа и
окисление примесей: кремния, марганца и фосфора.
Наиболее важная задача этапа –
удаление фосфора. Для этого желательно проведение плавки в основной печи, где
шлак содержит
.
Фосфорный ангидрид
образует
с оксидом железа нестойкое соединение
. Оксид кальция
– более сильное основание, чем оксид железа,
поэтому при невысоких температурах связывает
и переводит его в шлак:
.
Для удаления фосфора необходимы
невысокие температура ванны металла и шлака, достаточное содержание в шлаке
. Для повышения содержания
в шлаке и ускорения
окисления примесей в печь добавляют железную руду и окалину, наводя железистый
шлак. По мере удаления фосфора из металла в шлак, содержание фосфора в шлаке
увеличивается. Поэтому необходимо убрать этот шлак с зеркала металла и заменить
его новым со свежими добавками
.
Второй этап – кипение металлической
ванны – начинается по мере прогрева до более высоких температур.
При повышении температуры более
интенсивно протекает реакция окисления углерода, происходящая с поглощением
теплоты:
.
Для окисления углерода в металл
вводят незначительное количество руды, окалины или вдувают кислород.
При реакции оксида железа с
углеродом, пузырьки оксида углерода
выделяются из жидкого металла, вызывая «кипение
ванны». При «кипении» уменьшается содержание углерода в металле до требуемого,
выравнивается температура по объ¨му ванны, частично удаляются
неметаллические включения, прилипающие к всплывающим пузырькам
, а также газы, проникающие в
пузырьки
. Вс¨ это
способствует повышению качества металла. Следовательно, этот этап - основной в
процессе выплавки стали.
Также создаются условия для
удаления серы. Сера в стали находится в виде сульфида (
), который растворяется также в основном шлаке.
Чем выше температура, тем большее количество сульфида железа
растворяется в шлаке и
взаимодействует с оксидом кальция
:
Образующееся соединение
растворяется в шлаке, но не
растворяется в железе, поэтому сера удаляется в шлак.
Третий этап – раскисление стали
заключается в восстановлении оксида железа, растворённого в жидком металле.
При плавке повышение содержания
кислорода в металле необходимо для окисления примесей, но в готовой стали
кислород – вредная примесь, так как понижает механические свойства стали,
особенно при высоких температурах.
Сталь раскисляют двумя способами:
осаждающим и диффузионным.
Осаждающее раскисление осуществляется
введением в жидкую сталь растворимых раскислителей (ферромарганца,
ферросилиция, алюминия), содержащих элементы, которые обладают большим
сродством к кислороду, чем железо.
В результате раскисления
восстанавливается железо и образуются оксиды:
, которые имеют меньшую плотность, чем сталь, и
удаляются в шлак.
Диффузионное раскисление
осуществляется раскислением шлака. Ферромарганец, ферросилиций и алюминий в
измельчённом виде загружают на поверхность шлака. Раскислители, восстанавливая
оксид железа, уменьшают его содержание в шлаке. Следовательно, оксид железа,
растворённый в стали переходит в шлак. Образующиеся при этом процессе оксиды
остаются в шлаке, а восстановленное железо переходит в сталь, при этом в стали
снижается содержание неметаллических включений и повышается ее качество .
В зависимости от степени
раскисления выплавляют стали:
а) спокойные,
б) кипящие,
в) полуспокойные.
Спокойная сталь получается при
полном раскислении в печи и ковше.
Кипящая сталь раскислена в печи
неполностью. Ее раскисление продолжается в изложнице при затвердевании слитка,
благодаря взаимодействию оксида железа и углерода:
,
Образующийся оксид углерода
выделяется из стали,
способствуя удалению из стали азота и водорода, газы выделяются в виде
пузырьков, вызывая её кипение. Кипящая сталь не содержит неметаллических
включений, поэтому обладает хорошей пластичностью.
Полуспокойная сталь имеет
промежуточную раскисленность между спокойной и кипящей. Частично она
раскисляется в печи и в ковше, а частично – в изложнице, благодаря
взаимодействию оксида железа и углерода, содержащихся в стали.
Легирование стали осуществляется
введением ферросплавов или чистых металлов в необходимом количестве в расплав.
Легирующие элементы, у которых сродство к кислороду меньше, чем у железа (
), при плавке и разливке не
окисляются, поэтому их вводят в любое время плавки. Легирующие элементы, у
которых сродство к кислороду больше, чем у железа (
), вводят в металл после раскисления или
одновременно с ним в конце плавки, а иногда в ковш.
Способы выплавки стали
Чугун переделывается в сталь в
различных по принципу действия металлургических агрегатах: мартеновских печах,
кислородных конвертерах, электрических печах.
Производство стали в
мартеновских печах
Мартеновский процесс (1864-1865, Франция).
В период до семидесятых годов являлся основным способом производства стали.
Способ характеризуется сравнительно небольшой производительностью, возможностью
использования вторичного металла – стального скрапа. Вместимость печи
составляет 200…900 т. Способ позволяет получать качественную сталь.
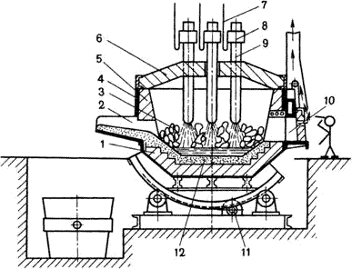
Мартеновская печь (рис.2.2.) по
устройству и принципу работы является пламенной отражательной регенеративной
печью. В плавильном пространстве сжигается газообразное
топливо или мазут. Высокая
температура для получения стали в расплавленном состоянии обеспечивается
регенерацией тепла печных газов.
Современная мартеновская печь
представляет собой вытянутую в горизонтальном направлении камеру, сложенную из
огнеупорного кирпича. Рабочее плавильное пространство ограничено снизу подиной
12, сверху сводом 11, а с боков передней 5 и задней 10 стенками. Подина
имеет форму ванны с откосами по направлению к стенкам печи. В передней стенке
имеются загрузочные окна 4 для подачи шихты и флюса, а в задней – отверстие 9
для выпуска готовой стали.
Рис.2.2.
Схема мартеновской печи
Характеристикой рабочего
пространства является площадь пода печи, которую подсчитывают на уровне порогов
загрузочных окон. С обоих торцов плавильного пространства расположены головки
печи 2, которые служат для смешивания топлива с воздухом и подачи этой смеси в
плавильное пространство. В качестве топлива используют природный газ, мазут.
Для подогрева воздуха и газа при
работе на низкокалорийном газе печь имеет два регенератора 1.
Регенератор – камера, в которой
размещена насадка – огнеупорный кирпич, выложенный в клетку, предназначен для
нагрева воздуха и газов.
Отходящие от печи газы имеют
температуру 1500…1600 0C. Попадая в регенератор, газы нагревают
насадку до температуры 1250 0C. Через один из регенераторов подают
воздух, который проходя через насадку нагревается до 1200 0C и
поступает в головку печи, где смешивается с топливом, на выходе из головки
образуется факел 7, направленный на шихту 6.
Отходящие газы проходят через
противоположную головку (левую), очистные устройства (шлаковики), служащие для
отделения от газа частиц шлака и пыли и направляются во второй регенератор.
Охлажд¨нные газы покидают печь
через дымовую трубу 8.
После охлаждения насадки правого
регенератора переключают клапаны, и поток газов в печи изменяет направление.
Температура факела пламени
достигает 1800 0C. Факел нагревает рабочее пространство печи и
шихту. Факел способствует окислению примесей шихты при плавке.
Продолжительность плавки
составляет 3…6 часов, для крупных печей – до 12 часов. Готовую плавку выпускают
через отверстие, расположенное в задней стенке на нижнем уровне пода. Отверстие
плотно забивают малоспекающимися огнеупорными материалами, которые при выпуске
плавки выбивают. Печи работают непрерывно, до остановки на капитальный ремонт –
400…600 плавок.
В зависимости от состава шихты,
используемой при плавке, различают разновидности мартеновского процесса:
– скрап-процесс, при котором шихта
состоит из стального лома (скрапа) и 25…45 % чушкового передельного чугуна,
процесс применяют на заводах, где нет доменных печей, но много металлолома.
– скрап-рудный процесс, при
котором шихта состоит из жидкого чугуна (55…75 %), скрапа и железной руды,
процесс применяют на металлургических заводах, имеющих доменные печи.
Футеровка печи может быть основной
и кислой. Если в процессе плавки стали, в шлаке преобладают основные оксиды, то
процесс называют основным мартеновским процессом, а если кислые –
кислым.
Наибольшее количество стали
производят скрап-рудным процессом в мартеновских печах с основной футеровкой.
В печь загружают железную руду и
известняк, а после подогрева подают скрап. После разогрева скрапа в печь
заливают жидкий чугун. В период плавления за счет оксидов руды и скрапа
интенсивно окисляются примеси чугуна: кремний, фосфор, марганец и, частично,
углерод. Оксиды образуют шлак с высоким содержанием оксидов железа и марганца
(железистый шлак). После этого проводят период «кипения» ванны: в печь
загружают железную руду и продувают ванну подаваемым по трубам 3 кислородом. В
это время отключают подачу в печь топлива и воздуха и удаляют шлак.
Для удаления серы наводят новый
шлак, подавая на зеркало металла известь с добавлением боксита для уменьшения
вязкости шлака. Содержание
в шлаке возрастает, а
уменьшается.
В период «кипения» углерод
интенсивно окисляется, поэтому шихта должна содержать избыток углерода. На
данном этапе металл доводится до заданного химического состава, из него
удаляются газы и неметаллические включения.
Затем проводят раскисление металла
в два этапа. Сначала раскисление идет путем окисления углерода металла, при
одновременной подаче в ванну раскислителей – ферромарганца, ферросилиция,
алюминия. Окончательное раскисление алюминием и ферросилицием осуществляется в
ковше, при выпуске стали из печи. После отбора контрольных проб сталь выпускают
в ковш.
В основных мартеновских печах
выплавляют стали углеродистые конструкционные, низко- и среднелегированные
(марганцовистые, хромистые), кроме высоколегированных сталей и сплавов, которые
получают в плавильных электропечах.
В кислых мартеновских печах
выплавляют качественные стали. Применяют шихту с низким содержанием серы и
фосфора.
Стали содержат меньше водорода и
кислорода, неметаллических включений. Следовательно, кислая сталь имеет более
высокие механические свойства, особенно ударную вязкость и пластичность, е¨
используют для особо ответственных деталей: коленчатых валов крупных
двигателей, роторов мощных турбин, шарикоподшипников.
Основными технико-экономическими
показателями производства стали в мартеновских печах являются:
·
производительность печи – съ¨м
стали с 1м2 площади пода в сутки (т/м2 в сутки), в
среднем составляет 10 т/м2; р
·
расход топлива на 1т выплавляемой
стали, в среднем составляет 80 кг/т.
С укрупнением печей увеличивается
их экономическая эффективность.
Производство стали в
кислородных конвертерах.
Кислородно-конвертерный процесс –
выплавка стали из жидкого чугуна в конвертере с основной футеровкой и продувкой
кислородом через водоохлаждаемую фурму.
Первые опыты в 1933-1934 –
Мозговой.
В промышленных масштабах – в
1952-1953 на заводах в Линце и Донавице (Австрия) – получил название
ЛД-процесс. В настоящее время способ является основным в массовом производстве
стали.
Кислородный конвертер – сосуд
грушевидной формы из стального листа, футерованный основным кирпичом.
Вместимость конвертера – 130…350 т
жидкого чугуна. В процессе работы конвертер может поворачиваться на 360 0
для загрузки скрапа, заливки чугуна, слива стали и шлака.
Шихтовыми материалами
кислородно-конвертерного процесса являются жидкий передельный чугун, стальной
лом (не более 30%), известь для наведения шлака, железная руда, а также боксит
и плавиковый шпат
для разжижения шлака.
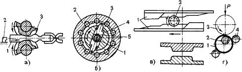
Последовательность технологических
операций при выплавке стали в кислородных конвертерах представлена на рис. 2.3.
Рис.2.3.
Последовательность технологических операций при выплавке стали в кислородных
конвертерах
После очередной плавки стали
выпускное отверстие заделывают огнеупорной массой и осматривают футеровку,
ремонтируют.
Перед плавкой конвертер наклоняют,
с помощью завалочных машин загружают скрап рис. (2.3.а), заливают чугун при
температуре 1250…1400 0C (рис. 2.3.б).
После этого конвертер поворачивают
в рабочее положение (рис. 2.3.в), внутрь вводят охлаждаемую фурму и через
не¨ подают кислород под давлением 0,9…1,4 МПа. Одновременно с началом
продувки загружают известь, боксит, железную руду. Кислород проникает в металл,
вызывает его циркуляцию в конвертере и перемешивание со шлаком. Под фурмой
развивается температура 2400 0C. В зоне контакта кислородной струи с
металлом окисляется железо. Оксид железа растворяется в шлаке и металле,
обогащая металл кислородом. Растворенный кислород окисляет кремний, марганец,
углерод в металле, и их содержание падает. Происходит разогрев металла теплотой,
выделяющейся при окислении.
Фосфор удаляется в начале продувки
ванны кислородом, когда ее температура невысока (содержание фосфора в чугуне не
должно превышать 0,15 %). При повышенном содержании фосфора для его удаления
необходимо сливать шлак и наводить новый, что снижает производительность
конвертера.
Сера удаляется в течение всей
плавки (содержание серы в чугуне должно быть до 0,07 %).
Подачу кислорода заканчивают,
когда содержание углерода в металле соответствует заданному. После этого
конвертер поворачивают и выпускают сталь в ковш (рис. 2.3.г), где раскисляют
осаждающим методом ферромарганцем, ферросилицием и алюминием, затем сливают
шлак (рис. 2.3.д).
В кислородных конвертерах
выплавляют стали с различным содержанием углерода, кипящие и спокойные, а также
низколегированные стали. Легирующие элементы в расплавленном виде вводят в ковш
перед выпуском в него стали.
Плавка в конвертерах вместимостью
130…300 т заканчивается через 25…30 минут.
ЛЕКЦИЯ
3
Производство стали.
Производство цветных металлов
Производство стали
Производство стали в
электропечах
Плавильные электропечи имеют
преимущества по сравнению с другими плавильными агрегатами:
а) легко регулировать тепловой
процесс, изменяя параметры тока;
б) можно получать высокую
температуру металла,
в) возможность создавать
окислительную, восстановительную, нейтральную атмосферу и вакуум, что позволяет
раскислять металл с образованием минимального количества неметаллических
включений.
Электропечи используют для
выплавки конструкционных, высоколегированных, инструментальных, специальных
сплавов и сталей.
Различают дуговые и индукционные
электропечи.
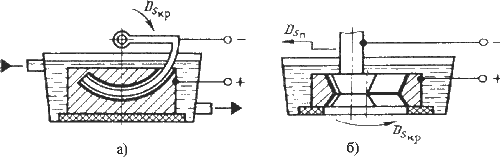
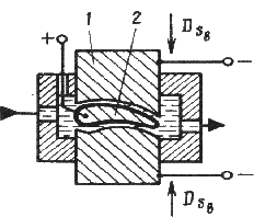
Дуговая плавильная печь.
Схема дуговой печи показана на
рис. 3.1.
Рис.3.1.
Схема дуговой плавильной печи
Дуговая печь питается трёхфазным
переменным током. Имеет три цилиндрических электрода 9 из
графитизированной массы, закреплённых в электрододержателях 8, к которым
подводится электрический ток по кабелям 7. Между электродом и
металлической шихтой 3 возникает электрическая дуга. Корпус печи имеет форму
цилиндра. Снаружи он заключён в прочный стальной кожух 4, внутри
футерован основным или кислым кирпичом 1. Плавильное пространство
ограничено стенками 5, подиной 12 и сводом 6. Съёмный свод
6 имеет отверстия для электродов. В стенке корпуса рабочее окно 10
(для слива шлака, загрузки ферросплавов, взятия проб), закрытое при плавке
заслонкой. Готовую сталь выпускают через сливное отверстие со сливным желобом 2.
Печь опирается на секторы и имеет привод 11 для наклона в сторону
рабочего окна или желоба. Печь загружают при снятом своде.
Вместимость печей составляет
0,5…400 тонн. В металлургических цехах используют электропечи с основной
футеровкой, а в литейных – с кислой.
В основной дуговой печи
осуществляется плавка двух видов:
а) на шихте из легированных
отходов (методом переплава),
б) на углеродистой шихте (с
окислением примесей).
Плавку на шихте из легированных
отходов ведут без окисления примесей.
После расплавления шихты из металла удаляют серу, наводя основной шлак, при
необходимости науглероживают и доводят металл до заданного химического состава.
Проводят диффузионное раскисление, подавая на шлак измельченные ферросилиций,
алюминий, молотый кокс. Так выплавляют легированные стали из отходов
машиностроительных заводов.
Плавку на углеродистой шихте применяют для производства конструкционных сталей. В
печь загружают шихту: стальной лом, чушковый передельный чугун, электродный бой
или кокс, для науглероживания металлов и известь. Опускают электроды, включают
ток. Шихта под действием электродов плавится, металл накапливается в подине
печи. Во время плавления шихты кислородом воздуха, оксидами шихты и окалины
окисляются железо, кремний, фосфор, марганец, частично, углерод. Оксид кальция
из извести и оксид железа образуют основной железистый шлак, способствующий
удалению фосфора из металла. После нагрева до 1500…1540 0C загружают
руду и известь, проводят период «кипения» металла, происходит дальнейшее
окисление углерода. После прекращения кипения удаляют шлак. Затем приступают к
удалению серы и раскислению металла заданного химического состава. Раскисление
производят осаждением и диффузионным методом. Для определения химического
состава металла берут пробы и при необходимости вводят в печь ферросплавы для
получения заданного химического состава. Затем выполняют конечное раскисление
алюминием и силикокальцием, выпускают сталь в ковш.
При выплавке легированных сталей в
дуговых печах в сталь вводят легирующие элементы в виде ферросплавов.
В дуговых печах выплавляют
высококачественные углеродистые стали – конструкционные, инструментальные,
жаростойкие и жаропрочные.
Индукционные тигельные
плавильные печи
Выплавляют наиболее качественные
коррозионно-стойкие, жаропрочные и другие стали и сплавы.
Вместимость от десятков
килограммов до 30 тонн.
Схема индукционной тигельной печи
представлена на рис 3.2.
Рис.
3.2. Схема индукционной тигельной печи
Печь состоит из водоохлаждаемого
индуктора 3, внутри которого находится тигель 4 (основные или
кислые огнеупорные материалы) с металлической шихтой, через индуктор от генератора
высокой частоты проходит однофазный переменный ток повышенной частоты (500…2000
Гц).
При пропускании тока через
индуктор в металле 1, находящемся в тигле, индуцируются мощные вихревые
токи, что обеспечивает нагрев и плавление металла. Для уменьшения потерь тепла,
печь имеет съ¨мный свод 2.
Тигель изготавливают из кислых
(кварцит) или основных (магнезитовый порошок) огнеупоров. Для выпуска плавки
печь наклоняют в сторону сливного ж¨лоба.
Под действием электромагнитного
поля индуктора при плавке происходит интенсивная циркуляция жидкого металла,
что способствует ускорению химических реакций, получению однородного по
химическому составу металла, быстрому всплыванию неметаллических включений,
выравниванию температуры.
В индукционных печах выплавляют
сталь и сплавы из легированных отходов методом переплава,
или из чистого шихтового железа и скрапа с добавкой ферросплавов методом
сплавления.
После расплавления шихты на
поверхность металла загружают шлаковую смесь для уменьшения тепловых потерь
металла и уменьшения угара легирующих элементов, защиты его от насыщения
газами.
При плавке в кислых печах, после
расплавления и удаления плавильного шлака, наводят шлак из боя стекла
. Для окончательного
раскисления перед выпуском металла в ковш вводят ферросилиций, ферромарганец и
алюминий.
В основных печах раскисление
проводят смесью из порошкообразной извести, кокса, ферросилиция, ферромарганца
и алюминия.
В основных печах выплавляют
высококачественные легированные стали с высоким содержанием марганца, титана, никеля,
алюминия, а в печах с кислой футеровкой – конструкционные, легированные другими
элементами стали.
В печах можно получать стали с
незначительным содержанием углерода и безуглеродистые сплавы, так как нет
науглероживающей среды.
При вакуумной индукционной плавке
индуктор, тигель, дозатор шихты и изложницы, помещают в вакуумные камеры.
Получают сплавы высокого качества с малым содержанием газов, неметаллических
включений и сплавы, легированные любыми элементами.
Разливка стали
Из плавильных печей сталь
выпускают в ковш, который мостовым краном переносят к месту разливки стали. Из
ковша сталь разливают в изложницы или кристаллизаторы машины для непрерывного
литья заготовок. В изложницах или кристаллизаторах сталь затвердевает и
получают слитки, которые подвергаются прокатке, ковке.
Изложницы – чугунные формы для изготовления слитков.
Изложницы выполняют с квадратным,
прямоугольным, круглым и многогранным поперечными сечениями.
Слитки с квадратным сечением
переделывают на сортовой прокат: двутавровые балки, швеллеры, уголки. Слитки
прямоугольного сечения – на листы. Слитки круглого сечения используются для
изготовления труб, колёс. Слитки с многогранным сечением применяют для
изготовления поковок.
Спокойные и кипящие углеродистые
стали разливают в слитки массой до 25 тонн, легированные и высококачественные
стали – в слитки массой 0,5…7 тонн, а некоторые сорта высоколегированных сталей
– в слитки до нескольких килограммов.
Сталь разливают в изложницы сверху
(рис. 3.3.а), снизу (сифоном) (рис.3.3.б) и на машинах непрерывного литья
(рис.3.4).
В изложницы сверху сталь
разливают непосредственно из ковша 1. При этом исключается расход
металла на литники, упрощается подготовка оборудования к разливке. К
недостаткам следует отнести менее качественную поверхность слитков, из-за
наличия пленок оксидов от брызг металла, затвердевающих на стенках изложницы.
Применяется для разливки
углеродистых сталей.
При сифонной разливке одновременно
заполняются несколько изложниц (4…60). Изложницы устанавливаются на поддоне 6,
в центре которого располагается центровой литник 3, футерованный
огнеупорными трубками 4, соединённый каналами 7 с изложницами.
Жидкая сталь 2 из ковша 1 поступает в центровой литник и снизу
плавно, без разбрызгивания наполняет изложницу 5.
Рис.3.3.
Разливка стали в изложницы
а –
сверху; б – снизу (сифоном)
Поверхность слитка получается
чистой, можно разливать большую массу металла одновременно в несколько
изложниц.
Используют для легированных и
высококачественных сталей.
Непрерывная разливка стали состоит в том, что жидкую сталь из ковша 1
через промежуточное разливочное устройство 2 непрерывно подают в
водоохлаждаемую изложницу без дна – кристаллизатор 3, из нижней части
которого вытягивается затвердевающий слиток 5.
Перед заливкой металла в кристаллизатор
вводят затравку – стальную штангу со сменной головкой, имеющей паз в виде
ласточкиного хвоста, которая в начале заливки служит дном кристаллизатора.
Вследствие интенсивного охлаждения жидкий металл у стенок кристаллизатора и на
затравке затвердевает, образуется корка, соединяющая металл с затравкой.
Затравка движется вниз при помощи тяговых роликов 6, постепенно
вытягивая затвердевающий слиток из кристаллизатора. После прохождения тяговых
роликов 6, затравку отделяют. Скорость вытягивания составляет в среднем
1 м/мин. Окончательное затвердевание в сердцевине происходит в результате
вторичного охлаждения водой из брызгал 4. Затем затвердевший слиток
попадает в зону резки, где его разрезают газовым резаком 7, на куски
заданной длины. Слитки имеют плотное строение и мелкозернистую структуру,
отсутствуют усадочные раковины.
Рис.3.4.
Схема непрерывной разливки стали
Способы повышения качества
стали
Улучшить качество металла можно
уменьшением в нём вредных примесей, газов, неметаллических включений. Для
повышения качества металла используют: обработку синтетическим шлаком,
вакуумную дегазацию металла, электрошлаковый переплав (ЭШП), вакуумно-дуговой
переплав (ВДП), переплав металла в электронно-дуговых и плазменных печах и т.
д.
Вакуумная дегазация проводится для уменьшения содержания в металле газов
и неметаллических включений.
Вакуумирование стали проводят в ковше, при переливе из ковша в ковш,
при заливке в изложницу.
Для вакуумирования в ковше ковш с
жидкой сталью помещают в камеру, закрывающуюся герметичной крышкой. Вакуумными
насосами создают разрежение до остаточного давления 0,267…0,667 кПа. При
понижении давления из жидкой стали выделяются водород и азот. Всплывающие
пузырьки газов захватывают неметаллические включения, в результате чего содержание
их в стали снижается. Улучшаются прочность и пластичность стали.
Электрошлаковый переплав (ЭШП) применяют для выплавки высококачественных сталей для
подшипников, жаропрочны сталей.
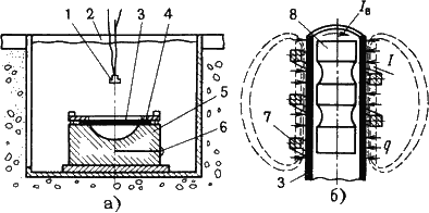
Схема электрошлакового переплава
представлена на рис.3.5.
Переплаву подвергается
выплавленный в дуговой печи и прокатанный на пруток металл. Источником теплоты
является шлаковая ванна, нагреваемая электрическим током. Электрический ток
подводится к переплавляемому электроду 1, погруженному в шлаковую ванну 2,
и к поддону 9, установленному в водоохлаждаемом кристаллизаторе 7,
в котором находится затравка 8. Выделяющаяся теплота нагревает ванну 2
до температуры свыше 1700?C и вызывает оплавление конца электрода. Капли
жидкого металла 3 проходят через шлак и образуют под шлаковым слоем
металлическую ванну 4. Перенос капель металла через основной шлак
способствует удалению из металла серы, неметаллических включений и газов.
Металлическая ванна пополняется путём расплавления электрода, и под
воздействием кристаллизатора она постепенно формируется в слиток 6. Содержание
кислорода уменьшается в 1,5…2 раза, серы в 2…3 раза. Слиток отличается
плотностью, однородностью, хорошим качеством поверхности, Высокими
механическими и эксплуатационными свойствами. Слитки получают круглого, квадратного
и прямоугольного сечения, массой до 110 тонн.
Рис.3.5.
Схема электрошлакового переплава
Вакуумно-дуговой переплав (ВДП) применяют в целях удаления из металла газов и
неметаллических включений.
Процесс осуществляется в
вакуумно-дуговых печах с расходуемым электродом. Катод изготовляют механической
обработкой слитка выплавляемого в электропечах или установках ЭШП.
Схема вакуумно-дугового переплава
представлена на рис. 3.6.
Рис.3.6.
Схема вакуумно-дугового переплава
Расходуемый электрод 3 закрепляют
на водоохлаждаемом штоке 2 и помещают в корпус печи 1 и далее в
медную водоохлаждаемую изложницу 6. Из корпуса печи откачивают воздух до
остаточного давления 0,00133 кПа. При подаче напряжения между расходуемым
электродом 3 (катодом) и затравкой 8 (анодом) возникает дуга.
Выделяющаяся теплота расплавляет конец электрода. Капли жидкого металла 4,
проходя зону дугового разряда дегазируются, заполняют изложницу и затвердевают,
образуя слиток 7. Дуга горит между электродом и жидким металлом 5
в верхней части слитка на протяжении всей плавки. Охлаждение слитка и разогрев
жидкого металла создают условия для направленного затвердевания слитка.
Следовательно, неметаллические включения сосредоточиваются в верхней части
слитка, усадочная раковина мала. Слиток характеризуется высокой равномерностью
химического состава, повышенными механическими свойствами. Изготавливают детали
турбин, двигателей, авиационных конструкций. Масса слитков достигает 50 тонн.
Производство цветных металлов
Производство меди
Медь в природе находится в виде
сернистых соединений
,
оксидов
,
гидрокарбонатов
,
углекислых соединений
в
составе сульфидных руд и самородной металлической меди.
Наиболее распространенные руды –
медный колчедан и медный блеск, содержащие 1…2 % меди.
90 % первичной меди получают
пирометаллургическим способом, 10 % - гидрометаллургическим.
Гидрометаллургический способ
– получение меди путём её
выщелачивания слабым раствором серной кислоты и последующего выделения
металлической меди из раствора.
Получение меди пирометаллургическим
способом состоит из обогащения, обжига, плавки на штейн, продувки в
конвертере, рафинирования.
Обогащение медных руд производится методом флотации и
окислительного обжига.
Метод флотации основан на использовании различной смачиваемости
медьсодержащих частиц и пустой породы. Позволяет получать медный концентрат,
содержащий 10…35 % меди.
Медные руды и концентраты,
содержащие большие количества серы, подвергаются окислительному обжигу.
В процессе нагрева концентрата или руды до 700…800 0C в присутствии
кислорода воздуха сульфиды окисляются и содержание серы снижается почти вдвое
против исходного. Обжигают только бедные (с содержанием меди 8…25 %)
концентраты, а богатые (25…35 % меди) плавят без обжига.
После обжига руда и медный
концентрат подвергаются плавке на штейн, представляющий собой сплав,
содержащий сульфиды меди и железа
. Штейн содержит 20…50 % меди, 20…40 % железа,
22…25 % серы, около 8 % кислорода и примеси никеля, цинка, свинца, золота,
серебра. Чаще всего плавка производится в пламенных отражательных печах.
Температура в зоне плавки 1450 0C.
Полученный медный штейн, с целью
окисления сульфидов и железа, подвергают продувке сжатым воздухом в
горизонтальных конвертерах с боковым дутьём. Образующиеся окислы переводят в
шлак, а серу – в 
. Тепло в конвертере
выделяется за счёт протекания химических реакций без подачи топлива.
Температура в конвертере составляет 1200…1300?C. Таким образом, в конвертере
получают черновую медь, содержащую 98,4…99,4 % меди, 0,01…0,04 % железа,
0,02…0,1 % серы и небольшое количество никеля, олова, сурьмы, серебра, золота.
Эту медь сливают в ковш и разливают в стальные изложницы или на разливочной
машине.
Черновую медь рафинируют для
удаления вредных примесей, проводят огневое, а затем электролитическое
рафинирование.
Сущность огневого рафинирования
черновой меди заключается в окислении примесей, имеющих большее сродство к
кислороду, чем медь, удалении их с газами и переводе в шлак. После огневого
рафинирования получают медь чистотой 99…99,5%. Её разливают в изложницы и
получают чушки для дальнейшей выплавки сплавов (бронзы и латуни) или слитки для
электролитического рафинирования.
Электролитическое рафинирование
проводят для получения чистой от
примесей меди (99,95%
).
Электролиз проводят в ваннах, где
анод изготавливают из меди огневого рафинирования, а катод – из тонких листов
чистой меди. Электролитом служит водный раствор
(10…16%) и
(10…16%).
При пропускании постоянного тока
анод растворяется, медь переходит в раствор, а на катодах разряжаются ионы
меди, осаждаясь на них слоем чистой меди.
Примеси осаждаются на дно ванны в
виде шлака, который идёт на переработку с целью извлечения металлов.
Катоды выгружают через 5…12 дней,
когда их масса достигнет 60…90 кг. Их тщательно промывают, а затем переплавляют
в электропечах.
Медь по чистоте подразделяется на
марки: М0 (99,95% Cu), М1 (99,9%), М2(99,7%), М3 (99,5%), М4 (99%).
Производство магния
Для получения магния наибольшее
распространение получил электролитический способ, сущность которого заключается
в получении чистых безводных солей магния, электролизе этих солей в
расплавленном состоянии и рафинировании металлического магния.
Основным сырьем для получения
магния являются: карналлит, магнезит, доломит, бишофит. Наибольшее количество
магния получают из карналлита. Сначала карналлит обогащают и обезвоживают.
Безводный карналлит используют для приготовления электролита.
Электролиз осуществляют в
электролизере, футерованном шамотным кирпичом. Анодами служат графитовые
пластины, а катодами – стальные пластины. Электролизер заполняют расплавленным
электролитом состава 10 %
, 45 %
, 30 %
, 15 %
, с небольшими добавками
и
. Такой состав электролита необходим для
понижения температуры его плавления (720 0С). Для электролитического
разложения хлористого магния через электролит пропускают ток. В результате
образуются ионы хлора, которые движутся к аноду. Ионы магния движутся к катоду
и после разряда выделяются на поверхности, образуя капельки жидкого чернового
магния. Магний имеет меньшую плотность, чем электролит, поэтому он всплывает на
поверхность, откуда его периодически удаляют вакуумным ковшом.
Черновой магний содержит 5 %
примесей, поэтому его рафинируют переплавкой с флюсами. Для этого черновой
магний и флюс, состоящий из
, нагревают в печи до температуры 700…750 0С
и перемешивают. При этом неметаллические примеси переходят в шлак. Затем печь
охлаждают до температуры 670 0С и магний разливают в изложницы на
чушки.
ЛЕКЦИЯ
4
Заготовительное производство.
Литейное производство
Заготовительное производство
Выбор метода и способа
получения заготовки
Необходимость экономии
материальных ресурсов предъявляет высокие требования к рациональному выбору
заготовок, к уровню их технологичности, в значительной мере определяющей
затраты на технологическую подготовку производства, себестоимость, надёжность и
долговечность изделий.
Правильно выбрать способ получения
заготовки – означает определить рациональный технологический процесс её
получения с учётом материала детали, требований к точности её изготовления,
технических условий, эксплуатационных характеристик и серийности выпуска.
Особенно важно правильно выбрать
вид заготовки, назначить наиболее рациональный технологический процесс её
изготовления в условиях автоматизированного производства, когда размеры детали
при механической обработке получаются «автоматически» на предварительно
настроенных агрегатных станках или станках с числовым программным управлением
(ЧПУ). В этом случае недостаточные припуски так же вредны, как и излишние, а
неравномерная твёрдость материала или большие уклоны на заготовке могут вызвать
значительные колебания в допусках размеров готовой детали.
Поэтому очень важен экономически и
технологически обоснованный выбор вида заготовки для данного производства.
Максимальное приближение
геометрических форм и размеров заготовки к размерам и форме готовой детали –
главная задача заготовительного производства.
Заданные конструктором геометрия,
размеры и марка материала детали во многом определяют технологию изготовления.
Таким образом, выбор вида заготовки происходит в процессе конструирования, так
как при расчёте деталей на прочность, износостойкость или при учете других
показателей эксплуатационных характеристик конструктор исходит из
физико-механических свойств применяемого материала с учётом влияния способа
получения заготовки.
Факторы, влияющие на себестоимость
производства в машиностроении, делятся на три группы:
1-я группа – конструктивные
факторы, т.е. конструктивное решение самой детали, обеспечивающее приемлемость
её для изготовления обработкой давлением, литьем, сваркой; выбор марки
материала и технологических условий;
2-я группа – производственные
факторы, т.е. характер и культура производства, технологическая оснащенность,
организационные и технологические уровни производства;
3-я группа – технологические
факторы, характеризующие способ формообразования заготовок, выбор самой
заготовки, оборудования и технологического процесса получения детали.
То, насколько полно в заготовке
учтено влияние факторов первой и второй групп, позволяет судить о технологичности
заготовки.
Под технологичностью заготовки
принято понимать, насколько данная заготовка соответствует требованиям
производства и обеспечивает долговечность и надежность работы детали при
эксплуатации.
Выпуск технологичной заготовки в
заданных масштабах производства обеспечивает минимальные производственные
затраты, себестоимость, трудоемкость и материалоемкость.
Третья группа факторов важна,
когда детали могут быть получены одним или несколькими способами литья или
обработки давлением, например, фланцы, тройники, шестерни. Однако при литье
структура металла, а следовательно, и механические свойства, ниже, чем при
обработке металлов давлением. Также, особенно при литье в кокиль или под
давлением, выше вероятность возникновения литейных напряжений и наличия
пористости.
При штамповке, создавая
направленную структуру, можно увеличить эксплуатационные свойства детали. В то
же время заданный параметр шероховатости поверхности и точность размеров могут
быть обеспечены в обоих случаях.
Таким образом, при выборе способов
получения заготовки в первую очередь следует учитывать основные факторы
(себестоимость и требования к качеству), ориентироваться на то, что в
конкретном случае является определяющим.
В качестве другого примера можно
рассмотреть крупногабаритные детали значительной массы, требующие для своего
изготовления уникального оборудования большой мощности. Такие детали
целесообразно изготавливать сварными. Это позволяет сократить длительность
цикла изготовления, повысить качество металла за счет применения слитков
меньшей массы с меньшим количеством литейных дефектов, но при этом уменьшается
коэффициент использования металла, увеличивается трудоемкость.
Оптимальное решение при выборе
заготовок может быть найдено только при условии комплексного анализа влияния на
себестоимость всех факторов, при обязательном условии положительного влияния
способа получения заготовки на качество изделия.
В себестоимости изготовления
детали значительную долю составляют затраты на материал (около 60 %). Поэтому
пути снижения себестоимости целесообразно искать в снижении расхода материала.
Технологичность детали с
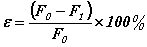
определенной степенью приближения оценивается следующими показателями:
– коэффициент выхода годного (
) ;
– весовой точности (
) ;
– использования металла (
).
– характеризует расход металла в
заготовительном цехе, размер брака, технологических отходов, определяется по
формуле:
где:
– масса исходного металла;
– масса заготавливаемого металла.
– отражает степень приближения формы и размеров
заготовки к форме и размерам детали, т.е. характеризует объем механической
обработки, определяется по формуле:
где:
– масса готовой детали.
– отражает общий расход металла на
изготавливаемую деталь, определяется по формуле:
Общие принципы выбора
заготовки
Наиболее широко для получения
заготовок в машиностроении применяют следующие методы: литье, обработка металла
давлением и сварка, а также комбинация этих методов.
Каждый из методов содержит большое
число способов получения заготовок.
Метод – это группа технологических процессов, в основе
которых лежит единый принцип формообразования.
Литье – получение заготовок путем заливки расплавленного
металла заданного химического состава в литейную форму, полость которой имеет
конфигурацию заготовки.
Обработка давлением – технологические процессы, которые основаны на
пластическом формоизменении металла.
Сварка – технологический процесс получения неразъемных
соединений из металлов и сплавов в результате образования атомно-молекулярных
связей между частицами соединяемых заготовок.
При выборе
метода необходимо ориентироваться в первую очередь на материал и требования к
нему с точки зрения обеспечения служебных свойств изделия (литье – чугун, стали
с обозначением Л).
Особо
ответственные детали, к которым предъявляются высокие требования по размеру
зерна, направлению волокон, а также по уровню механических свойств, всегда
следует изготавливать из заготовок, полученной обработкой давлением.
Выбор способа получения заготовки
сложная задача.
Способ получения заготовки должен
быть экономичным, обеспечивающим высокое качество детали, производительным,
нетрудоемким.
Основные факторы, влияющие
на выбор способа получения заготовки.
Характер производства.
Для мелкосерийного и единичного
производства характерно использование в качестве заготовок горячекатаного
проката, отливок, полученных в песчано-глинистых формах, поковок, полученных
ковкой.
Это обуславливает большие
припуски, значительный объем последующей механической обработки, повышение
трудоемкости.
В условиях крупносерийного и
массового производств рентабельны способы получения заготовок: горячая объемная
штамповка; литье в кокиль, под давлением, в оболочковые формы по выплавляемым
моделям.
Применение этих способов позволяет
значительно сократить припуски, снизить трудоемкость изготовления детали.
Повышение точности формообразующих
процессов, выбор наиболее точных и прогрессивных способов получения заготовок
на базе увеличения серийности производства является одним из важнейших резервов
повышения технического уровня производства.
Материалы и требования,
предъявляемые к качеству детали
Материалы должны обладать
необходимым запасом определенных технологических свойств – ковкостью,
штампуемостью, жидкотекучестью, свариваемостью, обрабатываемостью.
Для деформируемых материалов
необходимым технологическим свойством является технологическая пластичность.
Особо жесткие требования по технологической пластичности предъявляются к
сплавам, из которых детали получают холодной обработкой давлением –
выдавливанием, вытяжкой, гибкой, формовкой.
Если металл обладает низкой
жидкотекучестью, высокой склонностью к усадке, то не рекомендуется применять
литье в кокиль, под давлением, так как из-за низкой податливости металлической
формы могут возникнуть литейные напряжения, коробление отливки, трещины.
Целесообразно применять оболочковое литье и литье в песчано-глинистые формы.
Для ответственных, тяжело
нагруженных деталей (валы, шестерни, зубатые колеса), для которых предъявляются
определенные требования к качеству металла и к физико-механическим свойствам –
целесообразно использовать поковки, так как в процессе деформирования создается
мелкозернистая, направленная волокнистая структура, значительно повышающая
физико-механические свойства материала.
Размеры, масса и конфигурация
детали.
Удельная стоимость отливок и
поковок растет с уменьшением их массы. Закономерность общая для всех способов
получения заготовок и деталей, так как трудоемкость формообразования определяют
общей площадью поверхностей, подлежащих обработке.
Размеры детали часто играют
решающую роль. При литье по выплавляемым моделям, в кокиль, под давлением
размеры отливки ограничены технологическими возможностями оборудования и
инструмента.
Способом горячей объемной штамповки
возможно получение поковок до 1000 кг.
Качество поверхности заготовок,
обеспечение заданной точности.
Использование точных способов
обеспечивает достаточную чистоту поверхности и высокую точность заготовок.
Совершенствование ковки и
штамповки обеспечивают параметры шероховатости и точность размеров,
соответствующих механической обработке и даже финишных операций.
Калибровка, холодное выдавливание
обеспечивают получение готовых деталей (заклепки, гайки, болты).
Возможности имеющегося
оборудования.
Учитывают при изготовлении
заготовок способами центробежного литья, литья под давлением, горячей объемной
штамповкой. Иногда это является определяющим моментом.
Например, наличие в кузнечном цехе
ротационно-ковочных машин позволяет получить ступенчатые заготовки практически
без механической обработки. То же – при наличии механических прессов двойного
действия или гидравлических многоступенчатых прессов.
Мощность кузнечно-штамповочного
оборудования определяет номенклатуру изготовления деталей.
Литейное производство
Общие сведения о литейном
производстве
Современное состояние и
роль литейного производства в машиностроении.
Теория и практика технологии
литейного производства на современном этапе позволяет получать изделия с
высокими эксплуатационными свойствами. Отливки надежно работают в реактивных
двигателях, атомных энергетических установках и других машинах ответственного
назначения. Они используются в изготовлении строительных
конструкций, металлургических агрегатов, морских судов, деталей бытового оборудования,
художественных и ювелирных изделий.
Современное состояние литейного
производства определяется совершенствованием традиционных и появлением новых
способов литья, непрерывно повышающимся уровнем механизации и автоматизации
технологических процессов, специализацией и централизацией производства,
созданием научных основ проектирования литейных машин и механизмов.
Важнейшим направлением повышения
эффективности является улучшение качества, надежности, точности и шероховатости
отливок с максимальным приближением их к форме готовых изделий путем внедрения
новых технологических процессов и улучшения качества литейных сплавов,
устранение вредного воздействия на окружающую среду и улучшения условий труда.
Литье является наиболее
распространенным методом формообразования.
Преимуществами литья являются
изготовление заготовок с наибольшими коэффициентами использования металла и
весовой точности, изготовление отливок практически неограниченных габаритов и
массы, получение заготовок из сплавов, неподдающихся пластической деформации и
трудно обрабатываемых резанием (магниты).
Классификация литых
заготовок.
По условиям эксплуатации,
независимо от способа изготовления, различают отливки:
– общего назначения – отливки для
деталей, не рассчитываемых на прочность
– ответственного назначения –
отливки для деталей, рассчитываемых на прочность и работающих при статических
нагрузках;
– особо ответственного назначения
- отливки для деталей, рассчитываемых на прочность и работающих при циклических
и динамических нагрузках.
В зависимости от способа
изготовления, массы, конфигурации поверхностей, габаритного размера, толщины
стенок, количества стержней, назначения и особых технических требований отливки
делят на 6 групп сложности.
Первая группа характеризуется гладкими и прямолинейными наружными
поверхностями с наличием невысоких усиливающих ребер, буртов, фланцев,
отверстий. Внутренние поверхности простой формы. Типовые детали –
крышки, рукоятки, диски, фланцы, муфты, колеса вагонеток, маховики для вентилей
и т.д.
Шестая группа – отливки с особо сложными закрытыми коробчатыми и
цилиндрическими формами. На наружных криволинейных поверхностях под различными
углами пересекаются ребра, кронштейны и фланцы. Внутренние полости имеют особо
сложные конфигурации с затрудненными выходами на поверхность отливки. Типовые
детали – станины специальных МРС, сложные корпуса центробежных
насосов, детали воздуходувок, рабочие колеса гидротурбин.
В зависимости от способа
изготовления их габаритных размеров и типа сплавов ГОСТ 26645-85 устанавливает
22 класса точности.
Литейные сплавы
Требования к материалам,
используемым для получения отливок:
Состав материалов должен
обеспечивать получение в отливке заданных физико-механических и
физико-химических свойств; свойства и структура должны быть стабильными в
течение всего срока эксплуатации отливки.
Материалы должны обладать хорошими
литейными свойствами (высокой жидкотекучестью, небольшой усадкой, низкой
склонностью к образованию трещин и поглощению газов, герметичностью), хорошо
свариваться, легко обрабатываться режущим инструментом. Они не должны быть
токсичными и вредными для производства. Необходимо, чтобы они обеспечивали
технологичность в условиях производства и были экономичными.
Литейные свойства сплавов
Получение качественных отливок без
раковин, трещин и других дефектов зависит от литейных свойств сплавов, которые
проявляются при заполнении формы, кристаллизации и охлаждении отливок в форме.
К основным литейным свойствам сплавов относят: жидкотекучесть, усадку сплавов,
склонность к образованию трещин, газопоглощение, ликвацию.
Жидкотекучесть – способность расплавленного металла течь по каналам
литейной формы, заполнять ее полости и четко воспроизводить контуры отливки.
При высокой жидкотекучести сплавы
заполняют все элементы литейной формы.
Жидкотекучесть зависит от многих
факторов: от температурного интервала кристаллизации, вязкости и поверхностного
натяжения расплава, температуры заливки и формы, свойств формы и т.д.
Чистые металлы и сплавы,
затвердевающие при постоянной температуре, обладают лучшей жидкотекучестью, чем
сплавы, затвердевающие в интервале температур (твердые растворы). Чем выше
вязкость, тем меньше жидкотекучесть. С увеличением поверхностного натяжения
жидкотекучесть понижается. С повышением температуры заливки расплавленного
металла и формы жидкотекучесть улучшается. Увеличение теплопроводности
материала формы снижает жидкотекучесть. Так , песчаная форма отводит теплоту
медленнее, и расплавленный металл заполняет ее лучше, чем металлическую форму.
Наличие неметаллических включений снижает жидкотекучесть. Так же влияет
химический состав сплава (с увеличением содержания серы, кислорода, хрома
жидкотекучесть снижается; с увеличением содержания фосфора, кремния, алюминия,
углерода жидкотекучесть увеличивается).
Усадка – свойство металлов и сплавов уменьшать объем при
охлаждении в расплавленном состоянии, в процессе затвердевания и в затвердевшем
состоянии при охлаждении до температуры окружающей среды. Изменение объема
зависит от химического состава сплава, температуры заливки, конфигурации
отливки.
Различают объемную и линейную
усадку.
В результате объемной усадки
появляются усадочные раковины и усадочная пористость в массивных частях
отливки.
Для предупреждения образования
усадочных раковин устанавливают прибыли – дополнительные резервуары с
расплавленным металлом, а также наружные или внутренние холодильники.
Линейная усадка определяет
размерную точность полученных отливок, поэтому она учитывается при разработке
технологии литья и изготовления модельной оснастки.
Линейная усадка составляет: для
серого чугуна – 0,8…1,3 %; для углеродистых сталей – 2…2,4 %; для алюминиевых
сплавов – 0,9…1,45 %; для медных сплавов – 1,4…2,3 %.
Газопоглощение – способность литейных сплавов в расплавленном
состоянии растворять водород, азот, кислород и другие газы. Степень
растворимости газов зависит от состояния сплава: с повышением температуры
твердого сплава увеличивается незначительно; возрастает при плавлении; резко
повышается при перегреве расплава. При затвердевании и последующем охлаждении
растворимость газов уменьшается, в результате их выделения в отливке могут
образоваться газовые раковины и поры.
Растворимость газов зависит от
химического состава сплава, температуры заливки, вязкости сплава и свойств
литейной формы.
Ликвация – неоднородность химического состава сплава в различных
частях отливки. Ликвация образуется в процессе затвердевания отливки, из-за
различной растворимости отдельных компонентов сплава в его твердой и жидкой
фазах. В сталях и чугунах заметно ликвируют сера, фосфор и углерод.
Различают ликвацию зональную,
когда различные части отливки имеют различный химический состав, и дендритную,
Когда химическая неоднородность наблюдается в каждом зерне.
Литейные сплавы
1. Чугун является наиболее распространенным материалом для
получения фасонных отливок. Чугунные отливки составляют около 80 % всех
отливок.
Широкое распространение чугун
получил благодаря хорошим технологическим свойствам и относительной дешевизне.
Из серого чугуна получают самые дешевые отливки (в 1,5 раза дешевле, чем
стальные, в несколько раз – чем из цветных металлов). Область применения
чугунов расширяется вследствие непрерывного повышения его прочностных и
технологических характеристик. Используют серые, высокопрочные, ковкие и
легированные чугуны.
2. Сталь как литейный материал применяют для получения отливок
деталей, которые наряду с высокой прочностью должны обладать хорошими
пластическими свойствами. Чем ответственнее машина, тем более значительна доля
стальных отливок, идущих на ее изготовление. Стальное литье составляет: в
тепловозах – 40…50 % от массы машины; в энергетическом и тяжелом машиностроении
(колеса гидравлических турбин с массой 85 тонн, иногда несколько сотен тонн) –
до 60 %.
Стальные отливки после
соответствующей термической обработки не уступают по механическим свойствам
поковкам.
Используются: углеродистые стали
15Л…55Л; легированные стали 25ГСЛ, 30ХГСЛ, 110Г13Л; нержавеющие стали 10Х13Л,
12Х18Н9ТЛ и др.
Среди литейных материалов из
сплавов цветных металлов широкое применение нашли медные и алюминиевые сплавы.
1. Медные сплавы – бронзы и латуни.
Латуни – наиболее распространенные медные сплавы. Для
изготовления различной аппаратуры для морских судостроения, работающей при
температуре 300 ?С, втулок и сепараторов подшипников, нажимных винтов и гаек
прокатных станов, червячных винтов применяют сложнолегированные латуни.
Обладают хорошей износостойкостью, антифрикционными свойствами, коррозионной
стойкостью.
Из оловянных бронз
(БрО3Ц7С5Н1) изготавливают арматуру, шестерни, подшипники, втулки.
Безоловянные бронзы по некоторым свойствам превосходят оловянные. Они
обладают более высокими механическими свойствами, антифрикционными свойствами,
коррозионной стойкостью. Однако литейные свойства их хуже. Применяют для
изготовления гребных винтов крупных судов, тяжело нагруженных шестерен и
зубчатых колес, корпусов насосов, деталей химической и пищевой промышленности.
2. Алюминиевые сплавы.
Отливки из алюминиевых сплавов
составляют около 70 % цветного литья. Они обладают высокой удельной прочностью,
высокими литейными свойствами, коррозионной стойкостью в атмосферных условиях.
Наиболее высокими литейными
свойствами обладают сплавы системы алюминий – кремний (Al-Si) – силумины АЛ2,
АЛ9. Они широко применяются в машиностроении, автомобильной и авиационной
промышленности, электротехнической промышленности.
Также используются сплавы систем:
алюминий – медь, алюминий – медь – кремний, алюминий – магний.
3. Магниевые сплавы обладают высокими механическими свойствами, но их
литейный свойства невысоки. Сплавы системы магний – алюминий – цинк – марганец
применяют в приборостроении, в авиационной промышленности, в текстильном
машиностроении.
ЛЕКЦИЯ
5
Способы
изготовления отливок. Изготовление отливок в песчаных формах
Для изготовления отливок служит
литейная форма, которая представляет собой систему элементов, образующих
рабочую полость, при заливке которой расплавленным металлом формируется
отливка.
Литейные формы изготовляют как из
неметаллических материалов (песчаные формы, формы изготовляемые по выплавляемым
моделям, оболочковые формы) для одноразового использования, так и из металлов
(кокили, изложницы для центробежного литья) для многократного использования.
Изготовление отливок в
песчаных формах
Литье в песчаные формы является
самым распространенным способом изготовления отливок. Изготавливают отливки из
чугуна, стали, цветных металлов от нескольких грамм до сотен тонн, с толщиной
стенки от 3…5 до 1000 мм и длиной до 10000 мм.
Схема технологического процесса
изготовления отливок в песчаных формах представлена на рис. 5.1.
Рис. 5.1. Схема технологического
процесса изготовления отливок в песчаных формах
Сущность литья в песчаные формы
заключается в получении отливок из расплавленного металла, затвердевшего в
формах, которые изготовлены из формовочных смесей путем уплотнения с
использованием модельного комплекта.
Литейная форма для получения
отливок в песчаных формах представлена на рис.5.2.
Литейная форма обычно состоит из
верхней 1 и нижней 2 полуформ, которые изготавливаются в опоках 7, 8 – приспособлениях
для удержания формовочной смеси. Полуформы ориентируют с помощью штырей 10,
которые вставляют в отверстия ручек опок 11.
Для образования полостей отверстий
или иных сложных контуров в формы устанавливают литейные стержни 3, которые
фиксируют посредством выступов, входящих в соответствующие впадины формы
(знаки).
Литейную форму заливают
расплавленным металлом через литниковую систему.
Литниковая система – совокупность
каналов и резервуаров, по которым расплав поступает из разливочного ковша в
полость формы.
Основными элементами являются:
литниковая чаша 5, которая служит для приема расплавленного металла и подачи
его в форму; стояк 6 – вертикальный или наклонный канал для подачи металла из
литниковой чаши в рабочую полость или к другим элементам; шлакоуловитель 12, с
помощью которого удерживается шлак и другие неметаллические примеси; питатель
13 – один или несколько, через которые расплавленный металл подводится в
полость литейной формы.
Для вывода газов, контроля
заполнения формы расплавленным металлом и питания отливки при ее затвердевании
служат прибыли или выпор 4. Для вывода газов предназначены и вентиляционные
каналы 9.
Рис.
5.2. Литейная форма
Разновидности литниковых систем
представлены на рис. 5.3.
Рис.
5.3. Разновидности литниковых систем
Различают литниковые системы с
питателями, расположенными в горизонтальной и вертикальной плоскостях.
По способу подвода расплава в
рабочую полость формы литниковые системы делят на: нижнюю, верхнюю, боковую.
Нижняя лиитниковая система (рис.5.3.б)
– широко используется для литья сплавов, легко окисляющихся и насыщающихся
газами (алюминий), обеспечивает спокойный подвод расплава к рабочей полости
формы и постепенное заполнение ее поступающим снизу, без открытой струи
металлом. При этом усложняется конструкция литниковой системы, увеличивается
расход металла на нее, создается неблагоприятное распределение температур в
залитой форме ввиду сильного разогрева ее нижней части.
Возможно образование усадочных
дефектов и внутренних напряжений. При такой системе ограничена возможность
получения высоких тонкостенных отливок (при литье алюминиевых сплавов форма не
заполняется металлом, если отношение высоты отливки к толщине ее стенки
превышает
,
).
Нижний подвод через большое
количество питателей часто используется при изготовлении сложных по форме,
крупных отливок из чугуна.
Верхняя литниковая система
(рис.5.3.в).
Достоинствами системы являются:
малый расход металла; конструкция проста и легко выполнима при изготовлении
форм; подача расплава сверху обеспечивает благоприятное распределение
температуры в залитой форме (температура увеличивается от нижней части к
верхней), а следовательно, и благоприятные условия для направленной
кристаллизации и питании отливки.
Недостатки: падающая сверху струя
может размыть песчаную форму, вызывая засоры; при разбрызгивании расплава
возникает опасность его окисления и замешивания воздуха в поток с образованием
оксидных включений; затрудняется улавливание шлака.
Верхнюю литниковую систему
применяют для невысоких (в положении заливки) отливок, небольшой массы и
несложной формы, изготовленных из сплавов не склонных к сильному окислению в
расплавленном состоянии (чугуны, углеродистые конструкционные стали, латуни).
Боковая литниковая система
(рис.5.3.а).
Подвод металла осуществляется в
среднюю часть отливки (по разъему формы).
Такую систему применяют при
получении отливок из различных сплавов, малых и средних по массе деталей,
плоскость симметрии которых совпадает с плоскостью разъема формы. Является
промежуточной между верхней и нижней, и следовательно сочетает в себе некоторые
их достоинства и недостатки.
Иногда при подводе металла снизу и
сверху используют массивные коллекторы.
Приготовление формовочных и
стержневых смесей
Для приготовления смесей
используются природные и искусственные материалы.
Песок – основной компонент
формовочных и стержневых смесей.
Обычно используется кварцевый или
цирконовый песок из кремнезема 
.
Глина является связующим
веществом, обеспечивающим прочность и пластичность, обладающим термической устойчивостью.
Широко применяют бентонитовые или каолиновые глины.
Для предотвращения пригара и
улучшения чистоты поверхности отливок используют противопригарные материалы:
для сырых форм – припылы; для сухих форм – краски.
В качестве припылов используют: для
чугунных отливок – смесь оксида магния, древесного угля, порошкообразного
графита; для стальных отливок – смесь оксида магния и огнеупорной глины,
пылевидный кварц.
Противопригарные краски
представляют собой водные суспензии этих материалов с добавками связующих.
Смеси должны обладать рядом
свойств.
Прочность – способность смеси
обеспечивать сохранность формы без разрушения при изготовлении и эксплуатации.
Поверхностная прочность
(осыпаемость) – сопротивление истирающему действию струи металла при заливке,
Пластичность – способность
воспринимать очертание модели и сохранять полученную форму,
Податливость – способность смеси
сокращаться в объеме под действием усадки сплава.
Текучесть – способность смеси
обтекать модели при формовке, заполнять полость стержневого ящика.
Термохимическая устойчивость или
непригарность – способность выдерживать высокую температуру сплава без
оплавления или химического с ним взаимодействия.
Негигроскопичность – способность
после сушки не поглощать влагу из воздуха.
Долговечность – способность
сохранять свои свойства при многократном использовании.
По характеру использования
различают облицовочные, наполнительные и единые смеси.
Облицовочная – используется для
изготовления рабочего слоя формы. Содержит повышенное количество исходных
формовочных материалов и имеет высокие физико- механические свойства.
Наполнительная – используется для
наполнения формы после нанесения на модель облицовочной смеси. Приготавливается
путем переработки оборотной смеси с малым количеством исходных формовочных
материалов.
Облицовочная и наполнительная
смеси необходимы для изготовления крупных и сложных отливок.
Единая – применяется одновременно
в качестве облицовочной и наполнительной. Используют при машинной формовке и на
автоматических линиях в серийном и массовом производстве. Изготавливается из
наиболее огнеупорных песков и глин с наибольшей связующей способностью для
обеспечения долговечности.
Приготовление формовочных смесей
Сначала подготавливают песок,
глину и другие исходные материалы. Песок сушат и просеивают. Глину сушат,
размельчают, размалывают в шаровых мельницах или бегунах и просеивают.
Аналогично получают угольный порошок.
Подготавливают оборотную смесь.
Оборотную смесь после выбивки из опок разминают на гладких валках, очищают от
металлических частиц в магнитном сепараторе и просеивают.
Приготовление формовочной смеси
включает несколько операций: перемешивание компонентов смеси, увлажнение и
разрыхление.
Перемешивание осуществляется в
смесителях-бегунах с вертикальными или горизонтальными катками. Песок, глину,
воду и другие составляющие загружают при помощи дозатора, перемешивание
осуществляется под действием катков и плужков, подающих смесь под катки.
Готовая смесь выдерживается в
бункерах-отстойниках в течение 2…5 часов, для распределения влаги и образования
водных оболочек вокруг глинистых частиц.
Готовую смесь разрыхляют в
специальных устройствах и подают на формовку.
Стержневая смесь
Стержневые смеси соответствуют
условиям технологического процесса изготовления литейных стержней, которые
испытывают тепловые и механические воздействия. Они должны иметь боле высокие
огнеупорность, газопроницаемость, податливость, легко выбиваться из отливки.
Огнеупорность – способность смеси
и формы сопротивляться растяжению или расплавлению под действием температуры
расплавленного металла.
Газопроницаемость – способность
смеси пропускать через себя газы (песок способствует ее повышению).
В зависимости от способа
изготовления стержней смеси разделяют: на смеси с отвердением стержней тепловой
сушкой в нагреваемой оснастке; жидкие самотвердеющие; жидкие холоднотвердеющие
смеси на синтетических смолах; жидкостекольные смеси, отверждаемые углекислым
газом.
Приготовление стержневых смесей
осуществляется перемешиванием компонентов в течение 5…12 минут с последующим
выстаиванием в бункерах.
В современном литейном
производстве изготовление смесей осуществляется на автоматических участках.
Модельный
комплект
Модельный комплект – приспособления, включающие литейную модель, модели
литниковой системы, стержневые ящики, модельные плиты, контрольные и сборочные
шаблоны.
Литейная модель – приспособление, с помощью которого в литейной форме
получают отпечаток, соответствующий конфигурации и размерам отливки.
Применяют модели разъемные и
неразъемные, деревянные, металлические и пластмассовые.
Размеры модели больше размеров
отливки на величину линейной усадки сплава.
Модели деревянные (сосна, бук,
ясень), лучше изготавливать не из целого куска, а склеивать из отдельных
брусочков с разным направлением волокон, для предотвращения коробления.
Достоинства: дешевизна, простота
изготовления, малый вес. Недостаток: недолговечность.
Для лучшего удаления модели из
формы ее окрашивают: чугун – красный, сталь – синий.
Металлические модели
характеризуются большей долговечностью, точностью и чистой рабочей
поверхностью. Изготавливаются из алюминиевых сплавов – легкие, не окисляются,
хорошо обрабатываются. Для уменьшения массы модели делают пустотелыми с ребрами
жесткости.
Модели из пластмасс устойчивы к
действию влаги при эксплуатации и хранении, не подвергаются короблению, имеют
малую массу.
Стержневой ящик – формообразующее изделие, имеющее рабочую полость для
получения в ней литейного стержня нужных размеров и очертаний из стержневой
смеси. Обеспечивают равномерное уплотнение смеси и быстрое извлечение стержня.
Изготавливают из тех же материалов, что и модели. Могут быть разъемными и
неразъемными (вытряхными), а иногда с нагревателями.
Изготовление стержней может
осуществляться в ручную и на специальных стержневых машинах.
Модельные плитыформируют разъем литейной формы, на них закрепляют
части модели. Используют для изготовления опочных и безопочных полуформ.
Для машинной формовки применяют
координатные модельные плиты и плиты со сменными вкладышами (металлическая
рамка плюс металлические или деревянные вкладыши).
Изготовление литейных форм
Основными операциями изготовления
литейных форм являются: уплотнение формовочной смеси для получения точного
отпечатка модели в форме и придание форме достаточной прочности; устройство
вентиляционных каналов для вывода газов из полости формы; извлечение модели из
формы; отделка и сборка формы.
Формы изготавливаются вручную, на
формовочных машинах и на автоматических линиях.
Ручная формовка применяется для получения одной или нескольких
отливок в условиях опытного производства, в ремонтном производстве, для крупных
отливок массой 200…300 тонн.
Приемы ручной формовки: в парных
опоках по разъемной модели; формовка шаблонами; формовка в кессонах.
Формовка шаблонами применяется для
получения отливок, имеющих конфигурацию тел вращения в единичном производстве
Шаблон – профильная доска.
Изготовление формы для шлаковой чаши (рис. 5.4.а.) показано на рис. 5.4.
Рис.5.4.
Шаблонная формовка
В уплотненной формовочной смеси
вращением шаблона 1, закрепленного на шпинделе 2 при помощи серьги 3, оформляют
наружную поверхность отливки (рис. 5.4.в.) и используют ее как модель для
формовки в опоке верхней полуформы 6 (рис. 5.4.г). Снимают серьгу с шаблоном,
плоскость разъема покрывают разделительным слоем сухого кварцевого песка,
устанавливают модели литниковой системы, опоку, засыпают формовочную смесь и
уплотняют ее. Затем снимают верхнюю полуформу. В подпятник 7 устанавливают
шпиндель с шаблоном 4, которым оформляют нижнюю полуформу, сжимая слой смеси,
равный толщине стенки отливки (рис. 5.4.д). Снимают шаблон, удаляют шпиндель,
отделывают болван и устанавливают верхнюю полуформу (рис. 5.4.е). В готовую
литейную форму заливают расплавленный металл
Формовка в кессонах
Формовкой в кессонах получают
крупные отливки массой до 200 тонн.
Кессон – железобетонная яма,
расположенная ниже уровня пола цеха, водонепроницаемая для грунтовых вод.
Механизированный кессон имеет две
подвижные и две неподвижные стенки из чугунных плит. Дно из полых плит, которые
можно продувать (для ускорения охлаждения отливок) и кессона. Кессон имеет
механизм для передвижения стенок и приспособлен для установки и закрепления
верхней полуформы.
Машинная формовка
Используется в массовом и серийном
производстве, а также для мелких серий и отдельных отливок.
Повышается производительность
труда, улучшается качество форм и отливок, снижается брак, облегчаются условия
работы.
По характеру уплотнения различают
машины: прессовые, встряхивающие и другие.
Уплотнение прессованием может
осуществляться по различным схемам, выбор которой зависит от размеров формы
моделей, степени и равномерности уплотнения и других условий.
В машинах с верхним уплотнением
(рис. 5.5.а) уплотняющее давление действует сверху. Используют наполнительную
рамку.
При подаче сжатого воздуха в
нижнюю часть цилиндра 1 прессовый поршень 2, стол 3 с прикрепленной к нему
модельной плитой 4 с моделью поднимается. Прессовая колодка 7, закрепленная на
траверсе 8 входит в наполнительную рамку 6 и уплотняет формовочную смесь в
опоке 5. После прессования стол с модельной оснасткой опускают в исходное
положение.
Рис.
5.5. Схемы способов уплотнения литейных форм при машинной формовке
а –
прессованием; б - встряхиванием
У машин с нижним прессованием
формовочная смесь уплотняется самой моделью и модельной плитой.
Уплотнение встряхиванием
происходит в результате многократно повторяющихся встряхиваний (рис. 5.5.б).
Под действием сжатого воздуха,
подаваемого в нижнюю часть цилиндра 1, встряхивающий поршень 2 и стол с
закрепленной на нем модельной плитой 4 с моделью поднимается на 30…100 мм до
выпускного отверстия, затем падает. Формовочная смесь в опоке 5 и
наполнительной рамке 6 уплотняется в результате появления инерционных сил.
Способ характеризуется неравномерностью уплотнения, уплотнение верхних слоев
достигается допрессовкой.
Вакуумная формовка
Модельная плита имеет вакуумную
полость. В модели имеются сквозные отверстия диаметром 0,5…1 мм, совпадающие с
отверстиями в плите. Модельную плиту с моделью закрывают нагретой полимерной
пленкой. В воздушной коробке насосами создается вакуум 40…50 кПа. Затем
устанавливается опока с сухим кварцевым песком, который уплотняется с помощью
вибраций.
На верхнюю поверхность помещают
разогретую пленку, плотно прилегающую к опоке. Полуформу снимают с модели. При
заливке металла пленка сгорает, образуя противопригарное покрытие.
Уплотнение пескометом
осуществляется рабочим органом пескомета – метательной головкой. Формовочная
смесь подается в головку непрерывно. Пескомет обеспечивает засыпку смеси и ее
уплотнение. При вращении ковша (1000…1500 мин–1) формовочная смесь
выбрасывается в опоку со скоростью 30…60 м/с. Метательная головка может
перемещаться над опокой. Пескомет – высокопроизводительная формовочная машина,
его применяют при изготовлении крупных отливок в опоках и кессонах.
Безопочная автоматическая формовка
Используется при изготовлении форм
для мелких отливок из чугуна и стали в серийном и массовом производстве.
Изготовление литейных форм
осуществляется на высокопроизводительных пескодувно-прессовых автоматических
линиях (рис. 5.6).
Рис. 5.6. Изготовление безопочных
литейных форм
Формовочная камера заполняется
смесью с помощью сжатого воздуха из головки 2. Уплотнение осуществляется при
перемещении модельной плиты 1 плунжером 4. После уплотнения поворотная
модельная плита 3 отходит влево и поворачивается в горизонтальное положение.
Полуформа перемещается плунжером 4 до соприкосновения с предыдущим комом,
образуя полость 5. Затем производят заливку металла из ковша 6. После
затвердевания и охлаждения отливок, формы подаются на выбивную решетку, где
отливки 7 освобождаются от формовочной смеси.
Изготовление стержней
Изготовление стержней
осуществляется вручную или на специальных стержневых машинах из стержневых
смесей.
Изготовление стержней включает
операции: формовка сырого стержня, сушка, окраска сухого стержня. Если стержень
состоит из нескольких частей, то после сушки их склеивают.
Ручная формовка осуществляется в
стержневых ящиках. В готовых стержнях выполняют вентиляционные каналы. Для
придания стержням необходимой прочности используются арматурные каркасы из
стальной проволоки или литого чугуна.
Готовые стержни подвергаются сушке
при температуре 200…230 0С, для увеличения газопроницаемости и
прочности. Во время сушки из стержня удаляется влага, частично или полностью
выгорают органические примеси
Часто стержни изготавливают на
пескодувных машинах. При использовании смесей с синтетическими смолами, стержни
изготавливают в нагреваемой оснастке.
Изготовление стержней из
жидкостекольных смесей состоит в химическом отверждении жидкого стекла путем
продувки стержня углекислым газом.
ЛЕКЦИЯ
6
Изготовление
отливок в песчаных формах (продолжение)
Специальные
способы литья
Изготовление отливок в
песчаных формах
Приготовление расплава
Приготовление литейных сплавов
связано с плавлением различных материалов. Для получения заданного химического
состава и определенных свойств, в сплав в жидком или твердом состоянии вводят
специальные легирующие элементы: хром, никель, марганец, титан и др.
Для плавления чугуна и стали, в
качестве исходных материалов применяют литейные или передельные доменные
чугуны, чугунный и стальной лом, отходы собственного производства, а также для
понижения температуры плавления и образования шлаков – флюсы (известняк).
Чугуны, в основном, выплавляют в
вагранках. В последнее время развивается плавка в электрических печах, а также
дуплекс-процесс, в особенности, вариант вагранка – индукционная печь.
Плавку стали ведут в
электродуговых, индукционных и плазменно-индукционных печах.
Для плавления цветных металлов
используют как первичные, полученные на металлургических заводах, так и
вторичные, после переплавки цветного лома, металлы и сплавы, а также – флюсы
(хлористые и фтористые соли).
Для плавления применяют
индукционные печи промышленной частоты, электрические печи сопротивления.
Плавку тугоплавких металлов и сплавов ведут в вакууме или в среде защитных
газов.
Сборка и заливка литейной
формы
Сборка литейной формы включает: установку нижней полуформы; установку
стержней, устойчивое положение которых обеспечивается стержневыми знаками;
контроль отклонения размеров основных полостей формы; установку верхней
полуформы по центрирующим штырям.
Заливка форм расплавленным металлом осуществляется из ковшей
чайникового, барабанного и других типов. Важное значение имеет температура
расплавленного металла. Целесообразно назначать ее на 100…150 0C
выше температуры плавления:: низкая температура увеличивает опасность
незаполнения формы, захвата воздуха, ухудшения питания отливок; при высокой
температуре металл больше насыщен газами, сильнее окисляется, возможен пригар
на поверхности отливки.
Заливку ведут непрерывно до
полного заполнения литниковой чаши.
Охлаждение, выбивка и
очистка отливок
Охлаждение отливок до температуры выбивки длится от нескольких
минут (для небольших тонкостенных отливок) до нескольких суток и недель (для
крупных толстостенных отливок). Для сокращения продолжительности охлаждения
используют методы принудительного охлаждения:
а) обдувают воздухом,
б) при формовке укладывают
змеевики, по которым пропускают воздух или воду.
Выбивка отливки – процесс удаления затвердевшей и охлажденной
до определенной температуры отливки из литейной формы, при этом литейная форма
разрушается. Осуществляют на специальных выбивных установках. Форма
выталкивается из опоки выталкивателем на виброжелоб, по которому направляется
на выбивную решетку, где отливки освобождаются от формовочной смеси. Выбивку
стержней осуществляют вибрационно-пневматическими и гидравлическими
устройствами.
Обрубка отливок – процесс удаления с отливки прибылей,
литников, выпоров и заливов по месту сопряжения полуформ.
Осуществляется пневматическими
зубилами, ленточными и дисковыми пилами, при помощи газовой резки и на прессах.
После обрубки отливки зачищают,
удаляя мелкие заливы, остатки выпоров и литников. Выполняют зачистку
маятниковыми и стационарными шлифовальными кругами, пневматическими зубилами.
Очистка отливок – процесс удаления пригара, остатков
формовочной и стержневой смесей с наружных и внутренних поверхностей отливок.
Осуществляется в галтовочных
барабанах периодического или непрерывного действия (для мелких отливок), в
гидропескоструйных и дробеметных камерах, а также химической или
электрохимической обработкой.
Специальные способы литья
В современном литейном
производстве все более широкое применение получают специальные способы литья: в
оболочковые формы, по выплавляемым моделям, кокильное, под давлением,
центробежное и другие.
Эти способы позволяют получать
отливки повышенной точности, с малой шероховатостью поверхности, минимальными
припусками на механическую обработку, а иногда полностью исключают ее, что
обеспечивает высокую производительность труда. Каждый специальный способ литья
имеет свои особенности, определяющие области применения.
Литье в оболочковые формы
Литье в оболочковые формы - процесс получения отливок из расплавленного металла
в формах, изготовленных по горячей модельной оснастке из специальных
песчано-смоляных смесей.
Формовочную смесь приготовляют из
мелкого кварцевого песка с добавлением термореактивных связующих материалов.
Технологические операции формовки
при литье в оболочковые формы представлены на рис.6.1.
Металлическую модельную плиту 1 с
моделью нагревают в печи до 200…250 0C.
Затем плиту 1 закрепляют на
опрокидывающемся бункере 2 с формовочной смесью 3 (рис. 6.1. а) и
поворачивают на 180 0 (рис. 6.1.б). Формовочную смесь выдерживают на
плите 10…30 секунд. Под действием теплоты, исходящей от модельной плиты,
термореактивная смола в приграничном слое расплавляется, склеивает песчинки и
отвердевает с образованием песчано-смоляной оболочки 4, толщиной 5…15
мм. Бункер возвращается в исходное положение (рис. 6.1. в),
излишки формовочной смеси осыпаются с оболочки. Модельная плита с полутвердой
оболочкой 4 снимается с бункера и прокаливается в печи при температуре
300…350 ?C, при этом смола переходит в твердое необратимое состояние. Твердая
оболочка снимается с модели с помощью выталкивателей 5 (рис.6.1.г).
Аналогичным образом получают вторую полуформу.
Для получения формы полуформы
склеивают или соединяют другими способами (при помощи скоб).
Рис
6.1. Технологические операции формовки при литье в оболочковые формы
Собранные формы небольших размеров
с горизонтальной плоскостью разъема укладывают на слой песка.
Формы с вертикальной плоскостью разъема 6 и крупные
формы для предохранения от коробления и преждевременного разрушения
устанавливают в контейнеры 7 и засыпают чугунной дробью 8
(рис.6.1.д).
Литье в оболочковые формы
обеспечивает высокую геометрическую точность отливок, малую шероховатость
поверхностей, снижает расход формовочных материалов (высокая прочность оболочек
позволяет изготавливать формы тонкостенными) и объем механической обработки,
является высокопроизводительным процессом.
В оболочковых формах изготавливают
отливки массой 0,2…100 кг с толщиной стенки 3…15 мм из всех литейных сплавов
для приборов, автомобилей, металлорежущих станков.
Литье по выплавляемым
моделям
Литье по выплавляемым моделям – процесс получения отливок из расплавленного металла
в формах, рабочая полость которых образуется благодаря удалению (вытеканию)
легкоплавкого материала модели при ее предварительном нагревании.
Технологические операции процесса
литья по выплавляемым моделям представлены на рис. 6.2.
Выплавляемые модели изготавливают
в пресс-формах 1 (рис. 6.2.а) из модельных составов, включающих парафин,
воск, стеарин, жирные кислоты. Состав хорошо заполняет полость пресс-формы,
дает четкий отпечаток. После затвердевания модельного состава пресс-форма
раскрывается и модель 2 (рис. 6.2.б) выталкивается в холодную воду.
Затем модели собираются в
модельные блоки 3 (рис. 6.2.в) с общей литниковой системой припаиванием,
приклеиванием или механическим креплением. В один блок объединяют 2…100
моделей.
Формы изготавливают многократным
погружением модельного блока 3 в специальную жидкую огнеупорную смесь 5,
налитую в емкость 4 (рис.6.2.г) с последующей обсыпкой кварцевым
песком. Затем модельные блоки сушат на воздухе или в среде аммиака. Обычно
наносят 3…5 слоев огнеупорного покрытия с последующей сушкой каждого слоя.
Модели из форм удаляют, погружая в
горячую воду или с помощью нагретого пара. После удаления модельного состава
тонкостенные литейные формы устанавливаются в опоке, засыпаются кварцевым
песком, а затем прокаливают в печи в течение 6…8 часов при температуре 850…950 0C
для удаления остатков модельного состава, испарения воды (рис. 6.2.д)
Рис.6.2.
Технологические операции процесса литья по выплавляемым моделям
Заливку форм по выплавляемым
моделям производят сразу же после прокалки в нагретом состоянии. Заливка может
быть свободной, под действием центробежных сил, в вакууме и т.д.
После затвердевания залитого
металла и охлаждения отливок форма разрушается, отливки отделяют от литников
механическими методами, направляют на химическую очистку, промывают и
подвергают термической обработке.
Литье по выплавляемым моделям
обеспечивает получение точных и сложных отливок из различных сплавов массой
0,02…15 кг с толщиной стенки 0,5…5 мм.
Недостатком является сложность и
длительность процесса производства отливок, применение специальной
дорогостоящей оснастки.
Литьем по выплавляемым моделям
изготавливают детали для приборостроительной, авиационной и другой отраслевой
промышленности. Используют при литье жаропрочных труднообрабатываемых сплавов
(лопатки турбин), коррозионно-стойких сталей, углеродистых сталей в массовом
производстве (автомобильная промышленность).
Технологический процесс
автоматизирован и механизирован.
Литье в металлические формы
Литье в металлические формы
(кокили) получило большое распространение. Этим способом получают более 40%
всех отливок из алюминиевых и магниевых сплавов, отливки из чугуна и стали.
Литье в кокиль – изготовление отливок из расплавленного металла в
металлических формах-кокилях.
Формирование отливки происходит
при интенсивном отводе теплоты от расплавленного металла, от затвердевающей и
охлаждающейся отливки к массивному металлическому кокилю, что обеспечивает
более высокие плотность металла и механические свойства, чем у отливок,
полученных в песчаных формах.
Схема получения отливок в кокиле
представлена на рис. 6.3.
Рабочую поверхность кокиля с
вертикальной плоскостью разъема, состоящую из поддона 1, двух
симметричных полуформ 2 и 3 и металлического стержня 4,
предварительно нагретую до 150…180 ?C покрывают из пульверизатора 5
слоем огнеупорного покрытия (рис. 6.3.а) толщиной 0,3…0,8 мм. Покрытие
предохраняет рабочую поверхность кокиля от резкого нагрева и схватывания с
отливкой.
Покрытия приготовляют из
огнеупорных материалов (тальк, мел, графит), связующего материала (жидкое
стекло) и воды.
Рис.
6.3 Технологические операции изготовления отливки в кокиль
Затем с помощью манипулятора
устанавливают песчаный стержень 6, с помощью которого в отливке
выполняется полость (рис.6.3.б).
Половинки кокиля соединяют и
заливают расплав. После затвердевания отливки 7 (рис. 6.3.в) и
охлаждения ее до температуры выбивки кокиль раскрывают (рис.6.3.г) и
протягивают вниз металлический стержень 4. Отливка 7 удаляется
манипулятором из кокиля (рис.6.3.д).
Отливки простой конфигурации
изготовляют в неразъемных кокилях, несложные отливки с небольшими выступами и
впадинами на наружной поверхности – в кокилях с вертикальным разъемом. Крупные,
простые по конфигурации отливки получают в кокилях с горизонтальным разъемом.
При изготовлении сложных отливок применяют кокили с комбинированным разъемом.
Расплавленный металл в форму
подводят сверху, снизу (сифоном), сбоку. Для удаления воздуха и газов по
плоскости разъема прорезают вентиляционные каналы.
Все операции технологического
процесса литья в кокиль механизированы и автоматизированы. Используют
однопозиционные и многопозиционные автоматические кокильные машины.
Литье в кокиль применяют в
массовом и серийном производствах для изготовления отливок из чугуна, стали и
сплавов цветных металлов с толщиной стенки 3…100 мм, массой от нескольких
граммов до нескольких сотен килограммов.
Литье в кокиль позволяет сократить
или избежать расхода формовочных и стержневых смесей, трудоемких операций
формовки и выбивки форм, повысить точность размеров и снизить шероховатость
поверхности, улучшить механические свойства.
Недостатки кокильного литья:
высокая трудоемкость изготовления кокилей, их ограниченная стойкость, трудность
изготовления сложных по конфигурации отливок.
Изготовление отливок
центробежным литьем
При центробежном литье сплав
заливается во вращающиеся формы. Формирование отливки осуществляется под
действием центробежных сил, что обеспечивает высокую плотность и механические
свойства отливок.
Центробежным литьем изготовляют отливки
в металлических, песчаных, оболочковых формах и формах для литья по
выплавляемым моделям на центробежных машинах с горизонтальной и вертикальной
осью вращения.
Металлические формы изложницы
изготовляют из чугуна и стали. Толщина изложницы в 1,5…2 раза больше толщины
отливки. В процессе литья изложницы снаружи охлаждают водой или воздухом.
На рабочую поверхность изложницы
наносят теплозащитные покрытия для увеличения срока их службы. Перед работой
изложницы нагревают до 200 0C.
Схемы процессов изготовления
отливок центробежным литьем представлены на рис.6.4.
При получении отливок на машинах
с вращением формы вокруг вертикальной оси (рис. 6.4.а) металл из ковша 4
заливают во вращающуюся форму 2, укрепленную на шпинделе 1,
который вращается от электродвигателя.
Под действием центробежных сил
металл прижимается к боковой стенке изложницы. Литейная форма вращается до
полного затвердевания отливки. После остановки формы отливка 3
извлекается.
Отливки имеют разностенность по
высоте – более толстое сечение в нижней части. Применяют для получения отливок
небольшой высоты – коротких втулок, колец, фланцев.
Рис.6.4.
Схемы процессов изготовления отливок центробежным литьем
При получении отливок типа тел
вращения большой длины (трубы, втулки) на машинах с горизонтальной осью
вращения (рис. 6.4.б) изложницу 2 устанавливают на опорные ролики 7
и закрывают кожухом 6. Изложница приводится в движение электродвигателем
1. Расплавленный металл из ковша 4 заливают через желоб 3,
который в процессе заливки металла перемещается, что обеспечивает получение
равностенной отливки 5. Для образования раструба трубы используют
песчаный или оболочковый стержень 8. После затвердевания металла готовую
отливку извлекают специальным приспособлением.
Скорость вращения формы зависит от
диаметра отливки и плотности сплава, определяется по формуле:
,
где:
– плотность сплава;
– внутренний радиус отливки.
Центробежным литьем изготавливают
отливки из чугуна, стали, сплавов титана, алюминия, магния и цинка (трубы,
втулки, кольца, подшипники качения, бандажи железнодорожных и трамвайных
вагонов).
Масса отливок от нескольких
килограммов до 45 тонн. Толщина стенок от нескольких миллиметров до 350 мм.
Центробежным литьем можно получить тонкостенные отливки из сплавов с низкой
текучестью, что невозможно сделать при других способах литья.
Недостаток: наличие усадочной
пористости, ликватов и неметаллических включений на внутренних поверхностях;
возможность появления дефектов в виде продольных и поперечных трещин, газовых
пузырей.
Преимущества – получение
внутренних полостей трубных заготовок без применения стержней, экономия сплава
за счет отсутствия литниковой системы, возможность получения двухслойных
заготовок, что получается поочередной заливкой в форму различных сплавов (сталь
– чугун, чугун – бронза).
Используют автоматические и
многопозиционные карусельные машины с управлением от ЭВМ.
ЛЕКЦИЯ
7
Cпециальные
способы литья (продолжение)
Особенности
изготовления отливок из различных сплавов
Дефекты
отливок и их исправление
Специальные способы литья
Литье под давлением
Литьем под давлением получают отливки в металлических формах
(пресс-формах), при этом заливку металла в форму и формирование отливки
осуществляют под давлением.
Отливки получают на машины литья
под давлением с холодной или горячей камерой прессования. В машинах с холодной
камерой прессования камеры прессования располагаются либо горизонтально, либо
вертикально.
На машинах с горизонтальной
холодной камерой прессования (рис. 7.1) расплавленный металл заливают в камеру
прессования 4 (рис. 7.1.а). Затем металл плунжером 5, под
давлением 40…100 МПа, подается в полость пресс-формы (рис.7.1.б), состоящей из
неподвижной 3 и подвижной 1 полуформ. Внутреннюю полость в
отливке получают стержнем 2. После затвердевания отливки пресс-форма
раскрывается, стержень 2 извлекается (рис. 7.1.в) и отливка 7
выталкивателями 6 удаляется из рабочей полости пресс-формы.

Перед заливкой пресс-форму
нагревают до 120…320 0C. После удаления отливки рабочую поверхность
пресс-формы обдувают воздухом и смазывают специальными материалами для
предупреждения приваривания отливки. Воздух и газы удаляются через каналы,
расположенные в плоскости разъема пресс-формы или вакуумированием рабочей
полости перед заливкой металла. Такие машины применяют для изготовления отливок
из медных, алюминиевых, магниевых и цинковых сплавов массой до 45 кг.
На машинах с горячей камерой
прессования (рис. 7.2) камера прессования 2 расположена в обогреваемом
тигле 1 с расплавленным металлом. При верхнем положении плунжера 3 металл
через отверстие 4 заполняет камеру прессования. При движении плунжера
вниз отверстие перекрывается, сплав под давлением 10…30 МПа заполняет полость
пресс-формы 5. После затвердевания отливки плунжер возвращается в
исходное положение, остатки расплавленного металла сливаются в камеру
прессования, а отливка удаляется из пресс-формы выталкивателями 6.
Получают отливки из цинковых и
магниевых сплавов массой от нескольких граммов до 25 кг.
Рис.7.2.
Схема изготовления отливки на машинах с горячей камерой прессования
При литье под давлением
температура заливки сплава выбирается на 10…20 0C выше температуры
плавления.
Литье под давлением используют в массовом
и крупносерийном производствах отливок с минимальной толщиной стенок 0,8 мм, с
высокой точностью размеров и малой шероховатостью поверхности, за счет
тщательного полирования рабочей полости пресс-формы, без механической обработки
или с минимальными припусками, с высокой производительностью процесса.
Недостатки: высокая стоимость
пресс-формы и оборудования, ограниченность габаритных размеров и массы отливок,
наличие воздушной пористости в массивных частях отливки.
Изготовление отливок
электрошлаковым литьем
Сущность процесса электрошлакового
литья заключается в переплаве расходуемого электрода в водоохлаждаемой
металлической форме (кристаллизаторе).
При этом операции расплавления
металла, его заливка и выдержка отливки в форме совмещены по месту и времени.
Схема изготовления отливок
электрошлаковым литьем представлена на рис. 7.3.
Рис.7.3.
Схема изготовления отливок электрошлаковым литьем
В качестве расходуемого электрода
используется прокат. В кристаллизатор 6 заливают расплавленный шлак 4
(фторид кальция или смесь на его основе), обладающий высоким электро-
сопротивлением. При пропускании тока через электрод 7 и затравку 1
выделяется значительное количество теплоты, и шлаковые ванна нагревается до
1700 ?C, происходит оплавление электрода. Капли расплавленного металла проходят
через расплавленный шлак и образуют под ним металлическую ванну 3. Она в
водоохлаждаемой форме затвердевает последовательно, образуя плотную без
усадочных дефектов отливку 2. Внутренняя полость образуется
металлической вставкой 5.
Расплавленный шлак способствует
удалению кислорода, снижению содержания серы и неметаллических включений,
поэтому получают отливки с высокими механическими и эксплуатационными
свойствами.
Изготавливаются отливки
ответственного назначения массой до 300 тонн: корпуса клапанов и задвижек
атомных и тепловых электростанций, коленчатые валы судовых двигателей, корпуса
сосудов сверхвысокого давления, ротора турбогенераторов.
Изготовление отливок
непрерывным литьем
При непрерывном литье (рис.
7.4) расплавленный металл из металлоприемника 1 через графитовую насадку
2 поступает в водоохлаждаемый кристаллизатор 3 и затвердевает в
виде отливки 4, которая вытягивается специальным устройством 5.
Длинные отливки разрезают на заготовки требуемой длины.
Используют при получении отливок с
параллельными образующими из чугуна, медных, алюминиевых сплавов. Отливки не
имеют неметаллических включений, усадочных раковин и пористости, благодаря
созданию направленного затвердевания отливок.
Рис.
7.4. Схема непрерывного литья (а) и разновидности получаемых отливок (б)
Особенности изготовления
отливок из различных сплавов
Чугун.Преобладающее количество отливок из серого чугуна
изготовляют в песчаных формах. Отливки получают ,как правило, получают без
применения прибылей.
При изготовлении отливок из серого
чугуна в кокилях, в связи с повышенной скоростью охлаждения при затвердевании,
начинает выделяться цементит – появление отбеливания. Для предупреждения отбела
на рабочую поверхность кокиля наносят малотеплопроводные покрытия. Кокили перед
работой их нагревают, а чугун подвергают модифицированию. Для устранения отбела
отливки подвергают отжигу.
Отливки типа тел вращения (трубы,
гильзы, втулки) получают центробежным литьем.
Отливки из высокопрочного чугуна
преимущественно изготовляют в песчаных формах, в оболочковых формах, литьем в
кокиль, центробежным литьем. Достаточно высокая усадка чугуна вызывает
необходимость создания условий направленного затвердевания отливок для
предупреждения образования усадочных дефектов в массивных частях отливки путем
установки прибылей и использования холодильников.
Расплавленный чугун в полость
формы подводят через сужающуюся литниковую систему и, как правило, через
прибыль.
Особенностью получения отливок из
ковкого чугуна является то, что исходный материал – белый чугун имеет
пониженную жидкотекучесть, что требует повышенной температуры заливки при
изготовлении тонкостенных отливок. Для сокращения продолжительности отжига
чугун модифицируют алюминием, бором, висмутом. Отливки изготавливают в песчаных
формах, а также в оболочковых формах и кокилях.
Стальные отливки
Углеродистые и легированные стали
– 15Л, 12Х18Н9ТЛ, 30ХГСЛ, 10Х13Л, 110Г13Л – литейные стали.
Литейные стали имеют пониженную
жидкотекучесть, высокую усадку до 2,5%, склонны к образованию трещин.
Стальные отливки изготовляют в
песчаных и оболочковых формах, литьем по выплавляемым моделям, центробежным
литьем.
Для предупреждения усадочных
раковин и пористости в отливках на массивные части устанавливают прибыли, а в
тепловых узлах – используют наружные или внутренние холодильники. Для
предупреждения трещин формы изготавливают из податливых формовочных смесей, в
отливках предусматривают технологические ребра.
Подачу расплавленного металла для
мелких и средних отливок выполняют по разъему или сверху, а для массивных –
сифоном. В связи с низкой жидкотекучестью площадь сечения питателей в 1,5…2
раза больше, чем при литье чугуна.
Для получения высоких механических
свойств, стальные отливки подвергают отжигу, нормализации и другим видам термической
обработки.
Алюминиевые сплавы
Основные литейные сплавы – сплавы
системы алюминий – кремний (силумины)
Силумины (АЛ2, АЛ4, АЛ9) имеют
высокую жидкотекучесть, малую усадку (0,8…1%), не склонны к образованию горячих
и холодных трещин, потому что по химическому составу близки к эвтектическим
сплавам (интервал кристаллизации составляет 10…30 0С).
Остальные алюминиевые сплавы имеют
низкую жидкотекучесть, повышенную усадку, склонны к образованию трещин.
Отливки из алюминиевых сплавов
изготовляют литьем в кокиль, под давлением, в песчаные формы.
Используют кокили с вертикальным
разъемом. Для получения плотных отливок устанавливаются массивные прибыли.
Металл подводят через расширяющиеся литниковые системы с нижним подводом
металла к тонким сечениям отливки. Все элементы литниковой системы размещают в
плоскости разъема кокиля.
Медные сплавы
Бронзы (БрО5Ц5С5, БрАЖЗЛ) и латуни
(ЛЦ40Мц3А).
Все медные сплавы склонны к
образованию трещин. Отливки изготавливаются литьем в песчаные и оболочковые
формы, а также литьем в кокиль, под давлением, центробежным.
Для предупреждения образования
усадочных раковин и пористости в массивных узлах отливок устанавливают прибыли.
Для предупреждения появления трещин в отливках используют форму с высокой
податливостью.
Для плавного поступления металла
применяют расширяющиеся литниковые системы с верхним, нижним и боковым
подводом. Для отделения оксидных пленок в литниковой системе устанавливают
фильтры из стеклоткани.
Титановые сплавы
Имеют высокую химическую
активность в расплавленном состоянии. Они активно взаимодействуют с кислородом,
азотом, водородом и углеродом. Плавку этих сплавов ведут в вакууме или в среде
защитных газов.
Основной способ производства
титановых отливок – литье в графитовые формы, в оболочковые формы из
нейтральных оксидов магния, циркония. При изготовлении сложных тонкостенных
отливок применяют формы, полученные по выплавляемым моделям.
Дефекты отливок и их
исправление
Дефекты отливок по внешним
признакам подразделяют: на наружные (песчаные раковины, перекос недолив);
внутренние (усадочные и газовые раковины, горячие и холодные трещины),
Песчаные раковины – открытые или закрытые пустоты в теле отливки, которые
возникают из-за низкой прочности формы и стержней, слабого уплотнения формы и
других причин.
Перекос – смещение одной части отливки относительно другой,
возникающее в результате небрежной сборки формы, износа центрирующих штырей,
несоответствия знаковых частей стержня на модели и в стержневом ящике,
неправильной установке стержня.
Недолив – некоторые части отливки остаются незаполненными в
связи с низкой температурой заливки, недостаточной жидкотекучести,
недостаточным сечением элементов литниковой системы.
Усадочные раковины – открытые или закрытые пустоты в теле отливки с
шероховатой поверхностью и грубокристаллическим строением.
Возникают при недостаточном
питании массивных узлов, нетехнологичной конструкции отливки, заливки
перегретым металлом, неправильная установка прибылей.
Газовые раковины – открытые или закрытые пустоты с чистой и гладкой
поверхностью, которая возникает из-за недостаточной газопроницаемости формы и
стержней, повышенной влажности формовочных смесей и стержней, насыщенности
расплавленного металла газами.
Трещины горячие и холодные –
разрывы в теле отливки,
возникающие при заливке чрезмерно перегретым металлом, из-за неправильной
конструкции литниковой системы, неправильной конструкции отливок, повышенной
неравномерной усадки, низкой податливости форм и стержней.
Методы обнаружения дефектов
Наружные дефекты отливок обнаруживаются
внешним осмотром после извлечения отливки из формы или после очистки.
Внутренние дефекты определяют
радиографическими или ультразвуковыми методами дефектоскопии.
При использовании радиографических
методов (рентгенография, гаммаграфия) на отливки воздействуют рентгеновским или
гамма-излучением. С помощью этих методов выявляют наличие дефекта, размеры и
глубину его залегания.
При ультразвуковом контроле
ультразвуковая волна, проходящая через стенку отливки при встрече с границей
дефекта (трещиной, раковиной) частично отражается. По интенсивности отражения
волны судят о наличие, размерах и глубине залегания дефекта.
Трещины выявляют люминесцентным
контролем, магнитной или цветной дефектоскопией.
Методы исправления дефектов
Незначительные дефекты исправляют
заделкой замазками или мастиками, пропиткой различными составами, газовой или
электрической сваркой.
Заделка замазками или мастиками – декоративное исправление мелких поверхностных
раковин. Перед заполнением мастикой дефектные места очищают от грязи, обезжиривают.
После заполнения исправленное место заглаживают, подсушивают и затирают пемзой
или графитом.
Пропитывание применяют для устранения пористости. Отливки на 8…12
часов погружают в водный раствор хлористого аммония. Проникая в промежутки
между кристаллами металла, раствор образует оксиды, заполняющий поры отливок.
Для устранения течи отливки из
цветных металлов пропитывают бакелитовым лаком.
Газовую и электрическую сварку применяют для
исправления дефектов на необрабатываемых поверхностях (раковины, сквозные
отверстия, трещины). Дефекты в чугунных отливках заваривают с использованием
чугунных электродов и присадочных прутков, в стальных отливках – электродами
соответствующего состава.
Техника безопасности и охрана
окружающей среды в литейном производстве
Производство отливок связано с
использованием токсичных веществ (формовочные смеси с жидким стеклом). Должны
быть предусмотрены меры, исключающие контакт обслуживающего персонала с едким
натром. При работе со стержневыми смесями (синтетическая фенолформальдегидные
смолы) запрещается работа без резиновых перчаток.
Места заливки литейных форм должны
быть обеспечены вентиляцией для удаления продуктов сгорания.
При изготовлении литейных форм и
литейных стержней на формовочных и стержневых машинах предусматриваются
обязательные меры безопасности.
Машины литья под давлением должны
быть снабжены блокировками, исключающими возможность создания давления до
закрытия пресс-форм. Между машинами устанавливают защитные металлические щиты,
предохраняющие от возможного аварийного выплеска из разъема формы.
Литейные цехи снабжены надежной
вентиляцией, устройствами воздушных душей или тепловых завес на рабочих местах.
Шумопроизводящее оборудование
размещают в специальных изолированных помещениях.
Для улучшения санитарно-гигиеничных
условий труда широко внедряются: современные плавильные печи, в которых газы
подвергаются очистке, а теплота утилизируется; установки для очистки дымовых
газов от хлоридов; новые нетоксичные связующие материалы и технологические
процессы изготовления стержней.
Охрану водных бассейнов
осуществляют путем создания эффективных способов очистки загрязненных
производственных стоков и оборотного водоснабжения. Сброс сточных вод
осуществляется, если содержание вредных примесей ниже предельно допустимых
концентраций. Для удаления грубодисперсных примесей применяют отстаивание,
фильтрацию.
ЛЕКЦИЯ
8
Технологичность конструкций
литых деталей
Основные положения к выбору
способа литья
Технологичность конструкций
литых форм
Конструкция литой детали должна
обеспечивать высокий уровень механических и эксплуатационных характеристик при
заданной массе, конфигурации, точности размеров и шероховатости поверхности.
При проектировании отливки должны
учитываться литейные свойства сплавов, а также технологии изготовления
модельного комплекта, литейной формы, стержней, очистка и обрубка отливок, а
также их дальнейшая обработка. Необходимо стремиться к уменьшению массы и
упрощению конфигурации.
Основы конструирования
литых заготовок
Минимальную толщину необрабатываемых
стенок отливки определяют по диаграмме (рис.8.1) в зависимости от габаритного
размера.
.
Рис.
8.1. Диаграммы для определения минимальной толщины стенок отливокиз различных
сплавов:
1 –
стали; 2 – серого чугуна; 3 – бронзы; 4 – алюминиевых сплавов
Толщина внутренних стенок и ребер
принимается на 20 % меньше толщины наружных стенок.
Получение отливок без усадочных
дефектов достигается при равномерной толщине стенок, т.е. если отсутствуют
термические узлы – большое скопление металла в отдельных местах. Равномерность
толщины стенки и скопление металла определяют диаметром вписанных окружностей
(рис. 8.2. а, б).
Рис.8.2.
Устранение местного скопления металла в стенках отливки
Желательно, чтобы соотношение
диаметров вписанных окружностей в близко расположенных сечениях не превышало
1,5
. Это достигается
уменьшением радиуса галтели с помощью углублений в стенках отливки (рис.8.2.в),
смещением одной стенки (рис. 8.2.г), при возможности предусматривается
отверстие (рис. 8.2.д).
Отливки, затвердевающие
одновременно должны иметь равномерную толщину стенок с плавными переходами
(рис. 8.3.а). Принцип применяется для мелких и средних тонкостенных отливок из
чугуна и других сплавов.
При направленном затвердевании
(рис. 8.3.б) верхние сечения отливок питаются от прибылей 1. Верхние
сечения служат прибылью для нижних сечений. Принцип направленного затвердевания
применяется для деталей с повышенными требованиями к герметичности отливок.
Рис.8.3.
Конструкции литых деталей, обеспечивающих одновременное (а) и направленное (б)
затвердевание отливок
Для снижения литейных напряжений
необходимо обеспечить свободную усадку элементов отливки.
Корпусная деталь, показанная на
рис. 8.4. а имеет перегородки, которые затрудняют процесс усадки, в результате
чего возникают значительные литейные напряжения. Конструкция, представленная на
рис. 8.4.б, обеспечивает свободную усадку. Придание перегородкам конической
формы (рис. 8.4. в) также снижает усадочные напряжения.
Рис.
8.4. Конструкции литых деталей, снижающие усадочные напряжения в отливках
Коробление отливок, возникающее
из-за недостаточной жесткости конструкции, можно устранить путем установки
ребер жесткости. Кромки стенок большой протяженности усиливают буртиками
толщиной
и шириной
(
– толщина стенки).
Отливки, изготовляемые
литьем в песчаные формы
Внешние контуры отливок должны
представлять собой сочетание простых геометрических тел с преобладанием плоских
прямолинейных поверхностей с плавными переходами (рис.8.5).
Рис.
8.5. Рекомендуемые переходы от стенки к стенке в литых деталях
а –
; б –
Стремятся к уменьшению габаритных
размеров и особенно высоты литой детали. Это облегчает изготовление модельного
комплекта, а также процессы формовки, сборки форм и очистки отливок. При этом
отливка должна иметь один плоский разъем и располагаться по возможности в одной
полуформе.
Контуры литых деталей должны
обеспечивать формовку без дополнительных стержней (отсутствие поднутрений). На
рис. 8.6.а показана конструкция отливки, при формовке которой требуется три стержня.
При изменении конструкции детали (рис. 8.6.б) требуется только один стержень,
процесс формовки упростился.
Рис.
8.6. Конструкция литой детали: а – нетехнологичная,; б - технологичная
Необрабатываемые поверхности,
перпендикулярные к плоскости разъема, должны иметь конструктивные уклоны.
Бобышки, приливы и другие
выступающие части необходимо конструировать так, чтобы не затруднять извлечение
модели из формы (рис. 8.7). При изготовлении нетехнологичных отливок требуется
применение в моделях отъемных частей или стержней, что усложняет процесс
формовки.
Рис.
8.7. Конструкции литой детали: а, б – нетехнологичные,; в, г - технологичные
Внутренние полости сложных отливок
необходимо изготавливать с минимальным числом стержней. На рис. 8.8 представлены
варианты конструкции литой детали: технологичной (б) и нетехнологичной (а).
Рис.
8.8. Конструкция литой детали: а – нетехнологичная,; б - технологичная
В конструкции должно быть
достаточное число окон для прочного крепления стержней в форме, удаления газов
из стержня и удобства выбивки стержней из отливки.
В конструкции детали следует
избегать пазов и узких полостей, при выполнении которых возможно образование
песчаных раковин, из-за разрушения стержней потоком расплавленного металла
(рис. 8.9).
Рис.8.9.
Устранение пазов в конструкции литой детали
Минимальные диаметры отверстий в
отливках выбираются в зависимости от материала и толщины стенки.
Основные положения к выбору
способа литья
При выборе способа литья для
получения заготовки в первую очередь должен быть рассмотрен вопрос экономии
металла. Металлоемкость можно снизить конструктивными и технологическими
мероприятиями. Часто закладывается неоправданно большой запас прочности
деталей, работающих при незначительных нагрузках. За счет изменения конструкции,
образования выемок, изменения толщины стенок, применения коробчатых или
тавровых сечений можно достичь значительной экономии металла. При анализе
требований, предъявляемых в процессе эксплуатации, возможна замена
дорогостоящих материалов.
При выборе способа получения
отливки необходимо оценить все положительные и отрицательные стороны возможных
технологических процессов, провести сравнительный анализ.
При сравнении различных способов
литья необходимо учитывать различные факторы.
Технологические свойства сплава.
При пониженной жидкотекучести нежелательно применять литье в металлические
формы. При высокой склонности к усадке нежелательно применять литье в
металлические формы, так как возможно образование трещин из-за низкой
податливости формы, а также литье под давлением из-за сложности пресс-формы.
Возможности способов для получения
отливок без дефектов литейного происхождения и для обеспечения равномерной
мелкозернистой структуры, высоких механических свойств.
Технологичность конструкции детали
применительно к каждому рассматриваемому способу. Сложные по конфигурации
отливки получают литьем под давлением, по выплавляемым моделям, в песчаных
формах. Литьем в кокиль получают отливки с простой наружной конфигурацией, а
центробежным литьем – отливки типа тел вращения. Наиболее тонкостенные отливки
получают литьем по выплавляемым моделям и литьем под давлением. Специальные
способы литья применяют для получения мелких и средних отливок, при литье в
песчаные формы габариты и масса отливок не ограничены.
Следует выбирать способ,
обеспечивающий заданную точность размеров и шероховатость поверхности. Высокое
качество поверхности дает возможность сохранить при механической обработке
литейную корку, имеющую повышенную твердость и износостойкость, снизить себестоимость
готовых деталей за счет экономии металла.
Специальные способы литья
целесообразно применять в крупносерийном и массовом производствах
Необходимо учитывать возможности
имеющегося оборудования, уровень литейной технологии и технологии механической
обработки.
Наиболее точным показателем,
определяющим эффективность применения того или иного способа, является
себестоимость.
ЛЕКЦИЯ
9
Технология
обработки давлением. Общие сведения
Обработкой давлением называются процессы получения заготовок или деталей
машин силовым воздействием инструмента на исходную заготовку из исходного
материала.
Пластическое деформирование при
обработке давлением, состоящее в преобразовании заготовки простой формы в
деталь более сложной формы того же объема, относится к малоотходной технологии.
Обработкой давлением получают не
только заданную форму и размеры, но и обеспечивают требуемое качество металла,
надежность работы изделия.
Высокая производительность
обработки давлением, низкая себестоимость и высокое качество продукции привели
к широкому применению этих процессов.
Классификация процессов
обработки давлением
Пластическое деформирование в
обработке металлов давлением осуществляется при различных схемах напряженного и
деформированного состояний, при этом исходная заготовка может быть объемным
телом, прутком, листом.
По назначению процессы обработки
металлов давлением группируют следующим образом:
– для получения изделий
постоянного поперечного сечения по длине (прутков, проволоки, лент, листов),
применяемых в строительных конструкциях или в качестве заготовок для
последующего изготовления деталей – прокатка, волочение, прессование;
– для получения деталей или
заготовок, имеющих формы и размеры, приближенные к размерам и формам готовых
деталей, требующих механической обработки для придания им окончательных
размеров и заданного качества поверхности – ковка, штамповка.
Основными схемами деформирования
объемной заготовки являются:
– сжатие между плоскостями
инструмента – ковка;
– ротационное обжатие вращающимися
валками – прокатка;
– затекание металла в полость
инструмента – штамповка;
– выдавливание металла из полости
инструмента – прессование;
– вытягивание металла из полости
инструмента – волочение.
Характер пластической деформации
зависит от соотношения процессов упрочнения и разупрочнения. Губкиным С.И.
предложено различать виды деформации и, соответственно, виды обработки
давлением.
Горячая деформация – деформация, после которой металл не получает
упрочнения. Рекристаллизация успевает пройти полностью, новые равноосные зерна
полностью заменяют деформированные зерна, искажения кристаллической решетки
отсутствуют. Деформация имеет место при температурах выше температуры начала
рекристаллизации.
Неполная горячая деформация характеризуется незавершенностью процесса
рекристаллизации, которая не успевает закончиться, так как скорость ее
недостаточна по сравнению со скоростью деформации. Часть зерен остается
деформированными и металл упрочняется. Возникают значительные остаточные
напряжения, которые могут привести к разрушению. Такая деформация наиболее
вероятна при температуре, незначительно превышающей температуру начала
рекристаллизации. Ее следует избегать при обработке давлением.
При неполной холодной
деформации рекристаллизация не происходит, но протекают процессы возврата.
Температура деформации несколько выше температуры возврата, а скорость
деформации меньше скорости возврата. Остаточные напряжения в значительной мере
снимаются, интенсивность упрочнения снижается.
При холодной деформации
разупрочняющие процессы не происходят. Температура холодной деформации ниже
температуры начала возврата.
Холодная и горячая деформации не
связаны с деформацией с нагревом или без нагрева, а зависят только от
протекания процессов упрочнения и разупрочнения. Поэтому, например, деформация
свинца, олова, кадмия и некоторых других металлов при комнатной температуре
является с этой точки зрения горячей деформацией.
Схемы напряженного и
деформированного состояний
Схемы напряженного состояния
графически отображают наличие и направление главных напряжений в
рассматриваемой точке тела.
Напряжения в точке изображаются
как напряжения на трех бесконечно малых гранях куба, соответственно
перпендикулярных главным осям.
Возможны девять схем напряженного
состояния (рис. 9.1.а). Напряженное состояние в точке может быть линейным,
плоским или объемным.
Рис.
9.1. Схемы напряженного (а) и деформированного (б) состояний:
I –
линейное напряженное состояние; II – плоское; III – объемное
Схемы с напряжениями одного знака
называют одноименными, а с напряжениями разных знаков – разноименными. Условно
растягивающие напряжения считают положительными, с сжимающие – отрицательными.
Схема напряженного состояния
оказывает влияние на пластичность металла. На значение главных напряжений
оказывают существенное влияние силы трения, возникающие в месте контакта
заготовки с инструментом, и форма инструмента. В условиях всестороннего
неравномерного сжатия при прессовании, ковке, штамповке сжимающие напряжения
препятствуют нарушению межкристаллических связей, способствуют развитию внутрикристаллических
сдвигов, что благоприятно сказывается на процессах обработки металлов
давлением. В реальных процессах обработки давлением в большинстве случаев
встречаются схемы всестороннего сжатия и состояния с одним растягивающим и
двумя сжимающими напряжениями.
Схема деформированного состояния
графически отображает наличие и направление деформации по трем взаимно
перпендикулярным направлениям.
Возможны три схемы
деформированного состояния (рис. 9.1.б).
При схеме Д I
уменьшаются размеры тела по высоте, за счет этого увеличиваются два других
размера (осадка, прокатка).
При схеме Д II
происходит уменьшение одного размера, чаще высоты, другой размер (длина)
увеличивается, а третий (ширина) не изменяется. Например, прокатка широкого
листа, когда его ширина в процессе прокатки практически не изменяется. Это
схема плоской деформации.
Наиболее рациональной с точки
зрения производительности процесса обработки давлением является схема Д III:
размеры тела уменьшаются по двум направлениям, и увеличивается третий размер
(прессование, волочение).
Совокупность схем главных
напряжений и главных деформаций характеризуют пластичность металла. Напряженное
состояние при прессовании металла характеризуется такой же схемой напряженного
состояния, как при ковке, а схема главных деформаций характеризуется двумя
деформациями сжатия и одной – растяжения. При ковке и штамповке растягивающие
напряжения играют большую роль, поэтому пластичность металла меньше.
Закономерности обработки
давлением. Характеристики деформаций
Процессам обработки металлов
давлением присущи определенные закономерности.
Закон постоянства объема. Пластическая деформация практически не влияет на
плотность металла, поэтому действует закон постоянства объема: объем тела при
его пластической деформации остается неизменным:
где:
– высота;
– ширина;
– длина – размеры тела до деформации;
– высота;
– ширина;
– высота – размеры тела после деформации.
Закон применяется для расчетов
объема и размеров исходной заготовки, необходимой для получения поковки с
заданными размерами, а также переходов и изменения размеров заготовки в
процессе деформирования.
Закон подобия. При осуществлении в одинаковых условиях одних и тех
же процессов пластического деформирования геометрически подобных тел из
одинакового материала отношение усилий деформирования равно квадрату, а
отношение затраченных работ – кубу отношений соответствующих линейных размеров.
Этот закон, основанный на принципе моделирования, используется для
приближенного определения усилий деформирования и затрачиваемой работы.
Закон наименьшего сопротивления. В случае возможности перемещения точек
деформируемого тела в различных направлениях, каждая точка перемещается в
направлении наименьшего сопротивления.
Закон позволяет учесть
предпочтительное направление течения металла, определить, какая часть полости
штампа заполнится быстрее, какие размеры и форму будет иметь поперечное сечение
заготовки в результате ее обработки давлением.
По этому закону, при наличии
трения на контактной поверхности, заготовка прямоугольного сечения при осадке
будет приобретать округлую форму, имеющую наименьший периметр при данной
площади.
В этом случае направлением
наименьшего сопротивления является кратчайшая нормаль к периметру сечения.
Деформацию принято оценивать
следующими величинами.
1. Абсолютные деформации:
– обжатие;
– уширение;
– удлинение.
2. Относительные деформации:
или
– относительное обжатие или относительная
высотная деформация;
или
– относительное уширение или относительная
поперечная деформация;
или
– относительное удлинение или относительная
продольная деформация.
3. Коэффициент, определяющий
изменение длины обрабатываемого изделия –
. Его называют вытяжкой или коэффициентом
вытяжки.
Согласно закону постоянства объема
(где:
– площадь поперечного сечения до
деформации,
– площадь
поперечного сечения после деформации).
Скорость деформации – изменение
относительной деформации в единицу времени:
,
где:
– степень деформации;
– время.
Скорость деформации следует
отличать от скорости движения деформирующего инструмента и скорости течения
металла при деформации. Диапазон скоростей деформации составляет 10 –1
… 10 3 , с –1.
Технологические свойства
При выборе металла или сплава для
изготовления изделия различными способами обработки давлением учитывается
способность материала к данному методу обработки.
Ковкость – свойство металла изменять свою форму под действием
ударов или давления, не разрушаясь.
Степень ковкости зависит от многих
параметров. Наиболее существенным из них является пластичность, характеризующая
способность материала деформироваться без разрушения. Чем выше пластичность
материала, тем большую степень суммарного обжатия он выдерживает.
В условиях обработки металлов
давлением на пластичность влияют многие факторы: состав и структура деформируемого
металла, характер напряженного состояния при деформации, неравномерность
деформации, скорость деформации, температура деформации и др. Изменяя те или
иные факторы, можно изменять пластичность.
Состав и структура металла. Пластичность находится в прямой зависимости от
химического состава материала. С повышением содержания углерода в стали
пластичность падает. Большое влияние оказывают элементы, входящие в состав
сплава как примеси. Олово, сурьма, свинец, сера не растворяются в металле и,
располагаясь по границам зерен, ослабляют связи между ними. Температура
плавления этих элементов низкая, при нагреве под горячую деформацию они
плавятся, что приводит к потере пластичности.
Пластичность зависит от
структурного состояния металла, особенно при горячей деформации. Неоднородность
микроструктуры снижает пластичность. Однофазные сплавы, при прочих равных
условиях, всегда пластичнее, чем двухфазные. Фазы имеют неодинаковые
механические свойства, и деформация получается неравномерной. Мелкозернистые
металлы пластичнее крупнозернистых. Металл слитков менее пластичен, чем металл
прокатанной или кованой заготовки, так как литая структура имеет резкую
неоднородность зерен, включения и другие дефекты.
Характер напряженного состояния. Один и тот же материал проявляет различную
пластичность при изменении схемы напряженного состояния. Еще в 1912 году
немецкий ученый Карман осаживал образцы из мрамора и песчаника, помещенные в
толстостенный цилиндр, в который нагнетался глицерин под давлением до 170 МН/м2.
Деформация происходила при схеме всестороннего сжатия. В результате остаточная
деформация образцов составила 9 %, в дальнейшем удалось достигнуть деформации в
78 %. Схема всестороннего сжатия является наиболее благоприятной для проявления
пластических свойств, так как при этом затрудняется межзеренная деформация и
вся деформация протекает за счет внутризеренной. Появление в схеме
растягивающих напряжений снижает пластичность. Самая низкая пластичность
наблюдается при схеме всестороннего растяжения.
Неравномерность деформации. Чем больше неравномерность деформации, тем ниже
пластичность. Неравномерность деформации вызывает появление дополнительных
напряжений. Растягивающие напряжения всегда снижают пластичность и способствуют
хрупкому разрушению. Кроме того, неравномерность напряженного состояния
понижает механическую прочность материала, так как напряжения от внешней
нагрузки суммируется с остаточными растягивающими напряжениями, то разрушение
наступает при меньшей нагрузке.
Скорость деформации. С повышением скорости деформации в условиях горячей
деформации пластичность снижается. Имеющаяся неравномерность деформации
вызывает дополнительные напряжения, которые снимаются только в том случае, если
скорость разупрочняющих процессов не меньше скорости деформации.
Влияние температуры. Качественная зависимость пластичности от температуры
представлена на рис.9.2.
Рис.
9.2. Влияние температуры на пластичность сталей
Влияние температуры неоднозначно.
Малоуглеродистые и среднеуглеродистые стали, с повышением температуры,
становятся более пластичными (1). Высоколегированные стали имеют большую
пластичность в холодном состоянии (2). Для шарикоподшипниковых сталей
пластичность практически не зависит от температуры (3) . Отдельные
сплавы могут иметь интервал повышенной пластичности (4). Техническое
железо в интервале 800…1000 0С характеризуется понижением
пластических свойств (5). При температурах, близких к температуре
плавления пластичность резко снижается из-за возможного перегрева и пережога.
Технологические испытания
Для оценки способности материала
воспринимать определенную деформацию в условиях, максимально приближенных к
производственным, служат технологические испытания. Такие оценки носят
качественный характер. Они необходимы для определения пригодности материала для
изготовления изделий по технологии, предусматривающей значительную и сложную
пластическую деформацию.
Для определения способности
листового материала толщиной до 2 мм выдерживать операции холодной штамповки
(вытяжки) применяют метод испытания на вытяжку сферической лунки с помощью
специальных пуансонов, имеющих сферическую поверхность (ГОСТ 10510). Схема
испытания приведена на рис. 9.3.
Рис.
9.3. Схема испытания на вытяжку сферической лунки по Эриксену
В процессе испытания фиксируется
усилие вытяжки. Конструкция прибора предусматривает автоматическое прекращение
процесса вытяжки в тот момент, когда усилие начинает уменьшаться (в материале
появляются первые трещины). Мерой способности материала к вытяжке служит
глубина вытянутой лунки.
Лист или ленту толщиной менее 4 мм
испытывают на перегиб (ГОСТ 13813). Испытание проводят с помощью
приспособления, изображенного на рис. 9.4.
Рис.
9.4. Схема испытания на перегиб
1 –
рычаг; 2 – сменный поводок; 3 – образец; 4 – валики; 5 – губки; 6 - тиски
Образец изгибают вначале влево или
вправо на 900, а затем каждый раз на 1800 в
противоположную сторону. Критерием окончания испытания является разрушение
образца или достижение заданного числа перегибов без разрушения.
Проволоку из цветных и черных
металлов испытывают на скручивание (ГОСТ 1545) с определением числа полных
оборотов до разрушения образцов, длина которых обычно составляет
(
– диаметр проволоки). Применяют также
испытание на перегиб (ГОСТ 1579) по схеме, аналогичной испытанию листового
материала. Проводят пробу на навивание (ГОСТ 10447). Проволоку навивают плотно
прилегающими витками на цилиндрический стержень определенного диаметра (рис.
9.5).
Рис.9.5.
Проба на навивание проволоки
Число витков должно быть в
пределах 5…10. Признаком того, что образец выдержал испытание, является
отсутствие после навивания расслоения, отслаивания, трещин или надрывов как в
основном материале образца, так и в его покрытии.
Для труб с внешним диаметром не
более 114 мм применяют пробу на загиб (ГОСТ 3728). Испытание заключается в плавном
загибе отрезка трубы любым способом на угол 900 (рис. 9.6. а) так,
чтобы его наружный диаметр ни в одном месте не стал меньше 85 % от начального.
ГОСТ устанавливает величину радиуса загиба R в зависимости от диаметра
трубы D и толщины стенки S. Образец считается выдержавшим
испытание, если на нем после загиба не обнаружено нарушений сплошности металла.
Образцы сварных труб должны выдерживать испытания при любом положении шва.
Испытание на бортование (ГОСТ
8693) применяют для определения способности материала труб образовывать фланец
заданного диаметра
(рис.
9.6.б). Признаком того, что образец выдержал испытание, служит отсутствие после
отбортовки трещин или надрывов. Допускается отбортовка с предварительной
раздачей на оправке.
Испытание на раздачу (ГОСТ 8694)
выявляет способность материала трубы выдерживать деформацию при раздаче на
конус до определенного диаметра
с заданным углом конусности
(рис. 9.6.в). Если после раздачи
образец не имеет трещин или надрывов, то он считается выдержавшим испытание.
Для труб предусмотрены испытание
на сплющивание до определенного размера
(рис. 9.6.г), причем для сварных труб ГОСТ 8685
предусматривает положение шва (рис.9.6.д), испытание гидравлическим давлением.
Для испытания проволоки или
прутков круглого и квадратного сечения, предназначенных для изготовления
болтов, гаек и других крепежных деталей методом высадки, используют пробу на
осадку (ГОСТ 8817). Стандарт рекомендует определенную степень деформации.
Критерием годности является отсутствие трещин, надрывов, расслоений на боковой
поверхности образца.
Рис.
9.6. Схемы испытаний труб:
а – на
загиб; б – на бортование; в – на раздачу; г, д – на сплющивание
Для прутковых материалов широко
применяется проба на изгиб: загиб до определенного угла (рис. 9.7.а), загиб до
параллельности сторон (рис.9.7.б), загиб до соприкосновения сторон (рис.
9.7.в).
Рис.
9.7. Схемы испытаний на изгиб:
а –
загиб до определенного угла; б – загиб до параллельности сторон; в – до
соприкосновения сторон
ЛЕКЦИЯ
10
Прокат
и его производство
Прокатка – это способ обработки пластическим деформированием –
наиболее распростран¨нный. Прокатке подвергают до 90 % всей выплавляемой
стали и большую часть цветных металлов. Способ зародился в XVIII веке и,
претерпев значительное развитие, достиг высокого совершенства.
Сущность процесса: заготовка
обжимается (сдавливается), проходя в зазор между вращающимися валками, при
этом, она уменьшается в сво¨м поперечном сечении и увеличивается в длину.
Форма поперечного сечения называется профилем.
Процесс прокатки обеспечивается
силами трения между вращающимся инструментом и заготовкой, благодаря которым
заготовка перемещается в зазоре между валками, одновременно деформируясь. В
момент захвата металла со стороны каждого валка действуют на металл две силы:
нормальная сила
и
касательная сила трения
(рис.
10.1).
Рис.
10.1. Схема сил, действующих при прокатке
Угол
– угол захвата, дуга, по которой валок
соприкасается с прокатываемым металлом – дуга захвата, а объ¨м металла
между дугами захвата – очаг деформации.
Возможность осуществления прокатки
определяется условием захвата металла валками или соотношением
,
где:
– втягивающая сила - проекция силы трения
на горизонтальную ось;
– выталкивающая сила –
проекция нормальной реакции валков
на горизонтальную ось.
При этом условии результирующая
сила будет направлена в сторону движения металла.
Условие захвата металла можно
выразить:
Выразив силу трения
через нормальную силу
и коэффициент трения
:
, и, подставив это выражение в условие
захвата, получим:
или
.
Таким образом, для захвата металла
валками необходимо, чтобы коэффициент трения между валками и заготовкой был
больше тангенса угла захвата.
Коэффициент трения можно увеличить
применением насечки на валках.
При прокатке стали
= 20…25 0, при горячей
прокатке листов и полос из цветных металлов –
= 12…15 0, при холодной прокатке
листов –
= 2…10 0.
Степень деформации характеризуется
показателями:
– абсолютное обжатие:
(
– начальная и конечная высоты заготовки);
относительное обжатие:
Площадь поперечного сечения
заготовки всегда уменьшается. Поэтому для определения деформации (особенно
когда обжатие по сечению различно) используют показатель, называемый вытяжкой
(коэффициентом вытяжки).
где:
– первоначальные длина и площадь поперечного
сечения,
– те же
величины после прокатки.
Вытяжка обычно составляет 1,1…1,6
за проход, но может быть и больше.
Способы прокатки
Когда требуется высокая прочность
и пластичность, применяют заготовки из сортового или специального проката. В
процессе прокатки литые заготовки подвергают многократному обжатию в валках
прокатных станов, в результате чего повышается плотность материала за сч¨т
залечивания литейных дефектов, пористости, микротрещин. Это прида¨т
заготовкам из проката высокую прочность и герметичность при небольшой их
толщине.
Существуют три основных способа
прокатки, имеющих определенное отличие по характеру выполнения деформации:
продольная, поперечная, поперечно – винтовая (рис.10.2).
Рис.
10.2. Схемы основных видов прокатки:
а –
продольная; б – поперечная; в – поперечно – винтовая
При продольной прокатке
деформация осуществляется между вращающимися в разные стороны валками (рис.10.2
а). Заготовка втягивается в зазор между валками за сч¨т сил трения. Этим
способом изготавливается около 90 % проката: весь листовой и профильный прокат.
Поперечная прокатка (рис. 10.2.б). Оси прокатных валков и обрабатываемого
тела параллельны или пересекаются под небольшим углом. Оба валка вращаются в
одном направлении, а заготовка круглого сечения – в противоположном.
В процессе поперечной прокатки
обрабатываемое тело удерживается в валках с помощью специального
приспособления. Обжатие заготовки по диаметру и придание ей требуемой формы
сечения обеспечивается профилировкой валков и изменением расстояния между ними.
Данным способом производят специальные периодические профили, изделия
представляющие тела вращения – шары, оси, шестерни.
Поперечно – винтовая прокатка (рис. 10.2.в). Валки, вращающиеся в одну сторону,
установлены под углом друг другу. Прокатываемый металл получает ещ¨ и
поступательное движение. В результате сложения этих движений каждая точка
заготовки движется по винтовой линии. Применяется для получения пустотелых
трубных заготовок.
В качестве инструмента для
прокатки применяют валки прокатные, конструкция которых представлена на
рис. 10.3. В зависимости от прокатываемого профиля валки могут быть гладкими
(рис.10.3.а), применяемыми для прокатки листов, лент и т.п. и калиброванными
(ручьевыми) (рис. 10.3.б) для получения сортового проката.
Ручей – профиль на боковой поверхности валка. Промежутки
между ручьями называются буртами. Совокупность двух ручь¨в образует
полость, называемую калибром, каждая пара валков образует несколько
калибров. Система последовательно расположенных калибров, обеспечивающая
получение требуемого профиля заданных размеров называется калибровкой.
Рис.
10.3. Прокатные валки: а – гладкий ; б – калиброванный
Валки состоят из рабочей части –
бочки 1, шеек 2 и трефы 3.
Шейки валков вращаются в
подшипниках, которые, у одного из валков, могут перемещаться специальным
нажимным механизмом для изменения расстояния между валками и регулирования
взаимного расположения осей.
Трефа предназначена для соединения
валка с муфтой или шпинделем.
Используются роликовые подшипники
с низким коэффициентом трения,
= 0,003…0,005, что обеспечивает большой срок
службы.
Технологический процесс
прокатки
Исходным продуктом для прокатки
могут служить квадратные, прямоугольные или многогранные слитки, прессованные
плиты или кованые заготовки.
Процесс прокатки осуществляется
как в холодном, так и горячем состоянии. Начинается в горячем состоянии и
проводится до определ¨нной толщины заготовки. Тонкостенные изделия в
окончательной форме получают, как правило, в холодном виде (с уменьшением сечения
увеличивается теплоотдача, поэтому горячая обработка затруднена).
Основными технологическими
операциями прокатного производства являются подготовка исходного металла,
нагрев, прокатка и отделка проката.
Подготовка исходных металлов включает удаление различных поверхностных дефектов
(трещин, царапин, закатов), что увеличивает выход готового проката.
Нагрев слитков и заготовок обеспечивает высокую
пластичность, высокое качество готового проката и получение требуемой
структуры. Необходимо строгое соблюдение режимов нагрева.
Основное требование при нагреве:
равномерный прогрев слитка или заготовки по сечению и длине до соответствующей
температуры за минимальное время с наименьшей потерей металла в окалину и
экономным расходом топлива.
Температуры начала и конца горячей
деформации определяются в зависимости от температур плавления и
рекристаллизации. Прокатка большинства марок углеродистой стали начинается при
температуре 1200…1150 0С, а заканчивается при температуре 950…9000С.
Существенное значение имеет режим
охлаждения. Быстрое и неравномерное охлаждение приводит к образованию трещин и
короблению.
При прокатке контролируется
температура начала и конца процесса, режим обжатия, настройка валков в
результате наблюдения за размерами и формой проката. Для контроля состояния
поверхности проката регулярно отбирают пробы.
Отделка проката включает резку на мерные длины, правку, удаление поверхностных
дефектов и т.п. Готовый прокат подвергают конечному контролю.
Процесс прокатки осуществляют на
специальных прокатных станах.
Прокатный стан – комплекс машин для деформирования металла во
вращающихся валках и выполнения вспомогательных операций (транспортирование,
нагрев, термическая обработка, контроль и т.д.).
Оборудование для деформирования
металла называется основным и располагается на главной линии прокатного
стана (линии рабочих клетей).
Главная линия прокатного стана
состоит из рабочей клети и линии привода, включающей двигатель, редуктор,
шестеренную клеть, муфты, шпиндели. Схема главной линии прокатного стана
представлена на рис. 10.4.
Рис.10.4.
Схема главной линии прокатного стана
1 –
прокатные валки; 2 – плита; 3 – трефовый шпиндель; 4 – универсальный шпиндель;
5 –
рабочая клеть; 6 – шестеренная клеть; 7 – муфта; 8 – редуктор; 9 – двигатель
Прокатные валки 1 установлены
в рабочей клети 5, которая воспринимает давление прокатки. Определяющей
характеристикой рабочей клети являются размеры прокатных валков: диаметр (для
сортового проката) или длина (для листового проката) бочки. В зависимости от
числа и расположения валков в рабочей клети различают прокатные станы:
двухвалковые (дуо-стан), трехвалковые (трио-стан), четырехвалковые
(кварто-стан) и универсальные (рис.10.5).
В двухвалковых клетях (рис.10.5.а)
осуществляется только по одному пропуску металла в одном направлении. Металл в
трехвалковых клетях (рис. 10.5.б) движется в одну сторону между нижним и
верхним, а в обратную – между средним и верхним валками.
В четырехвалковых клетях (рис.
10.5.в) устанавливаются опорные валки, которые позволяют применять рабочие валки
малого диаметра, благодаря чему увеличивается вытяжка и снижаются деформирующие
усилия.
Универсальные клети (рис.10.5.г)
имеют неприводные вертикальные валки, которые находятся между опорами
подшипников горизонтальных валков и в одной плоскости с ними.
Шестеренная клеть 6
предназначена для распределения крутящего момента двигателя между валками. Это
одноступенчатый редуктор, передаточное отношение которого равно единице, а роль
шестерен выполняют шестеренные валки.
Шпиндели предназначены для
передачи крутящего момента от шестеренной клети прокатным валкам при отклонении
от соосности до 10…12 0. При незначительном перемещении в
вертикальной плоскости применяют шпиндели трефового типа 3 в комплекте с
трефовой муфтой. Внутренние очертания трефовых муфт отвечают форме сечения
хвостовика валка или шпинделя. Муфтой предусмотрен зазор 5…8 мм, что допускает
возможность работы с перекосом 1…2 0. При значительных перемещениях
валков в вертикальной плоскости ось шпинделя может составлять значительный угол
с горизонтальной плоскостью, в этом случае применяют шарнирные или
универсальные шпиндели 4, которые могут передавать крутящий момент
прокатным валкам при перекосе шпинделя до 10…12 0.
Рис.
10.5. Рабочие клети прокатных станов
В качестве двигателя прокатного стана
9 применяют двигатели постоянного и переменного тока, тип и мощность
зависят от производительности стана.
Редуктор 8 используется для
изменения чисел оборотов при передаче движения от двигателя к валкам. Зубчатые
колеса – обычно шевронные с наклоном спирали 30 0.
По назначению прокатные станы
подразделяют на станы для производства полупродукта и станы для выпуска
готового проката.
Нагрев металла осуществляют в пламенных и электрических печах. По
распределению температуры печи могут быть камерные и методические. В камерных
печах периодического нагрева температура одинакова по всему рабочему
пространству. В методических печах температура рабочего пространства постоянно
повышается от места загрузки заготовок до места их выгрузки. Металл нагревается
постепенно, методически. Печи характеризуются высокой производительностью.
Применяются в прокатных и кузнечно-штамповочных цехах для нагрева слитков из
цветных металлов. Крупные слитки перед прокаткой нагревают в нагревательных
колодцах – разновидности камерных, пламенных печей.
В качестве транспортных
устройств в прокатном производстве используют:
·
слитковозы и различного вида тележки для подачи слитков и
заготовок от нагревательных устройств к стану;
·
рольганги – основное транспортное средство прокатных цехов
(транспортеры с последовательно установленными вращающимися роликами
обеспечивают продольное перемещение металла; при косом расположении роликов
возникает возможность поперечного движения полосы);
·
манипуляторы, предназначенные для правильной задачи полосы в
калибр;
·
кантователи, предназначенные для поворота заготовки вокруг
горизонтальной оси.
Правка проката
Изделия, полученные прокаткой,
часто требуют правки. Иногда правку выполняют в горячем состоянии, например,
при производстве толстых листов. Но обычно в холодном состоянии, так как
последующее охлаждение после горячей правки может вызвать дополнительное
изменение формы.
Процесс правки заключается в
однократном или многократном пластическом изгибе искривленных участков полосы,
каждый раз в обратном направлении.
Правку можно выполнять и
растяжением полосы, если напряжения растяжения будут превышать предел текучести
материала.
Роликоправильные машины с
параллельно расположенными роликами
предназначены для правки листа и сортового проката (рис. 10.6)
Рис.10.6.
Схема правки проката на роликоправильных машинах с параллельно расположенными
роликами
Процесс правки заключается в
прохождении полосы между двумя рядами последовательно расположенных роликов,
установленных в шахматном порядке таким образом, что при движении полосы, ее
искривление устраняется. Диаметр роликов – 25…370 мм, шаг – 30…400 мм,
количество роликов: для тонких листов – 19…29, для толстых – 7…9.
Правильные машины с косо
расположенными гиперболоидальными роликами предназначены для правки труб и круглых прутков (рис.10.7).
Ролики выполняют в виде
однополостного гиперболоида и располагают под некоторым углом друг к другу.
Выправляемый металл, кроме поступательного движения, совершает вращательное,
что вызывает многократные перегибы полосы роликами и обеспечивает
осесимметричную правку.
Рис.
10.7. Схема правки проката на машинах с косо расположенными гиперболоидальными
роликами
Растяжные правильные машины используют для правки тонких листов (менее 0,3 мм),
трудно поддающихся правке на роликоправильных машинах.
Разрезка и заготовительная
обработка проката
Производится на заготовительных
участках механических цехов различными способами, отличающимися
производительностью, точностью заготовки, стойкостью инструмента и др.
Разрезка пилами применяется для относительно крупных заготовок, в
основном из цветных металлов. Заготовка характеризуется высокой точностью по
длине, хорошим качеством среза, перпендикулярностью торца к оси. Основными
недостатками являются низкая производительность и значительные потери металла
на рез.
Применяются пилы зубчатые и
гладкие (трения).
Разрезка на эксцентриковых
пресс-ножницах применяется для
стального проката круглого или квадратного сечения до 300 мм. Является наиболее
производительным и дешевым процессом разделки проката на заготовки. Основными
недостатками являются косой рез и смятие концов заготовки.
Заготовки из высокоуглеродистых и
легированных сталей целесообразно подогреть до 450…650 0С.
Применяют ножи с плоской режущей
кромкой и с ручьями.
Разрезка на токарных
полуавтоматах отрезными резцами.
Электроискровая и
анодно-механическая резка
обеспечивает максимальную точность размеров. Применяется для особо прочных
металлов.
Разрезка на прессах-хладоломах применяется для заготовок крупного сечения. На
заготовке предварительно делается надрез пилой или газовым резаком.
Газопламенная разрезка смесью ацитилена и кислорода.
ЛЕКЦИЯ
11
Продукция прокатного
производства. Прессование. Волочение
Продукция прокатного
производства
Форма поперечного сечения
называется профилем проката. Совокупность профилей различной формы и размеров -
сортамент.
В зависимости от профиля прокат делится
на четыре основные группы: листовой, сортовой, трубный и специальный. В
зависимости от того нагретая или холодная заготовка поступает в прокатные валки
– горячий и холодный.
Листовой прокат из стали и цветных металлов подразделяется на
толстолистовой (4…60 мм), тонколистовой (0,2…4мм) и жесть (менее 0,2 мм).
Толстолистовой прокат получают в горячем состоянии, другие виды листового
проката – в холодном состоянии.
Прокатку листов и полос проводят в
гладких валках.
Среди сортового проката различают:
·
заготовки круглого, квадратного и
прямоугольного сечения для ковки и прокатки;
·
простые сортовые профили (круг,
квадрат, шестигранник, полоса, лента);
·
фасонные сортовые профили:
o профили общего назначения (уголок, швеллер, тавр,
двутавр);
o профили отраслевого назначения (железнодорожные
рельсы, автомобильный обод);
o
профили специального назначения
(профиль для рессор, напильников).
Трубный прокат получают на специальных трубопрокатных станах.
Различают бесшовные горячекатаные трубы диаметром 25…550 мм и сварные диаметром
5…2500 мм.
Трубы являются продуктом
вторичного передела круглой и плоской заготовки.
Общая схема процесса производства
бесшовных труб предусматривает две операции: 1– получение толстостенной гильзы
(прошивка); 2 – получение из гильзы готовой трубы (раскатка).
Первая операция выполняется на
специальных прошивочных станах в результате поперечно-винтовой прокатки. Вторую
операцию выполняют на трубопрокатных раскатных станах различных конструкций:
пилигримовых, автоматических и др.
Схема прокатка труб на
пилигримовом стане представлена на рис. 11.1.
Рис.11.1. Схема прокатки труб на
пилигримовом стане
В толстостенную гильзу 1
вводят оправку (дорн) 2 подающего механизма, длина которой больше длины
гильзы. Гильза перемещается к валкам 3, калибр которых разделяется на
две части: рабочую и холостую. Рабочая часть валка имеет рабочий и калибрующий
участки. Процесс работы заключается в периодической подаче на определенную
длину гильзы вместе с оправкой в зазор между валками в момент совпадения холостой
части обоих валков (рис.11.1.а). Затем выполняется процесс прокатки, и гильза
перемещается в направлении вращения валков, т.е. обратном ходу прокатываемой
трубы (рис. 11.1.б). При этом рабочий участок обжимает гильзу по диаметру и
толщине стенки, а калибрующий участок обеспечивает выравнивание диаметра и
толщины стенки. После выхода из рабочей части оправка с гильзой продвигаются
вперед, поворачиваясь на 900 вокруг продольной оси. По окончании
прокатки валки разводят, и подающий механизм обратным ходом вытягивает оправку
из трубы.
Сварные трубы изготавливают на
трубосварочных агрегатах различными способами: печной сваркой, контактной
электросваркой и др. из полос – штрипсов. Процесс получения трубы состоит из
получения заготовки в виде свернутой полосы и сварки ее в трубу.
Особое место занимают станы
спиральной сварки. Трубы получают завивкой полосы по спирали на цилиндрических
оправках с непрерывной сваркой спирального шва автоматической сварочной
головкой (рис.11.2). Формовка осуществляется путем пластического изгиба в
плоскости, расположенной под углом
к продольной оси.
Рис.11.2. Схема формовки
заготовки при спиральной сварке трубы
Преимущества способа состоят в
следующем: диаметр трубы не зависит от ширины исходного полосы, так как он
определяется и углом подъема спирали; спиральный шов придает трубе большую
жесткость; спирально-сварные трубы имеют более точные размеры.
Специальные виды проката.
Периодический профиль – профиль, изменяющийся по определенному закону,
повторяющемуся по длине. Периодические профили получают продольной, поперечной
и винтовой прокаткой.
При продольной периодической
прокатке получают профили с односторонним периодом, с двухсторонним совпадающим
периодом, с несовпадающим верхним и нижним периодом. Окончательную форму изделию
придают за один проход. Длина периода профиля определяется длиной окружности
валка. При каждом обороте валков из них должен выходить отрезок полосы с целым
числом периодов, поэтому наибольшая длина периода не может быть больше длины
окружности валков.
Поперечная прокатка периодических
профилей характеризуется тем, что заготовка и готовый профиль представляют
собой тела вращения. Схема прокатки на трехвалковом стане представлена на
рис.11.3.
Рис. 11.3. Схема прокатки на
трехвалковом стане
Прокатка осуществляется дисковыми
или коническими валками, расположенными под углом 120 0 друг к
другу. Валки могут быть установлены с некоторым перекосом. Способ заключается в
том, что три приводных валка 1 вращают заготовку 2, которая
принудительно перемещается в осевом направлении со значительным натяжением.
Гидравлическое устройство перемещает зажимной патрон 3 вместе с металлом
в направлении рабочего хода. Во время прокатки валки сближаются и разводятся на
требуемый размер гидравлической следящей системой в соответствии с заданным
профилем копировальной линейки или системой ЧПУ по заранее заданной программе.
Переход от одного профиля к другому осуществляется без замены валков, только за
счет смены копира или программы.
Рис 11.4. Схема прокатки шестерни
с осевой подачей заготовки
Поперечной прокаткой накатывают
зубья шестерен между двумя вращающимися валками. Возможны два способа обработки
зубьев: с осевой подачей обрабатываемой заготовки (прутковая прокатка) и
прокатка с радиальной подачей валков (штучная прокатка). Прутковая прокатка
шестерен (рис.11.4) применяется для обработки прямозубых и косозубых шестерен с
небольшими модулями (до 6 мм) и диаметром до 200 мм. Образование зубьев при
прокатке осуществляется перемещением нагретой в кольцевом индукторе 2 заготовки
1 между двумя вращающимися зубчатыми валками 3, модуль которых
равен модулю прокатываемой шестерни 4.
В начале прокатки заготовка
приводится во вращение дополнительным зубчатым колесом, находящимся в
зацеплении с валками. После выхода из зацепления шестерня вращается валками.
Станы винтовой прокатки широко
применяют для прокатки стальных шаров диаметром 25…125 мм. Схема прокатки
представлена на рис.11.5.
Рис.11.5. Схема прокатки шаров
Валки 2 и 4
вращаются в одном направлении, в результате заготовка 1 получает
вращательное движение. Для осевого перемещения оси валков располагают под углом
к оси вращения. От вылета из валков заготовка предохраняется центрирующими
упорами 3. В валках нарезают винтовые калибры. По характеру деформации
калибр разделяется на формующий участок, где осуществляется захват заготовки и
ее постепенное обжатие в шар, и отделочный участок, где придаются точные
размеры шару и происходит его отделение от заготовки. Диаметр валков в 5…6 раз
превышает диаметр прокатываемых шаров, и составляет 190…700 мм.
Производительность стана определяется числом оборотов валков, так как за один
оборот Существуют станы для прокатки ребристых труб, для накатки резьб и т.д.
Прессование
Прессование – вид обработки давлением, при котором металл
выдавливается из замкнутой полости через отверстие в матрице, соответствующее
сечению прессуемого профиля.
Это современный способ получения
различных профильных заготовок: прутков диаметром 3…250 мм, труб диаметром
20…400 мм с толщиной стенки 1,5…15 мм, профилей сложного сечения сплошных и
полых с площадью поперечного сечения до 500 см2.
Впервые метод был научно обоснован
академиком Курнаковым Н.С. в 1813 году и применялся главным образом для
получения прутков и труб из оловянисто-свинцовых сплавов. В настоящее время в
качестве исходной заготовки используют слитки или прокат из углеродистых и
легированных сталей, а также из цветных металлов и сплавов на их основе (медь,
алюминий, магний, титан, цинк, никель, цирконий, уран, торий).
Технологический процесс
прессования включает операции:
·
подготовка заготовки к прессованию
(разрезка, предварительное обтачивание на станке, так как качество поверхности
заготовки оказывает влияние на качество и точность профиля);
·
нагрев заготовки с последующей
очисткой от окалины;
·
укладка заготовки в контейнер ;
·
непосредственно процесс
прессования;
·
отделка изделия (отделение
пресс-остатка, разрезка).
Прессование производится на
гидравлических прессах с вертикальным или горизонтальным расположением
плунжера, мощностью до 10 000 т.
Применяются две метода
прессования: прямой и обратный (рис. 11.6.)
При прямом прессовании движение
пуансона пресса и истечение металла через отверстие матрицы происходят в одном
направлении. При прямом прессовании требуется прикладывать значительно большее
усилие, так как часть его затрачивается на преодоление трения при перемещении
металла заготовки внутри контейнера. Пресс-остаток составляет 18…20 % от массы
заготовки (в некоторых случаях – 30…40 %). Но процесс характеризуется более
высоким качеством поверхности, схема прессования более простая.
Рис. 11.6. Схема прессования
прутка прямым (а) и обратным (б) методом
1 – готовый пруток; 2 – матрица; 3
– заготовка; 4 - пуансон
При обратном прессовании заготовку
закладывают в глухой контейнер, и она при прессовании остается неподвижной, а
истечение металла из отверстия матрицы, которая крепится на конце полого
пуансона, происходит в направлении, обратном движению пуансона с матрицей.
Обратное прессование требует меньших усилий, пресс-остаток составляет 5…6 %.
Однако меньшая деформация приводит к тому, что прессованный пруток сохраняет
следы структуры литого металла. Конструктивная схема более сложная
Процесс прессования
характеризуется следующими основными параметрами: коэффициентом вытяжки,
степенью деформации и скоростью истечения металла из очка матрицы.
Коэффициент вытяжки
определяют как отношение площади
сечения контейнера
к
площади сечения всех отверстий матрицы
.
Степень деформации:
Скорость истечения металла из очка
матрицы пропорциональна коэффициенту вытяжки и определяется по формуле:
где:
– скорость прессования (скорость движения
пуансона).
При прессовании металл
подвергается всестороннему неравномерному сжатию и имеет очень высокую
пластичность.
К основным преимуществам процесса
относятся:
·
возможность обработки металлов,
которые из-за низкой пластичности другими методами обработать невозможно;
·
возможность получения практически
любого профиля поперечного сечения;
·
получение широкого сортамента
изделий на одном и том же прессовом оборудовании с заменой только матрицы;
·
высокая производительность, до 2…3
м/мин.
Недостатки процесса :
·
повышенный расход металла на
единицу изделия из-за потерь в виде пресс-остатка;
·
появление в некоторых случаях
заметной неравномерности механических свойств по длине и поперечному сечению
изделия;
·
высокая стоимость и низкая
стойкость прессового инструмента;
·
высокая энергоемкость.
Волочение
Сущность процесса волочения
заключается в протягивании заготовок через сужающееся отверстие (фильеру) в
инструменте, называемом волокой. Конфигурация отверстия определяет форму
получаемого профиля. Схема волочения представлена на рис.11.7.
Рис.11.7. Схема волочения
Волочением получают проволоку
диаметром 0,002…4 мм, прутки и профили фасонного сечения, тонкостенные трубы, в
том числе и капиллярные. Волочение применяют также для калибровки сечения и
повышения качества поверхности обрабатываемых изделий. Волочение чаще выполняют
при комнатной температуре, когда пластическую деформацию сопровождает наклеп,
это используют для повышения механических характеристик металла, например,
предел прочности возрастает в 1,5…2 раза.
Исходным материалом может быть
горячекатаный пруток, сортовой прокат, проволока, трубы. Волочением
обрабатывают стали различного химического состава, цветные металлы и сплавы, в
том числе и драгоценные.
Основной инструмент при волочении
– волоки различной конструкции. Волока работает в сложных условиях: большое
напряжение сочетается с износом при протягивании, поэтому их изготавливают из
твердых сплавов. Для получения особо точных профилей волоки изготавливают из
алмаза. Конструкция инструмента представлена на рис. 11.8.
Рис.11.8. Общий вид волоки
Волока 1 закрепляется в
обойме 2. Волоки имеют сложную конфигурацию, ее составными частями
являются: заборная часть I, включающая входной конус и смазочную часть;
деформирующая часть II с углом в вершине
(6…18 0 – для прутков, 10…24 0
– для труб); цилиндрический калибрующий поясок III длиной 0,4…1 мм; выходной
конус IV.
Технологический процесс волочения
включает операции:
·
предварительный отжиг заготовок
для получения мелкозернистой структуры металла и повышения его пластичности;
·
травление заготовок в подогретом
растворе серной кислоты для удаления окалины с последующей промывкой, после
удаления окалины на поверхность наносят подсмазочный слой путем омеднения,
фосфотирования, известкования, к слою хорошо прилипает смазка и коэффициент
трения значительно снижается;
·
волочение, заготовку
последовательно протягивают через ряд постепенно уменьшающихся отверстий;
·
отжиг для устранения наклепа:
после 70…85 % обжатия для стали и 99 % обжатия для цветных металлов ;
·
отделка готовой продукции (обрезка
концов, правка, резка на мерные длины и др.)
Технологический процесс волочения
осуществляется на специальных волочильных станах. В зависимости от типа
тянущего устройства различают станы: с прямолинейным движением протягиваемого
металла (цепной, реечный); с наматыванием обрабатываемого металла на барабан
(барабанный). Станы барабанного типа обычно применяются для получения
проволоки. Число барабанов может доходить до двадцати. Скорость волочения
достигает 50 м/с.
Процесс волочения характеризуется
параметрами: коэффициентом вытяжки и степенью деформации.
Коэффициент вытяжки определяется
отношением конечной и начальной длины или начальной и конечной площади
поперечного сечения:
Степень деформации определяется по
формуле:
Обычно за один проход коэффициент
вытяжки
не превышает
1,3, а степень деформации
– 30 %. При необходимости получить большую
величину деформации производят многократное волочение.
ЛЕКЦИЯ
12
Ковка
Ковка – способ обработки давлением, при котором
деформирование нагретого (реже холодного) металла осуществляется или
многократными ударами молота или однократным давлением пресса.
Формообразование при ковке
происходит за счет пластического течения металла в направлениях,
перпендикулярных к движению деформирующего инструмента. При свободной ковке
течение металла ограничено частично, трением на контактной поверхности
деформируемый металл – поверхность инструмента: бойков плоских или фигурных,
подкладных штампов.
Ковкой получают разнообразные
поковки массой до 300 т.
Первичной заготовкой для поковок
являются:
·
слитки, для изготовления массивных
крупногабаритных поковок;
·
прокат сортовой горячекатаный
простого профиля (круг, квадрат).
Ковка может производиться в
горячем и холодном состоянии.
Холодной ковке поддаются драгоценные металлы – золото, серебро; а
также медь. Технологический процесс холодной ковки состоит из двух чередующихся
операций: деформации металла и рекристаллизационного отжига. В современных
условиях холодная ковка встречается редко, в основном в ювелирном производстве.
Горячая ковка применяется для изготовления различных изделий, а
также инструментов: чеканов, зубил, молотков и т.п.
Материалом для горячей ковки
являются малоуглеродистые стали, углеродистые инструментальные и некоторые
легированные стали. Каждая марка стали имеет определенный интервал температур
начала и конца ковки, зависящий от состава и структуры обрабатываемого металла.
Температурные интервалы начала и конца ковки для углеродистых сталей приведены
в табл. 12.1.
Таблица 12.1
Температурные интервалы начала
и конца ковки для углеродистых сталей
|
Марка стали
|
Температуры ковки, оС
|
|
Сталь
У7, У8, У9
|
1150
|
800
|
|
Сталь
У10, У12, У13
|
1130
|
870
|
Операции ковки
Различают ковку предварительную и
окончательную. Предварительная (или черновая) ковка представляет собой
кузнечную операцию обработки слитка для подготовки его к дальнейшей деформации
прокаткой, прессованием и т.п. Окончательная (чистовая ковка) охватывает все
методы кузнечной обработки, с помощью которых изделию придают окончательную
форму.
Предварительные операции
Биллетирование – превращение слитка в болванку или заготовку:
включает сбивку ребер и устранение конусности.
Обжатие при биллетировании
составляет 5…20 %. Проковка слитка предназначена для обжатия металла в углах
слитка с целью предварительного деформирования литой структуры – дендритов,
которые имеют стыки в этих углах. Биллетирование способствует заварке воздушных
пузырей и других подкорковых дефектов литой структуры, созданию пластичного
поверхностного слоя металла, благоприятно влияющего на дальнейшую деформацию.
После биллетирования производят обрубку донной части слитка.
Рубка – применяется для отделения от основной заготовки
негодных частей или для разделения заготовки на части.
Рубка производится в холодном и
горячем состоянии. В холодном состоянии рубят тонкие и узкие полосы и прутки
сечением 15…20 мм. Более толстые заготовки нагревают.
Схема рубки основана на действии
деформирующей силы на малую площадь соприкосновения инструмента с заготовкой, а
реакция этой силы со стороны нижней части распределена по большой поверхности
заготовки, и пластической деформации здесь не возникает.
Рис.12.1. Схема рубки
В зависимости от габаритов и формы
заготовок используют способы рубки:
·
с одной стороны – для тонких
заготовок;
·
с двух сторон, сначала
осуществляется предварительная надрубка заготовки на 0,5…0,75 высоты, после
кантовки на 1800 проводится окончательная рубка;
·
с трех сторон – для круглых и
крупных заготовок, осуществляются две надрубки на глубину 0,4 диаметра
заготовки с кантовкой на 1200, после второй кантовки на 1200
проводят окончательную рубку;
·
с четырех сторон – для крупных
заготовок, после надрубки с четырех сторон в центре остается перемычка
прямоугольного сечения, по месту которой производят разделение заготовки на
части.
Основные операции
Осадка – операция обработки давлением, в результате которой
уменьшается высота и одновременно увеличиваются поперечные размеры заготовок
(рис. 12.2.а).
Осадку применяют для получения
формы поковки, с целью уменьшения глубины прошивки, для обеспечения
соответствующего расположения волокон в будущей детали (при изготовлении
шестерней обеспечивается повышенная прочность зубьев в результате радиального
расположения волокон), как контрольную операцию (из-за значительной деформации
по периметру на боковой поверхности вскрываются дефекты).
При выполнении осадки требуется,
чтобы инструмент перекрывал заготовку. Вследствие трения боковая поверхность
осаживаемой заготовки приобретает бочкообразную форму, это характеризует
неравномерность деформации. Повторяя осадку несколько раз с разных сторон,
можно привести заготовку к первоначальной форме или близкой к ней, получив при
этом более высокое качество металла и одинаковые его свойства по всем
направлениям.
Рис.12.2. Схемы осадки и ее
разновидностей
Средний диаметр заготовки
определяется по формуле:
Осадке подвергают заготовки, для
которых высота не превышает 2,5…3 диаметра. В противном случае возможен или
продольный изгиб заготовки, или образование седлообразности.
Разновидностями осадки являются
высадка и осадка разгонкой торца.
Высадка – кузнечная операция, заключающаяся в деформировании
части заготовки (концевой части или середины).
Для проведения операции используют
местный нагрев, например, в середине заготовки (рис. 12.2.б), или ограничивают
деформацию на части заготовки кольцевым инструментом (рис. 12.2.в).
Осадка разгонкой торца позволяет
уменьшить высоту и увеличить площадь ренее осаженной заготовки (рис. 12.2.г).
Локализация деформации позволяет уменьшить усилие осадки.
Протяжка (вытяжка) – кузнечная операция, в результате которой происходит
увеличение длины заготовки за счет уменьшения площади ее поперечного сечения.
Протяжка не только изменяет форму
заготовок, но и улучшает качество металла. Операция заключается в нанесении
последовательных ударов и перемещении заготовки, при этом между бойками во
время удара находится только часть заготовки. После каждого обжатия заготовка
продвигается на величину, меньшую, чем длина бойка (рис.12.3.а).
Протягивать можно плоскими (рис.
12.3.а) и вырезными (рис.12.3.б) бойками.
Протяжка на плоских бойках может
выполняться двумя способами.
Первый способ. Протяжка выполняется по всей длине слитка или
заготовки вначале с одной стороны, а после кантовки на 90 0 – с
другой стороны и т.д.
Большие по длине поковки могут
изгибаться в бойках концами вниз. Чтобы исправить изгиб, поковки кантуют
сначала на 180 0 , а потом на 90 0.
Рис. 12.3. Схемы протяжки и ее
разновидностей
Второй способ. Поочередная протяжка на плоских бойках (по винтовой
линии) – после каждого обжатия следует кантовка на 90 в одну и ту же сторону,
после каждых четырех обжатий следует подача. Способ более трудоемкий,
применяется при ковке твердых инструментальных сталей.
При протяжке на плоских бойках в
центре изделия могут возникнуть (особенно при проковке круглого сечения)
значительные растягивающие напряжения, которые приводят к образованию осевых
трещин.
Протяжка в вырезных бойках или в
комбинации плоских бойков с вырезными используется при ковке легированных
сталей с пониженной пластичностью. Благодаря боковому давлению, создаваемому
жесткими стенками инструмента повышаются сжимающие напряжения, увеличивается
пластичность металла. Получают поковки более точные по форме и размерам.
Возрастает скорость протяжки.
При протяжке с круга на круг в
вырезных бойках, силы, направленные с четырех сторон к осевой линии заготовки,
способствуют более равномерному течению металла и устранению возможности
возникновения осевых трещин.
Разновидностями протяжки являются
разгонка, протяжка с оправкой, раскатка на оправке.
Разгонка (расплющивание) – операция увеличения ширины части заготовки за счет
уменьшения ее толщины (рис. 12.3.в).
Операция выполняется за счет
перемещения инструмента в направлении, перпендикулярном оси заготовки.
Протяжка на оправке – операция увеличения длины пустотелой заготовки за
счет уменьшения толщины ее стенки и уменьшения наружного диаметра (рис.12.3.г).
Протяжку выполняют в вырезных
бойках (или нижнем вырезном 3 и верхнем плоском 2) на слегка
конической оправке 1. Протягивают в одном направлении – к расширяющемуся
концу оправки, что облегчает ее удаление из поковки. Оправку предварительно
нагревают до температуры 160…200 0 С.
Раскатка на оправке – операция одновременного увеличения наружного и
внутреннего диаметров кольцевой заготовки за счет уменьшения толщины ее стенок
(рис.12.3.д).
Заготовка 5 опирается
внутренней поверхностью на цилиндрическую оправку 6, устанавливаемую
концами на подставках 7, и деформируется между оправкой и узким длинным
бойком 4. После каждого обжатия заготовку поворачивают относительно
оправки.
Протяжку с оправкой и раскатку на
оправке часто применяют совместно. Вначале раскаткой уничтожают бочкообразность
предварительно осаженной и прошитой заготовки и доводят ее внутренний диаметр
до требуемых размеров. Затем протяжкой с оправкой уменьшают толщину стенок и
увеличивают до заданных размеров длину заготовки.
Прошивка – операция получения в заготовке сквозных или глухих
отверстий за счет вытеснения металла (рис.12.4).
Рис.12.4. Схемы прошивки (а,б),
гибки (в), штамповки в подкладных штампах (г)
Инструментом для прошивки служат
прошивни сплошные и пустотелые. Пустотелые прошивают отверстия большого
диаметра (400…900 мм).
При сквозной прошивке сравнительно
тонких поковок применяют подкладные кольца (рис. 12.4.б). Более толстые поковки
прошивают с двух сторон без подкладного кольца (рис.12.4.а). Диаметр прошивня
выбирают не более половины наружного диаметра заготовки, при большем диаметре
прошивня заготовка значительно искажается. Прошивка сопровождается отходом
(выдрой).
Гибка – операция придания заготовке или ее части изогнутой
формы по заданному контуру (рис.12.4. в).
Гибка сопровождается искажением
первоначальной формы поперечного сечения заготовки и уменьшением его площади в
месте изгиба (утяжка). Для компенсации утяжки в зоне изгиба заготовке придают
увеличенные поперечные размеры. При гибке возможно образование складок по
внутреннему контуру и трещин по наружному. Для избежания этого явления по
заданному углу изгиба подбирают соответствующий радиус скругления. Радиус в
месте изгиба не должен быть меньше полутора толщин заготовки.
Этой операцией получают угольники,
скобы, крючки, кронштейны.
Скручивание – операция, заключающаяся в повороте одной части
поковки вокруг общей оси по отношению к другой ее части под определенным углом.
Различают два случая:
·
поворот на угол до 180 0
– для пространственной ориентации отдельных частей;
·
многократное скручивание на 360
0 – для придания витого характера (используется как элемент
украшения композиций решеток, перил, лестниц и т.д.).
К скручиванию относится и свивание
нескольких тонких прутков (проволок) в шнуры.
При изготовлении небольшой партии
поковок с относительно сложной конфигурацией применяют штамповку в подкладных
штампах (рис.12.4.г). Подкладной штамп может состоять из одной или двух частей,
в которых имеется полость с конфигурацией поковки или ее отдельных участков.
Технологический процесс ковки
включает операции: резку исходной заготовки в требуемый размер, нагрев
материала до требуемой температуры, формообразующую операцию, очистку заготовок
от окалины, контроль поковки.
Точность и производительность
резки определяется способом резки.
На практике обычно применяют
нагрев в пламенной печи, как способ, не требующий дополнительных затрат.
Основная операция включает
переходы: установку – снятие заготовки, формоизменяющую операцию (осадку,
вытяжку, прошивку и т.д.).
Очистку поковок от окалины
осуществляют в галтовочных барабанах, обдувкой стальной дробью, травлением в
водных растворах серной или соляной кислоты.
При контроле поковок выявляют
внешние и внутренние дефекты, проверяют соответствие геометрическим и
функциональным техническим условиям.
Оборудование для ковки
В качестве оборудования
применяются ковочные молоты и ковочные прессы.
Оборудование выбирают в
зависимости от режима ковки данного металла или сплава, массы поковки и ее
конфигурации. Необходимую мощность оборудования определяют по приближенным
формулам или справочным таблицам.
Молоты – машины динамического ударного действия.
Продолжительность деформации на них составляет тысячные доли секунды. Металл
деформируется за счет энергии, накопленной падающими частями молота к моменту
их соударения с заготовкой. Часть энергии теряется на упругие деформации
инструмента и колебания шабота – детали, на которую устанавливают нижний боек.
Чем больше масса шабота, тем выше КПД. Обычно масса шабота в 15 раз превышает
массу падающих частей, что обеспечивает КПД на уровне 0,8…0,9.
Для получения поковок массой до 20
кг применяют ковочные пневматические молоты, работающие на сжатом воздухе. Сила
удара определяется силой давления сжатого воздуха, и может регулироваться в
широких пределах. Масса падающих частей составляет 50…1000 кг. Основные
параметры молотов регламентируются ГОСТами.
Для получения поковок массой до
350 кг применяют ковочные паровоздушные молоты. Они приводятся в действие паром
или сжатым воздухом давлением 0,7…0,9 МПа. Масса падающих частей составляет
1000…8000 кг. Параметры регламентируются ГОСТами.
Различают молоты простого
действия, когда пар или воздух только поднимают поршень, и двойного действия,
когда энергоноситель создает дополнительное деформирующее усилие.
Прессы ковочные гидравлические – машины статического действия. Продолжительность
деформации составляет до десятков секунд. Металл деформируется приложением
силы, создаваемой с помощью жидкости (водной эмульсии или минерального масла),
подаваемой в рабочий цилиндр пресса. Выбираются прессы по номинальному усилию,
которое составляет 5…100 МН. Применяют в основном для получения крупных
заготовок из слитков.
Конструирование кованых
заготовок
Чертеж поковки составляют по
рабочему чертежу детали установлением припусков на механическую обработку,
допусков на ковку и напусков на поковку. Значения этих величин устанавливаются
ГОСТами: на поковки, получаемые на молотах – ГОСТ 7829; на поковки, получаемые
на прессах – ГОСТ 7869.
При разработке чертежа поковки
следует учитывать специфику техники ковки и избегать нехарактерных для нее форм
и конфигураций. Поковки должны быть простыми, очерченными цилиндрическими
поверхностями и плоскостями (рис.12.5, 1…4).
В поковках следует избегать
конических (рис.12.5, 5) и клиновых (рис.12.5, 6) поверхностей, взаимных
пересечений цилиндрических поверхностей (рис. 12.5, 7), а также пересечений
цилиндрических поверхностей с призматическими участками деталей (рис. 12.5, 8).
Предпочтительнее назначать односторонние выступы, взамен двухсторонних,
особенно для мелких деталей. Следует избегать ребристых сечений, бобышек,
выступов и т.п., так как эти элементы в большинстве случаев получить ковкой
невозможно. Ребра жесткости в поковках недопустимы. Детали с резкой разницей
размеров поперечных сечений или сложной формы следует заменять сочетанием более
простых кованых деталей. Детали сложной формы целесообразно выполнять сварными
из нескольких поковок или из кованых и литых элементов.
Рис.12.5.
Правильные и нежелательные формы поковок
ЛЕКЦИЯ
13
Горячая объемная штамповка
Объемной штамповкой называют процесс получения поковок, при котором
формообразующую полость штампа, называемую ручьем, принудительно заполняют
металлом исходной заготовки и перераспределяют его в соответствии с заданной
чертежом конфигурацией.
Применение объемной штамповки
оправдано при серийном и массовом производстве. При использовании этого способа
значительно повышается производительность труда, снижаются отходы металла,
обеспечиваются высокие точность формы изделия и качество поверхности.
Штамповкой можно получать очень сложные по форме изделия, которые невозможно
получить приемами свободной ковки.
Объемную штамповку осуществляют
при разных температурах исходной заготовки и, в соответствии с температурой,
делят на холодную и горячую. Наиболее широкое распространение получила горячая
объемная штамповка (ГОШ), которую ведут в интервале температур, обеспечивающих
снятие упрочнения.
Исходным материалом для горячей
объемной штамповки являются сортовой прокат, прессованные прутки, литая
заготовка, в крупносерийном производстве – периодический прокат, что
обеспечивает сокращение подготовительных операций.
Формообразование при
горячей объемной штамповке
Основная операция ГОШ может быть
выполнена за один или несколько переходов. При каждом переходе формообразование
осуществляется специальной рабочей полостью штампа – ручьем (гравюрой).
Переходы и ручьи делятся на две группы: заготовительные и штамповочные. Схема технологического
процесса получения сложной заготовки в нескольких ручьях представлена на
рис.13.1.
Рис. 13.1. Стадии получения
сложной поковки в нескольких ручьях
1 – черновой ручей; 2 – подкатной
ручей; 3 – протяжной ручей; 4 – чистовой ручей, 5 – гибочный ручей
Заготовительные ручьи предназначены для фасонирования в штампах.
Фасонирование – перераспределение металла заготовки с целью
придания ей формы, обеспечивающей последующую штамповку с малым отходом
металла.
К заготовительным ручьям относятся
протяжной, подкатной, гибочный и пережимной, а также площадка для осадки.
Протяжной ручей предназначен для увеличения длины отдельных
участков заготовки за счет уменьшения площади их поперечного сечения,
выполняемого воздействием частых слабых ударов с кантованием заготовки.
Подкатной ручей служит для местного увеличения сечения заготовки
(набора металла) за счет уменьшения сечения рядом лежащих участков, то есть для
распределения объема металла вдоль оси заготовки в соответствии с
распределением его в поковке. Переход осуществляется за несколько ударов с
кантованием.
Пережимной ручей предназначен для уменьшения вертикального размера
заготовки в местах, требующих уширения. Выполняется за 1…3 удара.
Гибочный ручей применяют только при штамповке поковок, имеющих
изогнутую ось. Служит для придания заготовке формы поковки в плоскости разъема.
Из гибочного ручья в следующий заготовку передают с поворотом на 90 0.
При штамповке поковок, имеющих в
плане форму окружности или близкую к ней, часто применяют осадку исходной
заготовки до требуемых размеров по высоте и диаметру. Для этого на плоскости
штампа предусматривают площадку для осадки.
Штамповочные ручьи предназначены для получения готовой поковки. К
штамповочным ручьям относятся черновой (предварительный) и чистовой
(окончательный).
Черновой ручей предназначен для максимального приближения формы
заготовки к форме поковки сложной конфигурации. Глубина ручья несколько больше,
а поперечные размеры меньше, чем у чистового ручья (чтобы заготовка свободно
укладывалась в чистовой ручей). Радиусы скругления и уклоны увеличиваются. В
открытых штампах черновой ручей не имеет облойной канавки. Применяется для
снижения износа чистового ручья, но может отсутствовать.
Чистовой ручей служит для получения готовой поковки, имеет размеры
«горячей поковки», то есть больше, чем у холодной поковки, на величину усадки.
В открытых штампах по периметру ручья предусмотрена облойная канавка, для
приема избыточного металла. Чистовой ручей расположен в центре штампа, так как
в нем возникают наибольшие усилия при штамповке.
Технологический процесс ГОШ
отличается значительным разнообразием и определяется выбором самого изделия и
применяемым оборудованием.
Технологический процесс зависит от
формы поковки. По форме в плане поковки делятся на две группы: диски и поковки
удлиненной формы.
К первой группе относятся круглые
или квадратные поковки, имеющие сравнительно небольшую длину: шестерни, диски,
фланцы, ступицы, крышки и др. Штамповка таких поковок производится осадкой в
торец исходной заготовки с применением только штамповочных переходов.
Ко второй группе относятся поковки
удлиненной формы: валы, рычаги, шатуны и др. Штамповка таких поковок
производится протяжкой исходной заготовки (плашмя). Перед окончательной
штамповкой таких поковок в штамповочных ручьях требуется фасонирование исходной
заготовки в заготовительных ручьях штампа, свободной ковкой или на ковочных
вальцах.
Так как характер течения металла в
процессе штамповки определяется типом штампа, то этот признак можно считать
основным для классификации способов штамповки. В зависимости от типа штампа
выделяют штамповку в открытых и закрытых штампах (рис. 13.2).
Рис. 13.2. Схемы штамповки в
открытых и закрытых штампах: 1 – облойная канавка
Штамповка в открытых штампах (рис.13.2.а) характеризуется переменным зазором между
подвижной и неподвижной частями штампа. В этот зазор вытекает часть металла –
облой, который закрывает выход из полости штампа и заставляет остальной металл
заполнить всю полость. В конечный момент деформирования в облой выжимаются
излишки металла, находящиеся в полости, что позволяет не предъявлять высокие
требования к точности заготовок по массе. Штамповкой в открытых штампах можно
получить поковки всех типов.
Штамповка в закрытых штампах (рис.13.2.б) характеризуется тем, что полость штампа в
процесс деформирования остается закрытой. Зазор между подвижной и неподвижной
частями штампа постоянный и небольшой, образование в нем облоя не
предусмотрено. Устройство таких штампов зависит от типа машины, на которой
штампуют. Например, нижняя половина штампа может иметь полость, а верхняя –
выступ (на прессах), или верхняя – полость, а нижняя – выступ (на молотах).
Закрытый штамп может иметь две взаимно перпендикулярные плоскости разъема (рис.
13.3.в).
При штамповке в закрытых штампах
необходимо строго соблюдать равенство объемов заготовки и поковки, иначе при
недостатке металла не заполняются углы полости штампа, а при избытке размер
поковки по высоте будет больше требуемого. Отрезка заготовок должна
обеспечивать высокую точность.
Существенное преимущество
штамповки в закрытых штампах – уменьшение расхода металла из-за отсутствия
облоя. Поковки имеют более благоприятную структуру, так как волокна обтекают
контур поковки, а не перерезаются в месте выхода металла в облой. Металл деформируется
в условиях всестороннего неравномерного сжатия при больших сжимающих
напряжениях, это позволяет получать большие степени деформации и штамповать
малопластичные сплавы.
Чертеж поковки
Чертеж поковки является основным
документом при разработке технологического процесса и проектировании штампа.
Его выполняют на основе чертежа детали по ГОСТ 7505 – Поковки стальные
штампованные.
Сначала необходимо выбрать
поверхность разъема, т.е. поверхность, по которой соприкасаются между собой
верхняя и нижняя половины штампа. Обычно эта поверхность является плоскостью
или сочетанием плоскостей. Она необходима для установки исходной заготовки и
удаления из штампа готовой поковки. Поверхность разъема устанавливают в
плоскости двух наибольших габаритных размеров, при этом полости штампа имеют
наименьшую глубину.
При штамповке в открытых штампах
плоскость разъема должна обеспечивать контроль сдвига верхней и нижней частей
штампа после обрезки облоя. Для этого она должна пересекать вертикальную
поверхность поковки (рис. 13.3.а). Желательно плоскость разъема располагать
так, чтобы естественные уклоны облегчали удаление поковки из штампа (рис.
13.3.б) даже без выталкивателей и без существенного упрощения формы детали.
Рис. 13.3. Выбор плоскости
разъема штампа
В некоторых случаях положение
плоскости разъема определяется макроструктурой металла. Например, при штамповке
шестерен плоскость разъема должна быть перпендикулярна к оси детали. В этом
случае макроструктура получается одинаковой у всех зубьев шестерни и обеспечивает
их высокую прочность. На рис. 13.4 показан выбор положения разъема штампа по
условиям работы детали. Если деталь работает на срез по линии а – а, то
волокна металла должны располагаться перпендикулярно к линии среза (положение II
– II). Положение плоскости разъема I – I в данном случае
нежелательно.
Рис.13.4. Схема к выбору
плоскости разъема с учетом условий работы детали
При выборе плоскости разъема
необходимо учитывать использование поверхностей поковки в качестве баз при
механической обработке. Базы должны быть цилиндрическими, без штамповочных
уклонов. При этом припуск на механическую обработку должен быть одинаков в
направлении обработки.
При штамповке в закрытых штампах
плоскость разъема выбирают по торцевой наибольшей поверхности детали.
Припуски на механическую обработку
регламентируются ГОСТ 7505 с учетом точности поковки, которая определяется
видом оборудования и технологией ГОШ (открытая или закрытая) и назначаются в
основном на сопрягаемые поверхности.
Допуски учитывают возможные отклонения
от номинальных размеров вследствие недоштамповки по высоте, сдвига частей
штампов, их износа и т.п.
К кузнечным напускам относятся
штамповочные уклоны, внутренние радиусы закруглений, перемычки отверстий.
Штамповочные уклоны назначаются
сверх припуска, они повышают отход металла при механической обработке и
утяжеляют поковку. Для наружных поверхностей, вследствие температурной усадки,
уклоны меньше, чем для внутренних поверхностей.
Все пересекающиеся поверхности
сопрягаются по радиусам. Это необходимо для лучшего заполнения полости штампа и
предохранения его от преждевременного износа и поломок. Радиусы скругления
зависят от глубины полости штампа. Внутренние радиусы скругления в 3…4 раза
больше, чем наружные. Наружные радиусы обычно составляют 1…60.
При штамповке в штампах с одной
плоскостью разъема нельзя получить сквозное отверстие в поковке, поэтому
наносят только наметку отверстия с перемычкой-пленкой, удаляемой впоследствии в
специальных штампах. Толщина перемычки
устанавливается в зависимости от диаметра
отверстия
, но не
должна быть менее 4 мм. Отверстия диаметром менее 30 мм не штампуются
Технологический процесс
горячей объемной штамповки
Технологический процесс
изготовления поковки включает следующие операции: отрезка проката на мерные заготовки,
нагрев, штамповка, обрезка облоя и пробивка пленок, правка, термическая
обработка, очистка поковок от окалины, калибровка, контроль готовых поковок.
Перед штамповкой заготовки должны
быть нагреты равномерно по всему объему до заданной температуры. При нагреве
должны быть минимальными окалинообразование (окисление) и обезуглероживание
поверхности заготовки. Используются электроконтактные установки, в которых
заготовка, зажатая медными контактами, нагревается при пропускании по ней тока;
индукционные установки, в которых заготовка нагревается вихревыми токами;
газовые печи, с безокислительным нагревом заготовок в защитной атмосфере.
Штамповку осуществляют в открытых
и закрытых штампах. В открытых штампах получают поковки удлиненной и
осесимметричной формы. В закрытых штампах – преимущественно осесимметричные
поковки, в том числе из малопластичных материалов. Поковки простой формы
штампуют в штампах с одной полостью. Сложные поковки с резкими изменениями
сечений по длине, с изогнутой осью и т.п. штампуют в многоручьевых штампах.
После штамповки в открытых штампах
производят обрезание облоя и пробивку пленок в специальных штампах,
устанавливаемых на кривошипных прессах (рис..13. 5).
Рис.
13.5. Схемы обрезания облоя (а) и пробивки пленок (б)
Правку штампованных поковок
выполняют для устранения искривления осей и искажения поперечных сечений,
возникающих при затрудненном извлечении поковок из штампа, после обрезания
облоя, после термической обработки. Крупные поковки и поковки из
высокоуглеродистых и высоколегированных сталей правят в горячем состоянии либо
в чистовом ручье штампа сразу после обрезания облоя, либо на обрезном прессе
(обрезной штамп совмещается с правочным штампом), либо на отдельной машине.
Мелкие поковки правят на винтовых прессах в холодном состоянии после
термической обработки.
Термическую обработку применяют
для получения требуемых механических свойств поковок и облегчения их обработки
резанием. Отжиг снимает в поковках из высокоуглеродистых и легированных сталей
остаточные напряжения, измельчает зерно, снижает твердость, повышает
пластичность и вязкость. Нормализацию применяют для устранения крупнозернистой
структуры в поковках из сталей с содержанием углерода до 0,4%.
Очистку поковок от окалины
производят для облегчения контроля поверхности поковок, уменьшения износа
металлорежущего инструмента и правильной установки заготовки на металлорежущих
станках. На дробеструйных установках окалину с пковок, перемещающихся по ленте
конвейера, сбивают потоком быстро летящей дроби диаметром 1…2 мм. В галтовочных
барабанах окалина удаляется благодаря ударам поковок друг о друга и о
металлические звездочки, закладываемые во вращающийся барабан.
Калибровка поковок повышает
точность размеров всей поковки или отдельных ее участков. В результате этого последующая
механическая обработка устраняется полностью или ограничивается только
шлифованием. Различают плоскостную и объемную калибровку. Плоскостная
калибровка служит для получения точных вертикальных размеров на одном или
нескольких участках поковки. Объемной калибровкой повышают точность размеров
поковки в разных направлениях и улучшают качество ее поверхности. Калибруют в
штампах с ручьями, соответствующими конфигурации поковки.
ЛЕКЦИЯ
14
Оборудование для горячей
объемной штамповки
Оборудование для горячей объемной
штамповки молоты штамповочные, горячештамповочные кривошипные прессы,
горизонтально-ковочные машины. Процессы штамповки на этих машинах имеют свои
особенности, обусловленные устройством и принципом их действия.
Горячая объемная штамповка
на молотах
Основным типом молотов являются
паровоздушные штамповочные молоты. Их конструкция несколько отличается от
ковочных молотов. Стойка станины устанавливается непосредственно на шаботе.
Молоты имеют усиленные регулируемые направляющие для движения бабы. Масса
шабота превышает массу падающих частей в 30…30 раз. Все это обеспечивает
необходимую точность соударения штампов.
Масса падающих частей составляет
630…25000 кг.
Используются молоты бесшаботной
конструкции. Шабот заменен подвижной нижней бабой, связанной с верхней бабой
механической или гидравлической связью. Энергия удара поглощается механизмами
молота. При соударении верхней и нижней баб развивается значительная энергия,
что позволяет штамповать поковки в одноручьевых штампах.
Особенностями ГОШ на молотах
являются ударный характер деформирующего воздействия и возможность
регулирования хода подвижных частей и величины удара при одновременном
кантовании заготовки, что позволяет более эффективно производить
перераспределение металла. На молотах возможно выполнение всех заготовительных
переходов, в том числе протяжки и подката. Верхняя часть штампа заполняется
лучше. Части штампа при штамповке на молоте должны смыкаться.
При штамповке в открытых штампах
облойная канавка имеет вид, представленный на рис. 14.1.
Рис.14.1. Виды облойной канавки
при штамповке на молотах
Размеры облойной канавки (рис.
14.1.а) назначаются в зависимости от сложности поковки и ее размеров в плане.
Клиновая облойная канавка (рис. 14.1. б) позволяет снизить потери на облой в
результате повышения сопротивления течению металла.
При закрытой штамповке на молотах
применяются штампы с одним и двумя замками. Конструкции штампов представлены на
рис. 14.2.
Штампы с одним замком используются
чаще, так как они проще в изготовлении. Но они требуют точной наладки и
хорошего состояния оборудования. Второй замок (больший конус) предохраняет
первый замок и упрощает наладку штампа, но при этом увеличиваются его размеры и
масса.
Рис.14.2. Конструкции закрытых
молотовых штампов
а – с одним замком; б – с двумя замками
Геометрическая точность
поковок, полученных на молотах
На молотах поковки изготавливаются
с самыми низкими классами точности: Т4, Т5. Это обусловлено возможностью
смещения частей штампа, отсутствием направляющих в конструкции штампа, ударным
характером деформирования.
Допускаемые отклонения от
номинальных размеров поковки соответствуют припускам, поэтому также являются
увеличенными.
Кузнечные напуски имеют
максимальные значения. Ввиду ударного характера работы молота в конструкции
штампа нельзя использовать выталкиватели, поэтому для извлечения поковки из
ручья штампа на вертикальных поверхностях поковок оформляются значительные
штамповочные уклоны: наружные – до 7 0, внутренние – до 10 0.
Радиусы закругления назначаются для облегчения течения металла, повышения
стойкости штампа, обеспечения расположения волокон.
Горячая объемная штамповка
на прессах
Наиболее часто используются
кривошипные горячештамповочные прессы. Выбор пресса осуществляется по
номинальному усилию, которое составляет 6,7…100 МН.
К особенностям конструкции пресса
следует отнести жесткий привод, не позволяющий изменять ход ползуна, отсутствие
ударных нагрузок.
Жесткий привод не позволяет
производить переходы, требующие постепенно возрастающего обжатия с кантованием,
(протяжка, подкат). Для фасонирования заготовки могут быть использованы
заготовительные ручьи: пережимной, гибочный. Поэтому при штамповке на прессах
сложных заготовок, имеющих удлиненную форму в плане (шатуны, турбинные
лопатки), фасонирование осуществляется ковочными вальцами, свободной ковкой,
высадкой на горизонтально-ковочных машинах.
Отсутствие ударных нагрузок
позволяет не применять массивные шаботы, использовать сборную конструкцию
штампов (блок-штампы).
При открытой штамповке на прессах
части штампа не должны смыкаться на величину, равную толщине облоя. Полость
штампа выполняется открытой и облойная канавка имеет вид, показанный на
рис.14.3.
Рис.14.3. Вид облойной канавки
при штамповке на прессах
Для закрытой штамповки используются
штампы двух видов:
·
с цельной матрицей, для
изготовления поковок типа тел вращения, усилие распора в них воспринимается
матрицей и не передается ползуну пресса;
·
с разъемной матрицей, для легкого
извлечения из полости штампа поковок, что позволяет значительно уменьшить
штамповочные уклоны.
Поковки, полученные на прессах,
характеризуются высокой точностью, которая достигается за счет снижения
припусков на механическую обработку (в среднем на 20…30 % по сравнению с
поковками, полученными на молотах) и допускаемых отклонений на номинальные
размеры, снижения штамповочных уклонов в два – три раза. Наличие постоянного
хода приводит к большей точности поковок по высоте, а жесткость конструкции
пресса делает возможным применение направляющих колонок в штампах, что
исключает сдвиг.
Производительность труда
повышается в среднем в 1,4 раза за счет однократности и повышения мощности
деформирующих воздействий. В результате себестоимость поковок снижается на
10…30 %. Как показывают исследования, штамповка на прессах может быть
экономически выгодной даже при загрузке оборудования на 35…45 %.
При штамповке на прессах
деформация глубже проникает в заготовку, что позволяет штамповать
малопластичные материалы, применять штампы с разъемной матрицей с боковым
течением металла.
Процессу штамповки на прессах
присущи недостатки:
·
окалина вдавливается в тело
поковки, для предотвращения этого необходимо проводить малоокислительный или
безокислительный нагрев или полную очистку заготовки от окалины;
·
из-за невысокой скорости
деформирования время контакта металла с инструментом больше, чем на молотах,
поэтому имеет место переохлаждение поверхности заготовки, что приводит к
худшему заполнению полости штампа.
Штамповка на
горизонтально-ковочных машинах
Горизонтально-ковочная машина
представляет собой механический кривошипный штамповочный пресс, имеющий
разъемную матрицу, одна часть которой является подвижной – зажимной.
Кроме главного деформирующего
ползуна, имеется ползун, движение которого перпендикулярно движению главного.
Горизонтально-ковочные машины
выбираются по номинальному усилию, которое составляет 1…31,5 МН.
Схема горячей объемной штамповки
на горизонтально-ковочной машине показана на рис. 14.4.
Штамп состоит из трех
частей: неподвижной матрицы 3, подвижной матрицы 5 и пуансона 1,
размыкающихся в двух взаимно перпендикулярных плоскостях. Пруток 4 с
нагретым участком на его конце закладывают в неподвижную матрицу. Положение
конца прутка определяется упором 2. При включении машины подвижная
матрица 5 прижимает пруток к неподвижной матрице, упор автоматически
отходит в сторону, и только после этого пуансон 1 соприкасается с
выступающей частью прутка и деформирует ее. Металл при этом заполняет формующую
полость, расположенную впереди зажимной части. Формующая полость может
находиться только в матрице, только в пуансоне, а также в матрице и пуансоне.
После окончания деформирования
пуансон движется в обратном направлении, выходя из полости матрицы. Матрицы
разжимаются, деформированную заготовку вынимают или она выпадает из них.
Рис. 14.4. Схема горячей объемной
штамповки на горизонтально-ковочной машине
Штамповка выполняется за несколько
переходов в отдельных ручьях, оси которых расположены одна над другой. Каждый
переход осуществляется за один рабочий ход ползуна. Осуществляются операции:
высадка, прошивка, пробивка. За один переход можно высадить выступающий из
зажимной части матрицы конец прутка только в том случае, если его длина не
превышает трех диаметров. При большей длине возможен изгиб заготовки, поэтому
предварительно необходимо произвести набор металла. Набор металла
осуществляется в полости пуансона, которой придают коническую форму.
В качестве исходной заготовки
используют пруток круглого или квадратного сечения, трубный прокат. Штампуют
поковки: стержни с утолщениями и глухими отверстиями, кольца, трубчатые детали
со сквозными и глухими отверстиями.
Так как штамп состоит из трех
частей , то напуски на поковки и штамповочные уклоны малы или отсутствуют.
К недостаткам
горизонтально-ковочных машин следует отнести их малую универсальность и высокую
стоимость.
Ротационные способы
изготовления поковок
В основе этих способов лежит
процесс ротационного обжатия при вращении инструмента или заготовки. При
обкатывании инструментом заготовки очаг деформации имеет локальный характер и
постоянно перемещается по заготовке, вследствие чего усилие, действующее на
инструмент, меньше чем при штамповке. Это позволяет изготовлять поковки большой
массы (заготовка вагонных осей) с большой точностью, так как упругие деформации
при меньших усилиях меньше.
Штамповка на ковочных вальцах напоминает продольную прокатку, на двух валках
закрепляют секторные штампы, имеющие соответствующие ручьи (рис. 14. 5.а).
Рис.14.5. Схемы действия ковочных
вальцов (а), ротационно-ковочной машины (б), станов поперечно-клиновой прокатки
(в); раскатки (г)
Нагретую заготовку 1 подают
до упора 2, когда секторные штампы 3 расходятся. При повороте
валков происходит захват заготовки и обжатие ее по форме полости; одновременно
с обжатием заготовка выталкивается в сторону подачи.
На вальцах изготовляют поковки
типа звеньев цепей, рычагов, гаечных ключей и т.п., а также осуществляют
фасонирование заготовок. Исходное сечение заготовки принимают равным
максимальному сечению поковки, так как при вальцовке происходит главным образом
протяжка.
Штамповка на
ротационно-ковочных машинах подобна
операции протяжки и заключается в местном обжатии заготовки по периметру (рис.
14.5.б). Заготовку 1 в виде прутка или трубы помещают в отверстие между
бойками 5 машины, находящимися в шпинделе 4. Бойки могут свободно
скользить в радиально расположенных пазах шпинделя. При вращении шпинделя
ролики 3, помещенные в обойме 2, толкают бойки 5, которые
наносят удары по заготовке. В исходное положение бойки возвращаются под действием
центробежных сил. В машинах этого типа получают поковки, имеющие форму тел
вращения. Существуют машины, у которых вместо шпинделя с бойками вращается
обойма с роликами; в этом случае для возвратного движения ползунов служат
пружины. В таких машинах получают поковки квадратного, прямоугольного и других
сечений.
Поперечно-клиновой прокаткой (рис.14.5.в) получают заготовки валов и осей с
резкими ступенчатыми переходами диаметром от 12 до 120 мм. Деформирование может
осуществляться инструментом в виде двух валков, валка и сегмента или двух
плоских плит. Плоско-клиновой инструмент наиболее прост и обеспечивает
получение валов сложной конфигурации с высокой точностью. Заготовка 2 из
круглого прокатанного прутка после нагрева автоматически перемещается в рабочую
зону клиньев 1 в их исходном положении. Клиновой инструмент,
закрепленный в подвижной салазке станка, совершает прямолинейное движение.
Заготовка прокатывается между двумя клиновыми плитами.
Раскатка кольцевых заготовок на
раскатных станах получила особенно
большое распространение при производстве колец подшипников. Схема процесса
показана на рис. 14.5.г. Заготовка 1 представляет собой кольцо с меньшим
диаметром и большей толщиной стенки, чем у поковки. Заготовки получают
штамповкой на молотах или горизонтально-ковочных машинах. При подведении к
заготовке 1, надетой на валок 2, быстро вращающегося валка 3 заготовка
и валок 2 начинают вращаться. При дальнейшем сближении валков 2 и
3 увеличивается наружный диаметр заготовки за счет уменьшения толщины и
происходит ее контакт с направляющим роликом 4, обеспечивающим получение
правильной кольцевой формы поковки. После касания поковкой контрольного ролика 5
раскатка прекращается.
Раскаткой получают поковки колец с
поперечными сечениями различной формы наружным диаметром 70…700 мм и шириной
20…180 мм.
Штамповка жидкого металла
Штамповка жидкого металла является
одним из прогрессивных технологических процессов, позволяющих получать плотные
заготовки с уменьшенными пропусками на механическую обработку, с высокими
физико-механическими и эксплуатационными свойствами.
Технологический процесс штамповки
жидкого металла объединяет в себе процессы литья и горячей объемной штамповки.
Процесс заключается в том, что
расплав, залитый в матрицу пресс-формы, уплотняют пуансоном, закрепленным на
ползуне гидравлического пресса, до окончания затвердевания.
Сопряжение пуансона и матрицы
образует закрытую фасонную полость. Наружные контуры заготовки получают
разъемной формой, если деталь имеет наружные выступы, или неразъемной формой –
при отсутствии выступов. Внутренние полости образуются внедрением пуансона в
жидкий металл.
После извлечения из пресс-формы
заготовку подвергают различным видам обработки или используют без последующей
обработки.
Под действием высокого давления и
быстрого охлаждения газы, растворенные в расплаве, остаются в твердом растворе.
Все усадочные пустоты заполняются незатвердевшим расплавом, в результате чего
заготовки получаются плотными, с мелкокристаллическим строением, что позволяет
изготавливать детали, работающие под гидравлическим давлением.
Этим способом можно получить
сложные заготовки с различными фасонными приливами на наружной поверхности,
значительно выходящими за пределы основных габаритных размеров детали. В
заготовках могут быть получены отверстия, расположенные не только вдоль
движения пуансона, но и в перпендикулярном направлении.
Возможно запрессовывать в
заготовки металлическую и неметаллическую арматуру.
Процесс используется для получения
фасонных заготовок из чистых металлов и сплавов на основе магния, алюминия,
меди, цинка, а также из черных металлов.
ЛЕКЦИЯ
15
Холодная штамповка
Холодная штамповка является одним
из наиболее прогрессивных методов получения высококачественных заготовок
небольших и точных из стали и цветных металлов. Она обеспечивает достаточно
высокую точность и малую шероховатость поверхности при малых отходах металла и
низкой трудоемкости и себестоимости изготовления изделий. Возможность
осуществления холодной штамповки и качество заготовок определяются качеством
исходного материала. Большое значение имеет подготовка поверхности заготовок:
удаление окалины, загрязнений и поверхностных дефектов.
Процессы холодной штамповки часто
выполняют за несколько технологических переходов, постепенно приближая форму и
размеры заготовок к форме и размерам готовых изделий и осуществляя
промежуточный отжиг для снятия наклепа и восстановления пластических свойств металла.
В зависимости от характера деформирования и конструкции штампов холодную
штамповку делят на объемную и листовую.
Объемная холодная штамповка
Холодную объемную штамповку
выполняют на прессах или специальных холодноштамповочных автоматах. Основными
ее разновидностями являются: высадка, выдавливание, объемная формовка, чеканка.
Высадка – образование на заготовке местных утолщений
требуемой формы в результате осадки ее конца (рис. 15.1).
Рис.15.1. Схема высадки
Заготовкой обычно служит холоднотянутый
материал в виде проволоки или прутка из черных или цветных металлов. Высадкой
изготавливают стандартные и специальные крепежные изделия, кулачки,
валы-шестерни, детали электронной аппаратуры, электрические контакты и т.д.
Длина высаживаемой части
рассчитывается с учетом
объема требуемого утолщения
по формуле:
.
Расчет числа переходов
производится в основном по соотношению длины высаживаемой части
и диаметра заготовки
, которое характеризует устойчивость
к продольному изгибу. При
используют один переход, при
– два перехода, при
– три перехода. При большом
количестве переходов происходит упрочнение металла, поэтому требуется отжиг.
Последовательность переходов
изготовления деталей показана на рис. 15.2.: за три перехода (рис. 15.2.а); за
пять переходов (рис. 15.2.б).
Рис.15.2. Последовательность
переходов изготовления детали
Высадка осуществляется на прессах,
горизонтально-ковочных машинах, автоматических линиях, оснащенных
холодновысадочными пресс-автоматами.
Выдавливание – формообразование сплошных или полых изделий,
благодаря пластическому течению металла из замкнутого объема через отверстия
соответствующей формы.
Особенностью процесса является
образование в очаге деформации схемы трехосного неравномерного сжатия,
повышающего технологическую пластичность материала.
Различают прямое, обратное,
боковое и комбинированное выдавливание (рис. 15.3).
При прямом выдавливании
металл течет из матрицы 2 в направлении, совпадающем с направлением
движения пуансона 1 (рис.15.3.а, 15.3.б). Этим способом можно получить
детали типа стержня с утолщением, трубки с фланцем, стакана с фланцем.
При обратном выдавливании
металл течет в направлении, противоположном направлению движения пуансона, в
кольцевой зазор между пуансоном и матрицей для получения полых деталей с дном
(рис. 15.3.в) или в полый пуансон для получения деталей типа стержня с фланцем
(рис. 15.3.г).
При боковом выдавливании
металл течет в боковые отверстия матрицы под углом к направлению движения
пуансона (рис.15.3.ж). Таким образом, можно получить детали типа тройников,
крестовин и т.п. Для обеспечения удаления заготовок из штампа матрицу выполняют
состоящей из двух половинок с плоскостью разъема, проходящей через осевые линии
исходной заготовки и получаемого отростка.
При комбинированном выдавливании
металл течет по нескольким направлениям (рис.15.3.д, 15.3.е). Возможны
сочетания различных схем.
Заготовки для выдавливания
отрезают от прутков или вырубают из листа. Размер заготовок рассчитывают с
учетом потерь на последующую обработку. Форма заготовки и ее размеры для полых
деталей без фланца соответствуют наружным размерам детали; для деталей с
фланцем – диаметру фланца; для деталей стержневого типа – размерам головки.
Выдавливание можно осуществлять и
в горячем состоянии.
Рис. 15.3. Схемы выдавливания:
а,б – прямого; в, г – обратного;
д, е – комбинированного; ж - бокового
Объемная формовка – формообразование изделий путем заполнения металлом
полости штампа.
Схемы объемной формовки
представлены на рис.15.4.
Рис.15.4. Схемы объемной формовки:
а – в открытых штампах; б – в закрытых штампах
Она производится в открытых
штампах, где излишки металла вытекают в специальную полость для образования
облоя (рис.15.4.а), и в закрытых штампах, где облой не образуется (рис.15.4.б).
Формовку в закрытых штампах применяют реже из-за больших сложности и стоимости
получения заготовок точного объема, необходимости использования более мощного
оборудования и меньшей стойкости штампов. В закрытых штампах получают в
основном детали из цветных металлов.
Объемной формовкой изготавливают
пространственные детали сложных форм, сплошные и с отверстиями. Холодная
объемная формовка требует значительных удельных усилий вследствие высокого
сопротивления металла деформированию в условиях холодной деформации и упрочнения
металла в процессе деформации. Упрочнение сопровождается снижением пластичности
металла. Для облегчения процесса деформирования оформление детали расчленяется
на переходы, между которыми заготовку подвергают рекристаллизационному отжигу.
Каждый переход осуществляют в специальном штампе, а между переходами обрезают
облой для уменьшения усилия деформирования и повышения точности размеров
деталей.
Заготовкой служит полоса или
пруток, причем процесс штамповки может осуществляться непосредственно в полосе
или прутке или из штучных заготовок.
В качестве оборудования используют
прессы, однопозиционные и многопозиционные автоматы.
Чеканка – образование рельефных изображений на деформируемом
материале.
Чеканка осуществляется в закрытых
штампах на чеканочных фрикционных и гидравлических прессах.
При холодной штамповке коэффициент
использования материала достигает 95 %. При холодном деформировании формируется
благоприятная ориентированная волокнистая структура металла, что придает
деталям высокую усталостную прочность при динамических нагрузках. Это позволяет
получать конструкции с меньшими размерами и металлоемкостью, чем у конструкций,
полученных обработкой резанием, не снижая при этом их надежность. Но для
холодной объемной штамповки требуется дорогостоящий специальный инструмент, что
делает целесообразным ее применение только в массовом и крупносерийном
производствах.
Листовая штамповка
Листовая штамповка – один из видов холодной обработки давлением, при
котором листовой материал деформируется в холодном или подогретом состоянии.
Листовой штамповкой
изготавливаются разнообразные плоские и пространственные детали – от мелких,
массой от долей грамма и размерами в доли миллиметра (секундная стрелка часов),
до средних (металлическая посуда, крышки, кронштейны) и крупных (облицовочные
детали автомобилей).
Толщина заготовки при листовой
штамповке обычно не более 10 мм, но иногда может превышать 20 мм, в этом случае
штамповка осуществляется с предварительным подогревом до ковочных температур.
При листовой штамповке используют:
низкоуглеродистые стали, пластичные легированные стали, цветные металлы и
сплавы на их основе, драгоценные металлы, а также неметаллические материалы:
органическое стекло, фетр, целлулоид, текстолит, войлок и др.
Листовую штамповку широко
применяют в различных отраслях промышленности, особенно, автомобилестроении,
ракетостроении, самолетостроении, приборостроении, электротехнической
промышленности.
Основные преимущества листовой
штамповки:
·
возможность изготовления прочных
легких и жестких тонкостенных деталей простой и сложной формы, получить которые
другими способами невозможно или затруднительно;
·
высокие точность размеров и
качество поверхности, позволяющие до минимума сократить механическую обработку;
·
сравнительная простота механизации
и автоматизации процессов штамповки, обеспечивающая высокую производительность
(30 000…40 000 деталей в смену с одной машины);
·
хорошая приспособляемость к
масштабам производства, при которой листовая штамповка может быть экономически
выгодна и в массовом, и в мелкосерийном производствах.
Холодная листовая штамповка
заключается в выполнении в определенной последовательности разделительных и
формоизменяющих операций, посредством которых исходным заготовкам придают форму
и размеры детали.
Операцией листовой штамповки называется процесс пластической деформации,
обеспечивающий характерное изменение формы определенного участка заготовки.
Различают разделительные
операции, в которых этап пластического деформирования обязательно завершается
разрушением, и формообразующие операции, в которых заготовка не должна
разрушаться в процессе деформирования. При проектировании технологического
процесса изготовления деталей листовой штамповкой основной задачей является
выбор наиболее рациональных операций и последовательности их применения,
позволяющих получить детали с заданными эксплуатационными свойствами при
минимальной себестоимости и хороших условиях труда.
Все операции выполняются при
помощи специальных инструментов – штампов, которые имеют различные конструкции
в зависимости от назначения. Штампы состоят из рабочих элементов – матрицы и
пуансона, и вспомогательных частей – прижимов, направляющих, ограничителей и
т.д. Пуансон вдавливается в деформируемый металл или охватывается им, а матрица
охватывает изменяющую форму заготовку и пуансон.
Операции листовой штамповки
Разделительные операции предназначены или для получения заготовки из листа
или ленты, или для отделения одной части заготовки от другой. Операции могут
выполняться по замкнутому или по незамкнутому контуру.
Отделение одной части заготовки от
другой осуществляется относительным смещением этих частей в направлении,
перпендикулярном к плоскости заготовки. Это смещение вначале характеризуется
пластическим деформированием, а завершается разрушением.
Отрезка – отделение части заготовки по незамкнутому контуру на
специальных машинах – ножницах или в штампах.
Обычно ее применяют как
заготовительную операции для разделения листов на полосы и заготовки нужных
размеров.
Основные типы ножниц представлены
на рис. 15.5.
Рис. 15.5. Схемы действия ножниц:
а – гильотинных; б – дисковых
Ножницы с поступательным движением
режущих кромок ножа могут быть с параллельными ножами, для резки узких полос, с
одним наклонным ножом – гильотинные (рис.15.5.а). Режущие кромки в гильотинных
ножницах наклонены друг к другу под углом 1…50 для уменьшения усилия
резания. Лист подают до упора, определяющего ширину отрезаемой полосы В.
Длина отрезаемой полосы L не должна превышать длины ножей.
Ножницы с вращательным движением
режущих кромок – дисковые (рис.15.5.б). Длина отрезаемой заготовки не
ограничена инструментом. Вращение дисковых ножей обеспечивает не только
разделение, но и подачу заготовки под действием сил трения. Режущие кромки
ножей заходят одна за другую, это обеспечивает прямолинейность линии отрезки.
Для обеспечения захвата и подачи заготовки диаметр ножей должен быть в 30…70
раз больше толщины заготовки, увеличиваясь с уменьшением коэффициента трения.
Вырубка и пробивка – отделение металла по замкнутому
контуру в штампе.
При вырубке и пробивке характер
деформирования заготовки одинаков. Эти операции отличаются только назначением.
Вырубкой оформляют наружный контур детали, а пробивкой – внутренний контур
(изготовление отверстий).
Вырубку и пробивку осуществляют
металлическими пуансоном и матрицей. Пуансон вдавливает часть заготовки в
отверстие матрицы. Схема процессов вырубки и пробивки представлена на рис.
15.6.
Основным технологическим
параметром операций является радиальный зазор между пуансоном и матрицей
. Зазор
назначают в зависимости от толщины
и механических свойств
заготовки, он приближенно составляет
. При вырубке размеры отверстия матрицы равны
размерам изделия, а размеры пуансона на
меньше их. При пробивке размер пуансона равен
размерам отверстия, а размеры матрицы на
больше их.
Рис. 15.6. Схема процессов
вырубки (а) и пробивки (б)
1 – пуансон, 2 – матрица, 3 –
изделие, 4 – отход
Уменьшение усилия резания
достигается выполнением скоса на матрице при вырубке, на пуансоне – при
пробивке.
При штамповке мало- и среднегабаритных
деталей из одной листовой заготовки вырубают несколько плоских заготовок для
штамповки. Между смежными контурами вырубаемых заготовок оставляют перемычки
шириной, примерно равной толщине заготовки. В отдельных случаях смежные
заготовки вырубают без перемычек (экономия металла при ухудшении качества среза
и снижении стойкости инструмента).
Расположение контуров смежных
вырубаемых заготовок на листовом материале называется раскроем. Часть
заготовки, оставшаяся после вырубки – высечкой.
Высечка составляет основной отход
при листовой штамповке. Тип раскроя следует выбирать из условия уменьшения
отхода металла в высечку (рис. 15.7).
Рис.15.7. Примеры раскроя
материала с перемычками (а) и без перемычек (б)
Экономия металла может быть
получена: уменьшением расхода металла на перемычки, применением безотходного и
малоотходного раскроя, повышением точности расчета размеров заготовки и
уменьшением припусков на обрезку.
ЛЕКЦИЯ
16
Холодная штамповка
(продолжение)
Формообразование заготовок из
порошковых материалов
Листовая штамповка
Формообразующие операции
листовой штамповки
При формообразующих операциях
стремятся получить заданную величину деформации, чтобы заготовка приобрела
требуемую форму.
Основные формообразующие операции:
гибка, вытяжка, отбортовка, обжим, раздача, рельефная формовка. Схемы
формообразующих операций представлены на рис. 16.1.
Рис. 16.1. Формообразующие
операции листовой штамповки
Гибка – образование угла между частями заготовки или
придание заготовке криволинейной формы.
При гибке пластически
деформируется только участок заготовки в зоне контакта с пуансоном 1
(рис. 16.1.а): наружные слои заготовки растягиваются, а внутренние – сжимаются.
Деформация растяжения наружных слоев и сжатия внутренних увеличивается с
уменьшением радиуса скругления рабочего торца пуансона, при этом возрастает
вероятность образования трещин. Поэтому минимальный радиус пуансона
ограничивается величиной в пределах 0.1…2,0 от толщины заготовки, в зависимости
от механических свойств материала.
При снятии нагрузки растянутые
слои заготовки упруго сжимаются, а сжатые – растягиваются, что приводит к
изменению угла гибки
,
т.е. к пружинению детали. Это следует учитывать или уменьшением угла
инструмента на величину пружинения, или применением в конце рабочего хода
дополнительного усилия.
Гибку производят в штампах, а
также вращающимися фигурными роликами, играющими роль матрицы, на
профилегибочных станах.
Вытяжка – образование полого изделия из плоской или полой
заготовки (рис.16.1.б).
Вырубленную заготовку диаметром
и толщиной
укладывают на плоскость матрицы 3.
Пуансон 1 надавливает на заготовку и она, смещаясь в отверстие матрицы,
образует стенки вытянутой детали диаметром
.
Формоизменение при вытяжке
оценивают коэффициентом вытяжки
, который в зависимости от механических
характеристик металла и условий вытяжки не должен превышать 2,1.
При
, возможны потеря устойчивости фланца и
образование складок при вытяжке. Их предотвращают прижимом 2 фланца
заготовки к матрице с определенным усилием
.
Высокие детали малого диаметра
получают за несколько операций вытяжки с постепенным уменьшением диаметра D
полуфабриката и увеличением его высоты (рис. 16.1.в). При последующих переходах
для предотвращения разрушения металла принимают
Промежуточный отжиг для устранения
наклепа позволяет увеличить
до 1,4…1,6.
Опасность разрушения заготовок
устраняют применением смазочных материалов для уменьшения сил трения между
поверхностями заготовок и инструмента.
При вытяжке зазор между матрицей и
пуансоном составляет
.
Отбортовка – получение борта диаметром
путем вдавливания центральной части заготовки с
предварительно пробитым отверстием
в матрицу (рис.16.1.г).
Формоизменение оценивают
коэффициентом отбортовки
,
который зависит от механических
характеристик металла заготовки и ее относительной толщины
. Большее увеличение диаметра можно
получить, если заготовку отжечь перед отбортовкой или изготовить отверстие
резанием, создающим меньшее упрочнение у края отверстия.
Отбортовку применяют для
изготовления кольцевых деталей с фланцами и для образования уступов в деталях
для нарезания резьбы, сварки, а также для увеличения жесткости конструкции при
малой массе.
Выделяется отбортовка наружного
контура – образование невысоких бортов по наружному криволинейному краю
заготовки.
Обжим – уменьшение периметра поперечного сечения концевой
части полой заготовки.
Производится заталкиванием
заготовки в сужающуюся полость матрицы (рис. 16.1.д). За один переход можно
получить
. Для
большего формоизменения выполняют несколько последовательных операций обжима.
Раздача – увеличение периметра поперечного сечения концевой
части полой заготовки коническим пуансоном; это операция противоположная
обжиму.
Рельефная формовка – местное деформирование заготовки с целью
образования рельефа в результате уменьшения толщины заготовки (рис. 16.1.е).
Формовкой получают конструкционные
выступы и впадины, ребра жесткости, лабиринтные уплотнения.
Штампы для листовой штамповки
делятся по технологическому признаку в зависимости от выполняемой операции:
вырубные, гибочные, вытяжные и т.д. В зависимости от числа выполняемых операций
различают одно- и многооперационные штампы. Многооперационные штампы бывают
последовательного действия, в которых операции выполняются последовательно при
перемещении заготовки по нескольким рабочим позициям штампа, и совмещенного
действия, в которых операции выполняются на одной позиции, например,
одновременно вырубка и пробивка, вырубка и вытяжка и т.д.
В настоящее время применяют
специальные конструкции штампов, в которых металлические пуансоны или матрицы
отсутствуют, и давление на материал осуществляется при помощи резины, жидкости
или сжатого воздуха (рис.16.2). При этом резина или жидкость легко удаляются из
штампованной детали, а матрица должна быть разъемной.
При изготовлении небольших по
глубине изделий пуансон заменяет резиновая подушка (рис.16.2.а). С помощью
резины можно осуществлять все операции: вырубку, гибку, вытяжку, формовку.
Матрица 3 крепится к столу, а резиновая подушка, помещенная в стальную
обойму 1, крепится к ходовой части пресса (толщина заготовки 2 –
до 1,5 мм).
Рис. 16.2. Схемы листовой
штамповки при помощи эластичной среды и жидкости
Резиновые пуансоны цилиндрической
формы применяются при вытяжке изделий сложной формы, при необходимости
увеличения диаметральных размеров средней части цилиндрических полуфабрикатов
(рис.16.2.б).
При гидравлической вытяжке
(рис.16.2.в) полые детали цилиндрической, конической, сферической или другой
формы получают надавливанием на заготовку жидкостью или жидкостью, заключенной
в эластичную оболочку.
Высокоскоростные методы
штамповки
Особенностью таких методов
является высокая скорость деформирования в соответствии с высокими скоростями
преобразования энергии. Кратковременное приложение больших усилий разгоняет
заготовку до скоростей 150 м/с. Последующее ее деформирование происходит за
счет накопленной в период разгона кинетической энергии. Основными
разновидностями высокоскоростной листовой штамповки являются: штамповка
взрывом, электрогидравлическая и электромагнитная штамповка (рис.16.3).
Рис. 16.3. а-
электрогидравлическая, б – электромагнитная штамповка
Штамповка взрывом осуществляется в бассейнах, наполненных водой
(рис.16.3.а). Заготовку 3, зажатую между матрицей 5 и прижимом 4
опускают в бассейн с водой 2. Полость матрицы под заготовкой
вакуумируется при помощи вакуумной линии 6. Заряд с детонатором 1 подвешивают
в воде над заготовкой. Взрыв образует волну высокого давления, которая,
достигая заготовки, вызывает ее разгон. Процесс штамповки длится тысячные доли
секунды, а скорости перемещения заготовки соизмеримы со скоростями
распространения пластических деформаций в металле. При штамповке взрывом не
требуется дорогостоящего прессового оборудования, конструкция штампа крайне
проста.
Электрогидравлическую штамповку также осуществляют в бассейне с водой. Ударная волна,
разгоняющая заготовку, возникает при кратковременном электрическом разряде в
жидкости. Мощный искровой разряд подобен взрыву. В результате разряда в
жидкости возникает ударная волна, которая, дойдя до заготовки, оказывает на нее
сильное воздействие и деформирует ее по матрице.
При электромагнитной штамповке
(рис.16.3. б) электрическая энергия преобразуется в механическую за счет
импульсного разряда батареи конденсаторов через соленоид 7, вокруг которого
при этом возникает мгновенное магнитное поле высокой мощности, наводящее
вихревые токи в трубчатой токопроводящей заготовке 3. Взаимодействие
магнитных полей вихревых токов
с магнитным полем индуктора создает
механические силы
,
деформирующие заготовку. Для электромагнитной штамповки трубчатых и плоских
заготовок созданы установки, на которых можно проводить обжим, раздачу,
формовку иоперации получения неразъемных соединения деталей.
Формообразование заготовок из
порошковых материалов
Заготовки из порошковых материалов
получают прессованием (холодным, горячим), изостатическим формованием,
прокаткой и другими способами.
При холодном прессовании в
пресс-форму (рис.16.4.а) засыпают определенное количество подготовленного
порошка 3 и прессуют пуансоном 1.
В процессе прессования
увеличивается контакт между частицами, уменьшается пористость, деформируются
или разрушаются отдельные частицы. Прочность получаемой заготовки достигается
благодаря силам механического сцепления частиц порошка электростатическими
силами притяжения и трения. С увеличением давления прессования прочность
заготовки возрастает. Давление распределяется неравномерно по высоте прессуемой
заготовки из-за влияния сил трения порошка о стенки пресс-формы, вследствие
чего заготовки получаются с различной прочностью и пористостью по высоте. В
зависимости от размеров и сложности прессуемых заготовок применяют одно- и
двустороннее прессование.
Рис.16.4. Схема холодного
прессования: а – одностороннего; б – двустороннего
Односторонним прессованием
получают заготовки простой формы с отношением высоты к диаметру, меньшим
единицы, и заготовки втулок с отношением наружного диаметра к толщине стенки,
меньшим трех.
Двустороннее прессование
(рис.16.4.б) применяют для формообразования заготовок сложной формы. После
заполнения пресс-формы порошком к верхнему пуансону с помощью гидропресса
прикладывают давление для предварительного прессования. Затем гидропривод
выключают и удаляют подкладку 4. В дальнейшем в процессе прессования
участвуют оба пуансона. В этом случае требуемое давление для получения
равномерной плотности снижается на 30…40 %. Использование вибрационного
прессования позволяет в десятки раз уменьшить требуемое давление.
В процессе прессования частицы
порошка подвергаются упругому и пластическому деформированию. После извлечения
заготовки из пресс-формы ее размеры увеличиваются в результате упругого
последействия.
При горячем прессовании
технологически совмещаются прессование и спекание заготовки. Температура
горячего прессования составляет обычно 0,6…0,8 температуры плавления порошка.
Благодаря нагреву уплотнение протекает гораздо интенсивнее, чем при холодном
прессовании. Это позволяет значительно уменьшить необходимое давление. Горячим
прессованием получают материалы, характеризующиеся высокой прочностью и
однородностью структуры. Этот способ применяют для таких плохо прессуемых
композиций, как тугоплавкие металлоподобные соединения (карбиды, бориды,
силициды).
Изостатическое (всестороннее)
формование применяют для получения
крупногабаритных заготовок с массой до 500 кг и более. Отсутствие потерь на
внешнее трение и равномерность давления со всех сторон дают возможность
получать необходимую плотность заготовок при давлениях, значительно меньших,
чем при прессовании в закрытых пресс-формах.
При гидростатическом формовании
(рис.16.5) на порошок 3, заключенный в эластичную оболочку 2,
передается давление с помощью жидкости, находящейся в сосуде высокого давления 1.
В качестве рабочей жидкости используют масло, глицерин, воду и т.д.
Рис.16.5. Схема гидростатического
формования
Прокатка – наиболее производительный и перспективный способ
переработки порошковых материалов. Характерной особенностью является высокая
степень автоматизации и непрерывность прокатки. Схема прокатки представлена на рис.16.6.
Рис.16.6. Схема прокатки порошков
Порошок непрерывно поступает из
бункера 1 в зазор между валками. При вращении валков 3 происходит
обжатие и вытяжка порошка 2 в ленту или полосу 4 определенной
толщины. Прокатка может быть совмещена со спеканием и окончательной обработкой
получаемых заготовок. В этом случае лента проходит через печь для спекания, а
затем снова подвергается прокатке для получения листов заданных размеров.
Применяя бункеры с перегородкой (рис. 16.6.б) изготавливают ленты из разных
материалов (двухслойные). Применение валков определенной формы позволяет
получать валки различного профиля, в том числе и проволоку.
ЛЕКЦИЯ
16
Холодная штамповка
(продолжение)
Формообразование заготовок из
порошковых материалов
Листовая штамповка
Формообразующие операции
листовой штамповки
При формообразующих операциях
стремятся получить заданную величину деформации, чтобы заготовка приобрела
требуемую форму.
Основные формообразующие операции:
гибка, вытяжка, отбортовка, обжим, раздача, рельефная формовка. Схемы
формообразующих операций представлены на рис. 16.1.
Рис. 16.1. Формообразующие
операции листовой штамповки
Гибка – образование угла между частями заготовки или
придание заготовке криволинейной формы.
При гибке пластически деформируется
только участок заготовки в зоне контакта с пуансоном 1 (рис. 16.1.а):
наружные слои заготовки растягиваются, а внутренние – сжимаются. Деформация
растяжения наружных слоев и сжатия внутренних увеличивается с уменьшением
радиуса скругления рабочего торца пуансона, при этом возрастает вероятность
образования трещин. Поэтому минимальный радиус пуансона ограничивается
величиной в пределах 0.1…2,0 от толщины заготовки, в зависимости от
механических свойств материала.
При снятии нагрузки растянутые
слои заготовки упруго сжимаются, а сжатые – растягиваются, что приводит к
изменению угла гибки
,
т.е. к пружинению детали. Это следует учитывать или уменьшением угла
инструмента на величину пружинения, или применением в конце рабочего хода
дополнительного усилия.
Гибку производят в штампах, а
также вращающимися фигурными роликами, играющими роль матрицы, на
профилегибочных станах.
Вытяжка – образование полого изделия из плоской или полой
заготовки (рис.16.1.б).
Вырубленную заготовку диаметром
и толщиной
укладывают на плоскость матрицы 3.
Пуансон 1 надавливает на заготовку и она, смещаясь в отверстие матрицы,
образует стенки вытянутой детали диаметром
.
Формоизменение при вытяжке
оценивают коэффициентом вытяжки
, который в зависимости от механических характеристик
металла и условий вытяжки не должен превышать 2,1.
При
, возможны потеря устойчивости фланца и
образование складок при вытяжке. Их предотвращают прижимом 2 фланца
заготовки к матрице с определенным усилием
.
Высокие детали малого диаметра
получают за несколько операций вытяжки с постепенным уменьшением диаметра D
полуфабриката и увеличением его высоты (рис. 16.1.в). При последующих переходах
для предотвращения разрушения металла принимают
Промежуточный отжиг для устранения
наклепа позволяет увеличить
до 1,4…1,6.
Опасность разрушения заготовок
устраняют применением смазочных материалов для уменьшения сил трения между
поверхностями заготовок и инструмента.
При вытяжке зазор между матрицей и
пуансоном составляет
.
Отбортовка – получение борта диаметром
путем вдавливания центральной части заготовки с
предварительно пробитым отверстием
в матрицу (рис.16.1.г).
Формоизменение оценивают
коэффициентом отбортовки
,
который зависит от механических
характеристик металла заготовки и ее относительной толщины
. Большее увеличение диаметра можно
получить, если заготовку отжечь перед отбортовкой или изготовить отверстие
резанием, создающим меньшее упрочнение у края отверстия.
Отбортовку применяют для
изготовления кольцевых деталей с фланцами и для образования уступов в деталях
для нарезания резьбы, сварки, а также для увеличения жесткости конструкции при
малой массе.
Выделяется отбортовка наружного
контура – образование невысоких бортов по наружному криволинейному краю
заготовки.
Обжим – уменьшение периметра поперечного сечения концевой
части полой заготовки.
Производится заталкиванием
заготовки в сужающуюся полость матрицы (рис. 16.1.д). За один переход можно
получить
. Для
большего формоизменения выполняют несколько последовательных операций обжима.
Раздача – увеличение периметра поперечного сечения концевой
части полой заготовки коническим пуансоном; это операция противоположная
обжиму.
Рельефная формовка – местное деформирование заготовки с целью
образования рельефа в результате уменьшения толщины заготовки (рис. 16.1.е).
Формовкой получают конструкционные
выступы и впадины, ребра жесткости, лабиринтные уплотнения.
Штампы для листовой штамповки
делятся по технологическому признаку в зависимости от выполняемой операции:
вырубные, гибочные, вытяжные и т.д. В зависимости от числа выполняемых операций
различают одно- и многооперационные штампы. Многооперационные штампы бывают
последовательного действия, в которых операции выполняются последовательно при
перемещении заготовки по нескольким рабочим позициям штампа, и совмещенного
действия, в которых операции выполняются на одной позиции, например,
одновременно вырубка и пробивка, вырубка и вытяжка и т.д.
В настоящее время применяют
специальные конструкции штампов, в которых металлические пуансоны или матрицы
отсутствуют, и давление на материал осуществляется при помощи резины, жидкости
или сжатого воздуха (рис.16.2). При этом резина или жидкость легко удаляются из
штампованной детали, а матрица должна быть разъемной.
При изготовлении небольших по
глубине изделий пуансон заменяет резиновая подушка (рис.16.2.а). С помощью
резины можно осуществлять все операции: вырубку, гибку, вытяжку, формовку.
Матрица 3 крепится к столу, а резиновая подушка, помещенная в стальную
обойму 1, крепится к ходовой части пресса (толщина заготовки 2 –
до 1,5 мм).
Рис. 16.2. Схемы листовой
штамповки при помощи эластичной среды и жидкости
Резиновые пуансоны цилиндрической
формы применяются при вытяжке изделий сложной формы, при необходимости
увеличения диаметральных размеров средней части цилиндрических полуфабрикатов
(рис.16.2.б).
При гидравлической вытяжке
(рис.16.2.в) полые детали цилиндрической, конической, сферической или другой
формы получают надавливанием на заготовку жидкостью или жидкостью, заключенной
в эластичную оболочку.
Высокоскоростные методы
штамповки
Особенностью таких методов
является высокая скорость деформирования в соответствии с высокими скоростями
преобразования энергии. Кратковременное приложение больших усилий разгоняет
заготовку до скоростей 150 м/с. Последующее ее деформирование происходит за
счет накопленной в период разгона кинетической энергии. Основными
разновидностями высокоскоростной листовой штамповки являются: штамповка
взрывом, электрогидравлическая и электромагнитная штамповка (рис.16.3).
Рис. 16.3. а-
электрогидравлическая, б – электромагнитная штамповка
Штамповка взрывом осуществляется в бассейнах, наполненных водой
(рис.16.3.а). Заготовку 3, зажатую между матрицей 5 и прижимом 4
опускают в бассейн с водой 2. Полость матрицы под заготовкой вакуумируется
при помощи вакуумной линии 6. Заряд с детонатором 1 подвешивают в
воде над заготовкой. Взрыв образует волну высокого давления, которая, достигая
заготовки, вызывает ее разгон. Процесс штамповки длится тысячные доли секунды,
а скорости перемещения заготовки соизмеримы со скоростями распространения
пластических деформаций в металле. При штамповке взрывом не требуется
дорогостоящего прессового оборудования, конструкция штампа крайне проста.
Электрогидравлическую штамповку также осуществляют в бассейне с водой. Ударная волна,
разгоняющая заготовку, возникает при кратковременном электрическом разряде в
жидкости. Мощный искровой разряд подобен взрыву. В результате разряда в
жидкости возникает ударная волна, которая, дойдя до заготовки, оказывает на нее
сильное воздействие и деформирует ее по матрице.
При электромагнитной штамповке
(рис.16.3. б) электрическая энергия преобразуется в механическую за счет
импульсного разряда батареи конденсаторов через соленоид 7, вокруг
которого при этом возникает мгновенное магнитное поле высокой мощности,
наводящее вихревые токи в трубчатой токопроводящей заготовке 3.
Взаимодействие магнитных полей вихревых токов
с магнитным полем индуктора создает
механические силы
,
деформирующие заготовку. Для электромагнитной штамповки трубчатых и плоских
заготовок созданы установки, на которых можно проводить обжим, раздачу,
формовку иоперации получения неразъемных соединения деталей.
Формообразование заготовок из
порошковых материалов
Заготовки из порошковых материалов
получают прессованием (холодным, горячим), изостатическим формованием,
прокаткой и другими способами.
При холодном прессовании в
пресс-форму (рис.16.4.а) засыпают определенное количество подготовленного
порошка 3 и прессуют пуансоном 1.
В процессе прессования увеличивается
контакт между частицами, уменьшается пористость, деформируются или разрушаются
отдельные частицы. Прочность получаемой заготовки достигается благодаря силам
механического сцепления частиц порошка электростатическими силами притяжения и
трения. С увеличением давления прессования прочность заготовки возрастает.
Давление распределяется неравномерно по высоте прессуемой заготовки из-за
влияния сил трения порошка о стенки пресс-формы, вследствие чего заготовки
получаются с различной прочностью и пористостью по высоте. В зависимости от
размеров и сложности прессуемых заготовок применяют одно- и двустороннее
прессование.
Рис.16.4. Схема холодного
прессования: а – одностороннего; б – двустороннего
Односторонним прессованием
получают заготовки простой формы с отношением высоты к диаметру, меньшим
единицы, и заготовки втулок с отношением наружного диаметра к толщине стенки,
меньшим трех.
Двустороннее прессование
(рис.16.4.б) применяют для формообразования заготовок сложной формы. После
заполнения пресс-формы порошком к верхнему пуансону с помощью гидропресса
прикладывают давление для предварительного прессования. Затем гидропривод
выключают и удаляют подкладку 4. В дальнейшем в процессе прессования
участвуют оба пуансона. В этом случае требуемое давление для получения
равномерной плотности снижается на 30…40 %. Использование вибрационного
прессования позволяет в десятки раз уменьшить требуемое давление.
В процессе прессования частицы
порошка подвергаются упругому и пластическому деформированию. После извлечения
заготовки из пресс-формы ее размеры увеличиваются в результате упругого
последействия.
При горячем прессовании
технологически совмещаются прессование и спекание заготовки. Температура
горячего прессования составляет обычно 0,6…0,8 температуры плавления порошка.
Благодаря нагреву уплотнение протекает гораздо интенсивнее, чем при холодном
прессовании. Это позволяет значительно уменьшить необходимое давление. Горячим
прессованием получают материалы, характеризующиеся высокой прочностью и
однородностью структуры. Этот способ применяют для таких плохо прессуемых
композиций, как тугоплавкие металлоподобные соединения (карбиды, бориды,
силициды).
Изостатическое (всестороннее)
формование применяют для получения
крупногабаритных заготовок с массой до 500 кг и более. Отсутствие потерь на
внешнее трение и равномерность давления со всех сторон дают возможность
получать необходимую плотность заготовок при давлениях, значительно меньших,
чем при прессовании в закрытых пресс-формах.
При гидростатическом формовании
(рис.16.5) на порошок 3, заключенный в эластичную оболочку 2,
передается давление с помощью жидкости, находящейся в сосуде высокого давления 1.
В качестве рабочей жидкости используют масло, глицерин, воду и т.д.
Рис.16.5. Схема гидростатического
формования
Прокатка – наиболее производительный и перспективный способ
переработки порошковых материалов. Характерной особенностью является высокая
степень автоматизации и непрерывность прокатки. Схема прокатки представлена на
рис.16.6.
Рис.16.6. Схема прокатки порошков
Порошок непрерывно поступает из
бункера 1 в зазор между валками. При вращении валков 3 происходит
обжатие и вытяжка порошка 2 в ленту или полосу 4 определенной
толщины. Прокатка может быть совмещена со спеканием и окончательной обработкой
получаемых заготовок. В этом случае лента проходит через печь для спекания, а
затем снова подвергается прокатке для получения листов заданных размеров.
Применяя бункеры с перегородкой (рис. 16.6.б) изготавливают ленты из разных
материалов (двухслойные). Применение валков определенной формы позволяет
получать валки различного профиля, в том числе и проволоку.
ЛЕКЦИЯ
18
Сварка давлением. Специальные
термические процессы в сварочном производстве. Пайка
Сварка давлением
Сущность получения неразъемного сварного
соединения двух заготовок в твердом состоянии состоит в сближении идеально
чистых соединяемых поверхностей на расстояния (2…4) 10 – 10 см, при
которых возникают межатомные силы притяжения.
Необходимым условием получения
качественного соединения в твердом состоянии являются хорошая очистка и
подготовка поверхностей и наличие сдвиговых пластичных деформаций в зоне
соединения в момент сварки.
Контактная сварка
Сварные соединения получаются в
результате нагрева деталей проходящим через них током и последующей
пластической деформации зоны соединения.
Сварка осуществляется на машинах,
состоящих из источника тока, прерывателя тока и механизмов зажатия заготовок и
давления.
К деталям с помощью электродов
подводят ток небольшого напряжения (3…8 В) и большой силы (до нескольких
десятков кА). Большая часть тепла выделяется в зоне контакта деталей.
По виду получаемого соединения
контактную сварку подразделяют на точечную, шовную, стыковую. Схемы контактной
сварки представлены на рис. 18.1.
Рис. 18.1. Схемы контактной
сварки:
а – стыковой; б – точечной; в –
шовной
Стыковая контактная сварка (рис.18.1.а) – способ соединения деталей
по всей плоскости их касания.
Свариваемые заготовки 1
плотно зажимают в неподвижном 2 и подвижном 3 токоподводах,
подключенных к вторичной обмотке сварочного трансформатора 4. Для
обеспечения плотного электрического контакта свариваемые поверхности приводят в
соприкосновение и сжимают. Затем включается ток. Поверхность контакта заготовок
разогревается до требуемой температуры, ток отключается, производится
сдавливание заготовок – осадка.
Стыковую сварку с разогревом стыка
до пластического состояния и последующей осадкой называют сваркой
сопротивлением, а при разогреве торцов до оплавления с последующей осадкой
– сваркой оплавлением. В результате пластической деформации и быстрой
рекристаллизации в зоне образуются рекристаллизованные зерна из материала обеих
деталей.
Сварка применяется для соединения
встык деталей типа стержней, толстостенных труб, рельсов и т.п.
Точечная сварка (рис.18.1.б) – способ изготовления
листовых или стержневых конструкций, позволяющий получить прочные соединения в
отдельных точках.
Свариваемые заготовки 1, собранные
внахлест, зажимают между неподвижным 2 и подвижным 3 электродами,
подсоединенными к обмотке трансформатора 4.
Электроды изнутри охлаждаются
водой, нагрев локализуется на участках соприкосновения деталей между
электродами. Получают линзу расплава требуемого размера, ток выключают, расплав
затвердевает, образуется сварная точка. Электроды сжимают детали, пластически
деформируя их.
Образующееся сварное соединение
обладает большой прочностью и его можно применять для изготовления несущих
конструкций. Этот способ широко применяют в авто- и вагоностроении,
строительстве, а также при сборке электрических схем.
Шовная сварка (рис.18.1.в) – способ соединения деталей
швом, состоящим из отдельных сварных точек.
Свариваемые заготовки 1 помещают
между двумя роликами-электродами, один из электродов 2 может иметь
вращательное движение, а другой 3 – вращательное движение и перемещение
в вертикальном направлении. Электроды подключаются к вторичной обмотке
трансформатора 4. Электроды-ролики зажимают и передвигают деталь.
Шовная сварка обеспечивает
получение прочных и герметичных соединений их листового материала толщиной до 5
мм.
Диффузионная сварка
Диффузионная сварка – способ сварки давлением в вакууме приложением
сдавливающих сил при повышенной температуре.
Свариваемые детали тщательно
зачищают, сжимают, нагревают в вакууме специальным источником тепла до температуры
рекристаллизации (0,4 Тпл), и длительно выдерживают. В начальной
стадии процесса создаются условия для образования металлических связей между
соединяемыми поверхностями. Низкое давление способствует удалению поверхностных
пленок, а высокая температура и давление приводят к уменьшению неровностей
поверхностей и сближению их до нужного расстояния. Затем протекают процессы
диффузии в металле, образуются промежуточные слои, увеличивающие прочность
соединения. Соединения получают при небольшой пластической деформации.
Изменение размеров мало.
Сварка может осуществляться в
среде инертных и защитных газов: гелий, аргон, водород.
Способ применяется для соединения
металлов, металлов и полупроводников, а также других неметаллических
материалов.
Диффузионная сварка широко
применяется в космической технике, в электротехнической, радиотехнической и
других отраслях промышленности.
Сварка трением
Сварка трением – способ сварки давлением при воздействии теплоты,
возникающей при трении свариваемых поверхностей.
Свариваемые заготовки
устанавливают соосно в зажимах машины, один из которых неподвижен, а другой
может совершать вращательное и поступательное движения. Заготовки сжимаются
осевым усилием, и включается механизм вращения. При достижении температуры
980…1300 0С вращение заготовок прекращают при продолжении сжатия.
Иногда сварку трением производят
через промежуточный вращаемый элемент или заменяют вращательное движение
вибрацией.
Сваркой трением можно сваривать
заготовки диаметром 0,75…140 мм.
Преимущества способа: простота,
высокая производительность, малая энергоемкость, стабильность качества
соединения, возможность сварки заготовок из разнородных материалов.
Осуществляется сварка на
специальных машинах.
Сварка взрывом
Большинство технологических схем сварки
взрывом основано на использовании направленного взрыва.
Соединяемые поверхности заготовок,
одна из которых неподвижна и служит основанием, располагают под углом друг к
другу на определенном расстоянии. На вторую заготовку укладывают взрывчатое
вещество и устанавливают детонатор. Сварку осуществляют на жесткой опоре. При
соударении двух деталей под действием ударной волны, движущихся с большой
скоростью, между ними образуется кумулятивная струя, которая разрушает и уносит
оксидные поверхностные пленки и другие загрязнения. Поверхности сближаются до
расстояния действия межатомных сил, и происходит схватывание по всей площади
соединения. Продолжительность сварки несколько микросекунд.
Прочность соединений, выполненных
сваркой взрывом, выше прочности соединяемых материалов.
Сварку взрывом используют при
изготовлении заготовок для проката биметалла, плакировке поверхностей
конструкционных сталей металлами и сплавами со специальными свойствами, при
сварке заготовок из разнородных материалов. Целесообразно сочетание сварки
взрывом со штамповкой и ковкой.
Тип сварного соединения
Основными преимуществами сварных
соединений являются: экономия металла; снижение трудоемкости изготовления
корпусных деталей; возможность изготовления конструкций сложной формы из
отдельных деталей, полученных ковкой, прокаткой, штамповкой.
Сварным конструкциям присущи и
некоторые недостатки: появление остаточных напряжений; коробление в процессе
сварки; плохое восприятие знакопеременных напряжений, особенно вибраций;
сложность и трудоемкость контроля.
Тип сварного соединения определяют
взаимным расположением свариваемых элементов и формой подготовки (разделки) их
кромок под сварку.
В зависимости расположения
соединяемых деталей различают четыре основных типа сварных соединений: стыковые,
нахлесточные, угловые и тавровые (рис. 18.2).
Рис.18.2. Основные типы сварных
соединений
а – стыковое; б – нахлесточное; в
– тавровое; г – угловое
Кромки разделывают в целях полного
провара заготовок по сечению, что является одним из условий равнопрочности
сварного соединения с основным металлом.
Формы подготовки кромок под сварку
показаны на рис. 18.3. различают V, K, X – образные
По характеру выполнения сварные
швы могут быть односторонние и двухсторонние.
Рис. 18.3. Формы подготовки кромок
под сварку:
а – V-образная; б – U -образная;
в – X-образная; г – двусторонняя Х-образная
Специальные термические
процессы в сварочном производстве
Наплавка – процесс нанесения слоя металла или сплава на
поверхность изделия.
Наплавка позволяет получать детали
с поверхностью, отличающейся от основного металла, например жаростойкостью и
жаропрочностью, высокой износостойкостью при нормальных и повышенных
температурах, коррозионной стойкостью и т.п. Наплавка может производиться как
при изготовлении новых деталей, так и в ремонтно-восстановительных работах,
существенно удлиняя срок эксплуатации деталей и узлов, обеспечивая этим высокий
экономический эффект.
Существуют разнообразные способы
наплавки.
1. Ручная дуговая электродами со стержнями и покрытиями специальных
составов.
2. Автоматическая наплавка под флюсом. Электроды могут
быть сплошного сечения и порошковые. Состав флюса, металл электрода и состав
наполнителя определяют свойства наплавленного слоя.
3. Наплавка плавящимися и неплавящимися электродами в среде
защитных газов. Свойства наплавленного слоя зависят от материала присадки или
электрода.
4. Плазменная наплавка. Дуга может быть как прямого, так
и косвенного действия. Можно плазменной струей оплавлять слой легированного
порошка, предварительно нанесенный на поверхность детали.
5.
Электрошлаковая,
электронно-лучевая, лазерная наплавка, а также наплавка газокислородным
пламенем.
Существенным показателем
эффективности того или иного способа наплавки является степень перемешивания
при наплавке основного металла и присадочного: чем она меньше, тем ближе будут
свойства наплавленного слоя к заданным.
Напыление
При напылении расплавленные по
всему объему или по поверхности частицы материала будущего покрытия
направляются на поверхность нагретой заготовки. При соударении с поверхностью
частица деформируется, обеспечивая хороший физический контакт с деталью.
Характер взаимодействия частицы с материалом подложки, последующая
кристаллизация частиц определяет качество адгезии покрытия с подложкой.
Последующие слои формируются уже за счет связей частиц друг с другом, имеют
чешуйчатое строение и существенно неоднородны.
По мере повышения стоимости
объемного легирования и стремления получить требуемые эксплуатационные свойства
более экономичным способом (легированием поверхности) напыление становится все
более предпочтительным.
Для напыления используют источники
тепла: газовое пламя, плазму, ионный нагрев, нагрев в печах, лазер и др.
Наибольшее распространение
получили процессы газопламенного и плазменного напыления. Материал для
напыления подается в пламя горелки или плазменную дугу в виде проволоки или
порошка, где происходит нагрев и распыление частиц, которые тепловым потоком
источника нагрева разгоняются и попадают на поверхность напыляемой детали. Иной
способ формирования покрытий при нагреве в печах. В этом случае нагретая деталь
контактирует с материалом покрытия, находящимся в виде порошка или газовой
фазы. Получаемое таким методом покрытие имеет высокую адгезию к поверхности
детали за счет активных диффузионных процессов, происходящих в период
длительной выдержки в печи при высокой температуре.
Все большее распространение
получают ионно-плазменные методы напыления износостойких и декоративных
покрытий.
Пайка
Пайка – процесс получения неразъемного соединения заготовок
без их расплавления путем смачивания поверхностей жидким припоем с последующей
его кристаллизацией. Расплавленный припой затекает в специально создаваемые
зазоры между деталями и диффундирует в металл этих деталей. Протекает процесс
взаимного растворения металла деталей и припоя, в результате чего образуется
сплав, более прочный, чем припой.
Образование соединения без
расплавления основного металла обеспечивает возможность распая соединения.
Качество паяных соединений
(прочность, герметичность, надежность и др.) зависят от правильного выбора
основного металла, припоя, флюса, способа нагрева, типа соединения.
Припой должен хорошо растворять основной металл, обладать
смачивающей способностью, быть дешевым и недефицитным. Припои представляют
собой сплавы цветных металлов сложного состава. По температуре плавления припои
подразделяют на особо легкоплавкие (температура плавления ниже 145 0С),
легкоплавкие (145…450 0С), среднеплавкие (450…1100 0С) и
тугоплавкие (выше 1050 0С). К особо легкоплавким и легкоплавким
припоям относятся оловянно-свинцовые, на основе висмута, индия, олова, цинка,
свинца. К среднеплавким и тугоплавким относятся припои медные, медно-цинковые,
медно-никелевые, с благородными металлами (серебром, золотом, платиной). Припои
изготавливают в виде прутков, листов, проволок, полос, спиралей, дисков, колец,
зерен, которые укладывают в место соединения.
При пайке применяются флюсы
для защиты места спая от окисления при нагреве сборочной единицы, обеспечения
лучшей смачиваемости места спая расплавленным металлом и растворения
металлических окислов. Температура плавления флюса должна быть ниже температуры
плавления припоя. Флюсы могут быть твердые, пастообразные и жидкие. Для пайки
наиболее применимы флюсы: бура, плавиковый шпат, борная кислота, канифоль,
хлористый цинк, фтористый калий.
Пайку точных соединений производят
без флюсов в защитной атмосфере или в вакууме.
В зависимости от способа нагрева
различают пайку газовую, погружением (в металлическую или соляную ванну),
электрическую (дуговая, индукционная, контактная), ультразвуковую.
В единичном и мелкосерийном
производстве применяют пайку с местным нагревом посредством паяльника или
газовой горелки.
В крупносерийном и массовом
производстве применяют нагрев в ваннах и газовых печах, электронагрев,
импульсные паяльники, индукционный нагрев, нагрев токами высокой частоты.
Перспективным направлением
развития технологии пайки металлических и неметаллических материалов является
использование ультразвука. Генератор ультразвуковой частоты и паяльник с
ультразвуковым магнитострикционным вибратором применяются для безфлюсовой пайки
на воздухе и пайке алюминия. Оксидная пленка разрушается за счет колебаний
ультразвуковой частоты.
Процесс пайки включает: подготовку
сопрягаемых поверхностей деталей под пайку, сборку, нанесение флюса и припоя,
нагрев места спая, промывку и зачистку шва.
Детали для пайки тщательно
подготавливаются: их зачищают, промывают, обезжиривают.
Зазор между сопрягаемыми
поверхностями обеспечивает диффузионный обмен припоя с металлом детали и
прочность соединения. Зазор должен быть одинаков по всему сечению.
Припой должен быть зафиксирован
относительно места спая. Припой закладывают в месте спая в виде фольговых
прокладок, проволочных контуров, лент, дроби, паст вместе с флюсом или наносят
в расплавленном виде. При автоматизированной пайке – в виде пасты с помощью
шприц-установок.
При возможности предусматриваются
средства механизации – полуавтоматы и автоматы для газовой, электрической
пайки.
Паяные соединения контролируют по
параметрам режимов пайки, внешним осмотром, проверкой на прочность или
герметичность, методами дефекто- и рентгеноскопии.
ЛЕКЦИЯ
18
Сварка давлением. Специальные
термические процессы в сварочном производстве. Пайка
Сварка давлением
Сущность получения неразъемного
сварного соединения двух заготовок в твердом состоянии состоит в сближении
идеально чистых соединяемых поверхностей на расстояния (2…4) 10 – 10
см, при которых возникают межатомные силы притяжения.
Необходимым условием получения
качественного соединения в твердом состоянии являются хорошая очистка и
подготовка поверхностей и наличие сдвиговых пластичных деформаций в зоне
соединения в момент сварки.
Контактная сварка
Сварные соединения получаются в
результате нагрева деталей проходящим через них током и последующей
пластической деформации зоны соединения.
Сварка осуществляется на машинах,
состоящих из источника тока, прерывателя тока и механизмов зажатия заготовок и
давления.
К деталям с помощью электродов
подводят ток небольшого напряжения (3…8 В) и большой силы (до нескольких
десятков кА). Большая часть тепла выделяется в зоне контакта деталей.
По виду получаемого соединения
контактную сварку подразделяют на точечную, шовную, стыковую. Схемы контактной
сварки представлены на рис. 18.1.
Рис. 18.1. Схемы контактной
сварки:
а – стыковой; б – точечной; в –
шовной
Стыковая контактная сварка (рис.18.1.а) – способ соединения деталей
по всей плоскости их касания.
Свариваемые заготовки 1
плотно зажимают в неподвижном 2 и подвижном 3 токоподводах, подключенных
к вторичной обмотке сварочного трансформатора 4. Для обеспечения
плотного электрического контакта свариваемые поверхности приводят в
соприкосновение и сжимают. Затем включается ток. Поверхность контакта заготовок
разогревается до требуемой температуры, ток отключается, производится
сдавливание заготовок – осадка.
Стыковую сварку с разогревом стыка
до пластического состояния и последующей осадкой называют сваркой
сопротивлением, а при разогреве торцов до оплавления с последующей осадкой
– сваркой оплавлением. В результате пластической деформации и быстрой
рекристаллизации в зоне образуются рекристаллизованные зерна из материала обеих
деталей.
Сварка применяется для соединения
встык деталей типа стержней, толстостенных труб, рельсов и т.п.
Точечная сварка (рис.18.1.б) – способ изготовления
листовых или стержневых конструкций, позволяющий получить прочные соединения в
отдельных точках.
Свариваемые заготовки 1, собранные
внахлест, зажимают между неподвижным 2 и подвижным 3 электродами,
подсоединенными к обмотке трансформатора 4.
Электроды изнутри охлаждаются
водой, нагрев локализуется на участках соприкосновения деталей между
электродами. Получают линзу расплава требуемого размера, ток выключают, расплав
затвердевает, образуется сварная точка. Электроды сжимают детали, пластически
деформируя их.
Образующееся сварное соединение
обладает большой прочностью и его можно применять для изготовления несущих
конструкций. Этот способ широко применяют в авто- и вагоностроении,
строительстве, а также при сборке электрических схем.
Шовная сварка (рис.18.1.в) – способ соединения деталей
швом, состоящим из отдельных сварных точек.
Свариваемые заготовки 1 помещают
между двумя роликами-электродами, один из электродов 2 может иметь
вращательное движение, а другой 3 – вращательное движение и перемещение
в вертикальном направлении. Электроды подключаются к вторичной обмотке
трансформатора 4. Электроды-ролики зажимают и передвигают деталь.
Шовная сварка обеспечивает
получение прочных и герметичных соединений их листового материала толщиной до 5
мм.
Диффузионная сварка
Диффузионная сварка – способ сварки давлением в вакууме приложением
сдавливающих сил при повышенной температуре.
Свариваемые детали тщательно
зачищают, сжимают, нагревают в вакууме специальным источником тепла до
температуры рекристаллизации (0,4 Тпл), и длительно выдерживают. В
начальной стадии процесса создаются условия для образования металлических
связей между соединяемыми поверхностями. Низкое давление способствует удалению
поверхностных пленок, а высокая температура и давление приводят к уменьшению
неровностей поверхностей и сближению их до нужного расстояния. Затем протекают
процессы диффузии в металле, образуются промежуточные слои, увеличивающие
прочность соединения. Соединения получают при небольшой пластической
деформации. Изменение размеров мало.
Сварка может осуществляться в
среде инертных и защитных газов: гелий, аргон, водород.
Способ применяется для соединения
металлов, металлов и полупроводников, а также других неметаллических
материалов.
Диффузионная сварка широко
применяется в космической технике, в электротехнической, радиотехнической и
других отраслях промышленности.
Сварка трением
Сварка трением – способ сварки давлением при воздействии теплоты,
возникающей при трении свариваемых поверхностей.
Свариваемые заготовки
устанавливают соосно в зажимах машины, один из которых неподвижен, а другой
может совершать вращательное и поступательное движения. Заготовки сжимаются
осевым усилием, и включается механизм вращения. При достижении температуры
980…1300 0С вращение заготовок прекращают при продолжении сжатия.
Иногда сварку трением производят
через промежуточный вращаемый элемент или заменяют вращательное движение
вибрацией.
Сваркой трением можно сваривать
заготовки диаметром 0,75…140 мм.
Преимущества способа: простота,
высокая производительность, малая энергоемкость, стабильность качества
соединения, возможность сварки заготовок из разнородных материалов.
Осуществляется сварка на
специальных машинах.
Сварка взрывом
Большинство технологических схем
сварки взрывом основано на использовании направленного взрыва.
Соединяемые поверхности заготовок,
одна из которых неподвижна и служит основанием, располагают под углом друг к
другу на определенном расстоянии. На вторую заготовку укладывают взрывчатое
вещество и устанавливают детонатор. Сварку осуществляют на жесткой опоре. При
соударении двух деталей под действием ударной волны, движущихся с большой
скоростью, между ними образуется кумулятивная струя, которая разрушает и уносит
оксидные поверхностные пленки и другие загрязнения. Поверхности сближаются до
расстояния действия межатомных сил, и происходит схватывание по всей площади
соединения. Продолжительность сварки несколько микросекунд.
Прочность соединений, выполненных
сваркой взрывом, выше прочности соединяемых материалов.
Сварку взрывом используют при
изготовлении заготовок для проката биметалла, плакировке поверхностей
конструкционных сталей металлами и сплавами со специальными свойствами, при
сварке заготовок из разнородных материалов. Целесообразно сочетание сварки
взрывом со штамповкой и ковкой.
Тип сварного соединения
Основными преимуществами сварных
соединений являются: экономия металла; снижение трудоемкости изготовления
корпусных деталей; возможность изготовления конструкций сложной формы из
отдельных деталей, полученных ковкой, прокаткой, штамповкой.
Сварным конструкциям присущи и
некоторые недостатки: появление остаточных напряжений; коробление в процессе
сварки; плохое восприятие знакопеременных напряжений, особенно вибраций; сложность
и трудоемкость контроля.
Тип сварного соединения определяют
взаимным расположением свариваемых элементов и формой подготовки (разделки) их
кромок под сварку.
В зависимости расположения
соединяемых деталей различают четыре основных типа сварных соединений:
стыковые, нахлесточные, угловые и тавровые (рис. 18.2).
Рис.18.2. Основные типы сварных
соединений
а – стыковое; б – нахлесточное; в
– тавровое; г – угловое
Кромки разделывают в целях полного
провара заготовок по сечению, что является одним из условий равнопрочности
сварного соединения с основным металлом.
Формы подготовки кромок под сварку
показаны на рис. 18.3. различают V, K, X – образные
По характеру выполнения сварные
швы могут быть односторонние и двухсторонние.
Рис. 18.3. Формы подготовки
кромок под сварку:
Специальные термические
процессы в сварочном производстве
Наплавка – процесс нанесения слоя металла или сплава на
поверхность изделия.
Наплавка позволяет получать детали
с поверхностью, отличающейся от основного металла, например жаростойкостью и
жаропрочностью, высокой износостойкостью при нормальных и повышенных
температурах, коррозионной стойкостью и т.п. Наплавка может производиться как
при изготовлении новых деталей, так и в ремонтно-восстановительных работах,
существенно удлиняя срок эксплуатации деталей и узлов, обеспечивая этим высокий
экономический эффект.
Существуют разнообразные способы
наплавки.
1. Ручная дуговая электродами со стержнями и покрытиями
специальных составов.
2. Автоматическая наплавка под флюсом. Электроды могут
быть сплошного сечения и порошковые. Состав флюса, металл электрода и состав
наполнителя определяют свойства наплавленного слоя.
3. Наплавка плавящимися и неплавящимися электродами в
среде защитных газов. Свойства наплавленного слоя зависят от материала присадки
или электрода.
4. Плазменная наплавка. Дуга может быть как прямого, так
и косвенного действия. Можно плазменной струей оплавлять слой легированного
порошка, предварительно нанесенный на поверхность детали.
5.
Электрошлаковая,
электронно-лучевая, лазерная наплавка, а также наплавка газокислородным
пламенем.
Существенным показателем
эффективности того или иного способа наплавки является степень перемешивания
при наплавке основного металла и присадочного: чем она меньше, тем ближе будут
свойства наплавленного слоя к заданным.
Напыление
При напылении расплавленные по
всему объему или по поверхности частицы материала будущего покрытия
направляются на поверхность нагретой заготовки. При соударении с поверхностью
частица деформируется, обеспечивая хороший физический контакт с деталью.
Характер взаимодействия частицы с материалом подложки, последующая
кристаллизация частиц определяет качество адгезии покрытия с подложкой.
Последующие слои формируются уже за счет связей частиц друг с другом, имеют
чешуйчатое строение и существенно неоднородны.
По мере повышения стоимости
объемного легирования и стремления получить требуемые эксплуатационные свойства
более экономичным способом (легированием поверхности) напыление становится все
более предпочтительным.
Для напыления используют источники
тепла: газовое пламя, плазму, ионный нагрев, нагрев в печах, лазер и др.
Наибольшее распространение
получили процессы газопламенного и плазменного напыления. Материал для
напыления подается в пламя горелки или плазменную дугу в виде проволоки или
порошка, где происходит нагрев и распыление частиц, которые тепловым потоком
источника нагрева разгоняются и попадают на поверхность напыляемой детали. Иной
способ формирования покрытий при нагреве в печах. В этом случае нагретая деталь
контактирует с материалом покрытия, находящимся в виде порошка или газовой
фазы. Получаемое таким методом покрытие имеет высокую адгезию к поверхности
детали за счет активных диффузионных процессов, происходящих в период
длительной выдержки в печи при высокой температуре.
Все большее распространение
получают ионно-плазменные методы напыления износостойких и декоративных
покрытий.
Пайка
Пайка – процесс получения неразъемного соединения заготовок
без их расплавления путем смачивания поверхностей жидким припоем с последующей
его кристаллизацией. Расплавленный припой затекает в специально создаваемые
зазоры между деталями и диффундирует в металл этих деталей. Протекает процесс
взаимного растворения металла деталей и припоя, в результате чего образуется
сплав, более прочный, чем припой.
Образование соединения без
расплавления основного металла обеспечивает возможность распая соединения.
Качество паяных соединений
(прочность, герметичность, надежность и др.) зависят от правильного выбора
основного металла, припоя, флюса, способа нагрева, типа соединения.
Припой должен хорошо растворять основной металл, обладать
смачивающей способностью, быть дешевым и недефицитным. Припои представляют собой
сплавы цветных металлов сложного состава. По температуре плавления припои
подразделяют на особо легкоплавкие (температура плавления ниже 145 0С),
легкоплавкие (145…450 0С), среднеплавкие (450…1100 0С) и
тугоплавкие (выше 1050 0С). К особо легкоплавким и легкоплавким
припоям относятся оловянно-свинцовые, на основе висмута, индия, олова, цинка,
свинца. К среднеплавким и тугоплавким относятся припои медные, медно-цинковые,
медно-никелевые, с благородными металлами (серебром, золотом, платиной). Припои
изготавливают в виде прутков, листов, проволок, полос, спиралей, дисков, колец,
зерен, которые укладывают в место соединения.
При пайке применяются флюсы
для защиты места спая от окисления при нагреве сборочной единицы, обеспечения
лучшей смачиваемости места спая расплавленным металлом и растворения
металлических окислов. Температура плавления флюса должна быть ниже температуры
плавления припоя. Флюсы могут быть твердые, пастообразные и жидкие. Для пайки
наиболее применимы флюсы: бура, плавиковый шпат, борная кислота, канифоль,
хлористый цинк, фтористый калий.
Пайку точных соединений производят
без флюсов в защитной атмосфере или в вакууме.
В зависимости от способа нагрева
различают пайку газовую, погружением (в металлическую или соляную ванну),
электрическую (дуговая, индукционная, контактная), ультразвуковую.
В единичном и мелкосерийном
производстве применяют пайку с местным нагревом посредством паяльника или
газовой горелки.
В крупносерийном и массовом
производстве применяют нагрев в ваннах и газовых печах, электронагрев,
импульсные паяльники, индукционный нагрев, нагрев токами высокой частоты.
Перспективным направлением
развития технологии пайки металлических и неметаллических материалов является
использование ультразвука. Генератор ультразвуковой частоты и паяльник с
ультразвуковым магнитострикционным вибратором применяются для безфлюсовой пайки
на воздухе и пайке алюминия. Оксидная пленка разрушается за счет колебаний
ультразвуковой частоты.
Процесс пайки включает: подготовку
сопрягаемых поверхностей деталей под пайку, сборку, нанесение флюса и припоя,
нагрев места спая, промывку и зачистку шва.
Детали для пайки тщательно
подготавливаются: их зачищают, промывают, обезжиривают.
Зазор между сопрягаемыми
поверхностями обеспечивает диффузионный обмен припоя с металлом детали и
прочность соединения. Зазор должен быть одинаков по всему сечению.
Припой должен быть зафиксирован
относительно места спая. Припой закладывают в месте спая в виде фольговых
прокладок, проволочных контуров, лент, дроби, паст вместе с флюсом или наносят
в расплавленном виде. При автоматизированной пайке – в виде пасты с помощью
шприц-установок.
При возможности предусматриваются
средства механизации – полуавтоматы и автоматы для газовой, электрической
пайки.
Паяные соединения контролируют по
параметрам режимов пайки, внешним осмотром, проверкой на прочность или
герметичность, методами дефекто- и рентгеноскопии.
ЛЕКЦИЯ
19
Механическая обработка.
Технологические возможности способов резания
Механическая обработка
Общая характеристика размерной
обработки
Механическая обработка
поверхностей заготовок является одной из основных завершающих стадий
изготовления деталей машин.
Одна из актуальных задач
машиностроения – дальнейшее развитие, совершенствование и разработка новых
технологических методов обработки заготовок деталей машин, применение новых
конструкционных материалов и повышение качества обработки деталей машин.
Наряду с обработкой резанием
применяют методы обработки пластическим деформированием, с использованием
химической, электрической, световой, лучевой и других видов энергии.
Классификация движений в металлорежущих
станках
Обработка металлов резанием –
процесс срезания режущим инструментом с поверхности заготовки слоя металла в
виде стружки для получения необходимой геометрической формы, точности размеров,
взаимного расположения и шероховатости поверхностей детали.
Чтобы срезать с заготовки слой
металла, необходимо режущему инструменту и заготовке сообщать относительные
движения. Инструмент и заготовку устанавливают на рабочих органах станков,
обеспечивающих движение.
Движения, которые обеспечивают
срезание с заготовки слоя материала или вызывают изменение состояния
обработанной поверхности заготовки, называют движениями резания:
·
Главное движение – определяет
скорость деформирования материала и отделения стружки (Дг);
·
Движение подачи – обеспечивает
врезание режущей кромки инструмента в материал заготовки (Дs);
Движения могут быть непрерывными
или прерывистыми, а по характеру – вращательными, поступательными,
возвратно-поступательными.
Движения подачи: продольное,
поперечное, вертикальное, круговое, окружное, тангенциальное.
В процессе резания на заготовке
различают поверхности (рис.19.1.а):
·
обрабатываемую поверхность (1);
·
обработанную поверхность (3);
·
поверхность резания (2).
Установочные движения – движения,
обеспечивающие взаимное положение инструмента и заготовки для срезания с нее
определенного слоя металла.
Вспомогательные движения –
транспортирование заготовки, закрепление заготовки и инструмента, быстрые
перемещения рабочих органов.
Рис.19.1 Схемы обработки
заготовок: а – точением; б – шлифованием на круглошлифовальном станке; в –
сверлением
Режимы резания,
шероховатость поверхности
При назначении режимов резания
определяют скорости главного движения резания и подачи, и глубину резания.
Скоростью главного движения – называют расстояние, пройденное точкой режущей
кромки инструмента в единицу времени (м/с).
Для вращательного движения:
,
где:
– максимальный диаметр заготовки (мм);
– частота вращения (мин-1).
Для возвратно-поступательного
движения:
,
где:
– расчетная длина хода инструмента;
– число двойных ходов
инструмента в минуту;
–
коэффициент, показывающий соотношение скоростей рабочего и вспомогательного
хода.
Подача
-
путь точки режущей кромки инструмента относительно заготовки в направлении
движения подачи за один ход заготовки или инструмента.
В зависимости от технологического
метода обработки подачу измеряют:
мм/об – точение и сверление;
мм/дв. ход – строгание и
шлифование.
Глубина резания (
) – расстояние между
обрабатываемой и обработанной поверхностями заготовки, измеренное
перпендикулярно к обработанной поверхности (мм).
Шероховатость поверхности – совокупность неровностей с относительно малыми
шагами.
Шероховатость является
характеристикой качества поверхностного слоя заготовки. Она оценивается
несколькими параметрами, в частности критерием
.
- среднее арифметическое отклонение профиля
(среднее арифметическое абсолютных значений отклонений профиля) в пределах
определенной базовой длины обработанной поверхности.
Допустимые значения шероховатости
поверхностей деталей указываются на чертежах.
Значение параметра
для разных технологических методов
обработки лежат в пределах, мкм:
·
для предварительной черновой
обработки – 100…22,5 ;
·
для чистовой обработки – 6,3…0,4 ;
·
для отделочной и доводочной
обработки – 0,2…0,012.
Станки для обработки
резанием
Классификация
металлорежущих станков
По общности технологического
метода обработки различают станки: токарные, фрезерные, сверлильные и др.
По назначению различают станки:
широкоуниверсальные, универсальные, широкого назначения, специализированные,
специальные.
Универсальные станки обрабатывают
разнотипным инструментом различающиеся по размерам, форме и расположению
поверхностей заготовки.
Широкоуниверсальные –
предназначены для выполнения особо широкого разнообразия работ.
Станки широкого назначения
характеризуются однотипностью применяемого инструмента.
Специализированные станки
предназначены для обработки однотипных заготовок различных размеров.
Специальные станки предназначены
для выполнения определенных видов работ на заготовках одинаковых размеров и
конфигурации.
·
По массе: легкие (до 1т ), средние
(до 10т ), тяжелые (свыше 10т ) и уникальные (свыше 100т ).
·
По степени автоматизации: с ручным
управлением, полуавтоматы и автоматы.
·
По компоновке основных рабочих
органов: горизонтальные и вертикальные.
В общегосударственной единой
системе (ЭНИМС) станки разделяются на 10 групп и 10 типов. В группы объединены
станки одинаковые или схожие по технологическому методу обработки. Типы
характеризуют их назначение, степень автоматизации, компоновку.
Технологические возможности
способов резания
Точение
Точение является основным способом обработки поверхностей тел
вращения.
Процесс резания осуществляется на
токарных станках при вращении обрабатываемой заготовки (главное движение) и
перемещении резца (движение подачи).
Движение подачи осуществляется:
·
параллельно оси вращения заготовки
(продольная);
·
перпендикулярно оси вращения
заготовки (поперечная);
·
под углом к оси вращения заготовки
(наклонная).
Схемы обработки поверхностей
заготовки точением представлены на рис. 19.2.
С помощью точения выполняют
операции: обтачивание – обработку наружных поверхностей (рис19.2.а);
растачивание – обработку внутренних поверхностей (рис.19.2.б); подрезание –
обработку торцевых поверхностей (рис.19.2.в); резку – разрезание заготовки на
части ( рис.19.2.г); резьбонарезание – нарезание резьбы (рис.19.2.д).
По технологическим возможностям
точение условно подразделяют на: черновое, получистовое, чистовое, тонкое.
Рис. 19.2. Схемы обработки
поверхностей заготовки точением
В качестве режущего инструмента
при точении используют резцы.
Главным принципом классификации
резцов является их технологическое назначение.
Различают резцы:
·
проходные – для обтачивания
наружных цилиндрических и конических поверхностей;
·
расточные – проходные и упорные –
для растачивания глухих и сквозных отверстий;
·
отрезные – для отрезания
заготовок;
·
резьбовые – для нарезания наружных
и внутренних резьб;
·
фасонные – для обработки фасонных
поверхностей;
·
прорезные – для протачивания
кольцевых канавок;
·
галтельные – для обтачивания
переходных поверхностей между ступенями валов по радиусу.
По характеру обработки – черновые,
получистовые, чистовые.
По направлению движения подачи –
правые и левые (справа на лево и слева на право).
По конструкции – целые, с
приваренной или припаянной пластиной, со сменными пластинами.
Установка к закреплению заготовки
зависит от типа станка, вида обрабатываемой поверхности, характеристики
заготовки (
), точности
обработки и других факторов.
Сверление
Сверление является основным способом получения глухих и
сквозных цилиндрических отверстий в сплошном материале заготовки.
В качестве инструмента при
сверлении используется сверло, имеющее две главные режущие кромки.
Для сверления используются
сверлильные и токарные станки.
На сверлильных станках сверло
совершает вращательное (главное) движение и продольное ( движение подачи) вдоль
оси отверстия, заготовка неподвижна (рис.19.3.а).
При работе на токарных станках
вращательное (главное движение) совершает обрабатываемая деталь, а
поступательное движение вдоль оси отверстия (движение подачи) совершает сверло
(рис.19.3.б).
Диаметр просверленного отверстия
можно увеличить сверлом большего диаметра. Такие операции называются рассверливанием
(рис.19.3.в).
При сверлении обеспечиваются
сравнительно невысокая точность и качество поверхности.
Для получения отверстий более
высокой точности и чистоты поверхности после сверления на том же станке выполняются
зенкерование и развертывание.
Зенкерование – обработка предварительно полученных отверстий для
придания им более правильной геометрической формы, повышения точности и
снижения шероховатости. Многолезвийный режущим инструментом – зенкером, который
имеет более жесткую рабочую част, отсутствует ! число зубьев не менее трех
(рис.19.3.г).
Развертывание – окончательная обработка цилиндрического или
конического отверстия разверткой в целях получения высокой точности и низкой
шероховатости. Развертки – многолезвийный инструмент, срезающий очень тонкие
слои с обрабатываемой поверхности (рис.19.3.д).
Схемы сверления, зенкерования и
развертывания представлены на рисунке 19.3.
Рис.19.3. Схемы сверления,
зенкерования и развертывания
Протягивание
Протягивание является высокопроизводительным методом обработки
деталей разнообразных форм, обеспечивающим высокую точность формы и размеров
обрабатываемой поверхности. Применяется протягивание в крупносерийном
производстве.
При протягивании используется
сложный дорогостоящий инструмент – протяжка. За каждым формообразующим
зубом вдоль протяжки изготавливается ряд зубьев постепенно увеличивающейся
высоты.
Процесс резания при протягивании
осуществляется на протяжных станках при поступательном главном движении
инструмента относительно неподвижной заготовки за один проход.
Движение подачи отсутствует. За
величину подачи
принимают
подъем на зуб, т.е. разность размеров по высоте двух соседних зубьев протяжки;
является одновременно и
глубиной резания.
Протяжные станки предназначены для
обработки внутренних и наружных поверхностей. По направлению главного движения
различают станки: вертикальные и горизонтальные.
Схемы обработки заготовок на
протяжных станках представлены на рисунке 19.4.
Рис.19.4. Схемы обработки заготовок
на протяжных станках
Отверстия различной геометрической
формы протягивают на горизонтально-протяжных станках для внутреннего
протягивания. Размеры протягиваемых отверстий составляют 5…250 мм.
Цилиндрические отверстия
протягивают крупными протяжками после сверления, растачивания или зенкерования,
а также литые или штампованные отверстия. Длина отверстий не превышает трех
диаметров. Для установки заготовки с необработанным торцом применяют
приспособление со сферической опорной поверхностью (может самоустанавливаться
по оси инструмента), либо упор в жесткую поверхность (рис.19.4.а).
Шпоночные и другие пазы
протягивают протяжками, форма зубьев которых в поперечном сечении соответствует
профилю протягиваемого паза, с применением специального приспособления –
направляющей втулки 3 (рис.19.4.б).
Наружные поверхности различной
геометрической формы протягивают на вертикально-протяжных станках для наружного
протягивания.
Схема протягивания вертикальной
плоскости показана на рис.19.4.в.
Наружные поверхности заготовок
типа тел вращения можно обрабатывать на специальных протяжных станках
рис.19.4.г.
ЛЕКЦИЯ
20
Технологические возможности
способов резания
Фрезерование
Фрезерование – высокопроизводительный и распространенный метод
обработки поверхностей заготовок: многолезвийным режущим инструментом – фрезой.
Главным движением при фрезеровании
является вращение фрезы, а вспомогательным поступательное перемещение
заготовки. Движение подачи может быть и вращательное движение заготовки вокруг
оси вращающегося стола или барабана (карусельно- фрезерные, и
барабанно-фрезерные станки). Каждый режущий зуб при вращении фрезы врезается в
заготовку и осуществляет резание только в пределах определенного угла поворота
фрезы, а затем вращается в холостую до следующего врезания. Таким образом,
особенностью процесса фрезерования является периодичность и прерывистость
процесса резания каждым зубом фрезы, при чем процесс врезания зуба
сопровождается ударами.
По исполнению фрезы делятся на
цилиндрические, когда зубья располагаются только на цилиндрической поверхности
фрезы и торцевые, у которых режущие зубья располагаются на торцевой и
цилиндрической поверхности фрезы.
Схемы обработки заготовок на
станках фрезерной группы представлены на рис. 20.1.
Рис. 20.1. Схемы обработки заготовок
на станках фрезерной группы.
Горизонтальные плоскости фрезеруют
на горизонтально-фрезерных станках цилиндрическими фрезами (рис. 20.1.а) и на
вертикально- фрезерных станках торцовыми фрезами (рис. 20.1.б).
Вертикальные плоскости фрезеруют
на горизонтально-фрезерных станках торцовыми фрезами (рис. 20.1.в) и торцовыми
фрезерными головками, а на вертикально- фрезерных станках – концевыми фрезами
(рис. 20.1.г).
Комбинированные поверхности
фрезеруют набором фрез (рис. 20.1.д) на горизонтально- фрезерных станках.
Уступы и прямоугольные пазы
фрезеруют концевыми (рис. 20.1.е) и дисковыми (рис. 20.1.ж) фрезами.
Шпоночные пазы фрезеруют концевыми
или шпоночными фрезами на вертикально- фрезерных станках (рис. 20.1.з).
Фасонные поверхности незамкнутого
контура с криволинейной образующей и прямолинейной направляющей фрезеруют
фасонными фрезами соответствующего профиля (рис. 20.1.и).
Пространственно- сложные
поверхности обрабатывают на копировально-фрезерных автоматах (рис. 20.1.к).
Обработку производят специальной концевой фрезой. Фрезерование ведут по трем
координатам: x, y, z (объемное фрезерование).
Шлифование
Шлифование – процесс обработки заготовок резанием с помощью
инструментов (кругов), состоящих из абразивного материала.
Абразивные зерна расположены беспорядочно.
При вращательном движении в зоне контакта с заготовкой часть зерен срезает
материал в виде очень большого числа тонких стружек (до 100000000 в мин.).
Процесс резания каждым зерном
осуществляется мгновенно. Обработанная поверхность представляет собой
совокупность микро-следов абразивных зерен и имеет малую шероховатость.
Шлифование применяют для чистовой
и отделочной обработки деталей с высокой точностью.
Главным движением при шлифовании
является вращение шлифовального круга, а перемещение круга относительно детали
является движением подачи.
Различают следующие основные схемы
шлифования: плоское, круглое, внутреннее (рис. 20.2).
При плоском шлифовании (рис.
20.2.а) возвратно-поступательное движение заготовок необходимо для обеспечения
продольной подачи
. Для
обработки поверхности на всю ширину
заготовка или круг должны иметь поперечную
подачу
, которая
осуществляется прерывисто при крайних положениях заготовки в конце продольного
хода. Периодически осуществляется движение вертикальной подачи
, в крайних положениях заготовки в
конце поперечного хода.
Плоское шлифование может
осуществляться периферией или торцом шлифовального круга.
При круглом шлифовании (рис.
20.2.б) движение продольной подачи осуществляется возвратно-поступательным
перемещением заготовки. Подача
соответствует осевому перемещению заготовки за
один ее оборот. Вращение заготовки является движением круговой подачи. Подача
на глубину резания
происходит при крайних положениях заготовки.
Движения, осуществляемые при
внутреннем шлифовании показаны на рис. 20.2.в.
Рис. 20.2. Основные схемы
шлифования.
Для выполнения процесса шлифования
наружных поверхностей деталей используются кругло-шлифовальные,
плоско-шлифовальные и бесцентрово-шлифовальные станки. Для обработки сложных
фасонных поверхностей используются специальные ленто- шлифовальные станки.
В ленто-шлифовальных станках
применяется инструмент в виде бесконечной абразивной ленты. Лента в процессе
шлифования поверхности сложной формы (например: лопатки турбин) огибает сложную
поверхность и перемещается в осевом и продольном направлениях.
Абразивный слой наносят на
бумажную или тканевую основу ленты.
Шлифованием обрабатываются только
жесткие детали, не формирующиеся в процессе обработки. Данный способ не
допускает обработки малых отверстий.
Технологические методы
отделочной (финишной) обработки
поверхностей деталей машин
Дальнейшее развитие машиностроения
связано с увеличением нагрузок на детали машин, увеличением скоростей движения,
уменьшением массы конструкции.
Выполнить эти требования можно при
достижении особых качеств поверхностных слоев деталей.
Влияние качества поверхностных
слоев на эксплуатационные свойства огромно, изменяются:
·
износостойкость;
·
коррозионная стойкость;
·
контактная жесткость;
·
прочность соединений и другие
свойства.
С этой целью широко применяются
отделочные методы обработки, для которых характерны малые силы резания,
незначительное тепловыделение, малая толщина срезаемого слоя.
Хонингование
Хонингование применяют для получения поверхностей высокой точности
и малой шероховатости, а также для создания специфического микро-профиля
обработанной поверхности в виде сетки (для удержания смазочного материала на
поверхности деталей).
Поверхность неподвижной заготовки
обрабатывается мелко-зернистыми абразивными брусками, закрепленными в
хонинговальной головке (хоне). Бруски вращаются и одновременно перемещаются
возвратно- поступательно вдоль оси обрабатываемого отверстия (рис. 20.3.а).
Соотношение скоростей движений составляет 1,5…10, и определяет условия резания.
Рис. 20.3. Схема хонингования.
При сочетании движений на
обрабатываемой поверхности появляется сетка микроскопических винтовых царапин –
следов перемещения абразивных зерен. Угол
пересечения этих следов зависит от соотношения
скоростей (рис. 20.3.б).
Абразивные бруски всегда
контактируют с обрабатываемой поверхностью, так как могут раздвигаться в
радиальном направлении. Давление бруска контролируется.
Хонингованием исправляют
погрешности формы от предыдущей обработки, а чистовое – для повышения качества
поверхности.
Этот процесс осуществляется на
специальных хонинговальных установках.
Суперфиниширование
Суперфиниширование уменьшает шероховатость поверхности, оставшуюся от
предыдущей обработки. Получают очень гладкую поверхность, сетчатый рельеф,
благоприятные условия для взаимодействия поверхностей.
Поверхности обрабатывают
абразивными брусками, установленными в специальной головке. Для
суперфиниширования характерно колебательное движение брусков наряду с движением
заготовки (рис. 20.4).
Рис. 20.4. Схема
суперфиниширования
Процесс резания происходит при
давлении брусков (0,5…3)105 Па в присутствии смазочного материала
малой вязкости.
Амплитуда колебаний 1,5…6 мм.
Частота колебаний 400…1200 мин -1. Бруски подпружинены и
самоустанавливаются по обрабатываемой поверхности. Соотношение скоростей DSкр
к
в начале обработки
составляет 2…4, а в конце – 8…16.
Полирование
Полированием уменьшают шероховатость поверхности.
Этим способом получают зеркальный
блеск на ответственных частях деталей (дорожки качения подшипников) либо на
декоративных элементах (облицовочные части автомобилей). Используют
полировальные пасты или абразивные зерна, смешанные со смазочным материалом.
Эти материалы наносят на быстро- вращающиеся эластичные круги (фетровые)или на
колеблющиеся щетки.
Хорошие результаты дает
полирование быстродвижущимися абразивными лентами (шкурками).
При этом одновременно протекают
следующие процессы:
·
тонкое резание;
·
пластическое деформирование
поверхностного слоя;
·
химические реакции (воздействие на
металл химически активных веществ).
Схема полирования представлена на
рис. 20.5.
Рис.
20.5. Схема полирования.
Для процесса характерны высокие
скорости, до 50м/сек. Заготовка поджимается к кругу силой Р и совершает
движения подачи DSкр и DSпр в соответствии с профилем
обрабатываемой поверхности.
В процессе полирования не
исправляются погрешности формы.
Абразивно – жидкостная
отделка
Данный вид обработки применяется
для отделки объемно- криволинейных, фасонных поверхностей.
На обрабатываемую поверхность,
имеющую следы предшествующей обработки, подают струи антикоррозионной жидкости
со взвешенными частицами абразивного порошка.
Водно–абразивная суспензия
перемещается под давлением с большой скоростью. Частицы абразива ударяются о
поверхность заготовки и сглаживают микро- неровности.
Интенсивность съема материала
регулируется зернистостью порошка, давлением струи и углом под которым подают
жидкость.
Жидкостная пленка играет важную
роль в данном процессе. Зерна, попадающие на выступы, легко преодолевают ее, а
зерна, попадающие во впадины – встречают сопротивление, съем материала
затрудняется, шероховатость сглаживается.
Метод жидкостного полирования
успешно применяется при обработки фасонных внутренних поверхностей. Сопло
вводится в полость заготовки, которая совершает вращательное и поступательное
перемещения в зависимости от профиля обрабатываемой поверхности.
ЛЕКЦИЯ
21
Электрофизические и
электрохимические методы обработки (ЭФЭХ)
Характеристика
электрофизических и электрохимических методов обработки
Эти методы предназначены в
основном для обработки заготовок из очень прочных, весьма вязких, хрупких и
неметаллических материалов.
Эти методы имеют следующие
преимущества:
– отсутствует силовое воздействие
инструмента на заготовку (или очень мало и не влияет на суммарную погрешность
обработки);
– позволяют менять форму
поверхности заготовки и влияют на состояние поверхностного слоя: наклеп
обработанной поверхности не образуется, дефектный слой незначителен; повышаются
коррозионные, прочностные и другие эксплуатационные характеристики поверхности;
– можно обрабатывать очень сложные
наружные и внутренние поверхности заготовок.
ЭФЭХ методы обработки являются
универсальными и обеспечивают непрерывность процессов при одновременном формообразовании
всей обрабатываемой поверхности. Эти методы внедряются в различных отраслях
промышленности.
Электроэрозионные методы
обработки
Эти методы основаны на явлении
эрозии электродов из токопроводящих материалов при пропускании между ними
импульсного электрического тока.
Разряд между электродами
происходит в газовой среде или при заполнении межэлектродного пространства
диэлектрической жидкостью – керосин, минеральное масло.
При наличии разности потенциалов
на электродах происходит ионизация межэлектродного пространства. При
определенном значении разности потенциалов – образуется канал проводимости, по
которому устремляется электроэнергия в виде импульсного искрового или дугового
разряда.
На поверхности заготовки
температура возрастает до 10000…12000 0C. Происходит мгновенное
оплавление и испарение элементарного объема металла и на обрабатываемой
поверхности образуется лунка.
Удаленный металл застывает в
диэлектрической жидкости в виде гранул диаметром 0,01…0,005 мм.
При непрерывном подведении к электродам
импульсного тока процесс эрозии продолжается до тех пор, пока не будет удален
весь металл, находящийся между электродами на расстоянии, при котором возможен
электрический пробой (0,01…0,05 мм) при заданном напряжении.
Для продолжения процесса необходимо
сблизить электроды до указанного расстояния. Электроды сближаются автоматически
с помощью следящих систем.
Электроискровая обработка
Схема электроискровой обработки
представлена на рис. 21.1.
Рис.21.1.
Схема электроискрового станка:
1 –
электрод-инструмент; 2 – ванна; 3 – заготовка-электрод; 4 – диэлектрическая
жидкость; 5 – изолятор
При электроискровой обработке –
используют импульсные искровые разряды между
электродами ( обрабатываемая
заготовка (анод) – инструмент (катод)).
Конденсатор
заряжается через резистор
от источника постоянного
тока напряжением 100…200 В. Когда напряжение на электродах 1 и 3 достигает
пробойного образуется канал, через который осуществляется искровой разряд
энергии, накопленной конденсатором.
Продолжительность импульса 20…200
мкс.
Точность обработки до 0,002 мм,
0,63…0,16 мкм.
Для обеспечения непрерывности
процесса ( зазор =const) станки снабжаются следящей системой и системой
автоматической подачи инструмента.
Получают сквозные отверстия любой
формы поперечного сечения, глухие отверстия и полости, отверстия с
криволинейными осями, вырезают заготовки из листа, выполняют плоское, круглое и
внутреннее шлифование.
Изготовляют штампы и пресс-формы,
фильеры, режущий инструмент.
Схемы электроискровой обработки
представлены на рис. 21.2.
Рис. 21.2. Схемы электроискровой
обработки:
а – прошивание отверстия с
криволинейной осью; б – шлифование внутренней поверхности фильеры
Электроискровую обработку
применяют для упрочнения поверхностного слоя металла. На поверхность изделия
наносят тонкий слой металла или композиционного материала. Подобные покрытия
повышают твердость, износостойкость, жаростойкость, эрозионную стойкость и так
далее.
Электроимпульсная обработка
При электроимпульсной обработке
используют электрические импульсы большой длительности (5…10 мс), в результате
чего происходит дуговой разряд.
Большие мощности импульсов от
электронных генераторов обеспечивают высокую производительность обработки.
Электроимпульсную обработку
целесообразно применять при предварительной обработке штампов, турбинных
лопаток, фасонных отверстий в детали из коррозионно-стойких и жаропрочных
сплавов.
Схема обработки показана на
рис.21.3.
Рис. 21.3. Схема
электроимпульсной обработки:
1 – электродвигатель; 2 –
импульсный генератор постоянного тока; 3 – инструмент-электрод; 4 –
заготовка-электрод; 5 – ванна.
Электроконтактная обработка.
Электроконтактная обработка
основана на локальном нагреве заготовки в месте контакта с
электродом-инструментом и удалении размягченного или расплавленного металла из
зоны обработки механическим способом: относительным движением заготовки или
инструмента.
Источником теплоты служат
импульсные дуговые разряды.
Этот вид обработки рекомендуется
для крупных деталей из углеродистых и легированных сталей, чугуна, цветных
сплавов, тугоплавких и специальных сплавов (рис.21.4).
Рис. 21.4. Схема
электроконтактной обработки плоской поверхности:
1 – обрабатываемая заготовка; 2 –
инструмент-электрод; 3 – трансформатор
Этот метод применяют для зачистки
отливок от заливов, отрезки литниковых систем, зачистки проката, шлифования
коррозионных деталей из труднообрабатываемых сплавов.
Электрохимическая обработка
Электрохимическая обработка
основана на законах анодного растворения металлов при электролизе.
При прохождении электрического
тока через электролит на поверхности заготовки происходят химические реакции, и
поверхностный слой металла превращается в химическое соединение.
Продукты электролиза переходят в
раствор или удаляются механическим способом.
Производительность этого способа
зависит от электрохимических свойств электролита, обрабатываемого материала и
плотности тока.
Электрохимическое полирование.
Электрохимическое полирование
осуществляется в ванне, заполненной электролитом (растворы кислот и щелочей).
Обрабатываемую заготовку
подключают к катоду (рис. 21.5). Катодом служит металлическая пластинка из
свинца, меди, стали (иногда электролит подогревают).
Рис. 21.5. Схема
электрохимического полирования:
1 – ванна; 2 – обрабатываемая
заготовка; 3 – пластина-электрод; 4 – электролит; 5 – микровыступ;
6 – продукты анодного растворения
При подаче напряжения начинается
процесс растворения металла заготовки (в основном на выступах
микронеровностей). В результате избирательного растворения, микронеровности сглаживаются,
и обрабатываемая поверхность приобретает металлический блеск.
Улучшаются электрофизические
характеристики деталей: уменьшается глубина микротрещин, поверхностный слой не
деформируется, исключаются упрочнения и термические изменения структуры,
повышается коррозионная стойкость.
Этим методом получают поверхности
под гальванические покрытия, доводят рабочие поверхности режущего инструмента,
изготовляют тонкие ленты и фольгу, очищают и декоративно отделывают детали.
Электрохимическая размерная
обработка
Электрохимическая размерная
обработка выполняется в струе электролита, прокачиваемого под давлением через
межэлектродный промежуток.
Электролит растворяет образующиеся
на поверхности заготовки – анода соли и удаляет их из зоны обработки. Высокая
производительность процесса заключается в том, что одновременно обрабатывается
вся поверхность заготовки.
Участки, не требующие обработки,
изолируют. Инструменту придают форму, обратную форме обрабатываемой
поверхности. Формообразование происходит по методу копирования ( рис. 21.6).
Рис. 21.6. Схема
электрохимической размерной обработки:
1 – инструмент – катод; 2 –
заготовка – анод
Точность обработки повышается при
уменьшении рабочего зазора. Для его контроля используют высокочувствительные
элементы, которые встраивают в следящую систему.
Этот способ рекомендуют для
обработки заготовок из высокопрочных сталей, карбидных и труднообрабатываемых
материалов. Также можно обрабатывать тонкостенные детали с высокой точностью и
качеством обработанной поверхности (отсутствует давление инструмента на
заготовку).
Комбинированные методы
обработки
Электроабразивная и
электроалмазная обработка.
При таких видах обработки
инструментом служит шлифовальный круг из абразивного материала на
электропроводящей связке (бакелитовая связка с графитовым наполнителем).
Между анодом – заготовкой и
катодом – шлифовальным кругом имеется зазор, куда подается электролит. Продукты
анодного растворения удаляются абразивными зернами; шлифовальный круг имеет
вращательное движение, а заготовка – движение подачи, которые соответствуют
процессу механического шлифования ( рис. 21.7).
Рис. 21.7. схема
электроабразивного шлифования:
1 – заготовка; 2 – абразивные
зерна; 3 – связка шлифовального круга.
Введение в зону резания
ультразвуковых колебаний повышает производительность в 2…2,5 раза при улучшении
качества поверхности. Эти методы применяются для отделочной обработки заготовок
из труднообрабатываемых материалов, а также нежестких заготовок, так как силы
резания незначительны.
Анодно-механическая
обработка
Анодно-механическая обработка
основана на сочетании электротермических и электромеханических процессов и
занимает промежуточное место между электроэрозионным и электрохимическим
методами.
Заготовку подключают к аноду, а
инструмент – к катоду. В качестве инструмента используют металлические диски,
цилиндры, ленты, проволоку.
Обработку ведут в среде
электролита ( водный раствор жидкого натриевого стекла).
Рабочие движения, как при
механической обработке резанием.
Электролит в зону обработки подают
через сопло ( рис. 21.8).
Рис.
21.8. Схема анодно-механической обработки плоской поверхности.
При пропускании через раствор
электролита постоянного электрического тока происходит процесс анодного
растворения, как при электрохимической обработке.
При соприкосновении инструмента с
микронеровностями заготовки происходит электроэрозия, присущая электроискровой
обработке. Металл заготовки в месте контакта с инструментом разогревается и
разжижается. Продукты электроэрозии и анодного растворения удаляются при
относительных движениях инструмента и заготовки.
Этим способом обрабатывают
заготовки из высокопрочных и труднообрабатываемых сплавов, вязких материалов.
Этим способом разрезают заготовки
на части, прорезают пазы и щели, обрабатывают поверхности тел вращения, шлифуют
плоские поверхности и поверхности, имеющие форму тел вращения, полируют
поверхности, затачивают режущий инструмент.
Лучевые методы обработки
Электроннолучевая обработка – основана на превращении кинетической энергии направленного
пучка электронов в тепловую энергию. Высокая плотность энергии сфокусированного
электронного луча позволяет обрабатывать заготовку за счет нагрева,
расплавления и испарения материала с локального участка.
Схема электроннолучевой обработки
представлена на рис. 21.9.
Электронный луч образуется за счет
эмиссии электронов с нагретого в вакууме катода. Он с помощью
электростатических и электромагнитных линз фокусируется на заготовке.
При размерной обработке установка
работает в импульсном режиме, что обеспечивает локальный нагрев заготовки.
Электроннолучевой метод эффективен
при обработке отверстий диаметром 1…0,010 мм, при прорезании пазов, резке
заготовок, изготовлении тонких пленок и сеток из фольги, изготовлении заготовок
из труднообрабатываемых металлов и сплавов, керамики, кварца,
полупроводникового материала.
Рис.
21.9. Схема установки для электроннолучевой сварки: 1 – катод электронной
пушки; 2 – электрод; 3 – анод; 4 и 5 – отклоняющая магнитная система; 6 –
заготовка
Лазерная обработка – основана на тепловом воздействии светового луча
высокой энергии на поверхность заготовки. Источником светового излучения служит
лазер – оптический квантовый генератор.
Энергия светового луча не велика
20…100 Дж, но она выделяется в миллионные доли секунды и сосредотачивается в
луче диаметром 0,01 мм. Поэтому температура в зоне контакта 6000…8000 0С.
Слой металла мгновенно
расплавляется и испаряется. С помощью этого метода осуществляется прошивание
отверстий, разрезание заготовки, прорезание пазов в заготовках из любых
материалов (фольга из тантала, вольфрама, молибдена). Также с помощью этого
метода можно осуществить контурную обработку по сложному периметру.
Плазменная обработка
Сущность обработки заключается в
том, что плазму направляют на обрабатываемую поверхность.
Плазменная струя представляет
собой направленный поток частично или полностью ионизированного газа, имеющего
температуру 10000…20000 0С. Плазму получают в плазменных горелках,
пропуская газ через столб сжатой дуги. В качестве плазмообразующих газов
используют азот, аргон, водород, гелий, воздух и их смеси.
С помощью этого метода прошиваются
отверстия, вырезаются заготовки из листового материала, производится точение в
заготовках из любых материалов.
При прошивании отверстий и
разрезке головку устанавливают перпендикулярно к поверхности заготовки, при
строгании и точении – углом 40…60 0.
Плазменное напыление.
Этот вид обработки осуществляется
с целью получения заданных размеров.
В камеру плазматрона подается
порошкообразный конструкционный материал и инертный газ под давлением.
Под действием дугового разряда
конструкционный материал плавится и переходит в состояние плазмы; струя плазмы
сжимается в плазматроне газом. Выходя из сопла, струя направляется на
обрабатываемую заготовку.