Модернизация прессовой части картоноделательной машины
Аннотация
картоноделательный машина прессовый механический
В этом дипломном проекте модернизируется прессовая часть
картоноделательной машины производительностью 137,3т/сут картона для плоских
слоев гофрированного картона массой 150 г/м2 , обрезной шириной
2,52м. и рабочей скорости 300м/мин.
Прессовая часть состоит из трех зон прессования и включает: пресс с
желобчатым валом, гранитный вал и отсасывающий вал, отдельно стоящий
двухвальный пресс с валами большего диаметра. Давление по зонам: 70,80,90 кН/м.
Технологический расчет включает в себя определение теоретической сухости,
достигаемой при работе данной прессовой части. Также определяется рабочая и
приводная скорость машины, на случай дальнейшей модернизации.
Конструктивный расчет включает в себя расчет на прочность, жесткость
отсасывающего и гранитного валов, и выбор и расчет подшипников на
долговечность.
Потребляемая мощность данной прессовой части рассчитана методом тяговых
усилий для первого сукна составляет 74кВт, для второго сукна 42кВт.
Автоматизация процесса осуществляется комплексом Damatic DXi, что обеспечивает строгий контроль качества и
состояния процесса.
Уровень шума оборудования не превышает нормы, что способствует комфортной
роботе персонала.
Модернизация данной прессовой части позволит получить чистую прибыль 123
млн. рублей, срок окупаемости оборудования 0,53 г.
Данный дипломный проект содержит 100 страниц текста и 8 листов чертежей.
Введение
Целлюлозно-бумажная промышленность (ЦБП) является одной из стратегических
и социально значимых отраслей для экономики России. Важным фактором увеличения
конкурентоспособности продукции ЦБП является стабильно растущий спрос
внутреннего и мирового рынка на продукцию отрасли. Для активного развития
промышленности необходимо вводить в эксплуатацию современные технологические
решения и конструкторские разработки непосредственно в производство,
производить модернизацию существующего оборудования. От аппаратов и машин,
используемых в ЦБП, напрямую зависит качество изготавливаемой готовой
продукции. Ключевым агрегатом производства бумаги является бумагоделательная
машина. Бумагоделательная машина - это ведущий агрегат ЦБП, относится к разряду
машин автоматов, действующих непрерывно и автоматически. Роль человека сводится
к устранению случайных трудностей, профилактике, ремонту и техническому
обслуживанию, но не в участке, а в самом технологическом процессе. Среди
комплекса процессов протекающих на бумагоделательной машине (БДМ) обычно
выделяется главный - процесс формования, т.е. образование волокнистой структуры
бумажного полотна. Главной задачей в формовании является удаление воды из
волокнистой суспензии, и придание бумаги характерных свойств, таких как
прочностные характеристики, ориентация волокон. Любая бумагоделательная машина
состоит из сеточной, прессовой, сушильной частей и наката. На сеточной части
происходит основное удаление свободной воды, однако это не достаточно. Далее за
сеточной частью следует прессовая. Принцип ее работы заключается в выжимании
воды из слоя волокон.
Современные конструкции и решения в этом процессе помогают добиться
высоких результатов и вывести продукцию на конкурентно-способный уровень.
Экономическое значение прессования очень велико. Работа прессовой части
бумагоделательной машины оценивается по количеству удаляемой воды и по
распределению ее по ширине полотна бумаги после прессов. Сухость бумаги после
прессов определяет стоимость сушки, а распределение влаги влияет на
однородность бумаги и ее качество. Известно, что увеличение сухости полотна
бумаги после прессов на 1% позволяет снизить расход пара в сушильной части
машины на 4-5%. Испарение в 10-15 раз дороже удаления такого же количества воды
механическим путем на прессах. Удаление воды из бумаги на прессах
бумагоделательных и картоноделательных машинах представляет собой процесс с
очень сложным механизмом и большим числом взаимодействующих между собой
факторов. Именно этим объясняется тот факт, что до сих пор не найдены
закономерности, характеризующие в целом процесс обезвоживания бумаги на
прессах. Поэтому установление количественных закономерностей процесса даже в
первом приближении представляет актуальную задачу.
В частности, представляется особенно нужной разработка основ теории
процесса прессования бумаги, выявление и изучение основных факторов,
управляющих процессом обезвоживания бумаги на прессах. Кроме того современные
пресса должны удовлетворять следующим требованиям:
- безобрывно проводить бумажное полотно;
- обеспечивать равномерность распределения воды по полотну;
- обеспечивать удобство монтажа, эксплуатации и ремонта;
- иметь необходимый уровень автоматизации;
- иметь возможность последующей модернизации;
- отвечать требованиям безопасности.
В состав предприятий ЦБП входят такие фабрики как Архангельский ЦБК,
Котласский ЦБК, ООО «Сухонский ЦБК», Картонотара(Майкоп), АО «АМТЕКС», ООО
«Бумзавод», АО «Советский ЦБЗ». В основном на этих предприятиях установлены
машины 30-70 годов и на сегодняшний день они устарели и требуют модернизации
или покупке новых машин. Для сравнения следует отметить, что за рубежом парк
бумагоделательных и картоноделательных машин так же имеет значительное
количество старых и узкоформатных машин, но они, как правило модернизированы,
оснащены современными узлами и работают на скорости, превышающие проектные. В
странах Европы количество узкоформатных машин до 2 метров составляет всего 16%,
а машин имеющих скорость до 500м/мин. 30% и более 800м/мин. 35%. Для машин
находящихся в эксплуатации более 30 лет не превышает 10%. Картон относиться к
тароупаковочным видам продукции. Они представляют наиболее перспективный вид
транспортной тары под которой подразумевается изделие, служащее для упаковки.
Кроме задачи обеспечения сохранности продукции, тароупаковочные виды картонов
должны служить рекламой товара. Постоянно возрастает потребность в картоне, непрерывный
и чрезвычайно перспективный процесс развития науки и техники требует увеличения
производительности и улучшения качества выпускаемой продукции, тем сильнее
обуславливает обновление парка и его модернизации.
Модернизация позволит увеличить объем выпускаемого картона и улучшить его
качество. Так же применение новейших устройств прессования, а так же средств
автоматизации позволит снизить энергозатраты, тем самым снизить его стоимость.
Увеличение производительности картона позволит оказывать конкуренцию на рынке.
В связи с этим тема данного дипломного проекта модернизации КДМ №2 ООО
«Сухонского ЦБК» является актуальной.
Технико-экономическое обоснование. Современные представления
о процессе прессования бумажного полотна
Теоретическое описание процесса прессования бумажного полотна
представляет собой одну из сложнейших задач современной механики. Проблема
заключается в необходимости совместного решения задачи фильтрации воды и
воздуха в деформируемой неоднородной пористой среде и задачи контакта двух вращающихся
валов. При этом один или оба вала имеют покрытие из материала, имеющего
вязкоупругие свойства. Положение усугубляется также большой величиной
деформации бумажного полотна и нелинейностью уравнений, описывающих, процесс.
Поэтому рассмотрим здесь лишь некоторые аспекты прессования, используя
простейшую механическую модель, показанную на рис.1. В этой модели волокнистый
скелет бумажного полотна отображается в виде пружины. Жидкость в цилиндре с
проницаемым поршнем моделирует воду в бумажном полотне, а сопротивление
пористого дна цилиндра - гидравлическое сопротивление полотна. Пусть к поршню
мгновенно прикладывается нагрузка. Поскольку жидкость несжимаема, в начальный
момент вся нагрузка будет восприниматься водой (рис.1 а). С началом вытеснения
жидкости из цилиндра внешняя нагрузка Рх перераспределяется между
жидкостью (гидравлическое давление в порах материала Рн и пружиной
(эффективное напряжение в скелете материала Рс) (рис. 1 б). При этом
в любой момент времени [12]
Pz = Ph + Pc
Когда сила упругости пружины станет равной внешней нагрузке, давление
воды в порах становится равным 0 и истечение жидкости прекращается (рис.1 в).
Рис. 1. Механическая модель процесса прессования водонасыщенного
бумажного полотна
При высокой проницаемости бумажного полотна, чему соответствует низкое
сопротивление пористого дна цилиндра, уплотнение бумажного полотна (движение
поршня) будет определяться в основном упругими свойствами волокнистого скелета
(жесткостью пружины). При этом гидравлическое давление воды будет небольшим.
Этот случай соответствует прессованию с контролируемым давлением, когда
решающим фактором, определяющим эффективность процесса, является величина
внешней нагрузки. Ее можно повышать без опасности дробления бумажного полотна,
которое происходит из-за смещения внутренних слоев бумаги относительно наружных
под действием фильтрационных сил, возникающих при ламинарном течении воды в
бумажном полотне. Такой режим прессования характерен для видов бумаги,
изготовленных из бумажной массы низкого помола и имеющих малую массу 1м2.
При низкой проницаемости материала (высоком сопротивлении дна цилиндра)
упругость волокнистого скелета (сжимаемость пружины) оказывает меньшее влияние
на процесс обезвоживания, а гидравлическое давление воды в порах бумажного
полотна будет высоким. Такой режим прессования называется прессованием с
контролируемым потоком, так как увеличение внешней нагрузки в этом случае может
привести к раздавливанию бумажного полотна в связи с возникновением значительного
градиента порового давления по толщине полотна.
Для оценки эффективности обезвоживания бумажного полотна в прессовой
части пользуются влажностью (сухостью) или водосодержанием. Влажность - это
отношение массы воды, содержащейся во влажном бумажном полотне к массе самого
влажного полотна. Влажность обычно выражают в процентах. Аналогично сухость -
это отношение массы сухого вещества, содержащегося в данном объеме влажного
материала, к массе данного объема. Под водосодержанием понимается отношение массы
воды в определенном объеме бумажного полотна к массе абсолютно сухого вещества
в этом же объеме.
В качестве основных параметров процесса прессования используют такие
величины как линейное давление, среднее давление, продолжительность
прессования, ширину зоны прессования, прессовый импульс. Линейное давление
определяется как отношение усилия прижима прессовых валов друг к другу к длине
рабочей поверхности валов. Линейное давление обычно измеряется в кН / м. Ширина
зоны прессования - это ширина площадки, в пределах которой на бумажное полотно
действует сжимающая нагрузка. Среднее давление в зоне прессования равно
отношению линейного давления к ширине зоны прессования. Продолжительность
прессования равна отношению ширины зоны прессования к скорости машины.
Поскольку продолжительность прессования невелика, ее обычно измеряют в
миллисекундах. Из-за трудности непосредственного определения ширины зоны
прессования на практике обычно пользуются линейным, а не средним давлением.
Однако линейным давлением, как характеристикой процесса обезвоживания, можно
пользоваться только при сравнении работы прессов, имеющих одинаковый диаметр
валов и толщину покрытия. Если же взять два пресса с валами разного диаметра
или с разной твердостью покрытия, то при одном и том же линейном давлении
условия прессования в этих прессах будут различными. Так, например, ширина зоны
и продолжительность прессования в прессе с валами большего диаметра будут
больше, а среднее давление меньше. Поэтому после такого пресса сухость
бумажного полотна из жестких волокон с высокой проницаемостью будет ниже, чем
после пресса с валами меньшего диаметра. Многие бумажники предпочитают
пользоваться прессовым импульсом, который определяется как произведение
среднего давления на продолжительность прессования или как отношение линейного
давления к скорости машины
,
где
i - прессовый импульс, МПа • с; РСР - среднее давление, МПа; Т -
продолжительность прессования, с; q - линейное давление, кН / м; v - скорость
машины, м/с. Характер процессов, происходящих при прессовании, зависит от
положения бумажного полотна в зоне прессования. Для случая прессования с
поперечной фильтрацией воды в настоящее время принято деление зоны прессования
на шесть участков (фаз) (рис.2.).
Рис.2. Шестифазная модель зоны прессования: u- ненасыщенный водой материал; s- насыщенный материал
Фаза 1. Начинается с момента приложения внешней нагрузки. Бумажное
полотно и прессовое сукно в этой фазе неводонасыщены. Заканчивается эта фаза,
когда или бумажное полотно, или сукно становятся водонасыщенными. В первой зоне
перенос воды из бумаги в сукно или наоборот обусловлен впитыванием
поверхностной пленочной воды, находящейся на соприкасающихся поверхностях
бумаги и сукна. Некоторую роль в этом играют и капиллярные эффекты. При этом
направление потока зависит от множества различных факторов. Например, от
размеров пор соприкасающихся слоев бумаги и сукна, поверхностного натяжения и
т.д. Какой поверхностный слой - бумаги или сукна - первым станет
водонасыщенным, зависит от их начальной влажности, сжимаемости, капиллярного
строения соприкасающихся слоев бумаги и сукна.
Фаза 2. Начинается с момента насыщения бумажного полотна или сукна водой
и заканчивается, когда оба материала становятся водонасыщенными. Если в первой
фазе поверхностный слой сукна, соприкасающийся с бумажным полотном, становится
водонасыщенным раньше бумаги, то имеет место поток воды из сукна в бумагу, если
поверхностный слой бумаги, то наоборот. И здесь, по мнению многих
исследователей, факторами, определяющими течение воды, являются поверхностная
адсорбция и капиллярные явления.
Фаза 3. Начинается с момента насыщения обоих материалов водой и
заканчивается, когда внешняя нагрузка достигает максимума.
Фаза 4. Начинается с момента достижения внешней нагрузкой максимума и
заканчивается, когда давление в порах на нижней поверхности бумажного полотна,
соприкасающейся с прессовым сукном, становится отрицательным.
Фаза 5. Начинается с момента восстановления бумажного полотна и
заканчивается в момент снятия внешней нагрузки, т.е. в момент выхода бумажного
полотна и прессового сукна из зоны прессования.
Фаза 6. Начинается с момента выхода бумажного полотна и прессового сукна
из зоны прессования и заканчивается в момент отделения бумажного полотна от
прессового сукна.[7]
Основные факторы, определяющие эффективность прессования.[9]
При проектировании прессовой части целесообразно факторы, определяющие
эффективность прессования, разделить на две группы: конструктивные и
технологические. Конструктивные факторы зависят от параметров, определяющих
конструкцию пресса, а технологические - от особенностей технологического
процесса, свойств полуфабриката и требований, предъявляемых к готовой
продукции.
К конструктивным факторам можно отнести:
- тип пресса (валковый или башмачный);
- диаметр прессовых валов;
- механические свойства покрытий прессовых валов;
- конструкцию прессовых валов (отсасывающие, желобчатые, валы с
глухими отверстиями, гладкие);
- конструкцию прессового сукна и его сухость перед прессом;
- количество прессовых сукон (одно или два).
К технологическим факторам относятся:
- композиция бумажного полотна и технология подготовки бумажной
массы, которые определяют так называемые фильтрационно-компрессионные свойства;
- скорость машины;
- линейное давление;
- начальная сухость бумажного полотна;
- масса 1м2 бумажного полотна;
- температура бумажного полотна.
Влияние конструктивных факторов на обезвоживающую способность пресса
сводится в основном к изменению продолжительности прессования и распределения
давления по ширине зоны прессования при прочих равных условиях. Так, например,
высокая сухость бумажного полотна после прессов башмачного типа с удлиненной
зоной прессования обусловлена не только значительным увеличением
продолжительности прессования, но и возможностью регулирования распределения
давления по ширине зоны прессования. Увеличение диаметра валов и снижение
скорости машины также ведет к увеличению продолжительности прессования. Однако
в данном случае необходимо считаться с отрицательным влиянием на сухость после
пресса обратного впитывания.
Конструкция вала при работе с современными сукнами оказывает меньшее
влияние на достигаемую сухость при прочих равных параметрах (диаметре валов,
твердости покрытия и т.д.), чем при работе с шерстяными сукнами. Выбор
конструкции вала определяется в основном местом пресса в прессовой части и
видом вырабатываемой продукции. Так, например, для валов с глухими отверстиями
можно применять более мягкие покрытия, чем для желобчатых валов, что
увеличивает ширину зоны прессования. Поэтому эти валы целесообразно
использовать при прессовании с контролируемым потоком. С другой стороны, при
одинаковой твердости покрытия для пресса с глухосверленным валом можно увеличить
усилие прижима без опасности захлопывания отверстий. Однако стоимость
глухосверленного вала значительно выше стоимости желобчатого.
Установка второго сукна аналогична эффекту уменьшения массы 1м2
бумажного полотна и, следовательно, при одинаковых прочих условиях позволяет
повысить сухость после прессования. В то же время при выработке видов бумаги с
малой массой 1м2 и при работе на низких скоростях установка второго
сукна может привести к падению сухости после пресса из-за обратного впитывания.
Наиболее важным технологическим фактором является композиция бумажного
полотна и история его подготовки. Известно, что способность к обезвоживанию
зависит от степени помола бумажной массы. Однако также установлено, что виды
бумаги, изготавливаемые из разной массы одной и той же степени помола,
обезвоживаются по-разному. Поэтому более важной характеристикой, определяющей
способность бумаги отдавать воду при прессовании, является коэффициент
водоудержания.
Для определения этого коэффициента используют различные методы. Одним из
наиболее известных является метод центробежного обезвоживания. Коэффициент
водоудержания WRV определяется как отношение массы воды, оставшейся в материале
после его обезвоживания, к массе сухого волокна. Используя этот коэффициент,
можно определить значение предельной сухости CL , которую можно достичь при
прессовании данного материала
, %.
На
величину предельной сухости наибольшее влияние оказывает вид целлюлозы, степень
ее помола и выход.
Ранее при рассмотрении процесса прессования считали, что из бумажного
полотна выжимается только вода, находящаяся в межволоконном пространстве, а
вода, находящаяся во внутренних порах волокон, удаляется только при сушке.
Однако последние исследования в этом направлении показали, что во многих
случаях надо считаться и с водой, выжимаемой из стенок волокон.
Конструкции валов
По конструкции валы подразделяют на следующие основные типы:
¾ трубчатые;
¾ литые пустотелые и сплошные;
¾ перфорированные;
¾ гранитные;
¾ сетчатые;
¾ с регулируемым прогибом;
¾ с гибкой деформируемой оболочкой.
Трубчатые валы являются наиболее распространенными т.к. при относительно
небольшом весе они обладают достаточной прочностью, жесткостью, устойчивостью к
резонансу. На их вращение затрачивается меньше мощности, чем для сплошных
валов. При диаметре валов до 650-700мм и толщине стенки до 28-30мм вал состоит
из трубы, в которую запрессовывается чугунный патрон с радиальными ребрами, а в
патрон запрессовывается цапфа из углеродистой или нержавеющей стали
мартенситного класса. Труба изготавливается из стали 35, или литой из стали или
чугуна (для валов диаметра 1000 мм и более), бронзы, латуни или алюминия.При
диаметре более 650мм. и толщине стенки более 28-30мм валы делаются без патрона.
К трубе крепятся крышки с цапфами с помощью болтов с потайной головкой. Крышки
с цапфами могут быть изготовлены заодно или же цапфы крепятся к крышке тем или
иным способом.[1] Недопустимо применять в трубчатых валах сварные двухдисковые
патроны т.к. эта конструкция, как правило, неработоспособна и недолговечна. Как
правило, трубчатые валы диаметром до 650 мм ремонту не подлежат и заменяются на
машине новыми валами. Срок службы валов 10-20 лет. Литые пустотелые валы
состоят из чугунной отливки, в которую запрессованы стальные цапфы.
Используются на узких машинах, в качестве прессовых валов, на широких
быстроходных машинах они используются в качестве каландровых валов, но в этом
случае к корпусу вала прикрепляются стальные цапфы. Диаметр таких валов 800-865
мм (см. рис 140 б). Недостатки валов этого типа: при больших диаметрах они
имеют большой вес (до 50 тонн и более), поэтому требуются специальные
грузоподъемные устройства для монтажа и демонтажа, что ограничивает их
применение. [12] Сплошные литые валы отливаются вместе с цапфами в сырую форму
в вертикальном положении, ввиду быстрого остывания наружной поверхности
образуется твердый слой толщиной 20-25 мм из отбеленного чугуна, поэтому эти
валы используются в качестве каландровых валов. Для охлаждения или нагрева
вала, в них имеется центровое отверстие диаметром 50-60 мм.[2] Эти валы
изготавливают из прочного чугуна с добавлением хрома, никеля, содержание
углерода 3,6-3,8%. На современных машинах эти валы могут обогреваться маслом и
температура достигает 200°С. Æ 350-1150 мм. Материал СЧ 24-44 (sраст= 24 кг/мм2, sизгиб=44 кг/мм2). Трубчатый
перфорированный вал состоит из перфорированного вращающегося цилиндра, внутри
которого установлена неподвижная отсасывающая камера с одной, двумя или тремя
зонами отсоса мокровоздушной смеси. Перфорированный цилиндр изготавливается из
бронзы (Бр Оц 10-2) или нержавеющей стали. В настоящее
время преимущественно применяются валы из нержавеющей стали типа 20Х13. Толщина
стенки валов 40-75 мм, при большей толщине на внутренней поверхности отверстия
начнут сходиться. Она определяется условиями отливки к диаметру отверстия и
коэффициенту перфорации. Отверстия на перфорированных цилиндрах располагаются
по наклонной образующей, а в поперечном сечении по винтовой линии относительно
окружности вала. Расположение отверстий по наклонной образующей уменьшает шум
при работе вала, а расположение по винтовой линии уменьшает местный износ в
продольных уплотнениях вала, т.к. истиранию подвергается вся рабочая длина
уплотнений и увеличивает жесткость вала. Расположение отверстий, их диаметр и
расстояние между отверстиями для гауч-валов и прессовых валов стандартизовано
стандартами Петрозаводского и Ижевского заводами.
Гранитные валы. Применяются в качестве прессовых валов непосредственно
соприкасающихся своей поверхностью с мокрым бумажным полотном.
Благодаря особенностям своей поверхности отделение бумажного полотна от
вала происходит с минимальным усилием по сравнению с валами изготовленных из
других материалов. Благодаря наличию на поверхности гранита осповидных
углублений из-за выкрашивания лезвием шабера пластинок слюды и полевого шпата.
Фактическая поверхность контакта гранита с бумагой меньше геометрической.
Непрерывное выкрашивание слюды и полевого шпата лезвием шабера приводит к
возобновлению рабочей поверхности гранитного вала и частичной очистки её от
прилипших мелких волокон и наполнителя. В случае прилипания смолы к валу на
ходу машины протирается керосином или уксусной кислотой. Имеются и другие
гипотезы о механизме отделения бумажного полотна от гранитного вала. Гранитный
вал представляет собой цилиндр из гранита, закрепленный на сквозном стальном
сердечнике. Диаметр гранитного вала от 400 до 1600 мм, а вес до 70 тонн.
Диаметр сердечника до 500 мм.[2] При работе машин со скоростью больше 1000
м/мин и при температуре бумажной массы 50-55°С гранитные валы представляют большую опасность, поэтому их
заменяют металлическими литыми валами на поверхность которых нанесён анти
агдезионный материал (керамика).Гранитный блок закрепляется с помощью шайб
надетых на сердечник и прижатых гайками к торцам вала. Зазор между гранитным
блоком и сердечником по всей длине вала заливается цементным раствором, что
исключает вертикальное смещение гранитного блока относительно сердечника под
действием собственного веса вала или под действием усилия дополнительного
прижима вала. Гранитный вал чаще всего выходит из строя в результате скола
краёв. Сетчатые валы. Состоят из тонких узких колец, к которым снаружи припаяны
тонкие продольные пластины, на которых припаивается подкладная сетка (крупная
квадратная с размерами 535 мм), а поверх неё рабочая сетка. Вместо подкладной сетки
может использоваться проволока из латуни или нержавеющей стали диаметром 2-3
мм. Торцы валика представляют собой кольца шириной 100-150 мм, которыми они
опираются на ролики. При высоких скоростях кольца изготовляют с цапфами и валик
устанавливают в подшипниках. Такие валики используются в качестве ровнителей
для нанесения на бумагу водяных знаков и в качестве регистровых валиков при
производстве санитарно бытовой бумаги. На картоноделательных машинах и на
двухсетчатых машинах фирмы Фойт применяются вакуум формующие сетчатые цилиндры.
К перфорированному цилиндру припаиваются фасонные колосники поверх которых
натягивается термоусадочная сетка. Валы закрепленные по середине. Они имеют
прогиб во много раз меньше чем обычные трубчатые валы, кроме того, при
определенном соотношении жесткостей оболочки вала и сердечника прогиб может
быть направлен в сторону противоположную действующим силам. Эти валы с малым
прогибом применяются в качестве грудных валов и валы с прогибом вверх
используются в качестве расправляющихся валов.
2.3 Покрытия валов
Различают четыре типа покрытия валов КДМ:
антикоррозионные;
технологические;
покрытия - заменители гранита;
упрочняющие ;
Антикоррозионные покрытия
Антикоррозионные применяются в основном для валов и валиков мокрой части
бумагоделательной машины и меловальных устройств агрегатов. К ним относятся:
омеднение, обрезинивание, полиуретановые, интегрированное покрытие на основе
каучуков. Омеднение применяется для валов машин старой конструкции, а также при
выработке бумаги высоких сортов т.к. медь препятствует слизеобразованию. Медь
наносится на стальной корпус валов методом электролитического осаждения или на
вал одевается медная труба. Толщина покрытия 1-2 мм, после чего валы шлифуются.
Обрезинивание является наиболее распространенным способом антикоррозионной
защиты валов. В качестве антикоррозионного покрытия используют твердую резину с
показателем твердости от 0 до 5 единиц по прибору ТШМ-2. Основой такой резины
является натуральный (НК) или синтетический (СК) каучуки, составляющие в
оболочке вала примерно 50%, от 30-50% сера до 30% сажи, а также смягчители и
другие ингредиенты, всего до 15 наименований. Наполнители вводятся для
прочности, износостойкости, сопротивления надрыву (раздиранию) и преданию
покрытию хорошей сцепляемостью с одеждой машины (фракционности). Недостатками
является:
¾ их низкая способность передавать мощность на одежду машины в
виду возможного отделения оболочки от металла (грудной вал, сетко поворотный
вал);
¾ коррозия по торцам валов, в результате окисления поверхности
стальной трубы ржавчина поднимает резиновую оболочку по концам вала, что
приводит к быстрому износу одежды машины, особенно кромок сетки.
Под твердостью резины понимается глубина погружения в сотых долях
миллиметров стального шарика диаметром 5 мм. При действии на него нагрузки в 1
кг в течение 1 минуты, это показатель твердости по ТШМ-2. За рубежом
используется шарик 1/8 дюйма (&3,2 мм) то
показатель твердости называется твердостью по Пуссей-Джонсу.Показатель
твёрдости зависит от толщины слоя резины (резина на валу от 25 до 1 мм, когда
изнашивается до 13мм. то вал идёт на переобрезиневание).
Полиуретановое покрытие имеет высокий коэффициент сцепления с одеждой
машины, большой срок службы, но оно является водопроницаемым, поэтому под
полиуретановым покрытием должен быть водозапорный подслой. Комбинированное
покрытие представляет собой твердую резину, армированную керамическими
частицами и рядом других ингредиентов, которые придают покрытиям ряд ценных
служебных свойств: высокую износостойкость (20 лет), высокий коэффициент
трения, грязеотталкивающие свойства, что особенно важно при использовании
макулатурной массы, хорошую очищаемость шабером и способность передавать
большие крутящие моменты. Все антикоррозионные покрытия имеют низкую стойкость
к щелочам, кислотам, растворителям (бензин, керосин, уксусная кислота, ацетон),
хлорной извести, которую применяют для промывки одежды трубопроводов и емкостей
БДМ. Валы с антикоррозионным покрытием, как правило, не ремонтируются, а заменяются
новыми. Для лучшего сцепления покрытия с трубой вала на поверхности вала часто
делается рваная резьба. Имеет место применение валов целиком изготовленных из
нержавеющей стали типа 20Х13, они дороже, имеют хорошую сцепляемость с одеждой
машины и при необходимости могут перешлифовываться.
Технологические покрытия
К технологическим покрытиям относятся резиновые и полиуретановые покрытия
главным образом прессовых валов. Технологические покрытия применяются для
увеличения ширины площадки контакта между валами. Благодаря этому условию
уменьшается вероятность раздавливания бумажного полотна, увеличивается срок
службы сукон, отсутствует коррозия прессовых валов.
Резиновые покрытия
Резиновые покрытия прессовых валов имеют следующие достоинства:
¾ металлическая рубашка вала получает защиту от износа
наружной поверхности и защиту от коррозии, несмотря на то, что изготовляются из
бронзы или нержавеющей стали;
¾ линейное давление между валами распределяется более
равномерно по ширине машины, чем при отсутствии резиновой оболочки;
¾ более широкая площадка контакта между валами (40 мм)
позволяет увеличивать сухость бумажного полотна вследствие большей длительности
процесса отжима воды на 1-2 %, что в свою очередь позволяет экономить от 4 до
10% пара;
¾ уменьшается износ сукна и количество его повреждений при
попадании между валами посторонних включений (комков массы, смолы, закатышей) в
зону контакта валов;
¾ уменьшается вибрация прессовых валов благодаря
амортизационным свойствам резины;
¾ резиновая оболочка хорошо сохраняет приданный ему
бомбированный (бочкообразный) профиль для равномерного линейного давления между
валами;
¾ легко обнаруживается зарождающееся повреждение покрытия,
которое выделяет себя повышенной вибрацией вала, это можно установить с помощью
приборов.
Твердость резиновых покрытий гладких и отсасывающих валов - 25 единиц по
Пуссей-Джонсу или 20 единиц по ТШМ-2. Для желобчатых валов твёрдость 5-10
единиц по Пуссей-Джонсу. Для глухо-сверленных валов 30-35 единиц по
Пуссей-Джонсу. Для валов большого диаметра с удлиненной зоной прессования
(90-100 мм) твёрдость резины 30-35 единиц по Пуссей-Джонсу, причем на этих
валах резина обязательно армируется керамикой. Обрезиненные валы шлифуются
примерно 3 раза в год (стираются края, изменяется бомбировка за счёт уменьшения
скольжения по концам валов, появляются полосы). Глухосверленые валы
перешлифовываются до тех пор, пока глубина отверстий не уменьшится до 4 мм с
первоначальной 9-13 мм. Для малогабаритных валов твердость резинового покрытия
определяется по Шору и может быть пересчитана на твердость по Пуссей-Джонсу по
графику. Резиновое покрытие отшлифовывается остаточной толщины 12-13 мм при
дальнейшей перешлифовке твёрдость покрытия начинает резко возрастать.
Эксплуатационные затруднения с обрезиненными валами связаны главным образом с
тепловым эффектом, возникающим в резине, при чем они возрастают с увеличением
толщины резиновой оболочки и её мягкости, увеличением давления и скорости
машины. При температуре 40°С начинает быстро снижаться твердость, а при 80°С и выше происходит отслоение резины
от металла, т.к. коэффициент теплового расширения резины больше чем у металла в
5-10 раз. Чаще всего при этом происходит скол кромок резины по торцам вала, где
вал не нагревается теплом бумажного полотна. Этому способствует движение
воздушных потоков в прессовой части и низкая температура воды в спрысках для
промывки сукон. Кроме этого происходит охлаждение торцов вала сопутствующие
движению сукна потокам воздуха. Кроме этого отслоению резины способствует
низкая температура воды в прысках. Для уменьшения вероятности отслаивания на
концах резиновых валов следует делать фаски (сгон). При скоростях машины до 500
м/мин для улучшения сцепления резины с металлом можно применять эбонитовый
подслой 5 мм. Другим вариантом может быть применение под резиной мягкого
металла (олово, наносимое лужением). Наибольшая температура резиновой оболочки
вала имеет место посередине пролета вала и на глубине 5 мм от наружной
поверхности вала, где нагрев происходит за счет гистерезиса. [12] Начинает широко
применятся в качестве технологического покрытия гидрированный нитрил
представляющий резину, в которой двойные меж молекулярные связи заменены более
прочными простыми связями. При этом достигается высокая износостойкость,
устойчивость к высокому давлению и высоким температурам. Полиуретановые
технологические покрытия находят все более широкое применение на БДМ как и
самостоятельно полиуретановые изделия в виде гибких деформируемых оболочек в
валах с регулируемым прогибом (башмачные прессы различной конструкции). [12]
Полиуретановые технологические покрытия
Полиуретан - это собирательное название каучука подобных полимеров
характеризующиеся в гомогенные структуры. Он не содержит наполнителя,
смягчителя и других добавок как в резину. Обычно используется, поли эфир, поли
этан имеющие хорошую гидролизность. Полиуретан формируется на поверхности вала,
после того как на неё наложен слой синтетических нитей, которые компенсируют
тепловые расширения различные для металла и полиуретана. Твердость
полиуретанового покрытия от 3 до 40 единиц по Пуссей-Джонсу. Для желобчатых
валов 3 единицы по Пуссит-Джонсу, для глухосверленых 10 единиц по Пусс м2-Джонсу.
Достоинства:
Прочность в 2-3 раза выше, чем у резины. Его поверхность почти не
царапается;
Сопротивляемость абразивному износу в 4-5 раз больше чем у резины,
однако, глубина перешлифовки должна составлять минимум 1 мм для получения
равномерных свойств по всей поверхности вала;
Износ сукон на 25% меньше т.к. в нем нет наполнителей и высокий
коэффициент трения с одеждой машины;
Сухость бумажного полотна увеличивается на 1-2% при переходе с
обрезиненных валов;
Благодаря большей эластичности валы с полиуретановым покрытием меньше
подвержены вибрации. У них меньше колебания твердости по объему оболочки;
В большом диапазоне температур до 50-80°С твердость полиуретана и его упругие свойства
остаются практически неизменны;
Сцепление между полиуретаном и бумажным полотном низкая, поэтому валы при
работе остаются чистыми и могут работать без шаберов (но надо учитывать вид
бумажной массы);
Меньшие тепловыделения внутри оболочки вследствие гистерезиса.
Недостатки:
Температура при работе не должна быть более 50°С;
Полиуретан поглощает и пропускает воду, поэтому валы нужно просушивать
через 6-7 месяцев работы;
Выдерживает давления прессованием только до 110 кН/м и скорость 1300 м;
Очень чувствителен к действию щелочей, кислот, растворителей, масел,
хлорной извести, уксусной кислоте. [12]
В последующих разработках фирмы VOITH применяются полиуретановое покрытие с металлическим сердечником (многослойного).
Заменители гранита
Применяются три типа покрытий заменителя гранита:
Стонит
Керамическое (толщина 0,5-0,8 мм - Вал Рок)
Металлокерамическое - слой керамики наносится на подложку из нержавеющей
стали (толщина 0,06-0,1 мм).
Стонит - изготовляется на каучуковой основе, которая является склеивающим
компонентом. В состав входит натуральный каучук 13%, кварцевый песок 59%, сера
4,5%, мумие (окись железа) 16%, окись магния 5,5%, ускорители и смягчители
2-3%. Применяются взамен гранитных валов при выработке бумаги из сульфатной
целлюлозы и без содержания древесной массы. Толщина стонита 13-15 мм. Металл
корпуса вала должен иметь очень высокую жесткость т.к. стонит является хрупким
материалом. Керамическое и металлокерамическое износостойки, не боятся перепада
температур, не загрязняются волокном, клеем и наполнителем. Гранитный вал из
заменителя применяется для машин шириной 7000 мм. [10]
Упрочняющие покрытия
Применяются при восстановительном ремонте станин металлорежущих станков,
цапф валов, задвижек и т.п. Сейчас применяются для покрытия металла желобчатых
валов, валов каландров для получения матовой бумаги и специальных бумаг, для
каландровых валов с изношенным отбеленным слоем. Толщина покрытия 0,5 мм
рабочий слой и 0,2 мм базовый слой.
Хранение обрезиненных валов:
Обрезиненные вала боятся солнечного света и низкой температуры;
Хранимые валы должны устанавливатся на цапфы и периодически
поворачиваться на 180о;
Обрезиненнеы валы нельзя хранить около электрического оборудования, т.к.
при его работе выделяется озон;
Перед установкой с вала нельзя снимать обёрточную крафт бумагу, т.к
открытая резина быстро стареет. Вал должен находится в своей упаковке в зале
БДМ не менее двух суток;[12]
Требования к хранению обрезиненных и полиуретановых валов
Валы с покрытием боятся солнечного света, температуры -5°С (зимой перевозить нельзя), бензина,
керосина, масла и других растворителей, а также щелочей, кислот, хлорной
извести;
Валы следует хранить на цапфах и поворачивать периодически на 180о;
Нельзя спускать валы на пол рабочей поверхностью;
Перед установкой выдерживать в зале двое суток, не снимая обёрточной
бумаги.
Классификация прессов
По направлению фильтрации воды в сукне прессы подразделяются на прессы с
продольной фильтрацией и прессы с поперечной фильтрацией. К прессам с
продольной фильтрацией воды в сукне относятся обычные простые прессы с гладким
нижним валом. В этом прессе верхний вал гранитный смещен относительно нижнего
на встречу ходу сукна на 100-250 мм, а сукно на входе в пресс частично огибает
верхний вал. Все это необходимо для того, чтоб отжатая вода вновь не не
попадала в сукно, а стекала по поверхности нижнего вала на встречу вращения
нижнего вала. Поэтому эти прессы работоспособны только при скорости машины до
200 м/мин. Однако такие прессы могут использоваться в качестве сукномоек при
более высоких скоростях до 750 м/мин. Приводным является нижний вал. При
выработке картона и целлюлозной папки приводным часто делают оба вала. Вращение
с нижнего на верхний передается через шестерни.
К прессам с поперечной фильтрацией относятся прессы с желобчатым и
глухо-сверленым валом, а также прессы башмачного типа с гибкой деформирующейся
оболочкой. Вода в желобки попадает сразу проходя в сукне путь равный толщине
сукна. Приводным в этих прессах является нижний вал. При выработке бумаги на
высоких скоростях и при выработке толстомерной продукции приводными делаются
оба вала. Это связано с тем, что угол охвата сукном нижнего вала не велик. Вход
сукна в зону прессования производится с некоторым огибанием сукном верхнего
вала. Вода из желобков или отверстий выбрасывается под действием центробежной
силы или же выдувается воздухом. Вакуум в отсасывающей камере поддерживается в
пределах от 400 до 600 мм. рт. ст. и возрастает от первого к последнему.
Удаление воды в отсасывающем прессе происходит за счет давления между валами
также как в обычном прессе и в прессе с желобчатым валом. Вода двигается от
гладких участков вала к отверстию, поэтому на бумаге возможно маркировка от
отверстий отсасывающего вала.
Роль вакуума сводится:
1. очистка сукна перед зоной контакта валов;
2. к удержанию воды в отверстиях после их выхода из зоны вакуума.
На современных машинах отсасывающие прессы и валы устанавливаются также с
целью удаления воздуха из пространства между бумажным полотном и сукном во
избежание образования перед зоной контакта воздушного пузыря, возможных обрывов
и складок на бумаге.
Недостаток: сложность конструкции и дорогая эксплуатация за счет наличия
вакуума.[1]
Типы прессов
До последнего времени преобладающими были прессы валкового типа. Они
бывают двухвальными и многовальными. Двухвальные прессы принято делить на:
обычные прессы с гладкими валами, прессы с отсасывающими, желобчатыми и
глухосверленными валами.
Многовальные прессы являются комбинированными прессами, в которых один и
тот же вал может образовывать с парными валами две, а иногда и три зоны
прессования. При этом в разных зонах процесс прессования может соответствовать
процессу в прессе с отсасывающим, желобчатым или глухосверленным валом.
Появление многовальных прессов было обусловлено, с одной стороны,
стремлением получить более компактную прессовую часть, а, с другой стороны, -
обеспечить закрытую проводку бумажного полотна, что снижает число обрывов и
повышает работоспособность машины в целом. Эффективность обезвоживания одного
многовального пресса во многих случаях оказывается настолько высокой, что
установка дополнительного, отдельно стоящего пресса не требуется.Ниже
рассмотрены особенности обезвоживания в различных типах прессов.
Обычный пресс
Обычным называют пресс (рис 3), состоящий их двух гладких валов, между
которыми проходит бумажное полотно и прессовое сукно. Это наиболее старая
конструкция пресса. Нижний вал пресса обычно имеет резиновое покрытие, верхний
вал - чаще всего гранитный.
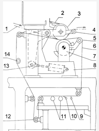
Рис. 3. Обычный двухвальный пресс: 1 - бумажное полотно; 2 - шабер; 3 -
верхний вал (гранитный); 4 - бумаговедущий валик; 5 - сукноведущий валик; 6 -
прессовое сукно; 7 - нижний вал (обрезиненный); 8 - станина пресса; 9 - спрыск
высокого давления; 10 - спрыск низкого давления; 11 - сукномойки; 12
-сукнонатяжной валик; 13 - механизм прижима валов; 14 -сукноправильный валик
Применение резинового покрытия позволяет:
¾ увеличить ширину зоны прессования, а, следовательно, и его
продолжительность;
¾ уменьшить износ прессового сукна (по сравнению с
металлическим валом).
Применение гранита в качестве материала прессовых валов объясняется
низкой адгезией бумажного полотна различной композиции к граниту. Этой адгезии,
с одной" стороны, достаточно для предотвращения «скрадывания» влажного
бумажного полотна прессовым сукном, а, с другой стороны, она исключает
чрезмерное натяжение полотна при его отделении от вала. Для нормального
движения бумажного полотна в прессе применяются бумаговедущие валики.
Рис.4. Расположение валов обычного двухвального пресса; 1 - бумажное
полотно; 2 - верхний вал; 3 - нижний вал; 4 - прессовое сукно; 5 -
бумаговедущий валик; 6 - шабер
Обычно верхний гранитный вал обычного пресса смещен на 50 -250 мм
относительно нижнего вала навстречу движению полотна (рис.4). В результате
смещения давление на бумажное полотно возрастает постепенно и облегчается отвод
воды. Величина смещения зависит от диаметра валов, скорости машины, положения
пресса в прессовой части, массы 1 м2 бумажного полотна. С
увеличением скорости и диаметра валов смещение увеличивают. Для предотвращения
увлажнения сукна и бумажного полотна перед зоной контакта валов и устранения
пузырей воздуха между сукном и бумагой последние должны входить в зону
прессования несколько выше линии касания валов. [12]
Обычный пресс может использоваться и как обратный, т.е. для снятия
сеточной маркировки. В обратном прессе валы меняются местами, но сукно
по-прежнему охватывает обрезиненный вал. В результате с гранитным валом
соприкасается та сторона бумажного полотна, которая ранее соприкасалась с
сеткойОбычный пресс относится к прессам с продольной фильтрацией воды. Сукно в
этом прессе становится обычно водонасыщеным задолго до середины прессового
захвата. Часть воды переносится вместе с сукном через прессовый захват, а часть
течет внутри сукна в направлении, обратном ходу бумажного полотна [10]
Отсасывающий пресс
В качестве первых прессов на большинстве бумаго- и картоноделательных машин
применяются отсасывающие прессы. Отсасывающий пресс состоит из отсасывающего
вала (обычно занимающего нижнюю позицию) и парного с ним гранитного или
чугунного вала. Отсасывающие валы бывают одно-, двух-, и трехкамерные
Недостатками отсасывающих валов являются:
¾ сложность конструкции и эксплуатации,
¾ высокая стоимость,
¾ малая долговечность,
¾ относительно низкая прочность, ограничивающая диапазон
рабочих давлений,
¾ высокая энергоемкость.
В процессе работы отверстия отсасывающего вала забиваются мелким волокном
и частицами наполнителя, что уменьшает площадь живого сечения поверхности вала.
Для поддержания отверстий в чистоте применяются спрыски высокого давления.
Однако при этом необходимо соблюдать осторожность, чтобы не повредить покрытие
вала. Обычно на отсасывающем валу устанавливают два шабера. Первый шабер
удаляет часть поверхностного слоя воды. При этом на обратной стороне лезвия
образуется вакуум, который способствует извлечению загрязняющих отверстия
частиц. Эти частицы вместе с оставшимся поверхностным слоем воды удаляет второй
страхующий шабер. [5]
Пресс с желобчатыми валами
При этом ширина желобков должна исключать вдавливание сукна в желобки и
предотвращать появление теневой маркировки. С точки зрения "производства и
очистки желобчатых валов оптимальная ширина канавок составляет 0,5мм.Пресс с
желобчатыми валами.(рис 5)
Рис. 5. Рельеф поверхности желобчатого вала.
Желобчатыми валами часто заменяют отсасывающие валы. Иногда желобки
наносят на покрытие отсасывающего вала, что способствует более легкому удалению
воды из сукна, снижает опасность раздавливания бумажного полотна и уменьшает
теневую маркировку даже при увеличении давления прессования. Сухость бумажного
полотна при этом увеличивается на 1%.Основными преимуществами желобчатых
прессов по сравнению с отсасывающими являются:
¾ низкая стоимость изготовления и эксплуатации по сравнению с
отсасывающими валами;
¾ более высокая сухость бумажного полотна после пресса;
¾ возможность работы при более высоких давлениях без опасности
раздавливания и теневой маркировки бумажного полотна;
¾ возможность использования желобков на валах с регулируемым
прогибом, что обеспечивает более равномерный профиль влажности по ширине
машины;
¾ меньшая энергоемкость из-за отсутствия вакуум-насосов. [10]
Пресс с глухосверленным валом
Известно, что величина вакуума в камере отсасывающего вала только при
низких скоростях машины оказывает некоторое влияние на сухость бумажного
полотна после пресса. При более высоких скоростях вода практически не попадает
в камеру. Поэтому логичным развитием отсасывающих валов явились
глухосверленными валы, или как их еще называют валы с глухими отверстиями.
Такие валы первоначально использовались как прижимные валы к лощильным
цилиндрам самосъемных бумагоделательных машин. Вал с глухими отверстиями
представляет собой стальную рубашку, покрытую резиновой или полиуретановой
облицовкой с рассверленными в ней глухими отверстиями. Диаметр отверстий
варьируется от 2,3 до 4,0мм. Глубина отверстий 10-13мм. Общая площадь сечений
отверстий может достигать 30 % против 17 % площади живого сечения желобчатого
вала. Применение более мягких покрытий уменьшает среднее давление в зоне
прессования. Это также обеспечивает меньшее истирающее действие кромок
отверстий по сравнению с кромками канавок желобчатого вала, что позволяет
значительно увеличить срок службы прессовых сукон в прессах с глухосверленными
валами (по сравнению с желобчатыми прессами в среднем на 30 %, а иногда и в 2
раза). Большая ширина зоны прессования позволяет значительно увеличить линейное
давление в прессах такого типа (до 300 - 350 кН/м и более). В большинстве
случаев отверстия способны самоочищаться. [10]
Прессы с удлиненной зоной прессования
В последнее время все большее внимание уделяется повышению эффективности
работы прессовой части. Это объясняется как постоянным ростом стоимости
энергии, так и все большим использованием в производстве бумаги и картона
полуфабрикатов высокого выхода и макулатуры. При выработке большинства видов
бумажной продукции единственным путем повышения сухости после пресса является
увеличение продолжительности прессования. Поскольку ширина зоны прессования
зависит и от сукна, то в таких прессах необходимо применять тяжелые
многослойные сукна с малосжимаемой сетчатой основой. Для обеспечения
равномерного профиля влажности по ширине машины один из валов должен быть с
регулируемым прогибом.
Башмачный пресс
Пресс (рис. 6) состоит из верхнего приводного вала 1 с регулируемым
прогибом и нижнего прижимаемого к верхнему валу опорного башмака 6 шириной 250
мм. Между валом и башмаком, поверхность которого обработана с соответствующей
кривизной, движется бесконечная лента 5, представляющая собой синтетическую
сетку, поры которой заполнены по методу напыления полиуретаном. Прессование осуществляется
между двух сукон 2 и 4. Прижим башмака к верхнему валу осуществляется при
помощи гидроцилиндров. Для снижения трения между башмаком и лентой подается
смазочная жидкость.
Рис.
Длинные башмаки в сочетании с прессованием между двух сукон применяются
при выработке трудно обезвоживаемых видов бумаги и картона, например, с высоким
содержанием сульфатной целлюлозы или полуфабрикатов высокого выхода. Более
короткие башмаки применяют при выработке легко обезвоживаемых видов бумаги, а
также бумаги с малой массой 1 м2 и с высокой начальной сухостью.
Компоновка прессовой части
Основные требования к компоновке прессовой части:
1. максимальное удаление воды;
2. без обрывная проводка бумажного полотна в прессовой части.
. максимальное поддержание качества продукции в частности
симметричности сторон вырабатываемой бумаги.
Еще одним направлением при конструировании прессовой части является отказ
от гранитных валов.
Для максимального обезвоживания применяются:
1. высокие давления;
2. удлиненная зона прессования;
. прессование между двумя сукнами;
. использование толстых сукон обеспечивающих сухую зону
прессования;
. работа с температурой бумажного полотна 50-55°С.
Без обрывная проводка обеспечивается:
1. использованием комбинированных много вальных прессов типа
Симпресс, Комбипресс и т.д. Однако в этих прессах узким местом является
отсасывающий вал с двумя зонами отжима, что приводит к быстрому выходу из строя
резиновой оболочки валов. Кроме того в этих прессах бомбированы гранитный вал и
отсасывающий вал, что ухудшает работу сукон.
2. прямой практически без изгибов ход бумажного полотна от сеточной
до сушильной части.
. использование для передачи бумажного полотна с пресса на пресс,
а также сушильную часть, вакуум пересасывающих устройств.
Поддержание качества за счет:
1. симметричное обезвоживание (Симпрессы, Комбипрессы).
2. отсутствие вытяжки бумажного полотна.
. применение сукон соответствующих виду вырабатываемой продукции и
их хорошее кондиционирование.
Прессовые части современных бумагоделательных и
картоноделательных машин
Современные картоноделательные машины (КДМ), как правило,
специализируются на выработке определенного вида продукции, требования к
качеству которой определяют конструктивные особенности машины. Эффективность
обезвоживания бумажного полотна, как отмечалось ранее, определяется
сопротивлением сжатию волокнистого скелета и сопротивлением фильтрации воды в
сжимаемом бумажном полотне. Для некоторых видов бумаги решающим фактором
является сопротивление сжатию бумажного полотна. Это, например,
санитарно-гигиенические виды бумаги, высококачественная бумага массой до 100
г/м2, включая офсетную, газетную и др. Поскольку проницаемость этих
видов бумаги велика и в сжатом состоянии, то гидравлическое давление в порах
полотна мало даже при больших внешних нагрузках. Поэтому для этих видов
продукции применяют прессы с относительно «жесткой» зоной контакта валов,
образуемой, например, гранитным валом и желобчатым валом с рубашкой из
нержавеющей стали без резинового покрытия. Учитывая малую массу квадратного
метра таких видов бумаги, а, следовательно, и сравнительно небольшое количество
воды, удаляемой при прессовании, в таких прессах применяют легкие, но жесткие
сукна. Большое значение на конечную сухость в этом случае оказывает повторное
увлажнение бумаги на выходной стороне зоны прессования. В связи с этим на
тихоходных и среднескоростных машинах, вырабатывающих данные виды продукции, не
применяется прессование между двух сукон. Для уменьшения обратного впитывания применяются
сукна с тонкими волокнами ватки на лицевой стороне сукна.[5]
К видам бумаги, на обезвоживание которых решающее влияние оказывает
повышенное сопротивление полотна фильтрации воды, относится бумага,
вырабатываемая из массы высокой степени помола и бумага и картон с большой
массой 1м2. При прессовании такой бумаги следует в первую очередь
увеличивать продолжительность прессования. Поэтому наиболее рациональным в
данном случае является применение прессов с удлиненной зоной прессования. При
использовании прессов валкового типа увеличение продолжительности прессования
можно добиться, применяя валы большего диаметра с более мягкими покрытиями и
используя более тяжелые сукна. Целесообразно прибегать к подогреву бумажного
полотна.
Прессовая часть большей части современных машин состоит из компактного
многовального пресса с тремя или четырьмя зонами прессования, после которого
при необходимости может устанавливаться один или два отдельно стоящих
двухвальных пресса. Из наиболее часто применяемых схем прессовых частей можно
назвать следующие: Twinver пресс, Tri-Vent пресс, Tri-nip пресс, Bi-nip пресс,
универсальный пресс.[10]
Twinver
пресс состоит из пересасывающего, отсасывающего, гранитного и желобчатого валов
(рис.7.). Пресс позволяет уменьшить сеточную маркировку, поскольку сеточная
сторона бумажного полотна в двух захватах контактирует с гладкой поверхностью
гранитного вала. В третьей зоне прессования с гладкой поверхностью контактирует
верхняя сторона бумаги. Достоинством пресса является также то, что первая
открытая проводка бумажного полотна происходит после двух зон прессования.
Пресс обеспечивает легкое удаление брака. Недостатками данной конструкции
являются: возможность образования воздушных пузырей перед третьей зоной
прессования и опасность обрыва на открытом участке между второй и третьей
зонами прессования, сложность компоновки привода валов.
Рис.7. Twinver пресс: 1 гауч-вал; 2 - сукно-пикап;
3 - пересасывающий вал; 4 - верхний желобчатый вал; 5 - сукно; 6 - бумажное
полотно; 7 - гранитный вал; 8 - отсасывающий вал
Tri-nip пресс состоит из пересасывающего вала
и многовального пресса, образованного двумя желобчатыми, отсасывающим и
гранитным валами (рис.8.). Вместо гранитного вала часто применяется гладкий вал
с покрытием из заменителя гранита. В первой зоне, образованной нижним
желобчатым и отсасывающим валами, прессование происходит между двух сукон. Во
второй зоне, образованной отсасывающим и гранитным валами, и в третьей зоне,
образованной гранитным и верхним желобчатым валами, бумажное полотно прессуется
с одним сукном.
Рис.
Достоинством пресса является то, что первая открытая проводка полотна
происходит только после третьей зоны прессования, где бумажное полотно обладает
уже достаточно высокой прочностью. Для повышения эффективности обезвоживания
напротив второй камеры отсасывающего вала возможна установка паровой камеры.
Однако при этом надо учитывать и повышение температуры гранитного вала. Это
опасно как из-за возникновения температурных напряжений, способных привести к
разрушению вала, так и из-за пересыхания поверхности вала и нарушения
нормальной работы шаберов.
Недостатком Tri-nip пресса является высокая нагрузка на
отсасывающий вал, обусловленная его контактом с двумя валами. Это требует
увеличения толщины рубашки вала или уменьшения живого сечения поверхности по
сравнению с обычными отсасывающими валами. Более высокие требования
предъявляются и к покрытию вала. Оно должно иметь достаточно высокую твердость,
чтобы уменьшить потери на гистерезис в резине и, следовательно, уменьшить
разогрев покрытия. Иногда используется вал без покрытия. Разновидностью
рассматриваемой компоновки, позволяющей устранить эти недостатки, является
схема, показанная на рис.9.
Рис.9. Tri-nip пресс с дополнительным желобчатым валом: 1 -
гауч-вал; 2 - пересасывающий вал; 3 - сукно-пикап; 4 - отсасывающий вал; 5,7,13
- желобчатые валы; 6 - гранитный вал; 8 -верхнее сукно; 9 - бумаговедущий вал;
10 - бумажное полотно; 11 - паровая камера; 12 - нижнее сукно
В данной схеме гранитный вал поднят над отсасывающим валом, а вторая зона
прессования образована желобчатым и гранитным валами. Это позволяет увеличить
давление во второй и в третьей зонах прессования. Уменьшается опасность
чрезмерного нагрева гранитного вала при установке паровой камеры у
отсасывающего вала. Однако требуется применение дополнительного желобчатого
вала. Следует отметить, что в обоих вариантах имеет место разносторонность
вырабатываемой бумаги, поскольку ее сеточная сторона соприкасается с гранитным
валом два раза, а лицевая - ни разу.
Для уменьшения разносторонности прессовая часть, содержащая Tri-nip пресс, часто оснащается отдельно стоящим двухвальным
прессом. Такая прессовая часть используется на высокоскоростных машинах,
вырабатывающих писче-печатные виды бумаги. Типичные давления в зонах
прессования 65, 80 и 120 кН/м.[10]
Модификацией Tri-nip пресса является Bi-nip пресс (рис.10.), отличающийся отсутствием верхнего
желобчатого вала. Поскольку перед первым участком свободной проводки бумажного
полотна в этом случае имеется только две зоны прессования эту схему
целесообразно применять при выработке легко обезвоживаемых видов бумаги и
картона.
Рис.
На высокоскоростных машинах, вырабатывающих газетную бумагу, хорошо
зарекомендовала себя схема Tri-vent пресс (рис.11.). Пресс Tri-Vent отличается от более известного пресса Tri-Nip тем, что в трехзахватном прессе Tri-Nip первый и второй захваты образуются одним отсасывающим
валом. В прессе Tri-Vent отсасывающий вал используется только
для первого захвата в паре с желобчатым валом. Далее полотно вместе с сукном
первого пресса поступает во второй захват, образованный гранитным и желобчатым
валами. Третий захват с другим прессовым сукном образуется тем же гранитным
валом и еще одним желобчатым валом. Отсасывающий вал пресса Tri-Vent изготовлен из нержавеющей стали без резиновой
облицовки, а желобчатые валы имеют полиуретановые покрытия. Такая конфигурация
позволяет работать с более высокими линейными давлениями в захватах, а также
использовать паровую камеру у поверхности отсасывающего вала для корректировки
профиля влажности. Первая свободная проводка бумажного полотна происходит после
четырех зон прессования. Поэтому опасность обрывов даже при работе на высоких
скоростях мала.
Рис.11. Tri-Vent пресс: 1 - бумажное полотно; 2 - пересасывающий вал;
3 - сукно «пикап»; 4 - отсасывающий вал; 5, 8 - верхние сукна; 6, 7, 12 -
желобчатые валы; 9 - бумаговедущий валик; 10 - гранитный вал; 11 - нижнее
сукно; 13 - сетка.
Для выработки тяжелых видов бумаги и картона используются универсальные
пресса, отличающиеся очень компактной конструкцией. Например, трехвальный Combi пресс (рис.12.). В этом прессе
первый вал отсасывающий с двумя камерами - широкой и узкой. Второй вал
гранитный, третий - желобчатый. Первый и третий валы - приводные.
Преимуществами этого пресса являются; способность работать с бумагой разной
массы 1м2; нет опасности отделения бумажного полотна от
пересасывающего сукна повышение гладкости сеточной стороны; легкость удаления
брака.
Рис.
При необходимости в прессовой части может быть добавлен отдельно стоящий
пресс. В последнее время в этом качестве часто используется пресс с валами
большого диаметра, что позволяет существенно повысить сухость после прессовой
части.
Повышение производительности бумагоделательных машин возможно двумя
путями: увеличением ширины машин и увеличением рабочей скорости. Увеличение
ширины машин сопровождается повышением веса узлов машины, в частности
прессовых, бумаговедущих, сукноведущих валов. При увеличении расстояния между
опорами валов возрастают изгибающие моменты, а, следовательно, прогибы и
напряжения. Более простой путь - повышение рабочей скорости. Однако в этом
случае возникают проблемы с отделением бумажного полотна от прессовых валов.
Для примера рассмотрим процесс отделения бумажного полотна от центрального вала
многовального пресса (рис.13.).[12]
Для отделения бумажного полотна требуется преодолеть силу адгезии между
поверхностью вала и полотном, силу притяжения полотна к валу, обусловленную
разрежением, создающимся между полотном и поверхностью вала в месте отделения,
центробежную силу, также прижимающую полотно к валу. Кроме того, в результате
вращения бумаговедущего валика создается граничный поток воздуха, который,
также воздействуя на бумажное полотно, препятствует его отделению от вала. Для
преодоления этих сил необходимо натяжение бумажного полотна, которое
достигается повышением скорости следующих за центральным валом валов. Для
устранения влияния вакуума, возникающего между полотном и поверхностью вала,
применяются специальные устройства, подобные устройству, показанному на
(рис.14). Данное устройство представляет собой трубу, в которую подается под
определенным давлением воздух. Труба снабжена соплами, расположенными на
определенном расстоянии Друг от друга. Положение трубы можно регулировать,
обеспечивая попадание воздуха в место отделения бумажного полотна от
поверхности вала. Для определения точного положения линии отделения бумажного
полотна от вала служит лазерный датчик положения. Для очистки сопел от мелкого
волокна и других посторонних частиц устройство снабжено очистным шабером.[5]
Рис.14. Устройство для облегчения отделения бумажного полотна от
поверхности вала: 1 - вал; 2 - датчик положения; 3 - бумаговедущий вал; 4 -
бумажное полотно; 5 - очистной спрыск ; 6 - воздушное сопло; 7 - шарнир; 8 -
шабер
Рис.
Однако, как известно, центробежная сила пропорциональна квадрату скорости
и массе 1 м 2. Поэтому при высоких скоростях (порядка 1600 - 1800
м/мин) необходимое для отделения полотна от вала натяжение в основном определяется
именно этой силой. Поскольку необходимая величина натяжения становится больше
прочности полотна, использование многовальных прессов при работе на высоких
скоростях стало невозможным.
С увеличением скорости машин и содержания в композиции бумаги и картона
полуфабрикатов высокого выхода и макулатуры возникла необходимость в
существенном увеличении продолжительности прессования. Обойти эти трудности
стало возможным, применяя в прессовых частях башмачные прессы (см. выше).
Типичная прессовая часть высокоскоростной машины выглядит следующим образом
(рис. 15.).[12]
Рис. 15. Прессовая часть высокоскоростной машины
Прессовая часть состоит из двух одинаковых прессов с удлиненной зоной
прессования. Вал с башмаком и с гибкой оболочкой устанавливается в верхней
позиции, более тяжелый вал с регулируемым профилем - в нижней позиции. В этой
прессовой части отсутствует открытая проводка бумажного полотна, что позволяет
полностью исключить опасность обрывов из-за чрезмерного натяжения полотна при
снятии его с пресса. Для надежного отделения бумажного полотна от верхнего
сукна сукноведущий валик нижнего сукна, устанавливаемый в месте разделения
сукон, имеет отсасывающую камеру. Отделение бумажного полотна от нижнего сукна
1-го пресса и передача его на верхнее сукно 2-го пресса осуществляется при
помощи отсасывающего сукноведущего валика верхнего сукна 2-го пресса. Также
отсасывающий валик обеспечивает надежную передачу бумажного полотна из
прессовой части в сушильную часть. В обоих захватах прессование проводится
между двух сукон, которые подбираются таким образом, чтобы обеспечить
одинаковое количество воды, выжимаемой с верхней и нижней поверхностей бумаги.
Использование прессов башмачного типа позволяет даже при работе на высоких скоростях
получать высокую сухость бумажного полотна после прессовой части. При выработке
легковесных видов бумаги второй пресс может работать без нижнего сукна с целью
уменьшения влияния обратного впитывания на сухость полотна после пресса.[10]
Прессовые сукна
Прессовые сукна оцениваются эффективностью обезвоживания бумаги,
отсутствие ее маркировки, продолжительностью и стабильностью работы на машине,
временем обкатки и легкости установки на машине. Сукна должны обладать
следующими свойствами: высокой пористостью, низкой сжимаемостью при высоких
давлениях, стабильностью размеров, быстро обкатываться, легко очищаться, не
допускается выпадения из сукна отдельных волокон. Сукно не должно вызывать
вибрации прессовых валов. Большинство требований может быть обеспечено при
использовании в сукне сетчатого каркаса двух или трехслойного. Новое сукно не
обладает полной обезвоживающей способностью т.к. из-за большой толщины и не
ровной поверхности давление распределяется неравномерно. Вследствие высокой
пористости новое сукно вносит в зону контакта большое количество воды и на
щелевых сукномойках невозможно поднять вакуум (сукно не очистить). Не
уплотненный ворс вносит в зону контакта воздух, который вытесняется из
прессового зазора, образует между сукном и полотном бумаги воздушный пузырь,
приводящий к обрыву бумажного полотна, поэтому обкатка длится не менее 1-2
часов до 8 часов. Сукно выходит из эксплуатации не из-за износа, а из-за
забивания его структуры мелким волокном и наполнителем. Применяются два типа
сукон тканые и с сетчатым каркасом. Тканые сукна могут быть шерстяные и игла
пробивные. 90% машин в России имеют шерстяные сукна с массой одного метра
квадратного от 480 до 1000 гр. Второй тип сукон имеют тканый каркас ИКП-13,
ИКП-20. На тканый каркас наносится ватка (ворс), но эти сукна сильно
деформируются в зоне контакта валов, что сильно ухудшает их обезвоживающую
способность. На высокоскоростных машинах применяется сукно иглопробивное с
сетчатым каркасом. Достоинством сукон с двухслойным и трехслойным каркасом
является то, что они могут вбирать в себя и выносить из зоны контакта почти всю
отжатую воду. Они очень мало деформируются в зоне контакта валов. В качестве
каркаса используют моно филаментные нити диаметр от 0,2 до 0,5 мм.
Сукна с сетчатым каркасом не могут складываться в гармошку как тканые
сукна, поэтому при одевании на машину они растягиваются как сетка. Масса одного
метра квадратного этих сукон доходит до 2100 грамм. Доля каркаса составляет до
60%. Срок службы прессовых сукон достигает 30-40 суток, длина сукон от 12 до 28
метров. Сукна без швов ткутся чулком.Они обеспечивают эффективное обезвоживание
бумаги, отсутствие маркировки, стабильную работу машины. К ним предъявляют
следующие требования: достаточно высокую пористость; низкая сжимаемость при высоком
давлении; они должны достаточно быстро обкатываться; обладать способностью к
очистке; не должны допускать выпадение отдельных волокон и ворсинок сукна; не
должны вызывать автовибраций.
Указанные требования обеспечиваются при использовании в сукне 2-х или 3-х
слойного сетчатого каркаса. Новые сукна не обладают полной обезвоживающей
способностью, т.к. из-за большой толщины и недостаточно ровной поверхности
давление распределяется не равномерно. Вследствие высокой пористости это сукно
вносит в зону контакта большое количество воды и на щелевых сукномойках высокий
вакуум будет поднять не возможно и невозможность очистки. Не уплотнённый ворс
вносит в зону контакта воздух кот. вытесняется из прессового зазора при этом
может возникнуть воздушный пузырь, ведущий к обрыву. Желательно время обкатки
свести к одной смене. Основными типами применяемых сукон являются: тканные и с
сетчатом каркасом. Тканые сукна бывают шерстяные (масса 1 м2 до
1000г) и иглопробивные. Иглопробивные сукна имеют тканый каркас на кот. наносится
ватка (ворс), но эти сукна сильно деформируются в зоне контакта, что ухудшает
их обезвоживающую способность. На высокоскоростных машинах применяют
иглопробивные сукна с сетчатым каркасом. 2-х, 3-х слойный каркас позволяет
вбирать в себя и выносить из зоны контакта почти всю отжатую воду, при этом они
мало деформируются в зоне контакта валов. Сукна с сетчатым каркасом не могут
складываться в гармошку как тканые сукна, поэтому при одевании на машину их
растягивают как сетку. Масса 1 м2 достигает 2 и более кг. Длина
сукон от 10 до 28 м, срок службы до 30-40 дней. Современные сукна делаются
бесшовные. Применение желобчатых прессов не ограничено скоростью машин, весом и
видом бумаги, поэтому они наиболее широко используются в прессовых частях
машин. Желобчатые обратные отсасывающие прессы применяют в настоящее время как
передаточные на машинах для выработки мелованной бумаги. Они работают только с
верхним сукном. Трехвальные наклонные прессы типа «Твинвер» устанавливают на
машинах для выработки газетной, иногда мешочной бумаги. При выработке мешочной
бумаги, помимо юни-прессов, в качестве первого пресса иногда применяют
раздельные прессы (трехвальные) с двумя желобчатыми валами и двумя зонами
контакта: верхняя -для сукна, нижняя - для бумаги. Этот пресс применяют и на
машинах для выработки тонкой бумаги и бумаги-основы для мелования. При
установке такого пресса уменьшается разносторонность бумаги, легко удаляется
брак, возможно применение высокого давления и получение высокой сухости полотна
(до 40%).[12]
Пути интенсификации обезвоживания бумажного полотна в
прессовой части. Новые обезвоживающие устройства в прессовой части и новые типы
сукон
На прессовой части не достигается теоретически достижимая сухость,
которая равна 65% и более %, это происходит из-за не высокого прессового
импульса и впитывания во второй фазе обезвоживания.
Методы интенсификации:
¾ увеличения
прессового импульса (
, кН/м2, Pср-среднее
удельное давление, τ-время прессования), увеличение τ происходит за счёт применение валов большого
диаметра, применения более мягкой облицовки вала, за счёт использования 2-х
сукон и башмачных прессов;
¾ прессование
между 2-х сукон;
¾ подогрев
бумажного полотна (вязкость воды уменьшается);
¾ кондиционирование
прессовых сукон (поддерживать чистое состояние);
¾ совмещения
процессов прессования и сушки.[8]
Описание картоноделательной машины
Машина была изготовлена в 1911г. в Германии. На Сухонском ЦБК установлена
и пущена в эксплуатацию в 1950г. Машина имеет габаритные размеры :
длина - 48610 мм, ширина - 4700 мм, высота - 5300 мм, рабочая скорость
170 м/мин.
В сеточной части установлен напорный ящик закрытого типа, который имеет
габаритные размеры габаритные размеры:
высота - 2115 мм, длина - 2340 мм, ширина налива - 3500 мм, общая ширина
- 3900 мм.
Сеточный стол - плоский, разборный, имеет габаритные размеры:
Длина стола - 12000 мм
Грудной вал : диаметр - 500 мм, длина - 3720 мм
Ящик с пакетом гидропланок ( пять планок)- 4 шт., материал - ROJBAGLAS, длина-3700 мм, ширина -65 мм.
Мокрый ящик (с пятью обезвож. платинами) - 4 шт., покрытие - ROJBAGLAS, угол наклона 2-30,
длина-3700 мм, ширина -65 мм.
Имеются отсасывающие ящики: количество 7 шт
ящика с карбид-кремниевым покрытием
Ширина - 290 мм
ящика с покрытием из полиэтилена ширина - 310 мм
ширина отсасывающей зоны ящиков 1380 мм. Величина вакуума отсасывающих
ящиков от 0,1 до 0,25 кг/см2
Так же есть сетковедущие валики: диаметр - 210 мм, длина 3750 мм,
количество - 6 шт
отражатели - 14 шт. Сеткоправка ручная, червячная 2 шт. Сетконатяжка 1 шт
ручная рычяжная. Отсечки-водяные. Спрыск высокого давления - 1шт.
Установлен гауч-вал отсасывающий диам. 800 мм, длина 3600 мм, угол
поворота камеры 30°
Прессовая састь состоит из: 1 пресс-отсасывающий, верхний вал гранитный
д-650мм, нижний отсасывающий д-700мм длина по бочке 3550 мм
угол поворота камеры 16°
пресс-прямой обычный
д-600 мм, 600 мм
Твердость резины нижних валов 1-го и 2-го прессов - 15+3 Пуссей-Джонса
Бумаговедущие валы машины:
диаметр - 120 мм, длина - 3800 мм, количество - 4 шт.
Сукноведущие валы:
диаметр - 200мм, длина - 3800 мм, количество - 22 шт
Механизм подъема и прижима - пневмоприжим
Сукномойка-вальцовая
Сукнонатяжка-ручная червечная
Сукнонаправка- ручная
Заправка плотна с прессовой части на сушку - ручная
Спрыск высокого давления - 2 шт.
Сушильная часть:
Сушильная часть разделена на Ш группы :
1 группа - 8 цилиндров, номер приводного цилиндра 3,5
II
группа - 8 цилиндров, номер приводного цилиндра 11,13
Ш группа - 8 цилиндров, номер приводного цилиндра 19,21
Цилиндры сушильной части:
Сушильные цилиндры:
длина - 3450 мм, диаметр - 1250 мм, количество - 24
Холодильный цилиндр :
длина - 3450 мм, диаметр - 1000 мм
Валы сушильной части :
Сетковедущие валы :
длина - 3350 мм, количество 67 шт.
Станины литые - коробчатые
Привод клиноременный, регулирующий 5-ти ручьевой.
Количество приводных точек-9
Мощность эл.двигателя 400 кВт тип привода продольный.
Удаление конденсата черпаками. Подвод пара и удаление конденсата с
приводной стороны
Заправка бумажного полотна с сушильной части в каландр и накат- ручная.
Сеткоправка -автоматическая. Сетконатяжка - ручная. Пар насыщенный, давление
пара 3,0.Колпак открытого типа.
Машинный каландр:
Двухвальный с ручным прижимом
Заправка бумаги в каландр-ручная. Между валами каландра-воздушная.Нижний
вал-диаметр 600мм длина-3350 мм. Верхний вал:
диаметр - 310 мм, длина- 3350 мм.
Сканер:
Влагомер- кассетного типа, пределы измерения влажности - 0,1-15%,
погрешность измерения влажности не более +0,2%, питание - 24В
Измеритель скорости- диапазон измеряемых скоростей-15-999м/мин,
Диаметр измерительных валов -0,3-0,2 м,
Тип используемого датчика оборотов- оптический(либо магнитный), питание -
+24В, мощность не более - 20 Вт
Датчики- обрыва, смены тамбура, края полотна, давления, «Гараж»,
«Нуль-позиция».
Пульт ручного управления.
Привод-55 кВт.
Накат:
накат периферический
охлаждение - водяное
Цилиндр наката:
диаметр - 1250 мм, длина - 3450 мм.
Тамбурный вал:
диаметр - 270 мм, длина - 3450 мм.
Анализ состояния парка бумагоделательных машин пущенных и
модернизованных в последние годы
Для принятия технических решений по модернизации прессовой части КДМ №2
«Сухонского ЦБК» рассмотрим решения которые были приняты на подобных машинах
(по выпуску картона для плоских слоев и бумаги для гофрирования) по всему миру
за последние годы. Эти данные позволят нам выбрать оптимальное решение для
модернизации машины и сделать минимальные расходы для ее осуществления.
Модернизация позволит нам увеличить скорость машины до ее максимально возможной
и повысить качество выпускаемой продукции и при положительном результате
оправдать те средства которые были затрачены на ее осуществление.
Таблица1
|
Название фабрики. Страна
|
Год
|
Компания проводившая модернизацию
|
Продукция
|
Ширина
|
Масса м2
|
Скорость м/мин.
|
Производительность
|
Какие решения были приняты
|
|
1
|
2
|
3
|
4
|
5
|
6
|
7
|
8
|
|
Lee manPaper,Допддиан(Китай) БДМ №4
|
2002
|
Voith Paper
|
Тест-лайнер, флютинг
|
5980
|
90-200
|
631-1100
|
1000
|
Напорный ящик Masterjet. Устанавливается Top Copter c. Duo Former. Прессовая часть tip-nip Duo Centru, Nipco Flex Press. Сушильная часть состоит из 3 Top duo Run. Каландр 2 вальный. Накат TR-125
|
|
Хальбуельштоф-индустрия (Германия) БДМ№5
|
2003
|
Фойд
|
Тест-лайнер, флютинг
|
6056 необрезная
|
75-120
|
90-12000
|
850
|
Сеточная часть формующее устройство Duo Former. Прессовая часть Duo Flex, Nipco Flecs, с башмачными прессами. Предсушильная часть 3
одноярусные сушильные группы. Досушивающая часть одноярусная сушильная группа
16 цилиндрами. Накат Master Ree
|
|
Гуи Лань (китай)
|
2004
|
Фойд
|
Тест-лайнер, флютинг
|
7000
|
90-240
|
1300
|
1000
|
Напорный ящик MasterJet с гидродинамическими пластинками, оснащенный формующим
валом с повышенным вакуумом. Пресс Duo Centry Nipco Flex, с двойным вакуумом
|
|
Pama (Англия)
|
|
Milis Scpulte Tresten
|
Тест-лайнер, флютинг
|
4260
|
100-270
|
1000
|
|
Установлен гидравлический напорный ящик высокой
турбулентности, с коллектором. В прессовой части установлен пресс с изогнутым
башмаком
|
|
1
|
2
|
3
|
4
|
5
|
6
|
7
|
8
|
9
|
|
CША Smart Sit-stone
|
|
|
Флютинг
|
|
100-200
|
400-600
|
|
Применены вибрации гидропланок, это увеличивает сухость
27-28%, Сокращается использование пара на 5%
|
|
Adolf Jars (Германия)
|
2007
|
Void Paper
|
Тест-лайнер, флютинг
|
750
|
75-110
|
500
|
4000
|
Машина новая, оснащена формующим устройством Duo-Former, формующий ящик для формирования 2
слойного картона
|
|
ОАО «Архангельский ЦБК» (Россия)
|
|
|
Картон, флютинг, гофрокартон
|
|
|
400
|
|
В прессовой части поставлен пресс с валами большего
диаметра
|
|
Братсккомплексхолдинг ОАО
|
|
|
Картон для плоских слоев
|
|
120-170
|
620
|
|
Установлен напорный ящик основного слоя
|
|
ООО «Картон и упаковка»г. Учалы
|
2004
|
|
Картон для плоских слоев
|
4600
|
|
|
|
Установлен высоконапорный ящик, прессовая часть
укомплектована прессом с валами большего диаметра
|
|
ЗАО «Картонотара»
|
2008
|
|
Картон для плоских слоев гофрирования
|
4200
|
112-140
|
300
|
|
В место 2 и 3 пресса установлен пресс с расширенной зоной
прессования
|
Технические решения, принятые в проекте
Прессовая часть картоноделательной машины по производству картона для
плоских слоев гофрокартона состоит из двух прессов, комбинированного пресса с
гранитным, желобчатым и отсасывающими валами, и прессом с валами большего
диаметра. На основе анализа прессовых частей картоноделателных машин
модернизированных в последние годы их недостатков и преимуществ, руководствуясь
темой данного дипломного проекта можно считать оптимальным использованием
комбинированного пресса, и пресса с валами большего диаметра. Существующую
прессовую часть можно заменить новой, что даст ряд приемуществ:
сухость бумажного полотна увеличится на 3%;
увеличится зона прессования;
Улучшаются прочностные свойства бумаги в результате лучшего процесса
прессования;
Технологические расчеты. Характеристика изготавливаемой
продукции
Таблица 2 Требуемые свойства изготавливаемей продукции
|
Тип продукции
|
Параметр
|
значение показателя
|
|
Бумага для гофрирования ТУ 5441-003-10578065-2004
|
1.Масса бумаги 1 м2, г
|
150±6
|
|
2.Разрушающее усилие, Н, не менее: в машинном направл.
|
60
|
|
3.в поперечном направл.
|
10
|
|
4.Массовая доля золы, %, не более
|
10
|
|
5.Влажность, %
|
7+2-1
|
|
6.Степень помола, ºШР
|
30
|
Расчет обезвоживания
Сухость бумаги после прессования определяется по формуле:
, %
где
- сухость бумаги после прессования, %;
A - коэффициент,
характеризующий конструкцию пресса,
Для
отсасывающего пресса:
,
где
H - вакуум в отсасывающей камере;
В
- ширина отсасывающей камеры;
Н= 500 мм рт. ст., В=100 мм
m - коэффициент,
зависящий от массы 1 м2 бумаги и скорости прессовой части
-
сухость сукна перед прессом, % принимаем равным
-
сухость бумажного полотна перед прессом
qб - масса 1 м2 бумаги, г/ м2, qб=150г/м2
β - коэффициент массы 1 м2 бумаги β=-0.13
V - скорость
машины, м/мин, Vр= 300
м/мин
ШР
- степень помола массы, ºШР, ШР=30ºШР
γ, θ, ω, ε, ψ - опытные коэффициенты: для
отсасывающего пресса:
γ=0,091, θ=0,291, ω=0,25, ε=0,085, ψ=0,145
Среднее удельное давление между валами, определяется по формуле :
, кг/см2
где
q - линейное давление на прессах: q=60кН/м
D - наружный
диаметр вала, D=400 мм.
T - твердость
резинового покрытия, T=20 ед. по прибору ТШМ - 2
I зона: Среднее
удельное давление между валами:
=17,7
кг/см2 = 1,77 МПа
Сухость
бумаги после первой зоны прессования (1):
для
обычного пресса:
γ=0,123, θ=0,07, ω=0,25, ψ=0,145
=33,8%
II зона: Среднее
удельное давление между валами:
=21,9
кг/см2 = 2,19 МПа
A - коэффициент,
характеризующий конструкцию пресса,
Для
желобчатого пресса:
,
где
t - шаг между желобами, мм;
b - ширина
канавок, мм;
t=3 мм ; b=0,5
мм;
Сухость
бумаги после второй зоны прессования (1):
γ=0,145, θ=0,07, ω=0,131, ε=0,055, ψ=0,145
=38,8%
III зона:
Среднее
удельное давление между валами (2):
=14,4
кг/см2 = 1,44 МПа
Сухость
бумаги после третьей зоны прессования (1):
γ=0,123, θ=0,07, ω=0,131, ε=0,055, ψ=0,145
=42%
Расчет
производительности машины
Производительность
машины до модернизации:
Кг/сут. (3)
q-
масса 1м2 продукции, q=150г/м2
В=2,52м.
К1-коэффициент учитывающий холостой ход и брак при резке и
отделке бумаги, К1=0,975.
К2-коэффициент использования скорости машины, К2=0,9.
К3-Расчетное число часов работы машины в сутки, К3=23.
Q=0,06
2,52
180
150
0,975
0,9
23=82,3 т/сут.
Производительность
машины после модернизации:
Q=0,06
2,52
300
150
0,975
0,9
23=137,3 т/сут.
Конструктивные расчеты прессовой части. Расчет гранитного
вала на прочность и жесткость
Рис.16. Узел гранитного вала
Гранитный вал является самым тяжелым валом во всей машине. На него
действуют следующие нагрузки: [6]
- усилие со стороны отсасывающего вала;
- давление верхнего прижимного вала;
- горизонтальная составляющая веса вала.
Данные для расчета:
1. линейное давление между гранитным и отсасывающем валами: q2=80кН/м;
2. линейное давление в третьей зоне прессования q3=90кН/м;
. длина рабочей части вала b=3,5м;
. расстояние между опорами l=4м;
. ориентировочная масса гранитного вала 25000 кг.
Давление отсасывающего вала на гранитный:
Давление
прижимного вала на гранитный в третьей зоне прессования:
Горизонтальная
составляющая веса гранитного вала:
Гранитный
вал рассчитывается на прочность и жесткость, и должен удовлетворять следующим
требованиям:
1. сила трения между шайбами и гранитным цилиндром должна быть
больше силы, смещающей сердечник относительно цилиндра;
2. по плоскости соприкосновения с гранитным цилиндром шайба не
должна отходить от него под действием изгибающего момента от нагрузки на опоры,
т.е. это условие не раскрытия стыка.
Гранит является анизотропным материалом с различными пределами прочности
на сжатие и растяжение. sсж=140-250
МПа, sраст=10 - 40 МПа, m - коэффициент Пуассона для гранита m=0,15 относительно продольной и
относительно поперечной. Условие прочности будет иметь следующий вид:
где
σсж -
напряжения сжатия в гранитном цилиндре от сжатия шайб;
-
напряжения изгиба.
Напряжение
сжатия будет равно:

где
D и d - наружный и внутренний диаметр гранитного цилиндра
Т0
- расчетное усилие сжатия гранитного цилиндра шайбами,
;
где
T - сила прижатия шайб к граниту. Определяется из
условия отсутствия смещения гранитного блока относительно шайб.
,
где
- коэффициент трения между поверхностями гранитного
вала и шайбами,
R -
равнодействующая сил, приложенных к валу.
Напряжение
изгиба в гранитном блоке будет равно:
где M - максимальный изгибающий момент,
действующий по середине вала;
W -
момент сопротивления поперечного сечения гранитного цилиндра.
Момент
сопротивления самого сердечника и бетонной подливки не учитываем ввиду их
малости.
Момент
сопротивления поперечного сечения гранитного цилиндра равен:
После
подстановки выражений для M и W в формулу (3), имеем:
Условие
прочности гранитного блока после подстановки σсж и
в (1) примет вид:
Условие
жесткости гранитного вала определяется по формуле:
E -
модуль Юнга для гранита, E=(5-8)∙1010
Па;
Y -
момент инерции поперечного сечения гранитного цилиндра, м4;
Решаем систему из уравнений 4 и 5:
Подставляем
численные значения:
Производим
алгебраические преобразования:
Решая
полученную систему уравнений, находим значения диаметров гранитного цилиндра: D=0,65м,
d=0,4м. Учитывая конструктивные особенности узла,
принимаем D=0,65м, d=0,4м.
Проверка
условия нераскрытия стыка
При
расчете гранитного вала необходимо проверить условие нераскрытия стыка: [17]
Подставляем числовые значения:
Условие
нераскрытия стыка выполняется. [2], [1]
Расчет
цапфы гранитного вала
Изгибающий
момент в опасном сечении:
Расчет
цапфы гранитного вала аналогичен расчету цапфы отсасывающего вала:
, МПа,
где
где εσ - масштабный фактор;
σ-1 -
предел выносливости для стали 45, из которой изготавливается цапфа
отсасывающего вала, σ-1=360МПа
[4];
Кб
- коэффициент концентрации напряжений, Кб=2,28;
εп -
поверхностный фактор;
[nб] - запас прочности [nб]=2,5
Момент сопротивления сечения равен:
,
Отсюда
dц равен:
Исходя
из конструктивных соображений принимаем диаметр цапфы равным d=180мм.
Выбор
и расчет подшипников на долговечность. [20]
Выбираем
подшипник роликовый радиальный сферический двухрядный самоустанавливающийся
серии 3003136 с характеристиками:
d=200мм D=400мм
B=148мм Cн=2250
Расчетная
долговечность подшипника определяется по формуле:
,
где
[Ln] - допустимая долговечность подшипника, [Ln]=100000 часов;
n - частота
вращения вала, об/мин
Cн - динамическая грузоподъемность выбранного подшипника
P -
эквивалентная динамическая нагрузка, определяемая по формуле:
, Н
где
- температурный коэффициент,
;
-
коэффициент безопасности,
;
V - коэффициент
вращения, V=1;
-
радиальная нагрузка;
;
- осевая
нагрузка,
;
x - коэффициент
радиальной нагрузки, x=1;
;
m - степенной
коэффициент , m=10/3.
часов
Условие
долговечности выполняется. Выбранный подшипник походит.
Расчет отсасывающего вала на прочность и жесткость
Рис.17. Узел отсасывающего вала
В процессе работы на отсасывающий вал следующие силовые факторы: (рис.)
- усилие со стороны желобчатого вала
- усилие со стороны гранитного вала
- равнодействующая натяжения сукна
- усилие от вакуума в отсасывающих камерах
- давление уплотнений в отсасывающих камерах
Данные для расчета отсасывающего вала(b - ширина вала, b=3,5м):
1. усилие
со стороны нижнего вала
. равнодействующая
от натяжения сукна
3. усилие
со стороны гранитного вала
. усилие
от вакуума:
- со стороны
первой отсасывающей камеры(
- ширина
камеры, равная 3,5м):
-
- со стороны второй отсасывающей камеры:
- со стороны третьей отсасывающей камеры:
Так как погрешность при вычислении не превышает 5%, для расчетов
принимаем, что усилие со стороны желобчатого вала и от вакуума в первой камере
направлены по вертикальной оси отсасывающего вала. Это значит, что вес рубашки
вала на расчет не влияет, так как нагрузка полностью приходиться на желобчатый
вал, и включается в линейное давление. Давлением, уплотнений, пренебрегаем
ввиду его малости.
Рис.18. Схема нагрузок, действующих на отсасывающий вал
Для того, чтобы найти равнодействующую, необходимо построить силовой
многоугольник (рис. )
Условие прочности перфорированного цилиндра:
, МПа,
где:
М - изгибающий момент в опасном сечении вала;
W - момент
сопротивления в опасном сечении вала;
[σ] - допускаемое напряжение в опасном сечении вала.
Максимальный
изгибающий момент на валу находиться по формуле:
Допускаемое
напряжение:
, МПа,
где
ε - масштабный фактор, ε =0,5[4];
σ-1 -
предел выносливости для стали 20Х13, из которой изготавливается перфорированный
цилиндр отсасывающего вала, σ-1=260МПа[4];
εn -
поверхностный фактор, εn=0,8[4];
[n] -
коэффициент запаса прочности, [n]=2,25;
- коэффициент концентрации напряжений,
=2,8
Необходимый
момент сопротивления поперечного сечения вала:
Условие
жесткости цилиндра:
,
где
ε - относительный прогиб, который доже находиться в
пределах от
до
. Для
расчета принимаем
;
R -
равнодействующая сил, которая действует на вал, Н;
E - модуль Юнга,
E=2∙1011 Па;[19]
Y - момент
инерции поперечного сечения отсасывающего вала, м4;
Из
условия жесткости выводим формулу минимального момента инерции:
,
м4;
Так
как отсасывающий вал должен удовлетворять условиям жесткости и прочности
одновременно, то средний диаметр перфорированного вала, и его геометрические
характеристики определяются из следующей системы:
,
где
Dср -
средний диаметр перфорированного цилиндра;
δ - толщина стенки перфорированного цилиндра;
разделим
первое уравнение на второе:
Dср=0,7м
δ=0,064м
С
учетом резиновой оболочки δрез=25мм:
D= Dср+δ+δрез=0,7+2∙0,064+2∙0,025=0,88м
Для
компенсации ослабления от перфорации, увеличиваем диаметр на 10%:
D=0,88*1,1=0,968м
Учитывая
конструктивные особенности узла, принимаем D=1,04м.
Расчет
цапфы отсасывающего вала
Изгибающий
момент в опасном сечении:[19]
Рис.19.
Схема нагрузок, действующих на цапфу отсасывающего вала
Определяем
допускаемое напряжение:
, МПа,
где
εσ - масштабный фактор;
σ-1 -
предел выносливости для стали 45, из которой изготавливается цапфа
отсасывающего вала, σ-1=360МПа[4];
Кб
- коэффициент концентрации напряжений, Кб=2,28;
εп - поверхностный
фактор;
[nб] - запас прочности [nб]=2,5.
Момент
сопротивления сечения равен:
,
Отсюда
dц равен:
Внутренний
диаметр равен:
Учитывая
конструктивные особенности и условия эксплуатации принимаем наружный диаметр
равным 400мм.
Выбор
и расчет подшипников на долговечность
Выбираем
подшипник роликовый радиальный сферический двухрядный самоустанавливающийся
серии 3113172К с характеристиками:
d=400мм D=600мм
B=140мм Cн=3820кН
,
где
[Ln] - допустимая долговечность подшипника, [Lh]=100000
часов;- частота вращения вала, об/мин
н
- динамическая грузоподъемность выбранного подшипника- эквивалентная
динамическая нагрузка, определяемая по формуле:
, Н
где
- температурный коэффициент,
;
-
коэффициент безопасности,
;- коэффициент вращения, V=1;
-
радиальная нагрузка;
;
- осевая
нагрузка,
;
x - коэффициент
радиальной нагрузки, x=1;
;
m -степенной
показатель, m=10/3.
часов
Условие
долговечности выполняется. Выбранный подшипник походит.
Расчет
вала большего диаметра
Рис.20. Узел вала большего диаметра.
На вал действуют следующие нагрузки:
давление верхнего прижимного вала;
горизонтальная составляющая веса вала.
Данные для расчета:
1.линейное давление между валами: q1=90кН/м;
2.длина рабочей части вала b=3,5м;
.расстояние между опорами l=4,5м;
.ориентировочная масса вала G=10000 кг.
Общая нагрузка, действующая на вал:
Горизонтальная составляющая веса вала:
Рис.
Условие прочности вала:
;
где
M- изгибающий момент инерции посередине вала, равный
W - момент
сопротивления для трубчатых валов, равный
[d] - допускаемое напряжение для сечения посередине
пролета вала из чугуна СЧ 21, при прогибе равный 100 Мпа;
e - масштабный фактор,
равный 0.5
n - запас
прочности для СЧ 21, равный 3.0
Мпа
Тогда,
условие прочности примет вид:
Па
Условие
жесткости вала будет:
;
где
Е - модуль упругости чугуна, равный 1011 Па
Y - момент
инерции поперечного сечения вала,
Равный
Условие
жесткости вала после преобразования принимает вид:
Выбор и расчет подшипников на долговечность.
Выбираем подшипник роликовый радиальный сферический двухрядный
самоустанавливающийся серии 3113172К с характеристиками:
d=400мм
D=600мм B=140мм Cн=3820кН
Расчетная долговечность подшипника определяется по формуле:[20]
,
где
[Ln] - допустимая долговечность подшипника, [Lh]=100000
часов;- частота вращения вала, об/мин
н
- динамическая грузоподъемность выбранного подшипника- эквивалентная
динамическая нагрузка, определяемая по формуле:
, Н
где
- температурный коэффициент,
;
-
коэффициент безопасности,
;- коэффициент вращения, V=1;
-
радиальная нагрузка;
;
- осевая
нагрузка,
;
x - коэффициент
радиальной нагрузки, x=1;
;
m -степенной
показатель, m=10/3.
часов
Условие
долговечности выполняется. Выбранный подшипник походит.
Расчет потребляемой мощности. Расчет потребляемой мощности
для первого сукна
TI=T1+T2+T3+ T4+T5
где T1 - тяговое усилие для преодоления трения в подшипниках
валов;
T2 - тяговое усилие для преодоления
трения качения между отсасывающим и желобчатым валами;
T3 - тяговое усилие для преодоления
трения в уплотнениях отсасывающего и пересасывающего валов;
T4 - тяговое усилие для преодоления
трения сукна о сукномойки;
T5 - тяговое усилие для преодоления
трения шабера о вал.
Тяговое усилие для преодоления трения в подшипниках валов:
,
где
Q - нагрузка на вал, кН;
-
приведенный коэффициент трения в подшипниках;
d - диаметр
цапфы, мм;
D - диаметр
вала, мм.
¾ Для пересасывающего вала равно:
,
¾ для отсасывающего вала:
,
¾ для сукноведущего валика:
.
Общее
тяговое усилие равно:
,
где
5 - число сукноведущих валиков.
Тяговое
усилие для преодоления трения между валами: [2]
где
k - коэффициент трения качения между валами, k=0,001
[2];
Q - давление
между валами,
, кН где q - линейное давление между
валами, b - длина рабочей части вала;
D - диаметр
вала, м.
Для
преодоления трения между:
¾ отсасывающим и желобчатым валами:
отсасывающим
и гранитным валом:
Общее
тяговое усилие равно:
Тяговое
усилие для преодоления трения в уплотнениях отсасывающего и пересасывающего
валов:
где
h - давление уплотнений на внутреннюю поверхность
рубашки,
;
-
площадь соприкосновения уплотнений с рубашкой, где a - ширина
уплотнений, b - длина уплотнений;
-
коэффициент трения между внутренней поверхностью рубашки и уплотнением,
[2]
-
внутренний диаметр рубашки, м
D - наружный
диаметр вала.
Тяговое
усилие для преодоления трения в уплотнениях валов:
¾ отсасывающего:
¾ пересасывающего:
Общее тяговое усилие для преодоления трения в уплотнениях валов равно:
Тяговое
усилие для преодоления трения сукна о сукномойки:
где n - количество сукномоек;
где
- площадь щелей сукномоек;
a - ширина щели;
b - длина щели;
- средняя
величина вакуума в сукномойках,
;
-
коэффициент трения,
.
;
.
Тяговое
усилие для преодоления трения шабера о вал:
,
где
- коэффициент трения шабера о вал,
;
-
линейное давлениемежду шабером и валом, Н/м
b - дина
соприкосновения шабера с валом,
n - количество
шаберов, n=2
Общее
тяговое усилие привода сукна по формуле (1) равно:
TI=5,5+1+2,44+0,48+0,21=9,63кН
Величина тягового усилия зависит от скорости машины, так как нагрузка на
подшипники от неуравновешенных валов возрастает пропорционально квадрату
скорости.
Увеличения тягового усилия при повышении скорости учитывается
коэффициентом Kv.[2]:
,
Возможный
увеличения тяговых усилий, по сравнению со средними, учитываем коэффициентом Кm=1,2.
Мощность
для преодоления тягового усилия:
, (8)
где
Распределим
полученную мощность между желобчатыми и сукноведущими валами
Nж=48кВт; Nc=27кВт;
Расчет
потребляемой мощности для второго сукна
TI=T1+T2+T3+ T4
где
T1 -
тяговое усилие для преодоления трения в подшипниках валов;
T2 - тяговое усилие для преодоления трения качения между
отсасывающим и желобчатым валами;
T3 - тяговое усилие для преодоления трения в уплотнениях
отсасывающего и пересасывающего валов;
T4 - тяговое усилие для преодоления трения сукна о
сукномойки;
T5 - тяговое усилие для преодоления трения шабера о вал.
Тяговое
усилие для преодоления трения в подшипниках валов:
,
где
Q - нагрузка на вал, кН;
-
приведенный коэффициент трения в подшипниках;
d - диаметр
цапфы, мм;
D - диаметр
вала, мм.
Тяговое
усилие для вала равно:
,
Общее
тяговое усилие равно:
,
Тяговое
усилие для преодоления трения между валами: [2]
где
k - коэффициент трения качения между валами, k=0,001
[2];
Q - давление
между валами,
, кН где q - линейное давление между
валами, b - длина рабочей части вала;
D - диаметр
вала, м.
Для
преодоления трения между:
Прессовыми
валами большего диаметра:
,
Общее
тяговое усилие равно:
Тяговое
усилие для преодоления трения сукна о сукномойки:
где
n - количество сукномоек;
где
- площадь щелей сукномоек;
a - ширина щели;
b - длина щели;
- средняя
величина вакуума в сукномойках,
;
-
коэффициент трения,
.
;
.
Тяговое
усилие для преодоления трения шабера о вал:
,
где
- коэффициент трения шабера о вал,
;
-
линейное давлениемежду шабером и валом, Н/м
b - дина
соприкосновения шабера с валом,
n - количество
шаберов, n=2
Общее
тяговое усилие привода сукна по формуле (1) равно:
TI=4,6+0,45+0,182+0,21=5,4кН
Величина
тягового усилия зависит от скорости машины, так как нагрузка на подшипники от
неуравновешенных валов возрастает пропорционально квадрату скорости.
Увеличения
тягового усилия при повышении скорости учитывается коэффициентом Kv.[2]:
,
Возможный
увеличения тяговых усилий, по сравнению со средними, учитываем коэффициентом Кm=1,2.
Мощность
для преодоления тягового усилия:
, (8)
где
Распределим полученную мощность между валами
Nн=21кВт; Nв=21кВт;
Система автоматизации прессовой части
Автоматизация механического процесса в прессовой части бумагоделательной
машины способствует повышению эффективности обезвоживания бумажного полотна и
улучшению работы прессовой части. Эффективность процесса обезвоживания зависит
от состояния сукна и валов, которое контролируется с помощью автоматических
систем: СДУ (система дистанционного управления) контролируется:
¾ прижим шаберов;
¾ работу спрысков;
¾ прижим и вытягивание валов;
АСР (автоматическая система регулирования):
¾ натяжение сукна;
¾ величину вакуума в камерах отсасывающих валов и сукномойках;
¾ положение сукна;
АСС (автоматическая система сигнализации) обрыва полотна.
Блок схема средств управляющей вычислительной механики
(программнотехнического комплекса ПТК или микропроцессорного контроллера МПК)
Система управления Damatic XDi. В состав
системы входит локальная сеть, с помощью которой выполняются различные функции
управления процессом. К сети можно подключить до четырех таких систем,
используя для коммуникации маршрутизатор.
Станция системы Damatic XDi состоит из
съемных блоков размером 3E (
таких, как центральный процессор CPU,
блок динамической памяти DMU),
расположенных в базовом модуле. Базовый модуль BM содержит субкаркас 3E, блок VME(VPU) и блок сетевой связи NCU. Имеется также резервный базовый
модуль RBM, который локализуется с
дублированной системной шиной. Один модуль имеет шесть свободных разъемов для
установки дополнительных устройств.
К системной шине можно подключить управляющие станции.
Первая станция оператор (OPS/XOPS). Станция предназначена для оператора.
С помощью станции можно принимать информацию о технологическом процессе в
реальном времени.
Вторая станция для внешних систем (XES). Такие X-станции для внешних систем приложения для отображения информации,
администрирования системы Damatic XDi, через
сервера, установленные в других системах.
Третья система аварийной сигнализации (ALP) собирает информацию о событиях технологического
процесса и передает ее оператору в диспетчерскую и записывает данные в
долгосрочный архив сигнализации на информационном сервере.
Четвертая станция технологического управления (PCS). Она соединяет систему Damatic XDi с управляющими органами. К тому же эта система может
производить групповой пуск устройств, выполнение исследовательских операций,
осуществлять сбор данных о тенденциях параметров и производить вычисления.
Рис.
Рис.
Таблица.3. Спецификация оборудования КИПиА.
|
Поз.
|
Наименование и механическая характеристика оборудования
|
Тип, марка оборудования
|
Завод-изготовитель
|
Кол-во
|
Прим.
|
|
1
|
2
|
3
|
4
|
5
|
6
|