Измерительные инструменты

  • Вид работы:
    Контрольная работа
  • Предмет:
    Другое
  • Язык:
    Русский
    ,
    Формат файла:
    MS Word
    1,08 Мб
  • Опубликовано:
    2012-09-13
Вы можете узнать стоимость помощи в написании студенческой работы.
Помощь в написании работы, которую точно примут!

Измерительные инструменты

Федеральное агентство по образованию

ГОУ ВПО "Российский государственный профессионально-педагогический университет"

Машиностроительный институт

Кафедра технологии машиностроения и методики профессионального обучения

Контрольная работа по дисциплине

"Технология и средства контроля изделий машиностроения"



Выполнил студент группы ЗТО-407С И.В. Пелевин

Проверил: доцент, канд. техн. наук В.Я. Анахов





Екатеринбург 2009

Исходные данные

 

Рис.1

Рис.2

Расшифровка технического требования к детали:

Рис.3

Биение торца "Б" относительно базовых шеек "А", "Б" вала не более 0,04 мм.

    

а)                                                     б)

Рис.4.

Определение:

Торцевое биение - разность отклонений наибольшего и наименьшего расстояний от точек реального профиля торцевой поверхности до плоскости, перпендикулярной базовой оси. Торцевое биение определяется в сечении торцевой поверхности цилиндром заданного диаметра, соосным с базовой осью, а если диаметр не задан, то в сечении любого (в том числе наибольшего) диаметра торцевой поверхности. При плоской форме номинальной торцевой поверхности торцевое биение - результат совместного проявления отклонений от общей плоскости точек, лежащих на линии пересечения торцевой поверхности с секущим цилиндром, и отклонение перпендикулярности торца относительно оси базовой поверхности на длине, равной диаметру рассматриваемого сечения (не включают всего отклонения от плоскости рассматриваемой поверхности).

Полное торцовое биение - разность "А" наибольшего и наименьшего расстояний от точек всей торцовой поверхности до плоскости, перпендикулярной базовой оси (рис.4, б). Допуск полного торцового биения - наибольшее допускаемое значение полного торцового биения, Поле допуска - область в пространстве, ограниченная двумя параллельными плоскостями, отстоящими друг от друга на расстоянии, равном допуску полного торцового биения Т, и перпендикулярными базовой оси. Это отклонение - результат, совместного проявления отклонений от плоскостности и от перпендикулярности.

Выбор средств измерения:

Средство измерений - техническое средство, предназначенное для измерений, имеющее нормированное метрологические характеристики, воспроизводящие и (или) хранящие единицу физической величины, размер, который принимается неизменным в пределах установленной погрешности в течение известного интервала времени

При выборе средств измерения должно соблюдаться соотношение


Необходимо определить значение погрешности, допускаемое при измерении торцевого биения. Для допуска равного 0,04 мм = 40 мкм погрешность измерения составит 12 мкм = 0,012 мм [3, с.9].

После этого были изучены принцип действия и метрологические характеристики различных измерительных головок, и в соответствии с требованиями, которым должны удовлетворять средства измерения (представлены выше), для проверки торцевого биения выбран индикатор многооборотный 2ИГ ГОСТ 9696-82.

Рис.5. Однооборотная измерительная головка ИГ:

а-общий вид, б-конструктивная схема

1-наконечник; 2-стержень; 3-гильза; 4-арретит; 5-скоба; 6-корпус; 7-стрелка; 8-ось поворота; 9-рычаг; 10-винт.

Таблица 1. Техническая характеристика данного устройства

Модель

06102 (2ИГ)


0 кл.

1 кл.

Диапазон измерений, мм

±0,1

±0,1

Цена деления, мм

0,002

0,002

Пределы допускаемой погрешности, делелений


 на участке ±30 дел.

±0,4

±0,6

 на всем диапазоне

±0,6

±1,0

Размах показаний, делений

1/4

1/3

Вариация показаний, делений.

0,5

0,8

Измерительное усилие, Н, не более

1,5

1,5

Колебание измерительного усилия, Н, не более

0,8

0,8

Габаритные размеры, мм

60x95x25

60x95x25

Масса, кг

0,090

0,090


Вывод: Выбранное средство измерения может быть использовано для заданного измерения.

Выбор установочных устройств:

При измерении отклонений формы и расположения поверхностей используют штативы. Штативом называют установочное устройство, в котором закрепляют только измерительную головку (но не измеряемую деталь). Штативы применяют главным образом при измерении отклонений в расположении поверхностей деталей - радиального и торцевого биений, отклонений от параллельности и осей, требующих различного положения оси измерительной головки [2, с 124-127].

Тип штатива выбирается с учётом цены деления выбранного СИ, габаритных размеров детали и диаметра зажимного отверстия.

Выбираем штатив с магнитным основанием ШМ-2Н ГОСТ 10197-70 с техническими характеристиками:

Модель

ШМ-IIН

1. Высота колонки, мм, не менее

250

2. Наибольший вылет измерительной головки, мм, не менее

200

3. Диаметр отверстия под измерительную головку

8Н8

4. Усилие отрыва от поверхности с параметром шероховатости Ra=0,25 мкм, Н, не менее

300

5. Габаритные размеры, мм

283х122х252



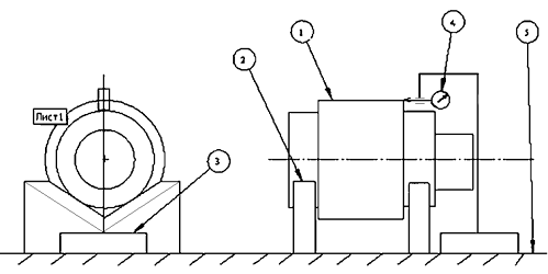
Схема измерения:

Рис.6.

- измеряемая деталь;

- призмы установочные;

- штатив;

- индикатор;

- поверочная плита.

Методика измерения:

Подготовка к измерению.

. Протереть чистой тканью поверхности детали.

. Установить измеряемую деталь 1 на установочные призмы 2 так, чтобы установочные призмы находились по середине шеек вала.

. При помощи штатива 3 с индикатором 4, учитывая разность диаметров шеек вала выставить деталь при помощи подкладок таким образом, чтобы ось детали была параллельна поверочной плите 5.

. Установить штатив 3 для индикатора 4 на поверочную плиту 5 так, чтобы колонка оказалась против измеряемой торцевой поверхности вала.

. Перемещениями кронштейна приблизить измерительный наконечник индикатора к измеряемой торцевой поверхности вала на максимальный диаметр торца до оставления небольшого зазора между ними.

Порядок измерения:

1. Установить измерительную головку в исходное положение, обеспечив сначала контакт измерительного наконечника с поверхностью детали, а затем поворот главной стрелки на один оборот.

. Повернуть деталь до установки стрелки головки в наибольшее положение при вращении её в направлении часовой стрелки.

. Установить 0 шкалы индикатора при помощи поворота микрометрического винта.

. Повернуть деталь медленно от себя до приведения стрелки в наименьшее положение и записать показание.

. Продолжать вращение детали в том же направлении, пока стрелка не займёт положение 0 (в направлении часовой стрелки) и записать показания в этом положении.

. Повторить полный оборот детали, записывая показания головки в крайних положениях стрелки, и сравнить эти показания с показаниями при первом обороте вала.

. Подсчитать разности показаний в верхней и нижней точках для каждого поворота детали, записать их в отчётный бланк, подсчитать их среднюю величину и записать её в бланк как измеренное значение величины торцевого биения.

. Сделать вывод о годности вала, сравнив найденную величину с допускаемой, заданной по чертежу.

Расшифровка технического требования к детали:

Рис.7.

Плоскостность поверхности "А" 0,04 мм.

Определение: Отклонение от плоскостности - наибольшее расстояние от точек реальной поверхности (профиля) до прилегающей плоскости (прямой) в приделах нормируемого участка L.

Эскиз

Определение

Отклонение от плоскостности (а) [прямолинейности (б)] -наибольшее расстояние от точек реальной поверхности (профиля) до прилегающей плоскости (прямой) в пределах нормируемого участка.

Допуск плоскостности (а) [прямолинейности (б)] T-наибольшее допускаемое значение отклонения от плоскостности (прямолинейности) Поле допуска плоскостности (прямолинейности) - область в пространстве (на плоскости), ограниченная двумя параллельными плоскостями (прямыми), отстоящими друг от друга на расстоянии, равном допуску плоскостности (прямолинейности) Т.

 

Частные виды отклонений от плоскостности (прямолинейности)

Выпуклость -отклонение от плоскостности (от прямолинейности), при котором удаление точек реальной поверхности (профиля) от прилегающей плоскости (прямой) уменьшается от краев к середине.

Вогнутость -отклонение от плоскостности (от прямолинейности), при котором удаление точек реальной поверхности (профиля) от прилегающей плоскости (прямой) увеличиваются от краев к середине.


Выбор средств измерения

Выбираем те же средства измерения, что и в предыдущей задаче.

Выбираем 2ИГ.

Выбор установочных устройств

Штативы типов Ш-IIН и Ш-IIВ предназначены для установки на них измерительных головок с ценой деления 0,01 мм;

штативы типа Ш-III - для установки измерительных головок с ценой деления 0,01 мм и более. В основании прибора закреплена цилиндрическая колонка, по которой движется муфта со стержнем с закрепленной на конце измерительной головкой.


Штативы применяют главным образом при измерении отклонений в расположении поверхностей деталей - радиального и торцевого биений, отклонений от параллельности и осей, требующих различного положения оси измерительной головки [2, с 124-127].

Выбираем штатив с магнитным основанием ШМ-2Н ГОСТ 10197-70 с техническими характеристиками:

Цена деления устанавливаемой головки, мм……………………. до 0,01

Диапазон измерения по высоте, мм………………………………….250

Высота головки, мм……………………………………………………200

Диаметр зажимного отверстия, мм……………………………………8

Прогиб, мм……………………………………………………………0,005

Габаритные размеры, мм……………………………………250х100х252

Схема измерения:

а                                             б

Рис.6

. Измеряемая деталь;

. Индикатор;

. Штатив;

. Поверочная плита.

Методика измерения:

Подготовка к измерению.

. Протереть чистой тканью измеряемую поверхность детали.

. Установить измеряемую деталь 1 на поверочную плиту 4

. Положить сверху на деталь 1 плоскопараллельную плиту

. Установить штатив 3 для индикатора 2 на поверочную плиту 4 так, чтобы колонка оказалась против плоскости плоскопараллельной плиты.

. Установить индикатор в присоединительное отверстие кронштейна штатива и закрепить его зажимом так, чтобы сохранить свободное перемещение измерительного стержня. Перемещениями кронштейна приблизить измерительный наконечник индикатора к поверхности плоскопараллельной плиты до оставления небольшого зазора между ними.

измерительный инструмент деталь торцевой

6. По нескольким точкам (рис.6 "б") на плоско параллельной плите при помощи подкладок выставить деталь 1 так, чтобы плоскость плоскопараллельной плиты была параллельна плоскости поверочной плиты 4.

. Убрать плоскопараллельную плиту.

Порядок измерения:

1. Установить измерительную головку в исходное положение, обеспечив сначала контакт измерительного наконечника с поверхностью детали, а затем поворот главной стрелки на один оборот.

. Установить 0 шкалы индикатора при помощи поворота микрометрического винта

. Переместить индикатор по всей длине медленно до приведения стрелки в наименьшее и наибольшее положение и записать показание.

. Переместить штатив.

. Повторить перемещение индикатора, записывая показания головки в крайних положениях стрелки, и сравнить эти показания с показаниями при первом обмере.

. Подсчитать разности показаний в верхней и нижней точках для каждого перемещения штативов, записать их в отчётный бланк, подсчитать их среднюю величину и записать её в бланк как измеренное значение плоскостности.

. Сделать вывод о годности детали, сравнив найденную величину с допускаемой, заданной по чертежу

Таблица 2. Стандартные обозначения (знаков) допусков формы и расположения детали на чертеже

Группа допусков

Вид допуска

Знак

Допуски формы

 Допуск прямолинейности Допуск плоскостности Допуск круглости Допуск цилиндричности Допуск профиля продольного сечения

     

Допуски расположения

Допуск параллельности Допуск перпендикулярности Допуск наклона Допуск соосности Допуск симметричности Позиционный допуск Допуск пересечения осей

       

Суммарные допуски формы и расположения

Допуск радиального биения Допуск торцевого биения Допуск биения в заданном направлении

  


Допуск полного радиального биения Допуск полного торцевого биения

 


Допуск формы заданного профиля Допуск формы заданной поверхности

  


Использованная литература


1. Белкин И.М. Допуски и посадки (Основные нормы взаимозаменяемости): Учебное пособие для студентов машиностроительных специальностей высших технических заведений. М.: Машиностроение, 1992.528с.

. Ганевский Г.М. Гольдин И.И. Допуски, посадки и технические измерения в машиностроении: Учебник для проф. учеб. заведений 3-е изд. стереотип. М.: Высшая школа; Изд. цент "Адемия", 1998 288с.

. Задания и методические указания к контрольной работе по дисциплине "Технология и средства контроля изделий машиностроения" - Екатеринбург, 2002 10с.

. Анахов В.Я. Погрешности измерений и их оценка: Учеб. пособие. Екатеринбург, 2007.

Похожие работы на - Измерительные инструменты

 

Не нашли материал для своей работы?
Поможем написать уникальную работу
Без плагиата!
Без нейросетей!