Методы измерения и измерительные приборы
Автономная некоммерческая организация Высшего профессионального
образования Центросоюза российской федерации
«российский университет кооперации»
Ижевский
филиал
Кафедра
менеджмента РУК
КУРСОВАЯ
РАБОТА
по
дисциплине: Управление качеством
на тему: Методы
измерения и измерительные приборы
Выполнила студентка
группы 8914
Князева Екатерина Валерьевна
Руководитель Комышев А.Л.
Ижевск 2010
СОДЕРЖАНИЕ
Введение
1. Измерительные приборы и методы
измерения
2. Измерительные
линейки, штангенинструмент и микрометрический инструмент
3.
Средства измерения с механическим преобразованием
.
Средства измерения с оптическим и оптико-механическим преобразованием
.
Средства измерения с пневматическим преобразованием
Заключение
Список
литературы
Приложение
ВВЕДЕНИЕ
Современная измерительная аппаратура
предназначается не только для воздействия на органы чувств человека, как,
например, в случае сигнализации или отсчёта результатов измерения наблюдателем,
но всё чаще для автоматической регистрации и математической обработки
результатов измерения и передачи их на расстояние или для автоматического
управления какими-либо процессами.
В приборах и системах на разных участках
измерительных каналов используются механические, электрические, пневматические,
гидравлические, оптические, акустические сигналы, амплитудная, частотная и
фазовая модуляции; чрезвычайно широко применяются импульсные и цифровые
устройства, следящие системы.
Процесс измерения современными измерительными
устройствами состоит в целенаправленном преобразовании измеряемой величины в
форму, наиболее удобную для конкретного использования (восприятия) человеком
или машиной. Например, смысл действия всех электроизмерительных приборов
(амперметров, вольтметров, гальванометров и др.) заключается в том, что с их помощью
измеряемая электрическая величина, изменения которой непосредственно органами
чувств человека не могут быть оценены количественно, преобразуется в
определённое механическое перемещение указателя (стрелки или светового луча).
Таково же назначение и многих механических измерительных приборов и
измерительных преобразователей, с помощью которых разнообразные физические
величины преобразуются в механическое перемещение (штангенциркуль, микрометр,
пружинные весы, ртутный термометр, пружинный манометр или барометр, волосяной
гигрометр и т. п.).
Для обеспечения уверенности в данных, в процессы
измерения и контроля необходимо включать подтверждение того, что приборы
пригодны для использования и поддерживаются в рабочем состоянии, с точностью и
согласно принятым эталонам, а также включать средства определения статуса
приборов.
метод измерение назначение прибор
1.
ИЗМЕРИТЕЛЬНЫЕ ПРИБОРЫ И МЕТОДЫ ИЗМЕРЕНИЯ
Измерительный прибор
- это измерительное средство, предназначенное для выработки измерительной
информации, доступной для непосредственного наблюдения.
Измерительные приборы различаются типом выходной
информации:
) приборы с аналоговой (непрерывной) выходной
информацией, в которых, чаще всего, для считывания показаний применяются
стрелочные индикаторы;
) приборы с цифровой выходной информацией, для
которых показания, как правило, считываются в цифровой форме, например, со
светодиодных индикаторов. Измерительные приборы бывают показывающими,
регистрирующими или комбинированными.
Измерения могут быть основаны на различных
методах. Метод измерения - это совокупность правил и приемов
использования средств измерений, позволяющая решить измерительную задачу.
Различают прямые и косвенные методы измерения.
При прямых измерениях значение измеряемой величины находят непосредственно
из опытных данных.
Большинство измерительных средств основано на
прямых измерениях, например измерение температуры термометром, диаметра вала
штангенциркулем, толщины тонкой фольги на оптиметре в диапазоне показаний шкалы
и т.п.
При косвенных измерениях искомое значение
величины находят вычислением по известной зависимости между этой величиной и
величинами, подвергаемыми прямым измерениям, например измерение среднего
диаметра резьбы методом трех проволочек.
В зависимости от использованных физических
принципов измерения существуют механические, электрические, пневматические,
оптические, фотоэлектрические и другие приборы.
2. Измерительные линейки,
штангенинструмент и микрометрический инструмент
Измерительные
линейки (рис. 2) относятся к штриховым мерам и предназначены для измерения
размеров изделий 14... 17 квалитетов точности прямым методом. Конструкция
линеек однотипна. Они представляют собой металлическую полосу шириной 20... 40
мм и толщиной 0,5... 1,0 мм, на широкой поверхности которой нанесены деления.
Линейки изготовляются с одной или двумя шкалами, верхние пределы измерений 150,
300, 500 и 1000 мм, цена деления 0,5 или 1 мм. Линейки с ценой деления 1 мм
могут иметь на длине 50 мм от начала шкалы полумиллиметровые деления.
Рис. 2
Допустимые отклонения действительной общей длины шкалы линеек от
номинального значения находятся в пределах ±0,10...0,20 мм в зависимости от
общей длины шкалы, а отдельных участков шкалы - в пределах ±0,05...0,10 мм.
Поверку линеек, т.е. определение погрешности
нанесения штрихов производят путем сравнения с образцовыми измерительными
линейками, которые называют штриховыми мерами. Погрешность сравнения не должна
превышать 0,01 мм.
Штангенинструмент предназначен для
измерений абсолютных линейных размеров наружных и внутренних поверхностей, а
также для воспроизведения размеров при разметке деталей. К нему относятся
штангенциркули, штангенглубиномеры и штангенрейсмасы.
ГОСТ 166-80
предусматривает изготовление и использование трех типов штангенциркулей: ШЦ-1 с
ценой деления 0,1 мм, ШЦ-П с ценой деления 0,05 мм и ШЦ-1И с ценой деления 0,05
и 0,1 мм. Кроме того, на заводах применяют ранее изготовленные штангенциркули с
ценой деления нониуса 0,02 мм.
Штангенциркуль показан на рис. 3 Штангенциркуль
состоит из линейки-штанги, имеющей на конце неподвижные губки для измерения
наружных и внутренних поверхностей. На подвижной рамке расположена шкала-нониус
и линейка глубиномера для измерения глубин отверстий и пазов. Винт
служит для фиксации рамки после окончания измерения. Шкала, нанесенная на
линейке- штанге , имеет деления через 1 мм.
Для измерения
необходимо освободить подвижную рамку с помощью винта, поместить
измеряемую деталь между губками и винтом закрепить рамку. Показания
снимают по основной шкале линейки-штанги и шкале-нониусу после удаления
измеряемой детали. По шкале-линейке отсчитывают целое число миллиметров, а по
нониусу - десятые и сотые доли миллиметра.
При отсчете с
помощью нониуса сначала по основной шкале определяют целое число миллиметров
перед нулевым делением нониуса, затем добавляют к нему число долей по нониусу в
соответствии с тем, какой штрих шкалы нониуса ближе к штриху основной шкалы.
Рис. 3 : / - неподвижные измерительные губки, 2 - подвижные
измерительные губки, 3 - рамка, 4 - зажим рамки, 5 - рамка
микрометрической подачи, б - зажим рамки микрометрической подачи, 7 - штанга, 8
- гайка и винт микрометрической подачи рамки, 9 - нониус
Штангенглубиномеры (ГОСТ 162-80)
принципиально не отличаются от штангенциркулей и применяются для измерения
глубины отверстий и пазов. Рабочими поверхностями штангенглубиномеров (рис. 4)
являются торцевая поверхность штанги и база для измерений - нижняя
поверхность основания с рамкой микрометрической подачи и нониусом. Для
удобства отсчета результатов измерений, повышения точности и производительности
контрольных операций в штангенглубиномерах некоторых типов вместо нониусной
шкалы предусматривается установка индикатора часового типа с ценой деления 0,05
и 0,01 мм.
Штангенрейсмасы (ГОСТ 164-80) являются
основными измерительными инструментами при разметке деталей и определении их
высоты. Они могут иметь дополнительный присоединительный узел для установки
измерительных головок параллельно или перпендикулярно плоскости основания.
Конструкция и принцип штангенрейсмаса принципиально не отличаются от
конструкции и принципа действия штангенциркуля. Для измерения или разметки
деталей станина 3 (рис. 5) штангенрейсмаса устанавливается на
измерительный стол и с помощью подвижной рамки 2, закрепленной на ней
держателем 4, по линейке-штанге 1 и нониусной шкале 5 определяют
показания.
Рис 4. Штангенглубиномер. 1 -основание, 2 - зажим рамки, 3 -
рамка, 4 - зажим рамки микрометрической подачи, 5 - рамка
микрометрической подачи, 6 - штанга, 7 - гайка и винт микрометрической
подачи, 8 - нониус
На предприятиях
применяются штангенрейсмасы с индикаторным и цифровым отсчетом показаний. В
первом случае вместо нониусной шкалы на подвижной рамке устанавливается
индикатор часового типа с ценой деления 0,05 ил 0,01 мм, а во втором - зубчатое
колесо ротационного фотоэлектрического счетчика импульсов, которое находится в
зацеплении с зубчатой рейкой, нарезанной на штанге прибора. За один оборот зубчатого
колеса счетчик дает 1000 импульсов. Показания счетчика передаются цифровому
показывающему или записывающему устройству. Погрешность измерения в этом случае
не превышает 15 мкм
Рис. 5.
Штангенрейсмас
Микрометрические
инструменты предназначены для
абсолютных измерений наружных и внутренних размеров, высот уступов, глубин
отверстий и пазов и т.д. К ним относятся гладкие микрометры, микрометры со
вставками, микрометрические глубиномеры, микрометрические нутромеры.
Принцип действия
этих инструментов основан на использовании винтовой пары («винт-гайка») для
преобразования вращательного движения микрометрического винта в поступательное.
Схема и устройство микрометрического инструмента представлены на рис. 6. Основными
частями микрометрических инструментов являются: корпус 1, стебель 2, внутри
которого с одной стороны имеется микрометрическая резьба с шагом 0,5 мм, а с
другой - гладкое цилиндрическое отверстие, обеспечивающее точное направление
перемещения винта 3. На винт установлен барабан 4, соединенный с
трещоткой 5, обеспечивающей постоянное усилие измерения (для микрометрических
нутромеров трещотка не устанавливается). Стопор 8 служит для закрепления винта
в нужном положении.
Отсчетное
устройство микрометрических инструментов состоит из двух шкал: продольной 6 и
круговой 7. По продольной шкале отсчитывают целые миллиметры и половины
миллиметров, по круговой шкале - десятые и сотые доли миллиметра.
Рис. 6. Гладкий
микрометр
Гладкие
микрометры МК (ГОСТ 6507-78)
выпускаются с различными пределами измерения: 0... 300 мм с диапазоном
показаний шкалы25 мм, а также 300...400; 400...500 и 500...600мм. Предельная
погрешность микрометров зависит от верхних пределов измерения и может составлять
от ± 3 мкм для микрометров МК-25 до ± 50 мкм для микрометров МК-500.
Выпускаются микрометры с цифровым отсчетом результата измерения. Отсчетное
устройство в таких метрах действует по механическому принципу.
Микрометрический
глубиномер (ГОСТ 7470-78, рис. 7) предназначен для абсолютных измерений
глубин отверстий, высот выступов и т.д. Он имеет стебель 5, закрепленный
на траверсе. Одной измерительной поверхностью является нижняя плоскость
траверсы 6, другой - плоскость микрометрического винта 1. Микрометрический
винт, установленный в стебле 5, приводится во вращение трещоткой 3, соединенной
с барабаном 4, и фиксируется гайкой 2. В комплект микрометрического
глубиномера входят установочные меры с плоскими измерительными торцами.
Рис. 7. Микрометрический
глубиномер
Микрометрический
нутромер (ГОСТ 10-75, рис. 8) предназначен для абсолютных измерений
внутренних размеров. При измерении измерительные наконечники 1 приводят
в соприкосновение со стенками контролируемого отверстия с помощью кольца 4. Микрометрические
нутромеры не имеют трещоток, поэтому плотность соприкосновения определяется на
ощупь. Установка нутромера на ноль выполняется либо по установочному кольцу,
либо по блоку концевых мер с боковиками, устанавливаемыми в струбцину. Снятие
показаний осуществляется по шкале 3 или индикатору 6, установленному
в корпусе 5. Микрометрические
нутромеры НМ имеют пределы измерений 50...75, 75...175, 75...600, 150...1250,
800...2500, 1250...4000, 2500...6000 и 4000…10000 мм. При необходимости
увеличения пределов измерений используются удлинители 2.
4 5 6
Рис. 8. Микрометрический
нутромер
3. Средства измерения с механическим
преобразованием
Средства измерения
и контроля с механическим преобразованием основаны на преобразовании малых
перемещений измерительного стержня в большие перемещения указателя (стрелки,
шкалы, светового луча и т.д.). В зависимости от типа механизма эти средства
делятся на рычажно-механические (рычажные), зубчатые, рычажно-зубчатые,
пружинные и пружинно-оптические. В производственных условиях и измерительных лабораториях
для абсолютных измерений нашли широкое применение индикаторы, или индикаторные
измерительные головки с зубчатой передачей. На рис. 9, изображен общий вид индикатора
часового типа и его кинематическая схема.
Рис. 9. Индикатор
часового типа
Индикаторы
часового типа (ГОСТ 577-68), являющиеся типичными представителями приборов с
зубчатой передачей, имеют стержень 1 с нарезанной зубчатой рейкой 3, зубчатые
колеса 2, 4, 7 и 8, спиральную пружину 6, стрелку 5.
Возвратно-поступательное перемещение измерительного стержня 1 преобразуется
в круговое движение стрелки 5.
Один оборот стрелки
соответствует перемещению измерительного стержня на 1 мм. Целые миллиметры
отсчитываются по шкале с помощью малой стрелки. Шкала прибора имеет 100 делений
с ценой деления 0,01 мм. Индикаторы часового типа выпускают двух классов
точности - 0 и 1 - двух типов: типа ИЧ с перемещением измерительного стержня
параллельно шкале и типа ИТ с перемещением измерительного стержня
перпендикулярно шкале. Выпускаются также индикаторы часового типа с цифровым
(электронным) отсчетом.
Рычажно-зубчатые
измерительные головки (рис. 10) отличаются от индикаторов часового типа наличием не
только зубчатой передачи, но и рычажной системы, позволяющей увеличить
передаточное число измерительного механизма и тем самым повысить точность
измерений. При перемещении измерительного стержня 1 в двух направляющих
втулках 8 поворачивается рычаг 3, который воздействует на рычаг
5, имеющий на большем плече зубчатый сектор, входящий в зацепление с зубчатым
колесом (трибом) 4. На оси триба установлена стрелка с втулкой,
связанная со спиральной пружиной 6, устраняющей зазор. Измерительное
усилие создается пружиной 7. Для арретирования измерительного стержня служит
рычажок 2.
В соответствии с
ГОСТ 5584-75 предусматривается выпуск рычажно-зубчатых индикаторов с ценой
деления 0,01 мм, у которых положение измерительного рычага изменяется
относительно корпуса.
Рис. 10.
Рычажно-зубчатая измерительная головка
К приборам с
пружинной передачей относятся измерительные пружинные головки (ГОСТ
6933-81), малогабаритные измерительные головки (микаторы, ГОСТ 14712-79) и
рычажно-пружинные измерительные головки бокового действия (миникаторы, ГОСТ
14711-69).
Эти приборы
предназначены для относительных определений размеров, проверки наличия
отклонений формы деталей от правильной геометрической формы с высокой
точностью, а также для поверки и наладки средств активного контроля.
Приборы этого типа
построены по принципу использования в передаточных механизмах упругих свойств
скрученной фосфористой бронзовой ленты шириной 0,1... 0,2 мм и толщиной
0,008...0,015 мм.
Измерительные
пружинные головки (рис. 11) обладают значительными преимуществами перед другими
подобными приборами: высокой чувствительностью, малой силой измерения,
незначительной погрешностью обратного хода, высокой надежностью.
Основными
недостатками являются неудобство отсчета показаний по слишком тонкой стрелке и
наличие вибрации стрелки, что увеличивает ошибки измерений.
В измерительной
пружинной головке бронзовая пружинная лента 4 закручена в разные стороны
относительно стрелки 2 и правым концом прикреплена к пружинному
угольнику 5, а левым - к плоской пружине 1.
При перемещении
измерительного стержня 7 поворачивается угольник 5, что приводит к растяжению
пружинной ленты 4 и повороту прикрепленной к ней в середине стрелки
относительно шкалы 3.
Стрелка
сбалансирована с помощью противовеса 9. Сила измерения создается
пружиной 8. Измерительный стержень 7 подвешен к корпусу головки на
мембране 6 и пружинном угольнике 5.
К
рычажно-механическим приборам относятся также индикаторные нутромеры.
Рис. 11. Пружинная
измерительная головка
Индикаторные
нутромеры (рис. 12) предназначены для относительных измерений отверстий
диаметром от 3 до 1000 мм.
Они состоят из
корпуса 3, рукоятки 7, отсчетного устройства (индикатора) 9, устанавливаемого
в корпусе 10, подвижного (измерительного) 4 и неподвижного
(регулируемого) 1 стержней, контр-гайки 2 равноплечего рычага 11,
центрирующего мостика 12 и подвижного штока 6.
При измерении
отверстия стержень 4, перемещаясь в направлении, перпендикулярном оси
отверстия, поворачивает на определенную величину Г-образный рычаг 11 вокруг
оси 5 и перемещает на ту же величину шток 6 и измерительный наконечник
индикатора 9. Устранение зазоров в сопряжениях выполняется с помощью
пружины 8.
Перемещение стрелки
индикатора указывает на отклонение действительного диаметра проверяемого
отверстия от настроенного размера нутромера. Установка индикатора на ноль
осуществляется либо по установочному кольцу, либо по блоку концевых мер с
боковиками, зажимаемому в державке. Предприятия выпускают индикаторные нутромеры с ценой
деления 0,01 (ГОСТ 868-82) и индикаторные нутромеры с ценой деления 0,001 мм и
0,002 мм (ГОСТ 9244-75).
Рис. 12.
Индикаторный нутромер
К приборам с
рычажно-зубчатой передачей относятся рычажные скобы, рычажные
микрометры, рычажно-зубчатые измерительные головки и т.д. Эти приборы
предназначены для относительных измерений наружных поверхностей.
В рычажных
скобах (рис. 13) в процессе измерения чувствительная пята 4,
перемещаясь, воздействует на рычаг 8 и зубчатый сектор 6, который
поворачивает зубчатое колесо 7 и стрелку 2, неподвижно закрепленную на
его оси в корпусе 5.
Пружина постоянно
прижимает зубчатое колесо 7 к зубчатому сектору, устраняя таким образом зазор
между ними. Для исключения повреждения детали рычажной скобы предусмотрена
кнопка арретира 1. Микровинт 3 служит для установки прибора на ноль по блоку
концевых мер. Выпускаются также рычажные скобы с отсчетом измеряемой величины в
миллиметрах, в десятых и сотых долях миллиметра.
Рычажные
микрометры (ГОСТ 4381-80) аналогичны рычажным скобам и отличаются от них лишь
наличием микрометрической головки для отсчета измеряемой величины в
миллиметрах, в десятых и сотых долях миллиметра.
Рис. 13. Рычажная скоба
(пассаметр)
4. Средства измерения с оптическим и
оптико-механическим Преобразованием
Оптико-механические
измерительные приборы находят широкое применение в измерительных лабораториях и
цехах для измерения калибров, плоскопараллельных концевых мер длины, точных
изделий, а также для настройки и проверки средств активного и пассивного контроля.
Эти приборы основаны на сочетании оптических схем и механических передач.
К
оптико-механическим измерительным приборам относятся пружинно-оптические
измерительные головки (оптикаторы), оптиметры, ультраоптиметры, длиномеры,
измерительные машины, интерферометры и др.
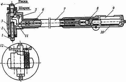
Оптиметр
(ГОСТ 5405-75) состоит из измерительной головки 1, называемой
трубкой оптиметра, и стоек (вертикальной 2 или горизонтальной 3). В
зависимости от вида стойки оптиметры подразделяют на вертикальные (например,
ОВО-1 или ИКВ, рис.14, а) и горизонтальные (например, ОГО-1 или ИКГ,
рис. 14, б). Вертикальные оптиметры предназначены для измерений наружных
размеров деталей, а горизонтальные - для измерения как наружных, так и
внутренних размеров.
В оптической схеме
оптиметров использованы принципы автоколлимации и оптического рычага.
Трубка оптиметра
действует следующим образом. Лучи от источника света направляются зеркалом в
щель трубки и, преломившись в трехгранной призме , проходят через шкалу,
нанесенную на плоскость стеклянной пластины и имеющую 200 делений. Пройдя через
шкалу, луч попадает на призму полного отражения и, отразившись от нее под
прямым углом, направляется на объектив и зеркало. Качающееся зеркало пружиной
прижимается к измерительному стержню. При перемещении измерительного
стержня, опирающегося на измеряемую деталь, зеркало
поворачивается на угол вокруг оси, проходящей через центр опорного шарика, что
вызывает отклонение отраженных от зеркала лучей на угол, в 2 раза больший
первоначального. Рассеянный отраженный пучок лучей объективом превращается в
сходящийся пучок, который дает изображение шкалы. При этом шкала смещается в
вертикальном направлении относительно неподвижного указателя на некоторую
величину, пропорциональную измеряемому размеру. Контролер наблюдает изображение
шкалы в окуляр, как правило, одним глазом, отчего сильно утомляется. Для
удобства отсчета на окуляр надевают специальную проекционную насадку, на экране
которой можно наблюдать изображение шкалы обоими глазами.
б)
Рис. 14. Оптиметр
Оптические
измерительные приборы нашли применение в измерительных лабораториях для абсолютных и
относительных измерений бесконтактным методом деталей сложного профиля (резьб,
шаблонов, кулачков, фасонных режущих инструментов), для точных измерений длин,
углов, радиусов. Эти приборы построены на оптических схемах. Наиболее
распространенными из них являются: микроскопы (инструментальный, универсальный,
проекционный), проекторы, оптические длиномеры и угломеры, делительные головки,
столы и др.
Инструментальные
и универсальные микроскопы предназначены для абсолютных измерений углов и длин различных
деталей в прямоугольных и полярных координатах. В соответствии с ГОСТ 8074-82
выпускают микроскопы с микрометрическими измерителями типов: типа А - без
наклона головки и типа Б - с наклоном головки. У микроскопов ИМ 100х50, А и ИМ
150х50, Б предусмотрена возможность отсчета показаний по шкалам
микрометрических головок и применения концевых мер длины, тогда как микроскопы
ИМЦ 100х500, А; ИМЦ 150х50, А; ИМЦ 150х50, Б; ИМЦЛ 160х80, Б оснащены цифровым
отсчетным устройством.
Универсальные
измерительные микроскопы (ГОСТ 14968-69) отличаются от инструментальных большим
диапазоном измерений и повышенной точностью. В них вместо микрометрических
измерителей применены миллиметровые шкалы с отсчетными спиральными
микроскопами.
Несмотря на
конструктивные различия инструментальных и универсальных микроскопов,
принципиальная схема измерения у них общая - визирование различных точек
контролируемой детали, перемещаемых для этого по взаимно перпендикулярным
направлениям, и измерение этих перемещений посредством отсчетных устройств. Для
обеспечения хорошего визирования микроскопы снабжают сменными объективами
различной степени увеличения.
В качестве примера
рассмотрим конструкцию и принцип измерения микроскопа ММИ (рис. 15).
Измеряемая деталь АБ рассматривается через объектив ОБ микроскопа.
Изображение детали А1Б1 получается действительным,
обратным и увеличенным.
Глаз наблюдателя
через окуляр ОК видит мнимое, обратное и еще раз увеличенное окуляром
изображение детали А2Б2.
10

Рис. 15. Инструментальный микроскоп ММИ
На массивном
чугунном основании 1 в двух взаимно перпендикулярных направлениях на шариковых
направляющих с помощью микрометрических винтов 2, 14 перемещается
измерительный стол 3 с направляющими 4. Для снятия отсчета
величины перемещения стола на гильзе, скрепленной с метрической гайкой, имеется
миллиметровая шкала I , а на барабане, связанном с микрометрическим винтом, - круговая
шкала II со 100 делениями (на рисунке показание микрометра равно 29,025).
Объектив 5 с тубусом установлен на кронштейне 7, который перемещается в
вертикальном направлении по стойке 11. У микроскопов типа Б стойка с
помощью маховика 13 может наклоняться в обе стороны, что позволяет
установить микроскоп, под углом, равным углу подъема измеряемой резьбы. Маховик
6, перемещающий кронштейн 7, служит для фокусировки микроскопа, причем
установленное положение фиксируется винтом 12. Для точного фокусирования
микроскопа вращают рифленое кольцо 8, при этом тубус смещается по
цилиндрическим направляющим кронштейна. К верхней части тубуса крепится сменная
угломерная окулярная головка с визирным 10 и отсчетным 9 микроскопами.
Оптические
линейки (ГОСТ 24703-81) предназначены для определения отклонений от
прямолинейности и плоскостности поверочных линеек, плит, а также направляющих
поверхностей станков, образующих валов.
Принципиальная
схема оптической линейки представлена на рис. 16.
Прибор основан на
измерении отклонений точек контролируемой поверхности от воображаемой прямой -
оптической оси. Линейка 5 (тонкостенная труба с оптической системой)
устанавливается на двух опорах 4. Она имеет сквозной шлиц, вдоль
которого перемещается измерительная каретка 3 с щупом 2, касающимся
контролируемой поверхности. Для определения отклонений точек поверхности
необходимо совмещать видимые на экране визирный штрих 7 и бифиляр б и снимать
отсчеты по барабану микрометра 1. Оптические линейки могут иметь регистрирующее устройство в
виде профилографа, позволяющего графически воспроизводить на бумаге профиль
контролируемой поверхности.
Рис. 16. Оптическая линейка.
5. Средства измерения с пневматическим
преобразованием
Пневматические
измерительные приборы делятся на манометрические, в которых измеряется давление
воздуха («Солекс»), и расходомерные, регистрирующие скорость истечения воздуха
или его расход («Ротаметр»). Манометрические приборы нашли более широкое
распространение в устройствах активного контроля.
И манометрические,
и расходомерные пневматические измерительные приборы состоят из измерительной
головки, включающей в себя показывающий прибор, чувствительного элемента
(сопла) и источника сжатого воздуха. Источник сжатого воздуха в свою очередь
содержит: компрессор; отстойники, в которых воздух очищается от влаги; фильтры,
в которых воздух очищается от механических включений; редуктор, понижающий
давление до нужной величины; стабилизатор давления.
Различают
пневматические приборы низкого (например, 10 кПа) и высокого (например, 150
кПа) давления. И те и другие работают от сети с давлением 0,2... 0,6 МПа.
Приборы низкого давления расходуют на измерение одного параметра до 10 л/мин
воздуха, приборы высокого давления - до 20 л/мин.
В пневматических
измерительных приборах для линейных измерений использована зависимость между
площадью проходного сечения канала истечения и количеством проходящего через
него воздуха. Площадь канала истечения изменяется в результате линейного
перемещения иглы.
Приборы
давления (манометрические) выпускаются одномерными и многомерными. Они
бывают двух вариантов: цеховые приборы с манометрической трубкой длиной 500 мм
и лабораторные приборы с манометрической трубкой длиной 1230 мм. Передаточное
отношение в этих приборах достигает 1:20 000.
Принципиальная
схема прибора низкого давления с водяным манометром ДПНД-500, выпускаемого
заводом «Калибр», показана на рис. 17. Он представляет собой
цилиндрический баллон 1, сообщающийся с атмосферой и наполненный водой,
в которую погружена трубка 2. К верхней части этой трубки через
трубопровод 3 и дроссельное устройство 4 компрессором подается
воздух под давлением Р. В трубке 2 автоматически поддерживается
практически постоянное давление, определяемое высотой Н столба в баллоне
1.
С трубкой 2 соединена
камера 6, имеющая входное 5 и выходное 11 сопла. Последнее
установлено с зазором над поверхностью измеряемой детали 10. Для
измерения переменного давления Рк в камере 6 прибор снабжен
водяным манометром в виде стеклянной трубки 7 со шкалой 8. Давление Рк
определяется разностью уровней столбов воды в баллоне 1 и трубке 7,
которая одним концом соединена с камерой 6, а другим - с баллоном 1. Из
трубки 2 воздух под постоянным давлением проходит через входное сопло 5
в камеру б и выходит через измерительное (выходное) сопло 11. От
величины зазора S зависит давление Рк и, следовательно,
разность уровней h, отсчитываемая по шкале 8. Так, при уменьшенном размере
детали 10 зазор S возрастает и уровень воды в трубке 7 повышается. На шкале 8
устанавливают указатели допуска 9, между которыми должен находиться
уровень воды в трубке 7, если контролируемые детали являются годными.
Рис.17.
Пневматический прибор давления
Приборы
расхода (поплавковые) выполняются одномерными и многомерными. Последние
могут обслуживать до 15 измерительных позиций. Он имеет коническую стеклянную
трубку с широким концом кверху. По ней снизу через дроссель и фильтр под
давлением 100...200 кПа проходит воздух, поднимающий поплавок . Верхняя
плоскость поплавка является указателем для отсчета по шкале (градуированной в
микрометрах), помещенной рядом с трубкой. Высота подъема поплавка зависит от
скорости прохождения воздуха, которая тем больше, чем больше зазор между торцом
измерительного сопла и поверхностью измеряемой детали .
Под действием
напора воздуха поплавок поднимается в трубке до тех пор, пока не уравняются
расходы воздуха через кольцевой зазор между поплавками и стенками трубки и
через зазор между измерительным соплом и контролируемой деталью. В этом случае
поплавок зависает в трубке. Таким образом, каждому значению зазора
соответствует определенное положение поплавка в трубке. Точность рассмотренных
выше приборов обеспечивается постоянством рабочего давления воздуха. Любые
(даже незначительные) колебания давления влияют на результаты измерения.
ЗАКЛЮЧЕНИЕ
В деятельности по метрологическому обеспечению
участвуют не только метрологи, т.е. лица или организации, ответственные за
единство измерений, но и каждый специалист как участник процесса получения и
обеспечения измерений.
Современной состояние системы метрологического
обеспечения требует высокой квалификации специалистов. Механическое перенесение
зарубежного опыта в отечественные условия невозможно, и специалистам необходимо
иметь достаточно широкий кругозор, чтобы творчески подходить к выработке и принятию
творческих решений на основе измерительной информации. Это касается не только
работников производственной сферы. Знания в области метрологии важны и для
специалистов по сбыту, менеджеров, экономистов, которые должны использовать
достоверную измерительную информацию в своей деятельности.
СПИСОК
ЛИТЕРАТУРЫ
1. Об обеспечении единства
измерений: Федеральный закон от 26 июня 2008 г., № 102 // «Российская газета».
- 2008. - 2 июля.
. ГОСТ Р 1.11-99. Государственная
система стандартизации Российской Федерации. Метрологическая экспертиза
проектов государственных стандартов. - Введ. 2000 - 01 - 01. - М.: Издательство
стандартов, 1999. - 6 с.
. ГОСТ Р ИСО 9001-2001. Системы
менеджмента качества. Требования. - Введ. 2001 - 31 - 08. - М.: Национальные
стандарты, 2007. - 27 с.
. Белкин И.М. Средства линейно
угловых измерений: справочник. - М.: Машиностроение, 1987. - 368 с.
. Допуски, посадки и технические
измерения в машиностроении: справочник / С.А. Зайцев {и др.}. - М.:
Издательский центр «Академия», 2004, - 238 с.
. Шишкин И.Ф. Метрология,
стандартизация и управление качеством: учебное пособие. - М.: Издательство
стандартов, 1990. - 342 с.