Проектирование манипулятора промышленного робота
Содержание пояснительной записки
1.
Кинематическая схема манипулятора
.
Описание последовательности движений звеньев манипулятора в соответствии с
технологической операцией
.
Форма, размеры и расположение рабочей зоны
.
Упрощенная конструкция манипулятора со связанными системами координат
.
Уравнения кинематики манипулятора для каждой точки позиционирования
.
Принципиальная электрическая схема устройства управления
.
Документ Electronics
Workbench
.
Сборочный чертёж манипулятора в прямоугольной правосторонней системе координат
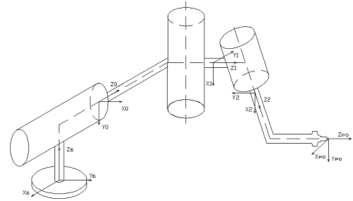
1. Кинематическая схема манипулятора
Два сочлененных звена образуют элементарную
составляющую механизма - кинематическую пару. Последовательность попарно
связанных звеньев составляют кинематическую цепь. Кинематическая цепь может быть
разомкнутой или замкнутой. Звенья и сочленения манипулятора нумеруются по
возрастанию от основания к рабочему органу. Нулевое звено соединено с
неподвижным основанием, а к последнему звену прикреплен рабочий орган. Каждое
сочленение перемещает соответствующее звено, поэтому у нумерации i-тому
звену предшествует i-тое
сочленение. Звенья манипулятора участвуют в относительном движении, в
результате которого достигается определенное положение и ориентация рабочего
органа. Перемещение звеньев в пространстве осуществляется при помощи приводов,
расположенных, как правило, в сочленениях. Каждая пара, состоящая из звена и
сочленения, имеет одну степень свободы, следовательно, манипулятор с n
парами «звено-сочленение» имеет n
степеней свободы. Таким образом, манипуляторы могут различаться
последовательностями и комбинациями вращательных и поступательных сочленений,
то есть кинематическими схемами, которые определяют характер основных движений
и рабочие зоны манипулятора.
Кинематическая схема манипулятора представляет
собой последовательность и комбинации вращательных и поступательных сочленений.
В техническом задании на курсовой проект
предложен следующий индекс подвижности манипулятора
ПX
- ВY
- ПZ.
Эта запись на механическом уровне
интерпретируется следующим образом:
ПX
-
поступательное движение по оси X
(1-е звено)
ВY
- вращательное движение вокруг оси Y
(2-е звено)
ПZ
- поступательное движение по оси Z
(3-е звено)
Кинематическая схема, соответствующая индексу
подвижности ПX
- Вy - ПZ
представлена на рис. 1:

Рис. 1 Кинематическая схема манипулятора
2. Описание последовательности
движений звеньев манипулятора в соответствии с технологической операцией
В задании на курсовой проект задана технологическая
операция - сверление.
Сверление отверстий выполняется сверлом,
установленным в электрическую дрель, которая прикрепляется к последнему звену
манипулятора. Для выполнения операции сверления необходимо расположить дрель
над предполагаемой точкой сверления и направить дрель к объекту. При сближении
сверла с объектом срабатывает датчик обнаружения объекта и формируется команда
включения дрели. Соприкасаясь с объектом, манипулятор перемещает вращающееся
сверло внутрь объекта. По окончании сверления производится вывод сверла из
отверстия, после чего дрель выключается и манипулятор перемещает рабочий орган
в другую точку.
Используя приведённое описание операции
сверления, кинематическую схему (рис. 1) и рабочую зону (рис. 2) можем описать
последовательность движений звеньев манипулятора:
Изначально манипулятор находится в точке 1.
1) Вращательное движение звена вокруг оси Y
на 90° приводит к перемещению рабочего органа в точку 1′.
2) Обратное вращательное движение звена
вокруг оси Y на 90° приводит к перемещению
рабочего органа в точку 1.
) Поступательное перемещение третьего
звена вдоль оси Z приводит к
перемещению рабочего органа в точку 2.
) Вращательное движение звена вокруг оси Y
на 90° приводит к перемещению рабочего органа в точку 2′.
) Обратное вращательное движение звена
вокруг оси Y на 90° приводит к
перемещению рабочего органа в точку 2.
) Поступательное перемещение первого
звена вдоль оси X приводит к
перемещению рабочего органа в точку 3.
) Вращательное движение звена вокруг оси Y
на 90° приводит к перемещению рабочего органа в точку 3′.
) Обратное вращательное движение звена
вокруг оси Y на 90° приводит к
перемещению рабочего органа в точку 3.
) Обратное перемещение первого звена
вдоль оси X приводит к
перемещению рабочего органа в точку 2.
) Обратное перемещение рабочего органа
вдоль оси Z приводит к
перемещению рабочего органа в начальную точку 1.
3. Форма, размеры и расположение
рабочей зоны
Рабочая зона представляет собой точки
пространства, которые достигаются рабочим органом. Форма рабочей зоны
определяется кинематической схемой манипулятора, а её размеры - размерами
звеньев манипулятора и размерами приводов.
Определяем размеры приводов манипулятора. В
качестве привода в манипуляторе используется цилиндр двустороннего действия,
который обеспечивает поступательное перемещение поршня в одном из двух
противоположных направлений. Цилиндр и поршень естественным образом составляют
кинематическую пару, элементы которой соединены поступательным сочленением. В
пневматическом приводе движущее усилие создается воздухом нагнетаемым под
давлением. Воздух заставляет поршень двигаться прямолинейно относительно
цилиндра.
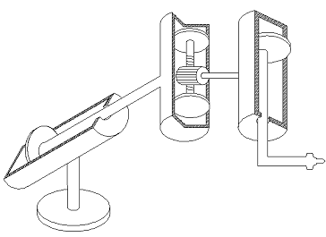
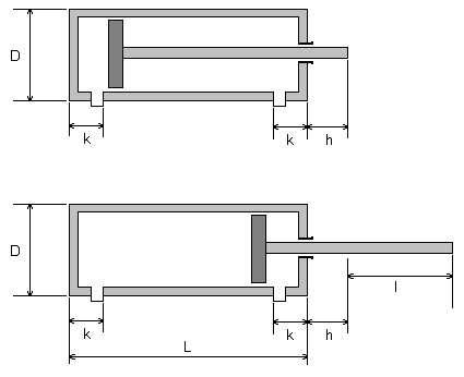
Для реализации поступательного движения
применяется конструкция, изображенная на рис. 2.
Рис. 2 Привод поступательного перемещения
Обычно конструктивные элементы
принимают значения
,
. Диаметр
цилиндра выбирается из диапазона
. В данном случае l - заданное
перемещение, поэтому размеры k, h, L, D
рассчитываются индивидуально для каждого привода.
Рассчитаем размеры привода 1-го
звена (ПX):
м
м
м
Длина цилиндра:
м
Диаметр цилиндра:
Выбираем
= 0,05 м
Рассчитаем размеры привода 3-го
звена (Пz):
м
м
м
Длина цилиндра:
м
Диаметр цилиндра:
= 0,1 м
Для реализации вращательного
движения применяется конструкция, изображенная на рис. 3.
Рис. 3 Поворотный привод
Рассчитаем размеры поворотного
привода 2-го звена (Вy):
Величина хода поршня:
,
где d выбирается
из диапазона 0,2 D < d < 0,5 D.
Выбираем d= 0,05 м.
м
Длина цилиндра:
,
где
м, как у первого привода.
Длина цилиндра:
м
Диаметр цилиндра для выбранного d= 0,05 м:
м
Длина нулевого звена манипулятора,
связывающего основание с первым приводом, берется в данном случае произвольно,
и равна 0,225 м
Размер рабочего органа также выбраны
произвольно;высота равна 0,25 м а длина 0,5 м (рис.4).
Рис. 4. Рабочий орган манипулятора
Рабочая зона, соответствующая
параметрам разрабатываемого манипулятора, представлена на рис. 5
Рис. 5. Рабочая зона манипулятора
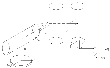
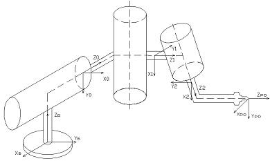
4. Упрощенная конструкция
манипулятора со связанными системами координат
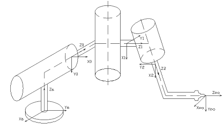
Для манипулятора робота, состоящего из
совокупности звеньев, требуется определить его пространственную конфигурацию с
учетом положения всех звеньев. Конфигурация может быть определена путем
последовательного описания взаимного расположения соседних звеньев
манипулятора. Для этого строятся системы координат связанные с каждым звеном
манипулятора. Правила Денавита-Хартенберга предписывают следующую
последовательность построения связанных систем координат:
ось zi
направлена вдоль оси i+1
сочленения;
ось xi
перпендикулярна осям zi
и zi-1
и направлена от оси zi-1;
ось yi
дополняет оси xi
и zi до правосторонней
прямоугольной системы координат;
Упрощенная конструкция манипулятора со
связанными системами координат, построенными по правилам Денавита-Хартенберга,
рис. 6
Рис. 6. Системы координат, связанные со звеньями
манипулятора
Система (xб,yб,zб)
- базовая система координат;
(x0,y0,z0)
система координат связанная с 0-ым звеном
(x1,y1,z1)
система координат связанная с 1-ым звеном
(x2,y2,z2)
система координат связанная со 2-вым звеном
(xро,yро,zро)
система координат связанная с рабочим органом.
5. Уравнения кинематики манипулятора
Используя полученные геометрические параметры
приводов манипулятора, измеряются линейные величины между смежными связанными
системами координат и определяются требуемые повороты систем координат. На
основании этих данных устанавливаются значения элементарных матриц поворота и
сдвига, для нахождения однородной результирующей матрицы.
Уравнение кинематики манипулятора:
Определим однородные матрицы
преобразования для каждой точки позиционирования рабочего органа:
1-я точка
позиционирования
Рис. 7 Системы координат, связанные
со звеньями манипулятора для 1-ой точки позиционирования









управление манипулятор
робот сверление



=



=
2-я точка позиционирования
Рис. 8. Системы координат, связанные
со звеньями манипулятора для 2-й точки позиционирования












=



=
-я точка
позиционирования













=



=
6. Принципиальная электрическая
схема устройства управления
Перемещение звена манипулятора осуществляется от
точки к точке при помощи двигателя. Одним из типов двигателей, используемых в
манипуляторах, является шаговый двигатель. Шаговые двигатели управляются
дискретно подаваемыми импульсами постоянного тока. Они различаются по числу фаз
(обмоток). Конструктивно двигатель состоит из нескольких обмоток (статор),
окружающих постоянные магниты, которые прикреплены к валу (ротор). При
включении тока в одной из катушек, ротор стремится занять положение, когда
магнитный поток замкнут, т.е. зубцы ротора будут находиться напротив тех
полюсов, на которых находится запитанная обмотка. Если затем выключить эту
обмотку и включить следующую, то ротор поменяет положение, снова замкнув своими
зубцами магнитный поток. Таким образом, чтобы осуществить непрерывное вращение,
нужно включать фазы последовательно.
Для реализации описанной выше последовательности
движений звеньев манипулятора в соответствии с технологической операцией,
необходимо разработать схему, на выходе которой формируются следующие импульсы:
Рис. 11. Требуемые временные диаграммы системы
управления
Вариант схемы на жёсткой логике, собранный в
системе Electronics
Workbench представлен на
рис. 12.
7. Документ
Electronics Workbench
В EWB
была построена схема устройства управления шаговым двигателем, которая
представлена ниже:
Рис. 12. Электрическая принципиальная схема
устройства управления собранная в системе Electronics
Workbench
Для верификации схемы используется инструмент
Logic Analyzer.
Рис. 13. Результаты верификации систему
управления
Полученная временная диаграмма совпадает с
требуемой диаграммой (рис. 11)
8. Сборочный
чертёж манипулятора в прямоугольной правосторонней системе координат
Вывод
В ходе выполнения курсового проекта ознакомился
с принципами работы простейших роботов и принципами управления различными
манипуляторами. В соответствии с заданием на курсовой проект была разработана
система управления манипулятором, который состоит из трех звеньев и осуществляющим
процесс сверления. Система управления шаговыми двигателями, в свою очередь
управляющими звеньями манипулятора, была разработана на жесткой логике. В
результате была получена электрическая принципиальная схема, которая была
верифицирована в EWB.
Результат верификации (диаграммы, полученные анализатором) совпадают с
расчетными. Так же с помощью матриц были рассчитаны положения рабочего органа
во всех точках сверления относительно координат базовой точки.
Данный манипулятор может быть применен на
различных предприятиях, где необходим процесс сверления, что позволяет повысить
производительность труда рабочих. Так же данный манипулятор может применяться
как часть более сложного робота.