|
φ10,град
|
q2,м
|
q3,м
|
φ43,град
|
x0
|
y0
|
z0
|
|
360
|
1,0
|
1,0
|
360
|
-1,25
|
0
|
1,8
|
|
0
|
0
|
0
|
0
|
-0,25
|
0
|
2,8
|
|
90
|
0
|
1,0
|
0
|
-1,25
|
0
|
0
|
|
0
|
0
|
0
|
180
|
-0,45
|
0
|
2,2
|
|
90
|
1,0
|
0
|
90
|
0
|
2,75
|
2,35
|
|
90
|
0
|
1,0
|
180
|
-0,25
|
-3,3
|
1,2
|
Таблица 2 - Координаты схвата
Рисунок
1.1 - зона обслуживания манипулятора
2.2 Расчет скоростей и ускорений
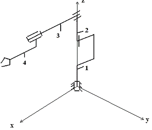
Расчет ведем для положения манипулятора, изображенного на рисунке 2.
Рисунок 2 - Схема манипулятора для расчета скоростей и ускорений
Известны линейные и угловые относительные скорости и ускорения звеньев
руки:
.
Определить
угловые скорости всех звеньев руки манипулятора, а также линейные скорости и
ускорения точек А B, C, D и Е.
Решение:
Расчет
угловых скоростей и ускорений.
Для
звена 1 определяем векторы угловой скорости и углового ускорения и
соответствующие матрицы:


Для звена 2 определяем векторы угловой скорости и углового ускорения и
соответствующие матрицы:
Для
звена 3 угловую скорость и ускорение определяем с помощью векторных уравнений:




Для
звена 4 угловую скорость и ускорение определяем с помощью векторных уравнений:





Для
определения проекций векторов
на оси
координат
записываем матричные уравнения:
Cледовательно:
.
Скорость
первого звена:
м/с.
Скорость
второго звена:
Для
определения скорости третьего звена используется векторное уравнение:
Для
определения скорости четвёртого звена используется векторное уравнение:
;
.
Определяем
величины скоростей:
План
линейных скоростей манипулятора изображен на рисунке 3.
Рисунок
3 - план линейных скоростей манипулятора
Ускорение
первого звена:
Ускорение
второго звена:
Ускорение
третьего звена:
,
Для
определения ускорения четвёртого звена используется векторное уравнение:
,
Определяем
величины ускорений:
План
линейных ускорений манипулятора изображен на рисунке 4.

3.
Силовой расчет
Расчет
звеньев на прочность начинаем с последнего звена манипулятора, так как масса
самих звеньев еще не определена. Звенья манипулятора необходимо расположить
таким образом, чтобы на него действовали максимальные изгибающие моменты. Для
данного манипулятора схема имеет следующий вид:
Рисунок
5 - Схема манипулятора
Каждое,
отдельно взятое звено можно рассматривать как балку с криволинейной или
прямолинейной осью, закрепленную консольно. Следовательно, в заделке может
возникнуть от трех (плоский случай, 2 силы и один момент) до шести
(пространственный случай, 3 силы и 3 момента) реакций.
Расчет
звена 4.
Схема
нагружения четвертого звена изображена на рисунке 6.
mгр=5 кг;
g=9,8 H/кг;
Pгр=5·9,8=49 H;
Рисунок 6 - Схема нагружения четвертого звена
Находим момент сопротивления из условия прочности:
,
где
- коэффициент запаса прочности,
=10, так как определяющим фактором, в конечном итоге,
является жесткость руки манипулятора;
-
допускаемые напряжения, для алюминия
=20 МПа.
мм3
Исходя
из условий работы (вращение вокруг оси Х на 3600) наиболее
предпочтительным является сечение в виде кольца, представленное на рисунке 7.
Рисунок
7 - Кольцевое сечение
Для
кольцевого сечения имеем
,
где
- диметр наружного цилиндра;
-
диаметр отверстия.
;
=89,6мм
Принимаем
=90 мм, тогда
=80 мм.
Масса
звена равна
,
-
удельный вес алюминия,
=0,0027 гр/мм3 (2,7*10-6 кг/мм3).
=4,24 кг
Распределенная
нагрузка от веса звена
Н/м
Пересчитываем
звено 4 с учетом распределенной нагрузки:
Момент
инерции четвертого звена:
Расчет
звена 3.
Схема
нагружения третьего звена изображена на рисунке 8.
Рисунок
8 - Схема нагружения третьего звена
P3= P4+ Pгр;
Pгр=5·9,8=49
H
P3=49+31,97=80,97Н.
мм3
Исходя
из условий работы (поступательное движение по оси Х) наиболее предпочтительным
является сечение в виде прямоугольника, представленное на рисунке 9.
Рисунок
9 - Сечение в виде прямоугольника
b=0,5h; h’=0,95h; b’=0,90b.
Для
прямоугольного сечения имеем:

=94мм;
h’=178 мм; b’=84 мм.=bh-b’h’=188*94-178*84=2720 мм2.
m=V·γ=S·l3· γ=2720·1750·2,7·10-6=12,85 кг.

Пересчитываем
звено 3 с учетом распределенной нагрузки:
Момент
инерции третьего звена:
I = b*h³/12 - b´*h´³/12 = 94*(188)³/12 -
84*(178)³/12 = 12571667 мм4.
Схема
нагружения второго звена изображена на рисунке 10.
Рисунок
10 - Схема нагружения второго звена
P2= P3+ P’3;
P’3=12,85·9,8=125,93 H
P2=80,97+125,93=206,9Н.
мм3
Исходя
из условий работы (вращение вокруг оси Z) наиболее
предпочтительным является сечение в виде прямоугольника, представленное на
рисунке 9.
Для
прямоугольного сечения имеем:

=108мм;
h’=206 мм; b’=98 мм.=bh-b’h’=216*108-206*98=3140 мм2.
m=V·γ=S·l3·
γ=3140·750·2,7·10-6=6,36
кг.
Пересчитываем
звено 2 с учетом распределенной нагрузки:
Момент
инерции второго звена:
I = b*h³/12 - b´*h´³/12
= 94*(188)³/12 - 84*(178)³/12 = 12571667 мм4.
Расчет
звена 1.
Схема
нагружения первого звена изображена на рисунке 11.
Рисунок
11 - Схема нагружения первого звена
P1= P2+ P’2;
P’2=6,36·9,8=62,33
H
P1=206,9+62,33=269,2Н.
мм3
4. Прочностной расчет
Для алюминия [σ] = 20 мПа.
-
эквивалентное напряжение звена
σi = Мi/Wpi - Ni/Si; τi = Ti/Wp = 0.
Найдем
действующие моменты сопротивления:
мм3.
мм3.
мм3.
мм3.
σ4 = М4/W4 - N4/S4 = 121,35·103/4893 -158,7/1776 =19,8
мПа.
σ3 = М3/W3 =121,24·103/19947 =4,4 мПа
σ2 = М2/W2 - N2/S2 = 495·103/21734-218,3/929=19,1 мПа
σ1 = М1/W1 - N1/S1 = 435·103/40960 -395,7/1359,75=10,5
мПа
Все
полученные напряжения меньше допускаемого.
Расчет
прогибов звеньев.
Делаем
расчёт для первого звена: Е=2·105 МПа, l1=1,75 м,
[σ] = 160 мПа.
Для
четвертого звена:
Заключение
Данная
курсовая работа позволяет закрепить знания по курсу «Теория машин и механизмов»
применительно к пространственным механизмам, представляющих механическую часть
манипулятора. В ходе выполнения курсовой работы был проведен структурный анализ
заданной конструкции манипулятора. Были выполнены основные задания курсовой работы.
Произведен
кинематический анализ механической части манипулятора. Составлены векторные
уравнения для определения положения схвата манипулятора при известных длинах
звеньев и их перемещениях. Используя тензерно-матричный метод определены
основные параметры зоны обслуживания. Составлены векторные для определения
угловых и линейных скоростей и ускорений звеньев, кинематических пар и схвата
манипулятора. Используя тензерно - матричный метод определили скорости и
ускорения для расчетного положения манипулятора. Для расчетного положения
манипулятора построены планы скоростей и ускорений. Проведен силовой анализ
заданной конструкции манипулятора.
Поведен
прочностной расчет звеньев манипулятора. Определены геометрические
характеристики поперечных сечений с учетом характера и вида нагружения. Найдены
массы звеньев.
Определено
перемещение схвата манипулятора от действия сил тяжести, веса груза и сил
инерции полагая, что кинематические пары являются абсолютно жесткими и не
вносят погрешность в деформацию всего механизма. На основе полученных данных
делаем вывод о готовности звеньев манипулятора с полученными формами и
размерами выдержать критические нагрузки. Масса всего манипулятора получилась
38,3 кг, что для достаточно больших размеров немного.
Данный
расчет служит базой для выработки навыков проектирования и расчета подобных
устройств, но он является лишь ориентировочным расчетом, так как не учитывались
массы приводов и двигателей, установленных на звеньях.
Список
литературы
1. Артоболевский
И.И. Теория механизмов и машин. - М.: «Наука», 1975.
2. Воробьев Е.И. Механика промышленных роботов. В 3-х книгах. М.:
«Высшая школа», 1988.Юревич Е.И. Основы робототехники, 2-е издание. М.: BHV, 2005. - 416 с.
3. Попов С.А. Курсовое проектирование по теории механизмов и механике
машин. М., 1986.
. Промышленная робототехника и гибкие автоматизированные
производства / Под ред. Е.И. Юревича. Л., 1984.
. Фу К., Гонсалес Ф., Ли К. Робототехника: перевод с англ. - М:
Мир; 1989. - 624 с.
Приложение А
Эпюры внутренних силовых факторов.
Эпюра поперечной силы QZ
Рисунок А.1 - Эпюра поперечной силы QZ
Эпюра изгибающего момента относительно оси Y
Рисунок А.2 - Эпюра изгибающего момента Му.