Электротехнические материалы, применяемые для изготовления трансформатора тока типа ТФН

  • Вид работы:
    Реферат
  • Предмет:
    Физика
  • Язык:
    Русский
    ,
    Формат файла:
    MS Word
    139,44 Кб
  • Опубликовано:
    2012-03-28
Вы можете узнать стоимость помощи в написании студенческой работы.
Помощь в написании работы, которую точно примут!

Электротехнические материалы, применяемые для изготовления трансформатора тока типа ТФН

Содержание

Введение

Основная часть

1. Роль и значение трансформатора

2. Принцип действия трансформатора

3. Конструкция трансформатора

4. Конструктивные части трансформатора

5. Трансформатор тока типа ТФН

6. Медь

7. Сталь

8. Электротехническая сталь

9. Фарфор

11. Бумага и картон

12. Трансформаторная бумага

Заключение

Список литературы

Введение


В данной семестровой работе, на основе трансформатора тока типа ТФН, рассмотрены свойства материалов применяемые в данном аппарате. Представлена схема, принцип действия, конструктивные части, назначение трансформатора. Химические, физические, электротехнические свойства, а также способы производства, недостатки данного материала.

Трансформатор (от лат. transformo - преобразовывать) - электрическая машина, имеющая две или более индуктивно связанные обмотки и предназначенная для преобразования посредством электромагнитной индукции одной или нескольких систем переменного тока в одну или несколько других систем переменного тока.

Каскадный трансформатор тока типа ТФН-400 на 400 кв. Достоинства опорных фарфоровых трансформаторов тока заключаются в их небольших размерах. Фарфоровые трансформаторы тока достаточно надежны в работе, требуют меньших эксплуатационных наблюдений.

Основная часть


1. Роль и значение трансформатора


Трансформатором называют электромагнитное статическое устройство, предназначенное для преобразования посредством электромагнитной индукции электрической энергии переменного тока одного напряжения в электрическую энергию другого напряжения. Это устройство чаще всего состоит из двух (а иногда и большего числа) взаимно неподвижных электрически не связанных между собой обмоток, расположенных на ферромагнитном магнитопроводе. Обмотки имеют между собой магнитную связь, осуществляемую переменным магнитным полем. Ферромагнитный магнитопровод предназначен для усиления магнитной связи между обмотками.

Рисунок - 1

Обмотка трансформатора, потребляющая энергию из сети, называют первичной обмоткой, а обмотка, отдающая энергию в сеть, - вторичной.

Если вторичное напряжение меньше первичного, то трансформатор называется понижающим, а если больше - повышающим. В зависимости от включения тех или иных обмоток к сети каждый трансформатор может быть как повышающим, так и понижающим.

2. Принцип действия трансформатора


Принцип действия трансформатора основан на явлении взаимной индукции. Если одну из обмоток трансформатора подключить к источнику переменного напряжения, то по этой обмотке потечёт переменный ток, который создаст в сердечнике переменный магнитный поток Ф. Этот поток сцеплен как с одной, так и с другой обмоткой и, изменяясь, будет индуцировать в них ЭДС. Так как в общем случае обмотки могут иметь различное число витков, то индуцируемые в них ЭДС будут отличаться по значению. В той обмотке, которая имеет большее число витков W, индуцируемая ЭДС будет больше, чем в обмотке, имеющей меньшее число витков. В трансформаторе происходит изменение параметров энергии: подводимая к первичной обмотке от сети электрическая энергия с напряжением U1 и током I1 посредством магнитного поля передаётся во вторичную обмотку с напряжением U2 и током I2.

3. Конструкция трансформатора


Магнитопровод.

Магнитопровод является конструктивной основой трансформатора. Он служит для проведения основного магнитного потока. Для уменьшения магнитного сопротивления по пути потока, а следовательно

и уменьшения МДС и тока, необходимых для создания потока, магнитопровод выполняется из специальной электротехнической стали. Так как магнитный поток в трансформаторе изменяется во времени, то для уменьшения потерь от вихревых токов в магнитопроводе он собирается из отдельных электрически изолированных друг от друга листов. Толщина листов выбирается тем меньше, чем выше частота питающего напряжения. При частоте 50 Гц толщина листов стали принимается равной 0,35-0,5 мм. Изоляция листов осуществляется чаще всего с помощью лаковой плёнки, которая наносится с двух сторон листа.

Обмотки.

По способу расположения на стержне, обмотки трансформатора подразделяются на концентрические и чередующиеся. Концентрические обмотки выполняются каждая в виде цилиндра и располагаются на стержне концентрически относительно друг друга. Высота обеих обмоток, как правило, делается равной. В силовых трансформаторах нашли применение главным образом концентрические обмотки, которые по характеру намотки можно подразделить на цилиндрические, винтовые, спиральные.

Цилиндрической обмоткой называется обмотка, витки которой наматываются вдоль стержня впритык друг к другу. При большом числе витков обмотка подразделяется на две концентрические катушки, между которыми оставляется канал для охлаждения.

Винтовая обмотка состоит из витков, которые составлены из нескольких параллельных проводников прямоугольного сечения, расположенных в радиальном направлении один относительно другого. намотка витков этой обмотки выполняется, как у и у цилиндрической обмотки, по винтовой линии.

Спиральной обмоткой называется обмотка, составленная из ряда расположенных по высоте стержня и соединенных последовательно катушек, намотанных по плоской спирали, с радиальными охлаждающими каналами между всеми или частью катушек.

4. Конструктивные части трансформатора


Основным типом силового трансформатора является масляный трансформатор. Сухие трансформаторы применяются в установках производственных помещений, жилых и служебных помещений, т.е. там, где применение масляных трансформаторов в следствии их взрыво- и пожароопасности недопустимо. В сухих трансформаторах охлаждающей средой служит проникающий к обмоткам и магнитопроводу атмосферный воздух.

У масленого трансформатора выемная его часть, являющаяся по существу собственно трансформатором. Погружается в бак с маслом. К выемной части относится остов с обмотками и отводами, а в некоторых конструкциях также и крышка бака. Масло, заполняющее бак, имеет двойное назначение. Оно более высокую диэлектрическую прочность, чем воздух, благодаря можно уменьшить изоляционные расстояния между токоведущими и заземлёнными частями, а также между обмотками. Кроме того, трансформаторное масло является лучшей охлаждающей средой, чем воздух. Поэтому в трансформаторе, заполненном маслом, можно увеличить электрические и магнитные нагрузки. Всё это приводит к уменьшению расхода обмоточных проводов и электротехнической стали на изготовление трансформатора и уменьшению его габаритов.

5. Трансформатор тока типа ТФН


Трансформатор тока - трансформатор, первичная обмотка которого подключена к источнику тока.

Трансформаторы тока наружной установки типа ТФН с масляным заполнением применяются на напряжения 35-220 кВ. На более высокое напряжение изготавливают каскадные трансформаторы тока.

Фарфоровые трансформаторы тока достаточно надежны в работе, однако случались повреждения их, особенно в период резких изменений температуры окружающего воздуха. Фарфоровые трансформаторы тока требуют меньших эксплуатационных наблюдений.

Каскадный трансформатор тока типа ТФН-400 на 400 кв. Достоинства опорных фарфоровых трансформаторов тока заключаются в их небольших размерах, в значительной мощности вторичных обмоток, в высокой электродинамической и термической устойчивости.

Ввиду неодинаковых температурных коэффициентов расширения фарфора и металла, фарфор работает на расширение (скол) и разрушается. Для предупреждения аварий из-за повреждения фарфоровых трансформаторов тока необходимо установить за указанными трансформаторами тока более внимательный и частый надзор по сравнению с действующими нормами.

При таком выполнении армировки, которая производилась на заводах до 1949 г. (ввиду неодинаковых температурных коэффициентов расширения фарфора и металла), фарфор работает на расширение (скол) и разрушается. С целью предупреждения аварий из-за повреждения фарфоровых трансформаторов тока, Техническим управлением МЭС был выпущен противоаварийный циркуляр (№ 6/э, 1952 г.), которым предлагается установить за указанными трансформаторами тока более внимательный и частый надзор по сравнению с действующими нормами.

Испытательное напряжение поочередно прикладывается к обмотке высшего напряжения и к каждой обмотке низшего напряжения. При этом остальные (свободные) обмотки заземляются. Продолжительность приложения испытательного напряжения для фарфоровых трансформаторов тока составляет 1 мин, для маслонаполненных трансформаторов тока - 5 мин.

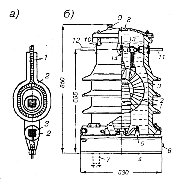
На рисунке - 2 показаны магнитопровод с обмотками (а) и внешний вид трансформатора типа ТФН-35 (б). Кольцевой магнитопровод 3 выполнен из ленточной стали. На нем навиты вторичные обмотки, изолированные вместе с сердечником кабельной бумагой 2, пропитанной маслом и покрывающей как вторичную так первичную обмотку 1. Обмотки помещены в фарфоровой корпус, заполненный маслом, скрепленный с цоколем 4. Верхняя часть фарфорового корпуса, являющаяся маслорасширителем, закрыта крышкой 8 с дыхательным клапаном 9, которая крепится к корпусу болтами 10. Первичная обмотка состоит из двух секций, выводы которых крепятся к зажимам 13 и 14, позволяющим соединять секции последовательно или параллельно и изменять тем самым номинальный первичный ток. Линейные выводы первичной обмотки 11 и 12 обозначаются Л1 и Л2, измерительные выводы вторичной обмотки 5 помещены в закрытой коробке 6 и обозначаются и И2. Цоколь 4 связан заземляющей шиной 7 с контуром заземления электроустановки.

Рисунок - 2

Трансформатор тока типа ТФН-35:

а - магнитопровод с обмотками; б - внешний вид

трансформатор электротехническая сталь медь

ЭТМ применяемые для изготовления данной конструкции

6. Медь


Свойства меди:

Температура плавления 1083 С

Плотность 8,94 Мг/М3

Удельная теплоёмкость 385 Дж/ (кг*К)

Теплопроводность 390 Вт/ (м*К)

Удельное сопротивление 0,017241 мкОм * м

Преимущества меди обеспечивающие ей широкое применение в качестве проводникового материала следующие:

. Малое удельное сопротивление (второе после серебра)

. Высокая механическая прочность

. неплохая коррозийная стойкость

. хорошая обрабатываемость

. относительная лёгкость пайки и сварки

Удельная проводимость меди, параметр весьма чувствительный к примесям. Твердую медь применяют там, где надо обеспечить особо высокую мех. прочность, твёрдость и сопротивляемость истиранию. Мягкую медь в виде проволок круглого и прямоугольного сечений применяют в качестве токопроводящих жил кабелей и обмоточных проводов, где важна гибкость и пластичность, а не прочность.

Медь является сравнительно дорогим и дефицитным материалом. Поэтому расходовать её надо весьма экономично. Медь как проводниковый материал всё чаще заменяется другими металлами в особенности алюминием. В отдельных случаях помимо чистой меди применяются её сплавы с оловом, кремнием, фосфором, бериллием, хромом, магнием, кадмием. Такие сплавы называются - бронз, и имеют значительно более высокие механические свойства, чем чистая медь. Предел прочности на растяжение таких сплавов может быть 800-1200 МПа и более. Бронзы широко применяются при изготовлении токопроводящих пружин и т.д.

7. Сталь


Это наиболее доступный и дешёвый материал, обладает высокой механической прочностью. Сталь это сплав железа с углеродом. Представляет собой большой интерес в качестве проводникового материала. Однако даже чистое железо имеет значительно более высокое по сравнению с медью и алюминием удельное сопротивление порядка 0,1 мкОм*м.

При переменном токе в стали, как в ферромагнитном материале заметно сказывается поверхностный эффект, поэтому сопротивление стальных проводов переменному току выше, чем постоянному. Кроме того появляются потери мощности на гистерезис.

В качестве проводникового материала обычно применяется мягкая сталь с содержанием углерода 0,1-0,15%, обладающая пределом прочности на растяжение 700-750 МПа, относительным удлинением при разрыве 5-8%, и удельной проводимостью в 6-7 раз меньшую, чем у меди. В таких случаях сталь применяется в качестве материала для проводов воздушных линий при малых мощностях.

Сталь как проводниковый материал используется также в виде шин, рельсов трамваев, электрических железных дорог и т.д. Обычная сталь обладает малой коррозийной стойкостью.

8. Электротехническая сталь


Электротехническая сталь - тонколистовая сталь, используемая при изготовлении шихтованных магнитопроводов электротехнического оборудования - электромагнитов, трансформаторов, генераторов, электродвигателей и так далее.

В зависимости от требуемых свойств, электротехническая сталь содержит различное количество кремния. В зависимости от технологии производства электротехнические стали разделяют на холоднокатаные (изотропные или анизотропные; количество кремния до 3,3%) и горячекатаные (изотропные; количество кремния до 4,5%). Нередко в качестве легирующей добавки в электротехнической стали может содержаться алюминий (до 0,5%). Иногда электротехнические стали условно разделяют на динамную (0,8-2,5% кремния) и трансформаторную (3-4,5% кремния).

Электротехническая сталь выпускается в виде листов (часто в рулонах) и узкой ленты толщиной 0,05-1 мм. Качество электротехнической стали характеризуется электромагнитными свойствами (удельными потерями, коэрцитивной силой и индукцией), изотропностью свойств (разницей в значениях свойств металла вдоль и поперёк направления прокатки), геометрическими размерами и качеством листов и полос, механическими свойствами, а также параметрами электроизоляционного покрытия.

Свойства фарфора:

Плотность 2,3-2,5 Мг/м3

Предел прочности при сжатии 400-700 МПа

Предел прочности при растяжении 45-70 МПа

Предел прочности при изгибе 80-150 МПа

Ударная вязкость фарфора 1,8-2,2 кДж/м2


Однако при повышении температуры электроизоляционные свойства фарфора резко ухудшаются.

Из фарфора изготавливают самые разнообразные изоляторы: линейные, подвесные, штыревые, станционные, опорные и проходные, аппаратные, установочные фарфоровые изделия.

10. Трансформаторное масло

Из всех жидких электроизоляционных материалов находит наибольшее применение в электротехнике. Его назначение двояко: во-первых, масло, заполняя поры в волокнистой изоляции, а также промежутки между проводами обмоток и между обмотками и баком трансформатора, значительно повышает электрическую прочность изоляции; во-вторых, оно улучшает отвод тепла, выделяемого за счет потерь в обмотках и сердечнике трансформатора. Лишь некоторые силовые и измерительные трансформаторы выполняются без заливки маслом ("сухие" трансформаторы). Еще одна важная область применения трансформаторного масла - масляные выключатели высокого напряжения. В этих аппаратах разрыв электрической дуги между расходящимися контактами выключателя происходит в масле или в находящихся под повышенным давлением газах, выделяемых маслом под действием высокой температуры дуги; это способствует охлаждению канала дуги и быстрому ее гашению. Трансформаторное масло применяется также для заливки маслонаполненных вводов, некоторых типов реакторов, реостатов и других электрических аппаратов.

Общие требования и свойства.

Электроизоляционные свойства масел определяются в основном тангенсом угла диэлектрических потерь. Диэлектрическая прочность трансформаторных масел в основном определяется наличием волокон и воды, поэтому механические примеси и вода в маслах должны полностью отсутствовать. Низкая температура застывания масел (-45°С и ниже) необходима для сохранения их подвижности в условиях низких температур. Для обеспечения эффективного отвода тепла трансформаторные масла должны обладать наименьшей вязкостью при температуре вспышки не ниже 95, 125, 135 и 150°С для разных марок.

Наиболее важное свойство трансформаторных масел - стабильность против окисления, т.е. способность масла сохранять параметры при длительной работе. Все сорта применяемых трансформаторных масел ингибированы антиокислительной присадкой - 2,6-дитретичным бутилпаракрезолом (известным также под названиями ионол, агидол-1 и др.). Эффективность присадки основана на ее способности взаимодействовать с активными пероксидными радикалами, которые образуются при цепной реакции окисления углеводородов и являются основными ее носителями.

Стандарт предусматривает три класса трансформаторных масел:

I - для южных районов (с температурой застывания не выше - 30°С),

II - для северных районов (с температурой застывания не выше - 45°С),

III - для арктических районов (с температурой застывания - 60°С).

Буква А в обозначении класса указывает на то, что масло содержит ингибитор окисления, отсутствие буквы означает, что масло не ингибировано.

Трансформаторные масла работают в сравнительно "мягких" условиях. Температура верхних слоев масла в трансформаторах при кратковременных перегрузках не должна превышать 95°С. Многие трансформаторы оборудованы пленочными диафрагмами или азотной защитой, изолирующими масло от кислорода воздуха. Образующиеся при окислении некоторые продукты (например, гидроперекиси, мыла металлов) являются сильными промоторами окисления масла. При удалении продуктов окисления срок службы масла увеличивается во много раз. Этой цели служат адсорберы, заполненные силикагелем, подключаемые к трансформаторам при эксплуатации. Срок службы трансформаторных масел в значительной мере зависит также от использования в оборудовании материалов, совместимых с маслом, т.е. не ускоряющих его старение и не содержащих нежелательных примесей. Для высококачественных сортов трансформаторных масел срок службы без замены может составлять 20-25 лет и более.

11. Бумага и картон


Важным преимуществом этих материалов является то, что они производятся из возобновляемого сырья, а именно из древесной массы. Технология приготовления состоит из варки щепы и опилок в щелочном растворе с добавками. Целлюлозные волокна разделяются, полученная пульпа загущается удалением некоторого количества воды, из нее удаляются металлические примеси. Затем следует прокатка между вальцами, при повышенных давлении и температуре. Чем выше плотность бумаги, тем выше как механическая, так и электрическая прочность бумаги. Самые тонкие и прочные бумаги используются для изготовления конденсаторов. Достаточно отметить, что плотность конденсаторных бумаг достигает 1.6 т/м3, т.е. более, чем в 1.5 раза превышает плотность воды. При этом электрическая прочность бумаги толщиной 10 мкм, пропитанной трансформаторным маслом, составляет до 10 МВ/см.

Электротехнический картон используется в качестве диэлектрических дистанциирующих прокладок, шайб, распорок, в качестве изоляции магнитопроводов, пазовой изоляции вращающихся машин и т.п. Картон, как правило, используется после пропитки трансформаторным маслом. Электрическая прочность пропитанного картона достигает 40-50 кВ/мм. Поскольку она выше прочности трансформаторного масла, для увеличения электрической прочности трансформаторов зачастую устраивают в среде масла специальные барьеры из картона. Маслобарьерная изоляция обычно имеет прочность Е=300-400 кВ/см. Недостатком картона является гигроскопичность, в результате попадания влаги уменьшается механическая прочность и, резко уменьшается электрическая прочность (в 4 и более раз).

12. Трансформаторная бумага


Трансформаторную бумагу получают из целлюлозы:

Целлюлоза ЭКБ (ТУ 5411-002-00279143-94)

Варка осуществляется по температурному режиму, позволяющему получить целлюлозу с высокой степенью делигнификации и нормируемой сорностью. Применяется для изготовления кабельной бумаги и электроизоляционного тонкого картона марок ЭВ, ЭВС-ЭВТ, ЭВПМ для изоляции электроизделий, работающих в воздушной среде, используется для электроизоляционного картона, применяемого в трансформаторах и аппаратах с масляным заполнением, трансформаторной бумаги, многослойной кабельной на напряжение до 35 кВт.

Целлюлоза Э-2 (ТУ 5411-003-00279143-94)

Варка производится по мягкому режиму с медленным подъемом температуры в котле, что позволяет получить полуфабрикат с высокими бумагообразующими свойствами.

Целлюлоза используется для производства конденсаторной бумаги вида КОН толщиной от 5 до 7 и от 9 до 30 микрон, трансформаторной бумаги марок ТВ-120, ТВУ-080, электролитической бумаги с малым содержанием токопроводящих включений КЭ-13, КЭ-15, КЭ-20, предназначенной для изготовления прокладок в высоковольтных оксидно-электрических конденсаторах и для работы в устройствах - накопителях электроэнергии, для конденсаторной бумаги высокой плотности для металлизации КОН Зм-8, КОН Зм-10, для малогабаритных металлобумажных конденсаторов, для импульсных конденсаторов.

Заключение


В ходе выполнения расчетно-графической работы, узнал для чего служат трансформаторы, выяснил принципы его работы, роль и структуру. Рассмотрел в работе основные материалы которые используется для постройки трансформатора.

Получил сведенья о электротехнических, механических, химических свойствах материалов. А также применение этих материалов в различных сферах электроэнергетики.

Список литературы


1. Л.Д. Рожкова, Л.К. Карнеева, Т.В. Чиркова "Электрооборудование электрических станций и подстанций", М.: Издательский центр "Академия", 2004.

. Н.П. Богородицкий, В.В. Пасынков, Б.М. Тареев "Электротехнические материалы", Издание шестое переработанное.Л., "Энергия", 1977.

. М.М. Кацман "Электрические машины", учебник для средних специальных учебных заведений. - М., "Высшая школа", 1983г.

Похожие работы на - Электротехнические материалы, применяемые для изготовления трансформатора тока типа ТФН

 

Не нашли материал для своей работы?
Поможем написать уникальную работу
Без плагиата!
Без нейросетей!