Средства измерения давления

  • Вид работы:
    Курсовая работа (т)
  • Предмет:
    Физика
  • Язык:
    Русский
    ,
    Формат файла:
    MS Word
    1,23 Мб
  • Опубликовано:
    2012-04-23
Вы можете узнать стоимость помощи в написании студенческой работы.
Помощь в написании работы, которую точно примут!

Средства измерения давления

Министерство образования и науки Российской Федерации

Федеральное государственное бюджетное образовательное учреждение высшего профессионального образования

«Ивановский государственный энергетический университет им. В.И.Ленина»

Кафедра систем управления







Теоретические основы технологических измерений

«Средства измерения давления и разности давлений»

Выполнила студентка группы 3-43 Соколова А.А.

Проверил к.т.н. доцент Давыдов В. В.




Иваново 2012

Содержание

Введение

.        История изобретения и развития жидкостного манометра

.        Жидкостные манометры и дифманометры

2.1    Двухтрубные жидкостные манометры

.2      Однотрубные жидкостные манометры

2.3    Микроманометры

.4      Барометры

.5      Компрессионные манометры

. Деформационные манометры и дифманометры

3.1    Пружинный манометр

.2      Сильфонный манометр

.3      Мембранный манометр

.4      Колокольный дифманометр

.5 Кольцевой дифманометр

4. Поплавковые дифманометры

.        Дифманометры поплавковые

.        Дифманометр поплавковый типа ДП-710Р

.        Дифманометр поплавковый типа ДПЭМ

Список литературы

Введение

Измерение давления необходимо для управления технологическими процессами и обеспечения безопасности производства. Кроме того, этот параметр используется при косвенных измерениях других технологических параметров: уровня, расхода, температуры, плотности и т. д. В системе СИ за единицу давления принят паскаль (Па).

В большинстве случаев первичные преобразователи давления имеют неэлектрический выходной сигнал в виде силы или перемещения и объединены в один блок с измерительным прибором. Если результаты измерений необходимо передавать на расстояние, то применяют промежуточное преобразование этого неэлектрического сигнала в унифицированный электрический или пневматический. При этом первичный и промежуточный преобразователи объединяют в один измерительный преобразователь.

Именно о средствах измерения давления пойдет речь в этом реферате.

1.      История изобретения и развития жидкостного манометра

Вопросы водоснабжения для человечества всегда были очень важными, а особую актуальность приобрели с развитием городов и появлением в них различного вида производств. При этом все более актуальной становилась проблема измерения давления воды, т.е. напора, необходимого не только для обеспечения подачи воды через систему водоснабжения, но и для приведения в действие различных механизмов. Честь первооткрывателя принадлежит крупнейшему итальянскому художнику и ученому Леонардо да Винчи (1452-1519 гг.), который впервые применил пьезометрическую трубку для измерения давления воды в трубопроводах. К сожалению, его труд «О движении и измерении воды» был опубликован лишь в XIX веке. Поэтому принято считать, что впервые жидкостный манометр был создан в 1643 г. итальянскими учеными Торричелли и Вивиани, учениками Галилео Галилея, которые при исследовании свойств ртути, помещенной в трубку обнаружили существование атмосферного давления. Так появился ртутный барометр. В течение последующих 10-15 лет во Франции (Б. Паскаль и Р. Декарт) и Германии (О. Герике) были созданы различные разновидности жидкостных барометров, в том числе и с водяным заполнением. В 1652 г. О. Герике продемонстрировал весомость атмосферы эффектным опытом с откачанными полушариями, которые не могли разъединить две упряжки лошадей (знаменитые «магдебургские полушария»).

2.      Жидкостные манометры и дифманометры

В жидкостных манометрах измеряемое давление или разность давлений уравновешивается гидростатическим давлением столба жидкости. В приборах используется принцип сообщающихся сосудов, в которых уровни рабочей жидкости совпадают при равенстве давлений над ними, а при неравенстве занимают такое положение, когда избыточное давление в одном из сосудов уравновешивается гидростатическим давлением избыточного столба жидкости в другом. Большинство жидкостных манометров имеют видимый уровень рабочей жидкости, по положению которого определяется значение измеряемого давления. Эти приборы используются в лабораторной практике и в некоторых отраслях промышленности.

Существует группа жидкостных дифманометров, в которых уровень рабочей жидкости непосредственно не наблюдается. Изменение последнего вызывает перемещение поплавка или изменение характеристик другого устройства, обеспечивающих либо непосредственное показание измеряемой величины с помощью отсчетного устройства, либо преобразование и передачу ее значения на расстояние.

2.1 Двухтрубные жидкостные манометры

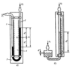
Двухтрубные жидкостные манометры. Для измерения давления и разности давлений используют двухтрубные манометры и дифманометры с видимым уровнем, часто называемыми U -образными. Принципиальная схема такого манометра представлена на рис. 1, а. Две вертикальные сообщающиеся стеклянные трубки 1, 2 закреплены на металлическом или деревянном основании 3, к которому прикреплена шкальная пластинка 4. Трубки заполняются рабочей жидкостью до нулевой отметки. В трубку 1 подается измеряемое давление, трубка 2 сообщается с атмосферой. При измерении разности давлений к обеим трубкам подводятся измеряемые давления.

Рис. 1. Схемы двухтрубного (в) и однотрубного (б) манометра: 1, 2 - вертикальные сообщающиеся стеклянные трубки; 3 - основание; 4 - шкальная пластина

В качестве рабочей жидкости используются вода, ртуть, спирт, трансформаторное масло. Таким образом, в жидкостных манометрах функции чувствительного элемента, воспринимающего изменения измеряемой величины, выполняет рабочая жидкость, выходной величиной является разность уровней, входной - давление или разность давлений. Крутизна статической характеристики зависит от плотности рабочей жидкости.

Для исключения влияния капиллярных сил в манометрах используются стеклянные трубки с внутренним диаметром 8... 10 мм. Если рабочей жидкостью служит спирт, то внутренний диаметр трубок может быть снижен.

Двухтрубные манометры с водяным заполнением применяются для измерения давления, разрежения, разности давлений воздуха и неагрессивных газов в диапазоне до ±10 кПа. Заполнение манометра ртутью измерения расширяет пределы до 0,1 МПа, при этом измеряемой средой может быть вода, неагрессивные жидкости и газы.

При использовании жидкостных манометров для измерения разности давлений сред, находящихся под статическим давлением до 5 МПа, в конструкцию приборов вводятся дополнительные элементы, предназначенные для защиты прибора от одностороннего статического давления и проверки начального положения уровня рабочей жидкости.

Источниками погрешностей двухтрубных манометров являются отклонения от расчетных значений местного ускорения свободного падения, плотностей рабочей жидкости и среды над ней, ошибки в считывании высот h1 и h2.

Плотности рабочей жидкости и среды даются в таблицах теплофизических свойств веществ в зависимости от температуры и давления. Погрешность считывания разности высот уровней рабочей жидкости зависит от цены деления шкалы. Без дополнительных оптических устройств при цене деления 1 мм погрешность считывания разности уровней составляет ±2 мм с учетом погрешности нанесения шкалы. При использовании дополнительных устройств для повышения точности считывания h1, h2 необходимо учитывать расхождение температурных коэффициентов расширения шкалы, стекла и рабочего вещества.

2.2 Однотрубные жидкостные манометры

Однотрубные манометры. Для повышения точности отсчета разности высот уровней используются однотрубные (чашечные) манометры (см. рис. 1, б). У однотрубного манометра одна трубка заменена широким сосудом, в который подается большее из измеряемых давлений. Трубка, прикрепленная к шкальной пластинке, является измерительной и сообщается с атмосферой, при измерении разности давлений к ней подводится меньшее из давлений. Рабочая жидкость заливается в манометр до нулевой отметки.

Под действием давления часть рабочей жидкости из широкого сосуда перетекает в измерительную трубку. Поскольку объем жидкости, вытесненный из широкого сосуда, равен объему жидкости, поступившему в измерительную трубку,

Измерение в однотрубных манометрах высоты только одного столба рабочей жидкости приводит к снижению погрешности считывания, которая с учетом погрешности градуировки шкалы не превышает ± 1 мм при цене деления 1 мм. Другие составляющие погрешности, обусловленные отклонениями от расчетного значения ускорения свободного падения, плотности рабочей жидкости и среды над нею, температурными расширениями элементов прибора, являются общими для всех жидкостных манометров.

У двухтрубных и однотрубных манометров основной погрешностью является погрешность считывания разности уровней. При одной и той же абсолютной погрешности приведенная погрешность измерения давления снижается при увеличении верхнего предела измерения манометров. Минимальный диапазон измерения однотрубных манометров с водяным заполнением составляет 1,6 кПа (160 мм вод. ст.), при этом приведенная погрешность измерения не превышает ±1 %. Конструктивное выполнение манометров зависит от статического давления, на которое они рассчитаны.

2.3 Микроманометры

Микроманометры. Для измерения давления и разности давлений до 3 кПа (300 кгс/м2) используются микроманометры, которые являются разновидностью однотрубных манометров и снабжены специальными приспособлениями либо для уменьшения цены деления шкалы, либо для повышения точности считывания высоты уровня за счет использования оптических или других устройств. Наиболее распространенные лабораторные микроманометры - это микроманометры типа ММН с наклонной измерительной трубкой (рис. 2). Показания микроманометра определяются по длине столбика рабочей жидкости п в измерительной трубке 1, имеющей угол наклона а.

Рис. 2. Схема микроманометра ММН: 1 - измерительная трубка; 2 - сосуд; 3 - кронштейн; 4 - сектор

На рис. 2 кронштейн 3 с измерительной трубкой 1 крепится на секторе 4 в одном из пяти фиксированных положений, которым соответствуют к = 0,2; 0,3; 0,4; 0,6; 0,8 и пять диапазонов измерения прибора от 0,6 кПа (60 кгс/м2) до 2,4 кПа (240 кгс/м2). Приведенная погрешность измерений не превышает 0,5 %. Минимальная цена деления при к = 0,2 составляет 2 Па (0,2 кгс/м2), дальнейшее снижение цены деления, связанное с уменьшением угла наклона измерительной трубки, ограничено снижением точности считывания положения уровня рабочей жидкости из-за растягивания мениска.

Более точными приборами являются микроманометры типа ММ, называемые компенсационными. Погрешность считывания высоты уровня в этих приборах не превышает ±0,05 мм в результате использования оптической системы для установления начального уровня и микрометрического винта для измерения высоты столба рабочей жидкости, уравновешивающего измеряемое давление или разность давлений.

2.4 Барометры

Барометры применяются для измерения атмосферного давления. Наиболее распространенными являются чашечные барометры с ртутным заполнением, отградуированные в мм рт. ст. (рис. 3).

Рис. 3. Схема чашечного ртутного барометра: 1 - нониус; 2 - термометр

манометр компрессионный мембранный жидкостный

Погрешность считывания высоты столба не превышает 0,1 мм, что достигается использованием нониуса 1, совмещаемого с верхней частью мениска ртути. При более точном измерении атмосферного давления необходимо вводить поправки на отклонение ускорения свободного падения от нормального и значение температуры барометра, измеряемой термометром 2. При диаметре трубки менее 8... 10 мм учитывается капиллярная депрессия, обусловленная поверхностным натяжением ртути.

.5 Компрессионные манометры

Компрессионные манометры (манометры Мак-Леода), схема которых представлена на рис. 4, содержат резервуар 1 с ртутью и погруженной в нее трубкой 2. Последняя сообщается с измерительным баллоном 3 и трубкой 5. Баллон 3 заканчивается глухим измерительным капилляром 4, к трубке 5 подключен капилляр сравнения 6. Оба капилляра имеют одинаковые диаметры, чтобы на результатах измерения не сказывалось влияние капиллярных сил. Давление в резервуар 1 подается через трехходовой кран 7, который в процессе измерения может находиться в положениях, указанных на схеме.

Рис. 4. Схема компрессионного манометра:

- резервуар; 2, 5 - трубки; 3 - измерительный баллон; 4 - глухой измерительный капилляр; 6 - капилляр сравнения; 7 - трехходовой кран; 8 - устье баллона

Нижний предел измерения компрессионных манометров составляет 10-3 Па (10-5 мм рт. ст.), погрешность не превышает ±1 %. У приборов пять диапазонов измерения и они охватывают давления до 103 Па. Чем ниже измеряемое давление, тем больше баллон 1, максимальный объем которого составляет 1000 см3, а минимальный 20 см3, диаметр капилляров равен соответственно 0,5 и 2,5 мм. Нижний предел измерения манометра в основном ограничен погрешностью определения объема газа после сжатия, зависящей от точности изготовления капиллярных трубок.

Набор компрессионных манометров совместно с мембранно-емкостным манометром входит в состав государственного специального эталона единицы давления в области 1010-3... 10103 Па.

Достоинствами рассмотренных жидкостных манометров и дифманометров являются их простота и надежность при высокой точности измерений. При работе с жидкостными приборами необходимо исключать возможность перегрузок и резких изменений давления, так как в этом случае может происходить выплескивание рабочей жидкости в линию или атмосферу.

3.      Деформационные манометры и дифманометры

В деформационных манометрах используется зависимость деформации чувствительного элемента или развиваемой им силы от измеряемого давления. Пропорциональная давлению деформация или сила преобразуются в показания или соответствующие изменения выходного сигнала. Большинство деформационных манометров и дифманометров содержат упругие чувствительные элементы, осуществляющие преобразование давления в пропорциональное перемещение рабочей точки.

Наиболее распространенные упругие чувствительные элементы представлены на рис. 5. К их числу относятся трубчатые пружины, сильфоны, плоские и гофрированные мембраны, мембранные коробки, вялые мембраны с жестким центром.

Рис. 5. Упругие чувствительные элементы деформационных манометров

а - трубчатые пружины; б - сильфоны; в, г - плоские и гофрированные мембраны; д - мембранные коробки; е - вялые мембраны с жестким центром

Статической (упругой) характеристике чувствительного элемента, связывающей перемещение рабочей точки с давлением, присуще наличие начальной зоны пропорциональных перемещений, в которой имеют место упругие деформации, и нелинейной области, в которой возникают пластические деформации. Несовершенство упругих свойств материалов чувствительных элементов обусловливает наличие гистерезиса статической характеристики и упругое последействие. Последнее проявляется в запаздывании перемещения рабочей точки по отношению к приложенному давлению и медленном возвращении ее в начальное положение после снятия давления.

Форма и крутизна статической характеристики зависят от конструкции чувствительного элемента, материала, температуры. Рабочий диапазон выбирается в области упругих деформаций с обеспечением запаса на случай перегрузки чувствительного элемента давлением.

3.1 Пружинный манометр

Полые одновитковые трубчатые пружины (см. рис. 5, а), имеют эллиптическое или плоскоовальное сечение. Один конец пружины, в который поступает измеряемое давление, закреплен неподвижно в держателе, второй (закрытый) - может перемещаться. Под действием разности измеряемого внутреннего давления и внешнего атмосферного трубчатая пружина деформируется: малая ось сечения трубки увеличивается, большая уменьшается, при этом пружина раскручивается и ее свободный конец совершает перемещение в 1 ...3 мм. Для давлений до 5 МПа трубчатые пружины изготовляют из латуни, бронзы, а для более высоких давлений - из легированных сталей и сплавов никеля.

Большинство показывающих, самопишущих и сигнализирующих манометров с трубчатой пружиной являются устройствами прямого преобразования, в которых давление последовательно преобразуется в перемещение чувствительного элемента и связанного с ним механически показывающего, регистрирующего или контактного устройства.

Рис. 6. Пружинный показывающий механический манометр

- одновитковая трубчатая пружина; 2 - держатель; 3 - пробка; 4 - поводок; 5 - зубчатый сектор; 6 - шестерня; 7 - стрелка

Схема показывающего пружинного манометра представлена на рис. 6. Одновитковая трубчатая пружина 1 с одного конца приварена к держателю 2, прикрепленному к корпусу манометра. Нижняя часть держателя заканчивается шестигранной головкой и штуцером, с помощью которого к манометру подсоединяется трубка, подводящая давление. Свободный конец пружины 1 припаян к пробке 3, шарнир- но соединенной с поводком 4.

При перемещении свободного конца пружины поводок поворачивает зубчатый сектор 5 относительно оси О, вызывая поворот шестерни (трибки) 6 и сидящей на одной оси с ней показывающей стрелки 7. Пружина, не приведенная на рисунке, обеспечивает поджатое зубцов трибки к зубцам сектора, убирая люфт. Статическая характеристика манометра может подстраиваться за счет изменения точки закрепления поводка 4 в прорези сектора 5 и смещения положения стрелки, устраняя мультипликативную и аддитивную погрешности. На рис. 2 показано радиальное размещение штуцера. Манометры также изготавливаются с его осевым размещением.

Пружинные показывающие манометры выпускаются с верхним пределом измерения от 0,1 МПа (1 кгс/см2) до 103 МПа (104 кгс/см2) в соответствии со стандартным рядом. Пружинные вакуумметры имеют диапазон измерения - 0,1...0 МПа, а мановакуумметры при нижнем пределе измерения - 0,1 МПа имеют верхний предел измерения по избыточному давлению от 0,1 до 2,4 МПа. Образцовые показывающие пружинные манометры имеют класс точности 0,15; 0,25 и 0,4; рабочие 1,5; 2,5; 4, рабочие повышенной точности 0,6 и 1.

3.2 Сильфонный манометр

Сильфон (см. рис. 5, б) - это тонкостенная трубка с поперечными кольцевыми гофрами на боковой стенке. Жесткость сильфона зависит от материала, наружного и внутреннего диаметров, толщины стенки заготовки, радиуса закругления гофр r и угла их уплотнения a, числа гофр. Сильфоны бывают цельнотянутыми и сварными. Благодаря значительному прогрессу в технологии изготовления сильфонов, они получили широкое распространение в манометрах и дифманометрах с силовой компенсацией.

Сильфонные чувствительные элементы используются в механических показывающих и самопишущих дифманометрах типа ДСП и ДСС. Схема их чувствительного элемента, представляющего сильфонный блок, дана на рис. 7, а, на рис. 7, б приведен внешний вид дифманометра с вентильным блоком. Под действием разности давлений рабочий сильфон 1, расположенный в плюсовой камере дифманометра, сжимается и кремнийорганическая жидкость 2, заполняющая внутреннюю полость сильфона 1, частично вытесняется во внутреннюю полость сильфона 3, находящегося в минусовой камере дифманометра. При этом перемещается шток 4, жестко соединенный с дном сильфона 3. Работающие на растяжение пружины 5 одним концом прикреплены к неподвижному стакану 6, а другим - к концу штока 4. Со штоком 4 соединен конец рычага 7, который с помощью торсиона 8, отделяющего внутреннюю полость дифманометра от атмосферы, поворачивает ось 9, связанную с записывающим или показывающим устройством. Резиновые кольца 10 служат для ограничения хода штока 4 при односторонних перегрузках.

Рис. 7. Сильфонный дифманометр типа ДС:

а - схема сильфонного блока; б - внешний вид; 1 - рабочий сильфон; 2 - кремний органическая жидкость; 3 - внутренняя полость сильфона; 4 - шток; 5 - пружины; 6 - неподвижный стакан; 7 - рычаг; 8 - тореной; 9 - ось; 10 - резиновые кольца; 11 - гофры; 12, 13 - вентили запорные и уравнительный

Первые три гофра 11 представляют собой термокомпенсатор, воспринимающий изменение внутреннего объема жидкости 2 при изменении температуры прибора. Дифманометры снабжаются вентильным блоком, включающим запорные вентили 12 и уравнительный 13. Подключение к объекту измерения дифманометра с открытым уравнительным вентилем позволяет исключить воздействие одностороннего рабочего давления на чувствительный элемент. При закрытых вентилях 12 и открытом 13 указатель дифманометра дол-жен находиться на начальной отметке, что используется при проверке его работоспособности и настройке.

Дифманометры ДС могут иметь сигнализирующее устройство и пневматические преобразователи. Привод диаграммной бумаги при регистрации показаний, как и в манометрах МТС, производится синхронным двигателем или часовым механизмом. Дифманометры имеют верхний предел измерения от 6,3 кПа до 0,16 МПа при рабочем давлении 16 и 32 МПа, класс точности 1; 1,5. Дифманометры- расходомеры, работающие с сужающими устройствами, могут иметь манометрическую часть, производящую регистрацию статического давления до 32 МПа, и интегратор для суммирования расхода.

3.3 Мембранный манометр

Наиболее разнообразными по конструкции являются мембранные чувствительные элементы. Представленная на рис. 5 в, плоская или пластинчатая мембрана представляет собой гибкую тонкую пластину, закрепленную по окружности. Под влиянием разности давлений, действующих с обеих сторон на мембрану, ее центр перемещается. Плоская мембрана имеет нелинейную упругую характеристику и малые перемещения рабочей точки, в связи с чем ее в основном применяют для преобразования давления в силу (пьезоэлектрические преобразователи), поверхностные деформации (тензопреобразователи) и малые перемещения (емкостные и резонансные преобразователи). Преобразователи с такими чувствительными элементами рассмотрены в разделе электрических манометров.

Для улучшения статической характеристики используют гофрированные мембраны и мембранные коробки (см. рис. 5, г, д). Профили мембран могут быть пильчатыми, трапецеидальными, синусоидальными. Гофрирование мембраны приводит к увеличению ее жесткости, спрямлению статической характеристики и увеличению зоны пропорциональных перемещений рабочей точки. Более широко используются мембранные коробки, которые представляют собой сваренные или спаянные по внешней кромке мембраны. Жесткость коробки вдвое ниже жесткости каждой из мембран. В дифманометрах, чувствительных элементах регуляторов прямого действия используются мембранные блоки, включающие две коробки и более.

В центре мембраны крепятся металлические пластины, в одну из которых упирается винтовая пружина, выполняющая функции упругого элемента.

Упругие свойства материалов чувствительных элементов зависят от температуры. Так, у трубчатых пружин температурный коэффициент снижения жесткости при росте температуры достигает 3 * 10 -4°С. Это определяет необходимость защиты приборов от воздействия высоких температур измеряемой среды. С течением времени у упругих чувствительных элементов накапливаются пластические деформации и уменьшаются упругие, это приводит к снижению крутизны статической характеристики прибора и ее смещению. Процесс изменения статической характеристики ускоряется при повышенной температуре и пульсации измеряемого давления. Конструкция деформационных манометров и дифманометров обычно предусматривает возможность коррекции отклонений показаний или выходного сигнала, вызванных старением упругого чувствительного элемента.

Мембранные упругие чувствительные элементы, чаще в виде мембранных коробок, используются в приборах для измерения напора и разрежения. Схема профильного напоромера типа НМП и его внешний вид представлены на рис. 8.

Рис. 8. Схема и внешний вид профильного мембранного напоромера НМП:

1 - штуцер; 2 - мембранная коробка; 3 - система рычагов и тяг; 4 - ось; 5 - показывающая стрелка; 6 - профильная шкала; 7 - корректор

Измеряемое давление через штуцер 1 на задней стенке прибора подается во внутреннюю полость мембранной коробки 2. С помощью системы рычагов и тяг 3, изображенных на схеме упрощенно, перемещение центра мембранной коробки преобразуется в пропорциональный угол поворота оси 4, на которую насажена показывающая стрелка 5, перемещающаяся вдоль профильной шкалы б. Для настройки начального положения показывающей стрелки используется корректор 7, находящийся на лицевой панели. Эти приборы выпускаются так же, как тягомеры и тягонапоромеры. Диапазон измерения приборов достигает 25 кПа в соответствии со стандартным рядом при классе точности 1,5; 2,5.

С использованием мембранных чувствительных элементов выпускаются реле (сигнализаторы) напора и тяги типа РД, которые работают в диапазоне от -12 до 12 кПа.

3.4 Колокольный дифманометр

Дифманометры колокольные могут быть использованы для измерения расхода газа по перепаду давления в сужающем устройстве. Эти дифманометры можно применять также для измерения малых избыточных и вакуумметрических давлений газа, а также перепадов давления.

Наибольшее распространение из числа колокольных дифманометров получили приборы,- использующие один колокол, плавающий в жидкости и перемещающийся под воздействием давления или разности давлений газа. Таким образом, перемещение колокола может служить мерой измеряемого давления или перепада давления газа. Бывают колокольные дифманометры с двумя колоколами и двухжидкостные, но они распространения не получили.

В приборах с колоколом, свободно плавающим в жидкости, измеряемый перепад давления уравновешивается силой, возникающей вследствие увеличения силы тяжести при его подъеме. Этот способ уравновешивания обычно называют гидростатическим.

Уравновешивание измеряемого давления или перепада давления, воспринимаемого колоколом, может осуществляться с помощью специального груза или упругими силами винтовой пружины.. Такой способ уравновешивания обычно называют механическим. Способ уравновешивания с помощью груза широкого распространения не получил и в приборах, выпускаемых в настоящее время, не реализуется.

У дифманомётров колокольных с гидростатическим уравновешиванием, колокол должен быть толстостенным и с достаточно большой рабочей площадью. В качестве разделительной жидкости в этих приборах применяют ртуть. Колокольные дифманометры этого типа в настоящее время не изготовляют и не применяют. У дифманомётров колокольных с уравновешиванием упругими силами винтовой пружины колокола изготовляют тонкостенными, а в качестве разделительной жидкости применяют трансформаторное масло. Форма колоколов у дифманометров колокольной системы может быть разнообразной, но в большинстве случаев колокола выполняются цилиндрической формы, ход которых пропорционален измеряемому давлению или перепаду давления. Имеются также дифманометры с колоколами, внутренние стенки которых имеют профилированную форму, ход этих колоколов пропорционален квадратному корню из значения измеряемого перепада давления. Дифманометры этого типа вследствие сложности изготовления профилированного колокола и необходимости применения в качестве разделительной жидкости ртути распространения не получили.

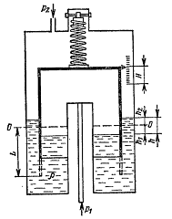
Рис. 9. Схема колокольного дифманометра

Рассмотрим колокольный дифманометр, схематически показанный на рис. 9. У этого прибора колокол, подвешенный на постоянно растянутой винтовой пружине, частично погружен в разделительную жидкость (трансформаторное масло), налитую в сосуд.

Колокол прибора будет находиться в равновесии, а уровень разделительной жидкости на отметке 0-0 до тех пор, пока под колоколом и в сосуде над ним давления одинаковы (р1 = р2). В этом случае равнодействующая сил, равная разности между силой тяжести колокола и гидростатическим давлением, уравновешивается силой упругости винтовой пружины.

При возникновении разности давлений р1 - р21 > p2) равновесие сил, приложенных к колоколу, нарушается. При этом появляется подъемная сила от перепада давления, направленная вверх, которая будет перемещать колокол в том же направлении. Это в свою очередь вызовет возникновение противодействующей силы, обусловленной изменением упругих сил винтовой пружины вследствие ее деформации. Когда подъемная сила сделается равной по своему значению противодействующей силе, то колокол, переместившись на высоту Н, займет новое положение равновесия.

Таким образом, изменяя жесткость пружины и внутреннюю площадь колокола, можно изменять чувствительность прибора, а следовательно, и верхний предел измерения.

Следует отметить, что изменение показаний дифманометра с тонкостенным колоколом при отклонении температуры окружающего воздуха от нормальной температуры до любой температуры от 5 до 50°С очень мало и им можно пренебречь. Это является большим преимуществом приборов данного типа.

Изменение верхних пределов измерений у дифманометров колокольных достигается сменой пружин и колокола, причем для "перекрытия всех рабочих диапазонов от 0 до 100 кгс/м2 (от 0 до 1000 Па) обычно бывает достаточно иметь два размера колоколов.

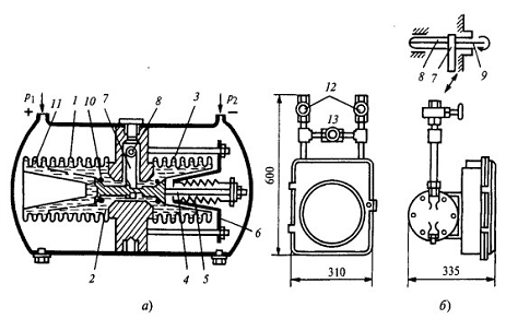
Для ознакомления с устройством колокольных дифманометров в качестве примера рассмотрим выпускаемый в настоящее время Ивано-Франковским приборостроительным заводом дифманометр колокольный типа ДКО (модель 3702), схематично показанный на рис. 10, в котором разность давлений, воспринимаемая колоколом, уравновешивается упругими силами винтовой пружины. Дифманометр этого типа, выпускаемый без отсчетных устройств, снабжен дифференциально-трансформаторным передающим преобразователем.

Рис. 10. Дифманометр колокольный типа ДКО

В рассматриваемом приборе тонкостенный стальной колокол 5, подвешенный на винтовой пружине 5, плавает в разделительной жидкости (трансформаторном масле), налитой в сосуд 4. Трансформаторное масло отделяет «плюсовую» камеру (под колоколом) от «минусовой» (над колоколом). Для понижения центра тяжести колокола в нижней его части прикреплен кольцевой груз 10, который при перемещении колокола остается всегда погруженным в масло.

Дифференциально-трансформаторный преобразователь 9 закреплен на разделительной трубке 8, выполненной из нержавеющей немагнитной стали. Внутри разделительной трубки находится сердечник 11, жестко связанный с колоколом с помощью стержня 7, выполненного из немагнитной стали,

Дифманометр имеет два запорных вентиля для включения и выключения прибора и один уравнительный вентиль. При работе прибора большее (или избыточное) давление р1 подается через вентиль, обозначенный знаком +, и трубку 1 в запасную камеру (ловушку), а затем по трубке 2 - в пространство под колоколом. Меньшее (или вакуумметрическое) давление р2 через вентиль, обозначенный знаком -, и трубку 6 поступает во вторую запасную камеру (ловушку) и через трубку 12 подается в пространство над колоколом. Под действием измеряемой разности давлений р1 - р2 колокол и жесткосвязанный с ним сердечник дифференциально-трансформаторного преобразователя перемещаются до тех пор, пока усилие от приложенной к колоколу разности давлений не уравновесится упругими силами винтовой пружины. Перемещение сердечника приводит к изменению взаимной индуктивности между первичной и вторичной цепями преобразователя, а вместе с тем и к изменению выходного сигнала.

Если измеряемый перепад давления будет превышать предельное номинальное значение, повреждения дифманометра не произойдет, так как при больших и длительных перегрузках разделительная жидкость частично сбрасывается в запасные камеры. Если будет иметь место такой -случай, то необходимо выключить прибор, слить масло из запасных камер, восстановить уровень масла в приборе и произвести его поверку.

Заполнение прибора маслом и слив его осуществляются через отверстия, закрытые винтовыми пробками, которые на рис. 10 не показаны.

Дифманометры колокольные типа ДКО-3702 выпускаются с верхними пределами измерений, соответствующими предельным номинальным перепадам давления или сумме предельных номинальных перепадов давления, лежащих в интервале от 10 до 100 кгс/м2 (от 100 до 1000 Па). Предельно допускаемое рабочее избыточное давление дифманометров колокольных 2,5 кгс/см2 (0,25 МПа). Дифманометр ДКО-3702 имеет класс точности 1. Если дифманометр отградуирован вместе с вторичным прибором, то пределы допускаемой основной погрешности показаний не превышают ±1,5% нормирующего значения измеряемой величины.

Дифманометры колокольные позволяют измерять расход находящегося при низком избыточном давлении газа в комплекте с вторичным прибором, снабженным квадратичным кулачком, и сужающим устройством при малых перепадах давления. Эти Дифманометры используются также в качестве тягомеров, напоромеров и тягонапоромеров,

Дифманометры ДКО-3702 работают в комплекте с вторичными приборами дифференциально-трансформаторной системы КПД1, КВД1, КСД2 и КСДЗ с нормированной взаимной индуктивностью между первичной и вторичной цепями дифтрансформатора 10-0-10 Мг, дифманометрьг колокольные выпускаются также и с ферродинамическими преобразователями, например типа ДКОФМ.

.5 Кольцевой дифманометр

Дифманометры кольцевые применяют в промышленности для измерения расхода газа по перепаду давления в сужающем устройстве. Дифманометры этого типа используются также для измерения малого вакуумметрического и избыточного давления газа.

Рис. 11. Схема дифманометра кольцевого

Схема дифманометра кольцевого показана на рис. 11. Дифманометр представляет собой замкнутое полое кольцо, разделенное вверху непроницаемой перегородкой, а в нижней своей части на угол, равный ос, заполненное разделительной жидкостью (водой или трансформаторным маслом). Кольцо может поворачиваться на некоторый угол ф (обычно 40-50° С) около оси, перпендикулярной плоскости окружности. Осью кольца является опорная призма (одна или две), расположенная в центре кольца и опирающаяся на стальную подушку (одну или две), заделанную в кронштейне, который на схеме не показан. К нижней части кольца прикреплен груз С, который создает противодействующий момент и определяет максимальное значение угла поворота кольца при заданном верхнем пределе измерения разности давлений.

Давления р1 и р2 к обеим полостям кольца, образованным перегородкой и разделительной жидкостью, подводятся посредством гибких резиновых трубок. Противодействующий момент, создаваемый резиновыми трубками, мал и не оказывает существенного влияния на угол поворота кольца. Подвижная система дифманометра До заполнения кольца разделительной жидкостью и снятом грузе С балансируется с помощью специальных грузов 'так, чтобы центр тяжести подвижной системы совпадал с осью вращения. На схеме кольцевого дифманометра (рис. 11) балансирные грузы не показаны.

Дифманометры кольцевые изготовляются с отсчетными устройствами или без них и снабжаются одним или двумя передающими ферродинамическими преобразователями. Эти дифманометры могут быть использованы для работы в комплекте с одним или двумя вторичными ферродинамическими приборами.

Дифманометры ДК-Ф с кольцом, изготовленным из стали, и с резиновыми подводящими трубками рассчитаны на предельно допускаемое рабочее избыточное давление не более 0,25 кгс/см2 (0,025 МПа).

Кольцевые дифманометры-расходомеры ДК-Ф выпускаются на предельные номинальные перепады давления 40,63, 100 и 160 кгс/м2 (400, 630, 1000 и 1600 Па). Дифманометры ДК-Ф выпускаются также в качестве тягомеров, напоромеров и тягонапоромеров. Тягомеры и напоромеры имеют те же верхние пределы измерения, что и дифманометры-расходомеры ДК-Ф. Тягонапоромеры выпускаются с верхними пределами измерения избыточного и вакуумметрического давлений ±20 кгс/ма (±200 Па).

4. Поплавковые дифманометры

.        Дифманометры поплавковые

Дифманометры поплавковые изготовляют по типу жидкостных чашечных приборов. Сосуды поплавковых дифманометров располагают обычно U-образно. У дифманометров этого типа измеряемый перепад давления уравновешивается давлением столба рабочей жидкости (ртути или трансформаторного масла), залитой в прибор. Измерение высоты этого столба осуществляется с помощью поплавка, передающего положение уровня рабочей жидкости в одном из сосудов на отсчетное устройство. Передача хода от поплавка к отсчетному устройству может быть осуществлена механическим путем или с помощью электрического преобразователя на вторичный показывающий (самопишущий) прибор. У дифманометров с масляным заполнением поплавок выполняют пустотелым.

Дифманометры с ртутным заполнением предназначены для измерения: расхода жидкости, газа и пара по перепаду давления в сужающем устройстве; перепада давления жидкости и газообразных сред; уровня жидкости, находящейся под атмосферным, вакуум-метрическим или избыточным давлением.

Рис. 12. Схема дифманометра поплавкового

Рассмотрим принципиальную схему дифманометра поплавкового с цилиндрическими сосудами, расположенными U-образно (рис. 12). Здесь большее давление р1 подается в широкий (плюсовый) сосуд, а меньшее р2 Действует на поверхность рабочей жидкости другого сосуда, называемого минусовым или сменным. Для получения необходимой перестановочной силы диаметр поплавка должен иметь достаточные размеры. Диаметр поплавка в свою очередь определяет оптимальные размеры площади поперечного сечения сосуда, в котором он находится. Размеры минусового сосуда (диаметр и высота) обычно выбираются в зависимости от измеряемого перепада давления.

Таким образом, изменяя у поплавковых дифманометров этого типа только размеры минусового сосуда, представляется возможность менять верхние пределы измерений в широком интервале от 0,063 до 1,0 кгс/сма (от 0,0063 до 0,10 МПа), что является большим достоинством поплавковых дифманометров с сосудами, расположенными U-образно.

2.      Дифманометр поплавковый типа ДП-710Р

Рассмотрим некоторые типы поплавковых дифманометров. На рис. 13 показана схема устройства самопишущего поплавкового дифманометра-расходомера с ртутным заполнением типа ДП-710Р. Прибор состоит из поплавкового плюсового 4 и сменного минусового 12 сосудов, соединенных 11-образно. Меняя сменный сосуд, можно изменять предельные номинальные перепады давления для данного типа прибора в пределах следующих значений: 630; 1000; 1600; 2500 кгс/ма (6300; 10 000; 16 000; 25 000 Па) и 0,40; 0,63; 1,00 кгс/сма (0,040; 0,063; 0,100 МПа). Если этим предельным номинальным перепадам давления присвоить семь порядковых номеров, то номер перепада давления будет соответствовать номеру сменного сосуда. Диаметр плюсового сосуда этих дифманометров равен 78,0 мм, а высота полного хода поплавка - 35,25 мм.

Рис. 13. Дифманометр поплавковый типа ДП-710Р

В рассматриваемом приборе движение поплавка 3 передается рычажно-секторному механизму 5 и 7, преобразующему линейное перемещение поплавка в угловое перемещение шестерни 6. Связь этого механизма, находящегося в сосуде 4 под рабочим-давлением, с отсчетным устройством, расположенным в корпусе прибора 1 под атмосферным давлением, осуществляется с помощью шестерни 6 магнитной муфты (рис. 13, б).

Магнитная муфта состоит из ведущего магнитопровода П-образной формы 13, ведомого ромбовидного постоянного магнита 14 и разделяющего их стакана 17, выполненного из немагнитного материала. Магнитопровод 13 имеет общую ось с шестерней 6, находящейся в зацеплении с сектором 7, сидящем на оси 11. Ось 11 является одновременно и осью рычага 5, связанного с поплавком (рис. 13, с). На оси 15, являющейся одновременно и осью ведомого ромбового магнита, жестко насажено лекало 16, профиль которого рассчитан по квадратичной зависимости.

На рис. 13, в показан самопишущий механизм прибора, предназначенного для измерения расхода вещества. По профилю лекала 16, насаженного на оси 15 магнитной муфты, скользит щуп 18, на оси которого жестко насажено перо 19 для непрерывной записи показаний прибора на дисковой диаграммной бумаге. Привод диаграммы осуществляется от синхронного двигателя, а у некоторых модификаций приборов - от часового механизма. На оси щупа может быть закреплен кривошип, который соединяют с рычагом интегратора. Этот кривошип используется также для передачи угла поворота щупа к трибко-секторному механизму показывающего дифманометра.

Дифманометр снабжен предохранительным клапаном 2 (рис. 13, с), который исключает возможность выброса ртути из прибора при одностороннем плюсовом давлении. Прибор включается в работу с помощью вентилей 8 и 10, которые имеют устройство для продувки Соединительных линий. Для выравнивания давления в сосудах при пуске прибора или поверке его на нуль служит уравнительный вентиль Р.

Дифманометры, предназначенные для измерения разности давлений и уровня жидкости, лекалом не снабжаются. У этих приборов на ось 15 магнитной муфты насаживается шестерня, которая с помощью сектора и четырехзвенника сочленяется с держателем (мостиком) пера.

Некоторые модификации дифманометров поплавковых могут быть снабжены сигнальным устройством, интегратором или пневматическим преобразователем с унифицированным пневматическим выходным сигналом.

Рассмотренный дифманометр типа ДП-710Р рассчитан на предельное допускаемое рабочее избыточное давление 250 кгс/см2 (25 МПа). Днфманометры-расходомеры, применяемые для измерения расхода жидкостей, газов и пара по перепаду давления в сужающем устройстве, имеют класс точности 1, а дифманометры-перепадомеры и уровнемеры- 1 и 1,5.

3.      Дифманометр поплавковый типа ДПЭМ

Далее в качестве примера рассмотрим дифманометр поплавковый с масляным заполнением типа ДПЭМ, схематично показанный на рис. 14. Дифманометр не имеет отсчетных устройств. Он состоит из сменного / и поплавкового 2 сосудов, соединенных U-образно. На дне поплавкового сосуда укреплена разделительная трубка 6 из немагнитной нержавеющей стали. Снаружи на этой трубке установлен дифференциально-трансформаторный преобразователь 7. К поплавку 3 снизу прикреплена биметаллическая пластина 4, которая жестко связана с сердечником 5. Биметаллическая пластина позволяет уменьшить температурную погрешность прибора. Дифференциально-трансформаторный преобразователь с помощью пружины 9 прижат к гайке 8, позволяющей перемещать преобразователь вдоль разделительной трубки в тех случаях, когда необходимо изменить его положение относительно сердечника (первоначальная установка на нуль). Однако при эксплуатации дифманометра корректировка нуля производится корректором нуля во вторичном приборе.

Рис. 14. Дифманометр поплавковый типа ДПЭМ

Дифманометры ДПЭМ выпускаются на предельные номинальные перепады давления от 40 до 400 кгс/м2 (от 400 до 4000 Па). Эти дифманометры имеют класс точности 1. Если дифманометр отградуирован вместе с вторичным прибором, то комплекту присваивается класс точности 1,5. Дифманометры ДПЭМ рассчитаны на предельно допускаемое рабочее избыточное давление 2,5 кгс/см2. Они применяются для измерения расхода газа по перепаду давления в сужающем устройстве, разности давлений, разрежения (тяги) и небольшого избыточного, давления (напора).

Дифманометры ДПЭМ могут работать в комплекте с одним вторичным прибором дифференциально-трансформаторной системы.

Список литературы

1.      Иванова Г.М., Теплотехнические измерения и приборы: учебник для вузов, Изд. МЭИ, 2005. - 460с.

2.      Преображенский В.П., Теплотехнические измерения и приборы, 1978 г.

3.      Алиев Т. М., Тер-Хачатуров А. А. Измерительная техника:Учеб. пособие для техн. вузов - М.: Высш. шк., 1991

.        Хансуваров К. И., Цейтлин В. Г. Техника измерения давления, расхода, количества и уровня жидкости, газа и пара: Учебное пособие для техникумов - М.: Издательство стандартов, 1990

5.      Технические измерения и приборы. Ч. 1. Измерение теплоэнергетических параметров: Учеб. пособие - Ангарск: АГТА, 200

Похожие работы на - Средства измерения давления

 

Не нашли материал для своей работы?
Поможем написать уникальную работу
Без плагиата!
Без нейросетей!