Расчет прямоточного парогенератора
СОДЕРЖАНИЕ
1. ОБЩИЕ
ПОЛОЖЕНИЯ И ИСХОДНЫЕ ДАННЫЕ
. РАСЧЕТ
ПАРАМЕТРОВ ТЕПЛООБМЕНИВАЮЩИХСЯ СРЕД ПО УЧАСТКАМ
.1
Параметры рабочей среды
.2
Параметры теплоносителя
. ПОСТРОЕНИЕ
ДИАГРАММЫ t-Q
. КОМПАНВОКА
ЗМЕЕВИКОВ ПОВЕРХНОСТИ НАГРЕВА
.1
Основные параметры змеевиковой поверхности
.2
Выбор материалов и конструктивных размеров
.3
Распределение трубок по слоям навивки
. РАСЧЕТ
ЭНОМАЙЗЕРНОГО УЧАСТКА
.1
Параметры питательной воды и коэффициент теплоотдачи от стенок к питательной
воде
.2
Параметры теплоносителя и коэффициент теплоотдачи от теплоносителя к стенке
.3
Расчет площади поверхности нагрева
. РАСЧЕТ
ИСПАРИТЕЛЬНОГО УЧАСТКА
.1
Параметры теплоносителя и коэффициент теплоотдачи от теплоносителя к стенке
.2
Параметры кипящей среды и коэффициент теплоотдачи от стенки к кипящей воде
. РАСЧЕТ
ПАРОПЕРЕГРЕВАТЕЛЬНОГО УЧАСТКА
.1
Параметры теплоносителя и коэффициент теплоотдачи от теплоносителя к стенке
.2
Параметры перегретого пара и коэффициент теплоотдачи от стенки к пару
.3
Площадь поверхности нагрева пароперегревательного участка
. РАСЧЕТ
МАССОГАБАРИТНЫХ ХАРАКТЕРИСТИК ПОВЕРХНОСТИ ТЕПЛООБМЕНА ПАРОГЕНЕРАТОРА
Список используемой литературы
1. ОБЩИЕ ПОЛОЖЕНИЯ И ИСХОДНЫЕ ДАННЫЕ
При разработке нового парогенератора (ПГ)
двухконтурной ЯППУ выполняют конструкторский расчет, который основывается на
исходных данных о параметрах пара и теплоносителя, а также о
паропроизводительности или тепловой мощности ПГ. Кроме того, должен быть задан
или принят тип ПГ по принципу циркуляции рабочей среды.
Конструкторский расчет подразделяется на
следующие этапы:
тепловой расчет;
конструкционный расчет;
гидродинамический расчет;
расчет на прочность.
Для проведения теплового расчет принимают
принципиальную тепловую схему ПГ, которая дает наглядное представление о
взаимном размещении элементов ПГ по ходу движения теплоносителя и рабочей
среды, а также об изменении параметров сред. В результате выполнения теплового
расчет определяются размеры теплопередающих поверхностей элементов ПГ.
Конструкционный расчет включает в себя выбор
материала и размеров труб, формы поверхности теплообмена (змеевиковой,
прямотрубной и т.п.), диаметров коллекторов, патрубков, корпуса. На этом же
этапе производится компоновка трубной системы ПГ.
Гидродинамический расчет основывается на данных
предыдущих этапов проектирования по конструктивным размерам элементов ПГ и по
параметрам теплообменивающих сред. Результатом гидродинамического расчета
являются данные об изменении давления по участками ПГ и затраты мощности на
прокачку теплоносителя и рабочей среды.
В результате расчета на прочность определяются
размеры деталей (в основном толщины), обеспечивающие их прочность.
В данной работе производится расчет
обогреваемого водой под давлением прямоточного ПГ, со змеевиковой трубной
системой и движением теплоносителя в межтрубном пространстве. Расчет
прямоточного ПГ ведется по отдельным участкам: экономайзерному, испарительному
и пароперегревательному.
Принципиальная тепловая схема прямоточного ПГ
представлена на рис. 1
Исходные данные для расчета ПГ
являются:
1. Паропроизводительность ПГ (
D,кг/с)…………….16
. Параметры генерируемого пара:
давление ( Рпп, МПа)……………………………………...3
температура (tпп,
0С) ………………………………………305
. Температура питательной воды (tпв,
0С) ……………108
. Параметры теплоносителя:
давление (Рт, МПа)…………………………………………14
температура на входе в ПГ (t/т,
0С)………………………..325
температура на выходе из ПГ (t//т,
0С)…………………….295
2. РАСЧЕТ ПАРАМЕТРОВ
ТЕПЛООБМЕНИВАЮЩИХСЯ СРЕД ПО УЧАСТКАМ
.1 Параметры рабочей среды
|
№
п/п
|
Наименование
величины
|
Обоз-ние
|
Размерность
|
Формула
или источник
|
Числовое
значение
|
|
1
|
Гидравлическое
сопротивление ПГ
|
Δрпг
|
МПа
|
Принять
в пределах 0,3-0,6
|
0.3
|
|
2
|
Гидравлическое
сопротивление пароперегревательного участка
|
Δрпп
|
МПа
|
(0,5-0,6)
Δрпг
|
0.175
|
|
3
|
Гидравлическое
сопротивление испарительного участка
|
Δрис
|
МПа
|
(0,4-0,45)
Δрпг
|
0.126
|
|
4
|
Гидравлическое
сопротивление экономайзерного участка
|
Δрэк
|
МПа
|
(0,01-0,02)
Δрпг
|
0.0012
|
|
5
|
Давление
на выходе из испарительного участка
|
  МПарпп+
Δрпп3.175
|
|
|
|
|
6
|
Давление
на входе в испарительный участок
|
МПа +
Δрис3.3
|
|
|
|
|
7
|
Давление
на входе в парогенератор
|
рпв
|
МПа
|
+
Δрэк3.3022
|
|
|
8
|
Температура
на выходе испарительного участка
|
0Сts
( )
[I]….[3]235.9
|
|
|
|
|
9
|
Температура
на входе в испарительный участок
|
0Сts
( )
[I]….[3]238
|
|
|
|
|
10
|
Энтальпия
перегретого пара
|
ίпп
   кДж/кгί
(tпп, рпп)
[2]….[3]3011
|
|
|
|
|
11
|
Энтальпия
насыщенного пара
|
кДж/кг ( )
[I]….[3]2803
|
|
|
|
|
12
|
Энтальпия
насыщенной воды
|
кДж/кг ( )
[I]….[3]1027
|
|
|
|
|
13
|
Энтальпия
питательной воды
|
ίпв
|
кДж/кг
|
(tпв,рпв)
[2]….[3]
|
455.5
|
|
14
|
Тепловая
мощность ПГ
|
Qпг
|
кДж/с
|
40888
|
|
15 Тепловая
мощность экономайзерного участка Qэк кДж/с
9144
|
|
|
|
16
|
Тепловая
мощность испарительного участка
|
Qис
|
кДж/с
|
28416
|
|
|
17
|
Тепловая
мощность пароперегревательного участка
|
Qпп
|
кДж/с
|
3328
|
|
|
18Удельный
объем питательной воды на входе в ПГVпвм3/кг
[2]….[3]0.0010503
|
|
|
|
|
|
2.2 Параметры теплоносителя
|
№
п/п
|
Наименование
величины
|
Обозн.
|
Размерность
|
Формула
или источник
|
Числовое
Значение
|
|
1
|
Энтальпия
на входе в парогенератор
|
кДж/кг
[2]….[3]1492
|
|
|
|
|
2
|
Энтальпия
на выходе из парогенератора
|
кДж/кг
[2]….[3]1313
|
|
|
|
|
3
|
Коэффициент
удержания тепла
|
-Принимаем
в пределах 0,98…0,990.98
|
|
|
|
|
4
|
Расход
теплоносителя
|
кг/с 233.08
|
|
|
|
|
5
|
Энтальпия
на выходе из пароперегревателя
|
кДж/кг 1477.8
|
|
|
|
|
6
|
Энтальпия
на выходе из испарителя
|
кДж/кг 1353.3
|
|
|
|
|
7
|
Температура
на выходе из пароперегревателя
|
0С
[2]….[3]323.4
|
|
|
|
|
8
|
Температура
на выходе из испарителя
|
0С
[2]….[3]302
|
|
|
|
|
9
|
Удельный
объем на входе в парогенератор
|
м3/кг
[2]….[3]0.00151
|
|
|
|
3. ПОСТРОЕНИЕ ДИАГРАММЫ t-Q
Диаграмму t-Q
строим по результатам ранее выполненных расчетов параметров теплообменивающихся
сред для отдельных участков парогенератора. Эта диаграмма дает представление о
распределении тепловой мощности парогенератора по отдельным участкам, о
температурных напорах между теплообменивающимися средами, а также о средних
температурах той и другой среды на отдельных участках теплообмена. Данную t-Q
диаграмму будем использовать при вычислении температурных напоров.
Рис.2. Диаграмма t-Q
змеевиковый конструктивный теплоотдача кипящий
4. КОМПАНОВКА ЗМЕЕВИКОВ ПОВЕРХНОСТИ
НАГРЕВА
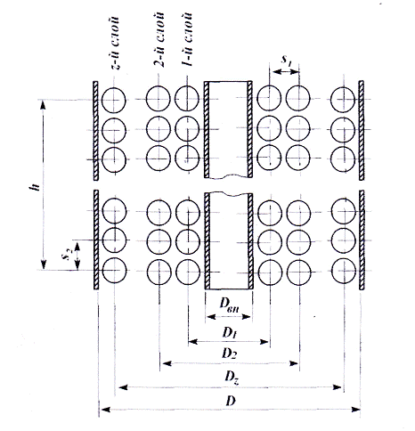
.1 Основные параметры змеевиковой поверхности
Змеевиковая поверхность нагрева образуется путем
последовательной один на другой навивки слоев, образуемых одной или несколькими
параллельно и одновременно навиваемыми трубками. Каждый слой навивки состоит из
одинаковых по размеру трубок, изогнутых по винтовой линии с одинаковыми шагом
навивки и в целом образующих цилиндрическую поверхность (см. рис. 3).
Рис. 3 цилиндрическая змеевиковая поверхность
нагрева.
Из таких цилиндрических поверхностей, имеющих
различные диаметры и расположенных концентрически относительно друг друга,
образуется змеевиковая поверхность нагрева.
Основные характеристики змеевиковой поверхности
нагрева представлены на рис.4
Рис.4 Основные геометрические параметры
змеевиковой поверхности нагрева
В расчет принимаем следующие обозначения:
|
d
|
наружный
диаметр трубки
|
|
z
|
число
слоев навивки
|
|
Di
|
средний
диаметр i-го слоя
навивки
|
|
ni
|
количество
параллельных трубок в i-го
слое навивки
|
|
D1
|
средний
диаметр i-го слоя
навивки
|
|
Dвн
|
внутренний
диаметр слоя проточной части
|
|
S1
|
шаг
между слоями навивки
|
|
S2
|
шаг
между смежными трубками в слое навивки
|
|
h
|
высота
поверхности нагрева
|
|
Dср
|
средний
диаметр поверхности нагрева
|
4.2 Выбор материалов и конструктивных размеров
Для расчет змеевиковой поверхности теплообмена
выбираем материал и размеры трубок, образующих эту поверхность. Размер труб
принимаем из данных, приведенных в приложении 4 [4].
|
№
п/п
|
Наименование
величины
|
Обозн.
|
Размерность
|
Формула
или источник
|
Числовое
Значение
|
|
1
|
2
|
3
|
4
|
5
|
6
|
|
1
|
Наружный
диаметр трубки
|
d
|
М
|
Выбирается
|
0.018
|
|
2
|
Толщина
стенки трубки
|
dст
|
М
|
Выбирается
|
0.002
|
|
3
|
Внутренний
диаметр трубки
|
dвн
|
М
|
d-2dст
|
0.014
|
|
4
|
Площадь
проходного сечения
|
fnp
|
м2
|
0,785
dвн2
|
1.5386*10-4
|
|
5
|
Скорость
питательной воды в трубке
|
Wпв
|
м/с
|
Принимаем
0,4……0,6
|
0.6
|
|
6
|
Проходное
сечение ПГ по питательной воде
|
Fпг
|
м2
|
0.028
|
|
|
7
|
Число
трубок ПГ
|
nтр
|
шт.
|
Fпг
/ fnp
|
182
|
|
8
|
Шаг
между слоями навивки
|
S1
|
М
|
d+(0.002…..0.004)
|
0.02
|
|
9
|
Шаг
между трубками в слое навивки
|
S2
|
М
|
d+(0.001…..0.002)
|
0.02
|
|
10
|
Скорость
теплоносителя в межтрубном пространстве
|
WTH
|
м/с
|
Принимаем
в диапазоне 4……….6
|
5.73
|
|
11
|
Коэффициент
|
y
|
-
|
5
|
|
|
12
|
Количество
слоев навивки
|
z
|
шт.
|
29
|
|
|
13
|
Диаметр
первого слоя навивки
|
D1
|
М
|
D1³(10….12)d
|
0.22
|
|
14
|
Диаметр
последнего слоя навивки
|
Dz
|
М
|
D1+2(z-1)S1
|
1.34
|
|
15
|
Внутренний
диаметр проточной части
|
Dвн
|
М
|
0.201
|
|
|
16
|
Наружный
диаметр проточной части
|
D
|
М
|
1.359
|
|
|
17
|
Количество
параллельных трубок в среднем слое
|
ncp
|
шт.
|
6
|
|
|
18
|
Средний
диаметр навивки
|
Dcp
|
м2
|
0.78
|
|
|
19
|
Минимальное
проходное сечение межтрубного пространства
|
FТпр
|
м2
|
0.158
|
|
.3 Распределение трубок по слоям навивки
Общее число параллельных трубок ПГ
распределяется по слоям навивки с учетом ряда условий. Первое из них имеет вид:
Число трубок, образующих слой
навивки, принимается таким образом, чтобы длины всех параллельных трубок,
образующих ПГ были одинаковы, так как при этом обеспечивается равномерное
распределение рабочей среды по всем трубкам. Второе условие выполняется если
число трубок в i - слое навивки определять по
отношению:
Т.е. количество трубок в слое
навивки возрастает по мере увеличения диаметра навивки. В каждом слое
количество трубок будет равно ni и отлично
от количества трубок в других слоях. Однако, поскольку количество трубок в слое
навивки конкретного i-го змеевика должно быть равно
целому числу и в целях упрощения технологии изготовления общее количество
змеевиков z разделяется
на группы в каждой из которых будет по 3-4 смежных змеевика, имеющих одинаковое
количество параллельных трубок. Эту процедуру будем выполнять в табличной
форме, где ni вычисляется
по формуле:
|
Номер
слоя навивки, i
|
Диаметр
слоя, Di,
м
|
Расчетное
число трубок в слое Принятое число
трубок в слое, ni
|
|
|
1
|
0.22
|
1.69
|
2
|
|
2
|
0.26
|
2
|
2
|
|
3
|
0.30
|
2.3
|
2
|
|
4
|
0.34
|
2.6
|
3
|
|
5
|
0.38
|
2.9
|
3
|
|
6
|
0.42
|
3.2
|
|
7
|
0.46
|
3.53
|
4
|
|
8
|
0.50
|
3.8
|
4
|
|
9
|
0.54
|
4.15
|
4
|
|
10
|
0.58
|
4.46
|
4
|
|
11
|
0.62
|
4.76
|
5
|
|
12
|
0.66
|
5.07
|
5
|
|
13
|
0.70
|
5.38
|
5
|
|
14
|
0.74
|
5.69
|
6
|
|
15
|
0.78
|
6
|
6
|
|
16
|
0.82
|
6.3
|
6
|
|
17
|
0.86
|
6.61
|
7
|
|
18
|
0.9
|
6.9
|
7
|
|
19
|
0.94
|
7.2
|
7
|
|
20
|
0.98
|
7.53
|
8
|
|
21
|
1.02
|
7.8
|
8
|
|
22
|
1.06
|
8.15
|
8
|
|
23
|
1.10
|
8.46
|
8
|
|
24
|
1.14
|
8.76
|
9
|
|
25
|
1.18
|
9.07
|
9
|
|
26
|
1.22
|
9.3
|
9
|
|
27
|
1.26
|
9.69
|
10
|
|
28
|
1.3
|
10
|
10
|
|
29
|
1.34
|
10.3
|
10
|
|
Итого:172
|
|
|
5.
РАСЧЕТ ЭКОНОМАЙЗЕРНОГО УЧАСТКА
.1 Параметры питательной воды и коэффициент
теплоотдачи от стенки к питательной воде
|
№
п/п
|
Наименование
величины
|
Обозн.
|
Размер
|
Формула
или источник
|
Числовое
значение
|
|
1
|
2
|
3
|
4
|
5
|
6
|
|
1
|
Средняя
температура
|
tэкср
|
0С
|
(tпв+ts)/2
|
173
|
|
2
|
Среднее
давление
|
рэкср
|
МПа
|
(рпв+рs)/2
|
3.301
|
|
3
|
Критерий
Прандтля
|
Рrэк
|
-
|
Рr(рэкср,
tэкср)
|
1.04
|
|
4
|
Удельный
объем
|
Vэк
|
м3/кг
|
V(рэкср,
tэкср)
[2], [3]
|
0.00112
|
|
5
|
Коэффициент
кинематической вязкости
|
νэк
|
м2/с
|
ν(рэкср,
tэкср)
|
0.181*10-6
|
|
6
|
Коэффициент
теплопроводности
|
λэк
|
Вт/(м0С)
|
λ(рэкср,
tэкср)
|
0.678
|
|
7
|
Скорость
|
wэк
|
м/с
|
DVэк/Fпг
|
0.64
|
|
8
|
Критерий
Рейнольдса
|
Reэк
|
-
|
wэкdвн/
νэк
|
50276
|
|
9
|
Коэффициент
теплопередачи
|
αэк
|
Вт/(м0С)
|
6534
|
|
5.2 Параметры теплоносителя и коэффициент
теплоотдачи от теплоносителя к стенке
|
№
п/п
|
Наименование
величины
|
Обозн.
|
Размерность
|
Формула
или источник
|
Числовое
Значение
|
|
1
|
Средняя
температура
|
tTсрэк
|
0С
|
(tт+tт
ив)/2
|
298.5
|
|
2
|
Критерий
Прандтля
|
PrTэк
|
-
|
Рr(pт,tтсрэк)
|
0.91
|
|
3
|
Удельный
объем
|
VTэк
|
м3/кг
|
V(pт,tтсрэк)
[2], [3]
|
0.001376
|
|
4
|
Коэффициент
кинематической вязкости
|
νТэк
|
м2/с
|
ν(pт,tтсрэк)
|
0.128*10-6
|
|
5
|
Коэффициент
теплопроводности
|
λТэк
|
Вт/(м0С)
|
λ(pт,tтсрэк)
|
0.56
|
|
6
|
Скорость
|
wT эк
|
м/с
|
G VTэк/FTпр
|
2.02
|
|
7
|
Критерий
Рейнольдса
|
ReT эк
|
-
|
wT экd/
νТэк
|
284062
|
|
8
|
Коэффициент
учитывающий влияние относительного шага поперечного обтекания труб
|
- 0.984
|
|
|
|
|
9
|
Коэффициент
теплоотдачи от теплоносителя к стенке
|
αT
эк
|
Вт/(м0С)
|
179007.8
|
|
.3 Расчет площади поверхности нагрева
|
№
п/п
|
Наименование
величины
|
Обознач.
|
Размерность
|
Формула
или источник
|
Числовое
Значение
|
|
1
|
Средняя
температура стенки
|
tэкст
|
0С
|
294
|
|
|
2
|
Коэффициент
теплопроводности материала стенки
|
λстэк
|
Вт/(м0С)
|
λ
(tэкст)
|
18.6
|
|
3
|
Термическое
сопротивление стенки
|
Rстэк
|
(м2
0С)/Вт
|
δст/
λстэк
|
1.075*10-4
|
|
4
|
Термическое
сопротивление окисных пленок
|
Rок
|
(м2
0С)/Вт
|
δок/λок
|
0.8*10-5
|
|
5
|
Коэффициент
теплопередачи
|
Kэк
|
Вт/(м2
0С)
|
3485.7
|
|
|
6
|
Больший
температурный напор
|
Δtбэк
|
0С
|
tт-ts
|
187
|
|
7
|
Меньший
температурный напор
|
Δtмэк
|
0С
|
tтис-ts
|
64
|
|
8
|
Средний
температурный напор
|
Δtсрэк
|
0C
|
114.7
|
|
|
9
|
Площадь
нагрева поверхности
|
Нэк
|
м2
|
22.8
|
|
Примечание: величина Rок
на трубах, находящихся в контакте с водой или водяным паром, зависит от
материала труб:
для углеродистых сталей Rок
= (5…..15)×10-5 (м2 0С)/Вт;
для нержавеющих сталей Rок
<1×10-5
(м2 0С)/Вт.
6. РАСЧЕТ ИСПАРИТЕЛЬНОГО УЧАСТКА
.1 Параметры теплоносителя и коэффициента
теплоотдачи от теплоносителя к стенке
|
№
п/п
|
Наименование
величины
|
Обозн.
|
Размерность
|
Формула
или источник
|
Числовое
значение
|
|
1
|
2
|
3
|
4
|
5
|
6
|
|
1
|
Средняя
температура
|
tTсрис
|
0С
|
(tтис+tт
пп)/2
|
312.7
|
|
2
|
Критерий
Прандтля
|
PrTис
|
-
|
Рr(pт,tтсрис)
|
0.001441
|
|
3
|
Удельный
объем
|
VTис
|
м3/кг
|
V(pт,tтсрис)[2],
[3]
|
0.128*10-6
|
|
4
|
Коэффициент
кинематической вязкости
|
νТис
|
м2/с
|
ν(pт,tтсрис)
|
0.53
|
|
5
|
Коэффициент
теплопроводности
|
λТис
|
Вт/(м0С)
|
λ(pт,tтсрис)
|
1
|
|
6
|
Скорость
|
wT ис
|
м/с
|
G VTис/FTпр
|
2.12
|
|
7
|
Критерий
Рейнольдса
|
ReT ис
|
-
|
wT исd/
νТис
|
298125
|
|
8
|
Коэффициент
учитывающий влияние относительного шага поперечного обтекания труб
|
- 0.984
|
|
|
|
|
9
|
Коэффициент
теплоотдачи
|
αT
ис
|
Вт/(м
2 0С)
|
27247.1
|
|
.2 Параметры кипящей среды и коэффициент
теплоотдачи от стенки к кипящей воде
|
№
п/п
|
Наименование
величины
|
Обознач.
|
Размерность
|
Формула
или источник
|
Числовое
Значение
|
|
1
|
Среднее
давление
|
МПа
|
(рs+ps)/2
|
3.237
|
|
2
|
Средняя
температура
|
0С [1],
[3]238
|
|
|
|
|
3
|
Для
расчета коэффициента теплоотдачи от стенки к кипящей воде необходимо
предварительно оценить величину удельного теплового потока на испарительном
участке и в дальнейшем вести расчет методом последовательных приближений по
пп. 4-16
|
|
4
|
Температура
стенки
|
tстис
|
0С
|
250
|
|
|
5
|
Коэффициент
теплопроводности
|
λстис
|
Вт/(м0С)
|
18.3
|
|
|
6
|
Термическое
сопротивление стенки
|
(м2
0С)/Вт 1.1*10-4
|
|
|
|
|
7
|
Термическое
сопротивление окисных пленок
|
Rok
|
(м2
0С)/Вт
|
См.
примечание к п. 5.3.
|
0.8*10-4
|
|
8
|
Удельный
тепловой поток
|
Вт/м2 1823598
|
|
|
|
|
9
|
Коэффициент
теплоотдачи от стенки к кипящей воде
|
Вт/(м2
0С) 135971
|
|
|
|
|
10
|
Коэффициент
теплопередачи
|
Вт/(м2
0С) 3712.5
|
|
|
|
|
11
|
Больший
температурный напор
|
Δtбис
|
0С
|
87.5
|
|
|
12
|
Меньший
температурный напор
|
Δtмис
|
0С
|
85.4
|
|
|
13
|
Средний
температурный напор
|
Δtсрис
|
0С
|
86.4
|
|
|
14
|
Удельный
тепловой поток
|
Вт/м2 1823598
|
|
|
|
|
15
|
Отношение
|
-1
|
|
|
|
|
16
|
Если
выполняется условие 0,95£ /
£1,05,
то расчет заканчивается. В противном случае расчет повторяется, начиная с п.4
при
|
|
|
|
|
|
17
|
Площадь
поверхности нагрева
|
Нис
|
м2
|
Qис
103/qис
|
45.5
|
|
|
|
|
|
|
|
7. РАСЧЕТ ПАРОПЕРЕГРЕВАТЕЛЬНОГО
УЧАСТКА
.1 Параметры теплоносителя и коэффициент
теплоотдачи от теплоносителя к стенке
|
№
п/п
|
Наименование
величины
|
Обозна.
|
Размерность
|
Формула
или источник
|
Числовое
Значение
|
|
1
|
Средняя
температура
|
tт
српп
|
0С
|
(tт+tтпп)/2
|
324.2
|
|
2
|
Критерий
Прандтля
|
Prпп
|
-
|
Pr(рт,
tтсрпп)
|
0.00151
|
|
3
|
Удельный
объем
|
Vтпп
|
м3/кг
|
V(рт,
tтсрпп)[2],
[3]
|
0.127*10-6
|
|
4
|
Коэффициент
кинематической вязкости
|
νтпп
|
м2/с
|
ν(рт,
tтсрпп)
|
0.502
|
|
5
|
Коэффициент
теплопроводности
|
λтпп
|
Вт/(м0С)
|
λ(рт,
tсртпп)
|
1.11
|
|
6
|
Скорость
|
wтпп
|
м/с
|
GVтпп/Fтпр
|
2.22
|
|
7
|
Критерий
Рейнольдса
|
Reтпп
|
-
|
wтпп
d/νтпп
|
314645
|
|
8
|
Коэффициент
учитывающий влияние относительного шага поперечного обтекания труб
|
- 0.984
|
|
|
|
|
9
|
Коэффициент
теплоотдачи от теплоносителя к стенке
|
αтпп
|
Вт/(м
2 0С)
|
27529
|
|
.2 Параметры перегретого пара и коэффициент
теплоотдачи от стенки к пару
|
№
п/п
|
Наименование
величины
|
Обозн.
|
Размерность
|
Формула
или источник
|
Числовое
Значение
|
|
1
|
Средняя
температура
|
tсрпп
|
0С
|
(ts+tпп)/2
|
270.4
|
|
2
|
Среднее
давление
|
рсрпп
|
МПа
|
(рпп+ps)/2
|
3.087
|
|
3
|
Критерий
Прандтля
|
Prпп
|
-
|
Pr(рсрпп,
tсрпп)
|
0.07678
|
|
4
|
Удельный
объем
|
Vпп
|
м3/кг
|
V(рсрпп,
tсрпп)2],
[3]
|
1.6*10-6
|
|
5
|
Коэффициент
кинематической вязкости
|
νпп
|
м2/с
|
ν(рсрпп,
tсрпп)
|
0.45
|
|
6
|
Коэффициент
теплопроводности
|
λпп
|
Вт/(м0С)
|
λ(рсрпп,
tсрпп)
|
1.2
|
|
7
|
Скорость
пара
|
wпп
|
м/с
|
DVпп/Fпг
|
43.8
|
|
8
|
Критерий
Рейнольдса
|
Reпп
|
-
|
wпп
dвн/
νпп
|
383250
|
|
9
|
Коэффициент
теплопередачи
|
αпп
|
Вт/(м0С)
|
2338
|
|
.3 Площадь поверхности нагрева
пароперегревательного участка
|
№
п/п
|
Наименование
величины
|
Обозн.
|
Размерность
|
Формула
или источник
|
Числовое
значение
|
|
1
|
Средняя
температура стенки труб
|
tстпп
|
0С
|
298
|
|
|
2
|
Коэффициент
теплопроводности материала стенки
|
λстпп
|
Вт/(м0С)
|
λ(tстпп)
|
19.4
|
|
3
|
Термическое
сопротивление стенки
|
Rстпп
|
м2
0С)/Вт
|
δст/
λстпп
|
1.03*10-4
|
|
4
|
Термическое
сопротивление окисных пленок
|
Rок
|
м2
0С)/Вт
|
δст/
λстпп
|
0.8*10-5
|
|
5
|
Коэффициент
теплопередачи
|
Kпп
|
Вт/(м2
0С)
|
1717.3
|
|
|
6
|
Больший
температурный напор
|
Δtбпп
|
0С
|
87
|
|
|
7
|
Меньший
температурный напор
|
Δtмпп
|
0С
|
20
|
|
|
8
|
Средний
температурный напор
|
Δtсрпп
|
0C
|
45.6
|
|
|
9
|
Площадь
нагрева поверхности
|
Hпп
|
м2
|
42.4
|
|
8. РАСЧЕТ МАССОГАБАРИТНЫХ
ХАРАКТЕРИСТИК ПОВЕРХНОСТИ ТЕПЛООБМЕНА ПАРОГЕНЕРАТОРА
|
№
п/п
|
Наименование
величины
|
Обозн.
|
Размерность
|
Формула
или источник
|
Числовое
значение
|
|
1
|
Суммарная
поверхность нагрева ПГ
|
Hпг
|
м2
|
Нэк+Нис+Нпп
|
110.7
|
|
2
|
Средний
диаметр трубки
|
dcp
|
м
|
d+dвн/2
|
0.016
|
|
3
|
Суммарная
длина трубок ПГ
|
L TP
|
м
|
Hпг/π
dcp
|
2188
|
|
4
|
Средняя
длина одной трубки
|
мL
TP/nтр12
|
|
|
|
|
5
|
Поверхность
теплообмена одного горизонтального ряда трубной системы
|
Н1гор
|
м2
|
4.018
|
|
|
6
|
Число
горизонтальных слоев навивки
|
zгор
|
шт.
|
Hпг/
Н1гор
|
27.5
|
|
7
|
Высота
поверхности нагрева
|
h
|
м
|
zгорS2
|
0.55
|
|
8
|
Плотность
материала
|
γм
|
кг/м3
|
Сталь-7850
Титан -4500
|
7850
|
|
9
|
Масса
трубной системы
|
М
|
кг
|
L
TP
π γм(d2-d2вн)/4
|
2751
|
|
10
|
Объем
пространства, занимаемого трубной системой
|
VТР.С
|
м3
|
πh(D2-D2вн)/4
|
0.780
|
|
11
|
Удельная
объемная теплонапряженность ПГ
|
МВт/м3Qпг/
VТР.С
10352.42
|
|
|
|
Список
используемой литературы
1. Андреев
П.А., Гремлинов Д.Н. и др. Теплообменные аппараты ядерных энергетических
установок. Изд.2-е переработанное и дополненное. -Л: Судостроение, 1969
. Козлов
В.И. Судовые энергетические установки. -Л: Судостроение 1975.
. Рассохин
Н.Г. Парогенераторные установки атомных электростанций. Изд.2-е -М: Атомиздат,
1980.
. Пушкин
Н.И. Котлы. -Л: Судостроение, 1984.
. Дядик
А.Н., Пейч Н.Н. Судовые паропроизводящие установки. Методические указания,
расчет курсового проекта. -Л: Изд. ЛКИ, 1986.
. Вукалович
М.П. и др. Таблицы теплофизических свойств воды и водяного пара. -М: Стандарты,
1980.