Тепловой расчёт промышленного парогенератора ГМ-50-1
Пояснительная
записка к курсовому проекту
по курсу
“Котельные установки промышленных предприятий”
Тема:
Тепловой расчёт промышленного парогенератора ГМ-50-1
РЕФЕРАТ
Пояснительная записка к
курсовому проекту: 46 с., 5 рис., 23 табл.Графическая часть содержит 1 лист
формата А0 и А1.
Объектом исследования
является парогенератор К-50-40-1. Тепловой расчет парового котла может быть
конструктивным и поверочным. Задача конструктивного теплового расчета котла
заключается в выборе компоновки поверхностей нагрева в газоходах котла,
определении размеров радиационных и конвективных поверхностей нагрева,
обеспечивающих номинальную паропроизводительность котла при заданных
номинальных параметрах пара, надежность и экономичность его работы. При этом
обеспечение надежности работы поверхностей нагрева предполагает получение
расчетных тепловых характеристик, исключающих увеличение максимальной
температуры стенки сверх допустимого значения по условиям прочности, а на
экономичность работы котла определяющее влияние оказывают температура уходящих
газов и присосы холодного воздуха в газовый тракт.
Выполнение
конструктивного теплового расчета производится на основании исходных данных:
тип парового котла (барабанный или прямоточный, его заводская маркировка),
номинальную паропроизводительность и параметры перегретого пара, месторождение
и марку энергетического топлива, способ сжигания твердого топлива (с твердым
или жидким удалением шлаков), температуру питательной воды, поступающей в котел
после регенеративного подогрева. Кроме указанных могут быть заданы и другие
характеристики, например непрерывная продувка, доля рециркуляции газов в топку,
работа котла под наддувом или при разряжении в газовом тракте и др.
Задание не поверочный
расчет включает в себя практически те же исходные данные, что и при
конструктивном расчете, и дополнительно – конструктивные данные поверхностей
котла. Поэтому расчету предшествует определение по чертежам геометрических
характеристик поверхностей (диаметров и шагов труб, числа рядов труб, размеров
проходных сечений для газов и рабочей среды, габаритных размеров газоходов и
поверхностей нагрева и т.д.).
При поверочном расчете
котла, так же как при конструктивном, вначале определяют объемы и энтальпии
воздуха и продуктов сгорания, КПД и расход топлива, а затем выполняют расчет
теплообмена в топочной камере и других поверхностях в последовательности,
соответствующей их расположению по ходу газов.
КОТЕЛ, ПАР, ТОПЛИВО,
ТЕПЛОТА, КПД, ПАРОПЕРЕГРЕВАТЕЛЬ, ЭКОНОМАЙЗЕР, ВОЗДУХОПОДОГРЕВАТЕЛЬ.
СОДЕРЖАНИЕ
Введение
1. Общее описание котлоагрегата и
вспомогательного оборудования
2. Расчет топлива
2.1 Характеристики топлива
2.2 Теплота сгорания смеси топлив.
2.3 Объёмы воздуха и продуктов
сгорания
2.4 Энтальпии воздуха и продуктов
сгорания.
3. Расчет теплового баланса парогенератора
и расход топлива
4. Расчет теплообмена в топке
5. Расчет фестона
6. Расчет пароперегревателя
7. Расчет хвостовых поверхностей
нагрева
8. Расчет невязки теплового баланса
парогенератора
Выводы
Список литературы
ВВЕДЕНИЕ
Паровой котел – это
основной агрегат тепловой электростанции (ТЭС). Рабочим телом в нем для
получения пара является вода, а теплоносителем служат продукты горения
различных органических топлив. Необходимая тепловая мощность парового котла
определяется его паропроизводительностью при обеспечении установленных
температуры и рабочего давления перегретого пара. При этом в топке котла
сжигается расчетное количество топлива.
Номинальной
паропроизводительностью называется наибольшая производительность по пару,
которую котел должен обеспечить в длительной эксплуатации при номинальных
параметрах пара и питательной воды с допускаемыми по ГОСТ отклонениями от этих
величин.
Номинальное давление пара
– наибольшее давление пара, которое должно обеспечиваться непосредственно за
пароперегревателем котла.
Номинальные температуры
пара высокого давления (свежего пара) и пара промежуточного перегрева
(вторично-перегретого пара) – температуры пара, которые должны обеспечиваться
непосредственно за пароперегревателем с допускаемыми по ГОСТ отклонениями при
поддержании номинальных давлений пара, температуры питательной воды и
паропроизводительности.
Номинальная температура
питательной воды – температура воды перед входом в экономайзер, принятая при
проектировании котла для обеспечения номинальной паропроизводительности.
При изменении нагрузки
котла номинальные температуры пара (свежего и вторично перегретого) и, как
правило, давление должны сохраняться (в заданном диапазоне нагрузок), а
остальные параметры будут изменяться.
Оборудование котельной
установки условно разделяют на основное (собственно котел) и вспомогательное.
Вспомогательными называют оборудование и устройства для подачи топлива,
питательной воды и воздуха, для удаления продуктов сгорания, очистки дымовых
газов, удаления золы и шлака, паропроводы, водопроводы и др.
Современный котел
оснащается системами автоматизации, обеспечивающими надежность и безопасность
его работы, рациональное использование топлива, поддержание требуемой
производительности и параметров пара, повышение производительности труда
персонала и улучшение условий его работы, защиту окружающей среды от вредных
выбросов.
1. Общее описание котлоагрегата и вспомогательного
оборудования
Парогенератор ГМ-50-1.
Топочная камера обьемом 144 м
полностью экранирована трубами 60´3мм,
расположенными с шагом 70 мм. Трубы фронтового и заднего экранов образуют под
топки. Экраны разделены на восемь самостоятельных циркуляционных контуров.
На боковых стенах топочной камеры размещены по три
основные газомазутные горелки, с фронта – две дополнительные. В барабане
находится чистый отсек первой ступени испарения с внутрибарабанными циклонами. Вторая
ступень вынесена в выносные циклоны Ш 377 мм.
Пароперегреватель – конвективный, горизонтального
типа, змеевиковый, двухступенчатый, с шахматным расположением труб Æ
32´3
мм и поперечным шагом 75 мм.
Экономайзер – стальной, гладкотрубный, змеевиковый,
кипящего типа, двухблочный, с шахматным расположением труб Æ
28´3
мм. Продольный шаг – 50 мм, поперечный – 70 мм.
Воздухоподогреватель - стальной, трубчатый,
одноступенчатый, трехходовый, с шахматным расположением труб 40´1,5мм.
Поперечный шаг труб - 60 мм, продольный – 42 мм.
Технические и основные конструктивные характеристики
парогенератора приведены в аннотации.
Исходные данные
представлены в таблице 1и 1.1
Таблица 1. Исходные
данные.
|
№варианта
|
Тип
парогенератора
|
Топливо
№1(мазут)
|
Топливо №
2(газ)
|
|
20
|
ГМ 50-1
|
97
|
26
|
Таблица 1.1
|
q1 %
|
D т/ч
|
Pп.п бар
|
tп.п 0С
|
r %
|
tп.в 0С
|
|
36
|
49
|
40
|
450
|
3,5
|
145
|
2. Расчёт топлива
2.1 Характеристики
топлива
Расчётные характеристики для заданных видов топлива
предоставлены в таблицах 2.1 и 2.2
Таблица 2.1
Характеристики твёрдого топлива.
|
Ср
%
|
Wp %
|
Ap
%
|
Spk
%
|
TSpop
%
|
Hp
%
|
Np
%
|
Op
%
|
Qрн
КДж/кг
|
Vг
|
t1
0С
|
t2
0С
|
t3
0С
|
|
84,8
|
3
|
0,1
|
1.4
|
11.2
|
0.5
|
0.5
|
9490 * 4.187
|
50
|
1450
|
>1500
|
-
|
Таблица 2.2 Характеристики газа.
|
CH4
%
|
C2H6
%
|
C3H8
%
|
C4H10
%
|
C5H12
%
|
N2
%
|
CO2
%
|
H2S %
|
O2
%
|
CO%
|
H2
%
|
Qсн
КДж/м3
|
rсг
кг/м3
|
|
93.9
|
3.1
|
1.1
|
0.3
|
0.1
|
1.3
|
0.2
|
-
|
-
|
-
|
-
|
8860*4.187
|
0.766
|
2.2 Теплота сгорания смеси топлив
При сжигании смеси жидкого и газообразного топлив
расчёт с целью упрощения условно ведется на 1 кг жидкого топлива с учётом
количества газа (м3), приходящегося на 1 кг жидкого топлива. Поскольку
доля жидкого топлива в смеси задана по теплу, то теплота сгорания жидкого
топлива и является этой долей.
Следовательно, удельная теплота сгорания смеси
определиться как
где
– теплота сгорания твёрдого топлива,
кДж/кг;
– доля твёрдого топлива по теплу, %;
Количество теплоты,
вносимое в топку с газом:
Тогда расход газа (в м3)
на 1 кг твёрдого топлива будет равен:
где
– теплота сгорания газа, кДж/м.
Проверка:
2.3 Объёмы воздуха и
продуктов сгорания
Необходимое для полного
сгорания топлива количество кислорода, объёмы и массовые количества продуктов
сгорания определяются из нижеследующих стехиометрических уравнений:
·
Для твёрдого
топлива:
·
Для
газообразного топлива:
V°вII=0.0476∙[0.5∙СО+0.5∙Н2+1.5∙Н2S+∑(m+0.25∙n)∙СmНn–О2]=
=0.0476∙(0+(1+0,25*4)*93,9+(2+0,25*6)*3,1+(3+0,25*8)*1,1+(4+0,25*10)*0,3+(5+0,25*12)*0,1)=9,84844
м/м;
V°N2II=0.79∙V°вII+0.01∙N2=0.79∙9.84844+0.01∙1,3=7.8 м/м;
V°RO2II=0.01∙(СО2+СО+Н2S+∑m∙СmНn)=0.01∙(0.2+1∙93.2+2∙3,1+3∙1.1+4∙0.3+5Ч0,1)=1.053
м/м;
V°Н2OII=0.01∙(Н2S+Н2+∑0.5∙n∙СmНn+0.124∙dr)+0.0161∙V°в=0.01∙(0.5∙4∙93.9+6·3,1·0,5+0.5∙8∙1.1+0.5∙10∙0.3+0.5∙12·0,1+0,124·)+0.0161∙9.84844=2.2
м/м;
·
Для смеси
топлив:
V°в=V°вI+Х∙V°вII=10,6+1,9∙9,84844=29,22 м/кг;
V°N2=V°N2I+Х∙V°N2II=8,378+1,9∙7.8=23,198
м/кг;
VRO2=V°RO2I+Х∙V°RO2II=1,6+1,9∙1.053=3,6
м/кг;
V°Н2O=V°Н2OI+Х∙V°Н2OII=1,45+1,9∙2,2=5,63м/кг;
Расчёт действительных
объёмов.
VN2=V°N2+(a–1)∙V°в=23,198+(1.1–1)∙29,22=26,12 м/кг;
VН2O=V°Н2O+0.0161∙(a–1)∙V°в=5,63+0.0161∙(1.1–1)∙29,22=5,68м/кг;
Vr=VRO2+VN2+VН2O=3,6+26,12+5,68=35,4 м/кг;
Объёмные доли
трёхатомных газов.
rRO2=VRO2/Vr=3,6/35,4=0.102
rН2O=VН2O/Vr=5,68/35,4=0.16
rn=rRO2+rН2O=0.102+0.16=0.3
Концентрация золы в продуктах сгорания
m=А ∙aун/(100·Gr)=0,1∙0.95/(100·42,98)=0,000022
кг/кг;
Gr=1-A/100+1.306∙a· V°в=1-0,1/100+1.306·1.1·29,22=42,98кг/кг;
2.4 Энтальпии воздуха и продуктов сгорания.
I°в=V°в∙(сt)в=29.22∙1436=41959,92 кДж/кг;
I°r=VRO2∙(сJ)RO2+V°N2∙(сJ)N2+V°Н2О∙(сJ)Н2О=3,6∙2202+23,198∙1394+5,63∙1725=49826,41кДж/кг;
Ir=I°r+(a–1)∙I°в+Iзл;
т.к. (А ∙aун/Qн)∙10=(0,1∙0.95/110368,7)∙10=0,0008<1.5,
то Iзл – не учитывается;
Ir=I°r+(a–1)∙I°в=49826,41+(1.1–1)∙41959,92=54023,34
кДж/кг.
Полученные результаты после проверки на компьютере и
уточнения офор- мим в виде даблицы 2.3
Таблица 2.3 Результаты расчёта топлива.
|
Для твёрдого топлива
|
Для газообразного топлива
|
Для смеси топлив
|
Энтальпии при t=1000 °С
|
|
V°вI=10,6
V°N2I=8,378
V°RO2I=1,6
V°Н2OI=1,45
|
V°вII=9.84844
V°N2II=7.8
V°RO2II=1.053
V°Н2OII=2,2
|
V°вII=29,22
V°N2II=23,09
V°RO2II=3,6
V°Н2OII=5,63
|
Воздуха: I°в=41959,92
Газа: I°r=49826,41
Ir=54023,34
Золы: Iзл=0.00
|
При aт=1.1, t=1000°С.
Значение коэффициентов избытка воздуха на выходе из
топки и присосов воздуха в элементах и газоходах котельной установки принимаем
по таблице 5.
Таблица 2.4 Присосы воздуха по газовому тракту.
|
Участки
газового тракта.
|
∆a
|
a
|
Температура,
°С.
|
|
Топка
|
0.1
|
1,1
|
100–2200
|
|
Пароперегреватель
|
0,05
|
1,15
|
600–1200
|
|
Экономайзер
|
0,08
|
1,23
|
200–900
|
|
Воздухоподогреватель
|
0,06
|
1,29
|
100–600
|
Данные расчётов энтальпии продуктов сгорания топлива
при различных температурах газов в различных газоходах сведены в таблицу 2.5.
Таблица 2.5 Энтальпии
продуктов сгорания в газоходах.
|
t,
°С
|
Участки
конвективных поверхностей нагрева
|
|
1,1
|
1,15
|
1,23
|
1,29
|
|
100
|
4846,011
|
|
|
5578,849
|
|
200
|
9777,533
|
|
10787,96
|
11254,31
|
|
300
|
14848,19
|
|
16379,02
|
17085,56
|
|
400
|
20056,08
|
|
22114,92
|
23065,15
|
|
500
|
25386,66
|
|
27984,91
|
29184,09
|
|
600
|
30833,56
|
32046,19
|
33986,4
|
35441,56
|
|
700
|
36421,62
|
37851,94
|
40140,45
|
|
|
800
|
42190,41
|
43841,34
|
46482,83
|
|
|
900
|
48048,5
|
49920,04
|
52914,51
|
|
|
1000
|
54023,34
|
56121,33
|
|
|
|
1100
|
60024,26
|
62354,56
|
|
|
|
1200
|
66042,61
|
68605,21
|
|
|
|
1300
|
72270,49
|
|
|
|
|
1400
|
78520,91
|
|
|
|
|
1500
|
84770,96
|
|
|
|
|
1600
|
91118,2
|
|
|
|
|
1700
|
97503,2
|
|
|
|
|
1800
|
103939,3
|
|
|
|
|
1900
|
110453,8
|
|
|
|
|
2000
|
116932,3
|
|
|
|
|
2100
|
123509,7
|
|
|
|
|
2200
|
130060,2
|
|
|
|
Таблица 2.6.
Характеристики продуктов сгорания в поверхностях нагрева.
|
Величина
|
Един-ица
|
Топка
|
Участки конвективных поверхностей
нагрева
|
|
1.1
|
1.125
|
1.19
|
1.26
|
|
VRO2
|
м/кг
|
3,6
|
3,6
|
3,6
|
3,6
|
|
VN2=V°N2+(a-1)∙V°в
|
–//–
|
26,12
|
26,85
|
28,75
|
30,8
|
|
VН2O=V°Н2O+ +0.0161∙(a-1)∙V°в
|
–//–
|
5,68
|
5,69
|
5,72
|
5,75
|
|
Vr=VRO2+VN2+VН2O
|
–//–
|
35,4
|
36,14
|
38,1
|
40,15
|
|
rRO2=VRO2/Vr
|
–//–
|
0,102
|
0.1
|
0.09
|
0.089
|
|
rН2O=VН2O/Vr
|
–//–
|
0.157
|
0.15
|
0.14
|
|
rn=rRO2+rН2O
|
–//–
|
0.3
|
0.26
|
0.24
|
0.229
|
|
10∙А ∙aун/Qн
|
кг/МДж
|
0,03
|
0,03
|
0,025
|
0,024
|
|
м= А ∙aун/(100·Gr)
|
кг/кг
|
0,000022
|
0,000022
|
0,00002
|
0,000021
|
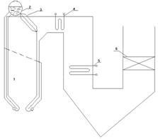
На рис.1 представлена
схема котла ГМ-50-1
Рис. 1 Схема котла
ГМ-50-1.
1-Топочная камера
2-Барабан
3-Фестон
4-Пароперегреватель
5-Экономайзер
6-Воздухоподогреватель
3. Расчёт теплового
баланса парогенератора и расход топлива
Расчёт теплового баланса
парогенератора и расход топлива преждставлен в таблице 3
ТАБЛИЦА 3.
|
Величина
|
Единица
|
Расчёт
|
|
Наименование
|
Обозначение
|
Расчётная формула или способ
определение
|
|
Располагаемая теплота топлива
|
|
|
кДж/кг
|
|
|
Потеря теплоты от химической
неполноты сгорания топлива
|
|
По таблице 4–3
|
%
|
0,5
|
|
Потеря теплоты от механической
неполноты сгорания топлива
|
|
По таблице 4–3
|
%
|
0
|
|
Температура уходящих газов
|
|
По заданию
|
°С
|
140
|
|
Энтальпия уходящих газов
|
|
По IJ–таблице
|
кДж/кг
|
7849,0334
|
|
Температура воздуха в котельной
|
|
По выбору
|
°С
|
30
|
|
Энтальпия воздуха в котельной
|
|
По IJ–таблице
|
кДж/кг
|
1139,58
|
|
Потеря теплоты с уходящими газами
|
|
|
%
|
|
|
Потеря теплоты от наружного
охлаждения
|
|
По рис. 3–1
|
%
|
0,9
|
|
Сумма теплов.пот.
|
|
|
%
|
|
|
К.п.д. парогенератора
|
|
|
%
|
|
|
Коэффициент сохранения теплоты
|
|
|
—
|
|
|
Паропроизводительность агрегата
|
D
|
По заданию
|
кг/с
|
49
|
|
Давление пара в барабане
|
|
По заданию
|
МПа
|
44,4
|
|
Температура перегретого пара
|
|
По заданию
|
°С
|
450
|
|
Температура питательной воды
|
|
По заданию
|
°С
|
145
|
|
Удельная энтальпия перегретого
пара
|
|
По табл. VI–8
|
кДж/кг
|
3342
|
|
Удельная энтальпия питательной
воды
|
|
По табл. VI–6
|
кДж/кг
|
611
|
|
Значение продувки
|
p
|
По выбору
|
%
|
70
|
|
Полезно используемая теплота в
агрегате
|
|
|
кВт
|
|
|
Полный расход топлива
|
|
|
кг/с
|
|
|
Расчётный расход топлива
|
|
|
кг/с
|
|
4 Расчет теплообмена в
топке
Расчёт полной площади
стен топочной камеры и сумарной лучевоспринимающей поверхности топки
представлен в таблицах 4.1 ,4.2, 4.3
На рис.2 представлена
схема топочной камеры
ТАБЛИЦА 4.1 Расчет полной
площади стен топочной камеры (Fст) и суммарной лучевоспринимающей поверхности
топки (Hл)
|
Наименование
|
Обоз-наче-ние
|
Еди-ница
|
Фр.и свод
|
Боко-вые
|
Задн
|
Вых. окно
|
S
|
|
Полная площадь стены и выходного
окна
|
FСТ
|
м2
|
56.2
|
63.5
|
44.28
|
13,48
|
177.46
|
|
Расстояние между осями крайних
труб
|
b
|
м
|
5.2
|
3.66
|
5.2
|
5.2
|
|
|
Освещённая длина труб
|
L
|
м
|
10.3
|
8.28
|
8.165
|
2.05
|
|
|
Площадь, занятая
лучевоспринимающей поверхностью
|
F
|
м2
|
53.56
|
60.61
|
42.46
|
10.66
|
167.29
|
|
Наружный диаметр труб
|
d
|
мм
|
60
|
60
|
60
|
60
|
|
|
Шаг труб
|
s
|
мм
|
70
|
70
|
70
|
70
|
|
|
Расстояние от оси труб до кладки
(стены)
|
e
|
мм
|
100
|
60
|
100
|
|
|
|
Отношение
|
s/d
|
-
|
1,1667
|
1,1667
|
1.1667
|
|
|
|
Отношение
|
e/d
|
-
|
1,667
|
1
|
1,667
|
|
|
|
Угловой коэффициент
|
x
|
-
|
0.99
|
0.99
|
0.99
|
0.99
|
|
|
Площадь лучевоспринимающей
поверхности открытых экранов
|
HЛОТК
|
м2
|
53.02
|
60
|
42
|
10.55
|
165.57
|
ТАБЛИЦА 4.2 Расчёт
конструктивных характеристик топки
|
Величина
|
Единица
|
Расчёт
|
|
Наименование
|
Обозначение
|
Расчётная формула или способ
определения
|
|
Активный объём топочной камеры
|
|
По конструктивным размерам
|
м3
|
150
|
|
Тепловое напряжение объёма топки:
расчётное допустимое
|
|
По табл. 4–3
|
кВт/м3
кВт/м3
|
290
|
|
Количество горелок
|
n
|
По табл. III–10
|
шт.
|
6
|
|
Тепло производительность горелки
|
|
|
МВт
|
|
|
Тип горелки
|
—
|
По табл. III–6
|
—
|
ГМГ-7
|
Рис.2 Топочная камера
ТАБЛИЦА 4.3 Поверочный
расчёт теплообмена в топке
|
Величина
|
Единица
|
Расчёт
|
|
Наименование
|
Обозначение
|
Расчётная формула или способ
определение
|
|
Суммарная площадь
лучевоспринимающей поверхности
|
|
По конструктивным размерам
|
м2
|
165.57
|
|
Полная площадь стен топочной
камеры
|
|
По конструктивным размерам
|
м2
|
177.46
|
|
Коэффициент тепловой
эффективности лучевоспринимающей поверхности
|
|
|
—
|
|
|
Эффективная толщина излучающего
слоя пламени
|
|
|
м
|
|
|
Полная высота топки
|
|
По конструктивным размерам
|
м
|
8
|
|
Высота расположения горелок
|
|
По конструктивным размерам
|
м
|
1.85
|
|
Относительный уровень
расположения горелок
|
|
|
—
|
|
|
Параметр забалансированности
топочных газов
|
rн
|
|
—
|
|
|
Коэффициент M0
|
M0
|
По нормативному методу
|
—
|
0,4
|
|
Параметр, учитывающий характер
распределения температуры в топке
|
М
|
|
—
|
|
|
Коэффициент избытка воздуха на
выходе из топки
|
|
По табл. 4–3
|
—
|
1,1
|
|
Присос воздуха в топке
|
|
По табл. 2–2
|
—
|
0,1
|
|
Присос воздуха в системе
пылеприготовления
|
|
По табл. 2–1
|
—
|
0
|
|
Температура горячего воздуха
|
|
По предварительному выбору
|
°С
|
250
|
|
Энтальпия горячего воздуха
|
|
По IJ–таблице
|
9774,09
|
|
Энтальпия присосов воздуха
|
|
По IJ–таблице
|
кДж/кг
|
1139,58
|
|
Полезное тепловыделение в топке
|
|
|
кДж/кг
|
|
|
Адиабатическая температура
горения
|
|
По IJ–таблице
|
°С
|
2045,86
|
|
Температура газов на выходе из
топки
|
|
По предварительному выбору
|
°С
|
1144
|
|
Энтальпия газов на выходе из
топки
|
|
По IJ–таблице
|
кДж/кг
|
62672.34
|
|
Средняя суммарная теплоёмкость
продуктов сгорания
|
|
|
кДж/кг
|
|
|
Объёмная доля:
водяных паров
трёхатомных газов
|
|
По табл. 1–2
По табл. 1–2
|
—
—
|
0,16
0,102
|
|
Суммарная объёмная доля
трёхатомных газов
|
|
|
—
|
|
|
Произведение
|
|
|
м·МПа
|
|
|
Коэффициент ослабления лучей:
трёхатомными газами
|
|
|
1/(мЧЧМПа)
|
|
|
Коэффициент излучения сажестых
частиц
Для мазута
Для газа
|
|
|
—
|
|
|
|
1-
|
—
|
|
|
Коэффициент заполнения
|
m
|
|
—
|
|
|
Коэффициент ослабления лучей
топочной средой
|
|
|
1/(мЧЧМПа)
|
|
|
Критерий Бургера
|
|
|
—
|
|
|
Критерий Бургера
|

|
|
—
|
|
|
Температура газов на выходе из
топки
|
|
|
°С
|
|
|
Энтальпия газов на выходе из
топки
|
|
По IJ–таблице
|
кДж/кг
|
62718.46
|
|
Общее тепловосприятие топки
|
|
|
кДж/кг
|
|
|
Средняя удельная тепловая
нагрузка лучевоспринимающих поверхностей
|
|
|
кВт/м2
|
|
5. Расчёт фестона
Конструктивные размеры и
поверочный расчёт фестона представлен в таблицах 5.1 и 5.2
На рис 3 представлена
схема фестона
Рис. 3 Схема фестона
ТАБЛИЦА 5.1
|
Показатели
|
Еди-ница
|
Фес-тон
|
|
Наименования
|
Обозначение
|
|
|
|
Диаметр труб :
|
|
|
|
|
наружный
|
d
|
м
|
0.06
|
|
внутренний
|
dвн
|
м
|
0.054
|
|
Кол-во труб в ряду
|
Z1
|
шт.
|
23
|
|
Кол-во рядов труб
|
Z2
|
|
3
|
|
Общее кол-во труб в
рассчитваыемом участке
|
Z
|
шт.
|
70
|
|
Средняя длина труб
|
lср
|
м
|
1.8
|
|
Расчетна площадь поверхности
нагрева
|
H
|
м2
|
23.74
|
|
Расположение труб
|
-
|
-
|
ш
|
|
Шаг труб :
|
|
|
|
|
поперек движения газов
|
S1
|
|
520
|
|
Вдоль движения газов
|
S2
|
|
210
|
|
Относительный шаг труб :
|
|
|
|
|
поперечный
|
S1/d
|
|
8.66
|
|
продольный
|
S2/d
|
|
3.5
|
|
Размер сечения газохода поперек
|
А
|
м
|
1.85
|
|
движения газов
|
В
|
м
|
5
|
|
Площадь живого сечения для
прохода газов
|
F
|
м2
|
6.766
|
ТАБЛИЦА 5.2 Поверочный
расчёт фестона
|
Величина
|
Единица
|
Расчёт
|
|
Наименование
|
Обозначение
|
Расчётная формула или способ
определения
|
|
Полная площадь поверхности нагрева
|
Н
|
По конструктивным размерам
|
м2
|
23.74
|
|
Дополнительна поверхностья
|
H доп
|
»
|
м2
|
2.5
|
|
Диаметр труб
|
d
|
»
|
мм
|
60x3
|
|
Относительный шаг труб:
поперечный
продольный
|
|
»
»
|
—
—
|
8.66
3,5
|
|
Количество рядов труб по ходу
газов
|
|
»
|
шт.
|
3
|
|
Количество труб в ряду
|
|
»
|
шт.
|
23
|
|
Площадь живого сечения для
прохода газов
|
F
|
|
м2
|
|
|
Эффективная толщина излучающего
слоя
|
s
|
|
м
|
|
|
Температура газов перед фестоном
|
|
Из расчёта топки
|
°С
|
1144.77
|
|
Энтальпия газов перед фестоном
|
|
То же
|
кДж/кг
|
62718
|
|
Температура газов за фестоном
|
|
По предварительному выбору
|
°С
|
1076
|
|
Энтальпия газов за фестоном
|
|
По IJ –таблице
|
кДж/кг
|
58584
|
|
Количество теплоты, отданное
фестону
|
|
|
кДж/кг
|
|
|
Температура кипения при давлении в
барабане рб=4.4 МПа
|
|
По таблице VI–7
|
°С
|
256
|
|
Средняя температура газов
|
|
|
°С
|
|
|
Средний температурный напор
|
|
|
°С
|
|
|
Средняя скорость газов
|
|
|
м/с
|
|
|
Коэффициент теплоотдачи
конвекцией
|
|
По рис. 6–5
|
кВт/(м2·К)
|
59*0.88*1*0.85=44.13
|
|
Суммарная поглощательная
способность трёхатомных газов
|
|
|
м·МПа
|
2.03=0.053
|
|
Коэффициент ослабления лучей
трёхатомными газами
|
|
|
1/(м·МПа)
|
|
|
Суммарная оптическая толщина
запылённого газового потока
|
|
|
—
|
|
|
Степень черноты излучающей среды
|
|
По рис. 5–4 или формуле (5–22)
|
—
|
0,31
|
|
Температура загрязнённой стенки
трубы
|
|
|
°С
|
|
|
Коэффициент теплоотдачи
излучением
|
|
По рис. 6–12 (aл=aн а)
|
Вт/(м2·К)
|
220·0,31=68.2
|
|
Коэффициент использования
поверхности нагрева
|
|
По § 6–2
|
—
|
1
|
|
Коэффициент теплоотдачи от газов
к стенке
|
|
|
Вт/(м2·К)
|
|
|
Коэффициент теплопередачи
|
|
|
Вт/(м2·К)
|
|
|
Тепловосприятие фестона по
уравнению теплопередачи
|
|
|
кДж/кг
|
|
|
Тепловосприятие настенных труб
|
|
|
кДж/кг
|
|
|
Суммарное тепловосприятие
газоходов фестона
|
|

|
кДж/кг
|
3694.8+389.1=4083.85
|
|
Расхождение расчетных
тепловосприятий
|
|
|
%
|
|
6. Расчёт
пароперегревателя
Конструктивные размеры
конструктивный расчёт перегревателя представлен в таблицах 6.1 и 6.2
На рис. 4 представлена
схема пароперегревателя
Рис.4 Схема
пароперегревателя
ТАБЛИЦА 6.1 Конструктивные
размеры и характеристики перегревателя
|
Номера ступени участков по ходу
пара
|
|
Наименование
|
Обозна-
|
Еди-ница
|
I ступень
|
|
чение
|
|
|
Наружный диаметр
|
d
|
мм
|
32
|
|
Внутренний диаметр трубы
|
dвн
|
мм
|
26
|
|
Кол-во труб в ряду
|
Z1
|
шт.
|
68
|
|
Кол-во рядов по ходу
|
Z2
|
шт.
|
18
|
|
Средний поперечный шаг
|
S1
|
мм
|
75
|
|
Средний продольный шаг
|
S2
|
мм
|
55
|
|
Расположение труб (шахматное,
коридорное)
|
-
|
-
|
шахматное
|
|
Характер омывания (поперечное, продольное,
смешанное)
|
-
|
-
|
Перекрёстный ток
|
|
Средняя длина змеевика
|
L
|
м
|
2,44
|
|
Суммарная длина труб
|
∑L
|
м
|
29,94
|
|
Площадь полной поверхности
нагрева
|
H
|
м2
|
226,01
|
|
Площадь живого сечения на входе
|
F’
|
м2
|
5,363
|
|
То же, на выходе
|
F”
|
м2
|
5,363
|
|
Средняя площадь живого сечения
газохода
|
Fср
|
м2
|
5,363
|
|
Кол-во змеевиков, вкл. параллельно
(по пару)
|
m
|
шт.
|
68
|
|
Живое сечение для прохода пара
|
f
|
м2
|
0.0361
|
ТАБЛИЦА 6.2 Конструктивный
расчёт перегревателя.
|
Величина
|
Единица
|
Расчёт
|
|
Наименование
|
Обозначение
|
Расчётная формула или способ
определения
|
|
Диаметр труб
|
|
По конструктивным размерам
|
мм
|
32/26
|
|
Параметр пара на входе в ступень:
давление температура паросодержание
|
|
|
МПа
єС
—
|
4,4
256
0,985
|
|
Удельная энтальпия: кипящей воды сухого
насыщенного пара
|
|
|
кДж/кг
кДж/кг
|
1115,5
2797,2
|
|
Удельная энтальпия пара на входе
в ступень
|
|
|
кДж/кг
|
|
|
Параметры пара на выходе из
ступени: давление температура удельная энтальпия
|
|
|
МПа єС кДж/кг
|
4.0
450
3378.14
|
|
Тепловосприятие пароохладителя
|
|
По выбору
|
кДж/кг
|
70
|
|
Тепловосприятие ступени
|
Q
|
|
кДж/кг
|
|
|
Энтальпия газов на входе в
ступень
|
|
Из расчёта фестона
|
кДж/кг
|
58584
|
|
Температура газов на входе в
ступень
|
|
То же
|
єС
|
1076
|
|
Энтальпия газов на выходе из
ступени
|
|
|
кДж/кг
|
|
|
Температура газов на выходе из
ступени
|
|
По IJ – таблице
|
єС
|
637.42
|
|
Средняя температура газов в ступени
|
|
|
єС
|
|
|
Средняя скорость газов в ступени
|
|
|
м/с
|
|
|
Коэффициент теплоотдачи конвекцией
|
|
По рис. 6–5
|
Вт/(м2·К)
|
|
|
Средняя температура пара
|
|
|
єС
|
|
|
Объём пара при средней
температуре
|
|
По табл. VI–8
|
м3/кг
|
0,061
|
|
Средняя скорость пара
|
|
|
м/с
|
|
|
Коэффициент теплоотдачи от стенки
к пару
|
|
По рис. 6–7
|
Вт/(м2·К)
|
|
|
Эффективная толщина излучающего
слоя
|
s
|
|
м
|
|
|
Суммарная поглощательная
способность трёхатомных газов
|
|
|
м·МПа
|
|
|
Коэффициент ослабления лучей
трёхатомными газами
|
|
По рис. 5–5
|
1/(м·МПа)
|
3.34
|
|
Суммарная оптическая толщина
запылённого газового потока
|
|
|
—
|
|
|
Степень черноты излучающей среды
|
a
|
По рис. 5–5
|
—
|
0,0395
|
|
Коэффициент загрязнения
|
|
По § 6–2
|
м2·К/Вт
|
0,01
|
|
Температура загрязнённой стенки
трубы
|
|
|
єС
|
|
|
Коэффициент теплоотдачи
излучением
|
|
По рис. 6–12
|
Вт/(м2·К)
|
|
|
Коэффициент
|
A
|
По § 6–2
|
—
|
0,3
|
|
Глубина по ходу газов: ступени
(пучка) объём перед ступенью
|
|
По конструктивным размерам То же
|
м
м
|
0,935
1,35
|
|
Коэффициент теплоотдачи
излучением с учётом излучения газового объёма перед ступенью
|
|
|
Вт/(м2·К)
|
|
|
Коэффициент теплоотдачи от газов к
стенке
|
|
|
Вт/(м2·К)
|
|
|
Коэффициент тепловой
эффективности
|
|
По табл. 6–2
|
—
|
0,7
|
|
Коэффициент теплоотдачи
|
k
|
|
Вт/(м2·К)
|
|
|
Разность температур между газами
и паром:
наибольшая
наименьшая
|
|
|
єС
єС
|
|
|
Температурный напор при
противотоке
|
|
|
єС
|
|
|
Полный перепад температур
газового потока в ступени
|
|
|
єС
|
|
|
Полный перепад температур потока
пара
|
|
|
єС
|
|
|
Параметр
|
R
|
|
—
|
|
|
То же
|
P
|
|
—
|
|
|
Коэффициент перехода к сложной
схеме
|
|
По рис. 6–15
|
—
|
0.99
|
|
Температурный перепад
|
|
|
єС
|
|
|
Площадь поверхности нагрева
ступени
|
H
|
|
м2
|
|
Т.к. невязка составляет
больше 2% то добавляем дополнительную площадь к перегревателю =38 м2
7 Расчёт хвостовых
поверхностей нагрева
Конструктивные размеры а
также расчёты ступеней хвостовых поверхностей нагрева представлены в таблицах
7.1 – 7.4
На рис. 5 прежставлена
схема хвостовых поверхностей нагрева
Рис. 5 схема хвостовых
поверхностей нагрева
ТАБЛИЦА 7.1 Конструктивные
размеры и характеристики стального трубчатого экономайзера
|
Показатели
|
Еди-ница
|
Ступень
|
|
Наименования
|
Обозначение
|
|
I
|
|
Диаметр труб :
|
|
|
|
|
наружный
|
d
|
м
|
28
|
|
внутренний
|
dвн
|
м
|
22
|
|
Кол-во труб в
ряду
|
Z1
|
шт.
|
25
|
|
Кол-во рядов
труб
|
Z2
|
|
40
|
|
Расчетна
площадь поверхности нагрева
|
H
|
м2
|
461.06
|
|
Расположение
труб
|
-
|
-
|
ш
|
|
Шаг труб :
|
|
|
|
|
поперек движения
газов
|
S1
|
м
|
70
|
|
Вдоль движения
газов
|
S2
|
м
|
50
|
|
Относительный
шаг труб :
|
|
|
|
|
поперечный
|
S1/d
|
-
|
2.5
|
|
продольный
|
S2/d
|
-
|
1.79
|
|
Размер сечения
газохода поперек
|
А
|
м
|
1.78
|
В
|
м
|
5.4
|
|
Площадь живого
сечения для прохода газов
|
F
|
м2
|
5.972
|
|
Кол-во параллельно
включенных труб (по воде)
|
Z0
|
шт.
|
50
|
|
Площадь живого
сечения для прохода воды
|
f
|
м2
|
0.019
|
ТАБЛИЦА 7.2
Конструктивный расчёт экономайзера
|
Величина
|
Единица
|
Расчёт
|
|
Наименование
|
Обозначение
|
Расчётная формула или способ
определения
|
|
Площадь поверхности нагрева
ступени
|
H
|
По конструктивным размерам
|
м2
|
461.06
|
|
Площадь живого сечения для
прохода газов
|
|
То же
|
м2
|
5.972
|
|
То же, для прохода воды
|
f
|
|
м2
|
0,019
|
|
Температура газов на входе в
ступень
|
|
Из расчёта перегревателя
|
єС
|
637,42
|
|
Энтальпия газов на входе в
ступень
|
|
То же
|
кДж/кг
|
36289,2
|
|
Температура газов на выходе из
ступени
|
|
По выбору
|
єС
|
371
|
|
Энтальпия газов на выходе из
ступени
|
|
По IJ – таблице
|
кДж/кг
|
20451,5
|
|
Тепловосприятие ступени (теплота,
отданная газами)
|
|
|
кДж/кг
|
|
|
Удельная энтальпия воды на выходе
из ступени
|
|
|
кДж/кг
|
|
|
Температура воды на выходе из
ступени
|
|
По табл. VI–6
|
єС
|
256
|
|
Паросодержание смеси
|
x
|
|
|
|
|
Удельная энтальпия воды на входе
в ступень
|
|
|
кДж/кг
|
610
|
|
Температура воды на входе в
ступень
|
|
|
єС
|
145
|
|
Средняя температура воды
|
tср
|
|
єС
|
|
|
Скорость воды в трубах
|
|
|
м/с
|
|
|
Средняя температура газов
|
|
|
єС
|
|
|
Средняя скорость газов
|
|
|
м/с
|
|
|
Коэффициент теплоотдачи
конвекцией
|
|
По рис. 6–5
|
Вт/(м2·К)
|
60
|
|
Эффективная толщина излучающего
слоя
|
s
|
|
м
|
|
|
Суммарная поглощательная
способность трёхатомных газов
|
|
|
м·МПа
|
|
|
Коэффициент ослабления лучей
трёхатомными газами
|
|
По рис. 5–5
|
1/(м·МПа)
|
3.4
|
|
Суммарная оптическая толщина
запылённого газового потока
|
|
|
—
|
|
|
Степень черноты газов
|
а
|
По рис. 5–4
|
—
|
0,009
|
|
Температура загрязнённой стенки
трубы
|
|
|
єС
|
|
|
Коэффициент теплоотдачи
излучением
|
|
По рис. 6–12
|
Вт/(м2·К)
|
0.855
|
|
Коэффициент
|
А
|
По § 6–2
|
—
|
0,3
|
|
Глубина по ходу газов:
ступени
объём перед ступенью
|
|
По конструктивным размерам
То же
|
м
м
|
1,9
2
|
|
Коэффициент теплоотдачи
излучением с учётом излучения газового объёма перед степенью
|
|
|
Вт/(м2·К)
|
|
|
Коэффициент теплоотдачи от газов к
стенке
|
|
|
Вт/(м2·К)
|
|
|
Коэффициент теплоотдачи
|
|
|
Вт/(м2·К)
|
|
|
Разность температур между
средами:
наибольшая
наименьшая
|
|
|
єС
єС
|
|
|
Отношение
|
|
|
—
|
|
|
Температурный напор
|
|
|
єС
|
|
|
Площадь поверхности нагрева
ступени
|
|
|
м2
|
|
Т.к. невязка составляет
меньше 2% то внесение конструктивных изменений не требуется
ТАБЛИЦА 7.3 Воздухоподогреватель
|
Показатели
|
Еди-ница
|
Ступень
|
|
Наименования
|
Обозначение
|
|
I
|
|
Диаметр труб :
|
|
|
|
|
наружный
|
d
|
м
|
40
|
|
внутренний
|
dвн
|
м
|
37
|
|
Длина труб
|
l
|
м
|
5.514
|
|
Кол-во ходов
по воздуху
|
n
|
м
|
3
|
|
Кол-во труб в
ряду поперек движения воздуха
|
Z1
|
шт.
|
72
|
|
Кол-во рядов
труб вдоль движения воздуха
|
Z2
|
шт.
|
33
|
|
Расположение
труб
|
-
|
-
|
ш
|
|
Шаг труб :
|
|
|
|
|
поперечный
(поперек потока воздуха)
|
S1
|
м
|
56
|
|
продольный
(вдоль потока воздуха)
|
S2
|
м
|
42
|
|
Относительный
шаг труб :
|
|
|
|
|
поперечный
|
S1/d
|
-
|
1.4
|
|
продольный
|
S2/d
|
-
|
1.05
|
|
Площадь живого
сечения для прохода газов
|
Fг
|
м^2
|
2,56
|
|
Кол-во
параллельно включенных труб (по газам)
|
Z0
|
шт.
|
2376
|
|
Ширина сечения
воздушного канала
|
b
|
м
|
4,144
|
|
Средняя высота
воздушного канала
|
h
|
м
|
2,1
|
|
Площадь
среднего сечения воздушного канала
|
Fв
|
м^2
|
2,65
|
|
Площадь
поверхности нагрева
|
H
|
м^2
|
1500
|
ТАБЛИЦА 7.4 Конструктивный
расчёт воздухоподогревателя
|
Величина
|
Единица
|
Расчёт
|
|
Наименование
|
Обозначение
|
Расчётная формула или способ
определения
|
|
Диаметр труб
|
|
По конструктивным размерам
|
мм
|
40
|
|
Относительный шаг:
поперечный
продольный
|
|
То же
» »
|
—
—
|
1,4
1,05
|
|
Количество рядов труб
|
|
» »
|
шт.
|
33
|
|
Количество ходов по воздуху
|
|
» »
|
—
|
3
|
|
Площадь живого сечения для
прохода газов
|
|
» »
|
м2
|
2.56
|
|
То же, для прохода воздуха
|
|
» »
|
м2
|
2.65
|
|
Площадь поверхности нагрева
|
|
» »
|
м2
|
1500
|
|
Температура газов на входе в
ступень
|
|
Из расчёта второй ступени
экономайзера
|
єС
|
371
|
|
Энтальпия газов на входе в
ступень
|
|
То же
|
кДж/кг
|
21290.66
|
|
Температура воздуха на выходе из
ступени
|
|
По выбору
|
єС
|
250
|
|
Энтальпия воздуха на выходе из
ступени
|
|
По IJ–таблицы
|
кДж/кг
|
9774.09
|
|
Отношение количества воздуха на
выходе из ступени к теоретически необходимому
|
|
|
—
|
|
|
Температура воздуха на входе в
ступень
|
По выбору
|
єС
|
30
|
|
Энтальпия воздуха на входе в
ступень
|
|
По IJ–таблицы
|
кДж/кг
|
1139,58
|
|
Тепловосприятие ступени
|
|
|
кДж/кг
|
8893,545
|
|
Средняя температура воздуха
|
|
|
єС
|
|
|
Энтальпия воздуха при средней
температуре
|
|
По IJ–таблицы
|
кДж/кг
|
5049,2
|
|
Энтальпия газов на выходе из ступени
|
|
По IJ–таблицы
|
кДж/кг
|
7849
|
|
Температура газов на выходе из
ступени
|
|
По заданию
|
єС
|
140
|
|
Средняя температура газов
|
|
|
єС
|
|
|
Средняя скорость газов
|
|
|
м/с
|
|
|
Коэффициент теплоотдачи с газовой
стороны
|
|
По рис. 6–7
|
Вт/(м2·К)
|
36
|
|
Средняя скорость воздуха
|
|
|
м/с
|
|
|
Коэффициент теплоотдачи с
воздушной стороны
|
|
По рис. 6–5
|
Вт/(м2·К)
|
53
|
|
Коэффициент использования
поверхности нагрева
|
|
По табл. 6–3
|
—
|
0,7
|
|
Коэффициент теплоотдачи
|
|
|
Вт/(м2·К)
|
|
|
Разность температур между
средами:
наибольшая
наименьшая
|
|
|
єС
єС
|
|
|
Средний температурный напор при
противотоке
|
|
|
єС
|
|
|
Перепад температур:
наибольший
наименьший
|
|
|
єС
єС
|
|
|
Параметр
|
|
|
—
|
|
|
То же
|
|
|
—
|
|
|
Коэффициент
|
|
По рис. 6–16
|
—
|
0,95
|
|
Температурный напор
|
|
|
єС
|
|
|
Площадь поверхности нагрева
ступени
|
|
|
м2
|
|
Т.к. невязка составляет
более 2% то вносим конструктивные ихменения. Добавляем к воздухоподогревателю дополнительно
498 м2
8 Расчёт невязки
теплового баланса парогенератора
Расчёт невязки теплового
баланса представлен в таблице 8
ТАБЛИЦА 8
|
Величина
|
Величина
|
Расчёт
|
|
Наименование
|
Обозначение
|
Расчётная формула или способ
определения
|
|
Расчётная температура горячего
воздуха
|
|
Из расчёта воздухоподогревателя
|
єС
|
250
|
|
Энтальпия горячего воздуха при
расчётной температуре
|
|
То же
|
кДж/кг
|
9774
|
|
Лучистое тепловосприятие топки
|
|
Из расчёта топки
|
кДж/кг
|
56657,7
|
|
Расчётная невязка теплового
баланса
|
|
|
кДж/кг
|
|
|
Невязка
|
—
|
|
%
|
|
ВЫВОДЫ
В ходе выполнения
курсового проекта был проведен тепловой расчет промышленного парогенератора
ГМ-50-1 при совестном сжигании жидкого и газообразного топлива.
Расчет проводился по
жидкому топливу, с учетом тепла, вносимого в топку, за счет сжигания
газообразного топлива.
Последовательно был
проведен поверочный расчет всех поверхностей нагрева котла: экранов топки,
фестона, пароперегревателя, водяного экономайзера, воздухоподогревателя. С
учетом того, что парогенератор спроектирован на сжигание другого вида топлива,
возникла необходимость в проведении поверочно-конструктивного расчета.
При поверочном расчете
поверхности нагрева приходится задаваться изменением температуры одной из
теплообменивающихся сред (разностью температур на входе и выходе). Этим
определяется тепловосприятие поверхности в первом приближении. Далее можно
вычислить температуры другой среды на концах поверхности нагрева, температурный
напор, скорости газового потока и рабочей среды и все другие величины,
необходимые для вычисления тепловосприятия во втором приближении. При
расхождении принятого и расчетного тепловосприятий выше допустимого повторяют
расчет для нового принятого тепловосприятия. Таким образом, поверочный расчет поверхности
нагрева выполняется методом последовательных приближений.
Тепловой расчет
парогенератора заканчивается определением невязки теплового баланса. В курсовом
проекте величина невязки составляет 0,95 %.
СПИСОК ЛИТЕРАТУРЫ
1. Тепловой расчет промышленных
парогенераторов. / Под ред. В.И. Частухина. – Киев: Вища шк., 1980. – 184 с.
2. Сидельковский Л.Н., Юренев В.Н. Котельные
установки промышленных предприятий: Учебник для вузов. – М.: Энергоатомиздат,
1988. – 528 с.
3. Компоновка и тепловой расчет парового
котла: Учеб. пособие для вузов/ Ю.М. Липов, Ю.Ф. Самойлов, Т.В. Виленский. –
М.: Энергоатомиздат, 1988. – 208 с.
4. Расчет паровых котлов в примерах и
задачах: Учеб. пособие для вузов/ А.Н. Безгрешнов, Ю.М. Липов, Б.М. Шлейфер;
Под общ. ред. Ю.М. Липова. – М.: Энергоатомиздат, 1991. – 240 с.
5. Методические указания
"Расчет объемов и энтальпий воздуха и продуктов сгорания для смеси топлив
с применением ЭВМ" по курсу "Котельные установки промышленных
предприятий". / Сост.: А.А. Соловьев, В.Н. Евченко. – Мариуполь: ММИ,
1991. – 17 с.
6. Методические указания к выполнению
курсового проекта по курсу "Котельные установки промышленных
предприятий" для студентов специальности (7.090510)/ Сост.: А.А. Соловьев,
В.М. Житаренко – Мариуполь: ПГТУ, 1998. – 40 с.