Магнитные усилители
СОДЕРЖАНИЕ
Введение
. Магнитный усилитель
1.1 Принцип работы магнитного усилителя
.2 Классификация и принцип действия магнитных усилителей
1.3Магнитные усилители с самонасыщением
.4 Магнитные усилители с обратными связями
.5Двухтактные магнитные усилители
.6 Виды магнитных усилителей по ГОСТ 17561-84
.7. Применение магнитных усилителей
. Расчет магнитных усилителей
.1 Теория расчета магнитных усилителей
.2 Расчет магнитного усилителя
Заключение
Список использованных источников и литературы
ВВЕДЕНИЕ
Данная работа посвящена изучению магнитного усилителя и его применению.
Магнитный усилитель - это статическое аппарат, предназначенный для
управления величиной переменного тока посредством слабого постоянного тока.
Применяется в схемах автоматического регулирования электродвигателей
переменного тока.
Цель работы заключатся в изучении магнитного усилителя и расчете одного
из разновидностей.
1. МАГНИТНЫЙ УСИЛИТЕЛЬ
1.1 Принцип работы магнитного усилителя
Это усилитель электрических сигналов, основанный на использовании
присущей ферромагнитным материалам нелинейной зависимости магнитной индукции от
напряжённости магнитного поля. Статический аппарат, предназначенный для
управления величиной переменного тока посредством слабого постоянного тока.
Управляемыми элементами в магнитном усилителе являются индуктивности катушки с
ферромагнитными сердечниками, в которых действуют 2 переменных магнитных поля;
одно изменяется с частотой источника питания, другое - с частотой усиливаемого
сигнала.
Рисунок1 - Схема простейшего магнитного усилителя:- переменное
напряжение; Rн - сопротивление нагрузки; W1 - первичные обмотки; W2 - вторичные
обмотки; МС - магнитные сердечники; = U - постоянное напряжение; i1 - ток в первичной
обмотке; i2 - ток во вторичной обмотке (усиливаемый сигнал).
Работа магнитного усилителя основана на нелинейности характеристики
намагничивания магнитопровода. На крайних стержнях магнитного усилителя
находится рабочая обмотка , которая состоит из двух катушек, соединённых
последовательно. На среднем стержне размещается обмотка управления из большого
количества витков W=. Если ток в неё не подаётся, а к рабочей обмотке,
соединённой последовательно с нагрузкой, подведено переменное напряжение U~, то
из за малого количества витков W~ магнитопровод не насыщается, и почти всё
напряжение падает на реактивном сопротивлении рабочих обмоток Z~. На нагрузке в
этом случае выделяется малая мощность.
1.2 Классификация и принцип действия магнитных
усилителей
Магнитным усилителем называется усилитель электрических сигналов,
действие которого основано на использовании нелинейности характеристик
ферромагнитных материалов. Магнитные усилители применяются в разнообразных
устройствах: от точных измерительных приборов до схем автоматического
управления крупными производственными агрегатами (прокатными станами,
экскаваторами и т.п.). Широкое применение магнитных усилителей определяется
рядом их достоинств:
большим сроком службы, высокой надежностью, простотой эксплуатации;
широким диапазоном усиливаемых мощностей: от 10-13... 10-6 Вт до
несколько десятков и даже сотен кВт; постоянной готовностью к работе;
возможностью суммировать на входе несколько управляющих сигналов;
значительной перегрузочной способностью; пожаро- и взрывобезопасностью;
стабильностью характеристик в процессе эксплуатации. Магнитные усилители
различают по следующим признакам: виду статической характеристики - однотактные
(нереверсивные) и двухтактные (реверсивные);
способу осуществления обратной связи (ОС) - без ОС и с ОС (внешней,
внутренней, смешанной);
форме кривой выходного напряжения - с выходом на несущей или удвоенной
частоте, на постоянном или выпрямляемом токе и т.д.;
способу включения нагрузки - с последовательным и параллельным включением
нагрузки и рабочих обмоток;
числу и конструкции сердечников в однотактной схеме - с одним
двухстержневым или тороидным сердечником, с двумя сердечниками, трехстержневым
и четырехстержневым сердечниками;
способу осуществления смещения - постоянным или переменным током и
шунтированием выпрямителей ОС;
режиму работы - линейные (или пропорциональные) и релейные.
Простейшие магнитные усилители без ОС выполняются в виде двух одинаковых
трансформаторов. Рабочие обмотки этих трансформаторов с числом витков wр
включаются последовательно с источником питания переменного напряжения U
(Рисунок 1). Управляющие обмотки с числом витков wy включаются встречно
относительно рабочих обмоток для устранения трансформаторной связи между
цепями, образуемыми управляющими и рабочими обмотками. Усиливаемый сигнал
постоянного тока Iу поступает в управляющие обмотки wy трансформаторов и
вследствие нелинейного характера кривой намагничивания сердечников вызывает
уменьшение их магнитной проницаемости и пропорциональное уменьшение индуктивности
L1 рабочих обмоток.
Устройство, имеющее схему, приведенную на (Рисунок 1), часто называют
дросселем насыщения или управляемым дросселем, так как, изменяя степень
магнитного насыщения его сердечников путем подмагничивания их постоянным током,
можно в широких пределах изменять индуктивность рабочих обмоток. Нагрузка RH,
показанная на рисунке пунктиром, включается в цепи переменного тока параллельно
или чаще последовательно с управляемой индуктивностью.
Токи I1 и I2, протекающие соответственно в рабочей и управляющей обмотках
трансформаторов, создают магнитные поля, которые в течение одного полупериода
переменного тока в одном из сердечников имеют одинаковые, а в другом -
противоположные направления. В результате первый сердечник насыщается, а второй
остается ненасыщенным. Для ненасыщенного сердечника справедливо уравнение
обычного трансформатора:
(1)
где
Iμ - намагничивающий ток трансформаторов.
При
отсутствии сигнала на входе усилителя I2 = 0 и I1 = Iμ. В этом режиме среднее значение тока нагрузки имеет
минимально возможное значение, равное току холостого хода трансформатора Iхх.
При
наличии существенного сигнала Iу на входе усилителя обычно можно пренебречь
слагающей Iμωр в правой части уравнения ампер витков по сравнению с
I2wу. Тогда, интегрируя в пределах полупериода, в течение которого
рассматриваемый сердечник ненасыщен, получим:
(2)
т.е.
ток нагрузки в схеме на (Рисунок 1) определяется лишь током управления и
конструктивными параметрами усилителя и не зависит от нагрузки.
Коэффициенты
усиления по току k1 и мощности kР для простейшего магнитного усилителя
определяют по формулам:

(3)
где
Ry - активное сопротивление управляющий обмотки.
Существенным
недостатком таких магнитных усилителей является их относительно высокая
инерционность, которую обычно характеризуют постоянной времени τ цепи управления: τ = kp/4ηf, где η -КПД цепи нагрузки; f- частота источника питания. Для уменьшения
инерционности магнитных усилителей применяют переменный ток повышенной частоты
(400... 10 000 Гц и выше).
1.3 Магнитные усилители с самонасыщением
магнитный усилитель переменный ток
Лучшими
динамическими характеристиками, т. е. меньшей инерционностью при данном kР,
обладают магнитные усилители с самонасыщением. Простейшая схема магнитного
усилителя с самонасыщением, на базе которой строятся более сложные схемы, дана
на Рис. 2.
Рисунок
2 - Схема однотактного усилителя с самонасыщением
Идеализированная
петля гистерезиса ферромагнитного сердечника магнитного усилителя представлена
на (Рисунок 3). Наличие выпрямителя В (см. Рисунок 2) в цепи рабочей обмотки
(обмотка wр усилителя, последовательно с которой включена нагрузка RH) приводит
к тому, что напряжение питания U приложено к этой обмотке и нагрузке лишь в
течение проводящего для выпрямителя полупериода, называемого рабочим.
Рисунок
3 - Зависимость индукции В от напряженности магнитного поля Н ферромагнитного
сердечника магнитного усилителя

Рисунок
4 - Диаграмма изменения индукции В в сердечнике магнитного усилителя с
самонасыщением, тока нагрузка IН и управляющего тока IУ во времени t
В
соответствии с законом электромагнитной индукции изменение индукции в рабочем
сердечнике усилителя в этот полупериод происходит только под действием
напряжения питания U:
(4)
где
S - поперечное сечение сердечника.
В
следующий полупериод изменение индукции в сердечнике происходит только под
действием управляющего напряжения Uy, приложенного к обмотке управления wy.
Этот полупериод называется управляющим.
Для
того чтобы воспрепятствовать трансформации напряжения из рабочей цепи в цепь
управления, в последнюю включают либо дроссель Др, либо вентиль.
Изменение
индукции в рабочем и управляющем полупериодах происходит во взаимообратных
направлениях. Обычно напряжение питания магнитных усилителей U выбирают таким,
чтобы за время T/2, равное полупериоду питающего напряжения, оно было бы способно
изменить индукцию в сердечнике на величину ΔВ = 2BS, от точки -Bs до Bs, где Bs - индукция насыщения материала
сердечника. Это изменение пропорционально входному сигналу. Если к началу
рабочего полупериода исходная рабочая точка, характеризующая магнитное
состояние сердечника, окажется не в точке -Bs, а выше на петле гистерезиса, то
в рабочем полупериоде сердечник по закону электромагнитной индукции насытится
не в конце периода, а несколько раньше. После этого напряжение питания окажется
полностью приложенным к сопротивлению нагрузки, а ток в нагрузке скачком
возрастет до I = Umaxsin wt/R. Чем больше управляющее напряжение, тем ниже по
петле гистерезиса опустится рабочая точка в управляющий полупериод. В
результате в рабочий полупериод сердечник насытится позднее, и к нагрузке будет
приложено меньшее напряжение. При максимальном управляющем напряжении по
нагрузке в течение всего рабочего полупериода протекает только намагничивающий
ток.
Если
управляющее напряжение равно нулю, то в управляющий полупериод индукция не
изменяется и исходной точкой тока будет точка Bs. Следовательно, в течение
всего рабочего полупериода ток в нагрузке будет следовать за изменением
напряжения. Диаграммы изменения индукции В в сердечнике, тока нагрузки Iн, тока
в обмотке управления Iу во времени t даны на (Рисунок 4). Зависимость тока Iн
нагрузки от тока Iу в обмотке управления для магнитных усилителей с
самонасыщением приведена на (Рисунок 5).
Рисунок
5 - Статическая характеристика однотактного магнитного усилителя с
самонасыщением
Схема,
приведенная на (Рисунок 2), является основой - типовым элементом при создании
большинства современных магнитных усилителей. Рабочие полупериоды двух
сердечников в схемах на (Рисунки 6,7) сдвинуты друг относительно друга на
половину периода питающего напряжения. Обмотки управления двух сердечников
соединены между собой так, чтобы в цепи управления не наводилось питающее
напряжение. Если в однотактном магнитном усилителе (см. Рисунок 2) ток на
выходе появляется лишь в течение одного из полупериодов питающего напряжения,
то в усилителях, представленных на (Рисунки 6 и 7) , он появляется в течение
каждого полупериода питающего напряжения.
Рисунок
6 - Схема магнитного усилителя для нагрузки переменным током
В
то время как один из сердечников находится в рабочем полупериоде и ток от
источника может протекать через его рабочую обмотку wp и нагрузку, один из
диодов блокирует рабочую обмотку другого сердечника, для которого наступает
управляющий полупериод, т.е. его индукция изменяется под действием входного
сигнала. В следующем полупериоде сердечники меняются ролями. В схеме на
(Рисунок 6) через нагрузку протекает переменный ток той же частоты, что и
питающее напряжение, а в схеме на (Рисунок 7) - выпрямленный двухполупериодный
ток.
Рисунок
7 - Схема магнитного усилителя для нагрузки постоянным током
В
магнитных усилителях с самонасыщением при отсутствии управляющего сигнала
среднее значение тока нагрузки равно максимальному Iнmах. Однако иногда бывает
необходимо при отсутствии сигнала на входе усилителя получить минимальный ток в
нагрузке. Поэтому в магнитных усилителях часто предусматривается так называемое
смещение или начальное подмагничивание, что равноценно включению
дополнительного управляющего напряжения. Под действием напряжения смещения
изменение индукции в управляющем полупериоде происходит даже при отсутствии
сигнала управления. Чем больше напряжение смещения, тем ниже по петле
гистерезиса переместится рабочая точка.
Рисунок
8 - Перемещение статической характеристики в зависимости от тока смещения
В
том случае, когда на вход усилителя подается также сигнал управления,
перемещение рабочей точки в управляющий полупериод определяется суммой
напряженностей, создаваемых сигналами смещения и управления (если эти сигналы
вызывают изменение намагниченности сердечника в одном направлении), или их
разностью (если действие сигналов противоположно). Введение начального
подмагничивания позволяет как бы перемещать статическую характеристику
усилителя вдоль оси абсцисс в зависимости от значения тока смещения (Рисунок
8). Очевидно, что при изменении тока смещения Iсм ток на выходе усилителя при
отсутствии управляющего сигнала Iу может принимать любые значения от IHmax до
IHmin.
Принципиально
смещение в магнитных усилителях может осуществляться тремя способами:
постоянным или выпрямленным током, переменным током, шунтированием выпрямителей
в рабочей цепи сопротивлением. Наиболее широко применяется смещение постоянным
током (Рисунок 9).
Рисунок
9 - Схема магнитного усилителя со смещением постоянным током
Обмотки
смещения обычно выполняются так же, как и обмотки управления. Последовательно с
обмотками смещения для регулирования тока в них включают дополнительное
сопротивление.
1.4 Магнитные усилители с обратными связями
В
магнитных усилителях с самонасыщением по рабочим обмоткам наряду с переменной
протекает и постоянная составляющая напряжения, которая дополнительно
подмагничивает сердечники. По этой причине их иногда называют магнитными усилителями
с внутренней обратной связью. В таких усилителях большую часть
подмагничивающего поля составляет именно магнитное поле обратной связи и лишь
сравнительно небольшую часть - магнитное поле управляющего сигнала.
Рисунок
10 - Схема магнитного усилителя с внешней обратной связью
Магнитное
поле обратной связи может быть создано, например, путем подачи тока нагрузки в
специальную обмотку обратной связи wo.c (Рисунок 10), называемую внешней.
Использование
внутренней обратной связи, особенно в мощных магнитных усилителях (по сравнению
с магнитными усилителями с внешней обратной связью) существенно повышает их КПД
и максимальную мощность.
Для
достижения больших значений kо.с в схемы усилителей с внутренней обратной
связью дополнительно вводится обмотка обратной связи (Рисунок 11).
Рисунок
11 - Схема магнитного усилителя со смешанной обратной связью
Поскольку
в этом случае в усилителе действует как внутренняя, так и внешняя обратная
связь, эту схему часто называют схемой со смешанной обратной связью.
Статические характеристики усилителя при различных значениях kо.с даны на
(Рисунок 12).
Рисунок
12 - Статические характеристики магнитного усилителя со смещено обратной связью
Динамические
свойства магнитных усилителей с самонасыщением характеризуются постоянной
времени:
(5)
где
kU - коэффициент усиления по напряжению, kU = ΔUH/ΔUy.
1.5 Двухтактные магнитные усилители
Двухтактным
магнитным усилителем называется усилитель, обладающий статической
характеристикой, при которой изменение полярности управляющего сигнала вызывает
изменение полярности выходного напряжения или изменение фазы выходного
напряжения на 180° (Рисунок 13).
Двухтактные
схемы нередко применяют для повышения стабильности характеристик усилителя или
снижения тока холостого хода, равного IHmin, и повышения коэффициента кратности
тока нагрузки IHmax/IHmin даже в тех случаях, когда не требуется изменять фазу
или полярность выходного напряжения.
Двухтактные
магнитные усилители могут быть выполнены с обратной связью и без нее, а также
по специальным быстродействующим схемам.
Рисунок
13 - Статическая характеристика двухтактного магнитного усилителя
Двухтактные
магнитные усилители с выходом на несущей частоте применяются главным образом
для управления двигателями переменного тока и их реверсирования, а также в
качестве магнитных модуляторов.
Двухтактные
магнитные усилители с выходом на постоянном токе используются для управления
двигателями постоянного тока и их реверсирования, а также для управления полем
генератора постоянного тока, поляризованными электромагнитами, реле, муфтами и
т.д.
Простейшие
двухтактные магнитные усилители обычно выполняются путем соединения двух
однотактных усилителей по дифференциальной схеме (Рисунок 14).
Рисунок
14 - Дифференциальная схема двухтактного магнитного усилителя
Оба
усилителя в этой схеме питаются от одного трансформатора Тр с двумя одинаковыми
вторичными обмотками. Токи смещения Iс'м и Iсм’’ поступающие в обмотки wсм,
создают начальное подмагничивающее поле. Переменное сопротивление Rсм служит
для балансирования (установки нуля) усилителя при отсутствии сигнала на его
входе. Ток усиливаемого сигнала Iу поступает в обмотки wу и создает магнитное
поле, совпадающее по направлению с полем смещения в одной паре сердечников и
имеющее противоположное направление в другой паре. Поэтому ток I1 на выходе
одного усилителя растет, а ток I2 на выходе другого усилителя уменьшается.
Благодаря тому, что в нагрузке эти токи вычитаются, на выходе усилителя
появляется ток нагрузки, значение которого Iн = I1 - I2. При отсутствии сигнала
на входе усилителя I1 = I2 и ток нагрузки равен нулю. При изменении полярности
управляющего сигнала ток I1 на выходе первого усилителя начинает уменьшаться, а
ток I2 на выходе второго усилителя возрастает. При этом результирующий ток Iн
изменит свою фазу на 180°.
1.6 Виды магнитных усилителей по ГОСТ 17561-84
.Магнитный
усилитель (Transductor).
Устройство,
состоящее из одного или нескольких магнитопроводов с обмотками, с помощью
которого в электрической цепи, питаемой от источника переменного напряжения или
тока, может изменяться ток или напряжение по величине, основанное на
использовании явления насыщения ферромагнетика при действии постоянного
подмагничивающего поля.
2. МУ( Auto self-excited
transductor).
Магнитный усилитель, в котором подмагничивание достигается с помощью
выпрямителей, соединенных последовательно с рабочей обмоткой каждого
магнитопровода.
.МУ с магнитной обратной связью.
Магнитный усилитель с отдельными обмотками управления для цепей обратных
связей.
.МУ с электрической обратной связью.
Магнитный усилитель с обмотками управления, общими для входных цепей и
цепей обратных связей
.МУ с последовательным соединением рабочих обмоток (Series transductor)
Магнитный усилитель, в котором соответствующие рабочие обмотки
магнитопроводов, принадлежащих одной фазе, соединены последовательно.
.Магнитный усилитель с параллельным соединением рабочих обмоток (Parallel
transductor)
Магнитный усилитель, в котором соответствующие рабочие обмотки
магнитопроводов, принадлежащие одной фазе, соединены параллельно.
. Магнитный усилитель с совмещенными обмотками (Auto-transductor)
Магнитный усилитель, в котором одни и те же обмотки используются в
качестве рабочих обмоток и обмоток управления.
1.7 Применение магнитных усилителей
Магнитные усилители широко применяются на отечественных тепловозах в
системах регулирования мощности дизель-генераторов и в других устройствах
автоматики.
На тепловозах 2ТЭ10Л, 2ТЭ10В и ТЭП60 однофазные амплистаты применены в
качестве основного аппарата управления мощностью тягового генератора.
Рисунок 15 - Амплистат возбуждения тепловоза 2ТЭ10Л
а) общий вид; б) электрическая схема
Амплистат выполнен с двумя магнитными сердечниками (магнитопро-водами),
набранными из листов электротехнической стали толщиной 0,35 мм (Рисунок 15). На
каждом сердечнике расположено по одной катушке Н1-К1 и Н2-К2 рабочей обмотки.
Четыре обмотки подмагничивания (управления) - задающая, управляющая,
регулировочная и стабилизирующая-охватывают оба сердечника. Рабочая обмотка
амплнста-та включена последовательно с выпрямителем в цепь питания обмотки
независимого возбуждения от подвоз-будителя переменного тока. Обмотки
подмагничивания питаются постоянным током от источников:
задающая обмотка НЗ - КЗ - от бесконтактного тахометрического блока или
тахогенератвра на тепловозах первых лет постройки;
управляющая обмотка НУ - КУ-от распределительного трансформатора через
трансформаторы постоянного тока и напряжения и селективный узел электрической
схемы;
регулировочная обмотка HP - КР - от распределительного трансформатора
через индуктивный датчик объединенного регулятора и выпрямитель;
стабилизирующая обмотка НС - КС - от стабилизирующего трансформатора
через выпрямитель.
При этом задающая обмотка создает основную положительную магнитодвижущую
силу подмагничивания - Регулировочная обмотка усиливает подмагничивание
амплистата. Магнитодвижущая сила управляющей обмотки направлена встречно
магнитодвижущей силе задающей и регулировочной обмоток, поэтому управляющая
обмотка размагничивает амплистат. Стабилизирующая обмотка получает питание
только при переходных процессах возбудителя для сглаживания этих процессов и
повышения устойчивости работы схемы.
Следовательно, рабочие обмотки амплистата являются регулируемым
индуктивным сопротивлением в цепи возбуждения возбудителя. Величина
сопротивления изменяется в результате совместного действия четырех обмоток
управления. Чем больше ток в задающей и регулировочной обмотках (ток уставки),
тем значительнее выходной ток амплистата и выше» напряжение возбудителя и
тягового генератора. С увеличением тока в управляющей обмотке вследствие ее
размагничивающего действия уменьшается выходной ток амплистата, соответственно
снижается напряжение возбудителя и тягового генератора.
При работе дизеля с заданной частотой вращения коленчатого вала
напряжение тахометрического блока сохраняется постоянным, поэтому остается
постоянной и магнитодвижущая сила задающей обмотки.
Ток в регулировочной обмотке амплистата изменяется с помощью индуктивного
датчика объединенного регулятора частоты вращения и мощности дизеля таким
образом, чтобы мощность тягового генератора сохранялась постоянной на
гиперболическом участке его внешней характеристики. Следовательно, магнитный
поток регулировочной обмотки корректирует суммарное подмагничивание сердечника
амплистата, преобразуя линейный участок селективной характеристики тягового
генератора и гиперболический.
Рабочая обмотка амплистата выполнена из 236 витков медного провода
диаметром 1,35 мм. Номинальная величина напряжения питания цепи рабочей обмотки
равна 60 В, ток продолжительного режима достигает 8,5 А. Обмотки управления
рассчитаны на номинальный ток до 1,4 - 1,5 А, изготовлены из более тонкого
медного провода диаметром 0,8 мм. Число витков задающей- и управляющей обмоток
равняется 500, а корректирующей регулировочной - 200. В рабочей части
характеристики (Рисунок 16) внешний ток амплистата изменяется от 0,2 до 9 А,
т.е. кратность выходного тока равна 45 и является вполне достаточной для
регулирования возбуждения тягового генератора в необходимых пределах.
Рисунок 16 - Характеристика аплистата возбуждения
2. РАСЧЕТ МАГНИТНЫХ УСИЛИТЕЛЕЙ
2.1 Теория расчета магнитных усилителей
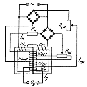
Допустим, требуется создать однотактный магнитный усилитель с обратной
связью, например по схеме Рис.17.
Рисунок 17 - Магнитный усилитель с регулировкой коэффициента обратной
связи и смещения
При этом для усилителя заданы: минимальное значение тока нагрузки Imin= Ix,x,максимальное
значение тока нагрузки Imax,сопротивление
нагрузки RH,сопротивление обмоток управления RY,частота источника питания f, коэффициент усиления по мощности KP и постоянная времени усилителя τY.
Известно, что при применение для усилителя пермаллоевых сердечников
высокой проницаемости или с прямоугольной петлей гистерезиса можно получить:
, (6)
поэтому
если для проектируемого усилителя отношение
не
превышает 400 f ,можно ограничиться одним каскадом. При больших
значениях этого отношения следует переходить к многокаскадному усилителю.
Ограничимся расчетом одного каскада.
При
отсутствии сигнала на входе усилителя т компенсации магнитного поля обратной
связи полем смещения выбрав ток смещения согласно формуле, ток на выходе усилителя
достигает своего минимального значения Imin. При
применение сердечников высокой проницаемости величина этого тока определяется
практически лишь индуктивностью L обмоток ώ~:
,
(7)
где
,
(8)
.
(9)
Здесь
-начальное значение переменной составляющей магнитной
индукции и
-динамическая магнитная проницаемость сердечников при
переменной составляющей индукции, равной
, и
отсутствие подмагничивания постоянным током. Зависимость
от
для
некоторых магнитных сплавов высокой проницаемости при толщине пластин 0,1 мм и
частоте 500 Гс приведена на (Рисунок 18).
Рисунок
18 - Зависимость
от
для
некоторых магнитных сплавов высокой проницаемости
Максимально
значение тока нагрузки Imax практически определяется лишь активным сопротивлением
цепи нагрузки, так как сердечники высокойпроницаемости полностью насыщаются уже
в слабых магнитных полях и можно пренебречь остаточным индуктивным
сопротивлением цепи нагрузки. Поэтому для максимального значения тока нагрузки:
, (10)
где
и
-
сопротивление обмоток переменного тока и обратной связи, а
-сопротивление выпрямителя.
В
первом приближении можно выбрать
.
Величина
ориентировочно может быть определена следующим
образом. Прежде всего исходя из заданного значения Imax,выбирают
диаметр селеновых вентилей, а по максимальному значению выпрямленного
напряжения:
. (11)
Определяют
n- число вентилей, включаемых последовательно в каждом
плече выпрямительного моста (см.Таблицу 1)При номинальном значении
выпрямленного тока падение напряжения на каждом селеновом вентиле оставляет в
среднем примерно 0,55 в.При этом относительно большие изменения величины
выпрямленного тока вызывают небольшие изменения падения напряжения на вентиле.
Поэтому для сопротивления выпрямительного моста можно приближенно принять:
.
(12)
Определив
значения
и
, находим
из формулы (10) напряжение источника питания:
. (13)
Подставляя
это значение в формулу (7) , находим величину начальной индуктивности обмоток
:
(14)
Из
формул (9) и (10) находим:
, (15)
откуда
для объема пермаллоя одного сердечника получаем:
(16)
Значения
f и ω = 2πf
заданы, а значения U и L были найдены из формул (13) и (14). Поэтому для
нахождения объема одного сердечника достаточно задаться величиной Вт и по
графикам на (Рисунок 18) определить соответствующее значение Выбор значения Вт
производится согласно рекомендациям, приведенным (Рисунок 20).
После
определения по формуле (16) величины V выбирают (с учетом имеющихся штампов)
размеры сердечников, обеспечивающие получение необходимого объема V, и уточняют
значения S и l. Затем из формулы определяют число витков обмоток
переменного тока
После
определения размеров сердечников расчет всех обмоток усилителя ведется
приведенным выше методом.
В
заключение отметим, что иногда, преимущественно' для весьма маломощных
усилителей, размеры сердечников, определенные по формуле (16)могут оказаться
настолько незначительными, что на сердечниках невозможно поместить необходимые
обмотки. В таких случаях следует, естественно, увеличивать размеры сердечников.
Эти размеры должны быть выбраны так, чтобы облегчить изготовление усилителя.
Формула (16)определяет минимальный объем сердечника.
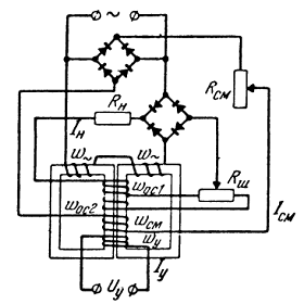
2.2 Расчет магнитного усилителя
Требуется
определить размеры тороидальных сердечников из молибденового пермаллоя с
пластинами толщиной 0,1мм для магнитного усилителя по - схеме (Рисунок 19).
Параметры:
Iмакс =150 m,
Iмин = 3 mA,
Rн = 10 Ом и f =
400 Гц.
Рисунок
19 - Магнитный усилитель с регулировкой коэффициента обратной связи и смещения:
Выбираем
R~+Ro.c=0, 15 RH = 0,15*40 = 6 Ом. По заданному
Значения
Imax выбираем в соответствии с данными (Таблица 1)
диаметр
селеновых вентилей, равный 25 мм. Максимальное значение выпрямленного
напряжения :
U н =Iмакс
(R н + R~ + Ro.c) = 0,15(40 + 6) = 6,9 B. (17)
Поэтому
можно ограничиваться одним вентилем в каждом плече моста.
Так
как Iмакс совпадает с номинальным значением выпрямленного
тока, сопротивление выпрямительного моста может быть определено по
формуле(12):
Ом .
(18)
Напряжение
источника питания по формуле (13) :
U =1,11 * 0,15
(40 + 6+7,3) ≈ 6,9 B. (19)
Индуктивность
обмоток ω~ по формуле (14):
Гн.
(20)
Таблица
1 - Длительно допустимые значения выпрямленного тока и напряжения для отдельных
селеновых вентилей и выпрямительного моста с одним вентилем в каждой ветви
В
соответствии с, приведенными рекомендациями, выбираем для молибденового
пермаллоя Вт - 4500 Гс. Для указанного значения Вт из Таблица 2 находим: μ~= 39 000 Гс.
Объем
пермаллоя одного сердечника определяется затем по формуле (16):
см3=2900
мм3 . (21)
Таблица
2 - Рекомендуемые начальные (амплитудные) значения переменной составляющей
магнитной индукции.
Для
определения размеров тороидов выбираем в первом приближении отношение наружного
диаметра к внутреннему DB равным 1,4 , т.е. DH=1,4 DB.
Тогда
средняя длина сердечника:
,
(22)
,
(23)
выбираем
высоту набора:
.
(24)
Активный
объем пермаллоя может быть представлен еще в следующем виде:
,
(25)
где
-коэффициент заполнения сердечника, который может быть
принят равным 0,85.Подставляя сюда значение V ,находим для
внутреннего диаметра сердечника:
.
(26)
Округляем
и окончательно берем D в=30 м м и D н = 1,4 D
в=42 мм, что соответствует l= 113 мм и а = 6 мм. Число колец толщиной 0,1 мм в
одном сердечнике будет:
мм.
(27)
ЗАКЛЮЧЕНИЕ
В
ходе работы мы изучили работу магнитного усилителя а также узнали о
разновидностях и его применении в технике и производстве. Рассчитали МУ с
сердечником высокой проницаемости.
СПИСОК
ИСПОЛЬЗОВАННЫХ ИСТОЧНИКОВ И ЛИТЕРАТУРЫ
1. Калужников
Н.А.Расчет магнитных усилителей. Антикварное издание.-М.: 1960
2. Кафедра
«Теоретические основы электротехники» 2011г. [Электронный ресурс] URL:
<http://toe-kgeu.ru/>
. Магнитный усилитель.
[Электронный ресурс] <http://www.pomogala.ru/teplovoz/teplovoz_41.html>.
. Музей электронных
раритетов [Электронный ресурс] URL: http://www.155la3.ru/magnit_amplifier.htm#plus_minus
<http://www.155la3.ru/magnit_amplifier.htm> .
. Розенблат, М.А.
Магнитные усилители и модуляторы: Библиотека по автоматике, выпуск 74.- М.:
“Госэнергоиздат”, 1955. - 112 с.
. Розенблат, М.А.
Магнитные усилители: Магнитные элементы автоматики и вычислительной техники.-
М.: “Госэнергоиздат”, 1966.- 136 с.
. Соболевский, А.Г.
Магнитный усилитель - что это такое?: Массовая радио библиотека. Выпуск 482.-
М.: “Госэнергоиздат”, 1963.- 37 с.
. ЧИП и ДИП Мастер
электроники. [Электронный ресурс] URL:
<http://www.chipdip.ru/video.aspx?vid=ID000279370> .