Измерение мощности и энергии

  • Вид работы:
    Курсовая работа (т)
  • Предмет:
    Физика
  • Язык:
    Русский
    ,
    Формат файла:
    MS Word
    584,19 Кб
  • Опубликовано:
    2012-05-09
Вы можете узнать стоимость помощи в написании студенческой работы.
Помощь в написании работы, которую точно примут!

Измерение мощности и энергии

Федеральное агентство по образованию

Сибирская государственная автомобильно-дорожная академия (СибАДИ)

Специальность: Управление качеством

Кафедра: Управления качеством





Курсовая работа

По дисциплине

Физические основы измерений

Тема

Измерение мощности и энергии



Исполнитель: студентка группы 10УКЭ1,

Козырь Евгения Юрьевна

Руководитель: к. т. н., доцент

Ставских Игорь Анатольевич




ОМСК 2011

Содержание

1. Аналитические выражения мощности как основа методов измерений мощности и энергии

. Измерение мощности и энергии в цепях постоянного и однофазного тока

.1 Измерение мощности.

.1.1 Электродинамические ваттметры

.1.2 Ферродинамические ваттметры

.1.3 Ваттметры с квадраторами

.1.4 Ваттметры с преобразователями Холла

.1.5 Термоэлектрический ваттметр

.1.6 Косвенные методы измерений мощности

.2 Измерение энергии

.2.1 Постоянный ток

.2.2 Однофазный переменный ток

. Измерение мощности и энергии в трехфазных цепях.

.1 Измерение мощности

.2 Измерение энергии

.2.1 Активная энергия

.2.2 Реактивная энергия

Список литературы

1. Аналитические выражения мощности как основа методов измерений мощности и энергии

Активная Р и реактивная Q мощности однофазного тока определяются выражениями:

P= UI cosφ, Q= UI simφ,

где U и I -действующие значения напряжения и тока; φ - угол сдвига между этими величинами.

Когда сопротивление нагрузки Rн чисто активное, то для мощности как постоянного, так и переменного токов справедливы выражения:

P=UI, P = IІRн, P=UІ/Rн.

В активной нагрузке подводимая мощность обращается в тепло, и количество тепла q, выделяющегося в единицу времени, пропорционально мощности; q=ƙР.

Активную мощность трехфазной цели можно выразить следующим образом:

для симметричной системы

P=3UфIфcosφ;

для трехпроводной асимметричной системы

P=U1,3I1cosγ + U2,3I2cosδ

или

P=U2,1I1cosρ + U3,1I2cosλ

или

=U1,2I1cosα + U3,2I3cosβ

для четырехпроводной асимметричной системы

=U1ф I1ф cosφ1 + U2ф I2ф cosφ2 + U3ф I3ф cosφ3

В этих выражениях:I1,I2,I3 и U1,3, U2,3, U2,1, U3,1, U1,2, U3,2- действующие значения соответственно линейных токов н линейных напряжений: Iф и Uф- действующие значения фазных токов и напряжений (дополнительные индексы 1, 2, 3 означают принадлежность токов и напряжений к соответствующим фазам); φ- всюду углы сдвига между соответствующими фазными напряжениями и токами, а α, β, γ, ρ, λ, δ -углы сдвига между соответствующими линейными напряжениями и токами. Приведенные выражения справедливы как при соединении нагрузки звездой, так и треугольником.

Реактивная мощность для трехфазной цепи в общем случае:

Q=U1фI1фsinφ1+U2фI2фsinφ2+U3фI3ф sinφ3

а при полной симметрии системы

Q=3UфI фsinφ=√3UлIлsinφ

Из приведенных выражений следует, что мощность можно определить либо на основе косвенных измерений других величин I, U, φ, q, либо непосредственно по показаниям приборов: ваттметров (для активной мощности), градуированных в ваттах, и варметров (дли реактивной мощности), градуированных в верах, осуществляющих необходимые вычислительные операции.

В вычислительной технике различают две основные группы множительных устройств:

) устройства прямою перемножения двух величин х1и х2, в которых результат у=х1х2. Выходная величина у может быть электрической или механической (линейное или угловое перемещение). Примером таких устройств является использование электродинамических и ферродинамических ИМ для ваттметров постоянного и переменного токов и счетчиков постоянного тока, а также индукционных ИМ - для счетчиков переменного тока. Возможно также применение преобразователей Холла с выходной электрической величиной;

) устройства косвенного перемножения, в которых перемножение величин х1 и х2, осуществляется посредством других математических операций, например при помощи тождества:

х1х2=0,25[(x1+x2)І-(x1-x2)І]

Здесь умножение заменяется сложением, вычитанием и возведением в квадрат. Для последней операции применяют нелинейные преобразователи, в которых выходная величина пропорциональна квадрату входной величины. Такие преобразователи, называемые квадраторами, могут быть реализованы в виде термоэлектрических и выпрямительных преобразователей, а также с помощью искусственно созданных нелинейных целей, воспроизводящих квадратичную зависимость.

В области высоких и сверхвысоких частот широкое распространение получили ваттметры, основанные на применении равенства q=ƙP, поскольку в этих диапазонах частот нагрузка имеет практически активный характер (например, сопротивление излучения антенны) и реальную нагрузку легко заменить ее известным эквивалентом. Связь же между мощностью и количеством тепла устанавливается или калориметрическим методом (иногда фотометрическим) или по изменению сопротивления термистора, нагреваемого этой мощностью.

Поскольку энергия является интегралом по времени от мощности, то приборы для се измерения, называемые счетчиками электрической энергии, должны обладать интегрирующими свойствами. К косвенным измерениям энергии через мощность и время прибегают в редких случаях, например при поверке счетчиков.

2. Измерение мощности и энергии в цепях постоянного и однофазного тока

.1 Измерение мощности

Для измерения мощности в цепях постоянного и однофазного переменного тока применяют приборы, называемые ваттметрами, для которых используют электродинамические и ферродинамические измерительные механизмы.

.1.1 Электродинамические ваттметры

Электродинамические ваттметры выпускают в виде переносных приборов высоких классов точности (0,1-0,5) и используют для точных измерений мощности постоянного и переменного тока на промышленной и повышенной частоте (до 5000 Гц). Ферродинамические ваттметры чаще всего встречаются в виде щитовых приборов относительно низкого класса точности (1,5-2,5). Применяют такие ваттметры главным образом на переменном токе промышленной частоты. На постоянном токе они имеют значительную погрешность, обусловленную гистерезисом сердечников.

Для измерения мощности на высоких частотах применяют термоэлектрические и электронные ваттметры, представляющие собой магнитоэлектрический измерительный механизм, снабженный преобразователем активной мощности в постоянный ток. В преобразователе мощности осуществляется операция умножения ui = р и получение сигнала на выходе, зависящего от произведения ui, т. е. от мощности.


 <#"550924.files/image002.gif">

Рассмотрим работу электродинамического ваттметра на переменном токе. Векторная диаграмма рис. 1, б построена для индуктивного характера нагрузки. Вектор тока Iu параллельной цепи отстает от вектора U на угол γ вследствие некоторой индуктивности подвижной катушки.


Из этого выражения следует, что ваттметр правильно измеряет мощность лишь в двух случаях: при γ = 0 и γ = φ.

Условие γ = 0 может быть достигнуто созданием резонанса напряжений в параллельной цепи, например включением конденсатора С соответствующей емкости, как это показано штриховой линией на рис. 1, а. Однако резонанс напряжений будет лишь при некоторой определенной частоте. С изменением частоты условие γ = 0 нарушается. При γ не равном 0 ваттметр измеряет мощность с погрешностью βy, которая носит название угловой погрешности.

При малом значении угла γ (γ обычно составляет не более 40 - 50'), относительная погрешность


При углах φ, близких к 90°, угловая погрешность может достигать больших значений.

Второй, специфической, погрешностью ваттметров является погрешность, обусловленная потреблением мощности его катушками. При измерении мощности, потребляемой нагрузкой, возможны две схемы включения ваттметра <#"550924.files/image005.gif"> <#"550924.files/image006.gif">

где Рi и Рu - соответственно мощность, потребляемая последовательной и параллельной цепью ваттметра.

Из формул для β(а) и β(б) видно, что погрешности могут иметь заметные значения лишь при измерениях мощности в маломощных цепях, т. е. когда Рi и Рu соизмеримы с Рн.

Если поменять знак только одного из токов, то изменится направление отклонения подвижной части ваттметра.

У ваттметра имеются две пары зажимов (последовательной и параллельной цепей), и в зависимости от их включения в цепь направление отклонения указателя может быть различным. Для правильного включения ваттметра один из каждой пары зажимов обозначается знаком «*» (звездочка) и называется «генераторным зажимом».

.1.2 Ферродинамические ваттметры

Для ваттметра в цепи переменного тока будем иметь:


допуская, что потери в магнитопроводе отсутствуют (магнитный поток и ток совпадают по фазе), реактивность параллельной цепи пренебрежимо мала и воздушный зазор в ИМ равномерный, благодаря чему множитель в уравнении преобразования:


Таким образом, чувствительность ваттметра является постоянной величиной (для данной частоты), и шкала прибора оказывается равномерной.

Помимо погрешностей, присущих электродинамическим ваттметрам, ферродинамические ваттметры имеют специфические погрешности. Непропорциональность магнитного потока и тока в последовательной цепи, обусловленная нелинейностью кривой намагничивания материала магнитопровода, приводят к тому, что одно и тоже показание может наблюдаться при разных значениях тока и напряжения и коэффициента мощности. На постоянном токе, вследствие магнитного гистерезиса, показания ваттметра при возрастающем и убывающем токе будут различными. Становится заметным также отличие в показаниях прибора на постоянном и переменном токе.

Ферродинамические ваттметры находят применение в качестве переносных, стационарных и самопишущих приборов переменного тока

.1.3 Ваттметры с квадраторами

В качестве примера реализации ваттметра с квадраторами, на рис.3 представлена принципиальная электрическая схема с использованием диодов. Параллельно источнику питания включен делитель напряжения из резисторов R1и R2.

Рис. 3.

Последовательно с нагрузкой соединены два резистора R3 по которым протекает ток. практически равный току нагрузки i. Резисторы R4 включенные последовательно с диодами Д1 и Д2, ограничивают ток через них так. чтобы рабочая точка устанавливалась на квадратичном участке характеристики диодов.

Для мгновенного значения напряжения u1на R1, которое пропорционально напряжению сети u, имеем:

 при i1«i

Предполагается также, что шунтирующее действие R4 и измерительного прибора источника питания очень мало.

Падение напряжения u2 на R3 равно


Пусть в некоторый момент времени знаки палений напряжений на R1 и R3 такие, как покачано на рис. 3. Тогда к диоду Д1 приложена сумма u1 + u2= ƙ1u+ƙ2i , а к диоду Д2 - их разность u1 - u2= ƙ1u - ƙ2i. Между точками а и б образуется разность ∆u=(i' - i'')R4,если i' и i''- выпрямленные токи, пропорциональные квадратам приложенных напряжений, т.е мгновенное значение мощности. Поскольку магнитоэлектрический прибор ИП реагирует на среднее значение ∆u. то после интегрирование и перехода к действующим значениям тока и напряжения получим, что угол отклонения подвижной части приборе будет пропорционален мощности. Такие ваттметры применяются и в области повышенных частот; они потребляют малую мощность, по основная погрешность у них относительно велика, что объясняется главным обрезом, неидентичностью преобразователей Д1 и Д2 и отклонением их характеристик от чисто квадратичных.

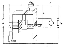
.1.4 Ваттметры с преобразователями Холла

Для преобразователя Холла, можно осуществить ваттметр, если одну из входных величин, напри мер индукцию В, сделать пропорциональной напряжению, а другую - ток I- току через нагрузку. Тогда э. д. с. Холла будет пропорциональна мощности.

Для осуществлении ваттметра преобразователь Холла помещают в узкий зазор магнитопровода 1 (рис 4), намагничиваемого обмоткой L1, включенной параллельно источнику, тогда как ток i через преобразователь, обусловленный падением напряжения на шунте пропорционален току нагрузки I. Индуктивность L2 в последовательной цепи служит для коррекции частотных погрешностей, связанных с тем, что я параллельной цели ток несколько отстает от напряжения U, подобно тому как это имеет место у электродинамических ваттметров.

Рис. 4.

Ваттметры с преобразователями Холла могут быть построены для измерений в цепях переменного тока звуковых и высоких частот.

.1.5.Термоэлектрический ваттметр

Частотный диапазон может быть расширен до 1 МГц, если квадратор построить на бесконтактных термопреобразователях. Термоэлектрический ваттметр отличается от выпрямительного тем, что вместо диодов включаются нагреватели бесконтактных термопар, а разность термо-ЭДС на холодных концах, измеряемая магнитоэлектрическим милливольтметром, пропорциональна средней мощности потребления нагрузки.

Термоваттметры используют при измерении мощности в цепях с несинусоидальной формой тока и напряжения; при измерении мощности в цепях с большим сдвигом фаз между напряжением и током, при определении частотной погрешности электродинамических ваттметров.

2.1.6 Косвенные методы измерений мощности

Мощность постоянного или переменного тока (при активной нагрузке) может быть измерена методом амперметра и вольтметра (рис.4).

Рис. 5. Схемы включения приборов

Обеим схемам включения присуща методическая погрешность. При включении по схеме на рис 15.9 а мощность Р, определенная как произведение измеренных значений U и I, окажется больше, чем мощность Рн, расходуемая в нагрузке, на величину мощности, потребляемой амперметром, т. е,

Рн=Р-IІRa

где Ra-сопротивление амперметра.

Относительная погрешность

γ01=(Р-Рн)/Рн = Rа/Rн

Для схемы, приведенной на рис.5.б, методическая погрешность, обусловленная мощностью, потребляемой вольтметром, определяется аналогично:

Рн = Р-(UІ/RВ)

где RB-сопротивление вольтметра.

Относительная погрешность в данном случае

γ02=UІ/RB=RнІ

UІ/RB RВ

При поверке ваттметров высоких классов точности (от 0,5 и выше) используют компенсатор напряжении постоянного тока, которым при помощи делителя измеряют напряжение, приложенное к ваттметру, а силу тока определяют, измерив падение напряжения на измерительном резисторе, включенном в последовательную цепь ваттметра.

Для определения активной и реактивной мощностей может быть использован компенсатор напряжения переменного тока, измеряющий напряжение, ток и угол сдвига между ними.

Компенсаторы применяют и при измерениях в маломощных цепях, когда включение ваттметра может привести не только к большим погрешностям, но и к нарушению существовавшего режима работы цепи.

2.2 Измерение энергии

.2.1 Постоянный ток

Для измерения расхода энергии при постоянном токе применяют счетчики трех систем: электродинамической, магнитоэлектрической и электролитической. Наибольшее распространение получили счетчики электродинамической системы. Неподвижные токовые катушки, состоящие из небольшого числа витков толстой проволоки, последовательно включены в сеть. Подвижная катушка шарообразной формы, называемая якорем, укреплена на оси, которая может вращаться в подпятниках. Обмотка якоря выполнена из большого числа витков тонкой проволоки и разделена на несколько секций. Концы секций припаяны к пластинам коллектора, которого касаются металлические плоские щетки. Напряжение сети подается в обмотку якоря через добавочное сопротивление. При работе счетчика в результате взаимодействия тока в обмотке якоря и магнитного потока неподвижных токов катушек создает момент вращения, под влиянием которого якорь начнет поворачиваться. О количестве энергии, потребляемой в сети, можно судить по числу оборотов, сделанных якорем (диском). Количество энергии, приходящееся на один оборот якоря, называется постоянной счетчика. Число оборотов якоря, приходящееся на единицу учтенной электрической энергии, называется передаточным числом.

.2.2 Однофазный переменный ток

Для измерения активной энергии в цепях однофазного переменного тока применяют счетчики индукционной системы. Устройство индукционного счетчика почти такое же, как и индукционного ваттметра. Разница состоит в том, что счетчик не имеет пружин, создающих противодействующий момент, отчего диск счетчика может свободно вращаться. Стрелка и шкала ваттметра заменены в счетчике счетным механизмом. Постоянный магнит, служащий в ваттметре для успокоения, в счетчике создает тормозящий момент.

Рис. 6. Устройство однофазного счетчика

ток мощность энергия прибор


3. Измерение мощности и энергии в трехфазных цепях

.1 Измерение мощности

Измерение активной мощности в трехфазных цепях производят с помощью трех, двух или одного ваттметров, используя различные схемы их включения. Схема включения ваттметров для измерения активной мощности определяется схемой сети (трех- или четырехпроводная), схемой соединения фаз приемника (звезда или треугольник), характером нагрузки (симметричная или несимметричная), доступностью нейтральной точки.

При несимметричной нагрузке в четырехпроводной цепи активную мощность измеряют тремя ваттметрами (рис. 7), каждый из которых измеряет мощность одной фазы - фазную мощность.

Рис. 7

Активная мощность приемника определяют по сумме показаний трех ваттметров

P = P1 + P2 + P3,

где P1 = UA IA cos φA;2 = UB IB cos φB;3 = UC IC cos φC.

Измерение мощности тремя ваттметрами возможно при любых условиях.

При симметричном приемнике и доступной нейтральной точке активную мощность приемника определяют с помощью одного ваттметра, измеряя активную мощность одной фазы PФ по схеме рис.8. Активная мощность всего трехфазного приемника равна при этом утроенному показанию ваттметра: P = 3 PФ.

Рис. 8

Рис. 9

На рис.8 показано включение прибора непосредственно в одну из фаз приемника. В случае, если нейтральная точка приемника недоступна или зажимы фаз приемника, включенного треугольником не выведены, применяют схему рис. 9 с использованием искусственной нейтральной точки n'. В этой схеме дополнительно в две фазы включают резисторы с сопротивлением R = RV.

Измерение активной мощности симметричного приемника в трехфазной цепи одним ваттметром применяют только при полной гарантии симметричности трехфазной системы.

Измерение мощности двумя ваттметрами.

В трехпроводных трехфазных цепях при симметричной и несимметричной нагрузках и любом способе соединения приемников широко распространена схема измерения активной мощности приемника двумя ваттметрами (рис.10). Показания двух ваттметров при определенной схеме их включения позволяют определить активную мощность трехфазного приемника, включенного в цепь с симметричным напряжением источника питания.

На рис.10 показана одна из возможных схем включения ваттметров: здесь токовые катушки включены в линейные провода с токами IA и IB, а катушки напряжения - соответственно на линейные напряжения UAC и UBC.

Рис. 10

Сумма показаний двух ваттметров действительно равна активной мощности Р трехфазного приемника.

При симметричной нагрузке

IA = IB = IЛ, UAC = UBC = UЛ.

Рис. 11

Из векторной диаграммы (рис. 11) получаем, что угол α между векторами UAC и IA равен α = φ - 30°, а угол β между векторами UBC и IB составляет β = φ + 30°.

В рассматриваемом случае показания ваттметров можно выразить формулами

1 = UЛ IЛ cos(φ - 30°),2 = UЛ IЛ cos(φ + 30°).

Сумма показаний ваттметров

1 + P2 = UЛ IЛ [cos(φ - 30°) + cos(φ + 30°)] = UЛ IЛ cos φ.

Ввиду того, что косинусы углов в полученной формуле могут быть как положительными, так и отрицательными, в общем случае активная мощность приемника, измеренная по методу двух ваттметров, равна алгебраической сумме показаний.

При симметричном приемнике показания ваттметров Р1 и Р2 будут равны только при φ = 0°. Если φ > 60°, то показания второго ваттметра Р2 будет отрицательным.

Для измерения активной мощности в трехфазных цепях промышленных установок широкое применение находят двухэлементные трехфазные электродинамические и ферродинамические ваттметры, которые содержат в одном корпусе два измерительных механизма и общую подвижную часть. Катушки обоих механизмов соединены между собой по схемам, соответствующим рассмотренному методу двух ваттметров. Показание двухэлементного ваттметра равно активной мощности трехфазного приемника.

.2 Измерение энергии

Рис 12. Измерение активной энергии в трехфазной сети трехэлементным (а) и двухэлементным (б) счетчиками

.2.1 Активная энергия

В трехфазных цепях активную энергию Wа измеряют трех или четырехэлементными трехфазными счетчиками. Трехэлементные счетчики конструктивно представляют собой три измерительные системы однофазных счетчиков, имеющих общую ось. Трехэлементные счетчики (рис. 12, а) используют в четырехпроводных цепях трехфазного тока.

Для измерения активной энергии в трехпроводниковых цепях применяют двухэлементные счетчики (рис. 12, б), объединяющие измерительные системы двух однофазных счетчиков. Обмотки этих систем включают схеме двух ваттметров (рис. 13).

.2.2 Реактивная энергия

Реактивную энергию Wр при симметричной нагрузке фаз трехпроводной сети можно измерить при помощи двух однофазных счетчиков, обмотки которых включены по схеме рис. 13. Значение Wp находят как разность показаний счетчиков, увеличенную в√3 раз. Кроме того, применяют специальные трехфазные счетчики реактивной энергии, используемые как при симметричной, так и при несимметричной нагрузках фаз.

Рис.13

Список литературы

1. Электротехника. Ю.М. Борисов, Д.Н. Липатов, Ю.Н. Зорин. Учебник для вузов. - 2-е изд., пере-раб. и доп. - М.: Энергоатомиздат, 1985.

. Электрические измерения. Средства и методы измерений (общий курс) К.П. Дьяченко Под ред. Е.Г. Шрамкова, 1972

. Основы метрологии и электрические измерения: Учебник для вузов, Б.Я. Авдеев, Е.М. Антонюк, Е.М. Душин и др.; Под ред. Е.М. Душина.- 6-е изд., перераб. и доп. - Л.: Энергоатомиздат. Ленингр. 1987 г.

. Приборы и методы измерения электрических величин: учеб. пособие для вузов. Э.Г. Атамалян. 3-е издание, перераб. и доп. - М.: Дрофа,2005 г.

Похожие работы на - Измерение мощности и энергии

 

Не нашли материал для своей работы?
Поможем написать уникальную работу
Без плагиата!
Без нейросетей!