Измерение основных электрических величин: напряжения, тока, мощности, энергии

  • Вид работы:
    Контрольная работа
  • Предмет:
    Физика
  • Язык:
    Русский
    ,
    Формат файла:
    MS Word
    1,47 Mb
  • Опубликовано:
    2011-07-19
Вы можете узнать стоимость помощи в написании студенческой работы.
Помощь в написании работы, которую точно примут!

Измерение основных электрических величин: напряжения, тока, мощности, энергии

Измерение основных электрических величин: напряжения, тока, мощности, энергии


Для измерения тока I в каком-либо элементе электрической цепи последовательно с ним включают измеритель тока - амперметр,

При измерении малых постоянных токов (менее 10-3 А) используют прямые и косвенные методы измерения. В первом случае ток измеряют приборами непосредственной оценки, например магнитоэлектрическими микроамперметрами. Для увеличения чувствительности применяют усилители постоянного тока.

Более точным, но в то же время более сложным способом является косвенное измерение тока, при котором в измерительную цепь включают резистор с известным сопротивлением Ro и на нем измеряют падение напряжения U0 компенсационным методом. Искомый ток находят по формуле I = U0/R0.

Устройства, реализующие компенсационный метод измерения, называют компенсаторами






Рис

напряжение ток энергия электрический

На рисунке показана принципиальная схема измерения напряжения Ux компенсационным методом. В верхнем контуре под действием эдс вспомогательного источника питания Eвсп создается рабочий ток Iр. Его значение регулируется резистором Rpeг и устанавливается с использованием нормального элемента Енэ, эдс которого известна с высокой точностью. Регулировкой сопротивления резистора Rpeг добиваются отсутствия тока в нуль-индикаторе НИ (переключатель П в положении 1). В этом случае справедливо равенство

IpRN = Енэ,

где RN - сопротивление образцового резистора.

Поскольку эдс нормального элемента и значение сопротивления RN известны с высокой точностью, то и значение Iр = Eэн/RN получают также с высокой точностью. При положении 2 переключателя П измеряемое напряжение Ux сравнивается с компенсирующим напряжением UK, создаваемым током Iр на компенсирующем резисторе R'K. При отсутствии тока в НИ напряжение Ux уравновешено напряжением UK, т. е.

Ux = UK = IpR’K = Eнэ.

Из данного выражения видно, что точность измерения Ux определяется точностью сравнения его с UK, т. е. чувствительностью НИ и неизменностью рабочего тока Iр, т. е. стабильностью EВсп- В свою очередь, точность UK зависит от точности изготовления резистора RK.

Выпускаемые промышленностью компенсаторы имеют следующие классы точности: 0,0005, 0,001; 0,002; 0,005; 0,01; 0,02; 0,05; 0,1; 0,2; 0,5. Максимальное напряжение, измеряемое компенсатором непосредственно, составляет 2,12111 В.

Измерение постоянного и переменного напряжения







Рис

Схема включения вольтметра с добавочными резисторами Rд приведена на рисунок, б. Сопротивление их определяется из условия RД1,2 = Rv(m1,2 - 1). где RV - внутреннее сопротивление вольтметра; m1,2 = U1,2/UmV - масштабный коэффициент.

Δ Для измерения постоянных напряжений до нескольких киловольт применяют в основном электростатические вольтметры, реже приборы других систем с делителями напряжения.

Малые переменные напряжения (до единиц вольт) измеряют с помощью приборов выпрямительной системы, аналоговыми и цифровыми электронными вольтметрами. Для измерения переменных напряжений от единиц до сотен вольт в диапазоне частот до десятков килогерц используют приборы электромагнитной, электродинамической и выпрямительной систем. В диапазоне частот до десятков мегагерц напряжение измеряют приборами электростатической и термоэлектрической систем, цифровыми вольтметрами.

Большие значения переменных напряжений (свыше киловольта) измеряют теми же приборами, но с применением измерительных трансформаторов напряжения. Последние кроме преобразования переменного напряжения обеспечивают изоляцию вторичной цепи от первичной, находящейся под высоким напряжением.

Измерение электрической мощности и энергии

Мощность в электрических цепях измеряют прямым и косвенным способами. При прямом измерении используют ваттметры, при косвенном - амперметры и вольтметры.

Измерение мощности в цепях постоянного тока

В цепях постоянного тока для измерения мощности ваттметр применяют относительно редко, в основном используют метод амперметра - вольтметра (рис.). Определив амперметром значение тока I и вольтметром напряжение U, вычисляют мощность по формуле Р = UI.

Для уменьшения погрешности из-за влияния внутренних сопротивлений приборов схему рисунке, а следует использовать при малом сопротивлении R, а схему рисунке, б - при большом сопротивлении R нагрузки.

Рис

Измерение мощности в однофазных цепях переменного тока

Полную мощность S приемника измеряют, как правило, методом амперметра-вольтметра: S=UI, где U и I - действующие значения напряжения и тока.

Активную Р = UI cos φ и реактивную Q = UI sin φ мощности приемников измеряют с помощью ваттметров.

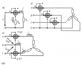
Измерение активной мощности ваттметром в однофазных цепях производят по схеме рисунке, а. Токовую обмотку включают в цепь последовательно с приемником RH (т. е. в цепь тока I), а обмотку напряжения - параллельно приемнику RH на напряжение U.

Реактивную мощность в однофазных цепях измеряют только в лабораториях при проведении каких-либо исследований включением обычных ваттметров по специальным схемам.

Рис

Измерение мощности в трехфазных цепях

Полная мощность приемника при симметричной нагрузке может быть измерена методом амперметра-вольтметра и вычислена по формуле

S =  UI,

где U и I - действующие значения линейных напряжения и тока.

Полная мощность приемника при несимметричной нагрузке определяется как |S| = |S1 + S2 + S3|, где S1, S2 и S3 - полные мощности фаз приемника.

При измерении активной мощности в трехфазной четырех-проводной цепи включают три ваттметра. Активная мощность приемника определяется суммой их показаний:

P=P1 +P2 + P3

Широко распространено измерение активной мощности в трехфазных цепях методом двух ваттметров. Этот метод используют только для трехпроводной цепи. На рисунке, в показана одна из возможных схем включения ваттметров W1 и W2. Сумма показаний ваттметров выражается как

UABIAcos(ABЭA) + UCBIccos(CBЭC) = P = αW1 + αW2

и представляет собой активную мощность трехфазного приемника.

При симметричной нагрузке эта сумма представляется в виде

Р =  UIcosφ,

где U и I - действующие значения линейных напряжения и тока; φ - сдвиг фаз между фазными напряжением Uф и током Iф.

Реактивную мощность измеряют по показаниям ваттметров, включенных по схемам рисунка, в. В этом случае реактивная мощность пропорциональна алгебраической разности показаний прибора:

UIcos(φ + 30°) - UIcos(φ - 30°) = UI sinφ = Q/.

Измерение активной и реактивной энергии

Активную энергию в цепях однофазного переменного тока измеряют индукционными счетчиками, включаемыми в цепь по тем же схемам, что и ваттметры. Активная энергия выражается в ватт-секундах или киловатт-часах. Для измерения активной энергии в системах энергоснабжения широко применяют двух- и трехэлементные счетчики.

Понятие о коэффициенте мощности с.х. электроустановок. Зависимость коэффициента мощности от параметров и режима работы электроустановок. Способы его повышения

Для создания магнитного поля асинхронных двигателей, трансформаторов, других электромагнитных аппаратов и устройств переменного тока необходим реактивный ток Iа, который отличается от активного Iа тем, что его изменение происходит с некоторым отставанием от напряжения (на 90° при векторном изображении). После векторного сложения активного и реактивного токов получается вектор полного тока I, образующий некоторый угол с вектором напряжения. Этот угол обычно обозначают буквой ср, при этом cosφ=Ia/I. Коэффициент мощности соφ указывает долю активного тока в общем токе и, следовательно, долю активной мощности в кажущейся мощности токоприемника.

Коэффициент мощности на практике определяют измеряя активную и реактивную мощность, а чаще - измеряя активную и реактивную энергию при помощи соответствующих счетчиков.

При этом

, (1)

где Р - активная мощность, Вт; Q - реактивная мощность, вар.

Активная мощность трехфазного двигателя

.

Следовательно, полный ток

. (2)

Из уравнения (1) видно, что увеличение реактивной мощности Q или уменьшение активней Р при неизменной реактивной приводит к уменьшению cosφ. Равенство (2) показывает, что при одной и той же передаваемой активной мощности полный ток увеличивается при снижении коэффициента мощности.

Увеличение полного тока приводит к необходимости увеличения площади сечения электрических проводов, мощности трансформаторов, повышению потерь энергии в них.

Повышение коэффициента мощности электрических установок предприятий - это часть общей проблемы экономии электрической энергии и материалов. Асинхронные двигатели потребляют 65...75% реактивной мощности сети. Их cosφ при номинальной нагрузке находится в пределах 0,7...0,9, снижаясь с уменьшением нагрузки до 0,3...0,4 при их холостом ходе. Это объясняется тем, что реактивная мощность, потребляемая асинхронным двигателем, примерно одна и та же как при нагрузке, так и без нее.

Реактивная мощность больше у тихоходных двигателей, так как они имеют большие размеры, и у двигателей с фазным ротором из-за большего воздушного зазора и больших размеров. Следует помнить, что значение воздушного зазора сильно влияет на cosφ, поэтому обтачивать ротор при ремонте недопустимо. При увеличении напряжения реактивная мощность растет.

Для повышения коэффициента мощности целесообразно проводить следующие мероприятия: правильно выбирать электродвигатели по мощности; в приводах большой мощности применять синхронные двигатели или асинхронные с большой номинальной частотой вращения; полностью использовать технологическое оборудование, обеспечивая номинальную загрузку электродвигателей; двигатели, постоянно загруженные менее чем на 40 %, заменять двигателями меньшей мощности; устранять работу асинхронных двигателей на холостом ходу при помощи автоматических ограничителей; переключать в звезду незагруженные двигатели, обмотки которых соединены треугольником (такое возможно у двигателей с номинальным напряжением 660/380 В); следить за уровнем напряжения, не допускать длительного его увеличения выше номинального.

В тех случаях, когда этими средствами не удается повысить cosφ до требуемого, на предприятиях предусматривают специальные установки для искусственного повышения средневзвешенного cosφ, состоящие из батарей специальных конденсаторов и пускорегулирующей аппаратуры.

Повышение коэффициента мощности путем подключения конденсаторов основано на том, что электрическая емкость представляет собой источник реактивной мощности: реактивный ток компенсируется емкостным.

Применение компенсирующих установок связано с дополнительными затратами и обосновывается технико-экономическими расчетами.

Печи повышенной частоты питаются от вентильных преобразователей частоты, к которым подводится переменный ток напряжением 0,4 кВ. Индукционные печи имеют низкий коэффициент мощности: от 0,1 до 0,5.

Электрохимические и электролизные установки работают на постоянном токе, который получают от преобразовательных подстанций, выпрямляющих трехфазный переменный ток. Коэффициент мощности установок 0,8...0,9.

В период нерабочих пауз для предотвращения увлажнения изоляции электродвигателя, его можно включить в сеть через конденсаторы. За счет потерь в стали и в обмотке статора электродвигатель в период нерабочих пауз нагревается, его температура на 5-10° превышает температуру окружающей среды, что и препятствует проникновению влаги и агрессивных примесей внутрь изоляции электродвигателя. При таком подогреве электродвигателя улучшается коэффициент мощности электроустановки объекта в целом. При несколько завышенной (на 25-30%) мощности электродвигателя и подключении батареи конденсаторов к клеммам электродвигателя последний может не отключаться от сети в случае потери фазы и работать в режиме однофазного питания сохраняя непрерывность технологического процесса.

Установки электрического освещения с лампами накаливания, люминесцентными, дуговыми, ртутными, натриевыми, ксеноновыми лампами применяются на всех предприятиях для внутреннего и наружного освещения. В производственных цехах в настоящее время применяются преимущественно дуговые ртутные лампы высокого давления типов ДРЛ и ДРИ 220 В. Аварийное освещение, составляющее 10% общего, выполняется лампами накаливания. Коэффициент мощности светильников с индивидуальными конденсаторами 0,9...0,95, а без них - 0,6. Лишь лампы накаливания имеют коэффициент мощности 1,0.

Коэффициент мощности сушильных установок не менее 0,85, кВт.

Отношение активной мощности Р к полной S называют коэффициентом мощности cos φ. Он показывает, какую долю всей вырабатываемой источником мощности составляет активная мощность.

Коэффициент мощности характеризует потребление электроприемником реактивной мощности. Численно коэффициент мощности равен косинусу угла сдвига фаз между напряжением и током цепи данного электроприемника. Различают мгновенное и средневзвешенное значение коэффициента мощности. Мгновенное значение cos φ, определяется по фазометру или по формуле.






Рис

Очевидно, что чем больше соs φ, тем экономичней работает энергосистема, так как при одних и тех же значениях тока I и напряжения U источника можно получить большую активную мощность. Или при определенных значениях напряжения и мощности источника можно передавать активную энергию меньшим током, что снижает потери в линии электропередачи.

Одним из способов повышения соs φ является включение параллельно нагрузке R, L батареи конденсаторов С (рис. 1, а). Векторная диаграмма представлена на рис. 1, б, из которой видно, что при включении конденсатора соsφ2>соsφ1 и IЛ<I.

Производственные осветительные и облучательные установки. Облучательные установки для растений. Электросветоловушки для борьбы с летающими насекомыми. Дополнительное электрическое освещение в птичниках


Установки электрического освещения бывают с лампами накаливания, люминесцентными, дуговыми, ртутными, натриевыми, ксеноновыми лампами применяются на всех предприятиях для внутреннего и наружного освещения. В производственных цехах в настоящее время применяются преимущественно дуговые ртутные лампы высокого давления типов ДРЛ и ДРИ 220 В. Аварийное освещение, составляющее 10% общего, выполняется лампами накаливания.

Для светового облучения биологических объектов создан специальные импульсные и светолазерные установки. В результате многолетних исследований и опытно-производственных испытаний установлено положительное действие инфракрасного света, света импульсных ламп и лазерного света на продуктивность растений. На основе учения о фотоэнергеике растений разработан новый агротехнический прием предпосевного светоимпульсното и светолазерного активирования семян пшеницы, кукурузы, сахарной свеклы, хлопчатника и овощных культур, повышающий урожайность, качество продукции и дающий значительный экономический эффект.

В последнее время получили широкое распространение лампы дневного света-люминесцентные. Свет, излучаемый ими, во спектральному составу приближается к рассеянному дневному. Эти лампы экономически выгоднее. В них превращается в свет 30-40% электрической энергии, а в лампах накаливания - лишь 10% По данным Б. С. Мошкова, расход электроэнергии на 1 г продукции овощей (салат) при использовании ламп накаливания составляет 0,6 кВт·ч, а люминесцентных - лишь 0,3 кВт·ч.

Светокультура может быть широко использована в селекции и для выявления потенциальной продуктивности сельскохозяйственных растений.

Как показал исследования Б. С. Мошова, в светоустановках можно значительно повысить продуктивность растений и сократить время выведения новых сортов. Так, одно семя пшеницы сорта Аврора яровая форма в условиях светокультуры дает 4000-5000 зерен вместо 20-25 в естественных волевых условиях. На 1 м2 при искусственном освещении хорошо растут 20-25 растений.

Б. С. Мешков разработал для светокультуры специальные светоустановки -этажерки, простые по конструкции, недорогие к надежные в эксплуатации. Их можно смонтировать в любом помещении, где есть вода и электричество.

Светоловушки служат для вылавливания насекомых, летящих на свет (карадрина и др.). Имеются различные устройства ловушек. Существенными частями их являются источник света (фонарь «летучая мышь», электрическая лампа) и сосуд с убивающей жидкостью (керосином), расположенный под ним. Прилетающие на свет насекомые ударяются о крышку лампы, падают в сосуд и погибают.

Большое влияние на рост, скороспелость и яйценоскость птицы оказывает продолжительность светового дня, которую в птичниках регулируют специальной установкой, состоящей из программного устройства, магнитных пускателей, распределительного щита и ламп освещения.

В птицеводческих хозяйствах получила распространение установка УПУС-1, позволяющая в течение 52 недель автоматически поддерживать заданный световой режим с плавным ежесуточным изменением продолжительности светового дня. Основным узлом программного устройства является реле времени типа 2РВМС, которое имеет анкерный часовой механизм с автоматическим подзаводом от электродвигателя, связанный с барабаном. Принятый график светового режима переносят на барабан программного устройства, который через системы контактов и исполнительных механизмов в заданное время включает или выключает лампы освещения.

Электротехнология. Обработка почв электрическим током. Зерноочистка и обработка семян в электрическом поле


С древнейших времен и до наших дней плуг остается главным земледельческим орудием. Конечно, мало общего между примитивной сохой и современным многокорпусным плугом, геометрия которого выверена сложными математическими формулами и подтверждена научными исследованиями, экспериментами, широкой производственной практикой. Но вместе с тем используется ли, как прежде, конная тяга или в агрегат «впряжен» мощный трактор, принцип воздействия орудия на почву, в сущности, не изменился. И, надо сказать, их «взаимоотношения» все еще далеки от совершенства.

Пахота - основной технологический и наиболее энергоемкий сельскохозяйственный процесс. Мощь всего тракторного парка прежде всего рассчитана именно на обработку почвы. А ведь ежегодно во всем мире вспашка ведется на сотнях миллионов гектаров. Отсюда - громадные затраты труда, средств, материалов, топлива. Кроме того, неоднократные сезонные, не говоря уже о постоянных многолетних, обработки почвы способны нанести ей немалый ущерб. История земледелия знает примеры того, когда неправильное, не обоснованное научно воздействие на плодородный слой приводило к нарушению его структуры, влажностного режима, изменению биохимических процессов, а в результате оборачивалось губительной эрозией на огромных пространствах.

Вот почему пусть на первый взгляд даже незначительные конструктивные или технологические усовершенствования, направленные на улучшение экономических и качественных показателей в этой области, способны дать исключительный суммарный эффект. Ученые, инженеры, производственники создали и внедрили в практику самые разнообразные, порой весьма оригинальные, земледельческие орудия, но пока еще многие важные вопросы ждут своего решения. И научная мысль все чаще обращается к принципиально новым, нетрадиционным методам и средствам обработки почвы. Пожалуй, самым неожиданным за последние годы оказалось предложение использовать для таких целей электрическую искру.












Впрочем, дня возникновения подобной идеи уже имелись веские предпосылки. Скажем, в промышленности электрическая искра оказалась в ряде случаев куда эффективнее привычных резцов, сверл, фрез, заклепок. Кратковременные, но частые разряды мини-молний успешно справлялись даже с самыми неподатливыми металлами. А раз так, то нельзя ли попробовать электрическую искру на другом материале - обыкновенной почве?

И вот московский инженер В. Т. Скляр предложил орудие для электропахоты (рис. 2). Оно напоминает обычный культиватор с заглубленными в почву плоскорежущими лапами 2. Внутри лап смонтированы электроды, концы которых оголены и немного вынесены вперед. От генератора, находящегося на тракторе, через высоковольтный трансформатор и конденсатор по изолированным проводам 1 сквозь полые стойки к лапам подводится электрический потенциал определенного знака (плюс и минус на каждые соседние). Импульсы высокого напряжения продолжительностью порядка микросекунд - буквально лавина разрядов - пронизывают почву между противоположно заряженными электродами-лапами и при движении трактора взрыхляют весь ее горизонтальный слой, создавая через короткие промежутки времени волны механических усилий.

По заключению ученых, которые проводят испытания этого агроприема, расход энергии по сравнению с обычной пахотой снижается на 30-40 процентов, а производительность труда возрастает на 20-25 процентов. Нужно ли говорить, какими колоссальными выгодами может обернуться широкое применение

Конечно, рано говорить о внедрении ЭГЭ в практику полеводства, тем более что мобильные процессы вообще трудно сочетаются с принципиально новыми решениями. Никак нельзя забывать о том, что мы имеем дело с почвой - плодородным слоем планеты, в котором происходят сложные биохимические процессы. А между тем замечено: электрический разряд обладает и определенным стерилизующим действием. Возникает опасение: уничтожая в почве вредные микроорганизмы, не слишком ли повредит искра нормальному развитию полезных? Ответ на этот и многие другие вопросы, связанные с идеей использования электрогидравлического эффекта для обработки почвы, дадут дальнейшие исследования.

При очистке семенного материала используют следующие методы: выделение семян в электрическом или электромагнитном поле, гидросепарация семян, очистка на пневмогравитационных установках.

Необходимо совершенствовать способы очистки семян. В этом отношении интересны работы по использованию электрического поля для очистки и сортирования семян.

В Московском институте инженеров сельскохозяйственного производства созданы сепараторы (В. И. Тарушкин и др.) для разделения семян на основе электрических свойств. Поскольку эти свойства тесно связаны с плотностью семян, на электросепараторах можно удалять трудноотделимые примеси. Данные сепараторы универсальны, легко поддаются автоматизации, что позволяет использовать их не только отдельно, но и в поточных линиях в дополнение к традиционным методам очистки и сортирования семян.

Электромагнитная семяочистительная машина ЭМС-1А очищает семена трав, льна и другие семена, имеющие гладкую поверхность, от семян сорняков с шероховатой поверхностью (повилики, плевела, горчака розового, подорожника). Очищаемые семена предварительно обрабатывают на воздушно-решетной машине или триере.

Приемный бункер машины снабжен сеткой, задерживающей крупные примеси. Выходное окно бункера перекрыто поворачивающимся регулировочным диском с отверстиями диаметром 18...24 мм.

Семена сорняков, плохо обволакиваемых магнитным порошком, увлажняют. Для этого служит увлажнитель - водяной бачок с быстро вращающимся тарельчатым диском. Распыленная вода смачивает семена, высыпающиеся из бункера. Если увлажнитель выключен, то магнитный порошок подается в шнековый смеситель. При очистке с увлажнением смоченные семена перелопачивают в смесителе и смешивают с порошком в смесителе: Шероховатые семена сорняков, а также поврежденные и щуплые семена обрабатываемой культуры обволакиваются магнитным порошком.

В бункере аппарата дозировки магнитного порошка установлена прерывисто движущаяся мешалка. Под бункером расположен спиральный проволочный шнек, подающий порошок в кожух смесителя.

Шнековый транспортер дополнительно перемешивает семена с порошком и высыпает опудренные семена на колеблющийся лотковый транспортер с двухручьевой выходной частью. Лоток транспортера во избежание намагничивания изготовлен из латуни.

Для разделения смеси на фракции применен электромагнитный барабан. На неподвижном валу смонтированы две катушки возбуждения и три стальных сектора электромагнита с кольцевыми промежутками между ними.. Электрический ток, проходя через катушки, образует магнитное поле. Катушки и секторы с боков закрыты крышками, а по окружности - латунной обечайкой, образующими вращающийся барабан. Между закрепленными на обечайке кольцевыми рифами оставлены две канавки, по которым в зоне действия магнитного поля движутся семена. Семена с приставшим порошком притягиваются к поверхности барабана, опускаются и выпадают в лоток (III сорт). Семена с гладкой поверхностью сходят с барабана в приемник (I сорт). Семена, недостаточно покрытые порошком, сходят с барабана позже семян I сорта и падают в лоток II сорта; их обрабатывают повторно. Приемник обработанных семян снабжен заслонками для регулировки выходов семян I и II сорта.

Центробежный вентилятор всасывает магнитную пыль и транспортирует в циклон, установленный вне рабочего помещения. Очищенный воздух выбрасывается в атмосферу, пыль оседает в циклоне. Обмотки электромагнитного барабана питает селеновый выпрямитель. Суммарная установленная мощность электродвигателей 3,1 кВт.

В зависимости от засоренности семян и качества порошка расход последнего составляет 1...2,5% от производительности машины, равной 0,2...0,25 т/ч. Промышленностью подготовлена к производству магнитная семяочистительная машина СМЩ-0,4 производительностью до 0,4 т/ч. семян клевера.

Для разделения по цвету используют фотоэлемент: светлые зерна возбуждают в фотоэлементе электрический ток, открывающий клапаны на пути семян. Так разделяют семена фасоли на белые и темные.

Представление о защитном заземлении и занулении


Корпус электродвигателя или трансформатора, арматура электрического светильника или трубы электропроводки нормально не находятся под напряжением относительно земли благодаря изоляции от токоведущих частей. Однако в случае повреждения изоляции любая из этих частей может оказаться под напряжением, нередко равным фазному. Электродвигатель с пробитой на корпус изоляцией часто электрически соединен с машиной, которую он приводит в движение, например установлен на станке. Рабочий, взявшийся за рукоятки управления станком, может попасть под напряжение. Чтобы уменьшить опасность поражения людей при повреждениях изоляции токоведущих частей, применяют ряд технических способов обеспечения безопасности, среди которых наиболее распространены защитное заземление металлических частей электроустановок, нормально не находящихся под напряжением, и их зануление. Защитное заземление применяют в установках напряжением выше 1000 В при любом режиме нейтрали и в установках до 1000 В с изолированной нейтралью, а зануление - в установках до 1000 В с заземленной нейтралью.

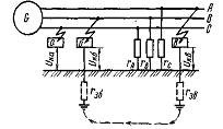
Защитное заземление состоит в том, что заземляемые металлические части гальванически соединяют с заземлителем, то есть с металлическим предметом, находящимся в непосредственном соприкосновении с землей или с группой таких предметов. Чаще всего - это стержни из угловой стали, забитые в землю вертикально и соединенные между собой под землей приваренной к ним стальной полосой. Благодаря защитному заземлению напряжение, под которое может попасть человек, прикоснувшийся к заземленной части, значительно снижается. Однако неверно распространенное мнение, что это напряжение равно нулю, так как, мол, все, что электрически связано с землей, должно иметь потенциал земли, то есть нуль. Дело в том, что землю можно рассматривать как электрический проводник с некоторым сопротивлением электрическому току, с падением напряжения вдоль пути тока, то есть с различным потенциалом точек земли около заземлителя и на большом расстоянии от него, где потенциал действительно можно принять равным нулю.

Если представить себе заземлитель в виде полусферы (рис. 3), то ток в земле растекается, можно считать, во все стороны от этого заземлителя в радиальных направлениях. Площадь поперечного сечения «земляного» проводника определяется поверхностью полусфер того или иного радиуса и по мере увеличения радиуса возрастает. Соответственно уменьшается сопротивление грунта растеканию тока. Кривая изменения направления на поверхности земли носит гиперболический характер.

На расстоянии более 20 м от одиночного сосредоточенного заземлителя падение напряжения в слоях земли от тока, растекающегося с заземлителя, уже практически не обнаруживается, то есть потенциал может условно считаться равным нулю. Пространство вокруг заземлителя, где обнаруживается заметный электрический потенциал от тока, стекающего с заземлителя, называется зоной растекания. В сущности, сопротивление растеканию тока от заземлителя - это сопротивление полусферы грунта с радиусом, равным радиусу зоны растекания. Сопротивление заземлителя относительно земли (то есть относительно точек грунта с нулевым потенциалом, находящихся вне зоны растекания тока) включает в себя, кроме сопротивления растеканию тока в земле, также сопротивление току при прохождении его по самим заземлителям и переходное сопротивление в электрическом контакте между металлическим заземлителем и ближайшими к нему слоями грунта. Последние две составляющие очень малы по сравнению с первой, даже если заземлители стальные и покрыты слоем ржавчины (но не краски!). Поэтому под сопротивлением заземлителя часто понимают его сопротивление растеканию, но точнее - эго отношение напряжения на нем (его потенциала) к току, который через него стекает в землю: R3 = U3/I3.

Сопротивлением заземляющего устройства называется сопротивление заземлителя плюс сопротивление заземляющих проводников, соединяющих заземлитель с заземляемыми частями электроустановки. Напряжение на заземленном корпусе электрооборудования UK отличается от напряжения заземлителя UЗ на значение падения напряжения в заземляющих проводниках, соединяющих корпус с заземлителем. Но можно считать UK U3.









Хотя за пределами зоны растекания ток в земле практически не обнаруживается, не следует считать, что в этом месте его нет. В сети с незаземленной нейтралью ток с провода, где повреждена изоляция, протекает через заземлитель и землю на провода других фаз, через активное сопротивление из изоляции и через емкостные сопротивления этих проводов относительно земли. В сети с заземленной нейтралью ток от места замыкания течет главным образом к нейтрали по пути с наименьшим индуктивным сопротивлением (под проводами линии).

Если нейтраль не заземлена, то этот ток зависит почти исключительно от емкости сети относительно земли (то есть от длины всех линий с ответвлениями) и от номинального напряжения сети.

На рисунке 5 показана сеть без заземленной точки с сопротивлением изоляции проводов относительно земли r1 и r2. После пробоя изоляции одного из проводов на металлический корпус, который связан с защитным заземлением, обладающим сопротивлением растеканию тока в земле r3, этот корпус будет иметь относительно участков земли с нулевым потенциалом напряжение, равное падению напряжения на r, от тока через него: Uк = r3I3 = r3U/(r3 + r2).

Так как r2>>r3 ток I3 от значения r3 практически не зависит, а Uк прямо пропорционально r3. Поэтому с уменьшением r, снижается и напряжение, которое может иметь заземленный предмет. Уменьшается и опасность от прикосновения к нему. Однако такое же напряжение появится на корпусах и неповрежденного оборудования, присоединенных к тому же защитному заземлению. Это один из недостатков заземления как защитного мероприятия.

Аналогично действует защитное заземление и в трехфазных установках с изолированной нейтралью, например в установках с номинальным напряжением 6... 35 кВ. Напряжение относительно земли, под которым может оказаться корпус оборудования а, б или в с пробитой изоляцией при отсутствии защитного заземления на а, зависит от изоляции фаз относительно земли и теоретически может лежать в пределах от 0 (при rа = 0) до линейного UЛ, (при rб = 0 или rв = 0, но rа ≠ 0). В таких сетях возможно проявление следующего недостатка защитного заземления. Если изоляция двух других фаз достаточно хорошая, а емкость их относительно земли мала, ток замыкания на заземленный корпус (например, б) может быть настолько мал, что напряжение на корпусе Uкб может не ощущаться людьми, в то же время напряжение двух других фаз относительно земли увеличивается от фазного до линейного. Изоляция этих фаз может не выдержать увеличившегося напряжения и оказаться поврежденной в другом электроприемнике, имеющем свое защитное заземление (в). Пойдет большой ток двойного замыкания на землю, который может быть близок по значению к току короткого замыкания двух фаз и может создавать большое падение напряжения на сопротивлениях заземления обоих поврежденных аппаратов rзб и r3в. Видно, что, какими бы маленькими ни были rзб и r3в, падения напряжения на них, а значит, и напряжения на корпусах UKб и UKв будут зависеть от соотношения между rзб и г3в и от линейного напряжения сети. Практически всегда будет опасность поражения электричеством. Например, при rзб = r3в и UЛ = 10 кВ получится UКб = Uкв = 0,5 UЛ = 5 кВ. Участок сети с двойным замыканием на землю обычно автоматически отключается за время, не превышающее 2...3 с, но до момента отключения заземление не защищает людей. Поэтому ограничивают продолжительность работы сети с однофазным замыканием на землю. На торфоразработках и в других местах с особо опасными условиями работы вообще не допускают работу при однофазном замыкании на землю, применяя автоматическое отключение.

В установках напряжением выше 1 кВ с заземленной нейтралью (установки с номинальным напряжением 110 кВ и выше) защитное заземление снижает напряжение на заземленных частях оборудования, оказавшихся под напряжением при пробое изоляции одной фазы, а затем автоматические устройства релейной защиты от однофазных коротких замыканий отключают поврежденную часть электроустановки за несколько секунд или долей секунды.

Если человек, находясь на земле в зоне растекания, прикоснется к заземленному корпусу оборудования с поврежденной изоляцией, он окажется под действием разности потенциалов между корпусом и местом на поверхности земли, где он стоит находящимся на расстоянии l (м) от заземлителя. Обозначим последний потенциал φ(l), а потенциал на корпусе φк = Uк. Разность потенциалов между двумя точками, которых одновременно касается человек, называют напряжением прикосновения Uпp:

Uпp = φК - φ(l) = UK-I3 ρ /(2πl),

где I3 - ток, стекающий с заземлителя: ρ - удельное электрическое сопротивление земли, Ом·м.

В общем случае напряжение прикосновения составляет лишь часть напряжения заземлителя или равного ему напряжения на корпусе Uк относительно точек земли с нулевым потенциалом:

Uпр = αUK = αI3R3,

где R3 - сопротивление заземлителя; α - коэффициент прикосновения, меньший единицы, который показывает, какую часть от напряжения на корпусе составляет напряжение прикосновения.

Значения Uпр и α зависят от расстояния между ногами человека и заземлителем (чем дальше, тем больше) и от крутизны кривой спада потенциала, которая может быть более пологой при сложной конструкции заземлителя (чем положе, тем безопаснее). К телу человека приложена лишь часть напряжения прикосновения, потому что последовательно с сопротивлением тела включено электрическое сопротивление обуви, пола и сопротивление растеканию тока в земле от ног человека. На этих сопротивлениях теряется часть напряжения при протекании тока через человека.

Между ступнями человека, идущего в зоне растекания тока заземлителя, действует разность потенциалов, называемая шаговым напряжением Uш. Оно тем больше, чем ближе человек к заземлителю и чем шире шаг. При расчетах принимают, что шаг человека равен 0,8 м. По аналогии с коэффициентом прикосновения введем коэффициент шага: α' = Um/U3 < 1.

Кроме защитных заземлений, в электроустановках применяют и рабочие заземления, то есть создаваемые не ради безопасности людей, а для обеспечения определенного режима работы установки в нормальных или аварийных условиях, например заземление нейтрали у обмоток трансформатора с напряжением 110 кВ и выше. Заземление нейтральной точки обмотки генератора или трансформатора напряжением 380/220 В, являясь рабочим, вместе с тем используется и в системе защитных мероприятий (зануление, защита от перехода высшего напряжения на провода низшего напряжения). Для рабочих заземлений и для заземлений, необходимых по соображениям электробезопасности или защиты от атмосферных перенапряжений, от прямого удара молнии, как правило, используют общий заземлитель, который проектируют с учетом наиболее жестких требований, то есть наименьшего значения сопротивления заземления, необходимого для любой из этих целей.

 

 

Список литературы


1.     Луковников А. В. Охрана труда. - 5. изд., перераб. и доп.- М,: Колос, 1984.-288 с., ил. - (Учебники и учеб, пособия для высш. с.-х. учеб, заведений).

2.     Электрооборудование и автоматизация сельскохозяйственных агрегатов и установок / И.Ф. Кудрявцев, Л.А. Калинин, В.А. Карасенко и др.; Под ред. И.Ф. Кудрявцева. - М.: Агропромиздат, 1988. - 480 с.: ил. - (Учебники и учеб, пособия для учащихся техникумов).

3.       Электротехника: Учеб для ПТУ/Шихин А. Я., Белоусова Н. М., Пухляков Ю. X. и др ; Под ред. А. Я. Шихина. - М.: Высш. шк., 1989. - 336 с.: ил.

Похожие работы на - Измерение основных электрических величин: напряжения, тока, мощности, энергии

 

Не нашли материал для своей работы?
Поможем написать уникальную работу
Без плагиата!
Без нейросетей!