Компьютерный практикум по дисциплине 'Аудиотехника'

  • Вид работы:
    Дипломная (ВКР)
  • Предмет:
    Информационное обеспечение, программирование
  • Язык:
    Русский
    ,
    Формат файла:
    MS Word
    3,29 Мб
  • Опубликовано:
    2012-04-11
Вы можете узнать стоимость помощи в написании студенческой работы.
Помощь в написании работы, которую точно примут!

Компьютерный практикум по дисциплине 'Аудиотехника'

МИНИСТЕРСТВО КУЛЬТУРЫ РОССИЙСКОЙ ФЕДЕРАЦИИ

ФЕДЕРАЛЬНОЕ ГОСУДАРСТВЕННОЕ ОБРАЗОВАТЕЛЬНОЕ УЧРЕЖДЕНИЕ

ВЫСШЕГО ПРОФЕССИОНАЛЬНОГО ОБРАЗОВАНИЯ

«САНКТ-ПЕТЕРБУРГСКИЙ ГОСУДАРСТВЕННЫЙ УНИВЕРСИТЕТ КИНО И ТЕЛЕВИДЕНИЯ»

Факультет аудиовизуальной техники

Специальность - Аудиовизуальная техника

Направление подготовки - Радиотехника

 

Кафедра технической электроники

 

ДИПЛОМНАЯ РАБОТА

на тему Компьютерный практикум по дисциплине «Аудиотехника»

студента Тиховской Екатерины Валерьевны

Работа допущена к защите в ГАК

 

 

 

 

 

 

Санкт-Петербург

ФГОУ ВПО «Санкт-Петербургский государственный университет кино и телевидения»

ЗАДАНИЕ

на выполнение выпускной квалификационной работы

1. Студент Тиховская Екатерина Валерьевна группа № 612

. Руководитель __доцент КТЭ, к.т.н., доцент Тихонова Л.С.

. Форма ВКР _____дипломная работа

4. Тема ВКР: Компьютерный практикум по дисциплине «Аудиотехника»

Тема утверждена приказом № _______ от ________

. Исходные данные: Разработать лабораторную работу по дисциплине «Аудиотехника» на тему: «Обработка сигналов в канале звукового вещания», выполняемую в дисплейном классе КТЭ.

. Содержание работы: Рукопись должна содержать обзорный раздел, исследование функциональных и технических возможностей звукового редактора, разработку методики проведения лабораторной работы, разработку методических и наглядных материалов для организации лабораторных занятий, разработку мероприятий по БЖД, ТЭО дипломной работы.

7. Содержание графической части: Презентация ВКР должна содержать: 1. Наглядные плакаты, иллюстрирующие результаты информационные и экспериментальных исследований 2. Плакат с алгоритмом выполнения лабораторной работы. 3. Плакат с ТЭО. 4. Оптимальный вариант конфигурации МПК для выполнения лабораторной работы

. Консультанты (при дипломном проектировании)

Дата выдачи задания 3 марта 2011

Календарный план

Наименование этапов ВКР

Сроки  выполнения

Примеч.

Составление технического задания и календарного плана проектирования. Согласование их с консультантами.

до 03.03.11


Написание обзорно-теоретической главы работы и технико-экономического обоснования, проработка вопросов БЖД.

30.03.11-20.04.11


Проведение эскизного проектирования

21.04.11-11.05.11


 Проведение экспериментов

12.05.11-25.05.11


Оформление рукописи и графической части

26.05.11-01.06.11


Предварительный просмотр дипломной работы на кафедре.

02.06.11


Защита работы в ГАК

с 10.06.11









Студент ___________________________________

Руководитель работы ________________________

Реферат

В дипломной работе представлена разработка лабораторного практикума, предназначенного для использования при подготовке и выполнении лабораторной работы «Обработка сигналов в канале звукового вещания» по дисциплине «Аудиотехника».

Рукопись содержит 114 страниц, 47 рисунков, 10 таблиц и 15 библиографических наименований. Графическая часть содержит 15 слайдов электронной презентации.

Оглавление

Введение

. Программа Adobe Audition 3.0

.1   Принципы работы и редактирования

1.2    Описание пользовательского интерфейса

1.3 Функциональные возможности программы

2. Эскизное проектирование

.1 Постановка задачи

2.2 Разработка структуры лабораторного практикума

. Разработка учебно-практического пособия и лабораторной работы..

. Разработка мероприятий по обеспечению безопасности жизнедеятельности при работе на ПК

.1 Постановка задачи.

.2 Анализ вредных и опасных факторов и особенности защиты от них

.3 Санитарно-гигиенические условия труда

.4 Требования к оборудованию рабочих мест

.5 Защита от поражений электрическим током

.6 Пожарная безопасность

.7 Выводы

. Технико-экономическое обоснование выбора конфигурации МПК для выполнения лабораторной работы.

.1 Общие рекомендации по выбору ПК

.2 Выбор варианта конфигурации и определение затрат на приобретение ПК

.3 Выводы

Заключение

Список использованных источников

Приложения

Введение

В канале звукового вещания сигнал подвергается множеству изменений: его усиливают или ослабляют (изменяют уровень), регулируют динамический диапазон, спектр и временную структуру, смешивают с другими сигналами, смещают по частоте (транспонируют), превращают из аналоговой формы в дискретную и обратно, уменьшают или увеличивают длительность звучания. Эти изменения производят как с целью решения художественных (творческих) задач, так и для приспособления параметров сигнала к свойствам электрических каналов и трактов. Основная обработка вещательных сигналов осуществляется в ТФП звукорежиссерами, однако значительную часть автоматических устройств обработки ЗВС устанавливают непосредственно в каналах связи и на входе радиопередатчиков. Это связано с тем, что большинство каналов не рассчитаны на передачу вещательного сигнала с его естественным динамическим диапазоном. Кроме того, в каналах ЗВ используются системы шумопонижения, компенсирующие шумы канала, системы громкостного регулирования, позволяющие выровнять громкость ЗВС, обладающих одинаковым пиковым уровнем, но разной мощностью (проблема «речь-музыка»).

Целью дипломной работы является разработка лабораторного практикума по дисциплине «Аудиотехника», предназначенного для изучения теоретических вопросов и приобретения практических навыков оценки результатов обработки сигнала в канале звукового вещания.

Для решения поставленной цели необходимо решить следующие задачи:

провести анализ современных устройств обработки звуковых сигналов;

провести анализ влияния работы авторегуляторов на свойства звуковых сигналов;

провести анализ влияния работы устройств динамической обработки сигналов;

провести анализ влияния работы шумоподавителей;

отобрать и изучить работу отобранного программного обеспечения;

разработать структуру лабораторного практикума;

составить раздел «Общие теоретические сведения»;

разработать методику проведения экспериментов и методические указания по их выполнению (раздел практикума «Экспериментальные исследования»);

разработать другие основные элементы пособия;

разработать и выполнить электронную презентацию вводной части лабораторной работы, проводимой преподавателем перед началом работы;

разработать оптимальную конфигурацию рабочего места пользователя мультимедийного ПК, выполняющего лабораторную работу.

1. Программа Adobe Audition 3.0

.1 Принципы работы и редактирования

Методы редактирования

Adobe Audition 3.0 работает с оцифрованным звуком. Поэтому входные аналоговые звуковые сигналы должны быть предварительно преобразованы в цифровой вид или сэмплированы с помощью АЦП. Полученная в результате сэмплирования волновая форма, или сэмпл, хранится на жестком диске в файле, чаще всего - с расширением. wav. При последующем мультитрековом монтаже такие WAV-файлы служат элементарными блоками, с помощью которых может быть построена любая звуковая композиция.

При редактировании музыкальных фрагментов используются в основном два подхода - деструктивное и недеструктивное редактирование.

При деструктивном методе преобразования (вырезание, вставка, обработка эффектом и т.д.) применяются непосредственно к исходному WAV-файлу, так что изменяются сами первоначальные звуковые данные, в то время как недеструктивное редактирование подразумевает, что исходный файл на диске фактически не изменяется. Вместо этого каждая операция редактирования сохраняется как команда, которую нужно выполнить при воспроизведении волновой формы.

В Adobe Audition используется как деструктивное, так и недеструктивное редактирование.

Деструктивное редактирование не будет применено непосредственно к исходной волновой форме до тех пор, пока файл не будет окончательно сохранен на диске. Такой метод называется отсроченным деструктивным редактированием. Для реализации этого метода программа создает копию открытого WAV-файла и помещает ее во временный каталог. При редактировании используется именно эта копия.. Исходный файл остается неизменным до тех пор, пока не будет выполнена команда меню File^Save и внесенные при редактировании изменения не будут записаны в исходный файл.

Поскольку весь редактируемый в Adobe Audition материал хранится во временных файлах-копиях, при сбое ПК и перезагрузке системы редактирование может быть продолжено с того места, в котором оно было прервано. Такой подход позволяет защитить рабочий материал от искажения, повреждения или потери.

Три режима работы программы Adobe Audition

В Adobe Audition существуют два принципиально различных режима работы - редактирование отдельных волновых форм и совместное мультитрековое редактирование совокупности волновых форм. Для каждого из этих режимов предусмотрены свой набор команд меню и собственное рабочее пространство (Workspace) в окне программы - Edit (Правка) и Multitrack (Мультитрек). Существует также третий режим работы программы - запись на оптический диск, который функционирует в рабочем пространстве CD. Для реализации этих режимов в пакете Adobe Audition фактически используются три различные программы, объединенные в единый функциональный комплекс.

Операции простого редактирования (подобные вырезанию, вставке или обработке эффектами), выполняемые в режиме Edit, являются деструктивными, и когда отредактированный файл сохраняется, изменения вносятся непосредственно в исходную волновую форму.

Операции редактора Multitrack (такие, как перенос, состыковка волновых форм, изменение громкости, панорамирование, задание параметров эффектов реального времени) являются недеструктивными.

При отсроченном деструктивном редактировании в Adobe Audition можно использовать функцию многократной отмены операций Edit^ Undo (Правка^ Отмена). Если необходимо вернуть результат выполненной, а затем отмененной операции, можно воспользоваться командой меню Edit^Redo (Правка ^ Откат).

.2 Описание пользовательского интерфейса программы

В окне программы Adobe Audition 3.0 могут отображаться три различных варианта пользовательского интерфейса. Каждый из этих интерфейсов главного окна Adobe Audition, которые принято называть рабочим пространством, оптимизирован для решения определенного круга задач при работе с аудио-файлами.

·  Рабочее пространство Edit предназначено для редактирования и монтажа одиночных волновых форм цифровых аудиофайлов, которые оптимизируются для хранения на жестком или оптическом диске, а также для передачи по радиотрансляционной линии или Интернету.

·        Рабочее пространство Multitrack предназначено для организации работы с волновыми формами сразу нескольких аудиофайлов, которые сводятся в единую композицию. В результате многоканального сведения получается единое сложное произведение или звуковая дорожка для видео, включающая отредактированные в режиме Edit фрагменты.

·  Рабочее пространство CD оптимизировано для отбора и компоновки отредактированных аудиофайлов с их последующей записью на оптический диск.

Рабочее пространство открывается в окне программы либо после выбора соответствующей команды меню Window^Workspace^Edit View, Window^Workspace, Multitrack View или Window^Workspace^CD View, либо после щелчка на соответствующей кнопке панели инструментов, либо после выбора требуемого значения в раскрывающемся списке Workspace.

Для переключения между рабочими пространствами также может использоваться клавиша <F12>.

Редактор (Edit)

Вид редактора одиночных аудиофайлов Adobe Audition (view edit) - это целая фабрика по переработке звуков с обширнейшим набором инструментов для этого. Окно Adobe Audition 3.0 с рабочим пространством Edit представлено на рис.1. Элементы окна Edit размещены в трех основных зонах:

.   Строка меню, панель инструментов и панель ярлыков обеспечивают доступ к инструментальным средствам управления и контроля программы.

2. Фрейм по умолчанию объединяет панели Effects (Эффекты), Files (Файлы) и Favorites (Избранное).

3.      В остальной области окна размещаются плавающие панели различного назначения, которые при необходимости можно закрыть или переместить в любое желаемое место окна программы.

Строка заголовка

Строка заголовка расположена вдоль верхней границы окна. Она предназначена для идентификации файлов или сессии и содержит заголовок с именем программы и названием открытого файла (сессии). Различные панели окна программы также содержат формальную строку заголовка. Строку заголовка можно использовать для перетаскивания окна или панели. В этой строке расположены кнопки управления окном или панелью, а также кнопка раскрытия меню окна. Кнопка раскрытия меню окна расположена у левой кромки строки заголовка. С ее помощью открывается меню окна. Меню окна позволяет использовать мышь или клавиатуру для манипуляций окном и заменяет функции кнопок управления окном, расположенных у правой кромки строки заголовка. Дважды щелкнув на строке заголовка, можно закрыть программу без сохранения текущего состояния проекта.

Строка состояния

В строке состояния отображаются различные сведения о режимах и значениях параметров обрабатываемого фрагмента аудио. Для отображения строки состояния в окне программы выберите команду меню View^Status Ban^Show (Просмотр^Строка состояния^Показать).

В строке состояния отображается информация о текущем состоянии программы и выполняемых операциях, а также краткая справка о параметрах обрабатываемой волновой формы и файла.

1 Data Under Cursor (Данные под курсором). В этом поле отображаются канал (для волновой формы стерео - левый или правый), амплитуда сигнала (в децибелах) и время от начала воспроизведения аудио-файла в формате часы'минуты'секунды' сотые секунды. Когда указатель мыши перемещается вдоль волновой формы, эти данные динамически изменяются.

2 Sample Format (Формат сэмпла). Здесь отображаются параметры сэмпла для загруженной в настоящее время волновой формы - частота и разрядность дискретизации, а также число каналов (моно или стерео).

3 File Size (Размер файла). В этом поле отображается информация о размере (в мегабайтах) активного файла или сессии.

4 File Size (time) (Размер файла (время)). Здесь отображается продолжительность текущей волновой формы или сессии, выраженная в единицах времени.

5 Free Space (Свободное место). В режимах Edit и Multitrack в этом поле отображается объем (в мега- или гигабайтах) свободного дискового пространства на жестком диске. В режиме CD здесь отображается свободное время на дорожке оптического диска с учетом выбранного типа диска (74 min CD или 80 min CD).

6 Free Space (time) (Свободное место (время)). Здесь/в режимах Edit и Multi-track отображается свободное время (в формате минуты, секунды и тысячные секунды), которое остается на жестком или оптическом диске после завершения обработки выбранной текущей звуковой записи. Если статистика приводится для оптического диска, то учитывается тип диска (74 min CD или 80 min CD).

7 Keyboard Modifiers (Модификаторы клавиатуры). Здесь отображается текущее состояние клавиш клавиатуры - <Ctrl>, <Shift> и <Alt>.

8 SMPTE/MTC Slave Stability (Вторичный SMPTE/MTC стабилен). Здесь указывается устойчивость поступающего SMPTE/MTC-кода таймера по сравнению с внутренними часами Adobe Audition.

9 Display Mode (Режим отображения). Здесь указывается текущее состояние просмотра, выбранное на главной панели Main: Waveform, Spectral Frequency, Spectral Pan или Spectral Phase Display - в режиме Edit; Timeline - в режиме Multitrack; CD List - в режиме CD.

Строка меню и полосы прокрутки

·  С помощью команд строки меню в редакторе можно выполнить любые операции. Щелкнув мышью на названии меню, можно раскрыть список его подменю и команд. Список разворачивается вертикально. Команды могут содержать дополнительные режимы, а подменю (вложенные, подчиненные меню) - команды. Списки дополнительных режимов или команд подменю раскрываются после щелчка на значке ►, расположенном справа от команды или подменю.

·        В программе Adobe Audition 3.0 рабочее пространство Edit содержит следующий набор меню: File (Файл), Edit (Правка), View (Просмотр), Effects (Эффекты), Generate (Генерация), Favorites (Избранное), Options (Параметры), Window (Окно) и Help (Справка).

·        Рабочее пространство Multitrack содержит дополнительные меню Clip (Клип) и Insert (Вставка), но при этом меню Generate и Favorites в нем отсутствуют.

·        Команды меню или подменю могут быть выбраны с помощью мыши или комбинации быстрых клавиш, указанных возле некоторых команд меню. В пределах меню для выделения команд и подменю могут использоваться клавиши управления курсором, а для выбора команды - клавиша <Enter>.

·        Недоступные в данный момент команды затенены и не могут использоваться.

Полосы прокрутки

Вертикальная и горизонтальная полосы прокрутки позволяют просмотреть все элементы окна или рабочей области, расширяя, таким образом, возможности просмотра графиков, содержимого папок и т.п.

Панель инструментов в режиме Edit

Панель инструментов обеспечивает быстрый доступ к инструментальным сpeдствам и функциям программы в рабочих пространствах Edit, Multitrack и CD. По умолчанию панель инструментов располагаются под строкой меню. Вместе с тем ею можно манипулировать так же, как любой другой панелью. Для вывода панели инструментов на экран выберите команду меню Window^Tools.

Панель инструментов позволяет выполнять такие общие задачи, как выбор фрагмента волновой формы или частотного спектра, редактирование фрагмента и т.д. Для выбора требуемого инструмента достаточно навести на него указатель мыши и щелкнуть левой кнопкой. Все кнопки панели инструментов снабжены всплывающими подсказками, появляющимися при наведении указателя мыши на кнопку и удержании его над ней некоторое время.

В режиме Edit на панели инструментов содержатся три именованные кнопки выбора рабочих пространств, а также несколько других кнопок и элементов, рассмотренных ниже.

Группа из четырех кнопок (см. рисунок 2)

Позволяет открыть на панели Main аудиофайл в представлении волновой формы либо частотного, панорамного или фазового спектра.

Список Workspace

Позволяет выбрать один из трех основных режимов работы программы или же именованное модифицированное рабочее пространство, предназначенное для проведения отдельных работ. Доступны следующие варианты:

-   Frequency Space Editing (Редактирование частотного интервала) Используется рабочее пространство Edit, но на главной панели Main отображается спектральная диаграмма.

-        Mastering And Analysis (Мастеринг и анализ)

В рабочем пространстве Edit на главную панель Main выводятся панели анализа частоты и фазы.

-   Maximum Session (Dual Monitor) (Максимальная сессия (два монитора))

Используется рабочее пространство Multitrack, настроенное для работы с двумя мониторами. На первый монитор выводятся содержимое панели Main и органайзер, а на второй - остальные панели. Этот режим обеспечивает максимальный обзор волновых форм треков на панели Main.

-   Maximum Waveform Editing (Dual Monitor) (Максимальная правка волновой формы (Два монитора))

Используется рабочее пространство Edit, настроенное для работы с двумя мониторами. На первый монитор выводятся панель Main и органайзер, а на второй - остальные панели. Этот режим обеспечивает максимальный обзор волновых форм на панели Main.

-   Session Mixing (Микширование сессии)

Используется рабочее пространство Multitrack, в которое добавляется панель Mixer.

-   Video+Audio Session (Сессия видeо+аудио)

Используется рабочее пространство Multitrack, в которое добавляется панель Video.

* Для того чтобы вернуть рабочему пространству вид принятый по умолчанию, выберите в списке Workspace (Рабочее пространство) значение Reset Current Workspace (Сброс текущего рабочего пространства). Это очень важная команда, позволяющая вернуть экран редактора в исходное состояние.

■ Кнопка Time Selection Tool

После щелчка на ней отображается маркер выделения. Если при нажатой левой кнопке мыши перетащить этот маркер по волновой форме, то на шкале времени будет выделен фрагмент. Перетаскивая маркер, можно расширять или сужать выделенную область.

■ Кнопка Scrub tool

Термин scrubbing (захват) происходит от названия процесса ручного прокручивания магнитофонной ленты при воспроизведении аналогового аудио. При медленном перетаскивании этого инструмента вперед или назад по захваченной волновой форме соответствующий фрагмент медленно воспроизводится. Скорость воспроизведения при этом повышается от очень низкой до нормальной. Воспроизведение завершится, как только вы отпустите кнопку мыши.

■ При работе с аудио-файлом в представлении частотного спектра к отмеченным выше инструментам добавляются следующие инструменты:

–  Marquee Selection Tool (Прямоугольное выделение),

–       Lasso Selection Tool (Выделение лассо),

–       Effects Paintbrush (Эффект кисти),

–       Spot Healing Brush (Кисть для восстановления участка).

После щелчка на любой из первых трех кнопок включается механизм захвата области, ограниченной как по частоте, так и по времени. Перетаскивая мышь маркер соответствующего инструмента, вы можете выделить относительно узкий или широкий, прямоугольный или произвольный фрагмент аудио-программы.

Выделенная таким образом область может использоваться в различных целях -для восстановления фонограммы, коррекции отдельных фрагментов, добавления эффектов и использования в других клипах.

В частности, если выделен артефакт, представляющий помеху, или несколько частот, на которых прослушиваются искажения, достаточно нажать клавишу <Del>, и фрагмент будет удален. В данном случае имитируется работа режекторного фильтра, с помощью которого удаляется фрагмент в очень узкой области частот.

На выделенную область распространяются все правила редактирования. Вы можете воздействовать эффектом или применить к ней какую-либо типовую обработку. Выделенный участок можно также скопировать в отдельный файл для последующей обработки.

Интересен также инструмент Spot Healing Brush (Кисть для восстановления участка). Это средство предназначено для коррекции очень незначительных по ширине участков фонограммы, на которой вы обнаружили артефакты - щелчки, хлопки, замирания и т.д.

После щелчка на кнопке Spot Healing Brush поместите маркер этого инструмента на редактируемое место и просто щелкните на нем мышью. Место щелчка будет обработано по специальному алгоритму, учитывающему специфику графического отображения, соответствующего окружающему аудио. Корректируемое место заменяется фрагментом с усредненными параметрами.

Ярлыки на панели инструментов

Для редактора Edit определены группы ярлыков, представленные на рисунках 3-8.

Редактор Мультитрек (Multitrack)

Редактор Multitrack - очень важная и интересная составляющая пакета программы. Мультитрековый редактор позволяет создать конечный продукт высокого качества, в состав которого могут входить музыка, речь и видеоклипы. Эта программа будет весьма полезна и любителям видеозаписи, и тем, кто занят озвучиванием своих проектов. Ведь с помощью редактора Multitrack можно смонтировать звуковой ряд для фильма или объединить несколько самых разных аудиоклипов, предварительно отредактировав их и снабдив специальными эффектами.

Мультитрековый режим более объемный и функциональный, чем режим редактирования. Редактирование в мультитреке может происходить одновременно с несколькими аудиофайлами, располагающимися в одной сессии, находящихся на разных дорожках (треках). Сессия - это некое пространство, где во времени, как по сценарию, выстраиваются (развиваются) аудиособытия (аудиофайлы или звуковые события в этих файлах), которые проигрываются в местах прохождения курсора воспроизведения. Окно Adobe Audition 3.0 с рабочим пространством Multitrack представлено на рисунке 9.

В мультитрековом режиме в редакторе на различных треках можно разместить практически любое число блоков. Благодаря этой возможности в блоки можно вносить редакторские правки поочередно в обоих режимах, Edit и Multitrack. Клипы, включающие один или не сколько блоков, можно одновременно воспроизводить, а также объединять в один микс для выполнения мастеринга и записи на диск.

Микс (Mix) - это готовая композиция, получившаяся в результате смешения звучания нескольких обычных сэмплов.

Мастеринг- термин, применяемый для обозначения процесса финализации обработанных аудиофайлов, т.е. выполнения ряда специальных действий с целью получения аудиопродукта профессионального качества. В результате мастеринга создается мастер-копия компакт-диска для последующей записи и тиражирования.

В мультитрековом режиме наряду со звуковыми файлами в работе можно использовать MIDI-файлы и видеофайлы формата AVI. В этом режиме широко используется микширование (смешивание) каналов. Процесс микширования включает в себя объединение всех аудиоклипов, размещенных на треках, в один файл. В дальнейшем микс для стереоканалов можно либо направить на запись, либо переслать по нескольким шинам вывода. Для этого предусмотрены такие средства, как микшер и коммутаторы.

В режиме Multitrack можно редактировать, добавлять в треки и убирать с них блоки, а программа постоянно будет отслеживать изменения, происходящие в ходе многоканальной сессии (например, перемещения или удаления блока, изменения громкости). Как только что-либо будет изменено, Adobe Audition немедленно обработает эти изменения, внеся необходимые коррективы в микс, поступающий на выход программы (например, в ЦАП звуковой карты). Все эти изменения выполняются программой в фоновом режиме, т.е. программа обеспечивает фоновое микширование треков. Adobe Audition 3.0 содержит микшер с низким значением задержки и позволяет микшировать до 128 треков.

Панель инструментов в режиме Multitrack.

На панели инструментов Multitrack, кроме кнопок инструментов Time Selection tool и Scrub tool, содержатся следующие дополнительные инструменты.

♦  Кнопка Hybrid Tool (Гибридный инструмент). C помощью этого инструмента, как и с помощью Time Selection tool, можно выделять отдельные области, а также изменять положение клипов.

♦  Кнопка Move/copy Clip tool (Инструмент пересылки/копирования клипа). Этот универсальный инструмент действуем следующим образом. Наведите маркер инструмента на клип. После нажатия левой кнопки мыши клип выделяется, а затем перетаскивается на любой трек. Если вы желаете размножить клип, перетащите его правой кнопкой мыши в нужное место, и всплывет контекстное меню с командами Copy Reference Here (Поместить в это место ссылку на копию), Copy Unique Here (Поместить в это место соответствующую копию), Move Clip Here (Изменить положение клипа) и Cancel (Отменить действие).

Панель ярлыков

На панели ярлыков содержатся кнопки-значки, предназначенные для быстрого доступа ко всем основным и часто используемым функциям и эффектам редактора. Кнопки дублируют многие инструменты и команды меню и предназначены исключительно для повышения удобства и скорости работы с программой. Кнопки панели ярлыков, как и кнопки панели инструментов, снабжены всплывающими подсказками, для отображения которых достаточно на непродолжительное время поместить указатель мыши на интересующую кнопку.

Для отображения панели ярлыков в окне программы выполните команду меню View^Shortcut Bur^Show. Для помещения на панель ярлыков тех или иных групп или отдельных кнопок выберите команду меню View^Shortcut Bur^Groups. В нижней секции открывшегося меню представлены группы кнопок. С помощью кнопки ► для группы открывается меню, в котором будут перечислены входящие в нее ярлыки.

Панель File (или браузер файлов) в окне редактора Multitrack совершенно аналогична такой же панели в окне редактора Edit. Панели Effects и Favorites также не требуют повторного обсуждения. Окно редактора Multitrack отличается от окна редактора Edit следующим.

■ В строке меню имеется новое меню Clip, но отсутствует меню Favorites.

■ На панели инструментов отсутствуют кнопки отображения волновой формы на дисплее в виде волны и спектра, а также нет кнопок инструментов работы со спектром - Marquee Selection Tool (Прямоугольное выделение), Lasso Selection Tool (Выделение лассо), Effects Paintbrush (Эффект кисти) и Spot Healing Brush (Кисть для восстановления участка).

■ На панели инструментов присутствуют кнопки для работы с клипами - Hybrid Tool (Гибридный инструмент) и Move/copy Clip tool (Инструмент пересылки/копирования клипа).

Назначение кнопок панели ярлыков в окне редактора Multitrack

View Toggle (Переключение из окна одного редактора в другой)

·  Edit View;

·        Multitrack View;

·        CD View

Tools

·  Hybrid tool (Инструменты выделения областей и изменения положения клипа);

·        Time Selection tool (выделение во времени);

·  Move/copy Clip Tool (универсальный инструмент пересылки и копирования клипа);

·  Scribe Tool (захват фрагмента клипа)

File

·  Create a New Session file (Создание нового файла сессии);

·        Open a Session file (открытие уже созданного файла сессии из списка);

·        Import a media file (ввод видеофайлов в сессию и синхронизация);

·        Export a Mix Down (передача в папку на носителе смешанных аудиофайлов в выбранном формате);

·        Save Session (внесение изменений в файл уже созданной сессии);

·        Save Session As (сохранение файла новой сессии на диске под своим именем).

Edit

·  Undo last action (Возврат к последней выполненной операции);

·        Copy clip (копирование клипа);

·        Cut (вырезание фрагмента);

·        Paste (вставка из буфера обмена) ;

·        Adjust waveform boundaries to selection (вырезание из волновой формы выделенного фрагмента);

·        Snap to clips (привязка клипа к началу или концу клипа);

·        Snap to Loop Endpoints (привязка клипа к началу или концу петли);

·        Snap to Markers (привязка линии выделения к маркерам);

·        Snap to Ruler divisions (привязка к линии координатной сетки);

·        Add current selection to Marker List (добавление текущего выделенного фрагмента в список панели Markers).

Clip

·  Reveal source file to Bridge (Демонстрация исходного файла в программе Bridge);

·        Mute clip (отключение громкости клипа);

·        Split clip at cursor (подрезка клипа в месте установки курсора);

·        Trim to selection (удаление невыделенной части клипа);

·        Crossfade selected clips (построение огибающей автоматизации громкости с возрастанием или затуханием в выделенной части клипа);

·        Punch In recording (вырезание части клипа по границе выделения и запись в выделенную область);

·        Lock Clip in time (временное блокирование клипа);

·        Group/Ungroup clips (группирование клипов для совместной работы и разгруппирование клипов).

View

·  Show Clip Volume Envelopes (Отображение огибающей автоматизации напряжения клипа);

·        Show Clip Pan Envelopes (отображение огибающей автоматизации панорамирований клипа);

·        Edit Clip Envelopes (редактирование огибающей автоматизации клипа);

·        Hide All Automation Lanes (сокрытие всех дорожек автоматизации);

·        Clip Edges Dragging toggle (отображение элемента-значка для растаскивания краев клипа);

·        Clip Time Stretching toggle (отображение элемента-значка для растяжения волновой формы во времени).

Options

·  Preferences (Вывод панели установки параметров окна Edit и Multitrack);

·        Audio Hardware Setup (вывод панели установки параметров устройств ввода-вывода);

·        SMTPE Slave Enable toggle.

Панель Mixer

Панель Mixer открывается щелчком на корешке вкладки Mixer главной панели, нажатием комбинации клавиш <Alt+2> или выбором команды меню Windows^Mixer (рисунок10).

Панель Mixer представляет собой альтернативу панели Main для просмотра настроек, записи аудиотрека, регулировки громкости, панорамы и эффектов, а также подключения к портам ввода вывода данных аудио и MIDI, открытым в сессии. Аудиосигналы могут быть пересланы для смешивания на мастер-шину или другие шины, выбранные в сессии.

1.3 Функциональные возможности программы редактора Adobe Audition 3.0

Перетаскивая файлы из браузера в окно аранжировки (мультитрека), мы можем редактировать их. На каждой дорожке сразу есть огибающая звука (вверху) и панорамы (посередине), соответственно - Volume Envelope и Pan Envelope. Приятно то, что для каждой дорожки можно устанавливать отдельное устройство вывода (если в системе несколько звуковых плат), а также назначать выход на групповой канал (Bus). Для каждой дорожки установлены четыре основных вида (рисунке11).

Слева направо: Inputs and outputs, он установлен по умолчанию, в этом режиме выбираются настройки входа и выхода дорожки. Effects - это режим эффектов "в разрыв". Sends - режим эффектов посыла. В этом режиме эффект должен быть установлен на каком-то из групповых каналов. EQ - режим эквалайзера.

Возможность импорта видеоAudition присутствует возможность импорта видео файлов с целью выделения и редактирования их звуковой дорожки до возможности после этого экспорта полученного материала обратно в исходный формат.

Возможность записывать собственные CD-Audio проекты.

Помимо основных видов Edit и Multitrack, в Adobe Audition существует вид CD, в котором по окончании записи и сведении звукового материала возможна запись на Audio-CD, не выходя за пределы Adobe Audition..

Возможность создания аудио в формате Dolby Digital 5.1.

В Adobe Audition существует возможность сводить аудиопроекты в формате Dolby Digital 5.1. Благодаря этой возможности можно создавать саундтреки к фильмам.

Программа также поддерживает DirectX и VST плагины. Настройка директорий и активация плагинов находятся во вкладке Effects на панели инструментов.

При очень высокой степени приближения появляется возможность редактировать волну с определенной точностью (рисунок 12).rack удобен тем, что здесь можно загрузить несколько эффектов, в реальном времени корректировать их и одновременно прослушивать. А затем применить получившийся результат.

Мощная поддержка звуковых форматов, отличное качество обработки звука, большое количество функций, 128 дорожек в многоканальном режиме - возможности ставят Audition на один уровень со многими громкими именами в области обработки аудио, например программными пакетами Steinberg Wavelab и Sony SoundForge.

2. Эскизное проектирование

.1 Постановка задачи

Целью работы является разработка лабораторного практикума для проведения лабораторной работы «Обработка сигналов в канале звукового вещания», выполняемой в рамках изучения дисциплины «Аудиотехника».

В ходе выполнения работы студенты должны ознакомиться с методами и методиками оценки качества передачи звуковых сигналов различными устройствами обработки сигналов, конфигурацией мультимедийного комплекса для осуществления цифровой обработки аудиосигналов: составом встроенных и внешних устройств, а также требуемым программным обеспечением.

Для практического воплощения в дисплейном классе кафедры технической электроники (КТЭ) разрабатываемой лабораторной работы необходимо разработать, изготовить или издать следующие материалы:

наглядные материалы для иллюстрации вводной части работы, проводимой преподавателем;

учебное пособие для предоставления студентам возможности самостоятельного детального изучения теоретических сведений, необходимых для проведения экспериментов в рамках аудиторных занятий;

методические указания по выполнению лабораторной работы.

Разработка рекомендаций по конкретному аппаратно-программному оснащению дисплейного класса КТЭ будет выделена в отдельный раздел рукописи.

 

2.2 Разработка структуры лабораторного практикума

Ниже приводятся материалы, составляющие содержание лабораторного практикума:

Предисловие

Общие теоретические сведения

Введение

. Обработка сигнала в канале звукового вещания

.1. Задачи динамической обработки

.2. Задача авторегулирования уровня

. Влияние работы авторегуляторов на свойства звуковых сигналов

. Устройства динамической обработки сигналов

. Системы шумоподавления

. Развитие методов обработки

Экспериментальные исследования

1. Цель работы

2.      Задание для подготовки к работе

.        Описание рабочего места

.        Методические рекомендации

5. Порядок выполнения лабораторной работы Контрольные вопросы

Литература

 

3. Разработка учебно-практического пособия и лабораторной работы

 

Предисловие

Учебно-практическое пособие содержит общие теоретические сведения о методологии, методах и методиках оценки качества передачи звуковых сигналов, а также методические указания к лабораторной работе на тему «Обработка сигналов в канале звукового вещания». Пособие предназначено для студентов всех форм обучения специальности «Аудиовизуальная техника» и направления «Радиотехника», изучающих дисциплину «Аудиотехника».

В ходе изучения теоретических сведений и выполнения лабораторного практикума студенты должны ознакомиться с аппаратно-программным обеспечением мультимедийного ПК (МПК), изучить основы и приобрести навыки создания, записи и сохранения звуковых файлов, простейшего и профессионального редактирования фонограмм с помощью программы-редактора Adobe Audition 3.0.

Для проведения лабораторной работы используется дисплейный класс и компьютеризированные лаборатории кафедры технической электроники, содержащие несколько МПК, объединенных локальными сетями, а также настенные красочные материалы для проведения вводной части практикума.

Общие теоретические сведения

Введение

Развитие компьютерных технологий на современном этапе достигло высокого уровня. Это касается не только мощностей, производительности и функциональных возможностей персональных компьютеров, но также периферийных устройств и программного оснащения, предназначенных, в частности, для работы с аудиосигналами. Эксплуатация ПК в области формирования, преобразования и обработки аудиосигналов, редактирования и монтажа фонограмм открывает колоссальные возможности для профессиональной деятельности аудиоинженеров и творческих работников.

Задачей обработки звукового вещательного сигнала в трактах формирования программ художественного вещания является создание у слушателя звукового образа, соответствующего восприятию его при непосредственном слушании; в каналах информационного вещания и массового оповещения получение максимальной разборчивости на фоне шумов и помех (акустических в месте слушания и электрических в канале передачи).

В процессе обработки корректируются (искажаются) временные параметры сигнала (эквивалентное время реверберации), спектральный состав, динамический диапазон уровней, а также вводятся спецэффекты.

Временные параметры корректируются для создания естественной акустической обстановки за счет изменения времени реверберации.

Оптимизация АЧХ необходима:

-для улучшения разборчивости;

введения эффекта присутствия (или отсутствия) исполнителя - за счет локального подъема или завала группы частот;

повышения эмоциональности звучания музыкальных инструментов, групп инструментов;

реставрации, устранения шумов и помех.

Введение спецэффектов необходимо:

-для согласования времени воспроизведения без изменения тональности и изменения тональности без изменения времени воспроизведения, при сведении многодорожечной записи разных инструментальных групп, входящих в большой симфонический оркестр;

введения преднамеренных нелинейных искажений, повышающих эмоциональное напряжение исполнения.

Основной задачей обработки ЗВС звукорежиссером является необходимость уменьшения динамического диапазона уровней, так как максимальный разрешенный акустический уровень воспроизведения в бытовых помещениях составляет 96 дБ, а реальный уровень шумов 50... 60 дБ. Поэтому для передачи сигнала с динамическим диапазоном уровней 60 дБ (симфонический оркестр) остается около 40 дБ.

Так как по всем органам чувств человека восприятие раздражителя дифференциально, то он реагирует, в основном, не на сам сигнал, а на его изменение. Следовательно, для сохранения эмоциональной информативности сигнала необходимо сохранять перепады уровня с градациями около 10 дБ, что соответствует шести градациям изменения громкости - от очень-очень тихо до очень-очень громко. С учетом этого при условии сохранения перепадов уровня абсолютная величина динамического диапазона уровней сигнала вещания может быть снижена. Звукорежиссер вручную, на пульте, должен провести оптимизацию параметров ЗВС: частотной характеристики, уровня, ввести спецэффекты для каждого из источников звука, сводимого им в один сигнал. Осуществляется это по показаниям измерителя уровня (ИУ) и с использованием регуляторов уровня, частотных корректоров и устройств спецэффектов.

Время реакции звукорежиссера на изменение уровня составляет 1,5...2 с, сюда входят: время срабатывания ИУ (200 мс) и время принятия решения и регулирования самим звукорежиссером. В результате погрешность регулирования доходит до ±4 дБ, а допуск па превышение уровня на входе МКЗВ - составляет 1 дБ. Поэтому, кроме ручной обработки ЗВС, всегда производится автоматическая.

В процессе передачи ЗВС по каналу передачи, включающему ТПРП и ТВРП, сигнал подвергается многократной обработке с целью согласования его свойств, с пропускной способностью тракта или его отдельных звеньев. Общим требованием к такой обработке является отсутствие заметности изменений сигнала для слушателя.

1. Обработка сигналов в канале звукового вещания

.1. Задачи динамической обработки

Динамическая обработка, связанная с изменением динамического диапазона сигналов, реализуется, как правило, автоматическими регуляторами уровня (АРУР). В результате динамической обработки весь диапазон уровней ЗВС должен оказаться в пределах, установленных нормами и правилами технической эксплуатации (ПТЭ). Минимальные уровни сигнала должны быть существенно (на 10...20 дБ) выше уровня помех канала, максимальные не должны превышать значения, при которых недопустимо возрастают нелинейные искажения, начинается перемодуляция передатчиков.

Для уменьшения нелинейных искажений необходимо увеличивать запас по мощности усилительных и радиопередающих устройств (примерно на 6 дБ), вводить цепи, компенсирующие нелинейные искажения. В цифровых устройствах следует вводить запас уровней квантования, чтобы неискаженно передавать кратковременные пики уровней, которые могут вызвать перегрузку АЦП и, следовательно, создать заметные нелинейные искажения. Указанные причины приводят к необходимости уменьшать динамический диапазон сигналов, хотя это ухудшает художественное качество формируемых программ. Некоторые ограничения на динамический диапазон воспроизводимых сигналов также накладывают условия домашнего прослушивания.

Уменьшение динамического диапазона ЗВС приводит к возрастанию его средней мощности и, как следствие, среднего коэффициента модуляции передатчика. Это увеличивает радиус зоны обслуживания передатчика при соответствующем возрастании его энергопотребления.

По критерию инерционности срабатывания автоматические регуляторы уровня разделяются на безынерционные (мгновенного действия) и инерционные (приборы с изменяющимся коэффициентом передачи). В зависимости от выполняемых функций, инерционные АРУР подразделяют на ограничители квазимаксимальных уровней, автостабилизаторы уровня, компрессоры (сжиматели динамического диапазона), экспандеры (расширители) динамического диапазона, компандерные шумоподавители, пороговые шумопо- давители, а также устройства со сложным преобразованием динамического диапазона [1, 22]. К последнему классу авторегуляторов можно отнести специализированные устройства динамической обработки сигналов в радиовещании.

1.2. Задача авторегулирования уровня

Автоматические регуляторы уровня - четырехполюсники, коэффициент передачи которых изменяется по заданному закону в зависимости от значения уровня сигнала. Регулирование уровня производится путем изменения коэффициента передачи АРУР, что обеспечивает минимизацию искажений сигнала. Структурная схема АРУР приведена на рисунке 1.

Рисунок 1 - Структурная схема АРУР

На рисунке 1 обозначено: У^ У2, Уз - усилители, РЭ - регулирующий элемент, Д - детектор (двухлолулериодный выпрямитель), ИЦ - интегрирующая цепь, УПТ - усилитель постоянного тока для сигнала управления РЭ. Как показано на рисунке, возможно формирование сигнала управления как по входу, так и по выходу.

Формирование сигнала управления по входу используется в шумоподавителях и экспандерах. На рисунке.2 показаны амплитудные характеристики: а - усилителя (1 - линейный участок, 2 - участок перегрузки); б - ограничителя (1 - участок усиления, 2 - участок ограничения); в - усилителя (1), компрессора (2) и экспандера (3).

Рисунок 2 - Амплитудные характеристики авторегуляторов в линейном масштабе

Весьма распространенная ошибка - приписывать ограничителю большие нелинейные искажения, что справедливо только для ограничителей мгновенного действия. У авторегуляторов инерционного типа в стационарном режиме искажения практически отсутствуют.

Используются различные амплитудные характеристики устройств регулирования: для ограничения сигнала на установленном уровне; для компрессирования / экспандирования, когда обеспечиваются соответственно сжатие или расширение динамического диапазона ЗВС; для шумоподавления - с целью снижения заметности шумов канала передачи. В реальных устройствах, например в АРУР «Норма-В», используется сложная составная характеристика, в определенной степени имитирующая работу звукорежиссера и реализующая на разных участках все перечисленные выше характеристиКи. Сказанное иллюстрируют амплитудные характеристики, представленные на рис. 5.3 для: а - порогового шумоподавителя (участки характеристики 1 используются в компрессоре, характеристики 2 - в усилителе); б - АРУР со сложным преобразованием динамического диапазона с участками: 1 - компрессирования, 2 - усиления, 3 - шумоподавления, 4 - ограничения; в - авторегулятора «Норма-В» с участками: 1 - ограничения, 2 - усиления, 3 - шумоподавления, 4 - автостабилизации, 5 - экспандирования.

Рисунок 3 - Амплитудные характеристики некоторых АРУР

Пример работы автостабилизатора, наиболее распространенного прибора в вещательных каналах, приведен на рис. 5.4 [1]. Здесь обозначено: а - структурная схема (см. обозначения, принятые на рис. 5.1); б - амплитудные характеристики устройства; в,г - форма сигнала на входе и выходе устройства. Участок автостабилизации позволяет в значительной степени выровнять громкость звучаний, имеющих одинаковый пиковый уровень, но разную громкость (речь- музыка).

Рисунок 4 - Структурная схема автостабилизатора и иллюстрация его работы

Видно, что превышение номинального уровня происходит только на длительности срабатывания прибора в период зарядки интегрирующей цепи ИЦ после превышения напряжения на выходе детектора величины Еоп, определяющей порог ограничения.

В момент изменения коэффициента передачи при срабатывании и восстановлении авторегулятора возникают переходные процессы. Их вид при обработке гармонического сигнала с помощью инерционного ограничителя или компрессора приведен на рисунке 3; вид переходных процессов в экспандере показан на рисунке 4.

Рисунок 5 - Переходные процессы в компрессоре

Качество регулирования во многом определяется временными характеристиками регулятора - временем срабатывания tcp и временем восстановления Хв исходного коэффициента передачи. Время срабатывания выбирается так, чтобы искажения, неизбежные при передаче сигнала с превышением уровня по каналу передачи, не были заметны слушателю.

Время, на длительности которого слушатель уверенно замечает наличие нелинейных искажений сигнала, составляет около 20 мс, поэтому время срабатывания выбирается существенно меньше - обычно до 5 мс. Время восстановления во многом определяется свойствами сигнала, временем реверберации студии, в которой производилась запись, и составляет от 100 мс - для чисто информационного речевого сигнала - до 3...5 с для музыкального сигнала, записанного в концертной студии.

Рисунок 6 - Переходные процессы в экспандере

При настройке приборов принято следующее определение временных характеристик АРУР: время срабатывания tcp - это интервал между моментом, когда от источника начинает подаваться сигнал с уровнем на 6 дБ выше номинального значения, и моментом, когда выходной уровень уменьшится с 6 до 2 дБ по отношению к номинальному значению; время восстановления tB - это интервал между моментом, когда уровень сигнала от источника снижается с 6 дБ до номинального значения, и моментом, когда выходной уровень увеличится от -6 до -2 дБ по отношению к номинальному значению.

В конечном итоге, выбор динамических параметров АРУР определяется его назначением. Так, если ограничители уровня предназначены для защиты от перегрузок трактов звукового вещания (радиопередатчиков, мощных усилителей), то выбирают tcP = 0,5...1 мс, tB = 1,5...2 с; для речевых компрессоров эти параметры составляют соответственно tcP = 1...2 мс и tB = 300 мс, а для музыкальных - tB = 100...2000 мс. У шумоподавителей выбирают tcP = 1...5 мс, tB = 200...300 мс, поскольку если у шумоподавителя выбрать время срабатывания меньше, то реверберационный процесс затухания сигналов будет резко «отрезаться», что неестественно для слуха. В то же время выбирать tcp > 5 мс нельзя, так как при появлении полезного сигнала шумоподавитель будет медленно восстанавливать свой коэффициент передачи, вследствие чего первые слоги речи (или начало музыкальных фраз) будут ослабляться, что приведет к заметным на слух искажениям

2. Влияние работы авторегуляторов на свойства звуковых сигналов

Влияние работы АРУР на свойства звуковых сигналов. Автоматическая обработка звукового вещательного сигнала приводит к изменению всех его параметров.

Влияние АРУР на относительную среднюю мощность.

Относительная средняя мощность (ОСМ) вещательного сигнала представляет собой отношение его мощности к мощности синусоидального сигнала с амплитудой, равной номинальному значению на входе канала. При выравнивании уровней громких и тихих сигналов происходит увеличение ОСМ, а следовательно, увеличивается и громкость сигнала. Помимо этого повышение ОСМ позволяет заметно повысить КПД радиопередающих устройств, увеличить зону уверенного приема. На рисунке 7 приведена зависимость относительного энергетического выигрыша А от времени восстановления компрессора.

Рисунок 7 - Относительный энергетический выигрыш как функция времени восстановления компрессора для разных языков.

Графики на этом рисунке приведены для разных языков: 1 - немецкого, 2 - английского, 3- итальянского, 4 - русского. Видно, что выигрыш больше для резких, отрывистых языков и меньше для певучих.

Рисунок 8 - Зависимость относительного энергетического выигрыша от величины сжатия сигнала

На рисунке 8 приведены зависимости энергетического выигрыша от величины сжатия сигнала (т.е. разницы динамических диапазонов входного и выходного сигналов d') для русского языка (1) и некоторое усредненное значение (2) - для остальных девяти европейских языков [2]. В среднем удается повысить относительную среднюю мощность в 1,5...2 раза.

Влияние АРУР на восприятие энергетического спектра.

При прослушивании программ с выхода компрессора создается ощущение изменения частотного баланса по сравнению с исходным сигналом. Объясняют это различной неравномерностью АЧХ слухового анализатора в зависимости от громкости сигнала (вспомним кривые пороговой чувствительности при разной громкости - разд. 1.3). На рисунке 9 приведены спектрограммы двух сигналов на входе и выходе компрессора. Разница между одновременно звучащими сигналами на входе компрессора и его выходе не изменилась, однако поскольку НЧ канал из зоны пороговой слышимости попадает в зону раиной громкости, то происходит изменение его тембра. При последовательном во времени поступлении сигналов (рисунок 9,в) они будут усилены по-разному, сильные НЧ ослаблены, а слабые ВЧ усилены. Поэтому и общий спектральный баланс сигнала также изменится.

Слабые сигналы, как правило, высокочастотные (согласные звуки в речевом сигнале, звучание треугольника в музыкальном сигнале), увеличение их уровня воспринимается слушателем как подъем АЧХ канала в области высоких частот, а разборчивость сообщения при передаче по зашумленным каналам при этом возрастает. При одинаковом пиковом уровне сигналы звукового вещания могут существенно отличаться по ОСМ, а следовательно, по громкости. Чем более широкополосен сигнал, тем больше его ОСМ. Для выравнивания громкости ка стыке речь музыка используют АРУР с формированием сигнала управления по ОСМ, а не по уровню. Используются и системы с участком автокомпенсации на амплитудной характеристике. На этот участок АРУР переходит по команде с блока анализа спектра примерно за 300 мс, что, к сожалению, превышает время интеграции слуха по громкости (около 160 мс).

Рисунок 9 - Спектрограммы сигналов на входе (а) и выходе (б, в) компрессора

Влияние компрессоров на разборчивость речи.

Пик-фактор (отношение пикового значения к среднему) речевого сигнала - высок, ОСМ исходного речевого сигнала весьма мала и составляет 0,04...0,08, а именно она определяет мощность боковых полос при AM модуляции и во многом помехозащищенность сигнала. Увеличение ОСМ сигнала, повышает его помехозащищенность, а для речевого сигнала разборчивость. На рисунке 8 приведена зависимость разборчивости речи от отношения сигнал/помеха для обработанного (кривая 1) и необработанного (кривая 2) сигнала [2]. Разборчивость речевого сигнала определяется, во многом, согласными, а они высокочастотны и малоуровневы, именно их уровень существенно возрастает после АРУР. Видно, что разборчивость в шумах возрастает, но при высоких отношениях сигнал-шум разборчивость необработанного сигнала выше. Объясняется это увеличением субъективной реверберации (гулкости) при компрессии сигнала.

Рисунок 10 - Влияние отношения сигнала помеха на разборчивость речи

Интегральное влияние АРУР на звуковые сигналы.

Исследования психологов о влиянии радиовещательного сигнала на состояние слушателя показали, что одним из существенных факторов, определяющих негативное воздействие на слушателя, является уровень сигнала придыхания (СП).

Напомним, что профессиональный диктор должен иметь уровень придыхания на уровне -25... - 30 дБ, от пиковых значений основного сигнала, что, с учетом маскировки реальным сигналом, обеспечивает его незаметность для слушателя. Вина за высокую заметность СП целиком лежит на эксплуатационном персонале канала передачи ЗВС, которые в погоне за повышением ОСМ сигнала (громкости у слушателя), неумеренно использует автоматическое регулирование сигнала.

На рисунке 11 иллюстрируется характер ЗВС до и после инерционного ограничителя. В результате обработки увеличивается заметность сигнала придыхания диктора, после регулирования оно может достигать -10 дБ, что заставляет слушателей беспокоиться о его здоровье или о состоянии дел в стране.

Рисунок 11 - Иллюстрация влияния инерционного ограничения на качество придыхания (Тр определяет гулкость помещения)

В результате регулирования повышается ОСМ сигнала, повышается уровень слабых, как правило, высокочастотных, звуков. За счет изменения характера спада звука, определяемого реверберационными характеристиками помещения, мениски субъективное восприятие времени реверберации. Звук долгое время находится на одном уровне и воспринимается как более гулкий.

3. Устройства динамической обработки сигналов

В настоящее время существует огромное количество различных приборов для динамической обработки звуковых сигналов - это компрессоры, пороговые ограничители (гейты), экспандеры, левеллеры, лимитеры и т.д. [52]. Устройства динамической обработки сигналов применяются в художественных целях и для получения более качественного звучания, при этом решаются следующие задачи.

Согласование динамических диапазонов сигнала и канала.

Реальные цифровые и аналоговые каналы вещания обеспечивают передачу сигнала с динамическим диапазоном до 60 дБ. Динамический же диапазон реальных сигналов (например, симфонического оркестра) может достигать 100... 120 дБ.

Шумоподавление.

Акустические шумы в паузах, попадающие в микрофоны посторонние сигналы, фон и помехи в трактах первичного распределения - во всех этих случаях возникает необходимость в автоматическом управлении уровнями сигналов с помощью устройств динамической обработки.

Все устройства динамической обработки можно разделить на два больших класса: по характеру взаимосвязи их коэффициента усиления и уровня входного сигнала. Если при увеличении уровня входного сигнала коэффициент передачи устройства уменьшается - то это компрессор и его разновидности (лимитер, левеллер, дакер и ряд других); если же при увеличении входного сигнала коэффициент передачи устройства также увеличивается - то это экспандер или гейт.

Компрессор и его производные.

Рисунок 12 - Структурная схема компрессора.

Компрессор, как и любое устройство динамической обработки, содержит звуковой тракт и цепь управления - side chain (рисунок 12). В состав звукового тракта входят обычно входной и выходной усилители (1 и 3 соответственно) и элемент, изменяющий коэффициент усиления звукового сигнала, - управляемый усилитель VCA (2).

Цепь управления состоит из выпрямителя (4), преобразующего звуковой сигнал в управляющее постоянное напряжение, и цепи управления компрессией (5). В последней и осуществляется установка динамических параметров компрессора, управление степенью компрессии и порогом срабатывания.

Компрессоры могут быть с ручным управлением параметрами компрессии, где все динамические параметры задаются пользователем, и автоматизированные, когда пользователю предлагают на выбор несколько алгоритмов автоматизации для различных вариантов обработки. Как правило, большинство автоматизированных компрессоров не изменяют динамические параметры звука сколько-нибудь существенным образом, а только выравнивают исходное звучание, делают его более плотным и насыщенным.

Среди автоматизированных компрессоров следует выделить большой класс приборов - RMS-компрессор. Этот тип компрессора должен реагировать на эффективное (действующее) значение сигнала, т.е. непосредственно на мощность звукового сигнала, а не на его мгновенные значения, как обычный компрессор. Цепи управления компрессоров этого типа построены таким образом, что длительный сигнал небольшой амплитуды гораздо важнее для управления усилением компрессора, нежели короткий импульс большой амплитуды.

Временные параметры в настоящем R/WS-компрессоре не являются чем-то раз и навсегда заданным, а сложным образом изменяются в зависимости от частоты и уровня входного сигнала, его спектра. Это обеспечивает отсутствие «механистичности» в работе компрессора и очень малую заметность вмешательства компрессора в обрабатываемый сигнал.

Для уменьшения заметности момента включения многие компрессоры имеют так называемый «мягкий порог» (Soft Threshold), обеспечивающий плавное вхождение в режим компрессии. На рисунке 13 изображены проходные характеристики (зависимость уровня выходного сигнала от уровня входного) для двух компрессоров - обычного (ломаная линия 1) и компрессора с «мягким порогом» (кривая 2). Как видно из рисунка, во втором случае удается сделать момент начала компрессии практически неслышным.

Рисунок 13 - Варианты регулирования момента срабатывания компрессора

Общеизвестно свойство компрессии, особенно в случае малых времен срабатывания и восстановления, как бы «съедать» высокие частоты в обрабатываемом сигнале. Для устранения этого явления в некоторых компрессорах применяются различного рода специальные устройства (ВЧ экспандеры), позволяющие в ряде случаев нейтрализовать этот нежелательный эффект. Обычно в таких устройствах сигнал разделяется на две полосы, и, в то время как основной сигнал компрессируется, его высокочастотная составляющая передается на выход либо неизменной, либо, наоборот, усиленной пропорционально ослаблению уровня основного сигнала. В выходном усилителе обе эти составляющие суммируются.

Лимитер (ограничитель). Это один из вариантов компрессора. Лимитирование отличается от компрессирования прежде всего степенью компрессии (ratio). Основное предназначение лимитера - защита последующих узлов тракта от любых, даже самых малых, перегрузок, поскольку независимо от приращения входного сигнала уровень сигнала на его выходе увеличиваться не будет.

Широко применяемые компрессоры, имеющие ту или иную автоматизацию динамики своей работы, практически непригодны для использования в качестве лимитера - их динамика оптимизирована под конкретный вид сигнала, под его компрессию. Лимитер, помимо большей степени компрессии, имеет и принципиально иные динамические характеристики. Он должен очень быстро (в идеале - мгновенно!) скомпенсировать сигнал перегрузки и столь же быстро вернуться к исходному состоянию. В хорошем лимитере можно установить время срабатывания вплоть до 5 мс, чего в компрессорах просто не бывает. Время восстановления в реальном защитном лимитере также весьма мало: несколько десятков миллисекунд. Очевидно, что компрессия с такими параметрами способна, и очень значительно, изуродовать сигнал.

Левеллер. Это - разновидность RMS-компрессора. Основное его отличие от обычного RMS-компрессора - гораздо большие постоянные времени детектора, достигающие в некоторых моделях 10 с. Кроме того, они имеют несколько другую проходную характеристику (рисунок 14).

Рисунок 14 - Характеристики ревеллера

На этом рисунке изображено семейство проходных характеристик левеллера при различных значениях степени компрессии. Независимо от этой величины, сигнал с входным уровнем 0 дБ имеет такой же уровень на выходе, а сигналы с иными уровнями как бы подтягиваются к нему: более сильные ослабляются, более слабые - усиливаются. Причем, чем большее значение степени компрессии установлено, тем сильнее сигналы «прижимаются» к уровню 0 дБ (уровень 0 дБ здесь приведен только для примера). В реальных устройствах имеется регулятор уровня, к которому должны «подтягиваться» сигналы.

Де-эссер, де-поппер. Это - частотно-зависимые полосовые компрессоры. Де-эссер (как и де-поппер) должен обрабатывать только узкую полосу мешающего сигнала, не затрагивая всего остального. Обычный компрессор в режиме де-эссера, с фильтром-эквалайзером в цепи управления, обрабатывает всю полосу частот входного сигнала. Он просто более «чуток» к выделенной области спектра. Различие де-эссера и де-поппера в том, что первый работает на ВЧ сигналах, а де-поппер - наоборот, работает в НЧ области спектра, убирая бубнение.

Главное отличие этих приборов от остальных устройств динамической обработки заключается в том, что порог срабатывания в них не фиксированный (ручкой управления), а регулируемый, определяемый разностью уровней обрабатываемой части спектра, с одной стороны, и всего остального - с другой. Такое построение обеспечивает нормальное их функционирование, независимое от абсолютных уровней входных сигналов. Де-эссер постоянно анализирует спектр входного сигнала, и, если уровень сигнала в установленной полосе превышает допустимое соотношение его и «всего остального», то он уменьшает уровень сигналов в этой полосе до допустимой (установленной пользователем) величины.

Экспандер и гейт. Экспандер - это компрессор наоборот (от английского to expand - расширять, растягивать). У него, как уже отмечалось, коэффициент передачи пропорционален уровню входного сигнала, т.е. чем громче входной сигнал, тем громче выходной. Существуют две основных разновидности экспандера - экспандер вверх (upward expander) и экспандер вниз (downward expander), которые различаются характером реагирования на входной сигнал: первый обрабатывает только те сигналы, которые лежат выше порога его срабатывания, делая громкие еще более громкими. Тихие же сигналы, лежащие ниже порога срабатывания, такой экспандер не трогает. Этот прибор используется редко, поскольку искажает сигналы в момент срабатывания и закрывания, кроме того, трудно согласовать его временные характеристики с характеристиками разнообразных музыкальных инструментов.

Экспандер вниз, напротив, не трогает сигналы выше порога срабатывания, а только делает тише сигналы, лежащие ниже этого порога. По характеру своего действия на сигнал это устройство схоже с гейтом и, как правило, применяется для аналогичных целей - для подавления слабых, но мешающих сигналов. В этом качестве экспандер вниз входит составной частью практически во все шумопода- вители (денойзеры).

Гейт (от английского gate - клапан, ворота) - один из самых распространенных приборов динамической обработки. Его основное, изначальное назначение - отсечка сигналов малого уровня, для которых он является своеобразным клапаном, не пропуская их на выход. По своей работе гейт аналогичен формирователю огибающей в синтезаторах. Это такой же многоступенчатый формирователь огибающей плюс управляемый усилитель (VCA), только запускается гейт не от нажатия клавиши, а при превышении входным сигналом порога срабатывания threshold.

Большинство гейтов имеют относительно несложный 3-ступенчатый формирователь огибающей, состоящей из трех частей: нарастания (attack), удержания (hold) и плавного затухания (release). Механизм формирования огибающей поясняет рисунок 15, где изображены три сигнала - входной (верхняя сигналограмма), Сформированная генератором гейта огибающая (в середине) и результирующий выходной сигнал - внизу. Естественно, что динамика Обработанного гейтом сигнала будет отличаться от исходной, а именно - сигналы, лежащие ниже порога срабатывания, будут полностью подавлены, а сигналы, превысившие порог атаки, будут обрабатываться в зависимости от соотношения их исходной скорости И времени открывания гейта. Именно это свойство - менять динамику сигналов - и является причиной, по которой гейт получил столь широкое распространение.

Обязательной составной частью гейта являются перестраиваемые обрезные НЧ и ВЧ фильтры, назначение которых, как и в компрессоре, - изменение характеристик канала управления. И так же, как в компрессоре, они не влияют на тембр самого сигнала. В результате настройки этих фильтров в канале управления удается Практически снять зависимость работы гейта от громкости звучания того или иного инструмента, поскольку для управления важна интенсивность определенных составляющих в спектре записываемого музыкального инструмента, например основной тон барабана.

Затухание сигналов большинства инструментов не является ровным и плавным, а имеет волнообразный характер. На слух это малозаметно, однако гейт в этот момент начинает периодически переключаться, что на слух воспринимается очень неприятно.

Справиться с этой проблемой помогает особое устройство - триггер с гистерезисом. В этом случае в гейте имеются два порога орабатывания - один на открывание и один - на закрывание, причем порог на закрывание всегда меньше, чем на открывание.

Рисунок 15 - Иллюстрация работы гейта

 

Рисунок 16 - Характеристики устройств динамической обработки ЗВС

Для облегчения понимания особенностей функционирования устройств динамической обработки на рисунке 16 на одном графике совмещены проходные динамические характеристики рассмотренных широкополосных приборов.

4. Системы шумоподавления

Системы первичного распределения сигнала ЗВ создавались на базе телефонной сети. В аналоговых системах передачи для обеспечения необходимого частотного диапазона объединялись несколько телефонных каналов, например для передачи сигнала с полосой эффективно передаваемых частот 10 кГц - три. Так как сигнал ЗВ гораздо более мощный, чем телефонный, для сохранения загрузки группового тракта приходилось исключать из эксплуатации 10 телефонных каналов. Соотношение сигнал-шум телефонного канала недостаточно для передачи ЗВС. Этот недостаток свойственен и цифровым системам передачи.

Итак, основным недостатком большинства каналов передачи ЗВС является высокий уровень собственных шумов. Для компенсации влияния шума на качество передачи и используются системы шумоподавления. Так, для улучшения защищенности низкоуровневых ВЧ составляющих звукового сигнала от шумов канала используется фильтр предкоррекции (ПК) на входе канала, а на его выходе - восстанавливающий контур (ВК). Качественно работу такой системы иллюстрируют графики на рисунок 17, где показаны усредненные энергетические спектры звукового сигнала Sc и шумов Gm, а также коэффициенты передачи К ПК и ВК. В результате совместного действия фильтров ПК и ВК влияние шумовых спектральных составляющих канала передачи на выходе канала Gш.вых. уменьшается.

Получили широкое распространение пороговые и компандерные системы шумоподавления. Первые устраняют шумы путем отсечки сигналов малого уровня. При этом они вносят весьма заметные на слух нелинейные искажения. Поэтому такие системы в основном используются при передаче речевого сигнала по зашумлен- ным каналам. Вторые вносят нелинейные искажения в момент срабатывания.

Рисунок 17 - Пояснение действия фильтра предкоррекции и восстанавливающего контура системы шумоподавления

Компандерные системы состоят из компрессора и экспандера. Такие системы сжимают динамический диапазон ЗВС, обеспечивая защищенность слабых сигналов от шумов канала на величину порядка 20 дБ (рисунок 18).

В компандерных системах используются как линейные, так и частотно-зависимые амплитудные характеристики компрессоров и экспандеров (рисунок 19).

Рисунок 18 - Иллюстрация работы компандерной системы

В результате использования компандерных систем повышается отношение сигнал-шум (рисунок 20,а) и уменьшается модуляция сигнала шумом (рисунок 20,6).

Среди недостатков компандерных систем:

инерционность компрессора и экспандера;

неидентичность амплитудных и временных характеристик многочисленных компрессоров и экспандеров в системе передачи ЗВС по стране;

несовместимость с другими системами, необходимость проведения одинаковой обработки сигнала на входе и выходе канала передачи;

модуляция переменным коэффициентом передачи (определяемым, в основном, мощными НЧ составляющими ЗВС) ВЧ составляющих передаваемого сигнала и шумов;

снижение заметности шума только в паузе.

Снижение шума на фоне сигнала возможно при компандерной обработке его аналитической огибающей.

Рисунок 19 - Амплитудные характеристики компрессоров и экспандеров компандерных систем

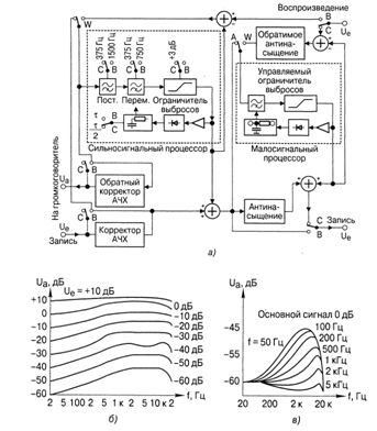
Компенсировать последние два недостатка удалось, используя многополосную компандерную систему, предложенную в 1950-х годах А.А. Друговым, а практически реализованную Р. Долби в многочисленных системах Dolbi. Так, широко используются в профессиональной звукозаписи шумоподавители Dolbi-A, в которых входной сигнал разделяется на 4 узкополосных, каждый из которых компан- дируется отдельно. Упрощенная схема шумоподавителя Dolbi-A приведена на рисунке 21.

Система шумоподавления Dolbi-B имеет ступенчатую частотную характеристику с подъемом верхних частот при низких уровнях входного сигнала (рисунке 22). Dolbi-B обеспечивает шумоподавление до 10 дБ на частотах выше 4 кГц.

программа adobe audition интерфейс

Рисунок 20 - Результаты работы компандерных систем СР

Рисунок 21 - Упрощенная схема шумоподавителя Dolbi-A

Система Dolbi-C использует двухкаскадный компандер, что позволяет получить на частотах выше 1 кГц шумоподавление до 20 дБ (рисунок 23). Основу шумоподавителя образуют два последовательно включенных компандера, которые порознь обрабатывают сигналы высокого и низкого уровней, что позволяет уменьшить выбросы уровня. В сигнальной ветви имеется цепь частотной коррекции с фиксированными параметрами, предназначенная для понижения уровня составляющих выше 10 кГц, например пилот-сигнала 19 кГц стереофонического ОВЧ ЧМ вещания. Все это позволяет улучшить запись верхних частот в канале магнитной записи, например в кассетных магнитофонах, и уменьшить искажения уровня при выпадениях сигнала, повысить качество при его компактном представлении в современных системах записи.


Рисунок 22 - Структурная схема и характеристики системы Dolbi-В

В профессиональных системах звукопередачи применяют также шумоподавитель Dolbi-SR, содержащий три каскада компрессирования, в каждом из которых входной сигнал разделяется на один или два полосовых сигнала. Во всех каскадах сжатие производится на определенных уровнях сигнала (-30, -48, -62 дБ). В первых двух каскадах граничная частота разделения сигнала составляет около 800 Гц, каскад с порогом -62 дБ обрабатывает сигналы на частотах выше 800 Гц. В каждом из 5 каскадов имеются фильтры с фиксированной и переменной частотой среза.

Один из недостатков систем Dolbi состоит в несовместимости с другими системами шумоподавления. Сигнал должен быть одинаково обработан на входе и выходе канала, что не всегда возможно в распределенной системе радиовещания.

Рисунок 23 - Структурная схема и характеристики системы Dolbi-C

Совместимой с любым каналом является система динамического ограничения шума (DNL). В такой системе осуществляется фильтрация ЗВС выше 1...1.5 кГц при уровнях сигнала ниже 40 дБ - в этом случае сигнал не содержит гармоник основного тона, т. е. весь расположен в НЧ области. Достоинство системы - совместимость с любым типом оборудования; недостаток - устранение ВЧ составляющих, замечаемое меломанами.

Измерение выигрыша в соотношении сигнал-шум для систем шумопонижения осуществляется с помощью ССИ. Сравниваются эталонный сигнал и сигнал, переданный по каналу с системой шумопонижения при разной величине подмешиваемого шума. Полученный выигрыш в соотношении сигнал-шум фиксируется при 15% заметности изменения сигнала, оцениваемой экспертами.

Общим недостатком перечисленных систем шумоподавления является невозможность уменьшения уровня шумов на фоне сигнала.

Рассмотренные выше системы позволяют обеспечить сохранение динамического диапазона сигнала по субъективному восприятию, а вот всегда ли надо его сохранять - это большой вопрос!

В 1985 г. Институтом вещательной техники ФРГ (IRT) была предложена концепция системы для регулирования динамического диапазона ЗВС непосредственно в процессе радиовещания (или звукового сопровождения телевидения). В этом предложении ставится под сомнение необходимость использования экспандеров для слушателей, находящихся в автотранспорте или использующих переносные приемники. В предлагаемой системе используется дополнительный сигнал управления, который позволяет осуществлять управляемое экспандирование сигнала вещания в зависимости от условий прослушивания.

Программы ЗВ слушают в разной обстановке: в тишине и шумном помещении, с помощью акустических систем и головных телефонов. Чтобы избежать маскирования слабых сигналов ЗВ акустическими шумами, динамический диапазон сигналов ЗВ регулируют вручную или автоматически. При этом учитывается максимальный уровень звукового давления, который по своему желанию устанавливает слушатель. Из ряда исследований известно, что большинство слушателей предпочитают устанавливать уровень музыкальных звучаний в области 78...80 дБ над порогом слышимости. Однако в условиях больших бытовых акустических шумов этот уровень может завышаться, а в вечернее время уровень звучания обычно уменьшают. В обоих случаях возможный динамический диапазон подлежит корректировке. Как установлено, необходимые пределы изменения динамического диапазона составляют от 15 до 55 дБ.

По результатам обследования, большинство слушателей предпочитает динамический диапазон музыкальных программ 25...35 дБ. Это означает, что при таком сжатии динамического диапазона сигнала ЗВ в ТФП дополнительного изменения динамического диапазона в домашних условиях не требуется.

5. Развитие методов обработки

Звуковой вещательный сигнал, проходя звенья тракта распределения, претерпевает изменение своих статистических свойств. Данный факт подтверждается ухудшением качества звучания ЗВС И является вполне логичным явлением. Анализируя характер вносимых искажений, укажем на динамический во времени характер их аозникновения, а также на «адаптивность характера искажений», т.е. на зависимость от вида сигнала и включенных ранее устройств обработки. Учитывая отсутствие средств, непосредственно позволяющих справиться с такой задачей, нельзя не сделать вполне логичный •ывод о необходимости разработки алгоритма обработки ЗВС, осно- Шанном на глубоком анализе вещательного сигнала и предусматривающего множество настроек параметров обработки. При этом настройки должны выбираться в соответствии с местом включения устройства в тракт распределения, а также с учетом особенностей условий прослушивания.

Большинство созданных ранее устройств регулирования либо практически не учитывали структуру ЗВС, либо опирались на усредненные свойства передаваемого сигнала. В то же время, анализируя Современные тенденции развития устройств обработки вещательного сигнала, следует отметить, что разрабатываемые ныне методы регулирования все в большей степени опираются на глубокий анализ свойств сигнала, приближающийся к методам распознавания. Развитие микропроцессорной базы и методов анализа позволило Осуществить обработку вещательного сигнала на длительности Iшуковых объектов (ЗО).

В работах А. Моля [27 и др.] предложена достаточно обоснованная сегментация звукового сообщения на ЗО, каждый из которых • отдельности характеризуется тремя параметрами (координатами):

громкостью, выражаемой логарифмом интенсивности звуко- 1ых колебаний;

высотой, выражаемой логарифмом частоты звуковых колебаний;

длительностью, выражаемой логарифмом продолжительности ••уковых колебаний.

В музыкальных формах воспринимается последовательность взаимосвязанных друг с другом ЗО, составляющих элементарные ячейки, музыкальные фразы, движения мелодий и отрывки музыкальных произведений. В речевых сообщениях аналогом является последовательность слов, фраза, короткое предложение, полустишие или стих. Система вещания, по определению, должна обеспечить передачу ЗВС с любыми возможными частотными, уровневыми и временными характеристиками во всем диапазоне их существования в сигнале и при любой вероятности их появления.

Известно, что минимальная длительность акустического воздействия (уже воспринимаемого как самостоятельное звуковое событие) имеет длительность порядка 40 мс (например, звук п в человеческой речи). Наиболее же длинные звуковые объекты (например, финальный аккорд органа) могут достигать 7с - длительность таких объектов определяется величиной постоянной времени долговременной слуховой памяти человека.

Процесс регулирования ЗВС в тракте передачи на временном интервале максимально длительного ЗО трудностей не вызывает и выполняется в большинстве существующих АРУР. В то же время достижение минимального времени регулирования, составляющего малую часть длительности самого короткого 30, вызывает серьезные трудности, определяемые способами выделения сигнала управления в канале управления устройства регулирования.

Анализ существующих устройств регулирования, а также современных методов обработки позволяет сделать вывод о том, что в большинстве устройств сигнал управления формируется непосредственно из самого вещательного сигнала.

Простейшим приемом выделения огибающей ЗВС является «выпрямление» сигнала диодным мостом с последующей НЧ фильтрацией. В этом случае ограничение максимально возможной скорости регулирования в значительной степени определяется высокими требованиями к степени фильтрации (полосе ФНЧ) и обусловлено паразитным проникновением НЧ составляющих ЗВС в сигнал управления. Следствием этого является интермодуляция ВЧ составляющих ЗВС его же НЧ компонентами.

Требуемая высокая добротность фильтра (затухание в полосе заграждения порядка 60 дБ) оборачивается значительной постоянной времени переходных процессов. Возникающие характерные искажения огибающей ЗВС показаны ниже (рисунок 24). Такие искажения являются неустранимыми, поскольку обусловлены инерционной природой процесса накопления (интегрирования) напряжения в блоке формирования сигнала управления.

Рисунок 24 - Искажение огибающей выходного сигнала АРУР

Формирование сигнала управления с использованием гильбер- товской огибающей (ГО) ЗВС позволяет сделать процесс регулирования сигнала безынерционным. Дело в том, что, в отличие от авторегуляторов, рассмотренных выше, преобразование ГО не связано с процессами срабатывания и восстановления авторегулятора и в этом смысле безынерционно. В преобразователях, построенных на основе использования ГО, отсутствуют выбросы сигнала при срабатывании (см. рисунок 24) и нет длительных процессов восстановления, что в некоторых инерционных авторегуляторах приводит к неприятному эффекту - «дыханию» шума паузы. По отношению к самому сигналу нелинейное преобразование ГО линейно; оно не сопровождается ни гармоническими, ни интермодуляционными искажениями.

Экспериментальные исследования

. Цель работы

Лабораторная работа предполагает практическое исследование методов и методик оценки качества передачи сигналов с помощью программы-редактора Adobe Audition 3.0.

В ходе выполнения работы предстоит ознакомиться с вопросами записи и обработки аудиосигналов, изменять звучание отдельных фрагментов по уровню громкости и тональным характеристикам, давать оценку результатам воздействия на качество звучания сигналов различных устройств обработки, используемых в звуковом вещании, проводить статистический и спектральный анализ результатов обработки.

2. Задание для подготовки к работе

Перед выполнением нижеприведенных заданий следует внимательным образом ознакомиться с описаниями, изложенными в разделе с теоретическими сведениями.

В нем подробно описаны все методы и методики, используемые в ходе выполнения работы.

3. Описание рабочего места пользователя ПК

Лабораторная работа выполняется в дисплейном классе КТЭ, в которых находятся МПК, объединенные единой сетью, также могут использоваться компьютеры, находящиеся в других помещениях кафедры.

Вслед за совершенствованием оснащения современных МПК, конфигурации кафедральных МПК могут меняться, поэтому в данных указаниях не приводится перечень и типы комплектующих узлов МПК и периферийных устройств, составляющих место пользователя. Это следует выяснить в начале занятия, обратившись к соответствующей программе МПК или к преподавателю, ведущему занятия.

Для слухового контроля получаемых результатов при выполнении заданий лабораторной работы используются либо наушники, либо акустические системы, расположенные на рабочем месте.

4. Методические рекомендации

Методические рекомендации к выполнению работы

Порядок выполнения работы включает в себя ознакомление с теоретической частью, запись аудиосигнала через микрофон, обработку записанного сигнала различными способами, наложение фоновой музыки и шумов и сведение в единый звуковой файл.

К началу занятий инсталляция используемой версии программы Adobe Audition 3.0 с установкой всех требуемых сопутствующих программ будет осуществлена.

Перед началом выполнения работы следует обязательно ознакомиться с пунктом, в котором объясняются правила составления звукового отчета о проделанной работе, которые следует знать до начала выполнения лабораторной работы.

Следует обратить внимание на то, что некоторые задания носят чисто ознакомительный характер, и естественно, не потребуют создания файлов с преобразованным сигналом.

Методические рекомендации к составлению отчета

Итогом выполнения лабораторной работы должен стать звуковой отчет, предъявляемый к прослушиванию преподавателю.

Для оформления такого отчета должна быть создана отдельная папка под именем выполняемого студента и номером группы. В папке будут сохранены результаты выполнения отдельных заданий и конечный звуковой файл. Длительность файла должна составлять 1-2 минуты.

Отчет должен содержать:

.   исходные звуковые файлы;

2.      результаты их обработки;

.        результаты статистического и спектрального анализа различных фрагментов.

5. Порядок выполнения работы

.1. Анализ результатов работы авторегулятора уровня звукового вещательного сигнала

1. Создание отрезка фонограммы речевого сигнала

Рисунок 25 - Подавление шумов компандером с ГО

Рассмотрим изменения вещательного сигнала при его обработке с помощью АРУР на примере речевого сигнала (PC). Длительность исследуемого отрезка должна быть больше интервала стационарности (для речи это около 120 с). В используемом здесь примере длительность отрезка около 2 мин, что позволяет получить достаточно гладкие оценки спектра и распределения плотности вероятности мгновенных значений; частота дискретизации выбирается равной 32 кГц, разрядность кодирования - 16 разрядов/отсчет.

2. Нормализация сигнала

Для возможности последующего сравнения исходного и обработанного сигналов нормируйте сигнал, например на 90% (опции Transform и далее - в соответствии с рисунком 26).

Поскольку некоторые изменения сигнала удобнее изучать на длительностях, соизмеримых с длительностью звукового объекта, следует заранее приготовить подходящий отрезок (рисунок 27).

Рисунок 26 - Исходный сигнал

Рисунок 27 - Отрезок исходного сигнала, соизмеримый с длительностью звукового объекта

. Статистический и спектральный анализ сигнала до обработки

Проведите статистический и спектральный анализ сигнала до обработки. При сборе статистики время, на котором оценивается RMS (аналог привычной нам ОСМ), возьмите 200 мс, что приблизительно равно времени интеграции слуха по громкости. В результатах анализа (рисунок 28) наиболее информативны максимальная (-9,3 дБ) и средняя (-15,5 дБ) RMS, которые определяют громкость сигнала.

В разделе «гистограммы» ознакомьтесь с распределением мгновенных значений сигнала (рисунок 29).

При проведении спектрального анализа следует обеспечить хорошую разрешающую способность, определяемую числом точек в выборке (взять не менее 4000), и минимизировать боковые лепестки, выбрав одну из наиболее эффективных оконных функций (нижние в предлагаемом меню). Удобнее пользоваться логарифмической шкалой частот, которая в большей степени соответствует особенностям слухового восприятия. Не имеет смысла выбирать затухание больше 70 дБ, поскольку слуховой анализатор не воспринимает спектральные составляющие, которые меньше максимальных на 50...60 дБ. Результаты анализа приведены на рисунке 30.

Рисунок 28 - Статистический анализ исходного сигнала до обработки

Рисунок 29 - Статистический анализ исходного сигнала до обработки: распределение мгновенных значений

Рисунок 30 - Спектральный анализ исходного сигнала до обработки

4. Формирование программной модели АРУР

Теперь следует сформировать программную модель АРУР. Для этого в опции Transform-Amplitude-Dynamic Range Processing сформируйте желаемую амплитудную характеристику АРУР с временными параметрами, стандартизованными для речевых АРУР: время срабатывания, 1 мс, восстановления - около 200 мс. На рисунке 31 показана самая простая характеристика, которая, тем не менее, используется в речевых студиях для выравнивания громкости сигнала от нескольких дикторов и повышения ОСМ.

Рисунок 31 - Формирование желаемой амплитудной характеристики АРУР

5. Обработка сигнала

Обработайте сигнал с использованием этой характеристики. Результаты обработки приведены на рисунке 32. Там же показана характеристика мгновенного ограничителя, который всегда размещается после АРУР для устранения выбросов в момент срабатывания, хорошо видных на рисунке. Для формирования необходимой амплитудной характеристики ограничителя воспользуйтесь последовательно опциями Transform-Special-Distortion. Уровень входного сигнала должен превышать уровень ограничения.

Рисунок 32 - Результаты обработки после АРУР и амплитудная характеристика ограничителя


Рисунок 33 - Пример сигнала, нормализованного по амплитуде

6. Сравнение исходного и обработанного сигналов

Спектральный и статистический анализ


Для удобства сравнения свойств сигнала до и после обработки перепишите его в виде двухканального (стерео) сигнала, когда исходный сигнал передается по одному каналу, обработанный по другому. Проведите спектральный анализ этих сигналов (рисунок 34). Можно заметить, что в обработанном сигнале подняты ВЧ составляющие и несколько выше общий уровень сигнала.

Проведя статистический анализ сигналов (рисунок 35), обнаружим, что выросли средний и максимальный уровни RMS. Это свидетельствует о повышении громкости обработанного сигнала при неизменном пиковом электрическом уровне. Обработка подобного рода с повышением относительной средней мощности сигнала на входе ТВРП стала обычной практикой современного радиовещания.

Рисунок 34 - Спектральный анализ сигналов до и после обработки

Рисунок 35 - Статистический анализ сигналов до и после обработки

Гистограммы сигналов

Гистограммы сигналов (рисунок 36) свидетельствуют о том, что повысилась вероятность появления высоких уровней сигнала, но одновременно обострилась сама функция. Уменьшение основания распределения соответствует сокращению динамического диапазона, а обострение - большим перепадам громкости между отдельными звучаниями и повышению крутизны фронтов (резкости звучания), что негативно воспринимается слушателями.

Рисунок 36 - Гистограммы сигналов до и после обработки

- Временной анализ

Теперь входной и выходной сигналы АРУР сравните на небольшом временном интервале (рисунок 37). Обратите внимание на то, как изменился характер огибающей обработанного сигнала. Вместо плавного спада после достижения максимума, что соответствует обычному времени реверберации студии, долгое пребывание на максимальном уровне и быстрый спад. Такое развитие огибающей воспринимается как увеличение гулкости помещения и приводит к снижению разборчивости. Обратите также внимание на возрастание сигнала придыхания (самое начало записи). Однако, диктор в этом не виноват - это мы его сделали астматиком или заставили пробежаться перед началом передачи.

Рисунок 37 - Сигналограммы входного и обработанного в АРУР сигналов на небольшом временном интервале

. Контрольное прослушивание

В заключение анализа результатов работы АРУР проведите контрольное прослушивание и убедитесь, что ваши объективные предсказания об изменениях в сигнале совпадают с реальностью.

5.2 Анализ результатов работы системы шумоподавления

1. Создание шумоподобного сигнала

Как следует из материалов раздела 4, системы шумоподавления достаточно многообразны, тем не менее большинство из них может быть смоделировано в среде редактора COOL. К таким системам относятся: предварительная и восстановительная частотная коррекция, компандерные системы, многополосные компандерные системы, системы DNL и ряд других.

Как отмечалось выше, наиболее перспективными системами шумоподавления являются интеллектуальные, в которых распознается информационный сигнал и из него устраняется шумовой, сформированный по отдельно собранным признакам. Пример такого шумоподавителя использован в редакторе COOL. Для работы с ним в опции Transform найдите меню Noise Reduction.

Прежде чем приступить к работе со звуковым сигналом, выделите в нем фрагмент, не содержащий собственно информационного сигнала. Подведите указатель мыши к позиции, соответствующей началу (или концу) фрагмента, и нажмите левую кнопку. Не отпуская кнопку, подведите указатель мыши к концу (или началу) фрагмента, а затем отпустите кнопку. Как только вы щелкнете левой кнопкой мыши по сэмплу, весь труд по выделению звукового фрагмента пропадет. Чтобы этого не произошло, воспользуйтесь правой кнопкой мыши, подведя ее к значку  и нажав на Insert in Cue List.

Далее следует наложить на исходный сигнал белый шум. Для этого шумовой сигнал необходимо сформировать. Создав новый файл, в нем с помощью функции Generate Noise выберите белый (White) шум (рисунок 38).

Сформированный шумовой сигнал необходимо сначала выделить, щелкнув два раза по нему левой кнопкой мыши, а затем - копировать (Edit Сору). Открыв далее исходный семпл, с помощью команды Mix Paste наложим на него шум.

2. Определение статистических свойств сигнала

Очевидно, что чем больше информации имеется о статистических свойствах шума, тем эффективнее процедура шумоподавления. Откуда взять эту информацию? Функция Noise Reduction напоминает сыскную собаку, которой нужен образец запаха. А редактору Cool Edit нужен образец шума!

Прежде чем вызывать окно шумоподавления, вернемся в главное окно программы и выделим фрагмент сэмпла, не содержащий

полезной информации, нажав левой кнопкой мыши на значок ■■. Желательно, чтобы этот фрагмент был подлиннее - в этом случае программа получит больше статистической информации о шуме. Теперь следует вызывать Noise Reduction. В результате, программа будет считать, что показанный ей фрагмент содержит только шум.

Далее нажмите кнопку Get Noise Profile from Selection. Произойдет сбор информации о шуме (рисунок 39).

Характеристики шума можно сохранить в файле, воспользовавшись кнопкой Save Profile. Теперь, если в будущем необходимо будет очистить сэмпл от шума, который записан в той же шумовой обстановке, что и нынешний, достаточно нажать кнопку Load Profile и загрузить соответствующий файл.

Для создаваемых файлов с данными о шуме нужно задать количество выборок (Number of Statistical Snapshots in Profile).

Используемые команды: Remove Noise - убрать шум; Keep Only Noise - убрать полезный сигнал и оставить только шум.

3. Запись фрагмента речевого сигнала и создание зашумленного речевого сигнала

Рассмотрим далее работу системы шумоподавления на примере обработки речевого сигнала. Для этого запишем отрезок PC (рисунок 40,а), затем сформируем в опции Generaite шумовой сигнал (рисунок 40,6) и смешаем их в опции Edit, MixPast (рисунок 40,в).

4. Анализ работы шумоподавителя на речевом сигнала

Соберем далее информацию о шуме в паузе сигнала и попытаемся его устранить.

Работа шумоподавителя индицируется на панели интерфейса (рисунок 41).

После шумоподавителя (рисунок 42) речь все равно остается немного искаженной. Очевидно, что вместе с шумом устранены ВЧ шумовые согласные, спектр которых близок к спектру белого шума.

5. Анализ работы шумоподавителя на музыкальном сигнале

Оценим далее работу системы шумоподавления на примере обработки музыкального сигнала (рисунок 43).

После системы шумоподавления музыкальный сигнал остается практически таким же, как и до смешивания его с белым шумом. В этом случае шумоподавитель работает хорошо.

6. Анализ работы шумоподавителя на других типах шумов

Проверьте эффективность работы системы шумоподавления на других типах шумов, а также на селективных тональных помехах.

6. Контрольные вопросы

1. Почему необходимо автоматическое регулирование уровня сигнала звукового вещания в трактах канала звукового вещания?

. Какие виды амплитудной обработки используются современными АРУР?

. Из каких соображений выбираются временные характеристики автоматических регуляторов уровня?

. Как изменяются электроакустические свойства сигнала звукового вещания после его обработки с помощью АРУР?

. Каковы величины сигналов придыхания дикторов центрального радио до и после обработки с помощью АРУР?

. В чем преимущества формирования сигнала управления АРУР с использованием гильбертовой огибающей сигнала?

. Как оценивается эффективность систем шумоподавления, какой субъективный выигрыш можно получить, используя системы Долби?

. Какое объективное увеличение помехозащищенности можно получить, используя неискажающее компандирование в канале передачи?

. Какие динамические диапазоны принимаемого сигнала предпочитают потребители при разных условиях прослушивания?

. Почему неискажающие системы компандирования не выдерживают конкуренции с системами шумопонижения Долби?

Литература

1. Алябьев С.И., Воднев В.А, Попов О.Б. Цифровая передача и обработка сигналов ЗВ в трактах формирования и первичного распределения программ: Учебное пособие // МИС. - М., - 1989. - 82 с.

. Дворецкий И.М., Дриацкий И.Н. Цифровая передача сигналов звукового вещания. - М.: Радио и связь, 1987. - 192 с.

. Звуковое вещание / А.В.Выходец и др., под. Ред. Ю.А. Ковалгина: Справочник. - М.: Радио и связь, 1993. - 464 с.

. Ковалгин Ю.А., Вологдин Э.И. Цифровое кодирование звуковых сигналов. - СПб: КОРОНА-принт, 2004. - 240 с.

. Шкритек П. Справочное руководство по звуковой схемотехнике: Пер. с нем. - М.: Мир, 1991. - 446 с.

4. Разработка мероприятий по обеспечению безопасности жизнедеятельности при работе на ПК

.1 Постановка задачи

Темой данной выпускной квалификационной работы является разработка лабораторного практикума, предназначенного для использования при подготовке и выполнении лабораторной работы «Обработка сигналов в канале звукового вещания» по дисциплине «Аудиотехника», предназначенного для изучения теоретических вопросов и приобретения практических навыков оценки результатов обработки сигнала в канале звукового вещания.

В процессе выполнения и обработки исследований было задействовано следующее оборудование, представляющее потенциальную опасность: персональный компьютер с монитором.

.2 Анализ вредных и опасных факторов и особенности защиты от них

Большая часть исследований и обработки результатов в рамках данной дипломной работы проводилась исключительно в процессе работы с персональным компьютером.

Персональный компьютер представляет опасность как электрический прибор, работающий от сети переменного тока. Кроме того вредное воздействие на зрительный анализатор человек происходить при не правильном исполнении отображаемой информации. Графические данные монитора персонального компьютера должны соответствовать ГОСТ Р 50948-96 «Средства отображения информации индивидуального пользования. Общие эргономические требования и требования безопасности».

При работе с компьютером человек подвергается воздействию ряда опасных и вредных производственных факторов: электромагнитных полей (диапазон радиочастот: ВЧ, УВЧ и СВЧ), инфракрасного и ионизирующего излучений, шума и вибрации, статического электричества и др.

Работа с компьютером характеризуется значительным умственным напряжением и нервно-эмоциональной нагрузкой операторов, высокой напряженностью зрительной работы и достаточно большой нагрузкой на мышцы рук при работе с клавиатурой ЭВМ. Большое значение имеет рациональная конструкция и расположение элементов рабочего места, что важно для поддержания оптимальной рабочей позы человека-оператора.

В процессе работы с компьютером необходимо соблюдать правильный режим труда и отдыха. В противном случае у персонала отмечаются значительное напряжение зрительного аппарата с появлением жалоб на неудовлетворенность работой, головные боли, раздражительность, нарушение сна, усталость и болезненные ощущения в глазах, в пояснице, в области шеи и руках.

Вредные и опасные факторы при работе с персональным компьютером.

При выполнении работ на персональном компьютере (ПК) согласно ГОСТ 12.0.003-74 “ССБТ. Опасные и вредные производственные факторы. Классификация” могут иметь место следующие факторы:

повышенная температура поверхностей ПК;

повышенная или пониженная температура воздуха рабочей зоны;

выделение в воздух рабочей зоны ряда химических веществ;

повышенная или пониженная влажность воздуха;

повышенный или пониженный уровень отрицательных и положительных аэроионов;

повышенное значение напряжения в электрической цепи, замыкание;

повышенный уровень статического электричества;

повышенный уровень электромагнитных излучений;

повышенная напряженность электрического поля;

отсутствие или недостаток естественного света;

недостаточная искусственная освещенность рабочей зоны;

повышенная яркость света;

повышенная контрастность;

прямая и отраженная блескость;

зрительное напряжение;

монотонность трудового процесса;

нервно-эмоциональные перегрузки.

Для существенного уменьшения боли и неприятных ощущений, возникающих у пользователей ПК, необходимы частые перерывы в работе и эргономические усовершенствования, в том числе оборудование рабочего места так, чтобы исключать неудобные позы и длительные напряжения (подробно это будет описано в пункте 6.3).

.3 Санитарно-гигиенические условия труда

Гигиенические требования к микроклимату на рабочих местах установлены стандартом ГОСТ 12.1.005-88 "Общие санитарно-гигиенические требования к воздуху рабочей зоны", СанПиН 2.2.4.548 - 96. Гигиенические требования к микроклимату производственных помещений.

Метеорологические условия (или микроклимат) характеризуются следующими параметрами:

)температура, t, oC;

)относительная влажность j, %;

)скорость движения воздуха на рабочем месте V (м/с).

Кроме того необходимо учитывать атмосферное давление Р, которое влияет на парциальное давление основных компонентов воздуха (кислород и азот), а, следовательно, на процесс дыхания.

На рабочем месте должны поддерживаться необходимые приемлемые параметры микроклимата. Температуру в помещении следует регулировать с учетом тепловых потоков от оборудования. В помещении должна присутствовать вентиляция воздуха.

Содержание вредных веществ в воздухе рабочей зоны не должно превышать максимально разовых и среднесменных ПДК, установленных ГОСТ 12.1.005 - 88. Общие санитарно-гигиенические требования к воздуху рабочей зоны.

Еще одним вредным фактором, особенно при работе с персональным компьютером является шум. Шум ухудшает условия труда, оказывает вредное действие на организм человека. При длительном воздействии шума на организм происходят нежелательные явления: снижается острота зрения и слуха, повышается кровяное давление, снижается внимание. Сильный продолжительный шум может быть причиной функциональных изменений сердечно-сосудистой и нервной систем. Требования к уровням шумов устанавливаются стандартом ГОСТ 12.1.003-83 Шум. Общие требования безопасности (с изменением №1), СН 2.2.4/2.1.8.562 - 96. Шум на рабочих местах, в помещениях жилых и общественных зданий и на территории жилой застройки.

Требования к освещению помещений устанавливает СниП 23-05-95 Естественное и искусственное освещение. На рабочем месте необходимо обеспечивать возможно большую равномерность яркости, исключая наличие ярких и блестящих предметов, для снижения монотонности в поле зрения рекомендуется отдельные пестрые поверхности.

Для предотвращения образования и защиты от статического электричества согласно «ГОСТ 12.1.045-84 (2001) ССБТ. Электростатические поля. Допустимые уровни на рабочих местах» необходимо использовать нейтрализаторы и увлажнители, а полы должны иметь антистатическое покрытие. Допустимые уровни напряженности электростатических полей не должны превышать 20 кВ в течение 1 часа.

Для работы с персональным компьютером существует специальный стандарт: СанПиН: 2.2.2.542-96 "Гигиенические требования к ВДТ и ПЭВМ. Организация работы". Видеотерминальное устройство должно отвечать следующим техническим требованиям:

яркость свечения экрана - не менее 100 кд/м2;

минимальный размер светящейся точки - не более 0,4 мм для монохромного дисплея и не более 0,6 мм - для цветного;

контрастность изображения знака - не менее 0,8;

частота регистрации изображения при работе с позитивным контрастом в режиме обработки текста - не менее 72 Гц;

количество точек на строке - не менее 640;

низкочастотное дрожание изображения в диапазоне 0,05-1,0 Гц должно находиться в пределах 0,1 мм;

экран должен иметь антибликовое покрытие;

размер экрана должен быть не менее 31 см по диагонали, а высота символов на экране не менее 3,8 мм, при этом расстояние от газ оператора до экрана должно быть в пределах 40-80 см.

.4 Требования к оборудованию рабочих мест

Рабочее место должно удовлетворять «ГОСТ 12.2.032-78 ССБТ. Рабочее место при выполнении работ сидя. Общие эргономические требования.» и «ГОСТ Р 50923-96. Дисплеи. Рабочее место оператора. Общие эргономические требования и требования к производственной среде» при работе за персональным компьютером.

Рабочее место должно быть спланировано так, чтобы работать за компьютером было не только интересно, но и удобно. Если невозможно выделить для компьютера специальную комнату, то отдельный стол для него просто необходим. Кроме того, может понадобиться небольшой дополнительный столик или тумбочка для печатающего устройства (принтера). Нельзя устанавливать компьютер рядом с батареей центрального отопления.

В соответствии с эргономическими требованиями для работы с компьютером необходим стол с регулируемой высотой рабочей поверхности и выдвижной подставкой для клавиатуры. Дело в том, что монитор должен размещаться выше поверхности, на которой установлена клавиатура. Специальные кронштейны для мониторов позволяют обычный письменный стол использовать как по его прямому назначению, так и для работы с компьютером.

Центр экрана монитора должен находиться примерно на уровне глаз, а расстояние между глазами и плоскостью экрана составлять не менее 40 - 50 см. Желательно, чтобы прямой солнечный свет не попадал на экран. По отношению к сидящему за столом окно, по возможности, должно быть слева или спереди. От яркого света следует защититься плотными шторами на окнах. Однако смотреть на экран монитора (как и на экран телевизора) в полной темноте не рекомендуется, необходим дополнительный источник рассеянного света (можно включить люстру, настольную лампу).

4.5 Защита от поражений электрическим током

Значительное количество несчастных случаев от поражения электрическим током связано с тем, что нарушается изоляция электроприемников. Для защиты людей от поражения электрическим током при повреждении изоляции должна быть применена, по крайней мере, одна из следующих защитным мер: заземление, зануление, защитное отключение, разделительный трансформатор, малое напряжение, двойная изоляция, выравнивание потенциалов.

Персональный компьютер (PC: материнская плата P7Q57-М, процессор Intel (R) Core (TM) i7 870, видеокарта Palit NVIDIA GeForce GTX 560 Ti), монитор (TFT 23,6" Acer GD245HQbid) и специализированные 3D активные затворные очки (NVIDIA GeForce 3D Vision Kit), использовавшиеся при работе над данным дипломом, полностью соответствуют всем стандартам безопасности (ГОСТ Р 50948-96. Средства отображения информации индивидуального пользования. Общие эргономические требования и требования безопасности).

4.6 Пожарная безопасность

Согласно ГОСТ 12.1.004-91 (1999) ССБТ. Пожарная безопасность. Общие требования <http://www.tehdoc.ru/files.725.html> и ГОСТ 12.4.009-83 ССБТ. Пожарная техника для защиты объектов. Основные виды.


Не нашли материал для своей работы?
Поможем написать уникальную работу
Без плагиата!
Без нейросетей!