Информационное обеспечение деятельности предприятия 'ЕАЕ-Консалт'

  • Вид работы:
    Отчет по практике
  • Предмет:
    Информационное обеспечение, программирование
  • Язык:
    Русский
    ,
    Формат файла:
    MS Word
    337,37 Кб
  • Опубликовано:
    2012-07-06
Вы можете узнать стоимость помощи в написании студенческой работы.
Помощь в написании работы, которую точно примут!

Информационное обеспечение деятельности предприятия 'ЕАЕ-Консалт'

Введение


Точкой становления информатики как новой индустрии в середине XX в. стало создание компьютеров - универсальных электронных вычислительных машин. Основной возможностью этих машин стала автоматическая обработка информации с помощью специально создаваемых программ. Переработка информации перестала быть исключительной способностью людей и живых существ. На первых же моделях вычислительных машин были созданы и заработали первые модели искусственного интеллекта, являвшегося основной особенностью живых существ.

В это же время были заложены основы информатики как научной дисциплины. Информатика как наука изучает принципы и методы накопления, обработки и передачи информации в ЭВМ и в сети Интернет. Одной из основных проблем информатики считается проблема создания и развития систем искусственного интеллекта как новой формы разума.

Системы искусственного интеллекта - это компьютерные программы и системы, моделирующие или воспроизводящие интеллектуальную деятельность. При этом под интеллектуальной деятельностью понимаются способности производить логические умозаключения и осмысленную переработку информации. Если интеллектуальная деятельность людей основывается на законах логики, то работа любых программ на ЭВМ основана исключительно на законах математической логики. Знание этих законов позволяет в принципе понимать логику работы любых программ и компьютерных систем.

Фундамент информатики как научной дисциплины образуют вычислительные науки, изучающие организацию вычислительных процессов, вычислительных машин, систем и сетей. Компьютеры первого поколения создавались именно как электронные вычислительные машины для автоматизации сложнейших вычислений. В этот период зародилась профессия программистов - создателей программ для ЭВМ и появились первые языки программирования.

Целью прохождения практики является ознакомление с методами работы по профилю, а так же закрепление всех полученных знаний на практике.

Краткая характеристика объектов практики

 

О компании


Общество с ограниченной ответственностью «ЕАЕ-Консалт» было создано в 2011г, на базе существующего филиала Лукоил-Информ. «ЕАЕ-Консалт» является головной организацией по информационно-технологическому обеспечению деятельности Группы «ЛУКОЙЛ». В его задачи входит разработка, внедрение и сопровождение информационных систем в вертикально-интегрированной нефтяной компании «ЛУКОЙЛ», систем управления производством и технологическими процессами, обеспечение корпоративной информационной безопасности, развитие и обслуживание телекоммуникационной инфраструктуры. «ЛУКОЙЛ-ИНФОРМ» - один из крупнейших операторов связи России на информационно-технологическом рынке услуг, сотрудничающий с ведущими мировыми компаниями в этой области.

 

Региональная сеть


Головной офис «ЕАЕ-Консалт» находится в Москве, по России имеется 6 филиалов в различных регионах. Сеть региональных филиалов сформирована таким образом, чтобы в ключевых нефтегазоносных районах РФ и в регионах, где расположены предприятия переработки и сбыта нефтепродуктов, а также предприятия электроэнергетики, компания «ЕАЕ-Консалт» могла предоставить весь комплекс услуг по внедрению и обеспечению бесперебойной работы информационных систем наших заказчиков.

Профиль деятельности


Филиал осуществляет информационно-технологическое обеспечение деятельности предприятий Группы «ЛУКОЙЛ» в Северо-Западном федеральном округе: в Республике Коми и Архангельской области, включая Ненецкий автономный округ. Филиал обслуживает предприятия по следующим направлениям: интегрированные системы управления (ИСУ); создание и поддержка АСУ ТП, АСУП и КИПиА; локальные информационные системы; вычислительная и оргтехника; телекоммуникации и связь; информационная безопасность; информационное обеспечение.

Основными клиентами филиала являются:

Предприятия добычи

·              ЗАО ЛУКОЙЛ-АИК

·              ООО ЛУКОЙЛ-Волгоград

·              ООО ЛУКОЙЛ-Западная Сибирь

·              ООО ЛУКОЙЛ-Коми

·              ООО ЛУКОЙЛ-Нижневолжскнефть

·              ООО ЛУКОЙЛ-ПЕРМЬ

·              ООО ЛУКОЙЛ-Приморьенефтегаз

·              ООО ЛУКОЙЛ-Флот

·              ООО НМНГ-МНА

·              ОАО Российская инновационная топливно-энергетическая компания (РИТЭК)

·              ЗАО ТУРСУНТ

·              ОAО УралОйл

Переработка нефти и газа

·              Petrotel-LUKOIL SA

·              ООО ЛУКОЙЛ-Волгограднефтепереработка

·              ООО ЛУКОЙЛ-КГПЗ

·              ООО ЛУКОЙЛ-Нижегороднефтеоргсинтез

·              ПАО ЛУКОЙЛ-Одесский НПЗ

·              ООО ЛУКОЙЛ-Пермнефтеоргсинтез

·              ОOО ЛУКОЙЛ-Ухтанефтепереработка

·              ООО Пермнефтегазпереработка

Сервисные предприятия

·              ЗАО Архангельскгеолразведка

·              ОАО Архангельскгеолдобыча

·              ОАО Варандейский терминал

·              ООО КогалымНИПИнефть

·              ООО ЛУКОЙЛ-ВолгоградНИПИморнефть

·              ООО ЛУКОЙЛ-Инжиниринг

·              ООО ЛУКОЙЛ-ИНФОРМ

·              ООО ЛУКОЙЛ-Транс

·              ООО ЛУКОЙЛ - УРЦ Пермь

·              ООО ЛУКОЙЛ-УРЦ Волгоград

·              ЗАО ЛУКОЙЛ-Черноморье

·              ООО ПечорНИПИнефть

·              ОАО РПК-Высоцк-ЛУКОЙЛ-II

·              ООО «Торговый дом «ЛУКОЙЛ».

Электроэнергетика

·              ОАО Астраханская энергосбытовая компания

·              ООО ТД Энергосервис

·              ООО ЛУКОЙЛ-Экоэнерго

·              ООО ЛУКОЙЛ-ЭНЕРГОСЕТИ

·              ООО ЛУКОЙЛ-ЦУР

·              ООО ЛУКОЙЛ-Астраханьэнерго

·              ООО ЛУКОЙЛ-Ростовэнерго

·              ООО ЛУКОЙЛ-Волгоградэнерго

·              ООО ЛУКОЙЛ-Кубаньэнерго

·              ООО ЛУКОЙЛ-ТТК

·              ООО ЛУКОЙЛ-Энергоинжиниринг.

Документооборот, обслуживание пользователей


В Усинском филиале «ЕАЕ-Консалт» существует множество систем по контролю документооборота, разработки приложений, а также поддержки пользователей.

HP Open View Service Desk - Комплексное решение для организации процесса сервисного обслуживания по заявкам в масштабах предприятия.

Комплексное решение задачи технического (сервисного) обслуживания, которое управляет всеми аспектами деятельности сервисной службы компании. Система автоматически упрощает идентификацию, отслеживание и разрешение проблем пользователей. Интеграция с системами управления вычислительными ресурсами предоставляет широкие функциональные возможности и гибкость для всей организации управления технологическими процессами.

Решаемые задачи и особенности:

·        Сокращает затраты предприятия. Автоматизируя процесс разрешения проблем, система позволяет персоналу по техническому обслуживанию повышать производительность работ и уменьшать затраты на их выполнение.

·        Улучшает качество выполнения работ. Предоставляет актуальную и полную информацию, а также инструменты для эффективной работы персонала службы технической поддержки.

·        Помогает конечным пользователям самостоятельно решать проблемы при помощи накопленных знаний и удобного в работе web-интерфейса.

·        Совершенствует исполнение обязательств перед заказчиком. Обеспечивает руководящий состав средствами обратной связи с заказчиками, а также средствами контроля уровня предоставленного сервиса.

·        Увеличивает производительность технических специалистов, добавляя мобильность техническому персоналу. Используя систему, технические специалисты всегда готовы разрешать возникающие проблемы дистанционно.OpenView Service Desk построен на рекомендациях стандарта ITIL и занимает лидирующее положение на мировом рынке ПО для автоматизации работ сервисной службы.

В соответствии с принятой терминологией ITIL, продукт позволяет автоматизировать ряд процессов: Change & configuration management, incident & problem management, Service level management.

Сертифицированные на соответствие требованиям ITIL продукты позволяют автоматизировать следующие задачи:

·        Управление конфигурациями;

·        Управление обращениями пользователей;

·        Управление проблемами;

·        Управление изменениями;

·        Управление работами;

Результатом внедрения HP OpenView Service Desk будет система, представляющая собой современную программную среду для организации процесса сервисного обслуживания по заявкам и позволяющая обеспечить четкое определение целей и задач процесса сервисного обслуживания, а также формальных правил его исполнения. Она позволит управлять обработкой заявок (инцидентов) и обращений от пользователей и вести учет информации, необходимой для улучшения их обслуживания. Система будет автоматизировать процессы идентификации и отслеживания процесса решения, как простых вопросов, так и сложных проблем, с которыми пользователи обращаются в сервисную службу, вместе с тем в ней будут простые инструменты для эффективного управления ежедневной работой аналитиков (экспертов), технических специалистов и администраторов, занимающихся решением проблем пользователей организации.

Настроенная система будет обеспечивать выполнение следующих действий в рамках процесса:

·        Регистрацию заявок (обращений пользователей);

·        Изменение статуса заявок;

·        Классификацию заявок;

·        Приоритизацию заявок;

·        Установку сроков обработки заявок на основе единого уровня обслуживания пользователей;

·        Диспетчеризацию заявок в различные группы ИТ-специалистов;

·        Контроль сроков обработки заявок (время регистрации, время назначения, общий период обработки заявки, время закрытия заявки);

·        Возможность документирования хода решения (хода выполнения работ) по заявкам;

·        Закрытие заявок;

·        Создание нарядов на работу для специалистов ИТ-подразделений организации;

·        Изменение статуса нарядов на работу, согласно разработанному процессу;

·        Типизацию (классификацию) нарядов;

·        Приоритизацию нарядов;

·        Контроль сроков обработки нарядов;

·        Закрытие нарядов.

Типичный процесс работы сервисной службы

На рисунке показан жизненный цикл прохождения заявки через сервисную службу.

Описание технологии решения на базе HP OpenView Service Desk:

Прием телефонных звонков

Центральное место в технической поддержке занимает работа с обращениями клиентов в службу поддержки и учет инцидентов. Первоочередная задача при осуществлении общего руководства в области информационных технологий - максимальное удовлетворение требований конечного пользователя, и HP OpenView Service Desk предлагает ряд возможностей, которые позволяют улучшить взаимодействие с клиентом.

Обработка телефонных обращений

Программа позволяет персоналу первого уровня поддержки быстро разрешать вопросы, ставшие причиной обращений, или передавать их решение на второй уровень. Интеграция инструментальных средств Service Desk предоставляет специалисту первого уровня поддержки удобный доступ к любой необходимой информации, например, об известных происшествиях, проблемах или изменениях, связанных с конкретными компонентами инфраструктуры. Благодаря этому увеличивается число устраняемых по первому обращению проблем, что повышает производительность и конечного пользователя и персонала поддержки.

Управление инцидентами

Инцидент - это информация о сбое в ИТ-инфраструктуре. Для минимизации негативных последствий таких сбоев обеспечивается двунаправленная интеграция HP Service Desk с другими технологическими компонентами HP OpenView, в результате чего информация о событиях быстро и точно передается всем сторонам, которые в ней нуждаются. Поступление информации о происшествиях в Service Desk обеспечивает их обработку в надлежащем порядке, определяемом приоритетами.

Управление работами

Обращения в службу поддержки, инциденты, проблемы и изменения часто требуют выполнения огромного объема работы с документами.

Наряд на работу - это форма, используемая для планирования, распределения и проверки исполнения. HP OpenView Service Desk обеспечивает полную обработку и отслеживание этих форм для максимально быстрого и правильного выполнения работ. Планируемые затраты, предельную дату завершения и максимальное время на выполнение задания вносится в наряд Service Desk инициатором работы. По мере продвижения работы вы можете обновлять наряд, отражая реальное время и дату завершения, любые понесенные издержки и другие сведения. Service Desk обеспечивает просмотр состояния каждого наряда и позволяет по мере необходимости вносить уточнения в запланированные мероприятия. Отчеты о завершенной или еще выполняемой работе предоставляются в различных формах.

Исполнитель наряда может поменяться. Если специалист, которому была поручена работа, не может ее завершить в срок, она может быть перепоручена другому лицу или возвращена инициатору наряда. Service Desk автоматически создает архивные записи каждый раз, когда изменяется состояние наряда. В них указывается, кто произвел изменения и когда это произошло. Просматривая строки архива, всегда можно определить текущее состояние дел.

Управление изменениями

Управление изменениями приобретает все большую важность по мере ускорения внедрения новых технологий. В рамках HP OpenView Service Desk управление изменениями связывает операции календарного планирования, предварительной оценки, реализации и окончательного тестирования изменений информационной инфраструктуры.

В процессе управления изменениями основное внимание уделяется не столько средствам, используемым для внесения фактических изменений, сколько инструментам для управления информацией об изменениях и их последствиях для производственной среды. Практически невозможно успешно управлять сложной информационной инфраструктурой, если у операторов нет новейшей информации об ис­пользуемом в данный момент программном и аппаратном обеспечении.

Соблюдение баланса между запросами заказчиков и необходимым обслуживанием систем имеет решающее значение в управлении изменениями. Для выполнения этого условия Service Desk предлагает Outage Planning (планирование перерывов в работе). Используя Outage Planning, можно задавать плановое время простоя элементов конфигурации и служб. Перерыв в работе может быть связан с профилактическими мероприятиями, такими как техническое обслуживание сервера, или с форс-мажорными обстоятельствами, например, с перерывами в подаче электроэнергии.

Управление конфигурациями

OpenView Service Desk отслеживает и контролирует элементы конфигурации (например, компоненты аппаратного обеспечения) в течение всего срока их службы. Наряду с предоставлением информации другим процессам, таким как анализ проблем и управление изменениями, управление конфигурациями, обеспечивает также простой доступ к информации о договорах на оказание услуг, а также о связях между элементами конфигурации и относящимися к ним организационными вопросами.

Управление на основе соглашения об уровне обслуживания (SLA)

В основе эффективного управления на основе SLA (Service Level Agreement) лежит четкое понимание зависимости различных служб, лежащих в основе информационной инфраструктуры. HP OpenView Service Desk включает расширения, которые помогают оператору сориентироваться благодаря:

·        Отображению служб в группах по типам;

·        Возможности иерархической классификации служб, точно описывающей зависимости между ними.OpenView Service Desk помогает в предоставлении и документировании услуги в соответствии с обязательствами, заявленными в соглашении SLA. С его помощью легко составить таблицы, описывающие время, потраченное на решение различных пользовательских проблем. Максимальное время на оказание поддержки зависит от гарантированного уровня обслуживания, для его соблюдения учитывается момент поступления запроса и расписание работы информационной службы. Каждому обращению в службу поддержки автоматически присваивается приоритет в зависимости от уровня обслуживания и степени серьезности обращения. При вычислении допустимых сроков обслуживания учитываются:

·        Соглашение об уровне обслуживания, заключенное с клиентом;

·        Степень серьезности обращения и последствия выбора определенного приоритета для данного уровня обслуживания.

Представления баз данных дают возможность быстрой интеграции для создания необходимых вам документов, настроенных под конкретного заказчика, например, в виде отчетов об уровне обслуживания, таблиц с показателями работы информационной службы и отчетов об управлении изменениями.

Максимальная гибкость

Простота использования и гибкость - центральные моменты архитектуры Service Desk. Интуитивно-понятный интерфейс пользователя, подобный интерфейсу Microsoft Outlook, предоставляет легко воспринимаемую информацию в знакомом виде, что существенно облегчает обучение конечных пользователей. Развертывание и обновление без остановки приложения, а также простота настройки приносят дополнительную выгоду, сокращая за­траты на администрирование и время развертывания справочной службы.

Функции Lotus Notes/Domino в корпорацииNotes/Domino выполняет 4 основные функции в корпорации:

. Корпоративная электронная почта.

. Автоматизация задач документоориентированного типа.

. Транспортная информационная система.

. Web - решения.

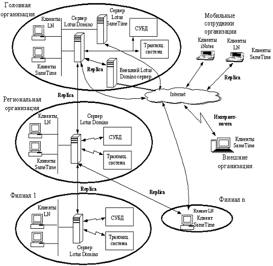
Единая инфраструктура Lotus Notes/Domino в организации


). Корпоративная электронная почта

Внедрение технологии Lotus Notes/Domino оправдано даже когда она используется в качестве корпоративной системы электронной почты.

Эта система может быть охарактеризована, как надежная, масштабируемая, защищенная и управляемая. Существуют организации, в которых более 100 и даже 200 тысяч сотрудников объединены системой передачи сообщений Lotus Domino. Это означает, что, при расширении вашей организации, инфраструктура Lotus Domino также может быть расширена и Вы не натолкнётесь на технические ограничения. Что касается защищенности, то Domino предлагает самую мощную на сегодняшний день систему защиты для почты в Internet.

Помимо электронной почты, Lotus Domino содержит тесно интегрированные с ней системы группового календаря и планирования.

Многие компании начинают построение инфраструктуры электронной почты с внедрения MS Exchange. Однако по мере увеличения масштабов внедрения и выявления потребностей в автоматизации задач групповой работы часть из таких компаний начинают переход к Lotus Domino. Для этого разработаны специальные процедуры миграции с MS Exchange на Lotus Domino. Компания КСК накопила большой опыт для выполнения миграций в больших корпорациях.

Схема миграции может быть представлена следующим образом

искусственный интеллект пользователь документооборот

2). Автоматизация задач документоориентированного типа

Сердцем Lotus Notes /Domino является хранилище объектов, известное как NSF (Notes Storage Facility). Основной единицей хранения данных является отдельный документ, а его структура определяется формой, содержащей в себе набор полей различных типов. Например, документ, относящийся к обслуживанию клиентов, может содержать в себе дату, имя клиента, идентификационный номер клиента, имя оператора, текстовое поле для описания запроса клиента, а также поле статуса запроса. Notes использует индексированные представления для отображения списков документов, навигаторы и полнотекстовые индексы для поиска документов, а также агенты для автоматизации бизнес процессов.

Другим основополагающим механизмом Lotus Notes /Domino является механизм репликаций, решающий две основные задачи:

поддержка территориально-распределенной работы (синхронизация данных и приложений);

поддержка работы мобильных пользователей (синхронизация почты, данных и приложений).

Репликация в Lotus Notes /Domino уникальна по своей функциональности и степени гранулированности: она выполняется на уровне отдельных полей и гибко настраиваема. Она характеризуется следующими свойствами: двунаправленностью; выборочностью; репликацией между серверами и между серверами и клиентами; репликацией данных и дизайна приложения. Кроме того, репликация может осуществляться по различным коммуникационным каналам: от обычных городских телефонных линий до высокоскоростных локальных (глобальных) сетей.

Совместно механизм рекпликации и почта Notes образуют интегрированную систему передачи сообщений Lotus Notes /Domino, которая выступает основой для построения приложений автоматизации потоков работ и документооборота (workflow).

Используя интегрированную систему передачи сообщений, базы данных документов и встроенные средства разработки заказчики и разработчики приложений получают мощную платформу для разработки систем документоориентированного типа.

Компания КСК разработала и предлагает на рынке систему документооборота KCK DocLogic. DocLogic построена по модульному принципу. Более подробное описание DocLogic приведено ниже.

Компания КСК является ведущей российской компанией в области корпоративных проектов на базе Lotus Notes/Domino и разработки заказных приложений. Компания выполнила большое количество проектов для зарубежных и российских заказчиков.

). Транспортная информационная системаNotes/Domino обладает возможностями по обмену данными с другими информационными системами. С этой целью Lotus разработал целый спектр технологий интеграции, часть из которых встроена в Lotus Notes/Domino, а часть реализована в виде самостоятельных продуктов. В число продуктов и технологий интеграции входят:

библиотека LotusScript Data Object - набор классов, методов, свойств и событий LotusScript, обеспечивающих доступ к реляционным и традиционным базам данных с использованием ODBC;

встроенная технология Domino Enterprise Connector Services (DECS), которая позволяет без программирования создавать приложения, объединяющие в себе данные Domino и СУБД;

Lotus Enterprise Integrator (LEI)- отдельный сервер, позволяющий администраторам централизованно планировать и проводить массовый обмен данными в режиме периодической синхронизации или транзакций между Lotus Domino и СУБД, включая семейство IBM DB2, Oracle, Sybase, Microsoft SQL и другие совместимые с ODBC базы данных;

коннекторы Domino Connectors, позволяющие обеспечить обмен информацией между Domino-приложениями и системами управления ресурсами предприятия (ERP), мониторами транзакций и службами каталогов.

Перечисленные выше возможности по интеграции совместно с мощным механизмом репликаций (особенно на низкоскоростных сетях) дают полное основание использовать Domino в качестве первоклассного программного обеспечения промежуточного слоя (middleware) или транспортной системы.

Программное обеспечение


В «ЕАЕ-Консалт» используется практически все наиболее популярные программные продукты. В качестве рабочей ОС используется Windows XP Corporate Edition, Windows 7 Corporate Edition, openSUSE.

В базовый пакет устанавливаемого ПО входят:

·        Microsoft office 2003 (для моделей HP Compaq младше 7300).

·        Microsoft office 2010 (для ПК с Windows 7).

·        Adobe Acrobat Reader.

·        WinRAR.

·        7zip.

·        Radmin Server.

·        File Format Converter (Для сохранения совместимости между 2003, 2007, 2010 пакетами MS Office).

·        Internet Explorer 8.

·        Пакет обновлений для поправки часовых поясов.

Также может быть установлено любое дополнительное ПО.

Рабочее место


Рабочее место укомплектовано угловым столом, ящиком для документов, компьютером HP Z200, UPS APC 620, двумя мониторами HP, KVM-переключателем для удобства подключения еще одного пк, а так же разнообразными диагностическими устройствами.

Практическое задание


Перед практикой мне было выдано индивидуальное задание, которое должен был выполнить в течении практики. Задание заключалось в создании программы - теста на определение отношения студента к учебе.

Внешний вид программы:



Программа состоит из четырех форм:

Form1 (главное окно программы),

Form2 (инструкции по прохождению теста),

Form3 (диалоговое окно, с выводом результатов всех пройденных ранее тестов) .

Ниже приведен код программы на Visual Basic.

Form1Class Form1a As Integerd As Integers1 As Integers2 As Integers3 As Integers4 As Integerres As Integerres1 As Stringn1 As Stringn2 As Stringn3 As Stringn4 As Stringgen As Stringlvl As StringSub Form1_Load(ByVal sender As System.Object, ByVal e As System.EventArgs) Handles MyBase.Load.Enabled = False.Text = "Тест по спилбергу | Составитель: Семенов В.П"

Sub

'Проверяем валидацию данныхSub Button1_Click(ByVal sender As System.Object, ByVal e As System.EventArgs) Handles Button1.Click= 0TextBox1.Text = "" Or TextBox2.Text = "" Or TextBox3.Text = "" Or TextBox4.Text = "" Or TextBox1.Text = "Имя" Or TextBox2.Text = "Фамилия" Or TextBox3.Text = "Возраст" Or TextBox4.Text = "Группа" Or (RadioButton5.Checked = False And RadioButton6.Checked = False) Then

MsgBox("Вы должны ввести данные о себе.", vbOKOnly, "Собщение:")

Else.Enabled = False.Enabled = False.Enabled = False.Enabled = False.Enabled = False.Enabled = False.Enabled = False.Text = "Отвечайте на вопросы".Enabled = False

'Определение полаRadioButton5.Checked = True Then gen = "ж"RadioButton6.Checked = True Then gen = "м"= a + 1a = 1 Then.Text = "Я спокоен".Checked = False.Checked = False.Checked = False.Checked = FalseIfIfSub

'Запрещаем начало теста, если не введены данные о себе

Private Sub RadioButton1_CheckedChanged(ByVal sender As System.Object, ByVal e As System.EventArgs) Handles RadioButton1.CheckedChangedTextBox1.Text = "" Or TextBox2.Text = "" Or TextBox3.Text = "" Or TextBox4.Text = "" Or TextBox1.Text = "Имя" Or TextBox2.Text = "Фамилия" Or TextBox3.Text = "Возраст" Or TextBox4.Text = "Группа" Then.Enabled = False.Enabled = True

End IfSub

'Аналогично для остальных кнопок

Private Sub RadioButton2_CheckedChanged(ByVal sender As System.Object, ByVal e As System.EventArgs) Handles RadioButton2.CheckedChangedTextBox1.Text = "" Or TextBox2.Text = "" Or TextBox3.Text = "" Or TextBox4.Text = "" Or TextBox1.Text = "Имя" Or TextBox2.Text = "Фамилия" Or TextBox3.Text = "Возраст" Or TextBox4.Text = "Группа" Then.Enabled = False.Enabled = TrueIfSubSub RadioButton3_CheckedChanged(ByVal sender As System.Object, ByVal e As System.EventArgs) Handles RadioButton3.CheckedChangedTextBox1.Text = "" Or TextBox2.Text = "" Or TextBox3.Text = "" Or TextBox4.Text = "" Or TextBox1.Text = "Имя" Or TextBox2.Text = "Фамилия" Or TextBox3.Text = "Возраст" Or TextBox4.Text = "Группа" Then.Enabled = False.Enabled = TrueIfSubSub RadioButton4_CheckedChanged(ByVal sender As System.Object, ByVal e As System.EventArgs) Handles RadioButton4.CheckedChangedTextBox1.Text = "" Or TextBox2.Text = "" Or TextBox3.Text = "" Or TextBox4.Text = "" Or TextBox1.Text = "Имя" Or TextBox2.Text = "Фамилия" Or TextBox3.Text = "Возраст" Or TextBox4.Text = "Группа" Then.Enabled = False.Enabled = TrueIfSubSub Button2_Click(ByVal sender As System.Object, ByVal e As System.EventArgs) Handles Button2.Click

'Раскладываем ответы на вопросы в свои категории

If RadioButton1.Checked = True And (a = 2 Or a = 6 Or a = 10 Or a = 18 Or a = 22 Or a = 26 Or a = 34) Then

s1 = s1 + 1If

'Обсчет "обратных" вопросов

If RadioButton1.Checked = True And (a = 14 Or a = 30 Or a = 38) Then= s1 + 4IfRadioButton2.Checked = True And (a = 2 Or a = 6 Or a = 10 Or a = 18 Or a = 22 Or a = 26 Or a = 34) Then= s1 + 2IfRadioButton2.Checked = True And (a = 14 Or a = 30 Or a = 38) Then= s1 + 3IfRadioButton3.Checked = True And (a = 2 Or a = 6 Or a = 10 Or a = 18 Or a = 22 Or a = 26 Or a = 34) Then= s1 + 3IfRadioButton3.Checked = True And (a = 14 Or a = 30 Or a = 38) Then= s1 + 2IfRadioButton4.Checked = True And (a = 2 Or a = 6 Or a = 10 Or a = 18 Or a = 22 Or a = 26 Or a = 34) Then= s1 + 4IfRadioButton4.Checked = True And (a = 14 Or a = 30 Or a = 38) Then= s1 + 1IfRadioButton1.Checked = True And (a = 8 Or a = 12 Or a = 16 Or a = 24 Or a = 28 Or a = 36 Or a = 40) Then= s2 + 1IfRadioButton1.Checked = True And (a = 4 Or a = 20 Or a = 32) Then= s2 + 4IfRadioButton2.Checked = True And (a = 8 Or a = 12 Or a = 16 Or a = 24 Or a = 28 Or a = 36 Or a = 40) Then= s2 + 2IfRadioButton2.Checked = True And (a = 4 Or a = 20 Or a = 32) Then= s2 + 3IfRadioButton3.Checked = True And (a = 8 Or a = 12 Or a = 16 Or a = 24 Or a = 28 Or a = 36 Or a = 40) Then= s2 + 3IfRadioButton3.Checked = True And (a = 4 Or a = 20 Or a = 32) Then= s2 + 2IfRadioButton4.Checked = True And (a = 8 Or a = 12 Or a = 16 Or a = 24 Or a = 28 Or a = 36 Or a = 40) Then= s2 + 4IfRadioButton4.Checked = True And (a = 4 Or a = 20 Or a = 32) Then= s2 + 1IfRadioButton1.Checked = True And (a = 5 Or a = 13 Or a = 17 Or a = 21 Or a = 29 Or a = 37) Then= s3 + 1IfRadioButton1.Checked = True And (a = 1 Or a = 9 Or a = 25 Or a = 33) Then= s3 + 4IfRadioButton2.Checked = True And (a = 5 Or a = 13 Or a = 17 Or a = 21 Or a = 29 Or a = 37) Then= s3 + 2IfRadioButton2.Checked = True And (a = 1 Or a = 9 Or a = 25 Or a = 33) Then= s3 + 3IfRadioButton3.Checked = True And (a = 5 Or a = 13 Or a = 17 Or a = 21 Or a = 29 Or a = 37) Then= s3 + 3IfRadioButton3.Checked = True And (a = 1 Or a = 9 Or a = 25 Or a = 33) Then= s3 + 2IfRadioButton4.Checked = True And (a = 5 Or a = 13 Or a = 17 Or a = 21 Or a = 29 Or a = 37) Then= s3 + 4IfRadioButton4.Checked = True And (a = 1 Or a = 9 Or a = 25 Or a = 33) Then= s3 + 1IfRadioButton1.Checked = True And (a = 3 Or a = 7 Or a = 11 Or a = 15 Or a = 19 Or a = 23 Or a = 27 Or a = 31 Or a = 35 Or a = 39) Then= s4 + 1IfRadioButton2.Checked = True And (a = 3 Or a = 7 Or a = 11 Or a = 15 Or a = 19 Or a = 23 Or a = 27 Or a = 31 Or a = 35 Or a = 39) Then= s4 + 2IfRadioButton3.Checked = True And (a = 3 Or a = 7 Or a = 11 Or a = 15 Or a = 19 Or a = 23 Or a = 27 Or a = 31 Or a = 35 Or a = 39) Then= s4 + 3IfRadioButton4.Checked = True And (a = 3 Or a = 7 Or a = 11 Or a = 15 Or a = 19 Or a = 23 Or a = 27 Or a = 31 Or a = 35 Or a = 39) Then

s4 = s4 + 4If

'Сбрасываем нажатую кнопку при каждом новом вопросе= a + 1a = 2 Then.Text = "Мне хочется узнать, понять, докопаться до сути"

RadioButton1.Checked = False.Checked = False.Checked = False.Checked = False.Enabled = FalseIfa = 3 Then.Text = "Я разъярен".Checked = False.Checked = False.Checked = False.Checked = False.Enabled = False

End Ifa = 4 Then.Text = "Я падаю духом, сталкиваясь с трудностями в учебе"

RadioButton1.Checked = False.Checked = False.Checked = False.Checked = False.Enabled = FalseIfa = 5 Then.Text = "Я напряжен".Checked = False.Checked = False.Checked = False.Checked = False.Enabled = FalseIfa = 6 Then.Text = "Я испытываю любопытство".Checked = False.Checked = False.Checked = False.Checked = False.Enabled = FalseIfa = 7 Then

Label1.Text = "Мне хочется стукнуть кулаком по столу"

RadioButton1.Checked = False.Checked = False.Checked = False.Checked = False.Enabled = FalseIfa = 8 Then

Label1.Text = "Я стараюсь получать только хорошие и отличные оценки"

RadioButton1.Checked = False.Checked = False.Checked = False.Checked = False.Enabled = FalseIfa = 9 Then.Text = "Я раскован".Checked = False.Checked = False.Checked = False.Checked = False.Enabled = FalseIfa = 10 Then.Text = "Мне интересно".Checked = False.Checked = False.Checked = False.Checked = False.Enabled = FalseIfa = 11 Then.Text = "Я рассержен".Checked = False.Checked = False.Checked = False.Checked = False.Enabled = False If

If a = 12 Then

Label1.Text = "Я прилагаю все силы, чтобы добиться успеха в учебе"

RadioButton1.Checked = False.Checked = False.Checked = False.Checked = False.Enabled = FalseIfa = 13 Then

Label1.Text = "Меня волнует возможные неудачи"

RadioButton1.Checked = False.Checked = False.Checked = False.Checked = False.Enabled = FalseIfa = 14 Then

Label1.Text = "Мне кажется, что урок никогда не кончится"

RadioButton1.Checked = False.Checked = False.Checked = False.Checked = False.Enabled = FalseIfa = 15 Then

Label1.Text = "Мне хочется на кого-нибудь ,закричать"

RadioButton1.Checked = False.Checked = False.Checked = False.Checked = False.Enabled = FalseIfa = 16 Then

Label1.Text = "Я стараюсь все делать правильно"

RadioButton1.Checked = False.Checked = False.Checked = False.Checked = False.Enabled = FalseIfa = 17 Then

Label1.Text = "Я чувствую себя неудачником"

RadioButton1.Checked = False.Checked = False.Checked = False.Checked = False.Enabled = FalseIfa = 18 Then

Label1.Text = "Я чувствую себя исследователем"

RadioButton1.Checked = False.Checked = False.Checked = False.Checked = False.Enabled = FalseIfa = 19 Then

RadioButton1.Checked = False.Checked = False.Checked = False.Checked = False.Enabled = FalseIfa = 20 Then

Label1.Text = "Я чувствую, что не справлюсь с заданием"

RadioButton1.Checked = False.Checked = False.Checked = False.Checked = False.Enabled = FalseIfa = 21 Then.Text = "Я взвинчен".Checked = False.Checked = False.Checked = False.Checked = False.Enabled = FalseIfa = 22 Then.Text = "Я энергичен".Checked = False.Checked = False.Checked = False.Checked = False.Enabled = FalseIfa = 23 Then.Text = "Я взбешен".Checked = False.Checked = False.Checked = False.Checked = False.Enabled = FalseIfa = 24 Then.Text = "Я горжусь своими школьными успехами".Checked = False.Checked = False.Checked = False.Checked = False.Enabled = False

End Ifa = 25 Then.Text = "Я чувствую себя совершенно свободно"

RadioButton1.Checked = False.Checked = False.Checked = False.Checked = False.Enabled = FalseIfa = 26 Then

Label1.Text = "Я чувствую, что у меня хорошо работает голова"

RadioButton1.Checked = False.Checked = False.Checked = False.Checked = False.Enabled = FalseIfa = 27 Then.Text = "Я раздражен".Checked = False.Checked = False.Checked = False.Checked = False.Enabled = FalseIfa = 28 Then.Text = "Я решаю самые трудные задачи".Checked = False.Checked = False.Checked = False.Checked = False.Enabled = FalseIfa = 29 Then

Label1.Text = "Мне не хватает уверенности в себе"

RadioButton1.Checked = False.Checked = False.Checked = False.Checked = False.Enabled = FalseIfa = 30 Then.Text = "Мне скучно".Checked = False.Checked = False.Checked = False.Checked = False.Enabled = FalseIfa = 31 Then.Text = "Мне хочется что-нибудь сломать".Checked = False.Checked = False.Checked = False.Checked = False.Enabled = FalseIfa = 32 Then.Text = "Я стараюсь не получить двойку".Checked = False.Checked = False.Checked = False.Checked = False.Enabled = FalseIfa = 33 Then.Text = "Я уравновешен".Checked = False.Checked = False.Checked = False.Checked = False.Enabled = FalseIfa = 34 Then

Label1.Text = "Мне нравиться думать, решать"

RadioButton1.Checked = False.Checked = False.Checked = False.Checked = False.Enabled = FalseIfa = 35 Then

Label1.Text = "Я чувствую себя обманутым"

RadioButton1.Checked = False.Checked = False.Checked = False.Checked = False.Enabled = FalseIfa = 36 Then

Label1.Text = "Я стремлюсь показать свои способности и ум"

RadioButton1.Checked = False.Checked = False.Checked = False.Checked = False.Enabled = FalseIfa = 37 Then.Text = "Я боюсь".Checked = False.Checked = False.Checked = False.Checked = False.Enabled = FalseIfa = 38 Then.Text = "Я чувствую уныние и тоску".Checked = False.Checked = False.Checked = False.Checked = False.Enabled = FalseIfa = 39 Then

Label1.Text = "Меня многое приводит в ярость"

RadioButton1.Checked = False.Checked = False.Checked = False.Checked = False.Enabled = FalseIfa = 40 Then

Label1.Text = "Я хочу быть среди лучших"

RadioButton1.Checked = False.Checked = False.Checked = False.Checked = False.Enabled = FalseIfa = 41 Then.Enabled = True.Enabled = True.Enabled = True.Enabled = True.Enabled = True.Enabled = True.Enabled = TrueIfa = 41 Then

res = s1 + s2 - s3 - s4

'Вывод и запись результата в хранилище

If res >= 40 And res <= 60 Then("Познавательная активность: " & s1 & " (" & n1 & ")" & vbCrLf &

"Мотивация достижения: " & s2 & " (" & n2 & ")" & vbCrLf &

"Тревожность: " & s3 & " (" & n3 & ")" & vbCrLf &

"Гнев: " & s4 & " (" & n4 & ")" & vbCrLf &

"В итоге: " & res & " Уровень I" & vbCrLf &

"Вывод:" & vbCrLf &

"Продуктивная мотивация с выраженным преобладанием позновательной мотивации учения и положительным эмоциональным отношением к нему" & vbCrLf &,.OkOnly, Title:="Результат теста").Computer.FileSystem.WriteAllText(CurDir() + "/bd/" + TextBox4.Text + "_" + TextBox1.Text + "_" + TextBox2.Text + "_" + TextBox3.Text + ".txt", "Познавательная активность: " & s1 & " (" & n1 & ")" & vbCrLf & "Мотивация достижения: " & s2 & " (" & n2 & ")" & vbCrLf & "Тревожность: " & s3 & " (" & n3 & ")" & vbCrLf & "Гнев: " & s4 & " (" & n4 & ")" & vbCrLf & "В итоге: " & res & vbCrLf & "Вывод:" & vbCrLf & "Продуктивная мотивация с выраженным преобладанием позновательной мотивации учения и положительным эмоциональным отношением к нему", True)

End Ifres >= 29 And res <= 44 Then("Познавательная активность: " & s1 & " (" & n1 & ")" & vbCrLf &

"Мотивация достижения: " & s2 & " (" & n2 & ")" & vbCrLf &

"Тревожность: " & s3 & " (" & n3 & ")" & vbCrLf &

"Гнев: " & s4 & " (" & n4 & ")" & vbCrLf &

"В итоге: " & res & " Уровень II" & vbCrLf &

"Вывод:" & vbCrLf &

"Продуктивная мотивация, позитивное отношение к учебе, соответствие социальному нормативу" & vbCrLf &,.OkOnly, Title:="Результат теста").Computer.FileSystem.WriteAllText(CurDir() + "/bd/" + TextBox4.Text + "_" + TextBox1.Text + "_" + TextBox2.Text + "_" + TextBox3.Text + ".txt", "Продуктивная мотивация: " & s1 & " (" & n1 & ")" & vbCrLf & "Мотивация достижения: " & s2 & " (" & n2 & ")" & vbCrLf & "Тревожность: " & s3 & " (" & n3 & ")" & vbCrLf & "Гнев: " & s4 & " (" & n4 & ")" & vbCrLf & "В итоге: " & res & vbCrLf & "Вывод:" & vbCrLf & "Продуктивная мотивация, позитивное отношение к учебе, соответствие социальному нормативу", True)

End Ifres >= 13 And res <= 28 Then("Познавательная активность: " & s1 & " (" & n1 & ")" & vbCrLf &

"Мотивация достижения: " & s2 & " (" & n2 & ")" & vbCrLf &

"Тревожность: " & s3 & " (" & n3 & ")" & vbCrLf &

"Гнев: " & s4 & " (" & n4 & ")" & vbCrLf &

"В итоге: " & res & " Уровень III" & vbCrLf &

"Вывод:" & vbCrLf &

"Норма уровень с несколько сниженной позновательной мотивацией" & vbCrLf &,.OkOnly, Title:="Результат теста").Computer.FileSystem.WriteAllText(CurDir() + "/bd/" + TextBox4.Text + "_" + TextBox1.Text + "_" + TextBox2.Text + "_" + TextBox3.Text + ".txt", "Познавательная активность: " & s1 & " (" & n1 & ")" & vbCrLf & "Мотивация достижения: " & s2 & " (" & n2 & ")" & vbCrLf & "Тревожность: " & s3 & " (" & n3 & ")" & vbCrLf & "Гнев: " & s4 & " (" & n4 & ")" & vbCrLf & "В итоге: " & res & vbCrLf & "Вывод:" & vbCrLf & "Норма уровень с несколько сниженной позновательной мотивацией", True)

End If(res = (-1) Or res = (-2)) Or res >= 0 And res <= 12 Then

MsgBox("Познавательная активность: " & s1 & " (" & n1 & ")" & vbCrLf &

"Мотивация достижения: " & s2 & " (" & n2 & ")" & vbCrLf &

"Тревожность: " & s3 & " (" & n3 & ")" & vbCrLf &

"Гнев: " & s4 & " (" & n4 & ")" & vbCrLf &

"В итоге: " & res & " Уровень IV" & vbCrLf &

"Вывод:" & vbCrLf &

"Сниженная мотивация, переживание скуки, отрицательное эмоциональное отношение к учебе" & vbCrLf &,.OkOnly, Title:="Результат теста").Computer.FileSystem.WriteAllText(CurDir() + "/bd/" + TextBox4.Text + "_" + TextBox1.Text + "_" + TextBox2.Text + "_" + TextBox3.Text + ".txt", "Познавательная активность: " & s1 & " (" & n1 & ")" & vbCrLf & "Мотивация достижения: " & s2 & " (" & n2 & ")" & vbCrLf & "Тревожность: " & s3 & " (" & n3 & ")" & vbCrLf & "Гнев: " & s4 & " (" & n4 & ")" & vbCrLf & "В итоге: " & res & vbCrLf & "Вывод:" & vbCrLf & "Сниженная мотивация, переживание скуки, отрицательное эмоциональное отношение к учебе", True)

End If(res >= -60) And (res <= -3) Then("Познавательная активность: " & s1 & " (" & n1 & ")" & vbCrLf &

"Мотивация достижения: " & s2 & " (" & n2 & ")" & vbCrLf &

"Тревожность: " & s3 & " (" & n3 & ")" & vbCrLf &

"Гнев: " & s4 & " (" & n4 & ")" & vbCrLf &

"В итоге: " & res & " Уровень V" & vbCrLf &

"Вывод:" & vbCrLf &

"Резко отрицательное отношение к учебе" & vbCrLf &,.OkOnly, Title:="Результат теста").Computer.FileSystem.WriteAllText(CurDir() + "/bd/" + TextBox4.Text + "_" + TextBox1.Text + "_" + TextBox2.Text + "_" + TextBox3.Text + ".txt", "Познавательная активность: " & s1 & " (" & n1 & ")" & vbCrLf & "Мотивация достижения: " & s2 & " (" & n2 & ")" & vbCrLf & "Тревожность: " & s3 & " (" & n3 & ")" & vbCrLf & "Гнев: " & s4 & " (" & n4 & ")" & vbCrLf & "В итоге: " & res & vbCrLf & "Вывод:" & vbCrLf & "Резко отрицательное отношение к учебе", True)IfIf

'Сравнение результатов с табличными данными (Ж)

If gen = "ж" And s1 >= 29 And s1 <= 40 Then= "Высокий"Ifgen = "ж" And s1 >= 18 And s1 <= 28 Then= "Норма"Ifgen = "ж" And s1 >= 10 And s1 <= 17 Then= "Низкий"Ifgen = "ж" And s2 >= 29 And s2 <= 40 Then= "Высокий"Ifgen = "ж" And s2 >= 18 And s2 <= 28 Then= "Норма"Ifgen = "ж" And s2 >= 10 And s2 <= 17 Then= "Низкий"Ifgen = "ж" And s3 >= 25 And s3 <= 40 Then= "Высокий"Ifgen = "ж" And s3 >= 17 And s3 <= 24 Then= "Норма"Ifgen = "ж" And s3 >= 10 And s3 <= 16 Then= "Низкий"Ifgen = "ж" And s4 >= 21 And s4 <= 40 Then= "Высокий"Ifgen = "ж" And s4 >= 14 And s4 <= 20 Then= "Норма"Ifgen = "ж" And s4 >= 10 And s4 <= 13 Then

n4 = "Низкий"If

'Сравнение результатов с табличными данными (М)

If gen = "м" And (s1 >= 31 And s1 <= 40) Then= "Высокий"Ifgen = "м" And (s1 >= 21 And s1 <= 29) Then= "Норма"Ifgen = "м" And (s1 >= 10 And s1 <= 20) Then= "Низкий"Ifgen = "м" And s2 >= 31 And s2 <= 40 Then= "Высокий"Ifgen = "м" And s2 >= 21 And s2 <= 29 Then= "Норма"Ifgen = "м" And s2 >= 10 And s2 <= 20 Then= "Низкий"Ifgen = "м" And s3 >= 23 And s3 <= 40 Then= "Высокий"Ifgen = "м" And s3 >= 16 And s3 <= 22 Then= "Норма"Ifgen = "м" And s3 >= 10 And s3 <= 15 Then= "Низкий"Ifgen = "м" And (s4 >= 18 And s4 <= 40) Then= "Высокий"Ifgen = "м" And (s4 >= 12 And s4 <= 18) Then= "Норма"Ifgen = "м" And (s4 >= 10 And s4 <= 11) Then= "Низкий"Ifn1 = "Высокий" And (n3 = "Низкий" Or n3 = "Норма") And n4 = "Низкий" Then

res1 = "Продуктивная мотивация и позитивное эмоциональное отношение к учебе"

End Ifn1 = "Норма" And (n3 = "Низкий" Or n3 = "Норма") And n4 = "Низкий" Then

res1 = "Позитивное отношение к учебе"

End Ifn1 = "Низкий" And (n3 = "Низкий" Or n3 = "Норма") And (n4 = "Низкий" Or n4 = "Норма") Then= "Переживание скуки"Ifn1 = "Норма" And (n3 = "Низкий" Or n3 = "Норма") And (n4 = "Низкий" Or n4 = "Норма") Then

res1 = "Диффузное эмоциональное отношение"If

If n1 = "Норма" And (n3 = "Низкий" Or n3 = "Норма") And n4 = "Высокий" Then

res1 = "Диффузное эмоциональное отношение при фрустрированности значимых потребностей"

End Ifn1 = "Низкий" And (n3 = "Низкий" Or n3 = "Норма") And n4 = "Высокий" Then

If n1 = "Высокий" And n3 = "Низкий" And n4 = "Высокий" Then

res1 = "Резко отрицательное отношение к учебе"

End Ifn1 = "Высокий" And n3 = "Высокий" And n4 = "Высокий" Then

res1 = "Чрезмерно повышенная эмоциональность на уроке, обусловленная неудовлетворением ведущих социогенных потребностей"

End Ifn1 = "Высокий" And n3 = "Высокий" And n4 = "Норма" Then

res1 = "Повышенная эмоциональность на уроке"

End If(n1 = "Норма" Or n1 = "Низкий") And n3 = "Высокий" And (n4 = "Норма" Or n4 = "Низкий") Then= "Тревожность"Ifn1 = "Высокий" And (n3 = "Норма" Or n3 = "Низкий") And n4 = "Высокий" Then

res1 = "Позитивное отношение при фрустрированности потребностей"

End If(n1 = "Высокий" Or n1 = "Норма") And n3 = "Низкий" And (n4 = "Низкий" Or n4 = "Срений") Then

res1 = "Позитивное отношение при повышенной чувствительности к оценочному аспекту обучения"

End If

End Sub

Открытие инструкции

Private Sub КакПройтиТестToolStripMenuItem_Click(ByVal sender As System.Object, ByVal e As System.EventArgs) Handles КакПройтиТестToolStripMenuItem.Click.Show()Sub

'Закрытие формыSub ВыходToolStripMenuItem_Click(ByVal sender As System.Object, ByVal e As System.EventArgs) Handles ВыходToolStripMenuItem.Click

Me.Close()Sub

'Открытие результатов

Private Sub РезультатыToolStripMenuItem_Click(ByVal sender As System.Object, ByVal e As System.EventArgs) Handles РезультатыToolStripMenuItem.Click.Show()SubClassClass Form4Sub Form1_Load(ByVal sender As System.Object, ByVal e As System.EventArgs) Handles MyBase.Load

'Выводим список файлов из папкиdir As New IO.DirectoryInfo(CurDir() + "\bd\")d1 As IO.FileInfo() = dir.GetFiles()d2 As IO.FileInfoEach d2 In d1.Items.Add(d2).Controls.Add(ListBox1) Sub

'Открываем выделенный файл

Dim fl As String

Dim way As StringSub Button1_Click(ByVal sender As System.Object, ByVal e As System.EventArgs) Handles Button1.Click= ListBox1.Text= My.Computer.FileSystem.ReadAllText(CurDir() + "\bd\" + way)("Результат: " + fl, MsgBoxStyle.OkOnly, Title:="Результат теста")

End SubClass

В Form2 используется только вывод текста.

Выводы


Прохождение практики в Усинском филиале «ЕАЕ-Консалт» дало мне ни с чем не сравнимый опыт, а также укрепил навыки работы с привычными для меня программами. За это время я познакомился с многими знающими свое дело людьми, которые смогли поделиться со мной опытом работы в этой компании, все эти приобретенные навыки и знания помогут мне в дальнейшем в будущей работе. За время работы я ознакомился со структурой многих обслуживаемых предприятий, увидел много нового, и то как работают люди разных профессий. Иногда при решении проблем приходилось сталкиваться с трудностями (в основном от незнания устройства, того, либо другого устройства или программы), которые решались с помощью долгого гипнотизирования технической документации. Я считаю, что прохождение практики дало мне немного переосмыслить все отношение к этой профессии.

Похожие работы на - Информационное обеспечение деятельности предприятия 'ЕАЕ-Консалт'

 

Не нашли материал для своей работы?
Поможем написать уникальную работу
Без плагиата!
Без нейросетей!