|
Варианты
|
I
|
II
|
III
|
IV
|
V
|
VI
|
|
M, кг
|
37,47
|
34,96
|
35,72
|
34,25
|
39,12
|
44,11
|
|
V, л
|
17,92
|
17,04
|
15,03
|
16,55
|
20,4
|
25,81
|
2.2
Оценка условий смазки и выбор способа смазки редуктора
Двухступенчатые редукторы обычно смазываются картерным
способом, при этом в корпус редуктора заливается масло, которое при
эксплуатации редуктора периодически заменяется.
При выборе масла ориентируются на окружную скорость в
зацеплениях колес. Чем выше скорость в зацеплениях, тем менее вязкое масло
выбирают для его заливки в редуктор, а его марку подбирают по таблицам.
Выбранный вариант отвечает условию смазки зубчатых колес передач редуктора.
Оптимальным считается случай, когда колесо быстроходной
передачи редуктора при окружной скорости Vокр= 0,3…12,5 м/с погружено
в масляную ванну на глубину (2…2,5) ∙m = (2…2,5) ·2,5 =
(5…6,25) мм. При этом колесо тихоходной передачи погружается в масло не более,
чем на 0,3da2 Т= 0,3·261,38 ≈ 78,5 мм. Уровень масла, показанный на
рис. 2. удовлетворяет этим требованиям.
2.3
Геометрический расчет передач редуктора
Все колеса нарезаются реечным инструментом или долбяком с исходным
контуром по ГОСТ 13775-81 с параметрами: угол профиля α = 200; коэффициентом головки
(ножки) зуба h
=h
=1; коэффициент радиального зазора с*=0,25.
2.3.1
Косозубая передача I cтупени
Делительные диаметры:
d1= 43,71 (мм), d2= 226,29 (мм)
Диаметры вершин:
dа1= d1+2·m=43,71+2·2,5 = 48,71 (мм)
dа2= d2+2·m=226,29+2·2,5=231,29 (мм)
Диаметры впадин:
df1= d1-2,5·m =43,71-2,5·2,5=37,46 (мм)
df2= d2-2,5·m =226,29 - 2,5·2,5=220,04 (мм)
Начальные диаметры:
dw1 = d1 = 43,71 (мм)
dw2 = d2 = 226,29 (мм)
Коэффициент торцевого перекрытия для косозубой передачи:
εα=
=
=1,64
Коэффициент осевого перекрытия:
εβ=bw·sinβ/(π·m) =40,8· sin13,5360/3,14·2,5≈1,1
Суммарный коэффициент перекрытия:
ε= εα+ εβ=1,64+1,1= 2,74
2.3.2
Косозубая передача II ступени
Делительные диаметры:
d1= 64,62 (мм),
d2= 255,38 (мм)
Диаметры вершин:
dа1= d1+2·m = 64,62+2·3 = 70,62 (мм),
dа2= d2+2·m = 255,38+2·3 = 261,38 (мм)
Диаметры впадин:
df1= d1-2,5·m = 64,62-2,5·3 = 57,12 (мм),
df2= d2-2,5·m = 255,38-2,5·3 = 247,88 (мм).
Начальные диаметры:
dw1 = d1 = 64,62 мм
dw2 = d2 = 255,38 мм.
Коэффициент торцевого перекрытия для косозубой передачи:
εα=
=
=1,655
Коэффициент осевого перекрытия:
εβ=bw·sinβ/(π·m) =53,8· sin12,8390/3,14·3
≈1,144
Суммарный коэффициент перекрытия:
ε= εα+ εβ=1,655+1,144 = 2,8
3.
Кинематический расчет редуктора
Частоты вращения валов и зубчатых колес определяются
следующим образом:
частота вращения быстроходного вала - из предварительного
расчета и распечатки, принимаем
n1 = n1Б = 720 (мин-1)
частота вращения промежуточного вала
n1Т = n2Б = n1Б/uБ = 720/5,18 = 138,99 (мин-1)
частота вращения тихоходного вала
n2Т = n1Т = n1Б/uБ·uТ = 720/5,18·3,95 = 35,19 (мин-1)
Окружная скорость в зацеплении быстроходной передачи
VБ = π·dw1 Б· n1/104 =
3,14·43,71·720/104 = 9,88 (м/мин)
Окружная скорость в зацеплении тихоходной передачи
VТ = π·dw1 Т· n1 Т/104 =
3,14·64,62·138,99/104 = 2,82 (м/мин)
3.1
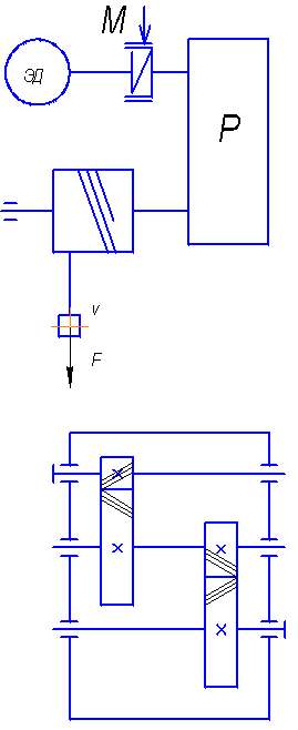
Статическое исследование редуктора
Целью статического исследования редуктора является
определение вращающих моментов на валах и колесах редуктора и значений
составляющих полных усилий в зацеплениях для каждой передачи.
Схема представлена на рис. 4
3.1.1 Моменты
на валах и колесах редуктора
Момент на колесе тихоходной передачи,
Т2Т=
=
≈ 1502 (Н·м).
Момент на шестерне тихоходной передачи,
Т1Т=
=
≈388 (Н·м).
Момент на колесе быстроходной передачи,
Т2Б=
=
≈ 392 (Н∙м).
Момент на хвостовике быстроходного вала,
Т1Б =
=
≈ 77,22 (Н·м)
В этих формулах используются значения КПД, принятые в п. 1. 1. 4.
3.1.2
Составляющие полного усилия в зацеплениях быстроходной и тихоходной передач
Окружная сила на шестерне быстроходной передачи,
Ft1(Б) =2·Т1Б·103/dw1(Б) =2·77,22·103/43,71=3533,3
(Н).
Радиальная сила на шестерне быстроходной передачи,
Fr1(Б) = Ft1(Б) ·tgα/cosβ =3533,3·tg200/cos13,5360 =
1174,5 (Н).
Осевая сила на шестерне быстроходной передачи,
Fa1(Б) = Ft1(Б) ·tgβ=3533,3·tg13,5360=704,9 (Н).
Усилия, действующие на колесо быстроходной передачи,
Ft2(Б) = Ft1(Б) ·ηзац = 3533,3·0,98= 3463,6 (Н);
Fr2(Б) = Fr1(Б) ·ηзац = 1174,5·0,98 = 1151 (Н).
Fa2(Б) = Fa1(Б) ·ηзац = 704,9·0,98 = 690,8 (Н)
Окружная, радиальная и осевая силы на шестерне тихоходной
передачи:
Ft3(Т) = 2·Т1Т·103/dw1(Т) = 2·388·103/64,62
= 12008,7 (Н)
Fr3(Т) = Ft3(Т) ·tgα/cosβ = 12008,7·tg200/ cos12,8390 =
3981,25 (Н)
Fa3(Т) = Ft3(Т) ·tgβ = 12008,7·tg12,8390 = 2455,23 (Н)
Усилия, действующие на колесо тихоходной передачи:
Ft4(Т) = Ft3(Т) ·ηзац = 12008,7·0,98= 11768,5 (Н)
Fr4(Т) = Fr3(Т) ·ηзац =3981,25·0,98=3901,6(Н)
Fa4(Т) = Fa3(Т) ·ηзац = 2455,23·0,98 = 2406,1 (Н)
Рисунок 5 - Схема приложения сил зубчатых передач
4. Расчет на
прочность зубчатых передач редуктора
4.1
Материалы, термическая обработка колес
Зубчатые колеса редукторов изготавливают из сталей с
твердостью Н≤350 НВ или Н>350 НВ. Зубчатые колеса редукторов
изготавливают из сталей с твердостью Н≤350 НВ или Н>350 НВ. В первом
случае заготовки для колес подвергают нормализации или улучшению, во втором -
после нарезания зубьев различным видам термической и химико-термической
обработке: объёмной закалке, поверхностной закалке ТВЧ, цементации,
азотированию и т.д., обеспечивающим высокую твердость поверхности зуба.
В п. 1. 1. 8 были приняты предварительные допускаемые
контактные напряжения для быстроходной [σH] Б и тихоходной [σH] Т. Учитывая все выше изложенное
выбираем:
) быстроходная косозубая передача - шестерня из стали 40ХН
(48…54 НRС,
термообработка-закалка ТВЧ), колесо из стали 35ХМ (45…53 НRС, термообработка-закалка
ТВЧ).
) тихоходная косозубая передача - шестерня из стали
35ХМ(45…53 HRC, термообработка - закалка ТВЧ), колесо из стали 35ХМ (45…53HRC, термообработка -
закалка ТВЧ).
4.2
Допускаемые контактные напряжения
Для косозубых передач с небольшой разностью твердости зуба
шестерни и колеса за расчетное принимается среднее двух допускаемых напряжений,
определенных для материала шестерни [σH] 1 и колеса [σH] 2.
Допускаемые контактные напряжения для шестерни [σH] 1 или колеса [σH] 2
[σH] 1(2)
=
,
где SH-коэффициент безопасности (таб. 1. 10
[1]); σН0-предел контактной выносливости. Для
применяемых материалов и термообработки σН0 показан в табл. 1. 10; ZN - коэффициент, учитывающий срок службы (ресурс)
и режим работы, определяемый из условия для шестерни и колеса (индекс опущен):
ZN=
,
где NH0-базовое число циклов перемены напряжений, определяемое по
формуле:
NH0=30·НВ2,4 ≤ 12·107
NHЕ - эквивалентное число циклов, соответствующее
NHЕ= NH·КНЕ=60·nw·n·Lh·μH,
где nw - число зацеплений, в которое входит
шестерня или колесо за один оборот, в нашем случае nw=1; n-соответствующая частота вращения, мин-1, Lh-ресурс привода, час; μН-коэффициент режима, определяемый по таб.
8. 10 [2], в зависимости от категории режима.
Допускаемые контактные напряжения для косозубой передачи I ступени.
Найдем эквивалентное число циклов для шестерни:
NHЕ1= NH·КНЕ=60·nw·n1·Lh·μH=60·1·720·15000·0,5
= 3,24·108
Находим базовое число циклов перемены напряжений:
NH01=30·НВ2,4 = 30·5102,4 = 9,45·107
≤ 3,24·108
Так как NHЕ1
> NH01, то ZN1=1, следовательно;
σН01=17НRС+200=17·51+200=1067,
SH1= 1,2 (табл. 1. 10 [1]), тогда
[σH] 1 =
=
= 889,17 (МПа)
Найдем эквивалентное число циклов для колеса:
NHЕ2= NH·КНЕ=60·nw·n2·Lh·μH=60·1·138,99·15000·0,5
=6,25·107
Находим базовое число циклов перемены напряжений:
NH02=30·НВ2,4=30·4802,4 = 8,16·107
≥ 6,25·107
ZN=
=
=1,275, σН02=17HRC+200=17·48+200=1016
(МПа)
[σH] 2 =
=
=1079,5 (МПа).
Допускаемое контактное напряжение:
[σH] Б={ [σH] 1+ [σH] 2}/2=984,34 МПа
Допускаемые контактные напряжения для косозубой передачи II ступени.
Найдем эквивалентное число циклов для шестерни:
NHЕ1= NH·КНЕ=60·nw·n1·Lh·μH=60·1·138,99·15000·0,5
=6,25·107
Находим базовое число циклов перемены напряжений:
NH01=30·НВ2,4=30·4502,4 = 7·107
≥ 6,25·107.
Находим коэффициент, учитывающий срок службы:
ZN1=
=
=1,242
Находим предел контактной выносливости по табл. 1. 10 [1]:
σН01=17НRС+200=17·45+200=965
(МПа).
Коэффициент безопасности SH=1,2 (табл. 1. 10 [1]).
Допускаемые контактные напряжения:
[σH] 1 =
=
=998,77 (МПа)
Найдем эквивалентное число циклов для колеса:
NHЕ2= NH·КНЕ=60·nw·n2·Lh·μH=60·1·35,19·15000·0,5
=1,6·107
Находим базовое число циклов перемены напряжений:
NH02=30·НВ2,4 =30·4502,4=7·107
≥ 3,3·107
Находим коэффициент, учитывающий срок службы:
ZN2=
=
=1,134
Находим предел контактной выносливости по табл. 1. 10 [1]:
σН02=17НRC+200=17·45+200=965
(МПа).
Коэффициент безопасности по табл. 1. 10 [1] SH=1,2.
Допускаемые контактные напряжения:
[σH] 2 =
=
=911,92 (МПа)
Допускаемое контактное напряжение, МПа:
[σH] Т={ [σH] 1+ [σH] 2}/2=955,35 МПа
4.3
Допускаемые напряжения изгиба
Допускаемые напряжения изгиба определяются для шестерни [σF] 1 и колеса [σF] 2 отдельно по формуле (индексы
опущены):
[σF] =
,
где σF0-предел
изгибной выносливости, определяемый по табл. 1.10 [1]
SF-коэффициент безопасности, приведенный в
табл. 1.10 [1];
YA - коэффициент, учитывающий влияние
двухстороннего приложения нагрузки, в нашем случае, YA=1;
YN-коэффициент, учитывающий срок службы
передачи и переменности режима нагружения, рассчитываемый по формуле:
YN=
(1≤ YN<2,5),
где NF0-базовое число циклов, для всех сталей NF0=4·106;
NFЕ-эквивалентное число циклов:
NFE= NF·μF=60·nw·n·Lh· μF,
где nw-число зацеплений, в которое входит
шестерня или колесо за один оборот, в нашем случае nw=1;
n-соответствующая частота вращения, мин-1.
YR - коэффициент, учитывающий шероховатость
переходной кривой, YR=1 при шероховатости Rz ≤ 40 мкм.
Допускаемые напряжения изгиба для косозубой передачи I ступени
Найдем эквивалентное число циклов для шестерни:
NFE1= NF· μF=60·nw·n1·Lh· μF=60·1·720·15000·0,3=7,8·107.
Найдем коэффициент, учитывающий срок службы передачи и
переменности режима нагружения, mF=9
согласно табл. 8. 10 [2]:
YN1=
=
=0,72 ≈ 1.
Коэффициент безопасности SF=1,75 согласно табл. 1. 10 [1].
Предел изгибной выносливости по табл. 1. 10 [1]:
σF01= 900 (МПа).
Допускаемые напряжения изгиба:
[σF] 1=
=
·1·1·1=514,28 (МПа).
Найдем эквивалентное число циклов для колеса:
NFE2= NF· μF=60·nw·n2·Lh· μF=60·1·138,99·15000·0,3
= 1,5·107.
Найдем коэффициент, учитывающий срок службы передачи и
переменности режима нагружения, mF=9
табл. 8. 10 [2]:
YN2=
=
=0,86 ≈1.
Коэффициент безопасности по табл. 1. 10 [1] SF=1,75.
Предел изгибной выносливости по табл. 1. 10 [1]:
σF02=900 (МПа).
Допускаемые напряжения изгиба:
[σF] 2=
=
·1·1·1=514,28 (МПа).
Допускаемые напряжения изгиба для косозубой передачи I I ступени
Найдем эквивалентное число циклов для шестерни:
NFE1= NF· μF=60·nw·n1·Lh· μF=60·1·138,99·12500·0,3
= 1,5·107.
Найдем коэффициент, учитывающий срок службы передачи и
переменности режима нагружения, mF=9
(табл. 8. 10 [2]):
YN1=
=
=0,86 ≈ 1.
Коэффициент безопасности по табл. 1. 10 [1] SF=1,75.
Предел изгибной выносливости по табл. 1. 10 [1]:
σF01=900 (МПа).
Допускаемые напряжения изгиба:
[σF] 1=
=
·1·1·1=514,28 (МПа).
Найдем эквивалентное число циклов для колеса:
NFE2= NF· μF=60·nw·n2·Lh· μF=60·1·35,19·15000·0,3
= 9,5·106.
Найдем коэффициент, учитывающий срок службы передачи и
переменности режима нагружения, mF=9
(табл. 8. 10 [2]):
YN2=
=
=0,91 ≈1.
Коэффициент безопасности SF=1,75 (табл. 1. 10 [1]).
Предел изгибной выносливости по табл. 1. 10 [1]:
σF02=900 (МПа).
Допускаемые напряжения изгиба:
[σF] 2=
=
·1·1·1=514,28 (МПа).
4.4
Контактные напряжения в зацеплении косозубой передачи II ступени (тихоходной)
Проверку будем вести тихоходной ступени редуктора
Контактные напряжения в зацеплении определяется по формуле:
σH=1,18·ZHβ·
,
где Епр - приведенный модуль упругости. Для стальных
колес и шестерен Епр=0,215·106 МПа;
Т1Т - момент на шестерне передачи, Н·м.
dw1 - начальный диаметр шестерни, мм;
bw - ширина зубчатого венца колеса, мм;
αw - угол зацепления;
u - передаточное число передачи;
При расчете косозубой передачи коэффициент ZHβ определяется по формуле:
ZHβ=
,
где КНα - коэффициент, учитывающий распределение
нагрузки между зубьями, зависящий от степени точности и окружной скорости и
определяемый по таб. 8. 7. [2]; εα - коэффициент торцевого перекрытия; β - угол
наклона зубьев на делительном диаметре.
Коэффициент нагрузки КН представляется в виде
КН= КНβ·КНV,
где КНβ - коэффициент, учитывающий распределение
нагрузки по ширине венца, находится по графикам на рис. 8. 15 [2], в
зависимости от схемы редуктора, от параметра ψbd=b/dw1 и от сочетания твердости зубьев шестерни и колеса, КНV - коэффициент, учитывающий динамическую
нагрузку в зацеплении, зависящий от вида передачи, степени точности и окружной
скорости V и назначаемый по табл. 8. 3 [2].
Контактные напряжения в зацеплении косозубой передачи I I ступени.
Епр=0,215·106 МПа;
Т1 = 388 Н·м;
dw1 = 64,62 мм;
bw = 53,8 мм;
αw = 200; u = 3,95
Найдем коэффициент, учитывающий распределение нагрузки:
КНα=1,09 (8 степень точности табл. 8. 7 [2]).
Найдем коэффициент, учитывающий распределение нагрузки:
КНβ1=1,2 (график VI, рис. 8,15
[2] ψbd=b/dw1=53,8/64,62=0,83).
Определим коэффициент, учитывающий динамическую нагрузку в
зацеплении:
КНV =1,0 (V =2,82 м/мин, 8 степень точности табл. 8. 3 [2]).
Найдем коэффициент нагрузки:
КН1= КНβ·КНV=1,2·1,0 =1,2
ZHβ=
=
=0,795
Контактные напряжения в косозубом зацеплении:
σH=1,18·ZHβ·
=
=1,18·0,795×
=914,2 (МПа)
σНт =914,2 МПа < [σН] т=955,35 МПа
Условие прочности выполняется, недогруз составляет около 5%
4.5
Напряжение изгиба в зубьях шестерни и колеса
Напряжения в основании зубьев косозубых колес определяются по
формулам: для шестерни:
σF1=YF1·ZFβ·Ft·KF/(bw·m),
где ZFβ-коэффициент, вычисляемый
по формуле
ZFβ= KFα· Yβ/εα
KFα - коэффициент,
учитывающий распределение нагрузки между зубьями (см. табл. 8. 7, [2]);
Yβ-учитывает работу зуба
как пластины (а не балки) и определяется равенством
Yβ=1-β0/1400;
для колеса:
σF2= σF1· YF2 /YF1,
Значения YF2 иYF1 назначают по графику рис.
8. 20 [2] в зависимости от условных чисел зубьев шестерни zV1=z1/cos3β и колеса zV2= z2/ cos3β.
Напряжение изгиба в зубьях косозубой передачи II ступени редуктора
Найдем условные числа зубьев шестерни и колеса:
zV1=z1/cos3β=21/ cos312,839=22,34
zV2= z2/ cos3β= 83/ cos312,839=88. 3
Следовательно YF1= 3,9; YF2=3,6 (рис. 8. 20 [2])
Yβ=1-β0/1400=0,908.
Найдем коэффициент, учитывающий распределение нагрузки
между зубьями:
КFα=0,91 (8 степень точности
табл. 8. 7 [2]).
Найдем ZFβ:
ZFβ= KFα· Yβ/εα=0,91·0,908/1,655 = 0, 5
Найдем коэффициент, учитывающий распределение нагрузки по
ширине венца:
КFβ2=1,15 (график VI рис. 8. 15 [2], ψbd=b/dw1=53,8/64,62=0,83).
Определим коэффициент, учитывающий динамическую нагрузку в
зацеплении:
КFV=1,1 (V=2,82 м/мин, 8 степень точности табл. 8. 3 [2]).
Найдем коэффициент нагрузки:
КF2= КFβ2·КFV=1,15·1,1=1,265
Определим напряжения в основании зубьев косозубых колес:
для шестерни:
σF1=YF1·ZFβ·Ft·KF2/(bw·m) =
=3,9·0, 5·12008,7·1,265/53,8·3,0=183,53 (МПа)
для колеса:
σF2= σF1· YF2 /YF1=183,53·3,6/3,9 = 169,42 (МПа)
4.6
Заключение о работоспособности передачи
Передача считается работоспособной, если выполняются условия:
1) контактная выносливость поверхностей зубьев колес
тихоходной передачи,
σНТ ≤ [σН] Т
σНТ =914,2 МПа ≤ [σН] Т= 955,35 МПа;
2) изгибная выносливость зубьев шестерни косозубой
передачи,
σFт ≤ [σF] Т
σF1=183,53 МПа ≤ [σF] 1=514,28 МПа
изгибная выносливость зубьев колеса косозубой передачи
σF2 = 169,42 МПа≤ [σF] 1=514,28 МПа
В результате проведенного расчета получилось, что рабочие
напряжение изгиба σF1,2 значительно меньше
допустимых, но это вполне допустимо для закрытых зубчатых передач, так как
нагрузочная способность этих передач ограничивается, как правило, контактной
выносливостью зубьев.
5.
Конструирование валов редукторов привода
Проектный расчет валов носит ориентировочный характер и имеет
целью определить основные размеры и форму вала, связанные с нагрузками и
назначением его основных элементов.
Диаметры участков валов можно определить по формулам:
для быстроходного вала,
dБ=(8,5...
9,5) ·
=(8,5... 9,5) ·
=36,2…38,32 ≈ 40 (мм)
Полученный диаметр близок по значению диаметру вала
электродвигателя (dэд = 38 мм).
Диаметр конического хвостовика вала под полумуфту принимаем:
d = (0,8…1,2) · d дв;
где
d дв -
диаметр выходного конца вала ротора двигателя.
d = (0,8…1,2) · 38 = 30,4…. 45,6мм.
Принимаем 32 мм
для промежуточного вала в месте установки зубчатых колес,
dпр=7·
=7·
= 51,23 ≈ 53 (мм),
для тихоходного вала,
dвых =
=
= 0,072 (м) =75 (мм)
Полученные результаты согласованы со стандартным рядом чисел Ra40, ГОСТ 12080-66 и ГОСТ 12081-72.
Для других участков валов диаметры определяются по формулам,
имеющим рекомендательный характер.
Диаметр цапфы вала под подшипником для быстроходного вала:
dП = d-2·tкон,
где tкон=2 мм (табл. 1. 9 [1])
dП = dБ - 2·tкон = 40 - 2·2 = 35 (мм).
Диаметр буртика для упора кольца подшипника:
dБП = dП+3·r = 35+3·2,5 = 42,5 ≈ 43 (мм),
r = 2,5 мм (табл. 1. 9 [1])
Диаметр цапфы вала под подшипником для тихоходного вала:
dП =
70(мм), tцил=1,5мм (табл. 1. 9 [1]).
Диаметр буртика для упора кольца подшипника:
dБП= dП+3·r = 70+3·4 = 82 (мм),
r = 4 мм (табл. 1. 9 [1]).
Диаметр шейки вала в месте установки колес:
dк ≥ dБП,
dк = 75 мм.
Диаметр буртика для упора зубчатого колеса:
dБК= dК+3·f =75+3·3=81 (мм),
f = 3 мм (табл. 1. 9 [1]).
Диаметр цапфы вала под подшипником для промежуточного вала:
dП = 45
(мм),
Диаметр буртика для упора кольца подшипника:
dБП=dП+3·r≤dK
dБП = dП+3·r = 45+3·3 = 51 (мм),
r=3 мм (табл. 1. 9 [1]).
Диаметр буртика для упора зубчатого колеса:
dБК = dК+3·f = 53+3·1,6 = 57,8 ≈ 58 (мм),
f = 1,6 мм (табл. 1. 9 [1]).
Длину посадочного участка быстроходного вала принимаем по ГОСТ
12081-72: LМБ = 50 мм
Длина промежуточного участка быстроходного вала:
LКБ =
(1…1,4) ·dП = (1…1,4) ·45 = 45…63 ≈ 50 (мм),
Длина промежуточного участка тихоходного вала:
LКТ =
(0,8…1,2) ·dП = (0,8…1,2) ·70 = 60…84 ≈ 70 (мм)
Длину посадочного участка тихоходного вала принимаем по ГОСТ
12081-72: LМБ = 110 мм
Конструкции быстроходного, промежуточного и тихоходного валов
приведены на рис. 5
Рисунок 6 - Конструкции валов
5.1 Расчет
промежуточного вала на усталостную прочность
При расчете на усталостную прочность представим вал в виде
балки на двух опорах. Одну из опор примем шарнирно-неподвижной, другую шарнирно
подвижной. Заменим действие установленных на вал колес соответствующими
нагрузками. Векторы радиальных сил Fr2 и Fr3 перенесем в центр тяжести
сечения вала по линии их действия. Векторы окружных сил Ft2 и Ft3-параллельно самим себе.
При этом появятся два крутящих сосредоточенных момента:
Ткр2=Ткр3=Т2Б=392 (Н·м)
Перенесем векторы сил Fa2 и Fa3 на ось промежуточного
вала. При этом возникает сосредоточенные изгибающие моменты:
Тиз2Б =
=
78,2 (Н·м)
Тиз2Т =
=
79,33 (Н·м)
Силовые факторы лежащие в вертикальной плоскости вызовут в
подшипниках реакции Ray и Rby, а в горизонтальной плоскости Rax и Rbx.
Видно (рис. 6), что вал работает на совместное действие
растяжения, кручения и изгиба. Рассмотрим каждую деформацию отдельно, используя
принцип независимости действия сил. Определим положение опасного сечения вала,
для этого используя метод сечений, установим, как меняются по длине вала
внутренние силовые факторы, т.е. построим их эпюры.
Изгиб в вертикальной плоскости.
Σmoma=0ююю
Fr3·l1 + Fr2· l2 - Tиз2Б+Тиз2Т - Rbz·l3 =0
Rbz=
=
=
- 459,15 (Н)
Σmomb = 0
Fr2·(l3 - l2) +Fr3·(l3 - l1) - Tиз2Б+Тиз2Т+Raz·(l3) = 0
Raz=
=
=
- 2371,2 (Н)
Проверим правильность определений реакций. Для этого запишем
уравнения статического равновесия в виде суммы проекций всех сил на ось Z.
ΣY=
- Raz - Fr2 + Fr3
- Rbz= - 2371,2 - 1151+3981,35-459,15 = 0
Вычислим изгибающие моменты:
Т11в= Raz·l1 = - 2371,2·45,6·10-3 = - 108,13 (Н·м)
Т12в= Raz·l1 +Тиз2Т = - 108,13 +79,33 = - 28,8 (Н·м)
T21в= Raz·l2+Fr3·
(l2-l1) =
2385,05·100,9·10-3+3981,25∙55,3·10-3 =
- 20,5 (Н·м)
T22в=Raz·l2+Fr3· (l2-l1) - Tиз2Б=
= - 20,5 - 78,2 = - 98,69 (Н·м)
По полученным значениям строим эпюру Тив (рис. 6).
Рисунок 7 - Эпюра вертикальных сил
Изгиб в горизонтальной плоскости.
Σmoma=0
Ft3·l1-Ft2·l2-Rbу·l3=0
Rby=
=
=1415,1 (Н)
Σmomb=0t2·(l3-l2)
- Ft3·(l3-l1) +Raу·l3=0ay=
=
=
=7130 (Н)
Проверим правильность определений реакций. Для этого запишем
уравнения статического равновесия в виде суммы проекций всех сил на ось Y.
ΣY=
Ray - Ft3+ Ft2+Rby=7130-12008,7+3463,6+1415,1=0
Вычислим изгибающие моменты:
Т1г=Ray·l1=7130·45,6·10-3=325,13 (Н·м)
T2г=Ray·l2-Ft3· (l2-l1)
=
=7130·100,9·10-3-12008,7·(100,9-45,6) ·10-3 =
66,2 (Н·м)
По полученным значениям строим эпюру Тиг (рис. 7).
Рисунок 8 - Эпюра горизонтальных сил
Рисунок 9 - Эпюра cуммарных
моментов
Определим суммарный изгибающий момент в опасном сечении.
Ти=
=
=342,64 (Н·м)
Определим суммарные реакции в опорах.
Ra=
=
=7513,95 (Н)
Rb=
=
=1487,7 (Н)
Fa = Rbx=2455,23 Н.
Определим фактический запас прочности.
Выбираем материал вала - сталь 45, улучшенная, σВ=750 МПа,
σТ=450 МПа. Диаметр вала в опасном сечении d = 57,12 мм.
Осевой момент сопротивления:
Wи=0,1·d3=0,1·(57,12·10-3) 3=18,6·10-6 (м3).
Полярный момент сопротивления:
Wp=0,2·d3=0,2·(57,12·10-3)
3=37,2·10-6 (м3).
Определим для опасного сечения запас сопротивления усталости и
сравним его с допускаемым. При совместном действии напряжения кручения и изгиба
запас сопротивления усталости определяют по формуле:
S=
,
где sσ=
-запас сопротивления усталости только по
изгибу;
sτ=
-запас сопротивления усталости только по кручению.
В этих формулах σа и τа-амплитуды переменных составляющих циклов напряжений, а σm и τm-постоянные
составляющие, ψσ и ψτ-коэффициенты, корректирующие влияние
постоянной составляющей цикла напряжений на сопротивление усталости, σ-1 и τ-1 - пределы выносливости, Кd-масштабный фактор, КF-фактор шероховатости, Кσ и Кτ-эффективные коэффициенты концентрации
напряжений при изгибе и кручении.
Найдем напряжение изгиба:
σа=Ти/Wи=342,64/18,6·10-6 = 18,42
(МПа).
Напряжение кручения:
τ=Ткр/Wp=392/37,2·10-6=10,54 (МПа),
τа=0,5·Ткр/Wp=0,5·10,54
= 5,27 (МПа).
Рассчитаем пределы выносливости σ-1 и τ-1:
σ-1=0,4·σВ=0,4·750=300 (МПа),
τ-1=0,2·σВ=0,2·750=150 (МПа).
По табл. 15. 1 [2] для галтели Кσ=1,85, Кτ =1,4.
По графику (см. рис. 15. 5 [2], кривая 2) Кd=0,48.
По графику (см. рис. 15. 6 [2], для чистовой обточки) КF=0,9.
Для средне углеродистой стали ψσ=0,1 и ψτ=0,05 [2]. Найдем sσ:
sσ=
=
≈3,8
Найдем sτ:
sτ=
=
=8,7
Определим запас сопротивления усталости:
S=
5.2
Определение ресурса подшипников промежуточного вала
Конические радиально-упорные подшипники подбираются по ГОСТ
333-79 исходя из ранее найденного диаметра dп=45 мм. Из каталога
находим их параметры-размеры, динамическую грузоподъемность С и статическую
грузоподъемность С0, а также параметр осевого нагружения е и
коэффициент осевой нагрузки Y.
Подшипник № 7209 А:
D=85 мм, d=45 мм, b=19 мм, С=42,7 кН, С0=33,4 кН, е=0,414, Y=1,45.
Радиальные нагрузки Ra = 7557,5 Н и Rb = 1374,4 Н, осевая
нагрузка Fa=2455,23 Н.
Определим
Fa/(VRa) = 2455,23/1·7513,95 = 0,327 < е = 0,414,
Fa/(VRb) = 2455,23/1·11487,7 = 1,65 > е = 0,414.
Коэффициент вращения V=1 [2] при вращении
внутреннего кольца.
Эквивалентная нагрузка подсчитывается по формулам:
при Fa/(V·Fr) ≤ e,
Pа= V·Ra·Kд·Kt=1·7513,95·1,3·1 = 9768,14 (Н);
где, Kд - коэффициент динамической нагрузки, Kд=1,3 ([1] для
редукторов), Kt - температурный коэффициент, Kt=1 [1];
при Fa/(V·Fr) >e,
Pb=(Х·V·Rb+Y·Fa) · Kд·Kt=
=(0,4·1·1487,7+1,45·2455,23) ·1,3·1 =4333,7 (Н)
с подставкой Х=0,4 (табл. 16. 4 [2]) и Y, выбранного из каталога.
Ресурс подшипника определяется из равенства:
LE=60·10-6·n·Lhe=60·10-6·138,99·7500
= 62,55 (млн. об),
где n-частота вращения, в нашем случае n=n2Б=n1Т=138,99 об/мин.
Динамическая грузоподъёмность подшипника:
Ср=Р·
,
где р=10/3=3,33 для роликовых подшипников, а1-коэффициент
надежности (а1=1 [1]), а2 - коэффициент, учитывающий
свойства материалов колец и тел качения (а2=1,1 табл. 16. 3 [2]).
Найдем динамическую грузоподъёмность подшипников (самого
нагруженного):
Сра= Ра·
=9768,14·
=32833,33 (Н)
Проверим выполнение условия:
Ср ≤ С
Сра = 32833,33 Н≤ С = 42700 Н
Условие выполняется, следовательно, подшипники подобраны верно.
Рисунок 10 Подшипник по ГОСТ 333-79
5.3 Подбор
призматических шпонок
Подбор шпонок производится по таблицам стандартов в функции
диаметра вала d,
определяющего ширину шпонки b и высоту h.
Принимая величину допускаемых напряжений смятия [σсм] =80…120 МПа, определяют рабочую длину шпонки (мм) по формуле:
Lр≥4·Т·103/(d·h· [σсм]),
где · [σсм] =150 МПа (для
неподвижных посадок [2]).
Шпонка b=10 мм, h=8 мм на хвостовике быстроходного вала:
Lр≥4·Т·103/(d·h· [σсм]) =
= 4·77,22·103/(32·8·150) = 8,04 (мм)
Полная длина шпонки первого исполнения (со скругленными
торцами)
L = Lр+b = 8,04+10= 18,04 ≈ 20 (мм)
Выбираем шпонку 10х8х 28 по ГОСТ 23360-78
Но исходя из конструктивных соображений длину шпонки
принимаем равной 36 мм
Выбираем шпонку 16х10х36 по ГОСТ 23360-78
Шестерню промежуточного вала выполняем в целом с валом.
Шпонка b= 20 мм,h =12 мм под колесом тихоходного вала:
Lр≥4·Т·103/(d·h· [σсм]) =
= 4·1487·103/(75·12·150) = 44,1 (мм)
Полная длина шпонки первого исполнения (со скругленными
торцами)
Выбираем 2 шпонки 20х12х 36 по ГОСТ 23360-78
Шпонка b=18 мм, h=11 мм на хвостовике тихоходного вала:
Lр≥4·Т·103/(d·h· [σсм]) = 4·1487·103/(60·11·150) = 60,1 (мм)
Полная длина шпонки первого исполнения (со скругленными
торцами)
L = Lр+b=60,1+18 =78,1» 80 (мм).
Выбираем шпонку 18х11х80 по ГОСТ 23360-78
6.
Конструирование элементов корпуса редуктора
Корпус редуктора служит для размещения и координации деталей
передачи, защиты их от загрязнения, организации системы смазки, а также
восприятия сил, возникающих в зацеплении редукторной пары, подшипниках,
открытой передаче. Корпус редуктора, как правило, разъемный; состоит из крышки
и корпуса. Габаритные размеры корпуса редуктора определяются габаритом
передачи. В малонагруженных редукторах при ТВых≤500н·м толщины корпуса и
крышки принимаются одинаковыми.
Толщина стенок в нашем случае вычисляется по формуле:
мм
Толщину стенки корпуса принимаем равной 12 мм, а крышки - 11 мм.
Толщину фланцев поясов корпуса и крышки:
верхнего пояса принимаем равной 15 мм,
нижнего пояса принимаем равной 20 мм.
Диаметры фундаментных болтов:
d1 =
(1,5…2,5) ·δ
d1 =
(1,5…2,5) ·12 = 18…30 мм
Принимаем фундаментные болты с резьбой М 20
Будет достаточно для проектируемого редуктора 4-х фундаментных
болтов.
Болты для крепления корпуса к крышке:
d2 =
(0,5…0,6) · d1 = (10…12) мм
принимаем болты с резьбой М 12
Болты для крепления корпуса к крышке у подшипников:
d3 =
(0,5…0,75) · d1 = (6…9) мм
принимаем болты с резьбой М 6 и М8
Болты с шестигранной головкой ГОСТ 7798-70
|
Резьба d = d1
|
6
|
8
|
12
|
|
Шаг резьбы
|
крупный
|
1,0
|
1,25
|
1,75
|
|
мелкий
|
-
|
1,0
|
1,25
|
|
|
Размер под
ключS
|
10
|
13
|
19
|
|
Высота головкиk
|
4
|
5,5
|
8
|
|
Диаметр
описанной окружностиe
|
10,9
|
14,2
|
20,9
|
|
Длина болта l
|
20
|
28
|
45
|
|
Длина резьбы b
|
18
|
22
|
30
|
Гайка М12-7Н по ГОСТ 5915-70
Шайбы пружинные ГОСТ 6402-70
|
Диаметр болта,
винта
|
d
|
s = b
|
|
6
|
6,1
|
1,6
|
|
8
|
8,1
|
2,0
|
|
12
|
12,1
|
3,0
|
Штифт 8х25 ГОСТ 3128-70
= 8; l = 25
Манжеты резиновая
армированная для валов ГОСТ 8752-79
|
|
Тип 1 d = 35; D
= 58; h = 10 Манжета 1-35´58-3
ГОСТ 8752-79
|
|
|
Тип 1 d = 70; D
= 95; h = 10 Манжета 1-70´95-3
ГОСТ 8752-79
|
Внутренний объем редуктора определяется исходя из зазоров
между выступающими частями передачи и внутренними стенками корпуса редуктора.
Корпуса бывают литые и сварные. Литейные радиусы зависят от
толщин соединяющихся частей корпуса, но не менее 2мм.
Смотровой люк служит для контроля сборки узла и осмотра
редуктора при эксплуатации. Люки можно совмещать с отдушкой.
Рисунок 11 - Крышка-отдушина
Проушины, скобы, цапфы служат для транспортировки редуктора.
Во время эксплуатации редуктора масло в нем постепенно
загрязняется, теряет свои свойства, тем самым, вызывая необходимость
периодической замены. Для этого в корпусе предусматривают сливное отверстие,
закрываемое пробкой с цилиндрической или конической резьбой (см. рис. 11).
Рисунок 12 - Сливное отверстие
Для данного редуктора выбираем сливное отверстие с цилиндрической
резьбой М16´1,5 с
габаритными размерами: l = 13 мм, L = 24 мм, b = 3 мм, D = 25 мм, S = 19 мм, d1 = 16 мм, D1 = 20,9 мм
Пробки для слива отработанного масла располагаются со стороны
тихоходного вала.
Маслоуказатели служат для контроля количества масла в масляной
ванне редуктора. Они бывают крановые и жезловые.
Выбираем маслоуказатель жезловый для нашего редуктора:
М12х1,75: d1 = 16 мм, D = 25
мм.
Рисунок 13 Маслоуказатель жезловый
Литература
1. Проектирование
приводов с цилиндрическими редукторами: Методические указания к выполнению
расчетно-графической работы по дисциплине «Детали машин и основы
конструирования»/Сост.: С. С. Прокшин, Б. А. Беляев, А. А. Сидоренко, В. А.
Федоров, С. М. Минигалеев. - Уфа: УАИ, 2006. - 58 с.
2. Иванов
М. Н. Детали машин. Учеб. для студентов высш. техн. учеб. заведений. - 4-е
изд., перераб. и доп. - М.: Высш. шк., 1984. 336 с., ил.
. Дунаев
П. Ф., Леликов О. П. Детали машин. Курсовое проектирование: Учеб. пособие. -
М.: Высш. шк., 1984. - 336 с., ил.
. Анурьев
В. И. Cправочник конструктора-машиностроителя. В 3-х т. - 5-е изд., перераб. и
доп. - М.: Машиностроение, 1979. 559 с., ил.