Тепловлажностный расчет наружных ограждений
Министерство образования и науки
Российской Федерации
ГОУ ВПО Магнитогорский
Государственный Технический Университет имени Г.И. Носова
Кафедра ТГВ и ГХ
Выполнила: студентка гр. СО-04 Юскина Е.B.
Проверила: Короткова Л.И.
Содержание
Введение
1. Исходные данные
1.1 Техническая характеристика здания
1.2 Конструкция наружных ограждений
1.3 Характеристика климатического района
1.4 Расчетные параметры внутреннего воздуха
2. Теплотехнический расчет наружных ограждений
2.1 Теплотехнический расчет наружных стен
2.2 Теплотехнический расчет чердачного перекрытия
2.3 Теплотехнический расчет полов
2.4 Теплотехнический расчет окон и балконных дверей
3. Проверка воздухопроницаемости конструкций здания
3.1 Проверка воздухопроницаемости наружных стен
3.2 Проверка воздухопроницаемости окон и балконных дверей
4. Проверка наружных стен на конденсацию влаги в толще ограждений
4.3 Построение графика распределения фактической упругости водяного
пара
5. Проверка теплоустойчивости наружных стен здания в теплый период
Список литературы
Введение
В курсовой работе выполнен тепловлажностный расчет наружных
ограждений жилого пятиэтажного здания к климатических условиях г. Москвы,
техническая характеристика здания, конструкция ограждений, планы и разрезы
приведены в СК 1-8-91 стр.11.
Произведен теплотехнический расчет наружных стен, полов,
чердачного перекрытия и световых проемов. Проведена проверка
воздухопроницаемости конструкций здания, а также проверка на конденсацию влаги
в толще ограждения в холодный период года. Выполнена проверка теплоустойчивости
наружных стен в теплый период года.
Все расчеты выполнены в соответствии с нормативной и
справочной литературой.
1. Исходные
данные
1.1
Техническая характеристика здания
Здание жилое пятиэтажное имеет чердак и техническое подполье.
Строительный объем здания 3818
;
Площадь застройки 242
;
Жилая площадь 460
;
Общая площадь квартир 810
;
Площадь летних помещений 114
.
1.2
Конструкция наружных ограждений
Наружные стены - кирпичные с утеплителем;
Наружная отделка наружных стен - штукатурка с окраской;
Внутренняя отделка наружных стен - штукатурка, окраска,
облицовка плиткой;
Перекрытия - сборные ж. - б. пустотные плиты, 160 мм;
Утеплитель чердачного перекрытия - минеральная вата;
Полы - линолеум, в санузлах керамическая плитка;
Окна и балконные двери - деревянные, тройное
остекление в раздельно-спаренных переплетах;
Наружные двери - деревянные;
Внутренние стены - из кирпича, 250мм;
Перегородки - гипсобетонные и гипсоцементнобетонные,
120мм;
Кровля - из асбестоцементных листов.
1.3
Характеристика климатического района
Город: Москва;
Влажностная зона: нормальная (графа Б);
Режим эксплуатации: нормальный;
Коэффициент обеспеченности: 0,92;
Средняя температура наиболее холодной пятидневки: - 26;
Средняя температура наиболее холодных суток: - 32;
Абсолютная минимальная температура: - 42;
Средняя температура отопительного периода: - 3,6;
Продолжительность отопительного периода: 213;
Средняя температура самого жаркого месяца: +18,1;
Максимальное значение суммарной солнечной радиации: 631
;
Среднее значение суммарной солнечной радиации: 165
;
Максимальная амплитуда колебаний температуры самого жаркого
месяца: +18,5;
Среднее значение среднемесячных температур зимнего периода: - 6,9;
Среднемесячные температуры зимнего периода:
Среднее значение среднемесячных температур зимнего периода:
Средняя за зимний период упругость водяного пара: 356 Па;
Упругость водяного пара по месяцам в зимний период равна:
Средняя за зимний период упругость водяного пара:

Минимальная из средних скоростей ветра по румбам за июль: 0;
Географическая широта: 56.
1.4 Расчетные
параметры внутреннего воздуха
В соответствии с нормативными требованиями температура
воздуха в помещениях принята следующая:
в жилых комнатах 21
в кухнях 19
на лестничных клетках 16
в раздельных санузлах 18
в совмещенных санузлах 25
в ванных комнатах 25
Относительная влажность воздуха составляет 40-60%
теплотехнический наружное ограждение конденсация
2.
Теплотехнический расчет наружных ограждений
2.1
Теплотехнический расчет наружных стен
Рисунок 2.1 - Конструкция наружных стен
- штукатурка
- кирпич
- теплоизоляция (пенополистирол)
- кирпич
- штукатурка
Таблица 2.1 - Теплотехнические показатели материалов
конструкций наружных стен
Наименования слоя Толщина
,
Объемная масса
Коэффициент теплопроводности
Коэффициент теплоусвоения
Паропроница-емость
|
|
|
|
|
|
|
|
1.
Известково-песчаный раствор
|
0,02
|
1600
|
0,81
|
9,76
|
0,12
|
|
2. Обыкновенный
кирпич
|
0,38
|
1800
|
0,81
|
10,12
|
0,11
|
|
3.
Пенополистирол
|
|
40
|
0,05
|
0,49
|
0,05
|
|
4. Обыкновенный
кирпич
|
0,12
|
1800
|
0,81
|
10,12
|
0,11
|
|
5.
Цементно-песчаный раствор
|
0,02
|
1800
|
0,93
|
11,09
|
0,09
|
Находим градусо-сутки отопительного периода:
(2.1)
где
температура внутреннего воздуха в жилых
комнатах,
средняя температура наружного воздуха за отопительный период,
;
продолжительность отопительного периода, принимаемая по СНиП [5],
;
Нормируемое сопротивление теплопередаче наружных стен:
где
коэффициенты, значения которых следует
принимать по данным таблицы для соответствующих групп зданий
Приравниваем сопротивление теплопередачи наружных стен к
требуемому и вычисляем минимальную толщину утепляющего слоя:
(2.3)
где
коэффициент теплоотдачи на внутренней
поверхности ограждения,

;
толщина слоя ограждения,
;
коэффициент теплопроводности слоя материала,
;
коэффициент теплоотдачи для зимних условий на наружной поверхности
ограждения,
;

Фактическое сопротивление теплопередаче ограждения
(2.4)
,
Коэффициент теплопередачи ограждения:
2.2
Теплотехнический расчет чердачного перекрытия
Рисунок 2.2 - Конструкция чердачного перекрытия
- бетонная плита
- минеральная вата
- шлаковая засыпка
Таблица 2.2 - Теплотехнические показатели материалов
конструкции чердачного перекрытия
Наименования слоя Толщина
,
Объемная масса
Коэффициент теплопроводности
Коэффициент теплоусвоения
Паропроница-емость
|
|
|
|
|
|
|
|
1. Бетонная
плита
|
0,16
|
1400
|
0,65
|
9,14
|
0,098
|
|
2. Минеральная
вата
|
|
100
|
0,07
|
0,73
|
0,56
|
|
3. Шлаковая
засыпка
|
0,1
|
400
|
0,14
|
1,99
|
0,24
|
При
нормируемое сопротивление теплопередаче
чердачного перекрытия:
Приравниваем сопротивление теплопередачи чердачного перекрытия к
требуемому и вычисляем минимальную толщину утепляющего слоя:
Принимаем
Фактическое сопротивление теплопередаче чердачного перекрытия:
Коэффициент теплопередачи чердачного перекрытия:
2.3
Теплотехнический расчет полов
Рисунок 2.3 - Конструкция линолеумного пола
- бетонная плита
- минеральная вата
- цементно-песчаный раствор
- линолеум
Рисунок 2.4 - Конструкция плиточного пола
- бетонная плита
- минеральная вата
- цементно-песчаный раствор
- керамическая плитка
Рисунок 2.5 - Конструкция бетонного пола
- бетонная плита
- цементно-песчаный раствор
Таблица 2.3 - Теплотехнические показатели материалов
конструкции полов
Наименования слоя Толщина
,
Объемная масса
Коэффициент теплопроводности
Коэффициент теплоусвоения
Паропроница-емость
|
|
|
|
|
|
|
|
1. Бетонная
плита
|
0,16
|
1400
|
0,65
|
9,14
|
0,098
|
|
2. Минеральная
вата
|
0,07
|
0,73
|
0,56
|
|
3.
Цементно-песчаный раствор
|
0,02
|
1800
|
0,93
|
11,09
|
0,09
|
|
4. Линолеум
|
0,005
|
1800
|
0,35
|
8,22
|
0,002
|
|
5. Керамическая
плитка
|
0,01
|
1600
|
0,64
|
8,48
|
0,14
|
При
нормируемое сопротивление теплопередаче
полов:
Для линолеумного пола:
Приравниваем сопротивление теплопередаче линолеумного пола к требуемому
и вычисляем минимальную толщину утепляющего слоя:
Принимаем
Фактическое сопротивление теплопередаче линолеумного пола:
Коэффициент теплопередачи линолеумного пола:
Для плиточного пола:
Приравниваем сопротивление теплопередачи полов к требуемому и
вычисляем минимальную толщину утепляющего слоя:
Принимаем
Фактическое сопротивление теплопередаче плиточного пола:
Коэффициент теплопередачи плиточного пола:
Для бетонного пола:
2.4
Теплотехнический расчет окон и балконных дверей
При
нормируемое сопротивление теплопередаче
для окон и балконных дверей составляет:
Фактическое приведенное сопротивление теплопередаче для тройного
остекления в раздельно-спаренных переплетах:
Коэффициент теплопередаче для окон равен:
3. Проверка
воздухопроницаемости конструкций здания
3.1 Проверка
воздухопроницаемости наружных стен
Сопротивление воздухопроницанию ограждающих конструкций
должно быть не менее требуемого
сопротивления воздухопроницанию
.
. (3.1)
Требуемое сопротивление воздухопроницанию наружных стен здания
определяют по формуле
, (3.2)
где 
нормативная воздухопроницаемость ограждающих конструкций,
принимаемая по табл.12 [2].
разность давлений воздуха на наружной внутренней поверхности
ограждающих конструкций,
; (3.3)
высота здания от поверхности земли до карниза,
;
максимальная из средних скоростей ветра за январь, повторяемость
которых составляет 16% и более,
;
удельный вес соответственно наружного и внутреннего воздуха,
, определяемый по формуле:
, (3.4)
температура воздуха внутреннего и наружного, равная средней
температуре наиболее холодной пятидневки,
;
переводной коэффициент,
.

Сопротивление воздухопроницанию многослойной ограждающей
конструкции
рассчитывают по формуле
, (3.5)
где
сопротивления воздухопроницанию отдельных
слоев ограждающей конструкции, принимаемая по прил.9 [2].
Для слоя известково-песчаного раствора, толщиной 0,02
,
.
Для слоя кирпича глиняного обыкновенного, толщиной 0,38
,
.
Для слоя пенополистирола, толщиной 0,12
,
.
Для слоя кирпича глиняного обыкновенного, толщиной 0,12
,
Для слоя цементно-песчаного раствора, толщиной 0,02
,
3.2 Проверка
воздухопроницаемости окон и балконных дверей
Сопротивление воздухопроницанию окон и балконных дверей жилых и
общественных зданий должно быть не менее требуемого сопротивления
воздухопроницанию
, определенного по формуле:
, (3.6)
где
разность давлений, определяемая по формуле
(3.3),
;
нормативная воздухопроницаемость для окон и балконных дверей,
принимаемая по табл.12 [2];
разность давлений воздуха, при которой определяют сопротивление
воздухопроницанию.
Сопротивление воздухопроницанию заполнений световых проемов (окон,
балконных дверей, фонарей) принимают в соответствии с прил.10 [2].
Для тройного остекления в раздельно-спаренных переплетах
сопротивление воздухопроницанию заполнений световых проемов с деревянными
переплетами, с уплотнением прокладками из губчатой резины, число уплотненных
притворов заполнения 3:
4. Проверка
наружных стен на конденсацию влаги в толще ограждений
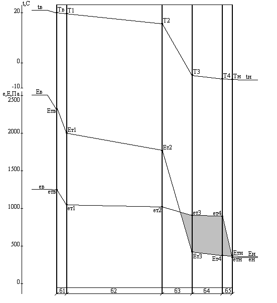
Для расчета в масштабе вычерчивают разрез ограждения. Затем с
помощью аналитических расчетов и графического построения вычерчивают графики
распределения температуры
, максимально возможной упругости
водяных паров и фактической упругости
водяных паров в воздухе.
В случае пересечения графиков фактической и максимально возможной
упругости водяных паров определяют зону возможной конденсации.
.1 Построение графика распределения температуры
Общее сопротивление теплопередаче ограждения:
Температуру в любой точке сечения
ограждения можно определить по формуле:
,
где
сопротивление слоев ограждения от
до сечения
;
средняя температура за зимний период,
.
.2 Построение графика распределения максимально возможной
упругости водяного пара
График
строится в соответствии с зависимостью
.
При
4.3
Построение графика распределения фактической упругости водяного пара
Общее сопротивление паропроницанию ограждения:
где
сопротивление влагообмену на внутренней
поверхности ограждения,
сопротивление влагообмену на наружной поверхности ограждения,
сопротивление паропроницанию отдельных слоев,
В любом сечении
упругость водяного пара определяется по формуле:
где
сопротивление паропроницанию слоев
ограждения от
до сечения
;
упругость водяных паров внутреннего воздуха,
,
относительная влажность воздуха, принимается от 40% до 60%,
средняя за зимний период упругость водяного пара, принимаемая по
таблицам СНиПа [5], но если получилось, что
, то в этом случае
,
относительная влажность наиболее холодного месяца (январь).
Так как графики фактической и максимально возможной упругости
водяных паров пересекаются, следовательно присутствует зона возможной
конденсации.
5. Проверка
теплоустойчивости наружных стен здания в теплый период
Амплитуда колебаний температуры внутренней поверхности ограждений
не должна превышать требуемой амплитуды
.
, (5.1)
Требуемую амплитуду колебаний температуры внутренней поверхности
определяют по формуле
где
среднемесячная температура наружного
воздуха за июль,
.
Амплитуду колебаний внутренней поверхности ограждений рассчитывают
по зависимости
, (5.3)
где
расчетная амплитуда колебаний температуры
наружного воздуха,
;
величина затухания расчетной амплитуды колебаний температуры
наружного воздуха.
Расчетная амплитуда колебаний наружного воздуха
, (5.4)
где
максимальная амплитуда суточных колебаний
температуры наружного воздуха в июле, принимаемая по СНиП [5];
коэффициент поглощения солнечной радиации материалом наружной
поверхности ограждения, для штукатурки цементной кремовой
;
соответственно максимальное и среднее значения суммарной
солнечной радиации (прямой и рассеянной);
коэффициент теплообмена на наружной поверхности ограждения в
летних условиях, определяемый по формуле:
, (5.5)
где
переводной коэффициент,
;
минимальная из средних скоростей ветра по румбам за июль,
принимаемая по СНиП [5], но не менее 1м/с.
Величину затухания расчетной амплитуды колебаний температуры
наружного воздуха в ограждении определяют по выражению
, (5.6)
где
основание натуральных логарифмов;
тепловая инерция ограждающей конструкции, определяемая по формуле
, (5.7)
расчетных коэффициенты теплоусвоения материала отдельных слоев
ограждения;
коэффициенты теплоусвоения материала отдельных слоев ограждающей
конструкции, определяемые по формулам (5.8) - (5.10);
коэффициент теплообмена на наружной поверхности ограждения в
летних условиях, вычисляемый по формуле (5.5);
коэффициент теплообмена на внутренней поверхности ограждения.
Для определения коэффициентов теплоусвоения наружной поверхности
отдельных слоев ограждающей конструкции предварительно вычисляют тепловую инерцию
каждого слоя, начиная с первого слоя
(считая от внутренней поверхности ограждающей конструкции).
Если слой имеет тепловую инерцию
, то для этого слоя
, (5.8)
Для слоев с тепловой инерцией
коэффициенты теплоусвоения наружной поверхности находят следующим
образом:
для первого слоя
(5.9)
для i-ого слоя
(5.10)
Для первого слоя - известково-песчаный раствор:
;
;
Для второго слоя - кирпич обыкновенный:
;
;
Для третьего слоя - пенополистирол:
;
;
Для четвертого слоя - кирпич обыкновенный:
;
;
Для пятого слоя - цементно-песчаный раствор:
;
.
Список
литературы
1.
СНиП
23-01-99. Строительная климатология - М.: Госстрой России 2004 г.
2. СНиП II-3-79
. Строительная теплотехника - М.: Госстрой
России 2003 г.
3. Справочник проектировщика. Внутренние
санитарно-технические устройства. Ч.1: Отопление / В.Н. Богословкий, Б.А.
Купнов, А.Н. Сканави, и др. М.: Стройиздат, 1990 г.
4. Методические указания к курсовой работе по
дисциплине "Строительная теплофизика" для студентов специальности
270109. Магнитогорск: ГОУ ВПО "МГТУ им.Г.И. Носова", 2006.61 с.