Синтез системы подчиненного управления электропривода постоянного тока
Курсовая
работа по курсу:
"Теория
автоматического управления"
на тему:
"Синтез
системы подчиненного управления электропривода постоянного тока"
Содержание
Введение
Задание
Расчет
двигателя постоянного тока как объекта управления
Расчет тиристорного преобразователя как усилителя мощности
Расчет
датчиков электропривода
Принцип
синтеза системы подчиненного управления электропривода
Расчет
внутреннего контура на МО
Моделирование
внутреннего контура на МО
Расчет
внутреннего контура на СО
Моделирование
внутреннего контура на СО
Расчет
внешнего контура на МО
Моделирование
внешнего контура на МО
Расчет
внешнего контура на СО
Моделирование
внешнего контура на СО
Расчет
узла токов ограничения
Введение
Любая рабочая машина содержит рабочие органы, а они
непосредственно осуществляют технологический процесс. Исполнительные органы
технологических машин требуют регулирования скорости их движения в большинстве
случаев. Исполнительный орган в процессе движения испытывает сопротивление,
связанное с силами трения, давлением, деформацией материалов и др. Для
выполнения технологической операции исполнительный орган рабочей машины должен
совершат механическое движение с требуемой скоростью и преодолевать силы
сопротивления. Для этого к нему подводится энергия от устройства, которое
называется приводом. Привод - самый распространенный объект управления.
Все задачи, решаемые в ТАУ, можно объединить в два больших
класса: задачи анализа и задачи синтеза (проектирования). К задачам анализа
относятся: определение устойчивости, расчет точности систем в различных
установившихся режимах, построение кривых переходных процессов, опенка качества
работы системы по тем или иным критериям. Синтез является важнейшим этапом
проектирования и конструирования систем управления. В общем случае при
проектировании систем необходимо определить алгоритмическую и функциональную
структуру, т.е. решить задачу полного синтеза. Алгоритмическую структуру
системы (или ее части) находят при помощи математических методов и на основании
требования, записанных в четкой математической форме. Поэтому процедуру
отыскания алгоритмической структуры часто называют теоретическим синтезом или
аналитическим конструированием системы управления. Синтез функциональной
структуры или технический синтез заключается в выборе конкретных элементов с
учетом их физической природы и согласования статических и энергетических
характеристик смежных элементов. Этот этап проектирования не имеет строгой
математической основы и относится к области инженерного искусства. Процессы
определения алгоритмической и функциональной структур тесно переплетаются друг
с другом. Нередко их приходится выполнять по несколько раз, чередуя между
собой. Окончательное решение о структуре системы принимается, как правило, на
основе компромисса между точностью и качеством, простотой и надежностью и
другими показателями, т.е. синтез - многовариантный процесс. Заключительным
этапом проектирования систем управления является параметрическая оптимизация-
расчет настроечных параметров выбранного регулятора и корректирующих устройств
синтезируемой части. После решения задачи синтеза обычно выполняют анализ
синтезируемой системы: обладает ли вновь созданная система необходимыми
показателями точности, устойчивости и качества. Если исходные требования
выполняются не в полной мере, то уточняется и корректируется синтезируемая
часть и вновь выполняется процедура анализа. На всех этапах синтеза и анализа
целесообразно применение аналоговых и цифровых вычислительных машин (ВМ).
Моделирование системы на ВМ позволяет исследовать большое количество вариантов
структур и параметров и тем самым существенно ускорить решение задач синтеза.
Задание
Rя = 0,34 Ом
Lя = 0,04 Гн
Uян = 204 В
Iян = 52 А
nн = 974 об/мин
J = 2,5 кг*м2
Iяmax = 130 А
Расчет двигателя постоянного тока как объекта
управления
Расчет схемы двигателя постоянного тока с независимым
возбуждением
Рис.1
Следующая система уравнений описывает работу двигателя
(1)
Здесь Rя=rя+rдн - сопротивление всей якорной цепи; Lя=L+Lдр+Lдн - индуктивность якорной цепи; Ф -
магнитный поток возбуждения; ω - угловая частота вращения вала двигателя; M - вращающий момент, развиваемый двигателем; Mc - момент сопротивления от рабочего
механизма; I - момент инерции вращающихся частей; E - противо ЭДС якоря; с электромашинный коэффициент.
При расчетах электромеханических параметров ДПТ значения с и Ф
отдельно не используют и в паспортных данных двигателей их не приводят.
Произведение сФ определяют по паспортным данным двигателя для номинального
режима в установившемся состоянии.
Из первых двух уравнений системы (1):
при условии:
рад/с-1
обозначим сФ = k
Из первых двух уравнений системы (1) получаем:
(2)
Уравнение (2) - дифференциальное уравнение 1-го порядка для
якорной цепи: входной сигнал - напряжение Uя, выходной сигнал - ток
якоря iя. В операторной форме записи получим следующее:
(3)
Величина
имеет размерность времени [с] и
называется электромеханической постоянной времени якорной цепи.
(с)
Используя приращение
, которое вызывает приращение тока
при
получаем из (3):
- дифференциальное уравнение в операторной форме.
Отсюда передаточная функция якорной цепи:
(4) - представляет собой апериодическое звено 1-го порядка
Теперь исходную систему (1) можно свести в следующую системы:
(5)
В этой системе уравнений (5) входом ДПТ является напряжение
, выходом - частота вращения
, нагрузка -
, а ток
является промежуточной величиной. Решим систему уравнений (5)
относительно
в зависимости от величин
и
. Из 2-го уравнения системы (5) находим:
Подставив значение
в 1-е уравнение системы (5) получим:
Первое слагаемое определяет влияние на
напряжение якоря
, а второе - влияние момента нагрузки
. Величина
имеет размерность времени [с] и называется электромеханической
постоянной времени.
(с)
Величина
(с) - коэффициент передачи двигателя.
Окончательно получим следующее выражение для передаточной функции ДПТ:
(6)
Следует отметить, что в статическом режиме (при р=0) формула (6)
совпадает с известной формулой механической характеристики ДПТ:
(7)
Анализ передаточной функции ДПТ по выражению (6) показывает,
что его структурная схема может быть представлена последовательным соединением
апериодическою звена 1-го порядка и интегрирующего звена, охваченные
отрицательной обратной связью.
Рис
Условным здесь является сравнение тока якоря
с током нагрузки.
Что полностью совпадает с передаточной
функцией по формуле (6). Поэтому приведенная структурная схема является
адекватной и полностью соответствует дифференциальному уравнению ДПТ.
Передаточная функция ДПТ является звеном 2-го порядка.
Определим степень колебательности:
Т.к.
, то данное звено 2-го порядка является
колебательным.
Расчет тиристорного
преобразователя как усилителя мощности
Тиристорный преобразователь (ТП) преобразует переменное
напряжение сети в регулируемое постоянное напряжение для питания якорной цепи.
Силовая схема трансформатор - выпрямительный мост - ДПТ следующая:
Рис. 2
Управляющим входом для ТП является выходное напряжение регулятора
, выходом силовое напряжение
. Работа ТП поясняется следующей
диаграммой:
Рис.3
При Uр=0, α=1800, Uтп=0;
При Uр=Uсх max, α=00, Uтп=Umax;
Таким образом соблюдается пропорция в промежуточных значениях
При Uр=Uсх max/2, α=900, Uтп= Umax/2
Система импульсно фазового управления (СИФУ) синхронно с
изменением напряжения сети выдает импульсы на тиристоры. В результате на вход
проходит часть синусоиды в зависимости от угла α.
Как элемент системы ТП обладает малой инерционностью,
связанной с процессом коммутации тиристоров, а также имеет запаздывание. Оно
обусловлено дискретным характером работы ТП: если после открывания какого-либо
тиристора изменяется значение Uр, то соответствующее изменение в открывании триристоров
произойдет только в следующей полуволне. Крайнее значение запаздываний
колеблется от 00 до 1800. Соответственно задержка на одну
фазу τ=1/2f, τmax=0.01 c для однофазной сети и τmax=0.0033 c для трёхфазной сети.
Таким образом кривая изменения выходного напряжения ТП при
набросе сигнала Uр будет иметь вид:
Uтп
Рис
Эта кривая может бить аппроксимирована выходной кривой
апериодического звена 1-го порядка без запаздывания. В результате получим
следующую передаточную функцию ТП:
Для трехфазных ТП малая постоянная времени Тμ=0,01с, а коэффициент передачи ТП
равняется:
Итак, передаточная функция ТП:
Расчет датчиков электропривода. Расчет датчика
тока
Функцией датчика тока является преобразование тока iя в пропорциональное
напряжение Uдт
для подачи в регулятор тока. При современной элементной базе на основе
операционных усилителей, микросхем и транзисторов с выходным напряжением в 10 В
необходимо, чтобы при максимальном значении тока iя напряжение Uдт было равно 10 В.
Отсюда коэффициент передачи датчика тока равен:
Расчет датчика частоты вращения
Датчик частоты вращения как датчик скорости вращения вала двигателя
постоянного тока преобразует механическое вращение вала в электрический сигнал
посредством тахогенераторов. При этом номинальному значению частоты вращении
двигателя постоянного тока должно соответствовать выходное напряжение датчика
скорости, равное напряжению схемы, поэтому коэффициент датчика скорости равен:
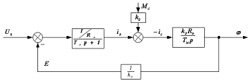
Принцип синтеза системы подчиненного управления электропривода
В электроприводе (ЭП) обьектом управления (ОУ) является двигатель
постоянного тока (ДПТ). Его выходной координатой является частота вращения.
Промежуточной координатой является напряжение якоря Uя, ток якоря iя, а также вращающий
момент, развиваемый двигателем. Напряжение якоря ограничивается максимально
допустимым значением, благодаря трансформатору между сетью и ТП. Также
напряжение Uтп
max может бить ограничено
ограничением угла αmin: если αmin=100, то каким бы большим не бил сигнал Uр, αmin не может быть меньше 100. Поэтому напряжение Uтп легко ограничивается и
не может вызвать нежелательного повышения на якорной цепи.
Ток якоря и вращающий момент двигателя взаимосвязаны: M=cФiя. Поэтому ограничение
вращающего момента означает ограничение тока. Ограничение вращающего момента
двигателя нужно во избежание поломок в механической цепи передачи вращающего
момента от вала двигателя к рабочему механизму. Ограничение вращающего момента
также нужно для недопущения слишком больших ускорений при пуске двигателя, это
может привести к механическим поломкам. Отсюда вытекает задача токоограничения
по максимально допустимому значению.
Следовательно синтезируемая САР ЭП должна бить двух
контурной: 1-й внутренний контур - контур регулирования тока со своим
регулятором; 2-й контур - контур регулирования частоты вращения двигателя.
Фильтр на входе САР может бить использован для устранения
большого перерегулирования при настройке на симметричный оптимум.
С учетом приведенных выше рассуждений структурная схема
синтезируемой САР ЭП будет следующей:
Рис
Расчет внутреннего контура на МО
Неизменяемая часть:
Рис
Такая неизменная часть характерна для многих объектов
управления, в данном случае для якорной цепи ДПТ.
-тиристорный
преобразователь;
-якорная цепь, причем
;
kд- датчик тока
Рис
Передаточная функция неизменяемой части как объекта
управления:
Выбираем ПИ-регулятор, т.к. статическая ошибка должна быть
исключена. Передаточная функция ПИ-регулятора будет следующей:
Соответственно передаточная функция разомкнутой САР (разрыв
после датчика тока) будет следующей:
Для уменьшения порядка расчета следует принять Трт=Тя
. Это тем более обоснованно тем, что регулятор Wрт(р) должен компенсировать инерционное действие большей постоянной
времени Тя.
В этом случае после сокращения (1+Тртр) и (1+Тяр)
полу чим:
Для этого рассмотрим передаточную функцию замкнутой САР:
В результате получили передаточную функцию 2-го порядка, поэтому
нужно сравнивать коэффициенты при степенях р с соответствующими
коэффициентами при степенях р фильтра Баттерворса 2-го порядка.
Фильтр Баттерворса 2-го порядка по постоянной времени Тμ будетследующим:
Приравнивая коэффициенты в соответствующих степенях р фильтра
Баттерворса и полученной нами передаточной функции замкнутой САР поучим
следующие равенства:
Очевидно, что оба уравнения одинаковы. Из любого из них находим kpт:

Если система второго порядка, коэффициент
демпфирования в полученной передаточной функции:
При моделирования на МО введем
дополнительное звено чтобы получить передаточную функцию которая соответствует фильтру Баттерворса 2-го
порядка.
;
Моделирование внутреннего контура на МО
Рис
Рис
Рис
σ = 4,3%
tпп = 0.2 c
Расчет внутреннего
контура на СО
Внутренний контур:
Рис
Определим передаточную функцию внутреннего контура, не
принимая условие ТРТ=ТЯ.
Передаточная функция ПИ-регулятора :
Передаточная функция разомкнутого внутреннего контура:
Передаточная функция замкнутого внутреннего контура:
В результате получили передаточную функцию 3-го порядка, т.к.
р3 (вместо 2-го порядка при настройке на МО), следовательно, нужно сравнивать
коэффициенты при степенях р с соответствующими коэффициентами при степенях р фильтра
Баттерворса 3-го порядка, передаточная функция которого имеет вид:
Приравнивая коэффициенты при соответствующих степенях р можно
получить такие три равенства:
Видно, что в равенствах появляется неоднозначность, связанная с
наличием суммы во втором равенстве и сумма обратной величины коэффициентов в
третьем равенстве, поэтому возможны следующие варианты расчета:
Вариант А:
Разделив 1-е равенство на 2-е, получим:
расчет
двигатель ток датчик

Отсюда найдем kPT:
подставив значение kPT в 1-е
уравнение, найдем ТРТ
Вариант Б:
Выполнив ту же последовательность вычислений, что и при
варианте А получим в результате следующее:

Из полученных выражений видно, что с погрешностью,
обусловленной малой постоянной времени Тμ, можно принять:
Соответственно передаточная функция замкнутого внутреннего контура
получается близкой к фильтру Баттерворса 3-го порядка с форсирующим звеном
(1+4ТμР) в
числителе:

При моделирования на СО введем дополнительное
звено чтобы получить передаточную функцию которая соответсвует фильтру Баттерворса 3-го порядка
но не производя корректировку.
;
Моделирование внутреннего контура на СО
Рис
Рис
Рис
σ = 26,9%
tпп = 0.3 c
Расчет внешнего контура на МО
Внешний контур:
Рис
Объектом управления для внешнего контура является весь
оптимизированный на МО внутренний контур + механическая часть.
Рассмотрим П-регулятор для внешнего контура, т.е.:
WPC(p)=kPC
Тогда передаточная функция разомкнутой САР для внешнего контура
будет следующей:
Передаточная функция разомкнутой САР для внешнего контура будет
иметь вид:
Фильтр Баттерворса 3-го порядка в зависимости от малой нескомпенсируемой
постоянной времени Тμ
следующий:
Приравнивая коэффициенты при
соответствующих степенях р получим следующие равенства:

Соответственно передаточная функция оптимизированного на МО
внешнего контура следующая:
При моделирования на MО введем дополнительное
звено чтобы получить передаточную функцию которая соответсвует фильтру Баттерворса 3-го порядка.
;
Моделирование внешнего контура на МО
Рис
Рис
Рис
σ = 0%
tпп = 0.25 c
Расчет внешнего контура на СО
Внешний контур:
Рис
Как и при настройке внешнего контура на МО, объектом
управления для внешнего контура на СО является весь оптимизированный на МО
внутренний контур + механическая часть.
Рассмотрим ПИ-регулятор:
Тогда передаточная функция разомкнутой САР для внешнего контура
будет иметь вид:
Передаточная функция для замкнутой САР будет следующей:
В результате получили передаточную функцию 4-го порядка, т.к. р4,
следовательно, нужно сравнить коэффициенты при степенях р с соответствующими
коэффициентами при степенях р фильтра Баттерворса 4-го порядка, передаточная
функция которого имеет вид:
Приравнивая коэффициенты при старших степенях р получим следующие
равенства:
(1)
(2)
(3) Трс=8Тμ (4)
Из 4-го равенства найдем Трс:
Трс=8Тμ=8*0,01=0,08
Очевидно, что первые три равенства равны и из любого находим kрс:
Соответственно передаточная функция оптимизированного на СО внешнего
контура следующая:
которая отличается от соответствующей передаточной функции фильтра
Баттерворса наличием в числителе форсирующего звена. Для устранения такого
перерегулироавния задающий сигнал подают на вход регулятора внешнего контура не
непосредственно, а через сглаживающий фильтр в виде аппериодического звена 1-го
порядка с передаточной функцией:
При моделирования на СО введем дополнительное
звено чтобы получить передаточную функцию которая соответсвует фильтру Баттерворса 4-го порядка
но не производя корректировку.
;
Моделирование внешнего контура на СО
Рис
Рис
Рис
σ = 48,65%
tпп = 0.6 c
Расчет угла токоограничения
Ток якоря определяется величиной управляющего сигнала,
поступающего на регулятор тока. При Uдт <Uто рассогласовании на входе регулятора тока
положительное (Ерт=Uто-Uдт), регулятор тока увеличивает свой выходной сигнал,
соответственно увеличивается напряжение тиристорного преобразователя и растет
ток Iя (и обороты двигателя). И наоборот при Uдт >Uто напряжение тиристорного
преобразователя уменьшается, соответственно уменьшается и ток Iя (обороты двигателя в этом
случае снижаются).
Отсюда следует, что для ограничения тока по максимальной
величине(соответственно и ограничения вращающего момента двигателя) должно
производится при следующем условии:
Uдт =Uто при Iя= Iя max
В нашем случае Uдт max = Ucx =10 B. Соответственно
характеристика нелинейного узла токоограничения будет следующая:
Рис
Данный нелинейный узел токоограничения пропускает входной
сигналUpe один к одному, а при Upe >Ucx, Uто ограничивается значением
± Ucx.
Если при большой нагрузке или при пуске ДПТ ток Iя хоть не много превысит
значение Iя max, то при этом Uдт станет большим Ucx, на входе регулятора тока
будет отрицательный сигнал, тиристорный преобразователь будет снижать напряжение
Uя и ток Iя будет уменьшатся до
значения Iя maх. При равенстве Iя= Iя max вход регулятора тока
будет равен 0, а его выход не меняется.
Если вал двигателя заклинит, то в идеальном случае
срабатывания токоограничения двигатель остановится без механической поломки.
При этом к якорной цепи будет приложено небольшое напряжение и у заторможенного
двигателя по якорной цепи будет протекать ток Iя, равный Iя max. Это вполне вероятно,
так как внутренний контур настроен на МО и лучшим образом отрабатывает управляющий
сигнал Uто поступающий на внутренний контур тока.