Автогрейдер: характеристика и сущность
Курсовой проект
"Автогрейдер:
характеристика и сущность"
автогрейдер грунт отвал тяговый
Содержание
Введение
.Обзор
литературных и патентных источников
.1
Обзор патентных источников
.2
Обзор литературных источников
.
Выбор прототипа
.
Расчет основных параметров рабочих органов
.
Разработка кинематических и гидравлических схем привода
.
Расчет рабочих сопротивлений
.
Тяговый и силовой расчет
.1
Тяговый расчет
.2
Силовой расчет
.Расчет
основных несущих конструкций
.Расчет
производительности
.Техника
безопасности
Литература
Спецификация
Введение
В современном строительстве одно из наиболее значительных
мест принадлежит земляным работам - производственным процессам по возведению
земляных сооружений и добыче ископаемых материалов. Большая трудоемкость
производства земляных работ вызывает необходимость их максимальной механизации,
массовость и разнообразие - многочисленность парка машин.
Ускорение научно-технического процесса и рост
производительности труда потребовали создания и освоения эффективных систем
различных машин для комплексной механизации строительства. Среди них большой
удельный вес занимают машины для земляных работ.
Все строительные машины и оборудование делят на классы:
транспортирующие, грузоподъемные и монтажные, погрузочные и разгрузочные, для
земляных работ и свайных работ, для переработки каменных и вяжущих материалов,
для приготовления бетонов и растворов, для отделочных работ, для арматурных
работ, для производства строительных изделий и конструкций. Отдельный класс строительных
машин и оборудования составляет механизированный инструмент.
В данном курсовом проекте рассматривается автогрейдер - один
из многочисленных представителей класса машин для земляных работ. Существуют
различные по своему устройству и параметрам автогрейдеры, но все они снабжаются
одинаковым по форме и принципу действия рабочим органом в виде узкого и
криволинейного в поперечном сечении отвала. Отвал крепится к поворотному кругу,
установленному на тяговой раме, которая соединена с основной рамой машины
универсальным шарниром.
Начинается
проект с обзора литературных и патентных источников и выбора прототипа. Далее
рассчитываются основные параметры рабочих органов, разрабатываются
гидравлическая и кинематическая схемы привода рабочих органов. После чего производится
тяговый и силовой расчет, расчет основных несущих конструкций, а также
рассчитывается производительность данного автогрейдера. В последнем разделе
приводятся условия безопасной эксплуатации автогрейдера.
1.Обзор литературных и патентных источников
.1 Обзор патентных источников
.60.34 П. Инструментальная система управления планированием
слоя с использованием локатора границы поверхности. Implement control system
of material for locating a surface, interface and removing a lager of
material.:
Пат.5647439 США, МКИ Е02 F3 /76/ Burdick I. Scott, Gorcoran Paul T.,Gudnt Adam;
Caterpiller Inc. - №572136: Заявл.: 14.12.95; Опубл.: 15.07.97; НКИ172-45.
Патентуется принципиальная схема управления планировщиком
(грейдером), особенностью которой является использование радиолокатора
поверхности ранее уплотненного слоя для выдерживания задаваемой высоты
спланированной поверхности второго слоя.
.60.34.П. Автогрейдер с переменной массой.
Пат. 2100528 Россия, МКИ Е 02 F3 /76/ Воронович В.П.,
Задеев Е.П., Коробин Б.А., Приходько И.И.; ОАО Крюк - №95116814/03; Заявл.:
29.03.95; Опубл.: 27.12.95; Бюл. №36.
Предлагается автогрейдер, включающий самоходное шасси с
грейдерным отвалом, съемное дополнительное оборудование, включающее рыхлитель и
бульдозер, установленное на окончаниях шасси. Самоходное шасси с грейдерным
отвалом снабжено съемным балластом, устанавливаемым на окончании шасси с
возможностью распределения массы, обеспечивающим резание грунта.
2.60.43 П. Грейдер. Wingassembly for mold boards of grades
and other material moving equipment.
Пат.:5375349 США, МКИ Е01 Н5 /00/ Iodrim Eric M/ - №49901; Заявл,:
20.04.93; Опубл.: 27.12.94, НКИ 37/429.
Предложена конструкция закрепляемых по концам отвала грейдера
или других, перемещающих грунт машин, закрылков, образующих вместе с отвалом
емкости для грунта. Предусмотрен гидропривод для перемещения закрылков вдоль
отвала и установки их в требуемом для различных условий работы положении.
.60.35 П. Автогрейдер.
Пат.: 2109110 Россия, МКИ Е02 F3 /76/ Ильюшин В.Ф.,
Митюшкин А.Н., Разманов Г.М.; АООТ “Брянский арсенал”. - №95105000/03. Заявл.:
29.03.95; Опубл.: 20.04.98; Бюл. №11.
Предлагается автогрейдер, содержащий основную раму, рабочий
орган, балансиры, систему автоматического управления отвалом (его положениями).
Профилирующие датчики автоматической системы управления размещены между
балансиром и основной рамой, рабочим органом и основной рамой.
3.60.41. П. Нож отвала автогрейдера. Improvements
to grader blade assembliss.
Пат.: 669497 Австралия, МКИ Е02 F003/815/ Megers Thomos
Anthony/ - №30203/95; Заявл.: 29.08 95; Опубл.: 15.06.96.
Патентуется конструкция ножа, закрепленного болтами к отвалу
автогрейдера и имеющего установленные с определенным шагом легкозаменяемые в
случае износа или поломки зубья с износостойкими (вольфрамовыми) накладками.
.60.60 П. Гидравлическая тормозная система для автогрейдера.
Пат.: 206107 Россия, МКИ В60 Т13/14 Ильюшин В.Ф., Попов А.М.,
Шалимов Ю.П., Луневич В.Г., Брянский з-д дорожных машин - №930126214/11;
Заявл.: 29.03.93; Опубл.: 10.06.96; Бюл. №16.
Сущность изобретения: в тормозной системе состоящей из
насоса, есть педаль управления, соединяемая гидрораспределителем проточного
типа с золотником управления и перепускным клапаном.
.60.84. П. Устройство для регулирования глубины резания
отвалом автогрейдера. Grader blade high control.
Пат.: 4837940 США, МКИ Е02 F5 /00/ Mahan Michael K., - №182965; Заявл.: 18.04.88; Опубл.: 13.06.89 НКИ 33/624.
Патентуется устройство для регулирования глубины резания
отвалом автогрейдера, представляющее собой ограничитель максимальной для данных
условий работы глубины резания, которая не может быть превышена. Устройство
постоянно устанавливается на конце отвала стандартного автогрейдера.
1.2 Обзор литературных источников
Тяговые возможности автогрейдера, как правило, ограничиваются
не мощностью двигателя, а сцепными свойствами ходового оборудования и тяговой
мощностью.
По данным Н. А. Ульянова, наибольшая тяговая мощность
достигается при коэффициенте буксования, равном 18-20%, когда тяговое усилие
составляет 70-73% максимального. Режим работы, соответствующий наибольшей
тяговой мощности, - самый производительный. Помимо сопротивлений,
преодолеваемых силой тяги при профилировании, на грейдер обязательно действует
боковая сила, стремящаяся столкнуть его поперек движения.
При постепенном увеличении сечения среза грунта в
определенный момент автогрейдер теряет работоспособность в результате бокового
занося передней (задней) части и потери управляемости или останавливается из-за
буксования; чаще всего имеют место оба явления сразу. В связи с этим существует
понятие устойчивости хода. Устойчивым считается ход, при котором машина, не
теряя способности перемещаться, остается управляемой и развивает необходимую
силу тяги.
Основное влияние на устойчивость хода оказывает распределение
нагрузок между осями автогрейдера (так называемая “развеска по мостам”) и
колесная схема. Ход автогрейдера будет устойчивым, если горизонтальная
составляющая реакции грунта Rгор, приложенная к отвалу, уравновешивается силой P, являющейся геометрической
суммой сил сцепления и сил сопротивления качению, приложенных к колесам (рис.
1).
Рис. 1. Схема для определения устойчивости хода.
Наибольшей устойчивости хода можно достичь при всех ведущих
колесах, хороших сцепных качествах шин и минимальном выносе режущей части
отвала от оси машины. Устойчивость хода увеличивается также при наклоне и
повороте направляющих колес, благодаря которым возникает боковая сила,
противодействующая сдвигу моста от действия реакции грунта на отвал.
Наклон колес производится в плоскости, перпендикулярной к
продольной оси машины. При работе на поперечных уклонах и действии на отвал
боковой силы наклоном колес обеспечивается нормальное к оси колеса направление
реакции грунта, что улучшает условия нагружения подшипников колес и значительно
увеличивает устойчивость хода машин.
Наклон ведущих колес автогрейдера конструктивно достаточно
сложен и применяется очень редко. Поэтому механизмом наклона в настоящее время
оборудуются все прицепные грейдеры и передние колеса автогрейдеров с колесной
формулой 1х2х3.
Механизм наклона передних колес автогрейдеров позволяет
получить отклонение их от вертикали до ±30º.
Механизм наклона колес представляет собой расположенный в
вертикальной плоскости рычажный параллелограмм, короткие стороны которого несут
на себе цапфы колес. При гидравлическом управлении диагональю параллелограмма
является гидроцилиндр двустороннего действия, изменение длины которого и
осуществляет наклон в одну или другую сторону. При механизированном управлении
эти же функции выполняет зубчатая передача, шестерня которой укреплена на
нижней длинной стороне параллелограмма, а криволинейная рейка, входящая в
зацепление с шестерней, - на верхней стороне. В связи с тем, что наклоняемые
колеса автогрейдера должны быть и его управляемыми колесами, короткие рычаги
параллелограмма выполняются вращающимися вокруг своей продольной оси,
являющейся одновременно осью шарнира трапеции механизма рулевого управления
колес.
2. Выбор прототипа
Автогрейдер - универсальная землеройно-транспортная машина,
предназначенная для выполнения профилировочных работ и отделки земляного
дорожного полотна и обеспечивающая полный цикл земляных работ при строительстве
дорог. Кроме того, автогрейдер применяют для возведения невысоких насыпей из
боковых резервов, устройства террас на косогорах, корыта в дорожном полотне,
срезки и планировки откосов, выемок и насыпей, общей планировки участка,
перемешивания гравия и щебня с вяжущими материалами. В зимнее время грейдеры
используются для расчистки дорог, для сгребания снега в отвал перед погрузкой
его в транспорт, для снегозадержания на полях. Автогрейдер является самоходной
машиной. Общее устройство автогрейдера показано на рис.1. Двигатель, тяговая
рама, поворотный круг с отвалом и кирковщиком, дополнительное рабочее
оборудование, механизмы управления рабочими органами и рулевого управления, а
также кабина расположены на основной раме.
Рис.1. Общий вид автогрейдера.
- балансир движителя;
- основная рама;
- рыхлитель заднего хода;
- отвал;
- тяговая рама;
- бульдозерный отвал;
- механизм выноса тяговой рамы;
- механизм подъема рабочего органа.
Передней частью основная рама опирается при помощи головки на
передний мост. Шарнирная связь рамы с мостом позволяет ему наклоняться
относительно рамы в вертикальной плоскости.
Задним концом рама опирается на задние оси, которые
выполняются в виде двух отдельных мостов, связанных с основной рамой при помощи
балансирной подвески и балансирных тележек, поэтому колеса могут менять свое
положение в соответствии с неровностями поверхности, улучшая проходимость
машины.
Силовая передача от двигателя на ходовую часть автогрейдера
осуществляется через соединительную муфту, коробку передач, задний мост и
редуктор балансиров. В зависимости от колесной формулы и вида передачи крутящий
момент передается от двигателя через механическую или гидромеханическую
трансмиссию задним (или всем) колесам.
Ходовая часть автогрейдера состоит из четырех приводных
задних пневмоколес и двух приводных или не приводных управляемых передних
колес. Задние колеса с каждой стороны машины попарно объединены балансирными
балками. Такое соединение позволяет колесам не отрываться от опорной
поверхности при наезде одного из колес на препятствия, т.е. машина опирается
постоянно на все шесть колес независимо от рельефа местности. Для изменения
направления движения передние колеса могут поворачиваться в плане с помощью
рулевой трапеции. Для повышения устойчивости движения при работе с косо
установленным отвалом эти колеса могут отклоняться в боковом направлении.
Рабочий орган - отвал через кронштейны и поворотный круг
закрепляют на тяговой раме. Последнюю располагают под хребтовой балкой и
соединяют с ней в передней части универсальным шарниром, а в задней с помощью
гидравлических цилиндров, подвешенных к хребтовой балке. Два гидравлических
цилиндра, работающих независимо один от другого, обеспечивают подъем передней
части тяговой рамы и ее перекос, а гидроцилиндр выноса - ее вынос в сторону от
продольной оси автогрейдера. Вращением поворотного круга автогрейдера с жестко
закрепленными кронштейнами обеспечивается установка отвала в плане. Благодаря
такой подвеске отвал может быть установлен горизонтально или наклонно к вертикальной
плоскости, под любым углом наклона в плане, располагаться в плоскости колеи
машины или быть вынесенным за ее пределы, быть опущенным ниже уровня
поверхности, по которой перемещается машина, или поднятым над ней.
Конструкция отвала представляет собой жесткую балку
коробчатого сечения, состоящую из изогнутого по радиусу основного листа,
усиленного с задней стороны коробкой. Вдоль передней нижней кромки и по торцам
к отвалу прикрепляются ножи, имеющие обычно двухстороннюю заточку. Это
позволяет переворачивать их после износа одной из режущих кромок. По торцам
отвала предусматривается возможность установки удлинителей и откосников.
Крепление отвала к кронштейнам поворотного круга обеспечивает перестановку его
для несимметричного расположения относительно оси поворотного круга и
регулировки угла резания.
3. Расчет основных параметров рабочих органов
Рабочий процесс автогрейдера заключается в срезе и поперечном
перемещении грунта рабочим органом, расположенным под углом к направлению
движения машины. Считая грунт однородной сыпучей средой, рассмотрим характер
его движения перед рабочим органом автогрейдера.
Если пренебречь силами трения, то траектории частиц грунта
можно считать лежащими в вертикальной плоскости, проходящей через точки а и
с под углом 90˚-α к направлению движения
машины (рис. 2.). Тогда частица грунта, попавшая на отвал в точке а,
должна сойти с него в точке с. В результате трения траектории частицы
отклоняются на угол ρ, и частица оказывается
за пределами отвала только в точке d.
Рис. 2. Схема движения частицы грунта перед отвалом грейдера:
l1 - длина отвала грейдера;
α - угол установки отвала
по отношению к направлению движения грейдера;
l2 - путь грейдера, за
который грунтовая частица сместится за пределы отвала.
Скорость
перемещения грунтовой призмы вдоль отвала
, м/с
где υгр - скорость движения грейдера, м/с.
Подставляя
в это выражение значения l1, определяемое из косоугольного треугольника abd, получим
или после преобразований
=0,95Ì(cos30˚ - tg15˚ Ìsin30˚)=0,4
м/с
Сечение призмы волочения:
, м2
где H - высота отвала, м;
- угол естественного откоса грунта в
движении,
=30˚; kзап - коэффициент накопления грунта перед
отвалом, kзап=0,8.
, м
где Fр - площадь поперечного сечения срезанного (рыхлого) валика
грунта, Fр=0,25 м2; k - коэффициент, учитывающий влияние формы призмы волочения, k=1,0.
м;
м2
Максимальный объем грунта, перемещаемого отвалом за единицу
времени, т.е. пропускная способность отвала:
Пот= Fпр.максυпр, м3/ч
Пот= 0,125∙0,4 = 0,05 м3/ч
Грунт перемещается поперек движения грейдера на расстояние:
l=L∙sinα,
где L - длина отвала, L=3,04 м; l=3,04∙sin30º=1,51;
По данным И.А. Недорезова, наиболее целесообразным очертанием
отвала в профиле является дуга окружности радиусом:
, м
где δ - угол
резания δ=30˚;
H - высота отвала.
= 0,5 м.
4. Разработка кинематических, гидравлических схем
привода
Кинематическая
схема автогрейдера при всем своем многообразии конструктивных решений
принципиально однотипна. Варианты кинематических схем автогрейдера с
механической трансмиссией показаны на рис. 3.
Рис. 3. Варианты кинематических схем автогрейдеров с
механической трансмиссией:
а - первый:
- основной двигатель,
- коробка передач,
- главная передача,
- передача балансира,
- ведущее колесо;
б - второй:
- раздаточная коробка,
- коническая передача ведущего моста,
- балансир задних мостов,
- бортовая передача моста.
В первом варианте (рис. 3, а) крутящий момент от
двигателя 1 через муфту сцепления и карданный вал передается коробке передач 2,
снабженной мультипликатором (обычно удваивающем число передач), а затем через
главную передачу 3 и передачу балансира 4 ведущим колесам 5. Во втором варианте
(рис.3, б) отбор мощности для заднего и среднего ведущих мостов
производится от коробки передач через раздаточную коробку 6, а для переднего -
многозвенным карданным валом.
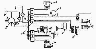
Рис. 4. Схема гидравлического управления автогрейдером:
- масляный бак, 2 - насос, 3 - фильтр с предохранительным
клапаном, 4 - секционные золотниковые распределители, 5 - левый цилиндр подъема
отвала, 6 - гидродвигатель поворотного круга, 7 - цилиндры подъема бульдозера и
рыхлителя, 8 - цилиндр механизма наклона передних колес, 9 - гидроусилитель
рулевого управления, 10 - цилиндр механизма выноса тяговой рамы, 11 - цилиндр
передвижения отвала относительно кронштейнов поворотного круга, 12 - правый цилиндр
подъема отвала.
Для привода всех механизмов применяются гидроцилиндры, а для
механизма поворота отвала - гидродвигатели вращательного действия, в основном
аксиально-плунжерного типа, Система выполняется по раздельно-агрегатной схеме с
использованием стандартных насосов и секционных техпозиционных золотниковых
распределителей. Характерная схема гидравлического управления приведена на рис.
5.
Рис. 5. Схема следящей системы управления рулевого
управления:
- рулевое колесо, 2 - червяк рулевого вала, 3 - рычаг, 4 -
распределитель, 5 - гидроцилиндры.
Управляемые колеса поворачиваются при помощи рычажной
системы, связанной с трапецией поворота колес. Трапеция состоит из кронштейнов
поворотных цапф, связанных поперечной тягой, и обеспечивает поворот правого и
левого управляемых колес на углы, соответствующие радиусу поворота.
Рулевое управление снабжается пневматической или
гидравлической системой усиления следящего типа, показанной на рис. 5.
Передвигаемый при повороте рулевого колеса 1 распределитель 4
обеспечивает поступление рабочей жидкости в исполнительные цилиндры 5, которые
поворачивают колеса. После поворота колес рычаг 3 возвращает золотник в
исходное положение. Таким образом, управление осуществляется по методу
слежения, при котором поворот колес следует за поворотом рулевого колеса и
может не иметь механического соединения между входным и выходным звеньями
системы.
5. Расчет рабочих сопротивлений
Особенность процесса копания автогрейдера обусловлена расположением
отвала в плане под углом γ<90˚ для так
называемого «косого» резания и смещения грунта на сторону.
Определим сопротивления, возникающие в процессе работы
грейдера.
1. Сопротивление грунта резанию [8] стр. 16:
, Н
где k - удельное сопротивление грунта лобовому
резанию, k=20∙103 Н/м2;
h - глубина резания, h=0,2
м;
α - угол захвата ножа, α=30˚…60˚;
L - длина отвала, L=3,04 м;
Тогда,
Н.
2. Сопротивление от перемещения грунта вверх по отвалу:
где Gгр - масса грунта в призме волочения,
кг:
=
кг,
где H - высота отвала, H=0,5 м;
δ - угол резания, δ = 45˚;
kp - коэффициент разрыхления грунта, kp=1,3;
γоб - объемная масса грунта, γоб=1200 кг/м3;
hср - средняя глубина резания, hср=0,5∙h=0,5∙0,2=0,1
м;
ρ - угол естественного откоса, ρ=35˚;
f1 - коэффициент трения призмы волочения о грунт, f1=0,25…0,3;
H.
3. Сопротивление от перемещения призмы волочения грунта
перед отвалом:
, H
где f2 - коэффициент трения грунта о грунт, f2=0,6;
Gпр - масса грунта в призме волочения;
i - уклон,
i =0,06;
H.
4. Сопротивление от перемещения грунта вдоль по отвалу:
=160∙0,25∙0,6∙9,8∙cos50˚=151 Н.
5. Сопротивление от перемещения грейдера:
, Н
где Gдм - масса дорожной машины в рабочем состоянии, Gдм=9850 кг;
ωо - коэффициент
сопротивления перемещению дорожной машины, ωо=0,135;
Н.
6. Общее сопротивление перемещению грейдера:
H.
6. Тяговый и силовой расчет
.1 Тяговый расчет
В тяговых расчетах автогрейдеров различают их рабочий и
транспортный режимы. Для рабочего режима характерны большие тяговые усилия и
большие скорости. В транспортном режиме машина преодолевает только дорожные
сопротивления, сопротивления сил инерции и, при больших скоростях движения,
сопротивление воздуха. В рабочем режиме к этим сопротивлениям добавляются
сопротивления, преодолеваемые рабочим органом машины.
Сопротивление движению грейдера в общем случае [2] стр. 293:
,
где Wp - сопротивление копанию;
Wk - сопротивление перекатыванию колес
грейдера.
,
где Gгр - вес грейдера;
φ - коэффициент сцепления колеса с
поверхностью.
Н,
Н.
Определим потребную мощность:
, кВт
где V - рабочая скорость, V=1,06 м/с;
η - КПД силовой передачи, η=0,8;
=71,8 кВт.
6.2 Силовой расчет
При определении нагрузок на элементы конструкции автогрейдера,
согласно рекомендациям, приведенным в литературе, рассматриваются два расчетных
случая: работа в обычных условиях эксплуатации и встреча трудно преодолимого
препятствия с учетом действия случайных нагрузок.
В первом расчетном случае система сил, действующих на автогрейдер,
показана на рис. 6. Машина имеет колесную формулу 1х2х3 и работает на участке с
поперечным уклоном λ. На нее
действуют максимальные нагрузки, возникающие в процессе резания грунта передним
концом отвала, когда передний мост вывешен и упирается в край кювета, а задние
колеса буксуют на месте.
Рассматривая систему сил, действующих на автогрейдер принимаем ряд
допущений: все реактивные силы, действующие на задние колеса, приложены в точке
О2 - проекции оси качания балансирной тележки на опорную
поверхность; реакции грунта на колеса равны между собой и условно перенесены на
осевые линии (возникающие небольшие моменты не учитываются);
Рис. 6. Система сил, действующих на автогрейдер при первом
способе расчета.
Коэффициенты сопротивления качению передних и задних колес
одинаковы; сопротивление грунта считается сосредоточенной силой, приложенной на
конце ножа в точке О; масса грейдера сосредоточена в центре тяжести машины.
На схеме Gгр - сила тяжести автогрейдера; G1 и G2 - части силы тяжести
автогрейдера, приходящиеся соответственно на передние и задние оси; PИ - сила инерции машины; Z2Л, Z2П и Y2Л, Y2П - нормальные и
касательные реакции грунта на задние колеса; X2Л, X2П - свободная сила тяги
правых и левых колес; Y1 - реакция грунта на переднюю ось; Rp - максимальное
касательное и RN - максимальное нормальное сопротивление грунта, возникающие
при отделении отвалом стружки.
Максимальное касательное сопротивление грунта зависит от
тяговых возможностей машины. Тяговое усилие определяется из условия сцепления Pк=G2·φ (где φ - коэффициент сцепления)
или по моменту Мдв, передаваемому двигателем [2] стр. 295:

где iобщ - общее передаточное число трансмиссии автогрейдера, iобщ=1,2 ;
ηобщ - КПД этой трансмиссии, ηобщ=0,8;
rc - силовой радиус колеса, rc=0,3 м.
=64 кН;
Свободная сила тяги находится как разность между тяговым усилием Рк
и сопротивлением перекатыванию колес:
, Н
Н,
Приблизительные координаты центра тяжести грейдера можно
найти по зависимостям:
Н=rc+0,5, м; l=(0,25…0,3)·L.
Н=0,3+0,5=0,8 м; l=0,3·4,70=1,41 м.
Сила
инерции приближенно определяется по формуле
Ри=(kд -1)·φмакс·G2,
где kд - коэффициент динамичности, kд=1,2;
φмакс - максимальный
коэффициент использования сцепной силы тяжести, φмакс=0,85.
G2=56000 Н;
Ри=(1,2-1)·0,85·56000=9520 Н,
,
откуда
Н;
Н
=
=83515 Н
;
=
=27916 Н;
Н;
где RN - нормальное сопротивление.
7. Расчет основных несущих конструкций
Рассчитаем основную раму автогрейдера. Для расчета основной
рамы автогрейдера при нагружении ее по первому случаю принимается, что рама
опирается задней частью двумя точками на оси балансиров задних колос. В
плоскости расположения системы подвесок тяговой рамы основная рама нагружена
усилиями этих подвесок, а в передней части опирается на шаровой шарнир тяговой
рамы (рис. 7).
Рис. 7. Схема нагружения основной рамы автогрейдера при
действии на отвал максимальных сил сопротивления грунта.
В соответствии с этим раму можно рассматривать как консольную
балку с заделкой в вертикальной плоскости, проходящей через подвески тяговой
рамы (по оси цилиндров подъема), и нагруженную в передней части реакциями
шарового шарнира.
Эти реакции можно определить из уравнения моментов сил
относительно осей y и z:
;
=7340 Н;
=9473 H.
Усилие Х уравновешивает силу Rx, т.е. их можно считать равновеликими: Х=Rx.
Реакции Z и X изгибают раму в принятом сечении в вертикальной плоскости,
а реакция Y изгибает раму в горизонтальной плоскости
и скручивает ее. Кроме того, сила Х вызывает растяжение.
Во втором расчетном случае рассматривается вариант, когда с
препятствием встречается конец ножа при движении с максимальной рабочей
скоростью на горизонтальном участке пути (планировка).
Схема сил, действующих на автогрейдер во втором расчетном случае
показана на рис.8.
Рис. 8. Система сил, действующая на автогрейдер при втором расчетном
случае.
Силы и реакции находят по уравнениям:
;
Н;
;
Н;
;
H;
;
H;
Py=Y2-Y1; Py=51056-25891=25165
H;
RX=X2П+X2Л+PИ; RX=21752+21752+9520=53024
H.
8. Расчет производительности
1. Определим эксплуатационную производительность автогрейдеров
при вырезании и перемещении грунта, смешивании материала на полотне дороги [1 ]
стр. 170:
, м3/ч
где h - средняя толщина вырезаемой стружки, м;
F - площадь вырезаемой стружки, м2;
b - ширина вырезаемой стружки, м;
υ - рабочая скорость
движения машины, км/ч;
n - число проходов по одному месту;
kв - коэффициент
использования машины по времени.
Толщина вырезаемой стружки определяется, исходя из свободной
силы тяги машины по двигателю, h=0,2 м.
Ширина вырезаемой стружки определяется с учетом угла
установки отвала в плане относительно продольной оси машины. Угол установки
отвала в плане принимают равным 60˚. Ширина резания тогда будет
b=B∙sinα ,
где B - ширина отвала.
При этом должна учитываться и ширина перекрытия, которая
равна 20 - 30 см. Таким образом b=3,04∙sin60˚- 0,2=2,43 м.
Рабочая скорость υ движения машины
определяется с учетом технической характеристики машины и видов работ: для
вырезания и перемещения грунта υ=5 км/ч.
Число проходов по одному и тому же месту n зависит от вида
выполняемых работ. При вырезании и перемещении грунта n=2.
Коэффициент использования машины по времени kв=0,8 при средних условиях
работы.
м3/ч.
. Определим производительность автогрейдера при планировании
дороги:
, м2/ч
где b - ширина вырезаемой стружки, м, b=3,04 м;
υ - рабочая скорость движения машины, км/ч.
При планировании дороги принимается υ=8 км/ч;
kв - коэффициент использования машины по времени, kв=0,8;
n - число проходов по одному месту, n=3.
м2/ч.
. Определим производительность автогрейдера при нарезании кюветов:
, м/ч
где υ -
рабочая скорость движения машины, км/ч. При нарезании кюветов принимается υ=3 км/ч;
kв - коэффициент использования машины по времени, kв=0,8;
n - число проходов по одному месту.
При нарезании кюветов число проходов зависит от площади профиля
кювета, при этом после одного прохода по вырезанию грунта из кювета второй
должен быть по перемещению этого грунта на полотно дороги. В среднем n=3 - 4
, м2/ч
9. Техника безопасности
1. К работе на автогрейдере допускаются лица,
окончившие специальные курсы и имеющие соответствующее удостоверение.
2. Работать на неисправном автогрейдере запрещается.
Перед выездом на работу машинист должен осмотреть автогрейдер и устранить все
обнаруженные дефекты. При осмотре и ремонте двигатель должен быть заглушен.
. При движении автогрейдера машинист обязан соблюдать
все правила дородного движения, установленные для автотранспорта.
. Пользуясь домкратом, необходимо придать ему
устойчивое положение, предупреждающее сдвиг автомобиля, а под колеса подложить
упоры.
. Снятие и установка специального и дополнительного
оборудования, а также другие технические работы должны выполняться двумя
работающими.
6. При работе с аккумуляторной батареей надо
остерегаться попадания электролита на тело, одежду, обувь и т.д., т. к. в
электролите содержится серная кислота, разрушающая кожный покров.
. Заправлять автогрейдер горючими и смазочными
материалами следует днем или в случае необходимости только при электрическом
освещении.
. Перед запуском двигателя необходимо рычаг
переключения коробки передач поставить в нейтральное положение, а автогрейдер
затормозить.
. Ни в коем случае не разрешается регулировать,
заправлять и смазывать автогрейдер на ходу или при работающем двигателе.
. Нельзя находиться под рамой автогрейдера при
поднятом отвале.
. Не разрешается во время работы автогрейдера удалять
из-под ножа попавшие предметы. Необходимо остановить машину, удалить попавшие
предметы, после чего продолжить движение.
. При снятии и установке шин необходимо заглушить
двигатель, зотормозить автогрейдер ручным тормозом, поднять нужную сторону
автогрейдера домкратом.
. Необходимо следить, чтобы не было течи топлива из
бака и топливопроводах, тщательно вытирать и очищать все узлы.
. Тщательно проверять изоляцию проводов и исправность
контактов, т.к. при пробое изоляции и неисправных контактах возможно появление
искры.
. При возникновении на автогрейдере пожара при
работающем двигателе, необходимо быстро перекрыть топливный кран бака, не
останавливая двигатель, дать ему возможность выработать все топливо из
топливопроводов и принять меры по тушению пожара. Пламя надо тушить огнетушителем,
засыпать землей, песком или накрыть войлоком или брезентом.
Литература
1. Вавилов
А.В., Леонович И.И., Максименко А.Н. Дорожно-строительные машины. - Мн.: УП
“Технопринт”, 2000. - 515с.
2. Ветров
Ю.А. Машины для земляных работ.- Киев: Выща школа, 1981. - 384с.
. Дорожно-строительные
машины и комплексы. /Под ред. В.И. Боловнева. - М.: Машиностроение, 1988, - 384
с.
. Машины
для земляных работ. /Под ред. Н.Г. Гаркави. - М.: Высш. школа, 1982. - 335 с.
. Строительные
машины. / Под ред. Д.П. Волкова. - М.: Высш. школа, 1988. - 319 с.
. Теория,
конструкция и расчет строительных и дорожных машин. / Под ред. Л.А. Гобермана.
- М.: Машиностроение, 1979. - 408 с.
. Хархута
Н.Я., Капустин М.И. Дорожные машины. - Л.: Машиностроение. 1968. - 416 с.
. Яцкевич
В.В. Методическое пособие “Машины для земляных работ”. - Мн.:1999. - 30 с.