Одноэтажное промышленное здание

  • Вид работы:
    Дипломная (ВКР)
  • Предмет:
    Строительство
  • Язык:
    Русский
    ,
    Формат файла:
    MS Word
    1,37 Mb
  • Опубликовано:
    2011-10-11
Вы можете узнать стоимость помощи в написании студенческой работы.
Помощь в написании работы, которую точно примут!

Одноэтажное промышленное здание













РАСЧЕТНО-ПОЯСНИТЕЛЬНАЯ ЗАПИСКА

к курсовой работе по дисциплине

"Архитектура гражданских и промышленных зданий и сооружений"

на тему: "ОДНОЭТАЖНОЕ ПРОМЫШЛЕННОЕ ЗДАНИЕ"

Содержание

1. Общие указания

2. Графическое оформление чертежей

. Пояснительная записка

4. Объемно-планировочные решения зданий

4.1 Классификация зданий по назначению

4.2 Единая модульная система (ЕМС) в промышленном строительстве

4.3 Колонны

4.4 Несущие конструкции покрытий одноэтажных зданий из сборного железобетона и стали

4.5 Покрытия по прогонам

4.6 Покрытия без прогонов

4.7 Правила привязки конструктивных элементов зданий к модульным координационным осям

Стены

Ворота

Перегородки

Вертикальные связи

Этажерка

Горизонтальные связи

Железобетонные каркасы одноэтажных промышленных зданий

Железобетонные подкрановые и обвязочные балки

Несущие конструкции покрытия из сборного железобетона

Стальные каркасы

Стальные подкрановые балки

Стальные несущие конструкции покрытия

Способы водоотвода и область их применения

Деформационные швы

Световые и светоаэрационные фонари

5. Конструктивные решения

5.1 Общие требования

5.2 Покрытия зданий

5.3 Фонари

5.4 Стены и перегородки

5.5 Классификация промышленных зданий

5.6 Краны

5.7 Фонари промышленных зданий

5.8 Кровли

5.9 Полы

Приложения

1. Общие указания

Архитектурно-конструктивный проект промышленного здания выполняется студентом на основании индивидуального задания, которое предусматривает разработку чертежей архитектурных решений производственного здания под определенный технологический процесс и административно-бытовых помещений для обслуживания рабочих, занятых в данном процессе.

Задание содержит все необходимые для проектирования исходные данные: географический район строительства, схему производственного здания с основными параметрами, вид и грузоподъемность внутрицехового транспорта, требования к температурно-влажностному режиму и освещенности. Для проектирования бытовых помещений задано штатное расписание рабочих по группам производственных процессов, по которому в соответствии с нормами СНиП необходимо определить бытовые помещения, их оборудование и площади. Площади административных помещений предлагаются в задании.

В состав архитектурно-конструктивного проекта входят:

1.      генеральный план промышленного предприятия с отмывкой в масштабе 1:1000, 1:500

2.       план одноэтажного производственного здания в масштабе 1:400;

.         поперечный и продольный разрез производственного здания в масштабе 1:200;

4.       план покрытия производственного здания в масштабе 1:200;

5.       поэтажные планы административно-бытового здания с расположением оборудования в масштабе 1:200;

6.       поперечный разрез административно-бытового здания по лестничной клетке в масштабе 1:100;

7.       планы кровли производственного здания в масштабе 1:500,1:800;

8.       3-4 конструктивных узлов к производственному зданию в масштабе 1:10, 1:20, 1:50;

9.       фасад и цеха административно-бытового зданий в масштабе 1:100, 1:200, с отмывкой и построением теней;

.         1 конструктивный узел АБК (разрез по стене) в масштабе 1:50;

11.     пояснительная записка.

Объем проекта - два чертежных листа формата А1-594х841 мм и фасады на подрамнике или отдельном листе. Чертежи выполнять карандашом или тушью. Генплан и фасады отмывать тушью или акварелью. В записке должны быть отражены:

- краткое изложение задания;

- характеристика района строительства;

- обоснование принятых объемно-планировочных и конструктивных решений производственного и административно-бытового зданий (помещений);

- теплотехнический расчет ограждающих конструкций;

светотехнический расчет (по характерному разрезу производственного здания);

расчет площадей и количества санитарно-технического и другого оборудования административно-бытовых помещений;

- технико-экономические показатели;

- список используемой литературы.

одноэтажный здание планировочный теплотехнический

2. Графическое оформление чертежей

Чертежи проекта следует выполнять карандашом средней твердости (Т или ТМ) или тушью.

Листы проекта форматом А1 (594x841 мм) должны иметь по периметру рамку, стороны которой отстоят от края листа на 5мм, а с левой стороны - на 20мм.

В правом нижнем углу располагается основная надпись по ГОСТ Р21.1101-97 (рис. 1)

Рис. 1. Основная надпись и дополнительные графы к ней для листов основных комплектов рабочих чертежей      

В графах основных надписей указывают:

1- код факультета, номер специальности, две последние цифры зачетной книжки, номер проекта (например, КП-2);

2 - наименование предприятия, в состав которого входит здание (сооружение);

3 - наименование здания, запроектированного на данном листе;

4 - наименование изображений в точном соответствии с наименованием, указанным над изображением на поле чертежа;

5 - условное обозначение стадии проектирования (У - учебные чертежи);

6 - порядковый номер листа;

7 - общее количество листов;

8 - сокращенное название вуза, код кафедры, номер учебной группы;

9 - снизу вверх - "Студент", "Руководитель", "Нормоконтролер", "Зав. кафедрой";

10,11,12 - соответственно фамилия, подпись, дата.

Чертежи архитектурных решений должны быть выполнены в соответствии с требованиями ГОСТ Р21.1501-97 и других стандартов системы проектной документации для строительства (СПДС).

Название изображений располагают над изображениями. Толщина линий и их начертание на чертежах принимают по ГОСТ 2.303-68 (ОТ СЭВ 1178-78).

Толщина сплошной основной линии должна быть в пределах от 0,5 до 1,4 мм в зависимости от величины и сложности изображения. Сплошной толстой линией на строительных чертежах вычерчиваются конструкции и детали, попавшие в сечение.

Сплошной тонкой линией вычерчиваются линии видимого контура, не попавшие в сечение, линии размерные и выносимые. Штриховой линией показывают линии невидимого контура. Штрихпунктирной линией обозначают осевые и центровые линии.

Масштабы чертежей принимаются по ГОСТ 2.302-68 (ОТ СЭB 1180-78). При выполнении чертежей необходимо принимать масштаб, указанный в задании. На чертежах масштабы не проставляют.

Все размеры на чертежах указывать в миллиметрах, а высотные отметки - в метрах. Расстояние первой размерной линии от элемента здания, а также расстояние между последующими параллельными линиями должно быть в пределах 6...10мм.

При выполнении плана здания положение мнимой горизонтальной плоскости разреза принимается на уровне 1/3 высоты этажа или 1 м над изображаемым уровнем (т.е. на уровне нижнего яруса окон).

Вычерчивание плана начинается с нанесения координационных осей и привязки к ним конструктивных элементов (колонн, наружных стен, ворот). Маркируются оси по левой и нижней сторонам плана.

Затем на план наносятся остальные конструктивные элементы (перегородки, внутренние стены и т.д.), попадающие в горизонтальное сечение; отметки полов участков, расположенных на разных уровнях; пути передвижения мостовых или подвесных кранов (пунктирной линией) с указанием их габаритов и грузоподъемности, с привязкой путей к координационным осям; оси вертикальных связей жесткости (ВС) между колоннами (штрихпунктирной линией).

На плане указываются наименования помещений или технологических участков. По внешнему контуру плана должны быть даны размерные линии. На первой линии указывается привязка колонн к координационным осям у торца, у температурного шва, у деформационных швов, привязка стен, ворот, дверей, размеры проемов и простенков;

на второй линии даются расстояния между координационными осями колонн; на третьей - общие размеры между крайними координационными осями.

Пример выполнения плана показан на рис. 2.

Рис.2. Фрагмент выполнения плана

При выполнении разрезов здания (поперечного, продольного) положение мнимой вертикальной плоскости разреза принимают с таким расчетом, чтобы в изображение попали проемы окон, наружных ворот, дверей, лестницы. На разрезах должны быть показаны только конструкции, находящиеся непосредственно за мнимой плоскостью разреза: колонны, стены с разбивкой на панели, окна, покрытия и перекрытия, фонари, перегородки, лестницы, а также подъемно-транспортное оборудование. На разрезах здания без подвалов показывают только фундаментные балки, пол на грунте изображают одной сплошной основной (толстой) линией, пол по перекрытию и кровлю - одной сплошной тонкой линией независимо от числа слоев в их конструкции. Конструкцию пола и покрытия указывают в выносной надписи. На разрезах наносят:

- координационные оси здания и расстояния между ними;

-отметки чистого пола этажей и площадок, низа несущих конструкций покрытия, головки рельсов крановых путей (внутри здания), отметки уровня земли, верха стен и покрытия (снаружи);

- размеры и привязку (по высоте) проемов и отверстий в стенах и перегородках, изображаемых в сечении;

-ссылки на узлы и на чертежи элементов здания, замаркированных на разрезах.

Под разрезами располагаются две размерные линии: первая -между разбивочными осями колонн, вторая - между крайними разбивочными осями. Под размерными линиями располагается маркировка разбивочных осей соответственно принятой на плане. Пример оформления разрезов приведен на рис. 3.

Схемы расположения элементов фундаментов, перекрытия, покрытия можно разработать для фрагмента здания. На схемах расположения показываются в виде условных или упрощенных изображений элементы конструкций и связи между ними по ГОСТ Р21.1501-92. На схемах расположения указывают:

- координационные оси здания, расстояния между ними и крайними осями;

Рис.3. Фрагмент выполнения разреза здания: а - для скатного покрытия; б - для малоуклонного покрытия

привязку элементов конструкций к координационным осям;

- маркировку конструкций и их основные размеры;

- отметки наиболее характерных уровней элементов конструкций (например, подошвы фундаментов).

Пример оформления схем расположения элементов покрытия показан на рис. 4. Фасад выполняется с отмывкой акварелью или разведенной тушью с построением теней. На фасаде показываются крайние разбивочные оси, отметки уровня земли, верха стены и фонаря. На фасаде необходимо изображать разрезку стен на панели, деформационные швы, пожарные лестницы, ограждение кровли и т.п. Пример оформления фасада приведен на рис. 5. Места отмывки следует аккуратно протереть резинкой и перед нанесением краски или туши смочить чистой водой и дать просохнуть. Перед отмывкой тушь или акварель нужно развести до нужной концентрации и дать отстояться, в дальнейшем брать разведенную краску кистью с поверхности.

Рис. 4. Фрагмент схемы элементов покрытия

Рис. 5. Фрагмент выполнения фасада здания

Отмывку рекомендуется выполнять последовательным наложением одного тона на другой. Не следует накладывать следующий слой краски до тех пор, пока предыдущий полностью не высохнет. Сначала покрывают слабым тоном все плоскости. Наиболее удаленные - покрывают второй раз. Если есть еще более удаленные плоскости, их покрывают третий раз. Затем более насыщенным тоном покрывают места теней, окна. Для равномерного покрытия тоном лист должен располагаться под наклоном, а отмывка начинается сверху вниз. На плане кровли показывают фонари, ендовы, линии водораздела, водосточные воронки, парапеты, деформационные швы, пожарные лестницы и т.п. На плане кровли наносят координационные оси, проходящие в характерных местах кровли (крайние, у деформационных швов, у водосточных воронок), размеры между осями, привязку одной из водосточных воронок, профиль кровли. Пример оформления - на рис. 6.

Рис.6. Фрагмент плана кровли

 

Конструктивные узлы разрабатываются по рекомендации руководителя. При выполнении узлов соответствующее место обозначают на плане или разрезе окружностью с указанием на полке линии-выноски порядкового номера римской или арабской цифрой. Если узел разработан на другом листе, то под полкой линии-выноски приводят номер листа, на котором помещен узел. У изображения выносного элемента (узла) в двойном кружке диаметром 10... 14мм указывают его порядковый номер.

На узлах должны быть показаны все необходимые размеры, привязки к осям, наименования принятых материалов и т.п.(рис. 7)

Рис. 7. Пример выполнения узла

Генеральный план предприятия или его часть выполняется на основании заданной схемы генерального плана, территория которого ограничена красными линиями внешних магистральных и второстепенных проездов с перечнем зданий и сооружений, а также географических данных (района строительства, рельефа местности).

На генеральном плане необходимо показать горизонтали с отметками, все здания и сооружения, заданные в схеме, внутри - заводские магистрали, подъезды к цехам и складам, тротуары и пешеходные дорожки, зоны отдыха и озеленение, ограждение территории.

Здания и сооружения следует располагать с учетом преобладающего направления ветров в данном районе. В верхнем левом углу генплана построить розу ветров.

На генплане должны быть даны условные обозначения, экспликация зданий и сооружений и основные технико-экономические показатели.

3. Пояснительная записка

Пояснительная записка выполняется на листах писчей бумаги форматом А4(297х210мм).

Допускается двустороннее рукописное заполнение листов. На каждый лист пояснительной записки наносится рамка рабочего поля. Она отстоит от обреза листа слева (или справа на обратной стороне листа) на 20мм, а с других сторон - на 5мм. В правом нижнем углу рамки (или в левом на обратной стороне листа) располагается основная надпись для текстового документа (рис. 8).

Рис. 8. Основная надпись для текстового документа

При ручном выполнении рамок и основной надписи на листах пояснительной записки наносить их допускается на первых трех листах. На листах без рамок порядковые номера страниц проставляются в нижнем правом (или левом - на обратной стороне) углу листа.

Пояснительная записка выполняется разборчивым почерком, изложение должно быть кратким, исключающим возможность различного толкования.

Содержание пояснительной записки включает разделы:

1. Архитектурно-планировочное решение.

1.   Характеристика района строительства.

2.   Генеральный план.

3.   Краткие сведения о технологическом процессе.

4.   Объемно-планировочное решение цеха и административно-бытового здания.

2. Конструктивное решение.

1. Конструкции здания.

2. Расчеты (теплотехнический, светотехнический).

3. Архитектурно-художественное решение.

1.   Решение фасада.

2.   Отделочные и специальные работы.

4. Объемно-планировочные решения зданий

 

.1 Классификация зданий по назначению

Все здания по их назначению различают на 3 основные группы:

·   Жилые (для постоянного и временного проживания людей)

·   Общественные (для временного проживания людей при осуществлении в этих зданиях определенных функциональных процессов, связанных с образованием, здравоохранением, зрелищами, спортом, отдыхом и т. д.)

·   Промышленные (для осуществления в них производственных процессов или подсобных функций в различных отраслях промышленности)

Этажность промышленных зданий:

·   Одноэтажные

·   Многоэтажные

·   Смешанной этажности

4.2 Единая модульная система (ЕМС) в промышленном строительстве

Основными параметрами являются пролет (Lo), шаг колонн (Во), высота (Но):

•        Пролет - расстояние между модульными осями отдельных опор в направлении, соответствующем основной несущей конструкции покрытия (стропильной).

• Шаг колонн - расстояние между модульными осями отдельных опор в направлении, перпендикулярном пролету.

· Высота одноэтажного производственного здания - расстояние от уровня чистого пола до низа несущей (стропильной) конструкции покрытия.

· Сетка колонн - расположение разбивочных осей колонн в плане. Она обозначается как произведение пролета на шаг колонн, например, 12x6, 24x12 м.

Все параметры производственного здания - шаг, пролет, высота помещения, размеры конструктивных элементов, зазоры между ними назначаются на основе ЕМС, кратными модулю. Установлен основной модуль М= 100 мм.

ВМС введена с целью ограничения типоразмеров конструкций и деталей. Размеры объемно планировочных компонентов должны быть кратные укрупненному модулю: ширина пролетов и шаг колонн - 10М, высота этажей величине М, 2М, ЗМ.

В соответствии с этим ширина пролетов принимается равной 12, 18, 24, 30, 36м и более, кратной 6 м. шаг колонн 6 и 12 м, высота помещений одноэтажных зданий - равной 3.6; 4.2; 4.8; 5.4; 6.0; 7.2; 8.4; 9.6; 10.8; 12.6; 14.4; 16.2; 18 м.(прил. 1).

В ЕМС различают три категории размеров объемно-планировочных и конструктивных элементов: номинальные (кратные модулю), конструктивные (отличающиеся от номинальных на величину нормированных швов и зазоров) и натуральные (фактические, отличающиеся от конструктивных величиной установленных допуском - 5 мм). Например, при шаге колонн, равном 6 м, длина плит покрытия принята следующая:

·номинальная - 6000 мм;

·конструктивная - 5980 мм;

·фактическая - 5980±5 мм.

 

4.3 Колонны

Одноэтажные промышленные здания проектируются в основном полнокаркасными, стоечно-балочной системы и пространственные.

Каркасы проектируют железобетонные, металлические и смешанные. Для обеспечения жесткости каркаса промышленного здания применяют металлические вертикальные связи между колоннами и горизонтальные связи между несущими элементами покрытия.

Каркасы одноэтажного промышленного здания состоит:

. колонны

2. фермы (стропильные, подстропильные)

3. связи (вертикальные, горизонтальные)

4. подкрановые балки (в зданиях с мостовыми кранами)

Для перемещения грузов в производственных зданиях предусматривается подъемно-транспортное оборудование в виде


·   подвесных кранов (кран-балка)


мостовых опорных кранов


Размеры пролетов и шагов колонн в плане измеряются между модульными осями, которые, пересекаясь, образуют сетку колонн и служат системой координат для плана здания. Оси. идущие вдоль пролетов здания, называют продольными и обозначают заглавными буквами русского алфавита (снизу вверх) оси, пересекающие пролеты, называют поперечными и обозначают цифрами (слева направо).

Колонны в системе каркаса воспринимают вертикальные и горизонтальные нагрузки постоянного и временного характера для массового и индивидуального строительства разработаны типовые конструкции

Виды колонн:

-         Без опорных мостовых кранов:

• для зданий высотой от 3... 14,4 м

-         С опорными мостовыми кранами грузоподъемностью:

·   грузоподъемностью до 32 т и высоте здания от 8,4... 14,4 м

·   с кранами до 50 т и высоте от 14,4... 18 м

Выбор колонн зависит:

1.             от высоты здания;

2.       от наличия и грузоподъемности кранового оборудования;

.         от ширины пролета и шага колонн.

-         Колонны фахверка. При расстоянии между крайними колоннами каркаса более 6 м необходимы фахверковые колонны для крепления стен. Их можно принимать сборными железобетонными или стальными, У торцовых колонн основного каркаса для крепления стен устраивают стальные фахверковые колонны из прокатных профилей, длину торцовых фахверков колонн принимают на 100...500 мм меньше основных колонн, чтобы образовать необходимый зазор между их верхом и нижним поясом стропильных конструкций. На высоту покрытия фахверковые колонны наращивают стальными надставками двутаврового сечения.

 

4.4 Несущие конструкции покрытий одноэтажных зданий из сборного железобетона и стали

 

В качестве несущих конструкций покрытий из сборного железобетона могут применяться из балок и ферм (стропильных и подстропильных элементов)

Балка - это горизонтальная несущая конструкция. Балки из сборного железобетона применяют при устройстве односкатных, многоскатных и плоских покрытий зданий с пролетами от 6 до 24м.

При несовпадении в зданиях шага колонн по наружным и средним рядам при скатных и плоских кровлях применительно к рассмотренным стропильным балкам разработаны подстропильные балки. Шаг подстропильных балок составляет 6, 12м.

Сечение балок зависит от нагрузок, ширины пролета, шага колонн.

Фермы - это несущая стержневая конструкция покрытия. Фермы по сравнению с балками обладают лучшими технико-экономическими показателями: меньшей массой, возможностями использования межферменного пространства. Фермы из сборного железобетона эффективны для перекрытия пролетов 18 и 24 м.

В зависимости от очертания стропильные фермы подразделяют на:

· сегментные

· безраскосные

· с параллельными поясами

· полигональные

· треугольные

Сегментные раскосные фермы предназначены для покрытий зданий с неагрессивной средой, а также со слабо- и среднеагрессивными газовыми средами.

Безраскосные фермы можно применять с шагом 6 и 12 м для покрытий со скатной и малоуклонной кровлями. Фермы для малоуклонных кровель (3,3%) имеют дополнительные стойки над верхним поясом, которые служат опорами для плит размерами 3х6 и 3x12 м. Применение безраскосных ферм по сравнению с сегментными позволяет лучше использовать межферменное пространство. Кроме того, они более просты в изготовлении, их можно эксплуатировать в зданиях агрессивной средой.

Фермы с параллельными поясами и полигональные используют реже, так как они имеют большую высоту на опоре, из-за чего увеличивается высота стен и неполезный объем здания, а также возникает необходимость в дополнительных связях в покрытии.

Для устройства покрытий в неотапливаемых зданиях применяют треугольные фермы под кровлю из асбестоцементных или металлических профилированных листов.

Стальные несущие конструкция покрытия, как и железобетонные, могут быть решены с подстропильными элементами или без них. В качестве стропильных конструкций наибольшее распространение получили фермы, реже балки сплошного сечения и рамы.

В зависимости от размера перекрываемого пролета, конструкции кровли, состояния воздушной среды в здании и климата местности стальные фермы изготавливают с параллельными поясами, полигональными и треугольными. Фермы с параллельными поясами применяют для плоских и малоуклонных кровель (1,5%) в отапливаемых зданиях. Полигональные фермы с уклоном верхнего пояса 1:8 применяют для скатных покрытий из рулонной кровли, а треугольные с уклоном верхнего пояса 1:3.5 - для однопролетных, неотапливаемых зданий с наружным водостоком под кровлю из асбестоцементных или стальных листов. Подстропильные фермы.

Для стропильных ферм из прокатных уголков проектируют подстропильные фермы с параллельными поясами длиной от 12 до 24 м. Высота ферм составляет 3130 мм, они имеют опорную стойку из двутавра, в нижней части которой предусмотрен столик для опирания стропильных ферм.

Выбор ферм зависит:

1.             от размера пролета;

2.       от состояния воздушной среды (отапливаемое, не отапливаемое; агрессивная, не агрессивная среда);

.         от климатических условий;

.         от нагрузки.

 

4.5 Покрытия по прогонам

Прогоны выполняют из железобетона и металла. Железобетонные прогоны из-за большой массы применяют редко, хотя они позволяют экономить сталь до 8 кг на 1 м2 покрытия. Прогоны длиной 6 м имеют сплошное сечение, а при длине 12 м- решетчатое. К стропильным конструкциям прогоны крепят с помощью уголков и болтов.

При прогонной схеме покрытия применяют легкие конструкции ограждения: асбестоцементные и металлические листы, асбестоцементные панели каркасного и коробчатого типа, панели экструзионные, настилы с использованием профилированных стальных и алюминиевых листов, а также плиты из армоцемента и легких бетонов. Для устройства неутепленных покрытий используют асбестоцементные волнистые и стальные профилированные листы, армоцементные и железобетонные плиты.

Металлические покрытия послойной сборки выполняют двух- и трехслойными. Наиболее распространенны трехслойные покрытия с рулонной кровлей. Основанием ограждающей конструкции является оцинкованный профилированный настил длиной от 3 до 12м с толщиной листа 0,8-150 м. Раскладку настила начинают от торца здания с последующей укладкой по нему слоев пароизоляции, утеплителя и рулонной кровли.

4.6 Покрытия без прогонов

На их устройство меньше расходуется металла и они менее трудоемки по сравнению с покрытиями по прогонам. Для устройства безпрогонных покрытий используют крупноразмерные панели, которые опирают непосредственно на несущие конструкции покрытия, длину панелей принимают равной шагу стропильных конструкций покрытия (6 и 12 м). а в ряде случаев - величине пролета (18 и 24 м). Ширину панелей увязывают с размерами несущей конструкции покрытия и с учетом нагрузки, действующей на покрытие. Обычно ширину панелей принимают 3 м, а доборных - 1,5 м.

Чаще всего в безпрогонных покрытиях применяют железобетонные панели. Такие панели используют в качестве несущего настила утепленных и холодных покрытий.

Существенный недостаток покрытий с использованием таких плит является необходимость трудоемкого устройства пароизоляции, утеплителя и водоизоляционного ковра в построечных условиях, условиях. Кроме того, покрытия плитами из железобетона имеют большую массу. В целях совмещения в одной плите несущих и ограждающих функций были разработаны плиты из легких бетонов (плоские и ребристые), а также комбинированные плиты, в которых несущие продольные ребра выполнены из тяжелого бетона, а полка плиты - из легких бетонов.

Функции несущих и ограждающих элементов с уменьшенными трудозатратами на монтаже хорошо совмещены в конструкциях покрытия с плитами "на пролет". Плиты такого типа укладывают вдоль пролета, опирая на подстропильные балки или фермы. В практике строительства нашли применение плиты типа сводчатой оболочки (КЖС), в форме коробчатых настилов и П-образного сечения.

Плиты типа КЖС размером 3x18 м имеют профиль, очерченный по квадратной параболе. С продольных сторон плита усилена ребрами - диафрагмами переменной высоты.

Плиты коробчатого сечения имеют двухпустотное сечение 2000x900 мм с консольными свесами верхней полки по 500 мм.

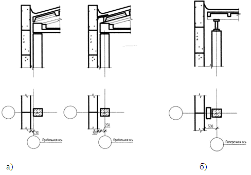
4.7 Правила привязки конструктивных элементов зданий к модульным координационным осям

Разработка плана цеха начинается с вычерчивания продольных и поперечных модульных осей, определяющих основные параметры здания о пролеты и шаг колонн. Устанавливается необходимость устройств деформационных швов (температурных, осадочных) и назначается их положение. Деформационные швы устраивают в местах примыкания взаимно перпендикулярных



Рис. 1. Привязка колонн и стен к разбивочным осям:

а - крайних колонн и стен к продольной оси; б - торцевых колонн и стен к поперечной оси; в - колонн поперечного температурного шва; г - колонн взаимно перпендикулярных пролетов пролетов, в местах перепада высот пролётов, а так же через 60...72 м в железобетонном каркасе и через 180-230 м - в стальном.

К модульным осям необходимо привязать основные конструктивные элементы -колонны, стены, рамы ворот.

Под привязкой понимают расстояние от модульной оси до грани или геометрической оси конструктивного элемента.

В одноэтажных производственных зданиях следующие правила привязок:

·        колонны крайних рядов к продольным осям имеют "нулевую привязку", т.е. наружные грани совмещаются с продольной осью в зданиях:

1.       без мостовых кранов с железобетонным каркасом при любой высоте, со стальным и смешанным каркасом при высоте до низа несущих конструкций покрытия не более 9,6 м;

2.       с мостовыми кранами грузоподъемностью до 30 т при шаге колон 6 м и высоте не более 14,4 м в железобетонном каркасе, и высоте не боле 9.6 м в стальном и смешанном каркасах;

·        наружные грани колонн крайних рядов смещаются с продольны осей на 250 мм наружу в зданиях с мостовыми кранами грузоподъемностью до 50 т при шаге колонн 6 м и высоте более 14,4 м в железобетонно каркасе, и высоте более 9,6 м в стальном и смешанном каркасах, а так при шаге колонн 12 м (для пропуска фахверковых колонн):

1. средние колонны имеют "осевую привязку", те. их геометрические оси совмещаются с продольными;

2. колонны крайних и средних рядов к поперечным модульным осям имеют "осевую привязку", кроме торцовых и в температурных швах;

3. геометрические оси торцовых колонн смещаются с поперечной модульной оси на 500 мм внутрь, что дает возможность размещения колон торцового фахверка;

4. поперечные температурные швы в зданиях устраивают на двух колоннах, при этом ось температурного шва совмещается с модульной, геометрические оси колонн имеют смещение с модульной оси на 500 внутрь температурного блока;

5. примыкание двух взаимно перпендикулярных пролетов одинаковой высоты устраивается на двух колоннах со вставкой С=500 или 1000 мм;

перепад высот между пролетами одного направления или взаимно перпендикулярного устраивается на двух колоннах со вставкой С, величина которой принимается в зависимости от привязки колонн к модульным осям и толщины наружной стены в верхней части повышенного пролета по табл. 1.

 

Рис. 2. Привязка колонн к разбивочным осям в местах перепада высот: а - пролетов одного направления; б - взаимно перпендикулярных пролетов.

6. колонны торцового фахверка к поперечной модульной оси имеют нулевую привязку; колонны продольного фахверка к модульным ос имеют такую же привязку, как колонны каркаса;

7. привязка стен к модульным осям определяется привязкой основных колонн каркаса. Между стеной и колонной предусматривается зазор 30 мм, необходимый по условиям их крепления.

Таблица 1

Вставка С в местах перепада высот между пролетами

Привязка колонн

Вставка С толщине стены

при параллельных пролетах

при взаимно перпендикулярных пролетах

 160

 200

 240

 300

 300

 500

0 и 0

0

250

300

350

400

500

600

0 и 250

250

500

550

600

650

750

850

250 и 250

-

750

800

850

900

1000

1100


Стены

Наружные стены промышленных зданий классифицируют по ряду признаков. По характеру статической работы они бывают несущие, самонесущие и ненесущие (навесные).

Несущие стены возводят в зданиях бескаркасных и с неполным каркасом. Их выполняют из кирпича, мелких и крупных блоков. Выполняя одновременно несущую и ограждающую функции, такие стены воспринимают массу покрытия, перекрытий, ветровые усилия и иногда нагрузки от подъемно-транспортного оборудования. Несущие стены опирают на фундаменты по типу гражданских зданий.

Самонесущие стены несут собственную массу в пределах всей высоты здания и передают ее на фундаментные балки. Ветровые нагрузки, воздействующие на стены, воспринимает каркас здания или фахверк. Стеновое заполнение связывают с каркасом гибкими или скользящими анкерами, не препятствующими осадке стен. Высоту самонесущих стен ограничивают в зависимости от прочности материала и толщины стены, шага пристенных колонн, величины ветровой нагрузки и т.д. Самонесущие стены выполняют из кирпича, блоков или панелей.

Ненесущие (навесные) стены выполняют в основном ограждающие функции. Их масса полностью передается на колонны каркаса и фахверка за исключением нижнего подоконного яруса, опирающегося на фундаментные балки. Колонны воспринимают массу ненесущих стен через обвязочные балки, ригели фахверка или опорные стальные столики. В промышленных зданиях навесная конструкция стен наиболее распространена.

По конструктивному исполнению стены могут быть монолитными и сборными из кирпича, мелкоразмерных и крупноразмерных блоков, панелей и листов. Каждый из этих конструктивных видов, в свою очередь, может иметь другую классификацию, например по видам используемых материалов, количеству их слоев и т.п.

По теплотехническим качествам стеновые конструкции могут быть утепленные и холодные. Утепленные конструкции стен применяют в отапливаемых зданиях с нормальным температурным режимом или с повышенной влажностью, возводимых в северных и средних районах. Холодные конструкции стен назначают в неотапливаемых зданиях, в которых технологический процесс связан с выделением избыточного количества тепла, а также в зданиях, возводимых в южных районах с жарким климатом.

Для обеспечения устойчивости торцевых кирпичных стен большой высоты принимают специальные меры, среди которых наиболее распространенной является использование фахверка, который устанавливается с шагом 6, 12м.

Ворота

В зависимости от принципа действия ворота подразделяют на распашные, откатные, подъемные, раздвижные и подъемного типа.

В свою очередь, распашные ворота могут быть распашными складчатыми, в которых одно из полотен разделено на две части, складывающиеся по вертикальной оси при открывании. Откатные ворота могут иметь одно отодвигающееся в сторону полотно или два полотна, отводящиеся при открывании в разные стороны. Иногда откатные ворота выполняют раздвижными складчатыми, когда полотна дополнительно складываются по вертикальной оси. В подъемных воротах различают подъемно-складчатые, подъемно-поворотные и телескопические разновидности конструкций открывания. Выбор способа открывания ворот зависит от интенсивности движения транспорта, размеров пространства перед воротами для открывания и требуемой степени герметизации помещений. Все виды ворот могут быть выполнены с ручным или механизированным открыванием.

Распашные ворота применяют в зданиях различного назначения для проезда безрельсового и рельсового транспорта в помещения с категориями производств пожарной опасности В, Г и Д. Распашные ворота не допускается применять в зданиях с агрессивной средой и в качестве противопожарных.

Откатные ворота применяют в зданиях для проезда рельсового и безрельсового транспорта с интенсивностью движения 50-100 циклов в сутки. Их можно устраивать в угловых пролетах, а также в пролетах, имеющих шаг колонн 12 м. Откатные ворота с открыванием полотен в две стороны (раздвижные ворота) обладают большей надежностью, долговечностью и пропускной способностью.

Все типы откатных ворот, как правило, выполняют из легких несущих элементов рам и полотен. Рамы и обвязку полотен выполняют из гнутых профилей или из прямоугольных труб, а полотна из легких панелей типа "сэндвич", профилированных листов и др.

Откатные ворота могут иметь размеры 3x3; 3,6x3,6; 4,2x4,2 и 4,8х х5,4 м. Их, как и распашные, не разрешается применять в зданиях с агрессивной средой и в качестве противопожарных. Ворота подъемного типа применяют в условиях большой интенсивности движения транспорта (около 100 циклов в сутки).

В условиях весьма интенсивного движения применяют ворота распашного, откатного и подъемного типов с механизированным открыванием, автоматическим управлением и воздушно-тепловыми завесами (автобусные, троллейбусные парки, трамвайное депо и др.). Механизм привода в таких конструкциях ворот размещают в верхней части ворот на внутренней или наружной поверхностях стены. Внутренний привод допускается во невзрывоопасных помещениях. Ворота подобного типа не считаются эвакуационным выходом.

Выбор способа открывания ворот зависит:

1.     интенсивности движения транспорта;

2.       размеров пространства между воротами для открытия;

.         требования степени герметизации помещения.

Правила расстановки ворот:

1.     не менее двух;

2.       должен быть один сквозной проезд;

.         ворота ставятся через пролет;

.         расстояние от любого рабочего места по техники безопасности до выхода должно составлять не более 75м.

Перегородки

Количество перегородок в производственных зданиях стремятся сделать, по возможности минимальным, так как они затрудняют перепланировку помещений, ухудшают естественное освещение и воздухообмен.

Конструкции перегородок решают в соответствии с требованиями прочности, устойчивости, огнестойкости, индустриальное возведения, а в отдельных случаях - с требованиями звуко-, термоизоляции и других специальных требований. Наиболее целесообразны перегородки сборно-разборной конструкции.

В зависимости от функционального назначения различают перегородки выгораживающего и разделительного типа.

Выгораживающие перегородки устанавливают на неполную высоту помещения. Их применяют для ограждения кладовых, мест, опасных для прохода, трансформаторных подстанций и других подсобных помещений.

В отечественной практике наиболее распространены

·   консольные сетчатые стальные перегородки

·   панельные из асбестоцементных листов.

Сетчатые стальные перегородки выполняют двух типов. Первый тип изготавливают на месте из стальной сетки, поставляемой в рулонах или картах нужного размера, и стоек, из горячекатаных или гнутых уголков. Стойки устанавливают с шагом 1,5 м и крепят к конструкциям пола самозаанкеривающимися болтами. Сетка крепится к стойкам прижимными накладками с помощью болтов. Высота перегородок этого типа принята 1,8 м. Второй тип стальных сетчатых перегородок монтируют из щитов заводской готовности, номенклатура которых предусматривает, кроме рядовых, поворотные, с раздаточными окнами и дверные. Высота перегородок из щитов может быть 1,8 и 2,4 м. Щиты состоят из каркаса, который выполняют из стальных гнутых уголков, и заполнителя из сварной или плетеной одинарной стальной сетки. Щиты устанавливают на покрытие пола и крепят к нему самозаанкеривающимися болтами. Между собой щиты соединяют болтами.

Выгораживающие панельные перегородки из асбестоцементных листов устраивают высотой 2.4 и 3,6 м. Их монтируют из панелей и стоек. Панели состоят из плоских асбестоцементных листов толщиной 10 мм и стальной обвязки из труб прямоугольного сечения. Асбестоцементные листы крепят к обвязке стальными гнутыми уголками и алюминиевыми профилями. Панели делают глухими, с дверными полотнами и с раздаточными окнами. Размеры глухих панелей могут быть 6x2,4; 6x1,2; 3x2,4; 3x1,2; 1,5x1,2 и 1.5x2,4 м, а с дверными полотнами и с раздаточными окнами - 1,5x2,4 м. Консольные стойки имеют высоту 3842 и 2512 мм. Их выполняют из гнутых замкнутых сварных профилей (100x3 мм) или из холодногнутых швеллеров. Стойки устанавливают через 6 м и крепят к бетонному подстилающему слою фундаментными болтами с коническим концом.

Выгораживающие перегородки могут быть выполнены и из других материалов и конструкций, например из профилированных или плоских стальных листов, стекла и пластиков. Иногда перегородки делают комбинированными, когда нижнюю часть перегородок выполняют глухой, а верхнюю из сетки или светопрозрачных материалов.

Разделительные перегородки предназначены для полной изоляции смежных помещений. Их возводят на всю высоту здания или этажа. По конструктивному решению разделительные перегородки могут быть монолитными и сборными. Монолитные конструкции, в том числе из мелкоштучных материалов, имеют преимущественное применение.

Вертикальные связи

Вертикальные связи располагают в середине температурных блоков в каждом ряду колонн. При шаге колонн 6 м по верху всех колонн дополнительно устанавливают продольные распорки. Связи по колоннам делают крестовыми (при шаге колонн 6 м) и портальными (при шаге 6 и 12 м в более высоких зданиях с использованием крупногабаритного транспорта).

Вертикальные связи обеспечивают:

1. свободные перемещения конструкций в обе стороны;

2. снижению температурных напряжений в колоннах;

3. жесткость и устойчивость в продольном направлении.

Этажерка

Этажерка предназначена для размещения технологического оборудования на открытых площадках и в зданиях, с зонированием по вертикали. Состав этажерок:

1. колонны (400x400)

2. ригели промежуточного сечения (400x800)

3. плиты (1,5×6;1,2×6;1×6 м; Н=400 мм)

Ригели предназначены для использования в составе междуэтажных перекрытий. Ригели устанавливаются на консоли железобетонных колонн и соединяются с колоннами сваркой, арматурой из закладных деталей и замоналичиваются.

Горизонтальные связи

Для повышения устойчивости одноэтажного промышленного здания в продольном направлении предусматривают систему горизонтальных связей между несущими элементами покрытия.

Их устраивают по нижним поясам стропильных конструкций по периметру здания и по краям температурного блока.

.         с учетом вида каркаса

.         типа покрытий

.         высоты здания

.         вида внутрицехового, подъёмно-транспортного оборудования, его грузоподъемности и режим работы.

Железобетонные каркасы одноэтажных промышленных зданий

Сборный вариант железобетонного каркаса одноэтажного здания состоит из поперечных рам, объединенных в пространственную систему продольными конструктивными элементами (плитами, прогонами, подкрановыми и обвязочными балками, подстропильными конструкциями и др.) и связями (рис. XI-3). Поперечную раму образуют колонны, жестко заделанные в фундаменты, и ригели, шарнирно соединенные с колоннами. В качестве ригелей могут выступать балки, фермы и другие несущие конструкции.

Колонны в системе каркаса воспринимают вертикальные и горизонтальные нагрузки постоянного и временного характера. В силу этого конструкции колонн должны отвечать повышенным требованиям прочности, жесткости и устойчивости. Для массового индустриального строительства разработаны типовые конструкции сборных железобетонных колонн для зданий без мостовых опорных кранов и для зданий с опорными мостовыми кранами.

Длину колонн выбирают с учетом высоты здания (от пола до низа несущих конструкций покрытия) и глубины заделки в фундаменты. Размеры сечения колонн зависят от нагрузки и длины колонн, их шага и расположения (в крайних или средних рядах).

Все типовые колонны предназначены для применения в том случае, когда верх фундаментов под них имеет отметку - 0,150.

При использовании в покрытиях железобетонных подстропильных конструкций длина колонны средних рядов принимается на 600 мм меньше, чем в покрытиях только со стропильными конструкциями.

Фундаменты под колонны в виде отдельных опор по способу возведения подразделяют на монолитные и сборные.

Монолитный фундамент состоит из подколонника с отверстием (стаканом) для заделки колонн и ступенчатой плотной части.

Высота унифицированных фундаментов составляет 1,5 и от 1,8 до 4,2 м с градацией через 0,6 м, размеры их подошв в плане от 1,5x1,5 до 6,6x7,2 м с модулем 0,3 м, а размеры подколонников в плане - от 0,9x0,9 до 1,2x2,7 м (через 0,3 м). Высоту ступеней принимают 0,3 и 0,45 м с совмещением уступов, обеспечивающих уклон 2:1. Под спаренные колонны в местах деформационных швов устраивают монолитные фундаменты с двумя раздельными стаканами (рис. Х1-5, в). Установлены следующие размеры стаканов: глубина 0,8, 0,9 и 1,25 м; размеры по верху и дну соответственно на 150 и 100 мм больше размеров сечения колонн (рис. XI-5, е) В целях унификации и сокращения числа типоразмеров колонн верх монолитных и сборных фундаментов располагают на 150 мм ниже отметки ±0.000. Это позволяет монтировать колонны при засыпанных котлованах, после устройства подготовки под полы и прокладки подземных коммуникаций.

Железобетонные подкрановые и обвязочные балки

Подкрановые балки с уложенными по ним рельсами образуют пути движения мостовых кранов. Они придают зданию также дополнительную пространственную жесткость.

Железобетонные подкрановые балки могут иметь тавровое или двутавровое сечение (рис. XI-7, а, б). Первые предусматривают при шаге колонн 6 м, вторые - при шаге 12 м. Железобетонные подкрановые балки устанавливают под краны грузоподъемностью до 32 т.

К колоннам балки крепят сваркой закладных элементов и анкерными болтами (рис. XI-7, в).

Во избежание ударов мостовых кранов о колонны торцового фахверка здания на концах подкрановых путей устраивают стальные упоры с амортизаторами - буферами из деревянного бруса (рис. XI-7, д).

Обвязочные балки служат для опирания кирпичных и мелкоблочных стен в местах перепада высот смежных пролетов, а также для повышения прочности и устойчивости высоких самонесущих стен.

Несущие конструкции покрытия из сборного железобетона

решаемые по плоскостной схеме, могут состоять только из стропильных и из стропильных и подстропильных элементов (см. рис. XI-3).

Несущие конструкции, состоящие только из стропильных элементов, применяют при одинаковом шаге колонн по крайним и средним рядам, а с применением подстропильных элементов-ког-да шаг колонн по наружному и среднему рядам различен. Например, часто шаг колонн по наружному ряду принимают 6 м, а по среднему -12 м. Выбор оптимального варианта несущих конструкций, т.е. с использованием подстропильных конструкций или без них, зависит от необходимости применения укрупненной сетки колонн по технологическим соображениям, от ограждающих конструкций покрытия, способов передачи нагрузок на элементы каркаса и др.

Стальные каркасы

одноэтажных зданий по конструктивным схемам решают аналогично железобетонным. Исключение составляют некоторые конструктивные решения с применением облегченных вариантов.

Колонны. В зависимости от габаритов здания, наличия и вида подъемно-транспортных средств и конструкций покрытия применяют колонны сплошного и сквозного типов с постоянным или переменным по высоте сечением (рис. XI-11).

Колонны сплошного постоянного сечения (рис. XI-11, а) используют в зданиях без мостовых кранов высотой до 8,4 м. Их выполняют из двутавров с параллельными гранями полок

Верх колонн (оголовок) решают в зависимости от способа соединения со стропильными конструкциями.

В зданиях без опорных мостовых кранов высотой от 9,6 до 18 м применяют колонны сквозного двухветвевого сечения с двухплоскостной безраскосной решеткой (рис. XI-11, б). Ветви колонн выполняют из двутавров от № 20 до № 70. Расстояние между ветвями (ширина колонн)

Для зданий высотой от 8,4 до 9,6 м, оборудованных мостовыми опорными кранами грузоподъемностью до 20 т, разработаны колонны сплошного постоянного сечения, а для зданий с кранами до 50 т и высотой от 10,8 до 18 м - двухветвевые колонны (рис. XI-11, в, г).

При использовании в зданиях кранов грузоподъемностью более 50 т, а также при их двухъярусном расположении или на случай предполагаемого расширения производства применяют колонны раздельного типа.

Фундаменты под стальные колонны устраивают монолитными столбчатого типа без отверстия (стакана). Их размеры принимают такими же как и для сборных железобетонных колонн. Базы крепят к фундаментам анкерными болтами.

Стальные подкрановые балки по статической схеме подразделяют на разрезные и неразрезные. Преимущественно распространены разрезные балки, так как они просты по конструкции, менее чувствительны к осадкам опор, несложны в монтаже, но по сравнению с неразрезными имеют большую высоту и более металлоемки. Неразрезные балки сложнее монтировать и перевозить.

По сечению подкрановые балки подразделяют на сплошные и решетчатые. Балки сплошного сечения, устанавливаемые при шаге колонн 6 м и небольшой грузоподъемности кранов, изготавливают из прокатного двутавра с усилением верхнего пояса стальным листом или уголками (рис. XI-13, а).

Для зданий или открытых крановых эстакад с размерами пролетов 18, 24, 30 и 36 м и с шагом колонн 6 и 12 м, оборудованных мостовыми электрическими кранами грузоподъемностью от 5 до 50 т, применяют балки сплошного сечения в виде сварных двутавров.

Подкрановые балки опирают на консоли колонн и крепят анкерными болтами и планками (рис. XI-13, д, е). Между собой балки соединяют болтами, пропущенными через опорные ребра. В уровне подкрановых путей при кранах тяжелого режима работы предусматривают площадки для сквозных проходов шириной не менее 0,5 м, ограждаемые по всей длине. В местах расположения колонн проходы устраивают сбоку колонн или через лазы в них.

Стальные рельсы под краны крепят к балкам парными крюками или лапками (рис. XI-13, ж, з). Расстояние между парами креплений по длине пути принимают 750 мм. На концах подкрановых путей устраивают упоры - амортизаторы, как и при железобетонных балках, исключающие удары кранов о торцевые стены здания.

Стальные несущие конструкции покрытия

как и железобетонные, могут быть решены с подстропильными элементами или без них. В качестве стропильных конструкций наибольшее распространение получили фермы, реже балки сплошного сечения и рамы.

Фермы. В зависимости от размера перекрываемого пролета, конструкции кровли, состояния воздушной среды в здании и климата местности стальные фермы изготавливают с параллельными поясами, полигональными и треугольными (рис. Х1-15).

Фермы с параллельными поясами применяют для плоских и малоуклонных кровель (1,5%) в отапливаемых зданиях. Полигональные фермы с уклоном верхнего пояса 1 : 8 применяют для скатных покрытий из рулонной кровли, а треугольные с уклоном верхнего пояса 1 : 3,5 - для однопролетных, неотапливаемых зданий с наружным водостоком под кровлю из асбестоцементных или стальных листов.

Покрытия со стальными фермами можно применять в зданиях, оборудованных мостовыми кранами грузоподъемностью до 50 т или подвесными кранами грузоподъемностью до 5 т. Фермы рассчитаны на установку световых и аэрационных фонарей всех типов.

Шаг стропильных ферм зависит от ограждающей конструкции покрытия и может составлять от 3 до 12 м.

Подстропильные фермы. Для стропильных ферм из прокатных уголков проектируют подстропильные фермы с параллельными поясами длиной от 12 до 24 м. Высота ферм составляет 3130 мм, они имеют опорную стойку из двутавра, в нижней части которой предусмотрен столик для опирания стропильных ферм.

Способы водоотвода и область их применения

В зависимости от температурного режима помещений, профиля и конструкции покрытия, протяженности скатов и количества выпадающих осадков в районе строительства отвод дождевых и талых вод с покрытий промышленных зданий может быть наружным и внутренним.

Наружный водоотвод подразделяют на неорганизованный, когда сброс воды происходит по свесам карниза, и организованный, при котором вода с кровли отводится по желобам и водосточным трубам. Наружный водоотвод предусматривают редко из-за его недостатков. Так, при неорганизованном отводе воды увлажняются стены, что снижает их теплотехнические качества и долговечность, а также образуются наледи на карнизах, вызывающие разрушение кровли. В покрытиях с наружным организованным водоотводом указанные недостатки проявляются в меньшей мере, однако замерзание воды в желобах и водосточных трубах при резком похолодании может вывести из строя систему водоотвода.

В отапливаемых зданиях водоотвод с покрытий, как правило, устраивают внутренний, а в неотапливаемых зданиях - наружный неорганизованный. Внутренний водоотвод является наиболее надежным способом удаления воды с кровли.

Наружный водоотвод с покрытий. Для наружного водоотвода с покрытий на продольных стенах предусматривают карнизы. Во избежание чрезмерного увлажнения стен стекающей водой вынос карниза на наружную плоскость стены должен быть по возможности большим (не менее 0,5м при высоте стен 6м). Сток воды при неорганизованном водоотводе происходит по всей длине карниза.

Внутренний водоотвод с покрытий. Система внутреннего водоотвода состоит из водоприемных воронок, водосточных труб, стояков, подпольных или подвесных трубопроводов и выпусков (рис. XV-13).

Водоприемные воронки направляют стекающую с кровли дождевую или талую воду в стояки, откуда она по трубопроводам и выпускам поступает в сеть ливневой или общесплавной канализации.

Правила установки внутреннего водостока:

1.  расстояние от оси воронки у продольно-поперечных разбивочных осей 500 (450)мм

2.       диаметр воронки 370мм

.         расстояние между воронками для скатных кровель не должно превышать 48м, для малоуклонных - 60м

.         по периметру наружных стен здания высотой более 10м до верхнего карниза или парапета на кровлях с уклонами от 3,5 до 5% следует предусматривать ограждение высотой не менее 0,6м из несгораемых материалов

Деформационные швы

В промышленных зданиях с большими размерами в плане или состоящих из нескольких объемов с различными высотами и нагрузками на основание, предусматривают деформационные швы, которые в зависимости от назначения подразделяют на температурные, осадочные и антисейсмические.

Температурные швы имеют целью предохранять от образования трещин конструктивные элементы зданий вследствие деформаций, вызываемых колебаниями температуры наружного и внутреннего воздуха. Температурные швы (продольные и поперечные), расчленяя по вертикали все надземные конструкции здания на отдельные части, обеспечивают независимость их горизонтальных перемещений.

Фундаменты и другие подземные элементы здания не расчленяют температурными швами, так как они под воздействием температуры не деформируются до опасной величины.

Осадочные швы предусматривают в тех случаях, когда ожидается неодинаковая и неравномерная осадка смежных частей здания. Такая осадка может происходить при значительной разнице высот смежных частей (более 10 м или выше 3 этажей), при различных по величине и характеру нагрузках на основание, при разнородных грунтах основания под фундаментами и наличии пристроек к зданиям.

Осадочные швы устраивают в стыках смежных частей здания, и в отличие от температурных они расчленяют по вертикали все конструкции здания, допуская самостоятельную осадку отдельных его объемов. Осадочные швы обеспечивают и горизонтальные перемещения расчлененных частей, поэтому их можно совмещать с температурными швами. В этом случае их называют температурно-осадочными.

Антисейсмические швы предусматривают в зданиях, располагаемых в районах с землетрясениями. Такие швы разрезают здание на отдельные отсеки, представляющие собой самостоятельные устойчивые объемы, и обеспечивают их независимую осадку.

В промышленных зданиях массового строительства обычно устраивают только температурные швы, которые подразделяют на поперечные и продольные. Расстояние между температурными швами назначают в зависимости от конструктивного решения здания, климатических показателей района строительства и температуры внутреннего воздуха (таблица 1). В деревянно-каркасных зданиях температурные швы не устраивают.

Для железобетонных конструкций одноэтажных промышленных зданий расстояние между температурными швами допускается без расчета увеличения на 20 %, а при обосновании расчетом и на большую величину.

Наибольшие расстояния между температурными швами, допускаемые при наружной температуре не ниже -40°С

Конструкции каркаса

Неотапливаемые здания

Отапливаемые здания

Открытые сооружения


Расстояние между температурными швами, м

Сборные железобетонные

40

60

40

Смешанные (железобетонные колонны, стальные или деревянные фермы или балки)

40

60

40

Монолитные и сборно-монолитные из тяжелого бетона

30

50

30

То же, из легкого бетона

25

40

25

Стальные

200

230

130


При температуре наружного воздуха ниже -40°С расстояние между швами при стальном каркасе принимают: в отапливаемых зданиях - 60 м, в неотапливаемых - 140 и в открытых сооружениях - 100 м.

Поперечные температурные швы в одноэтажных зданиях устраивают на парных колоннах без вставки (см. рис. IV-1, д-ё), а в многоэтажных зданиях - на парных колоннах со вставкой или без нее (см. рис. IV-3). Более технологичны швы без вставки, так как для них не требуются доборные ограждающие элементы. Парные колонны в местах поперечных температурных швов опирают (см. рис. XI-5, в) на общие фундаменты.

Продольные температурные швы в одноэтажных зданиях устраивают на двух рядах колонн со вставкой, ширину которой в зависимости от вида привязки в смежных пролетах принимают 500, 750 и 1000 мм (см. рис. IV-1, ж-к). При совмещении продольного температурного шва с перепадом высот смежных пролетов размер вставки принимают иным (см. рис. IV-2, а-в). Эти условия соблюдаются и в местах примыкания взаимно перпендикулярных пролетов (см. рис. IV-2, г-д).

В зданиях с железобетонным каркасом без мостовых кранов допускается устраивать продольные температурные швы на одинарных колоннах. При этом несущие конструкции одного из прилегающих к шву пролетов ставят на колонны через скользящие прокладки из фторопласта или кат-ковые опоры (рис. XVIII-11, а, б). Такой шов, отличаясь простотой, позволяет отказаться от парных колонн и подстропильных конструкций, а также от доборных элементов в стенах и покрытии.

В зданиях без кранов с металлическим или смешанным каркасом (железобетонные колонны и стальные фермы) продольные температурные швы также допускается конструировать на одном ряду колонн. При этом фермы одного из пролетов, прилегающих к шву, опирают на колонны через гибкие металлические пластины (рис. XVIII-11, в).

В ограждающих конструкциях здания температурные швы предусматривают в тех же местах, что и в несущих конструкциях. (В полах устраивают дополнительные швы.)

Температурные швы в покрытиях выполняют без разрыва кровельного ковра (рис. XVIII-11, г,д). Швы перекрывают полуцилиндрическими стальными компенсаторами; к плитам покрытия их крепят дюбелями. На компенсаторы укладывают полужесткие минераловатные плиты, затем оцинкованную сталь и водоизоляционный ковер, который в пределах шва усиливают дополнительными слоями из рулонного материала и стеклоткани на мастике.

Для заделки кровельного ковра в местах перепада высот на покрытии пониженных пролетов устраивают кирпичную стенку (рис. XVIII-11, ё). Сверху шов покрывают компенсатором и фартуком из оцинкованной стали.

Стеновые панели в местах швов крепят к колоннам так же, как и рядовые (рис. XVIII-11, ж). В швах со вставкой применяют специальные доборные блоки. Полость шва заполняют просмоленной паклей или упругим материалом. Иногда шов закрывают компенсатором, прикрепляемым к стеновым панелям дюбелями.

Температурные швы в полах на грунте с бетонным подстилающим слоем и при жестких покрытиях предусматривают только в помещениях, в период эксплуатации которых возможны положительные и отрицательные температуры воздуха (рис. XVIII-11, з). Такие швы размещают через 6-8 м во взаимно перпендикулярных направлениях.

Швы, показанные на рис. XVIII-11, и, к, устраивают в местах расположения основных температурных швов здания. В полах с уклоном швы совмещают с водоразделом стока жидкостей.

Световые и светоаэрационные фонари

преимущественно выполняют в виде прямоугольных надстроек (П-образные фонари) и встроенных или незначительно возвышающихся над покрытием светопрозрачных куполов, колпаков, панелей и лент (зенитные фонари).

Прямоугольные светоаэрационные фонари применяют в зданиях с избытками тепловыделений более 23Вт/(м2ч).

Размеры прямоугольных фонарей назначают в зависимости от светотехнических и аэрационных требований, согласуя с размерами пролетов и требованиями унификации.

При пролетах 18м ширину фонарей принимают равной 6м, при пролетах 24-36м равной 12м. Длина прямоугольных фонарей по противопожарным соображениям не должна превышать 84м. По этим же причинам их прерывают на размер одного шага стропильных конструкций в местах поперечных температурных швов и не доводят до торца пролетов на один шаг (6 или 12м).

Конструкции фонарей состоят из несущих и ограждающих элементов и связей. Несущими элементами фонарей являются поперечные фонарные фермы, фонарные панели и панели торца (рис. XVI-2). Фонарные фермы выполняют из гнутых или прокатных швеллеров (стойки), спаренных уголков (раскосы) и одинарного уголка (горизонтальная связь между стойками). В зависимости от конструкции покрытия стойки ферм делают вертикальными - при профилированных настилах и наклонными - при железобетонных плитах. Фонарные фермы устанавливают в соответствии с шагом стропильных конструкций (6 и 12м). Стойки фермы крепят к верхнему поясу стропильных ферм посредством опорной пластины на сварке.

Недостатками прямоугольных фонарей являются их высокая металлоемкость, воздухопроницаемость, возможность образования наледей на остеклении и др.

Зенитные фонари наиболее эффективны в зданиях с незначительными технологическими тепловыделениями - до 23Вт/(м2ч). Они могут быть точечного типа или панельные (рис. XVI-1, ж), односкатные, двускатные и криволинейные (рис. XVI-4).

Расположение фонарей в покрытии и их общая площадь зависят от требований к освещению помещений. Максимальная площадь остекления не должна превышать 15% освещаемой площади пола производственных помещений. Наиболее рациональной формой поперечного сечения фонарей шириной до 1,5 м является односкатная, а шириной 3м - двускатная. Зенитные фонари большей ширины нецелесообразны.

Размеры световых проемов зенитных фонарей увязывают с конструктивным исполнением покрытия. При покрытиях из сборных железобетонных плит размером 1,5x6м и из профилированных стальных настилов размеры световых проемов принимают 1,5x1,7; 1,5x5,9 и 2,9x5,9м. При покрытиях из железобетонных плит размером 3x6 и 3x12м, а также при плитах "на пролет" размеры проемов составляют 2,9x2,9м, а в покрытиях из стального профилированного листа по беспрогонной схеме с шагом стропильных ферм 4м - 2,9x3,9м.

Зенитные фонари устраивают глухими и открывающимися. Для очистки загрязнения и аэрации в них предусматривают открывающиеся створки со специальными механизмами открывания.

Открывающиеся зенитные фонари имеют размеры световых проемов 1,5x1,7; 1,5x5,9 и 2,7x2,7м.

Светопропускающие заполнения в зенитных фонарях могут быть выполнены из профильного стекла, стеклопластика и других материалов и конструкций.

Зенитные фонари, несмотря на определенные достоинства, имеют ряд недостатков. При их применении усложняется устройство кровли, особенно с фонарями точечного и панельного типов. Зенитные фонари не рекомендуется применять в помещениях с большими пыле- и тепловыделениями, а также в условиях разветвленной сети подвесных транспортных галерей, конвейеров и другого технологического оборудования, загораживающего световые проемы. Фонари из органического стекла из-за повышенной пожарной опасности могут быть использованы только в помещениях, относящихся к категориям Г и Д.

5. Конструктивные решения

5.1 Общие требования

2.41. При проектировании зданий следует принимать, как правило, типовые конструкции и изделия полной заводской готовности, в том числе конструкции комплектной поставки и сборные здания (модули).

2.42. В помещениях категорий А и Б следует предусматривать наружные легкосбрасываемые ограждающие конструкции.

В качестве легкосбрасываемых конструкций следует, как правило, использовать остекление окон и фонарей. При недостаточной площади остекления допускается в качестве легкосбрасываемых конструкций использовать конструкции покрытий из стальных, алюминиемых и асбестоцементных листов и эффективного утеплителя. Площадь легкосбрасываемых конструкций следует определять расчетом. При отсутствии расчетных данных площадь легкосбрасываемых конструкций должна составлять не менее 0,05 м2 на 1 мэ объема помещения категории А и не менее 0,03 м2 - помещения категории Б.

Примечания: Оконное стекло относится к легкосбрасываемым конструкциям при толщине 3, 4 и 5мм и площади не менее (соответственно) 0,8, 1 и 1,5 м*. Армированное стекло к легкосбрасываемым конструкциям не относится.

2. Рулонный ковер на участках легкосбрасываемых конструкций покрытия следует разрезать на карты площадью не более 180 м2 каждая.

3. Расчетная нагрузка от массы легкосбрасываемых конструкций покрытия должна составлять не более 0,7 кПа (70кгс/м2).

2.43. Галереи, площадки и лестницы для обслуживания грузоподъемных кранов следует проектировать в соответствии с Правилами устройства и безопасной эксплуатации грузоподъемных кранов, утвержденными Госгортехнадзором СССР.

2.44. Для ремонта и очистки остекления окон и фонарей в случаях, когда применение передвижных или переносных напольных инвентарных приспособлений (приставных лестниц, катучих площадок, телескопических подъемников) невозможно по условиям размещения технологического оборудования или общей высоты здания, допускается предусматривать стационарные устройства, обеспечивающие безопасное выполнение указанных работ. Применение этих устройств должно быть обосновано в технологической части проекта.

2.45. Участки перекрытий и технологических площадок, на которых установлены аппараты, установки и оборудование с наличием в них легковоспламеняющихся, горючих и токсичных жидкостей, должны иметь глухие бортики из негорючих материалов или поддоны. Высота бортиков и площадь между бортиками или поддонов устанавливаются в технологической части проекта.

5.2 Покрытия зданий

2.46. Отапливаемые здания, как правило, следует проектировать с внутренними водостоками.

Допускается проектировать отапливаемые здания высотой не более 10м без внутренних водостоков при ширине покрытия (с уклоном в одну сторону) не более 36м.

2.47. Неотапливаемые здания следует проектировать без внутренних водостоков. Допускается многопролетные неотапливаемые здания проектировать с внутренними водостоками при наличии производственных тепловыделений, обеспечивающих положительную температуру внутри здания, или при условии обоснованного применения специального обогрева водосточных воронок, стояков и отводных труб.

2.48. По периметру наружных стен зданий следует предусматривать ограждение на кровле в соответствии со СНиП 2.01.02-85. В зданиях с внутренними водостоками в качестве ограждения допускается использовать парапет. При высоте парапета менее 0,6м его следует дополнять решетчатым ограждением до высоты 0,6м от поверхности кровли.

.3 Фонари

2.49. Для зданий и помещений с сухим или нормальным влажностным режимом и незначительными избытками явного тепла (до 23 Вт/м3) следует применять, как правило, зенитные фонари. Светоаэрационные фонари допускается применять в зданиях с избытками явного тепла от 23 до 50 Вт/м3.

В зданиях, производственные процессы в которых сопровождаются избытками явного тепла более 50 Вт/м3 и выделением пыли и газов, следует предусматривать функциональное разделение проемов на световые и аэрационные.

2.50. Фонари должны быть незадуваемыми. Длина фонарей должна составлять не более 120м. Расстояние между торцами фонарей и между торцом фонаря и наружной стеной должно быть не менее 6 м. Открывание створок фонарей должно быть механизированным (с включением механизмов открывания у выходов из помещений), дублированным ручным управлением.

Открывающиеся зенитные фонари, учитываемые в расчете дымоудаления, должны быть равномерно размещены по площади покрытия.

2.51. Под остеклением зенитных фонарей, выполняемых из листового силикатного стекла, стеклопакетов, профильного стекла, а также вдоль внутренней стороны остекления прямоугольных светоаэрационных фонарей следует предусматривать устройство защитной металлической сетки.

2.52. Зенитные фонари со светопропускающими элементами из полимерных материалов (органического стекла, полиэфирных стеклопластиков и др.) допускается применять только в зданиях I и II степеней огнестойкости в помещениях категорий Г и Д с покрытиями из негорючих или трудногорючих материалов и рулонной кровлей, имеющей защитное покрытие из гравия. Общая площадь светопропускающих элементов таких фонарей не должна превышать 15% общей площади покрытия, площадь проема одного фонаря - не более 10м2, а удельная масса светопропускающих элементов - не более 20кг/м2.

Расстояние (в свету) между зенитными фонарями со светопропускающими элементами из полимерных материалов должно составлять при площади световых проемов до 5м2 - не менее 4м, от 5 до 10м2 - не менее 5м.

При совмещении фонарей в группы они принимаются за один фонарь, к которому относятся все вышесказанные ограничения.

Между зенитными фонарями со светопропускающими заполнениями из полимерных материалов в продольном и поперечном направлениях покрытия здания через каждые 54 м должны устраиваться противопожарные разрывы шириной не менее 6 м. Расстояние по горизонтали от противопожарных стен до зенитных фонарей со светопропускающими заполнениями из полимерных материалов должно составлять не менее 5 м.

.4 Стены и перегородки

2.53. Наружные и внутренние стены отапливаемых и неотапливаемых зданий следует проектировать, как правило, сборными из панелей и листовых материалов заводского изготовления. В наружных стенах следует предусматривать уплотнение швов.

Для зданий и помещений с избытками явного тепла более 50 Вт/м3 следует применять, как правило, неутепленные ограждающие конструкции, предусматривая при необходимости обогрев зон постоянного пребывания работающих с помощью средств местного обогрева.

Перегородки следует проектировать, как правило, из панелей (щитов) заводского изготовления, а также в виде каркаса, заполненного плитными и листовыми материалами.

254. Оконные проемы, не предназначенные для вентиляции и дымоудаления, следует заполнять остекленными неоткрывающимися переплетами или профильным стеклом; для оконных проемов с двойным и тройным остеклением следует предусматривать во внутренних переплетах открывающиеся створки для протирки стекол. Открывание переплетов, предназначенных для вентиляции и дымоудаления, должно быть механизированным, дублированным ручным управлением.

2.55. В окнах помещений с влажным или мокрым влажностным режимом должна быть обеспечена герметизация стыков между остеклением и переплетами, а также уплотнение притворов створных элементов для устранения проникания влажного воздуха из помещения в межстекольное пространство. В таких зданиях участки примыкания стен к окнам должны быть защищены от увлажнения путем устройства сливов, пароизоляции откосов.

2.56. Ворота следует принимать, как правило, типовые. При дистанционном и автоматическом открывании ворот должна быть обеспечена также возможность открывания их во всех случаях вручную. Размеры ворот в свету для надземного транспорта следует принимать с превышением габаритов транспортных средств (в загруженном состоянии) не менее чем на 0,2м по высоте и 0,6м по ширине.

5.5 Классификация промышленных зданий

Промышленные здания и сооружения по назначению подразделяют на следующие основные группы:

·        производственные, в которых размещают основные технологические процессы предприятия (мартеновские, прокатные, сборочные, ткацкие, кондитерские цехи и др.);

·        подсобно-производственные, предназначенные для размещения вспомогательных процессов производства (ремонтные, инструментальные, тарные цехи и т.п.);

·        энергетические, в которых размещают установки, снабжающие предприятие электроэнергией, сжатым воздухом, паром и газом (ТЭЦ, компрессорные, газогенераторные и воздуходувные станции и др.);

·        транспортные, предназначенные для размещения и обслуживания средств транспорта, находящегося в распоряжении предприятия (гаражи, электровозные депо и др.);

·        складские, необходимые для хранения сырья, заготовок, полуфабрикатов, готовой продукции, горючесмазочных материалов и пр.;

·        санитарно-технические, предназначенные для обслуживания сетей водоснабжения и канализации, для защиты окружающей среды от загрязнения (насосные и очистные станции, водонапорные башни, брызгальные бассейны и т.п.);

·        административные и бытовые здания.

К специальным сооружениям промышленных предприятий относят резервуары, газгольдеры, градирни, силосы, дымовые трубы, эстакады, опоры, мачты и пр.

Промышленные здания по архитектурно-конструктивным признакам подразделяют на одноэтажные, двухэтажные, многоэтажные и здания смешанной этажности:

1.       В одноэтажных зданиях, как правило, размещают производства металлургической и машиностроительной промышленности (сталелитейные, прокатные, кузнечные, термические, механосборочные цехи и др.), характеризующиеся тяжелым и громоздким технологическим оборудованием, крупногабаритными изделиями и большими динамическими нагрузками.

2.       В многоэтажных зданиях размещают производства с вертикально направленным технологическим процессом, в случаях, когда используется сила тяжести сырья и полуфабрикатов (мельницы, агломерационные фабрики, хлебозаводы, химические заводы и др.).

3.       Здания смешанной этажности строят для производств с горизонтальным и вертикальным технологическими процессами (многие химические производства).

.6 Краны

Обязательно указывается грузоподъёмность, пути движения. У кран-балок расстояние от оси колоны до оси кранового рельса 1500мм. Если ширина пролёта 24м, то крепиться в трёх местах или устанавливаются две кран-балки. При ширине пролёта 30м балка крепиться в четырёх местах или устанавливается две кран-балки в двух местах.

Подвесные краны имеют грузоподъёмность 0,25 до 0,5т. Кран состоит из легкого моста или несущей балки, двух-, трёх-, четырёх катковых механизмов передвижения (по подвесным путям).

В зависимости от ширины пролета, шага несущих конструкций покрытия, грузоподъёмности и требуемого числа операций по ширине пролёта (на одних и тех же путях)устанавливаются один или несколько кранов.

По количеству путей подвесные краны одно-, двух- и многопролётные.

Размеры пролетов кранов, расстояния между точками подвеса приняты кратными 1,5м и составляют 3-15м. Управляют подвесными кранами с пола цеха, с помощью пульта.

Мостовые краны имеют грузоподъёмность 1 до 500т и более. Чаще всего используют краны от 5 до 30т.

В тех цехах, где требуется перемещать грузы разной массы и с разной скоростью предусматриваются краны с двумя механизмами подъема, грузоподъемность обозначают дробными цифрами(50/10т). Числитель показывает грузоподъемность механизма главного подъема, знаменатель - вспомогательного.

Мостовой кран состоит из механизмов передвижения и тележки с механизмом подъема, передвигающегося вдоль моста.

Несущий мост имеет вид пространственной четырехплоскостной, коробчатой балочной или ферменной конструкции. По концам моста устанавливают механизм передвижения по крановым путям, уложенным по консолям колон цеха.

5.7 Фонари промышленных зданий

По виду фонари бывают:

§  светоаэрационные обеспечивают верхнее естественное освещение и вентилирование.

§  аэрационные, применяются в производственном здании с большими тепловыделениями и в выделении газов, т. е. в случаях когда верхний свет не может быть использован из-за интенсивного загрязнения, в этом случае необходимая освещенность обеспечивается боковым искусственным или естественным освещением.

§  зенитные (световые) применяется в многоэтажных промышленных зданиях для производств с незначительными технологическими загрязнениями внутреннего воздуха(менее 5г на 1м³) и технологическими выделениями 10ккал/м³, а также есть необходимость герметизации производственных помещений. Тип фонаря проектируется в соответствии с технологическими и санитарно-техническими требованиями.

Светоаэрационные фонари- настройки следует проектировать продольными и П-образными с вертикальным остеклением.

Правила подготовки аэроционного фонаря:

·        ширина фонаря составляет:

1.       для пролетов 12 и 18 метров - 6 метров.

2.       для пролетов 24 и 30 метров - 12 метров.

·        длина фонаря не должна превышать 84 метра.

·        торцы фонарей должны отступать от торцов здания и от температурного шва на шаг стропильной конструкции.

·        на кровле фонарей следует предусматривать пожарные лестницы.

5.8 Кровли

Кровля- это наружный водонепроницаемый слой крыши в зависимости от уклона кровли бывают:

1.       плоская (ферма с параллельными поясами) - 1,5%

2.       малоуклонная (безраскосная ферма с рошками) для пролета 18м - 3,3% и для пролета 24м - 5%

.         скатная (полигональная, сегментная, безраскосные без рожек) уклон 8-12%

5.9 Полы

Конструкции полов приведены в СНиП 2.03.13-88. Типы покрытий полов производственных помещений следует назначать в зависимости от вида и интенсивности механических и тепловых воздействий, а также воздействий жидкостей на полы с учетом специальных требований к полам. На листе 136 представлены некоторые типы конструкций полов, а также дана их качественная оценка с точки зрения воздействия на них механических нагрузок и жидкостей, указаны требования по уходу за ними.

Съемные полы (лист 137) предназначены для помещений, в которых требуется подпольное пространство для размещения скрытых коммуникационных линий электрических связей, воздуховодов и т. д., например помещений вычислительных центров. Помещения со съемными полами могут находиться в одноэтажных и многоэтажных зданиях с высотой этажей не менее 4,2 м.

Съемные полы представляют собой конструкцию, передающую полезные нагрузки с плит пола на междуэтажные перекрытия или основание под полы одноэтажных зданий. Они состоят из перекрытия и каркаса. Перекрытие состоит только из съемных плит, которые опираются по контуру на съемные ригели каркаса пола. Плиты разрабатывают стальными штампованными и алюминиевыми размерами 500 х 500 и 600 х 600 мм. Алюминиевые плиты изготовляют литьем в кокиль и литьем под давлением.

Верхняя поверхность стальных и алюминиевых плит имеет антистатическое покрытие, обеспечивающее нейтрализацию статического электричества. Торцы плит по контуру снабжены окантовкой, выполненной также из антистатических материалов.

Каркас пола независимо от материала и размера плит перекрытия выполнен одного типа и состоит из ригелей, стоек и обойм. При монтаже пола каждые четыре стойки объединяют в жесткую опорную секцию по низу обоймой, а сверху четырьмя ригелями (показано на листе 137). Ригели выполнены съемными и предназначены для фиксации плит, стоек в опорной секции и опорных секций между собой, что позволяет вести монтаж укрупненными узлами и сократить его сроки.

Стойка пола включает в себя опору и оголовок с резьбой. Ее длина соответствует высоте пола, равной 300-600 мм. Обойма предназначена для обеспечения устойчивости пола от случайных горизонтальных сил. Она имеет квадратную форму в плане и состоит из четырех точно центрированных по размеру плит втулок и стяжек.

Плиты поднимают с помощью резинового съемника, прикладываемого в середине плиты. В конструкцию съемного пола входят также доборные элементы: плинтус для сопряжения пола со стеной и доборная стальная плита, состоящая из плоского стального листа с антистатическим покрытием.

Расположение плит пола необходимо планировать с учетом их модульного размера, при этом резка плит по месту должна быть сведена до минимума. За базу отсчета следует принимать в помещениях без колонн угол, равный 90° и образованный стенами без уступов и впадин, в помещениях с колоннами - центр колонн, совмещенный с центром плит.

Приложения



Похожие работы на - Одноэтажное промышленное здание

 

Не нашли материал для своей работы?
Поможем написать уникальную работу
Без плагиата!
Без нейросетей!