|
Наименование
грунта
|
r г/см3
|
rS г/см3
|
w д.ед
|
m0 1/МПа
|
Кф
м/сек
|
j град
|
с
кПа
|
wL д.ед
|
wp д.ед
|
|
Глина
|
1,80
|
2,76
|
0,300
|
0,040
|
2,2х10-9
|
24
|
19
|
0,410
|
0,220
|
|
Суглинок
|
1,90
|
2,56
|
0,260
|
0,080
|
2,6х10-9
|
21
|
12
|
0,320
|
0,210
|
|
Песок
|
2,02
|
2,67
|
0,190
|
0,058
|
3,5х10-4
|
35
|
-
|
-
|
-
|
Введение
Основания и фундаменты являются важнейшими
элементами зданий и сооружений. В общем, объёме строительства устройство
оснований и фундаментов имеет значительный удельный вес, как по стоимости, так
и по трудоёмкости строительных работ.
Анализ статистических данных показывает, что
большинство аварий зданий и сооружений было вызвано разрушением оснований и
фундаментов, либо при изменении условий эксплуатации фундаментных конструкций
объекта. Недостаточная изученность инженерно - геологических условий на
строительной площадке, недоброкачественное устройство оснований и фундаментов
часто является причиной появления недопустимых деформаций фундаментов с
последующим разрушением несущих и ограждающих конструкций. С другой стороны в
некоторых случаях, при строительстве в целях перестраховки - на практике
устраивают фундаменты значительно больших размеров, чем это требуется по
условиям эксплуатации здания. Всё это приводит к лишним и вредным
дополнительным работам на строительной площадке, недостаточному использованию
несущей способности грунтов основания и перерасходу строительных материалов.
1. Оценка инженерно-геологических условий
промышленной площадки
Проектированию оснований и фундаментов зданий и
сооружений всегда предшествуют специальные инженерно - геологические изыскания,
выполняемые специализированными управлениями и трестами КИП и ТИСИЗ.
При этом объёме и характере изысканий
регламентируются нормативными документами и специальными стандартами.
В нашем случае, в результате проведения обширных
инженерно-геологических изысканий были получены сведения об основных
физико-механических характеристиках, инженерно - геологическом строении и
наплостовании слоёв грунта. Общая оценка инженерно - геологической и
гидрологической обстановки показывает, что рассматриваемая обстановка
практически не носит сложного характера и вполне удовлетворяет основным требованиям
проектирования, строительства и эксплуатации промышленного здания, выданного в
задании на курсовой проект.
2. Определение физико-механических свойств и
полного наименования грунтов основания
Рис.1. Поперечный разрез площадки
Слой №1. Глина.
. Коэффициент пористости
2. Коэффициент относительной сжимаемости
3. Модуль общей деформации Е:
20< 21,5МПа - грунт относится к
малосжимаемым.
. Коэфициент водонасыщенности грунта или
степень влажности
Sr
> 0,8 - грунт не просадочный.
. Удельный вес грунта:
6. Удельный вес твердых частиц:
. Число пластичности -
характеристика, с помощью которой определяется наименование пылевато-глинистого
грунта:
где wL- влажность
на границе текучести;
wP - влажность
на границе раскатывания.
Так как (0,17£ 0,19) , то
грунт глина.
. Показатель текучести (показатель
консистенции) - оценивает степень пластичности пылевато-глинистого грунта.
; так как 0 £ 0,421 £ 0,5 - грунт
тугопластичный;
9. Показатель П для предварительной оценки
просадочности и набухания глинистого грунта.
,
где
- коэффициент пористости,
соответствующий влажности на границе текучести.
При П < 0,3 по предварительной оценке грунты относятся
к не набухающим при замачивании.
Вывод: глина - среднесжимаемая, тугопластичная,
не просадочная, не набухающая.
Слой №2. Суглинок.
. Коэффициент пористости - отношение
объема пор к объему твердых частиц:
,
где rs и r - соответственно плотность
частиц грунта и плотность грунта ненарушенной структуры (г/см3);
w - естественная
влажность грунта в д. ед.
2. Коэффициент относительной сжимаемости
1/МПа,
где mо -
коэффициент сжимаемости (1/МПа).
3.
Модуль общей деформации Е:
,
где
, (n- коэффициент общей относительной поперечной
деформации или коэффициент Пуассона); для суглинка - β = 0,62.
Так как 5< 13,17 МПа <20 -
грунт относится к среднесжимаемым.
4. Коэффициент водонасыщенности грунта или
степень влажности - отношение объема поровой воды к объему пор:
,
где rw = 1 г/см2
- плотность воды.
Так как Sr
> 0,8, то грунт не просадочный.
. Удельный вес грунта
где g=9,81
- ускорение свободного падения.
. Удельный вес твердых частиц грунта
7. Число пластичности -
характеристика, с помощью которой определяется наименование пылевато-глинистого
грунта:
,
Так как (0,07£ 0,11≤0,17),
то грунт супесь.
8. Удельный вес грунта с учетом взвешивающего
действия воды
8. Показатель текучести (показатель
консистенции) - оценивает степень пластичности пылевато-глинистого грунта
;
0,25 £ 0,46 £ 0,5 - грунт
тугопластичный;
9. Показатель П для предварительной оценки
просадочности и набухания глинстого грунта.
,
где
- коэффициент пористости,
соответствующий влажности на гра-
нице текучести.
При П < 0,3 по предварительной оценке грунты относятся
к не набухающим при замачивании.
Вывод: суглинок - тугопластичный, не просадочный
по предварительной оценке, не набухающий при замачивании грунт,
среднесжимаемый.
Слой № 3. Песок средней крупности.
. Коэффициент пористости - отношение
объема пор к объему твердых частиц:
,
0,55 ≤ 0,58 ≤ 0,7 - песок средней
плотности.
2. Коэффициент относительной сжимаемости
3. Модуль общей деформации
Мпа.
20 МПа< 20,16 МПа- грунт
относится к малосжимаемым.
4. Коэфициент водонасыщенности грунта или
степень влажности - отношение объема поровой воды к объему пор:
0,8≤Sr грунт
насыщенный водой.
5. Удельный вес грунта где g=9,81
- ускорение свободного падения.
g=9,81 ×2,02=19,816
кН/м3.
6. Удельный вес твердых частиц грунта
gs=9,81×
2,67=26,193 кН/м3.
7. Удельный вес грунта с учетом
взвешивающего действия воды
Вывод: Песок средней крупности,
средней плотности, малосжимаемый, насыщенный водой.
3. Определение нагрузок на ленточный
фундамент
Грузовая площадь
где В=6-(0,2+2,19)=5610 мм -
расстояние между стенками.
Из задания n=5; h1=3м
принимаем оконный проём 1,8 х 2 м;
Высота стены
H=h1·n+1,2=3·5+1,2=16,2
м;
где n
- количество этажей.
Площадь стены с учетом окон
Aст=H·3-(1,7·2)·n=16,2·3-(1,8
·2)·5=30,6
м2;
Площадь стены без окон
Aст=H·h1=(16,2-1,2)∙3=45
м2;
Грузовая площадь:
При определении продольных усилий
для расчета колонн, стен, фундаментов полные нормативные нагрузки следует
снижать умножением на коэффициент сочетания yn (при числе
перекрытий m > 2):
где m -
общее число пе-рекрытий.
при n=5:
при n=4:
Рис.2. Определение грузовой площади
Рис.3. Определение площади стены
Таблица 4 Нагрузка на 1м 2 покрытия и
перекрытия
|
Нагрузки
|
Нормативная,
кПа
|
Коэффициент
надежности по нагрузке f
|
Расчетная,
кПа
|
|
Постоянные:
|
|
|
|
|
от
покрытия:
|
|
|
|
|
-
защитный слой гравия
|
0,3
|
1,3
|
0,39
|
|
-
гидроизоляция - 3 слоя рубероида
|
0,15
|
1,3
|
0,195
|
|
-
цементная стяжка t=20 мм (20х0,02)
|
0,4
|
1,3
|
0,52
|
|
-
плитный утеплитель (4х0,15)
|
0,6
|
1,3
|
0,78
|
|
-
пароизоляция
|
0,05
|
1,3
|
0,065
|
|
-
железобетонная панель
|
2,8
|
1,1
|
3,08
|
|
Итого:
|
qпок,n=4,3
|
-
|
qпок =5,03
|
|
от
перекрытия:
|
|
|
|
|
-
пол из керамических плиток 18х0,013
|
0,23
|
1,3
|
0,299
|
|
-
цементная стяжка t=20 мм (20х0,02)
|
0,4
|
1,3
|
0,52
|
|
-
железобетонная панель
|
2,8
|
1,1
|
3,08
|
|
Итого:
|
qпер,n=3,43
|
-
|
qпер =3,899
|
|
Временные:
|
|
|
|
|
-
снеговая
|
1
|
1,4
|
1,4
|
|
-
на перекрытии
|
1,7
|
1,2
|
2,04
|
Таблица 5 Нагрузки, передаваемые на 3 пог. м
ленточного фундамента (наружная стена)
|
Нагрузки
|
Нормативная
нагрузка
|
f
|
Расчетная
на 3 метра стены, кН
|
|
на
1 м2, кПа2
|
на
3 метра стены, кН
|
|
|
|
В
осях 1 - 2 (с подвалом) Постоянные
|
|
|
|
|
|
От
покрытия Агр∙qпок.н.=8,415∙4,3=36,18
|
4,3
|
36,1845
|
-
|
42,32745
|
|
От
n
перекрытий (n=5)
|
3,43
|
144,3173
|
-
|
164,050425
|
|
От
перегородок на n-х этажах (n=5)
|
1
|
42,075
|
1,1
|
46,2835
|
|
Нагрузка
от стен Аст·tст·γ=30,6·0,51·18
|
-
|
280,908
|
1,1
|
308,999
|
|
Итого:
|
|
=431,49 =561,66
|
|
|
|
Временные
|
|
|
|
|
|
Снеговая
ро х Агр=1,5×8,415=12,622
|
1,5
|
12,6225
|
1,4
|
17,6715
|
|
На
4-х перекрытиях Р х Агр х ψ1×n=2,3×8,415×0,668×5
|
2,3
|
64,64403
|
1,2
|
77,57284
|
|
Итого:
|
|
=77,27 =95,24
|
|
|
|
В
осях 2 - 4 (без подвала) Постоянные
|
|
|
|
|
|
От
покрытия
|
4,3
|
36,1845
|
-
|
42,32745
|
|
От
n
перекрытий (n=4)
|
3,43
|
115,4338
|
-
|
131,24034
|
|
От
перегородок на n-х этажах (n=4)
|
1
|
33,66
|
1,1
|
37,026
|
|
Нагрузка
от стен Аст·tст·γ=30,6·0,51·18
|
-
|
280,908
|
1,1
|
308,999
|
|
Итого:
|
|
=466,19 =519,59
|
|
|
|
Временные
|
|
|
|
|
|
Снеговая
ро х Агр=1,5×8,415=12,622
|
1,5
|
12,6225
|
1,4
|
17,6715
|
|
На
4-х перекрытиях Р х Агр×ψ×n=2,3×8,415×0,7×4
|
2,3
|
70,686
|
1,2
|
84,8232
|
|
Итого:
|
|
=83,31 =102,49
|
|
|
Нормативная нагрузка на 1 п.м. стены в осях 1 -
2:
кН;
Расчётная нагрузка на 1 п.м. стены в
осях 1 - 2:
кН;
Нормативная нагрузка на 1 п.м. стены
в осях 2 - 4:
кН;
Расчётная нагрузка на 1 п.м. стены в
осях 2 - 4:
Таблица 6 Нагрузки, передаваемые на 3 пог. м
ленточного фундамента (внутренняя стена)
|
Нагрузки
|
Нормативная
нагрузка
|
f
|
Расчетная
на 3 метра стены, кН
|
|
на
1 м2, кПа2
|
на
3 метра стены, кН
|
|
|
|
В
осях 1 - 2 (с подвалом) Постоянные
|
|
|
|
|
|
От
покрытия
|
4,3
|
72,369
|
-
|
84,654
|
|
От
n
перекрытий (n=5)
|
3,43
|
288,6534
|
-
|
328,100085
|
|
От
перегородок на n-х этажах (n=5)
|
1
|
84,15
|
1,1
|
92,565
|
|
Нагрузка
от стен Аст·tст·γ=45·0,38·18
|
-
|
307,8
|
1,1
|
338,58
|
|
Итого:
|
|
=752,954 =843,9
|
|
|
|
Временные
|
|
|
|
|
|
Снеговая
ро х Агр=1,5∙16,83
|
1,5
|
25,245
|
1,4
|
35,343
|
|
На
5-х перекрытиях Р х Агр х ψ1=16,83∙5∙2,3∙0,668
|
2,3
|
129,28806
|
1,2
|
155,145672
|
|
Итого:
|
|
=154,53 =190,5
|
|
|
|
В
осях 2 - 4 (без подвала) Постоянные
|
|
|
|
|
|
От
покрытия
|
4,3
|
72,36
|
-
|
84,65
|
|
От
n
перекрытий (n=4)
|
3,43
|
224,734
|
-
|
225,463
|
|
От
перегородок на n-х этажах (n=4)
|
1
|
67,32
|
1,1
|
74,052
|
|
Нагрузка
от стен Аст·tст·γ=45·0,38·18
|
-
|
307,8
|
1,1
|
338,58
|
|
Итого:
|
|
=672,21 =722,74
|
|
|
|
Временные
|
|
|
|
|
|
Снеговая
ро х Агр=16,83∙1,5
|
1,5
|
25,245
|
1,4
|
35,343
|
|
На
4-х перекрытиях
|
2,3
|
108,3852
|
1,2
|
130,06224
|
|
Итого:
|
|
=133,63 =165,4
|
|
|
Нормативная нагрузка на 1 п.м. стены в осях 1 -
2:
кН;
Расчётная нагрузка на 1 п.м. стены в
осях 1 - 2:
кН;
Нормативная нагрузка на 1 п.м. стены
в осях 2 - 4:
кН;
Расчётная нагрузка на 1 п.м. стены в
осях 2 - 4:
кН;
4. Выбор типа применяемых фундаментов и
определение расчётной глубины их заложения
Глубина заложения подошвы фундамента зависит от
инженерно-геологических условий строительной площадки, климатических
воздействий, конструктивных и эксплуатационных особенностей возводимых зданий и
назначается в соответствии с п.п. 2.25 - 2.33 СНиП 2.02.01-83.
. Инженерно-геологические условия.
Первым слоем является глина - среднесжимаемый,
не просадочный по предварительной оценке, тугопластичный, не набухающий Е=21,5
Мпа, е=0,99, m=0,04 1/МПа - грунт
не слабый.
Вторым слоем является суглинок - грунт
среднесжимаемый, не просадочный по предварительной оценке, тугопластичный, не
набухающий Е=13,17 МПа, е=0,7, m0=0,08
1/МПа - грунт не слабый.
Эти два слоя могут служить надежным основанием.
. Климатические условия.
В результате предварительных
расчётов принимаем ширину ленточного фундамента b=1,6м, а
ширину стенки равной 0,6м. Расстояние от внешней грани стены до края фундамента
будет равно
Расчетная глубина промерзания для
суглинка
df1=
=
,
где dfn1=2,0м -
глубина промерзания г. Пенза.
do=0,23 - для
суглинка.
где kn=0,5 -
коэффициент влияния теплового режима здания, принимаемый по СНиП 2.02.02.83.
Таким образом, глубина заложения
фундамента в бесподвальной части здания должна быть не менее 1,0 м.
. Конструктивные особенности зданий
и сооружений.
Для сборных фундаментов глубина
заложения зависит от принятой конструкции, размеров фундаментных подушек и
блоков стен подвала, а также конструктивных требований.
В бесподвальной части здания глубину
заложения принимаем равной 1,22 м (df+0,22=1+0,22=1,22),несущим
слоем будет глина.
df = 300 + 20
+ 280 + 20 + 580+ 20+150 =1220 мм, здесь 300 мм - высота фундаментной плиты;
580,280 мм - высота фундаментного стенового блока марки ФБС 12.6.6; 20 мм -
высота шва цементного раствора; 150 мм - расстояние от планировочной отметки
земли до слоя гидроизоляции стены.
В подвальной части здания глубина
заложения фундамента определяется из конструктивных соображений и принимаем
равной 2,27м.
df = 300 + 20
+ 580 + 20 + 580 + 20 + 580 + 20 + 280 +20 +150 = 2420 мм.
Рис.4. Глубина заложения фундаментов под несущие
стены здания в бесподвальной (а) и части здания с подвалом (б)
Глубину заложения подошвы фундамента под колонну
назначаем равной df
= 1500 мм. Колонна имеет размеры 400 х 500 мм, наибольший размер 500 мм,
следовательно hk=500
мм - величина на которую осуществляется заглубление колонны в стакан
фундамента.
Рис.5: а) поперечное сечение колонны; б) схема
отдельно стоящего фундамента под колонну в бесподвальной части здания
5. Определение основных размеров ленточного
фундамента в бесподвальной части здания
грунт фундамент бесподвальный здание
Определим размеры подошвы ленточного фундамента
под наружную стену здания. Определим требуемую ширину фундамента b
под стену здания в бесподвальной части. Учёт горизонтального давления Т на
стену фундамента производить не будем. Составим выражение для расчетного
сопротивления грунта R.
Глубина заложения фундамента df=1,22
м. Грунт несущего основания - глина. Расчетные значения характеристик j
= 24°.
Согласно таблице 4 СниП 2.02.01-83 получим коэффициенты Мg=0,72;
Мq=3,87;
Мс=6,45. Значения коэффициентов условий работы gс1
= 1,2; gс2
=1. Значение коэффициента k
принимаем равным k = 1, т.к.
характеристики грунтов определяли в результате испытаний; kz=1
(при b<10 м).
Удельный вес грунта несущего слоя ниже подошвы
фундамента составляет gII
=17,658
кН/м3, поскольку в пределах 0,5м ниже df
грунтовые условия не меняются g/II
=gII=17,658
кН/м3.
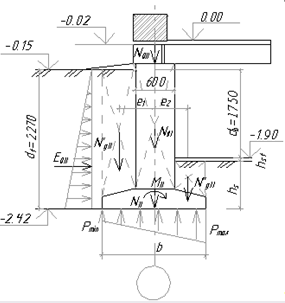
Рис. 6. Расчётная схема ленточного фундамента в
бесподвальной части здания
Найдем расчетное сопротивление грунта под
подошвой фундамента:
Определим точку пересечения графиков P
=f(b)
и R=f(b)
методом расчёта из условия: P=R,
где P -среднее давление
под подошвой фундамента.
где N0II -
нормативная нагрузка на фундамент; N0II=183,117
(для беcподвальной
части здания);
- осреднённый удельный вес материала
фундамента и грунта, лежащего на обрезах фундамента;
при b=0,7м;
P=277,99 кПа;
при b=1м;
P=198,517 кПа;
при b=1,5м;
P=137,478 кПа;
при b=0,7м; R=220,9 кПа;
при b=1м; R=225,5 кПа;
при b=1,5м; R=233,1 кПа;
Используя полученные результаты,
построим две графические зависимости P =f(b) и R=f(b). При этом
пересечение графиков даёт наиболее оптимальное значение ширины фундамента.
Рис. 7. К графическому методу определения
размеров ленточного фундамента в бесподвальной части здания
Получим b=0,8м,
принимаем ширину подошвы фундамента в бесподвальной части здания b=0,8м. Т.к.
при b=1м
Рис. 8. Размеры подушки ленточного фундамента в
бесподвальной части здания
.1 Определение основных размеров ленточного
фундамента в подвальной части здания
Определим ширину подошвы ленточного фундамента в
части здания с подвалом. Грунт несущего основания - суглинок. Расчетные
значения характеристик j = 21°, cII=12кПа.
Согласно таблице 4 СниП 2.02.01-83 получим коэффициенты Мg=0,56;
Мq=3,24;
Мс=5,84. Значения коэффициентов условий работы gс1
= 1,2; gс2=1.
Значение коэффициента k
принимаем равным k = 1, т.к.
характеристики грунтов определяли в результате испытаний; kz=1
(при b<10 м).
Рис. 9. Расчётная схема ленточного фундамента в
подвальной части здания
Удельный вес грунта несущего слоя составляет gII
=18,64
кН/м3;
Осреднённое значение удельного веса грунта выше
подошвы фундамента:
gI, g2 - удельный
вес грунта первого и второго слоя;
db - глубина
пола подвала, db=1,75м;
hs - толщина
слоя грунта под полом подвала, hs=0,59м;
hsf - толщина
пола подвала, hsf=0,13м;
γcf
- удельный вес конструкции пола подвала, γcf=24кН\м3;
d1
- глубина заложения фундамента от уровня планировки;
Найдем расчетное сопротивление
грунта под подошвой фундамента:
Среднее давление под подошвой
фундамента:
где N0II -
нормативная нагрузка на фундамент; N0II=169,59 кН
(для части здания с подвалом);
- осреднённый удельный вес материала
фундамента и грунта, лежащего на обрезах фундамента;
d - глубина
заложения фундамента, d=2,27м.
Определим точку пересечения графиков
P =f(b) и R=f(b) методом
расчета из условия P=R;
при b=0,5м;
P=384,58кПа;
при b=1м;
P=214,99 кПа;
при b=1,5м;
P=158,46 кПа;
при b=3м;
P=101,93 кПа;
при b=0,5м; R=232,39 кПа;
при b=1м; R=238,65 кПа
при b=1,5м;
R=244,91 кПа;
при b=3м;
R=263,69 кПа;
Используя полученные результаты, построим две
графические зависимости
P =f(b)
и R=f(b).
При этом пересечение графиков даёт наиболее оптимальное значение ширины
фундамента.
Рис. 10. К графическому методу определения
размеров ленточного фундамента в подвальной части здания
Получим b=0,88м,
но целесообразно по конструктивным соображениям принять ширину подошвы
фундамента в подвальной части здания b=1м.
Учитывая, что проектируемый ленточный фундамент
является фактически внецентренно нагруженным, на втором этапе расчёта определим
максимальный изгибающий момент, воспринимаемый фундаментом.
Необходимо учитывать вес фундамента и вес
грунта, в итоге все нагрузки приводятся к центру тяжести подошвы и
определяются:
Вес фундаментной плиты толщиной 0,3
м, удельным весом 24 кН/м3:
Вес подземной части стены высотой:
=> Вес
фундамента:
NfII
=24+27,648=51,7
кН;
Определим вес грунта обратной засыпки на обрезе
фундамента:
Вес грунта обратной засыпки и пола
на обрезе фундамента:
Горизонтальная сила E0II:
где
е1=е2=0,65 -
эксцентриситет;
Используя полученные внешние нагрузки, определим
краевые напряжения под подошвой рассчитываемого фундамента.
Проверим выполнение следующих
условий работы фундамента:
Проверки выполняются, следовательно,
ленточный фундамент шириной b=1м, удовлетворяет требованиям.
Рис. 11. Размеры подушки ленточного фундамента в
бесподвальной части здания
5.2 Определение основных размеров ленточного
фундамента в бесподвальной части здания под внутреннюю стену
Определим размеры подошвы ленточного фундамента
под внутреннюю стену здания. Определим требуемую ширину фундамента b
под стену здания в бесподвальной части. Составим выражение для расчетного
сопротивления грунта R.
Глубина заложения фундамента df=1,22
м. Грунт несущего основания - глина. Расчетные значения характеристик j
= 24°.
Согласно таблице 4 СниП 2.02.01-83 получим коэффициенты Мg=0,72;
Мq=3,87;
Мс=6,45. Значения коэффициентов условий работы gс1
= 1,2; gс2
=1. Значение коэффициента k
принимаем равным k = 1, т.к.
характеристики грунтов определяли в результате испытаний; kz=1
(при b<10 м).
Удельный вес грунта несущего слоя ниже подошвы
фундамента составляет gII
=17,658
кН/м3, поскольку в пределах 0,5м ниже df
грунтовые условия не меняются g/II
=gII=17,658
кН/м3.
Найдем расчетное сопротивление грунта под
подошвой фундамента:
Определим точку пересечения графиков P
=f(b)
и R=f(b)
методом расчёта из условия: P=R,
где P - среднее давление
под подошвой фундамента.
Рис. 12. Расчётная схема ленточного
фундамента в бесподвальной части здания под внутреннюю стену
где N0II -
нормативная нагрузка на фундамент; N0II=268,61;
- осреднённый удельный вес материала
фундамента и грунта, лежащего на обрезах фундамента;
при b=0,7м;
P=402,12 кПа;
при b=1м;
P=287,01 кПа;
при b=1,5м;
P=197,43 кПа;
при b=0,7м; R=233,19 кПа;
при b=1м; R=237,77 кПа;
при b=1,5м; R=245,4 кПа;
Используя полученные результаты,
построим две графические зависимости P =f(b) и R=f(b). При этом
пересечение графиков даёт наиболее оптимальное значение ширины фундамента.
Рис. 13 К графическому методу определения
размеров ленточного фундамента в бесподвальной части здания
Получим b=1,19 м, но
целесообразно по конструктивным соображениям принять ширину подошвы фундамента
в бесподвальной части здания b=1,2м. Т.к. при b=1,2м
.
Рис. 14 Размеры подушки ленточного
фундамента в бесподвальной части здания
5.3 Определение основных размеров ленточного
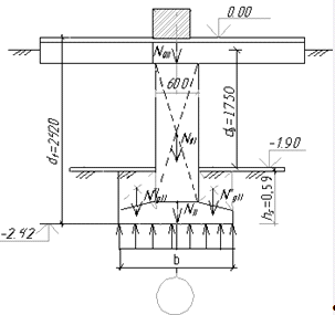
фундамента в подвальной части здания под внутреннюю стену
Определим ширину подошвы ленточного фундамента в
части здания с подвалом. Грунт несущего основания - суглинок. Расчетные
значения характеристик j = 21°, cII=12кПа.
Согласно таблице 4 СниП 2.02.01-83 получим коэффициенты Мg=0,56;
Мq=3,24;
Мс=5,84. Значения коэффициентов условий работы gс1
= 1,2; gс2=1.
Значение коэффициента k
принимаем равным k = 1, т.к.
характеристики грунтов определяли в результате испытаний; kz=1
(при b<10 м).
Глубина заложения фундамента df
=
2,42м. Удельный вес грунта несущего слоя составляет gII
=18,64
кН/м3;
Осреднённое значение удельного веса грунта выше
подошвы фундамента:
Рис. 15 Расчётная схема фундамента в
подвальной части здания под внутреннюю стену
gI, g2 - удельный
вес грунта первого и второго слоя.
db - глубина
пола подвала, db=1,75м;
hs - толщина
слоя грунта под полом подвала, hs=0,59м;
hsf - толщина
пола подвала, hsf=0,13м;
γcf
- удельный вес конструкции пола подвала, γcf=24кН\м3;
d1
- глубина заложения фундамента от уровня планировки,
;
Среднее давление под подошвой
фундамента:
где N0II -
нормативная нагрузка на фундамент; N0II=302,49 кН
(для части здания с подвалом);
- осреднённый удельный вес материала
фундамента и грунта, лежащего на обрезах фундамента;
d - глубина
заложения фундамента, d=2,42м.
Определим точку пересечения графиков
P =f(b) и R=f(b) методом
расчета из условия P=R,
при b=0,5м;
P=653,3 кПа;
при b=1м;
P=350,89 кПа;
при b=1,5м;
P=250,06 кПа;
при b=3м;
P=149,23 кПа;
при b=0,5м; R=230,21кПа;
при b=1м; R=236,47 кПа
при b=1,5м;
R=242,73кПа;
при b=3м;
R=261,51кПа;
Используя полученные результаты, построим две
графические зависимости P
=f(b)
и R=f(b).
При этом пересечение графиков даёт наиболее оптимальное значение ширины
фундамента.
Рис. 16 К графическому методу определения
размеров ленточного фундамента в подвальной части здания
Получим b=1,55м, но
целесообразно по конструктивным соображениям принять ширину подошвы фундамента
в бесподвальной части здания b=1,6м. Т.к. при b=1,6м
.
Рис. 17 Размеры подушки ленточного
фундамента в подвальной части здания под внутреннюю стену
6. Определение основных размеров отдельно
стоящего фундамента под колонну
Определим размеры монолитных фундаментов под
внутренние колонны. Нормативная нагрузка на фундамент в уровне спланированной
отметки земли: N0II=2100
кН. Глубина заложения фундамента под колону здания составляет: d=d1=1,5
м. Грунт несущего основания - глина.
Определим площадь отдельно стоящего фундамента,
с учетом действия изгибающего момента:
0 - расчетное
сопротивление глины по СНиП, R0=200 кН;
кН/м3 - осредненный
удельный вес материала фундамента и грунта, лежащего на обрезах фундамента;
1,2 - коэффициент, учитывающий действие
изгибающего момента.
Находим стороны фундамента:
Размеры подошвы фундамента принимаем
кратно модулю 0,3 м, т.е. b=3,3м; l=1,3·b=1,3·3,3=4,29
м, принимаем l=4,5 м.
Рис.18 Расчетная схема отдельно стоящего
фундамента
Нагрузка в уровне подошвы фундамента:
Напряжения под подошвой фундамента
Условия выполняются, но фундамент, размерами Lxb=4,5x3,3м,
имеет большой запас прочности. Найдем более экономичные размеры подошвы
фундамента.
R0 =350 -
расчетное сопротивление, уточненное;
Размеры подошвы фундамента принимаем кратно
модулю 0,3 м, т.е. b=2,4м; l=1,3·b=1,3·2,4=3,12
м, принимаем l=3,3 м.
Напряжения под подошвой фундамента
Условия выполняются, данный фундамент размерами Lxb=3,3x2,4м,
удовлетворяет условиям прочности и является более экономичным.
7. Определение осадки фундамента мелкого
заложения
Определение осадки фундамента, отдельностоящего,
производим на основе использования расчётной схемы в виде
линейно-деформированной среды и с применением метода послойного суммирования.
В соответствии с методом послойного суммирования
осадка основания S
определяется по формуле:
где β -
коэффициент, равный 0,8;
hi - толщина i-го слоя
грунта; hi=0,8<0,4∙2,4=0,96;
Еi - модуль
деформации i-го слоя
грунта;
σzpi - среднее
значение вертикального давления в i-ом слое
грунта, равно полусумме напряжений на верхней и нижней границе слоя по
вертикали, проходящей через центр подошвы фундамента;
n - число
слоёв грунта.
Дополнительные вертикальные давления
на глубине zi от подошвы
фундамента определяются по формуле:
σzp=α·Po,
где α - коэффициент
(табл.1 прил.2 СНиП 2.02.01-83), в зависимости от
и
; P0 -
превышение давления от внешней нагрузки над природным давлением от собственного
веса грунта.
Рср - среднее давление
под подошвой фундамента;
-
вертикальное давление от собственного веса грунта на уровне подошвы фундамента.
σzp
- дополнительное вертикальное давление на глубине z
определяется по формуле:
где
при

Подсчитаем значение напряжений в пределах
каждого слоя, результаты сведем в таблицу 7.
Таблица 7 Значения напряжений в элементарных
слоях
|
№
|
zi, м
|
hi
|
γ кН/м³
|
γsw кН/м³
|
σzqi
кПа
|
ξ
|
α
|
σzpi
кПа
|
0,2σzqi
кПа
|
σzpi
кПа
|
Σσzpihi
|
|
1
|
2
|
3
|
4
|
5
|
6
|
7
|
8
|
9
|
10
|
11
|
12
|
|
0
|
-
|
-
|
-
|
26,487
|
-
|
-
|
248,263
|
-
|
-
|
23,43
|
|
1
|
0,1
|
0,1
|
17,658
|
-
|
28,525
|
0,083
|
0,944
|
234,36
|
5,717
|
241,31
|
|
|
2
|
0,7
|
0,6
|
17,658
|
-
|
37,081
|
0,583
|
0,915
|
227,16
|
7,41
|
230,76
|
458,228
|
|
3
|
1,5
|
0,8
|
17,658
|
-
|
51,207
|
1,25
|
0,682
|
169,31
|
10,24
|
198,23
|
|
|
4
|
2,3
|
0,8
|
-
|
9
|
66,119
|
1,916
|
0,439
|
108,98
|
13,22
|
139,14
|
|
|
5
|
2,7
|
0,4
|
-
|
9
|
73,375
|
2,25
|
0,360
|
89,37
|
14,67
|
99,17
|
|
|
6
|
3,1
|
0,4
|
-
|
9
|
81,031
|
2,583
|
0,230
|
57,1
|
16,20
|
73,23
|
|
|
7
|
3,9
|
0,8
|
-
|
9
|
95,943
|
3,25
|
0,205
|
50,89
|
19,18
|
53,99
|
|
|
8
|
4,7
|
0,8
|
-
|
10,37
|
104,23
|
3,92
|
0,151
|
37,48
|
20,84
|
44,18
|
70,49
|
|
9
|
5,5
|
0,8
|
-
|
10,37
|
112,53
|
4,58
|
0,115
|
28,55
|
22,5
|
33,01
|
|
|
10
|
6,3
|
0,8
|
-
|
10,37
|
120,83
|
5,25
|
0,089
|
22,09
|
24,16
|
25,32
|
|
Нижняя граница сжимаемой толщи, где выполняется
условие σzp≤0,2σzq,
находится на глубине z=6,3
м от подошвы фундамента.
Полученная осадка фундамента S=3,15 см
меньше предельно допустимой Su= 8 см,
т.о., требование п. 2.39 СНиП 2.02.01-83 удовлетворено.
8. Расчет и конструирование свайного
фундамента
В проекте под колонну предусмотрены
забивные сваи, призматические, поперечное сечение которых 300х300 мм.
Погружение осуществляется дизель-молотом.
Высота ростверка: hp=550+400=950,
принимаем hp=1,2 м.
По конструктивным соображениям
принимаем длину сваи L=7 м, а общую длину (с остреем)
равной 7,25 м. Ростверк изготовляют из монолитного бетона класса В-15 высотой
1,2 м и высотой ступени 300 мм, остальные размеры определены на расчетной схеме
(рис.16). Расстояние между осями свай в плане равно 3d=3х300=900
мм, от края ростверка - не менее d=300 мм.
Определим несущую способность сваи
по формуле:
где γс -
коэффициент условий работы, γс=1;
γCR -
коэффициент условий работы под нижним концом сваи, γСR=1;
γсf -
коэффициент условий работы по боковой поверхности сваи, γсf=1;
R - расчетное
сопротивление грунта под нижним концом сваи, острие на глубине 8,4 и R=3840 кН/м2=3840
кПа;
А - площадь сечения нижнего конца
сваи, А=0,3х0,3 м2=0,09 м2;
U - периметр
сваи, U=0,3х4=1,2
м;
fi
- расчетное сопротивление по боковой поверхности i-го
слоя грунта (определяется по таблице СНиПа):
на глубине z1=1,4
м fi=20,76 кПа;
на глубине z2=2,25
м fi=27,55 кПа;
на глубине z3=3,55
м fi=32,43 кПа;
на глубине z4=5,1875
м fi=56,375 кПа;
на глубине z5=7,1625
м fi=60,325 кПа;
hi
- мощность i-го слоя грунта: h/1=0,4
м; h/2=1,3
м; h/3=1,3
м; h/4=1,975
м; h/5=1,975
м;
Определяем количество свай в свайном
кусте:
N0I=N0II
γf=2100
·1,1=2310 кН;
М0I=М0II
γf=205
·1,1=225,5 кН·м;
Рис. 20. Расчетная схема свайного
фундамента
γf=1,1 -
коэффициент надежности по нагрузке.
γk -
коэффициент надежности, зависящий от вида определения несущей способности сваи,
γk =1,4;
N0I - нагрузка,
действующая на уровне обреза фундамента (расчетная);
γf -
коэффициент надежности по нагрузке, γf=1,1;
а - расстояние между сваями, а=3d=3x300=900 мм;
d - глубина
заложения ростверка, d=1,2м;
γm - значение
удельного веса ростверка и грунта, γm=20 кН/м.
Расположим 7 свай на плане ростверка (рис. 21).
Уточним нагрузку на одну сваю:
где NPI - вес
ростверка;
NPII=24·(1,2·1,2·0,9+2,4·1,5·0,3)=57,024
кН;
NPI=1,1·57,024=62,726
кН;
NgI - вес
грунта;
NgII=19,1·(2,4·1,5·1,2
- 1,2·1,2·0,9 - 2,4·1,5·0,3)=37,13 кН;
NgI=1,1·37,13=40,84
кН;
My -
действующий момент относительно оси y-y:
My=M0I=225,5 кН м;
х - расстояние до оси сваи, для
которой вычисляется нагрузка, х=0,9 (для любой сваи);
хi -
расстояние до оси каждой сваи (хi=0,9).
Nmax=359,51 кН;
Необходима проверка условия:
Рис. 21. План свайного фундамента
Nmax=359,51 кН;
Необходима проверка условия:

=
Таким образом, условие выполняется,
и, следовательно, 6 свай - это необходимое количество свай в свайном кусте.
Далее производим расчет по второй
группе предельных состояний.
Определим осреднённый угол
внутреннего трения грунтов, прорезываемых сваей:
где
- угол внутреннего трения i-го слоя;
li - мощность i-го слоя
грунта;
Найдем размеры условного фундамента:
Lусл=1,8+0,3+2·7,25·tg6,030=3,7
м;
Bусл=0,9+0,3+2·7,25·tg6,030=2,8
м;
Найдем вес ростверка: NPII=57,024 кН;
вес свай: NсвII=7,25·24·0,3·0,3=15,66
кН·6шт=93,96 кН;
вес грунта на ростверке:
NII= N0II+ NpII +NсвII +NgII=2100+57,024+93,96+764,88=3018,86
кН.
Определим напряжение под подошвой фундамента,
причем в данном случае свайный фундамент рассчитываем, как и отдельно стоящий,
т.е. рассматриваем целиком условный фундамент.
где MII=M0II= 205 кН м;

Pmax=323,04 кПа;
Pmin= 259,75
кПа;
Pср= 291,395
кПа;
Определим расчетное сопротивление:
при
γс1=1,1; γс2=1,2; κz=1; к=1.
φ=300=>Mγ=1,15;
Mg=5,59; Mс=7,95;
Проверим выполнение условий при
работе фундамента:
Pmax=323,04
кПа<1,2·R=1010,3 кПа;
Pmin=259,75
кПа>0;
Pср=291,395
кПа<R=841,88 кПа.
Условия выполняются, следовательно,
условный фундамент с размерами Lусл=3,7 м и Вусл=2,8
м удовлетворяет требованиям.
Определение осадки фундамента
производим на основе расчетной схемы (рис. 18) и с применением метода
послойного суммирования. Осадка в этом методе определяется:
где β=0,8;
σzpi - среднее
вертикальное давление в i-ом слое;
hi и Ei - толщина и
модуль деформации i-го слоя;
n - число слоев.
Основание под нижним концом свай разбиваем на
слои, толщиной не более hi<0,4·Вусл=3,2·0,4=1,28
м, т.е. принимаем hi=0,8
м.
σzg0=γ/II·d=12,7
·8,4=106,68 кПа;
d=8,45м
Р0=Рср-σzg0=291,395-106,68=184,715
кПа;
Расчет производим до тех пор, пока
не начнет выполняться условие:
σzp=α·p0;
η=l/b=3,7/2,8=1,3.
Все расчеты сведем в таблицу 8.
Рис. 22. Расчетная схема для
определения осадки свайного фундамента
Расчет производим до тех пор, пока
не начнет выполняться условие:
σzp
0,2·σzg.
Таблица 8 Значения напряжений в
элементарных слоях
|
№
|
zi, м
|
hi
|
γ кН/м³
|
γsw кН/м³
|
σzqi
кПа
|
ξ
|
α
|
σzp
кПа
|
0,2σzqi
кПа
|
σzpi
кПа
|
Σσzpihi
|
|
0
|
-
|
-
|
-
|
106,68
|
0
|
1
|
184,715
|
-
|
-
|
502,196
|
|
1
|
0,8
|
0,8
|
-
|
10,37
|
114,876
|
0,571
|
0,912
|
168,46
|
22,975
|
176,586
|
|
|
2
|
1,6
|
0,8
|
-
|
10,37
|
123,272
|
1,142
|
0,688
|
127,083
|
24,654
|
147,771
|
|
|
3
|
2,4
|
0,8
|
-
|
10,37
|
131,568
|
1,714
|
0,477
|
88,109
|
26,313
|
107,596
|
|
|
4
|
3,2
|
0,8
|
-
|
10,37
|
139,864
|
2,285
|
0,332
|
61,325
|
27,972
|
74,717
|
|
|
5
|
4,0
|
0,8
|
-
|
10,37
|
148,16
|
2,857
|
0,244
|
45,07
|
29,632
|
53,197
|
|
|
6
|
4,8
|
0,8
|
-
|
10,37
|
156,456
|
3,42
|
0,178
|
32,879
|
31,291
|
|
|
7
|
5,6
|
0,8
|
-
|
10,37
|
164,752
|
4
|
0,135
|
24,93
|
32,95
|
28,904
|
|
Учитывая, что в пределах сжимаемой толщи
находится один слой грунта с модулем деформации соответственно равен: Е=6,91
Мпа. Определяем полную стабилизированную осадку условного фундамента:
что значительно меньше предельно
допустимого значения осадки.
9. Технико - экономическое сравнение
вариантов фундаментов
Определение стоимости свайного
фундамента и фундамента мелкого заложения.
Таблица 9 Технико - экономическое
сравнение вариантов фундаментов
|
№
п/п
|
Наименование работ
|
Единица
измерения
|
Объем
работ
|
Стоимость
|
№
расценки
|
|
|
|
|
Единичная
|
Общая
|
|
|
I Фундамент из свай м
|
|
1
|
Разработка
грунта экскаватором с ковшом вместимостью 0,5м3 с погрузкой на
автосамосвал.
|
1м3
|
11,744
|
0,132
|
1,55
|
1-56
|
|
2
|
Погружение
дизель-молотом на тракторе ж/б свай.
|
1м3
|
4,41
|
16,4
|
103,32
|
5-3
|
|
3
|
Сваи
квадратного сечения сплошные и с круглой полостью с периметром сторон
1201-1400мм
|
1м3
|
50,75
|
10,1
|
565,6
|
897
|
|
4
|
Устройство
ростверка (В-15) с подколонником h=4м,
периметром до 5м.
|
1м3
|
1,824
|
37,4
|
68,22
|
6-6
|
|
5
|
Засыпка
траншей и котлованов бульдозером
|
1м3
|
9,948
|
0,0189
|
0,188
|
1-257
|
|
Стоимость
свайного фундамента: 737,328 руб
|
|
|
II Отдельно - стоящий
фундамент
|
|
|
1
|
Разработка
грунта экскаватором с ковшом вместимостью 0,5м3 с погрузкой на
автосамосвал.
|
1м3
|
23,828
|
0,132
|
3,145
|
1-56
|
|
2
|
Устройство
ж/б фундамента (В-15) с подколонником при h=4м
периметром до 5м.
|
1м3
|
4,902
|
38,1
|
186,76
|
6-10
|
|
3
|
Засыпка
траншей и котлованов бульдозером с пермещением 10 м
|
1м3
|
4,902
|
0,0189
|
0,092
|
1-257
|
|
Стоимость
отдельно-стоящего фундамента: 189,99 руб
|
Вывод: применение отдельно-стоящего фундамента
мелкого заложения более эффективно и экономично.
10. Конструирование и армирование отдельно
стоящего фундамента
Учитывая значительное заглубление фундамента в
грунт примем конструкцию фундамента стаканного типа. Примем толщину стенок
стакана по верху, равной не менее 150 мм и зазор 75мм; размеры подколонника в
плане примем по унифицированному модулю равными 1200х900 мм.
а) Расчет и конструирование нижней части
фундамента.
На первом этапе расчета определим распределенное
реактивное давление под подошвой фундамента от расчетной нагрузки: N0I=2310
кН; М0I=225,5
кН м;
Тогда:
Учитывая в дальнейших расчетах Pmax=161,03 кПа
определим требуемую рабочую высоту нижней части плиты фундамента по формуле:
где bсf - ширина
подколонника,
, принимаем bсf=900 мм;
lсf - длина
подколонника,
, принимаем lсf=1200 мм;
b, l - ширина и
длина подушки фундамента, l=3300 мм; b =2400 мм;
Rвt - прочность
бетона на осевое растяжение;
Rвt=665
кПа, для бетона класса В-12,5.
H=hopt+50=399+50=449
мм.
Получили по расчету минимальную толщину плиты,
равной 265 мм. Конструктивно примем две ступени, каждая высотой по 300 мм.
Проверим плитную часть на продавливание
(рис.23,а)
Проверим нижнюю ступень на
продавливание (рис.23,б)
Рис.23 Конструирование нижней части
фундамента
а) к расчету на продавливание
плитной части;
б) к расчету на продавливание нижней
ступени
Произведем расчет по наклонному
сечению. Первоначально определим внешнюю поперечную силу:
Qmax=Pmax·(с1-h01)·b=342,92·(0,6-0,25)·2,4=360,35
кН,
Определим поперечную силу,
воспринимаемую бетоном:
Qв=0,6·Rв· b· h01=0,6·950·2,4·0,25=372
кН,
где 0,6 - для тяжелого бетона.
Далее необходима проверка условия: Q
Qв, 360,35
кН<372 кН, условие выполняется. Следовательно, можно производить подбор
арматуры в подошве. Определим расчетный изгибающий момент в сечении I-I:
MI-I=b·с12·
,
где Р1 - реактивное
давление в сечении I-I.
Рис. 24. К подбору арматуры в подошве фундамента
под колонну
Требуемое сечение арматуры в сечении I-I
определим по формуле:
где RS -
сопротивление арматуры сжатию и растяжению,
RS =280МПа для
арматуры класса А-II;
η - коэффициент, который находит
в зависимости от А0, η=0,9;
Определим расчетный изгибающий
момент в сечении II-II:
Требуемое сечение арматуры в сечении
II-II определим
по формуле:
Определим расчетный изгибающий момент в сечении III-III:
Арматуру подбираем по большей
площади поперечного сечения, т.е. по АS2=29,48см2,
следовательно принимаем 17 18А-II с площадью равной 29,97 см2,
с шагом 200.
Рис. 25. Армирование фундамента
Расчет поперечной арматуры
подколонного стакана;
Сетки поперечного армирования
предназначены для восприятия изгибающего момента и перерезывающих сил,
возникающих в стакане подколонника в результате внецентренно-приложенной
внешней нагрузки.
Площадь поперечного сечения
поперечной арматуры можно определить по формуле:
где
- сумма расстояния от обреза
фундамента до плоскости каждой сетки в пределах расчетной высоты стакана.
Рис. 26. Расчётная схема для
определения поперечного армирования
=50+250+450+650+850=2250 мм=2,25 м.
Поперечная арматура не нужна. Но из
конструктивных соображений примем поперечное армирование в виде сеток С-2 из
арматуры ø 8 мм класса
А-I с шагом 200
мм в пределах всей высоты подколонника и одну сетку С-3 конструктивно по длине
стакана.
Рис. 27. Схема армирования отдельно
стоящего фундамента под колонну
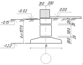
10.1 Конструирование и армирование
ленточного фундамента
Принимаем конструктивно h=30 см,
тогда h0=h-a=25 см.
Среднее реактивное давление грунта
под подошвой фундамента:
Рис. 27. Расчетная схема армирования
ленточного фундамента
Сечение арматуры подошвы ленточного
фундамента подбираем по изгибаемому моменту, определяемому по формуле:
Мср=0,5×Ргр×a2=0,5×324,96×0,22=6,5
кН×м=650000 Н∙м;
Требуемая площадь рабочей арматуры:
Назначим шаг стержней S=20 см и
примем 4 стержня
ø10
арматуру класса А-II общей площадью равной 4,71см2.
Конструкция подушки ленточного фундамента и её армирование отражено на рис. 27.
Рис. 27. Армирование подушки
ленточного фундамента.
11. Гидроизоляция подвальных
помещений
Выбор мероприятий по устройству
гидроизоляции зависит от гидрогеологических условий строительной площадки,
сезонного колебания и возможного изменения уровня грунтовых вод и их
агрессивности, особенности конструкций и назначения помещений.
Рис.28 Устройство гидроизоляции в
части здании с подвалом
В данных гидрогеологических условиях
применим следующий вид гидроизоляции:
наружную поверхность стен подвала
обмазываем 1-2 раза битумом и прокладываем рулонную гидроизоляцию в стене на
уровне пола и в уровне спланированной поверхности земли между стеной подвала и самого
здания.
Список литературы
. СНиП 2.01.07-85*. Нагрузки и
воздействия. Нормы проектирования. -М.: ФГПУ ЦПП, 2007.
. СНиП 2.02.01-83*. Основания
зданий и сооружений - М.: ФГПУ ЦПП, 2004.
. СНиП 2.02.03-85*. Свайные
фундаменты - М.: ФГПУ ЦПП, 2005.
. Берлинов М.В. Основания и
фундаменты. -М.: Высшая школа, 2000 г.
. Веселов В.А. Проектирование
оснований и фундаментов(Основы теории и примеры расчета): Учебное пособие для
вузов - М.: Стройиздат, 1990. - 304с.
. Лапшин Ф.К. Основания и
фундаменты в дипломном проектировании. - Саратов СГТУ, 1986 г.
. СП 50-102-2003.
Проектирование и устройство свайных фундаментов. - М: Госстрой России, 2005 г.
. СП 50-101-2004.
Проектирование и устройство фундаментов зданий и сооружений. - М: Госстрой
России, 2005 г.
. Землянский А.А., Железнова
Л.М. Проектирование оснований и фундаментов зданий и сооружений. Методические
указания к курсовой работе для студентов специальности 290300. - Балаково,
2006.
. Землянский А.А., Железнова
Л.М. Проектирование свайных фундаментов. Методические указания к курсовой
работе для студентов специальности 290300. - Балаково, 2008.