Проектирование операций механической обработки основных поверхностей детали авиадвигателя

  • Вид работы:
    Дипломная (ВКР)
  • Предмет:
    Другое
  • Язык:
    Русский
    ,
    Формат файла:
    MS Word
    236,77 kb
  • Опубликовано:
    2011-12-15
Вы можете узнать стоимость помощи в написании студенческой работы.
Помощь в написании работы, которую точно примут!

Проектирование операций механической обработки основных поверхностей детали авиадвигателя














Проектування операцій механічної обробки основних поверхонь деталі авіадвигуна

Содержание

Задание

Введение

. Токарная операция

.1 Выбор инструмента

.2 Расчет режимов резания

. Фрезерная операция

.1 Выбор инструмента

.2 Расчет режимов резания

. Сверлильная операция

.1 Выбор инструмента

.2 Расчет режимов резания

.3 Выбор инструмента зенкерования

.4 Расчет режимов резания

. Шлифовальная операция

.1 Выбор инструмента

.2 Выбор шлифовальной головки

.3 Расчет режимов резания

Вывод

Список использованной литературы

фрезерный токарный шлифовальный формообразование

Задание на проектирование

. Выбрать режущий инструмент, технологическое оборудование, рассчитать режимы резания и основное временя 3 операций механической обработки.

. Оформить пояснительную записку.

Введение

Эффективность технологического процесса существенно зависит от рационального назначения режимов резания. Завышенные режимы резания, требуют дополнительного расхода режущего инструмента, электроэнергии и трудоемкость обработки. Но и необоснованно заниженные режимы резания не обеспечивают достижения заданной точности.

В данной работе осуществляется проектирование операций механической обработки поверхностей корпуса. Для каждой операции выбирается режущий инструмент, оборудование и определяются основные режимы резания, необходимые для формообразования поверхности.

При определении элементов режимов резания необходимо учитывать характер обработки, тип и размеры инструмента, материал его режущей части, материал и состояние заготовки, тип и состояние оборудования.

1. Токарная операция

Рисунок 1.1 - Схема токарной операции №15

.1 Выбор режущего инструмента

Для поверхностей 12 и 13 выбираем подрезной отогнутый резец с пластиной из твердого сплава ГОСТ 18880-73.

Геометрические размеры резца приведены на рисунке 3.

Рисунок 1.2 - Эскиз а) подрезного отогнутого резца; б)расточного резца .

Материал режущей части резца - твердый сплав Т15К6.

Выбор станка. В соответствии с методом обработки выбираем токарный станок 1А616.

Основные данные станка:

Наибольший диаметр обрабатываемой заготовки:

над станиной 320 мм;

над суппортом 180 мм.

Частота вращения шпинделя 11-2240 об/мин.

Число скоростей шпинделя 22

Подача суппорта:

продольная 0,03-1,04 мм/об;

поперечная 0,03-1,04 мм/об.

Мощность привода 4,5 кВт.

1.2 Расчет режимов резания

Токарная черновая операция

Поверхность 12 Ø35 h13 Rz20.

Поверхность 13 Ø18 h13 Rz20.

. Устанавливаем глубину резания. Припуск на обработку удаляем за один рабочий проход:

поверхность 12:  мм;

поверхность 13:  мм.

2. Назначаем подачу и корректируем ее по паспорту станка. Принимаем подачу[2]:

поверхность 12:  мм/об;

поверхность 13:  мм/об.

3. Принимаем период стойкости резца = 40 мин [2,с.268].

. Определяем скорость резания, допускаемую режущими свойствами резца:


Находим значение коэффициентов по справочным данным [2, с.269, т.17]. = 350; x = 0,15; y = 0,35; m = 0,20.

 - общий поправочный коэффициент, равный произведению коэффициентов, учитывающих измененные условия обработки:


 - поправочный коэффициент, учитывающий изменение механических свойств обрабатываемого материала. Определяется по формуле:

, где:

- коэффициент для материала инструмента, - показатель степени, при обработке резцами с пластинами из твердого сплава:

; =1 [2, с.268, т.2]. Предел прочности стали = 1080 МПа. Тогда:

.

 - поправочный коэффициент, учитывающий влияние марки инструментального материала режущего лезвия на скорость резания.

= 1, т.к. материал режущей пластины - твердый сплав Т15К6 [2, с.263, т.6].

 и - поправочные коэффициенты, учитывающие изменение главного и вспомогательного углов в плане. Для выбранного резца = 0,7 и = 1,0.

Общий поправочный коэффициент на скорость главного движения резания:

.

С учетом всех найденных величин находим расчетную скорость резания:

поверхность 12:

поверхность 13:

5. Частота вращения шпинделя, соответствующая найденной скорости резания находится по формуле:

поверхность 12:

поверхность 13:

Корректируем расчетную частоту вращения по паспортным данным станка и устанавливаем действительную частоту вращения:

Таблица 1 - Ряд частот вращения, об/мин

1

2

3

4

5

6

7

8

9

10

11

11

20

25

32

40

51

64

80

101

127

160


12

13

14

15

16

17

18

19

20

21

22

201

254

319

402

506

637

802

1010

1271

1600

2240


поверхность 12: = 637 об/мин;

поверхность 13: = 1600 об/мин.

6. Действительная скорость резания:

поверхность 12:

поверхность 13:

7. Мощность, затрачиваемая на резание, кВт:

, где:

- тангенциальная составляющая силы резания при точении [2, с.271]:

.

Для заданных условий: ; x = 1; y = 0,75; n = -0,15 [2, с.273, т.22].

Поправочный коэффициент представляет собой произведение ряда коэффициентов , учитывающих фактические условия резания. Численные значения этих коэффициентов назначаем по рекомендациям [2, с.275, т.23]:

;

; ; ; .

Подставляем все найденные значения в формулу:

поверхность 12:

поверхность 13:

Тогда мощность резания:

поверхность 12:

поверхность 13:

8. Проверяем, достаточна ли мощность привода станка для резания исходя из условия .

Мощность на шпинделе станка:

,

где = 4,5 кВт - мощность двигателя;  - КПД станка. Тогда:

Так как - обработка поверхностей 12 и 13 возможна.

. Определяем основное время обработки:

, где:

- расстояние, которое проходит резец:

поверхность 12: ;

поверхность 13:

Тогда время обработки:

поверхность 12: ;

поверхность 13:

Определим общее время обработки за операцию:


2. Фрезерная операция

Рисунок 2.1 - Схема фрезерной операции №75.

2.1 Выбор режущего инструмента

Для обработки выбираем дисковую пазовую фрезу ГОСТ 1695-80.

Геометрические размеры фрезы приведены на рисунке 5.

= 50 мм; d = 16 мм; B = 6 мм; z = 14.

Рисунок 2.2 - Эскиз дисковой пазовой фрезы.

Материал фрезы - сталь Р6М5.

.2 Расчет режимов резания

1.Глубина фрезерования t = 2,4 мм, ширина фрезерования - В = 6 мм.

. Назначаем подачу. Жёсткость системы заготовка-приспособление - средняя, конструкционная сталь, дисковая фреза с мелким зубом: S = 0,04-0,06 мм/зуб [2, с.283, т. 34]. Назначаем подачу Sz = 0,06 мм/зуб.

. Назначаем период стойкости фрезы. T=120 мин [2, с. 290, т. 40].

. Скорость резания при фрезеровании определяется по формуле [2, с.276]:

,

где значение коэффициента  и показатели степеней берем по рекомендациям [2, с.287, т. 39]:

= 68,5; q = 0,25; х = 0,3; y = 0,2; u = 0,1; p = 0,1; m = 0,2.

.

С учетом всех найденных величин находим расчетную скорость резания:

.

5. Выбор станка. В соответствии с методом обработки выбираем горизонтально-фрезерный станок 6П80Г. Основные данные станка:

Наибольшее перемещение стола:

Продольное 500 мм;

Поперечное 160 мм;

Вертикальное 300 мм.

Наибольший угол поворота стола ± 45°.

Число скоростей шпинделя 12.

Частота вращения шпинделя 50-2240 об/мин.

Число подач стола 12

Подача стола:

Продольная 22,4-1000 мм/мин;

Поперечная 16-710 мм/мин;

вертикальная 8-355 мм/мин.

Скорость быстрого перемещения стола:

Продольного 2400 мм/мин;

поперечного 1710 мм/мин;

вертикального 855 мм/мин.

Мощность электродвигателя привода главного движения 2,8 кВт.

. Частота вращения шпинделя, соответствующая найденной скорости резания:


Таблица 1 - Ряд частот вращения, об/мин:

1

2

3

4

5

6

8

9

10

11

12

50

71

100

141

199

282

398

562

794

1122

1585

2240


Принимаем частоту вращения = 199 об/мин.

.Действительная скорость резания:

.

. Окружная сила при фрезеровании определяется по формуле [2, с. 282]:

,

Значения коэффициентов [2, с.291, т.41]:

= 68,2; х = 0,86; y = 0,72; u = 1; q = 0,86; w = 0.

Осевая сила резания равна:

. Крутящий момент при фрезеровании определяется по формуле [2, с. 290]:

. Мощность, затрачиваемая на резание [2, с.290]:

Проверяем, достаточна ли мощность станка. Обработка возможна, если .

Мощность на шпинделе станка

.

Следовательно, 0,317 < 2,24 - обработка поверхности возможна.

. Основное время на фрезерование:

.

Переведем подачу в мм/об:


Рисунок 2.3 - Эскиз обработки фрезой в момент врезания ее в поверхность детали.

-

длина рабочего хода фрезы.

Длина рабочего хода:  мм.

Тогда основное время на обработку:

Суммарное время на фрезерование:

3. Сверлильная операция

Рисунок 3.1 - Схема сверлильной операции № 45.

3.1 Выбор режущего инструмента

Выбираем сверло спиральное с цилиндрическим хвостовиком ГОСТ10902-77. Материал сверла Р6М5. Схема сверла изображена на рисунке 3.2.

Рисунок 3.2 - Сверло спиральное с цилиндрическим хвостовиком ГОСТ 10902-77 d = 4 мм; L = 75 мм; l = 43 мм.

3.2 Расчет режимов резания

Поверхность Ø4 мм, H12 Rz 60.

. Глубина резания t = 2 мм.

. Назначаем величину подачи в зависимости от обрабатываемого материала, диаметра обрабатываемого отверстия, материала инструмента и других технологических факторов [2, с.277, т.25], S = 0,115 мм/об.

3. Назначаем период стойкости сверла. Для сверла диаметром  в заданных условиях обработки рекомендуется период стойкости [2, с. 279, т.30].

. Скорость резания при сверлении определяется по формуле [2, с.276]:

, где:

где значение коэффициента  и показатели степеней берем по рекомендациям [2, с.278, т.28]:

= 7; q = 0,4; y = 0,7 m = 0,2.

- общий поправочный коэффициент на измененные условия. Он равен произведению частных поправочных коэффициентов: - коэффициента на инструментальный материал; - коэффициента, учитывающего глубину сверления и на - коэффициент на обрабатываемый материал.

[2, с.263, т.6];  [2, с.280,т. 31].

.

С учетом всех найденных величин находим расчетную скорость резания:

. Выбор станка. В соответствии с методом обработки выбираем вертикально-сверлильный станок 2А135.

Основные данные станка:

Число скоростей шпинделя 9

Частота вращения 68-1100 об/мин;

Мощность электродвигателя 4,5 кВт.

. Частота вращения шпинделя, соответствующая найденной скорости резания:

Корректируем частоту вращения по паспортным данным станка и устанавливаем действительную частоту вращения при  = 1100 об/мин.

. Действительная скорость резания

. Осевая сила резания при обработке сверлами определяется по формуле [2, с. 277]:

, где:

где значение коэффициента  и показатели степеней берем по рекомендациям [2, с.281, т.32]:

= 68; q = 1; y = 0,7.

- коэффициент, учитывающий фактические условия обработки [2, с.264, т.9]

Осевая сила резания равна

. Крутящий момент при сверлении определяется по формуле [2, с. 277]:

,

где значение коэффициента  и показатели степеней берем по рекомендациям [2, с.281, т.32]:

; q = 2; y = 0.8.

. Мощность, затрачиваемая на резание [2, с.280]:

Проверяем, достаточна ли мощность станка. Обработка возможна, если .

Мощность на шпинделе станка

С расчета видно, что 0,134<3,6 - сверление данной поверхности возможно.

. Основное время на сверление:

,


длина рабочего хода сверла.

Длина рабочего хода:

Тогда основное время на обработку:

Суммарное время на сверление четырех отверстий:


3.3 Выбор режущего инструмента для зенкерования

Выбираем зенкер цельный твердосплавный с цилиндрическим хвостовиком ГОСТ 21543-76. Материал зенкера Т15К6.= 4,1 мм; L = 65 мм; l =15 мм.

3.4 Расчет режимов резания

Поверхность Ø4,1 мм, H12 Rz 40.

. Глубина резания t = 0,05 мм.

. Назначаем величину подачи в зависимости от обрабатываемого материала, диаметра обрабатываемого отверстия, материала инструмента и других технологических факторов [2, с.277, т.26], S = 0,5 мм/об.

3. Назначаем период стойкости сверла. Для зенкера диаметром  в заданных условиях обработки рекомендуется период стойкости [2, с. 279, т.30].

. Скорость резания при зенкеровании определяется по формуле [2, с.276]:

, где:

где значение коэффициента  и показатели степеней берем по рекомендациям [2, с.278, т.29]:

= 18;q = 0,6; x=0,2; y = 0,3 m = 0,25.

- общий поправочный коэффициент на измененные условия. Он равен произведению частных поправочных коэффициентов: - коэффициента на инструментальный материал; - коэффициента, учитывающего глубину сверления и на - коэффициент на обрабатываемый материал.

[2, с.263, т.6];  [2, с.280,т. 31],

.

С учетом всех найденных величин находим расчетную скорость резания:

. Выбор станка. В соответствии с методом обработки выбираем вертикально-сверлильный станок 2Н106П.

Основные данные станка:

Число скоростей шпинделя 9

Частота вращения 68-1100 об/мин.

Подача 0,115-1,6 мм/об;

Мощность электродвигателя 4,5 кВт.

. Частота вращения шпинделя, соответствующая найденной скорости резания:

Корректируем частоту вращения по паспортным данным станка и устанавливаем действительную частоту вращения при  = 1100 об/мин.

Ряд скоростей, об/мин

68

93

137

194

274

549

777

1100


. Действительная скорость резания

8. Осевая сила резания при обработке зенкерами определяется по формуле [2, с. 277]:

, где:

где значение коэффициента  и показатели степеней берем по рекомендациям [2, с.281, т.32]:

= 67; y = 0,65, х=1,2.

- коэффициент, учитывающий фактические условия обработки [2, с.264, т.9]

Осевая сила резания равна

. Крутящий момент при зенкеровании определяется по формуле [2, с. 277]:

,

где значение коэффициента  и показатели степеней берем по рекомендациям [2, с.281, т.32]:

; q =1; х=0,9, y = 0.8.

. Мощность, затрачиваемая на резание [2, с.280]:

Проверяем, достаточна ли мощность станка. Обработка возможна, если .

Мощность на шпинделе станка

С расчета видно, что 0,02<3,6 - зенкерование данной поверхности возможно.

. Основное время на сверление:

,

-

длина рабочего хода сверла.

Длина рабочего хода:

Тогда основное время на обработку:

Суммарное время на сверление четырех отверстий:

4. Внутреннее шлифование

Шлифовать поверхность 9

Рисунок 4.1 - Схема шлифовальной операции №95

4.1 Выбор режущего инструмента

Для обработки данной поверхности выбираем шлифовальную головку

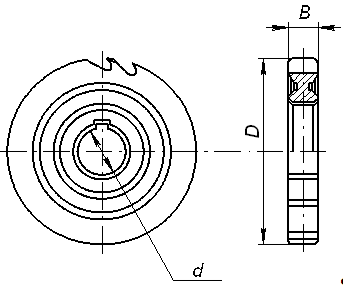
тип: AW - цилиндрическая; D = 7,5 мм; d = 3 мм; Н = 15 мм изображена на рисунке 4.1.

Рисунок 4.2 - Эскиз шлифовальной головки

4.2 Выбираем характеристики шлифовальной головки

А - белый электрокорунд. [11б. с.242].

М28-П- зернистость [11б. с.246, т.164, т161].

К - керамическая связка [11б. с.247].

-7-номер структуры [11б. с.249, т.167].

СМ1-СМ2 - твердость связки (среднемягкий) [11б. с.249].

Класс точности выбираем А - основная точность [11б. с.250].

Класс неуравновешенности головки 1[11б. с.250, т.168].

Маркировка AW8×4×12 2АМ28-П СМ1-СМ2К5-7 40м/с 1кл. ГОСТ 2447-82

4.3 Расчёт режимов резания

Поверхность 9 Ø12 мм, H6 Rz 6,3.

. Скорость вращения заготовки:

. Потребная частота вращения:

Принимаем n=300 об/мин.

. Частота вращения шлифовального круга:

Принимаем:пр=10000 об/мин.

 - из рекомендуемого промежутка 30…50 м/с.

. Действительная окружная скорость абразивного круга:

. Продольная подача:

 

. Минутная продольная подача.

. Величина рабочего хода:

. Число одинарных и двойных ходов:

. Определяем поперечную подачу:

. Основное время обработки:

. Эффективная мощность шлифования.

1. Выбор оборудования. Выбираем внутришлифовальный станок 3А252

наибольший диаметр устанавливаемого изделия - 200 мм;

наибольшая длина обрабатываемой заготовки - 200мм;

наибольшая длина обрабатываемых отверстий - 100 - 400 мм;

наибольший ход стола - 500 мм;

частота вращения внутришлифовального шпинделя - 3550 - 10000 об/мин;

мощность электродвигателя привода шлифовального круга - 4,5 кВт.

 - проверка на достаточность мощности. 1,62кВт≤3,6кВт

. Проверка на условие бесприжоговости.

Удельная мощность, приходящаяся на 1 мм длины:

Мощность, допустимая по условию бесприжоговости:

Условие бесприжоговости выполняется.

Вывод

В результате выполнения курсовой работы были рассчитаны четыре операции: токарная, фрезерная, сверлильная и шлифовальная. Для каждой из них были выбраны инструменты, рассчитаны режимы резания и нормы времени для обработки поверхностей. Были заданы станки, для обработки данных поверхностей.

Список использованной литературы

Анурьев В. И. Справочник конструктора машиностроителя: в 3-х т. Т.1 - 5-е изд. перераб. и доп. - М.: Машиностроение, 1980.

Определение припусков на механическую обработку и технологические размерные расчеты/В. Ю. Гранин, А. И. Долматов, Э. А Лимберг. - Учеб. Пособие. - Харьков: Харьк. авиац. институт, 1993, - 119 с.

Справочник технолога-машиностроителя. В 2-х томах /Под ред. А. Г. Косиловой и Р. К. Мещерякова. - 4-е изд., перераб. и доп. - М.: Машиностроение, 1985, 496 с.

Похожие работы на - Проектирование операций механической обработки основных поверхностей детали авиадвигателя

 

Не нашли материал для своей работы?
Поможем написать уникальную работу
Без плагиата!
Без нейросетей!