Расчет валов
1. РАСЧЁТ ВАЛОВ
Проектирование вала начинают с ориентировочного определения диаметра
выходного конца его из расчёта на чистое кручение по пониженному допускаемому
напряжению без учёта влияния изгиба:
где
Мk - крутящий момент, Н×мм;
- допускаемое напряжение на кручение; для валов из
сталей из сталей 40, 45, Ст. 6 принимают пониженное значение
= 20 … 25 (Н /мм 2). Полученный результат округляют по
ГОСТ 6636 - 69 до ближайшего значения из ряда R40: 10; 10,5;
11; 11,5; 12; 13; 14; 15; 16; 17; 18; 19; 20; 21; 22; 24; 25; 26; 28; 30; 32;
34; 36; 38; 40; 42; 45; 48; 50; 52; 55; 60; 63; 65; 70; 75; 80; 85; 90; 95;
100; 105; 110; 120; 125; 130; 140; 150; 160.
Примечание.
В случае необходимости допускаются размеры: в интервале 12 до 26 мм - кратные
0,5; в интервале 26 до 30 - целые числа; в интервале 50 до 120 - размер 115 и
размеры, оканчивающиеся на 2 и 8; в интервале 120 до 160 - кратные 5.
Для
редукторов общего назначения рекомендуется изготовлять валы одинакового
диаметра по всей длине; допуски на отдельных участках назначают в соответствии
с требуемыми посадками деталей. Однако и применяют ступенчатую конструкцию вала
для облегчения монтажа подшипников, зубчатых колёс и других деталей. Диаметр
выходного конца вала редуктора не должен отличаться от диаметра вала
электродвигателя больше чем на 20%. При выполнении этого условия соединение
валов осуществляют стандартной муфтой.
Диаметр
промежуточного вала определяют в опасном сечении в месте посадки шестерни,
принимая
= 10 … 20 Н /мм 2.
К
концам вала диаметр под подшипники снижают, предусматривая в случае
необходимости заплечики для фиксации в осевом направлении.
Наметив
конструкцию вала и установив основные размеры его (диаметры участков,
расстояния между серединами опор и плечи нагрузок), выполняют уточнённый
проверочный расчёт, определяя расчётные коэффициенты запаса прочности n для
опасных сечений:
полученное
значение n должно быть не ниже
В случае
необходимости допускается снижение
до 1,7
при условии выполнения специального расчёта вала на жёсткость.
В
формуле (1.2) ns - коэффициент запаса прочности по нормальным
напряжениям:
где
s-1 - предел выносливости стали при симметричном цикле
изгиба: для углеродистой стали s-1 = 0,43s В, для легированной s-1 = 0,35 s В + (70 ¸120) Н/мм 2; ks - эффективный коэффициент концентрации нормальных
напряжений (табл. 1.1 - 1.6); es - масштабный фактор для
нормальных напряжений (табл. 1.7); b - коэффициент,
учитывающий влияние шероховатости поверхности Ra от 0,32 до
2,5 мкм принимают b = 0,97¸0,90; sv - амплитуда
цикла нормальных напряжений, равная наибольшему напряжению изгиба su в рассматриваемом
сечении; sm -
среднее напряжение цикла нормальных напряжений; если осевая нагрузка Ра на вал
отсутствует или пренебрежимо мала, то принимают sm = 0;
1.1 Значения ks и kt для валов с галтелями
|
|
|
 Валы из
стали, имеющей s в, Н/мм 2
|
|
|
|
|
600
|
700
|
800
|
900
|
1000
|
600
|
700
|
800
|
900
|
1000
|
|
|
ks
|
kt
|
|
До 1,1
|
0,02 0,04 0,06 0,08 0,10 0,15 0,20
|
1,96 1,66 1,51 1,40 1,34
1,25 1,19
|
2,08 1,69 1,52 1,41 1,36
1,26 1,21
|
2,20 1,75 1,54 1,42 1,37
1,27 1,22
|
2,35 1,81 1,57 1,44 1,38
1,29 1,23
|
2,50 1,87 1,60 1,46 1,39
1,30 1,24
|
1,30 1,20 1,16 1,12 1,09
1,06 1,04
|
1,35 1,24 1,18 1,14 1,11
1,07 1,05
|
1,41 1,27 1,20 1,16 1,13
1,08 1,06
|
1,45 1,29 1,23 1,18 1,15
1,09 1,07
|
1,50 1,32 1,24 1,19 1,16
1,11 1,09
|
|
Св. 1,1 до 1,2
|
0,02 0,04 0,06 0,08 0,10
0,15 0,20
|
2,34 1,92 1,71 1,56 1,48
1,35 1,27
|
2,51 1,97 1,74 1,58 1,50
1,37 1,29
|
2,68 2,05 1,76 1,59 1,51
1,38 1,30
|
2,89 2,13 1,80 1,62 1,53
1,40 1,32
|
3,10 2,22 1,84 1,64 1,54
1,41 1,34
|
1,50 1,33 1,26 1,18 1,16
1,10 1,06
|
1,59 1,39 1,30 1,22 1,19
1,11 1,08
|
1,67 1,45 1,33 1,26 1,21
1,14 1,10
|
1,74 1,48 1,37 1,30 1,24
1,16 1,13
|
1,81 1,52 1,39 1,31 1,26
1,18 1,15
|
|
Св. 1,2 до 2
|
0,02 0,04 0,06 0,08 0,10
0,15 0,20
|
2,40 2,0 1,85 1,66 1,57
1,41 1,32
|
2,60 2,10 1,88 1,68 1,59
1,43 1,34
|
2,80 2,15 1,90 1,70 1,61
1,45 1,36
|
3,0 2,25 1,96 1,73 1,63
1,47 1,38
|
3,25 2,35 2,0 1,76 1,64
1,49 1,40
|
1,70 1,46 1,35 1,25 1,21
1,12 1,07
|
1,80 1,53 1,40 1,30 1,25
1,15 1,10
|
1,90 1,60 1,45 1,35 1,28
1,18 1,14
|
2,0 1,65 1,50 1,40 1,32
1,20 1,16
|
2,10 1,70 1,53 1,42 1,35
1,24 1,20
|
1.2 Значения ks и kt для валов с выточками
|
|
|
 ks для валов из стали, имеющей s в, Н/мм 2 kt для валов из стали, имеющей s в, Н/мм 2
|
|
|
|
|
|
|
|
£ 650
|
700
|
900
|
1000
|
|
|
£ 650
|
700
|
800
|
900
|
1000
|
|
До 0,6
|
0,02 0,04 0,06 0,08 0,10
0,15
|
1,82 1,77 1,72 1,68 1,63
1,53
|
1,92 1,82 1,77 1,72 1,68
1,55
|
2,06 1,96 1,87 1,77 1,72
1,58
|
2,21 2,06 1,92 1,87 1,77
1,63
|
2,30 2,61 1,96 1,92 1,82
1,68
|
До 1,1
|
0,02 0,04 0,06 0,08 0,10
0,15
|
1,29 1,27 1,25 1,21 1,18
1,14
|
1,32 1,30 1,29 1,25 1,21
1,18
|
1,39 1,37 1,36 1,32 1,29
1,21
|
1,46 1,43 1,41 1,39 1,32
1,25
|
1,50 1,48 1,46 1,43 1,37
1,29
|
|
Св. 0,6 до 1,0
|
0,02 0,04 0,06 0,08 0,10
0,15
|
1,85 1,80 1,75 1,70 1,65
1,55
|
1,95 1,85 1,80 1,75 1,70
1,57
|
2,10 2,0 1,90 1,80 1,75
1,60
|
2,25 2,10 1,95 1,90 1,80
1,65
|
2,35 2,20 2,0 1,96 1,85
1,70
|
Св. 1,1 до 1,2
|
0,02 0,04 0,06 0,08 0,10
0,15
|
1,37 1,35 1,32 1,27 1,23
1,18
|
1,41 1,37 1,36 1,32 1,27
1,23
|
1,50 1,47 1,46 1,41 1,37
1,27
|
1,59 1,55 1,52 1,50 1,41
1,37
|
1,65 1,62 1,50 1,55 1,47
1,37
|
|
Св. 1 до 1,5
|
0,02 0,04 0,06 0,08 0,10
0,15
|
1,89 1,84 1,78 1,73 1,68
1,58
|
1,99 1,89 1,84 1,78 1,73
1,60
|
2,15 2,05 1,94 1,84 1,78
1,63
|
2,31 2,15 1,99 1,94 1,84
1,68
|
2,41 2,26 2,05 1,99 1,89
1,73
|
Св. 1,2 до 1,4
|
0,02 0,04 0,06 0,08 0,10
0,15
|
1,40 1,38 1,35 1,30 1,25
1,20
|
1,45 1,42 1,40 1,35 1,30
1,25
|
1,55 1,52 1,50 1,45 1,40
1,30
|
1,65 1,60 1,57 1,55 1,45
1,35
|
1,70 1,68 1,65 1,60 1,52
1,40
|
|
Св. 1,5 до 2
|
0,02 0,04 0,06 0,08 0,10
0,15
|
1,93 1,87 1,82 1,76 1,71
1,60
|
2,04 1,93 1,87 1,82 1,76
1,62
|
2,2 2,09 1,98 1,87 1,82
1,66
|
2,37 2,2 2,04 1,98 1,87
1,71
|
2,47 2,37 2,09 2,04 1,93
1,76
|
|
|
|
|
|
|
|
1.3 Значения kt и ks для валов с выточками
|
|
|
kskt
|
|
|
|
для валов из стали, имеющей
sв, Н/мм 2
|
|
£ 700
|
800
|
900
|
1000
|
£ 700
|
800
|
900
|
1000
|
|
Св. 0,05 до 0,15
|
2,0
|
2,12
|
2,35
|
1,75
|
1,83
|
1,90
|
2,0
|
|
Св. 0,15 до 0,25
|
1,80
|
1,82
|
1,90
|
2,10
|
|
|
|
|
Примечание. Момент сопротивления нетто: при изгибе
|
при кручении
|
1.4 Значения ks и kt для вала с одной шпоночной канавкой
Коэффициенты sв, Н/мм 2 Примечание.
|
;
|
|
|
600
|
700
|
800
|
900
|
1000
|
|
|
ks
|
1,6
|
1,75
|
1,80
|
1,90
|
2,0
|
|
|
kt
|
1,5
|
1,6
|
1,7
|
1,9
|
2,1
|
|
1.5 Значения ks и kt для шлицевых участков вала
|
Шлицы
|
sВ, Н/мм 2
|
|
600
|
700
|
800
|
900
|
1000
|
|
Прямобочные
|
ks
|
1,55
|
1,60
|
1,65
|
1,70
|
1,72
|
|
kt
|
2,35
|
2,45
|
2,55
|
2,65
|
2,70
|
|
Эвольвентные
|
ks
|
1,55
|
1,60
|
1,65
|
1,70
|
1,72
|
|
kt
|
1,46
|
1,49
|
1,52
|
1,55
|
1,58
|
1.6 Значения
для валов с напрессованными деталями при давлении
напрессовки свыше 20 Н/мм 2
|
d, мм
|
|
600
|
700
|
800
|
900
|
1000
|
|
14 22 30 40 50
|
2,0 2,35 2,6 2,7 33
|
2,3 2,6 2,8 3,2 3,6
|
2,6 3,0 3,3 3,65 4,0
|
3,0 3,4 3,8 4,0 4,5
|
3,3 3,8 4,2 4,6 4,8
|
Примечания.1. Для касательных напряжений
|
2. При давлении напрессовки
10 - 20 МПа значения снижать на 5 -15 %
|
.7 Значения es и et
|
Сталь
|
Диаметр вала d,
мм
|
|
20
|
30
|
40
|
50
|
70
|
100
|
200
|
|
Углеро- дистая
|
es et
|
0,92 0,83
|
0,88 0,77
|
0,85 0,73
|
0,82 0,70
|
0,76 0,65
|
0,70 0,59
|
0,61 0,52
|
|
Легированная
|
es et
|
0,83
|
0,77
|
0,73
|
0,70
|
0,65
|
0,59
|
0,52
|
если же она достаточно велика, то
для
углеродистых талей, имеющих sВ = 650 ¸ 750 МПа (Н/мм 2), ys = 0,2; для
легированных сталей ys = 0,25 ¸0,30; nt -
коэффициент запаса прочности по касательным напряжениям
(1.4)
здесь
t-1 - предел выносливости стали при симметричном цикле
кручения; принимают t-1 » 0,58 s-1; остальные обозначения имеют тот же физический смысл, что и в
формуле (1.3), с той разницей, что относятся к напряжениям кручения; значения et даны в табл. 1.7; kt - в табл. 1.1; yt = 0,1 для
углеродистых и легированных сталей; значения tV и tm определяют в предположении, что вследствие колебания
Мк напряжения кручения изменяются по отнулевому циклу:
где
Wk - момент сопротивления кручению.
При
частом реверсе следует считать
Если
в рассчитываемом сечении имеется несколько концентраторов напряжений, то
учитывают один из них - тот, для которого отношение
больше.
2.
КОНСТРУИРОВАНИЕ ВАЛОВ
Простые
по конструкции гладкие валы выполняют одинакового номинального диаметра по всей
длине; для обеспечения требуемых посадок деталей предусматриваются на участках
вала соответствующие отклонения диаметра. Но если места посадок отдалены от
конца вала, то установка деталей затрудняются. Поэтому для удобства сборки и разборки
узла вала, замены подшипников и других насаживаемых деталей валы выполняют
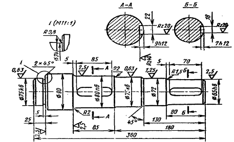
ступенчатыми. Пример такой конструкции представлен на рис. 1.
1. Термообработка,
нормализация НВ 140...187.
. Неуказанные предельные отклонения размеров:
отверстий по Н14, валов по h 14.
. Кромки притупить
R = 0,3 мм.
Рис. 1. Рабочий чертёж вала.
На участках вала, предназначенных для неподвижных посадок деталей,
указывают отклонения размеров вала типа s6, u7, r6 и n6 со скосами для облегчения монтажа. Размеры скосов и фасок,
мм (места I, II):
|
d вала
|
15 - 30
|
30 - 45
|
45 - 70
|
70 - 100
|
100 - 150
|
|
c
|
1.5
|
2.5
|
3
|
4
|
|
a
|
2
|
3
|
5
|
5
|
8
|
|
a
|
30
|
30
|
30
|
30
|
10
|
Для плотного прилегания торцов деталей к буртикам вала в месте III перехода делают галтели радиусом r; соотношения размеров, мм:
вал выносливость посадка изгиб
|
d вала
|
15 - 30
|
30 - 45
|
45 - 70
|
70 - 100
|
100 - 150
|
|
r
|
1
|
1
|
1.5
|
2
|
2.5
|
|
c
|
1.5
|
2
|
2.5
|
3
|
4
|
В местах перехода от d к D, если детали здесь не устанавливают,
предусматривают галтели с радиусом закругления R » 0.4(d - D).
Правый конец вала длиной l с
одинаковыми номинальными диаметрами d2 = d3 имеет на участке длиной l1 отклонение k6 для посадки полумуфты или шкива. Участок левее, не
сопрягаемый с деталями, показан с отклонением h11. Это позволяет уменьшить число ступеней вала.
Пример выполнения рабочего чертежа ступеньчатого вала дан (без углового
штампа) на рис.1.
3. ПРИМЕР
РАСЧЁТА ВАЛОВ РЕДУКТОРА
Предварительный расчёт проведём на кручение по пониженным допускаемым
напряжениям для валов одноступенчатого зубчатого цилиндрического редуктора.
Проведём расчёт для ведущего вала.
диаметр
выходного конца вала при допускаемом напряжении
Н/мм 2
по формуле (1.1)
где
Мk - крутящий момент (из предварительного расчёта Мk1 =
125×10 3 Н×мм); для валов из сталей
40, 45, Ст. 6 принимают пониженное значение
Н/мм 2.
Так
как вал редуктора соединён муфтой с валом электродвигателя, то необходимо
согласовать диаметры ротора dДВ и вала dВ 1. Иногда принимают dВ 1
= dДВ. Некоторые муфты, например, УВП, могут соединять
валы с соотношением dВ 1: dДВ ³ 0,75; но
полумуфты должны при этом иметь одинаковые наружные диаметры. У подобранного
электродвигателя dДВ = 42 мм. Выбираем МУВП по ГОСТ 21424 - 75 с
расточками полумуфт под dДВ = 42 мм и dВ 1 = 32 мм (рис. 2).
Рис. 2. Конструирование ведущего
вала.
Примем под подшипниками dП 1 =
40 мм. Шестерню выполним за одно целое с валом. Целесообразно соблюдать
указанное соотношение dВ 1 :
dДВ и в тех случаях, когда вал
электродвигателя не соединяется с ведущим валом редуктора, а между ними имеется
ремённая или цепная передача (рис. 3): при необходимости привод такого
редуктора может быть осуществлён непосредственно от электродвигателя.
Рис. 3. Схема привода:
- электродвигатель; 2 - клиноремённая передача; 3 - редуктор.
Ведомый вал.
Так
как в редукторе имеется цепная передача, то учитывая влияние изгиба вала от
натяжения цепи, принимаем
Н/мм 2.
Диаметр
выходного конца вала
где
Мk2 - крутящий момент ведомого вала (из предварительного
расчёта Мk2 = 625×10 3 Н×мм).
Принимаем ближайшее большее значение из стандартного ряда (см. пояснения
к формуле (1.1)): dВ 2 = 55 мм.
Диаметр вала под подшипники принимаем dП 2 = 60 мм, под зубчатым колесом dk 2 = 65 мм.
Диаметры остальных участков валов назначают исходя из конструктивных
соображений при компоновке редуктора.