Инженерные сети

  • Вид работы:
    Контрольная работа
  • Предмет:
    Физика
  • Язык:
    Русский
    ,
    Формат файла:
    MS Word
    254,11 kb
  • Опубликовано:
    2011-12-14
Вы можете узнать стоимость помощи в написании студенческой работы.
Помощь в написании работы, которую точно примут!

Инженерные сети

ФГОУ СПО

«Липецкий колледж строительства, архитектуры и отраслевых технологий»









Контрольная работа

«Инженерные сети»

Вариант №16

Выполнила: студентка

группы ЗС-42

Шманова Людмила

Проверил: преподаватель

Рыжая Ю.В.



Липецк 2011г.

Задание №1

Определите расчетные расходы холодной воды (суточный, м3/сут; средний часовой, м3/час; максимальный расчетный секундный расход, л/с; максимальный часовой расход, м3/час) на вводе в здание и подберите водомер.

Тип здания (водопотребитель)

Количество потребителей, U

Характеристика сантехнического оборудования,  устанавливаемого в здании

Пансионат с душами во всех отдельных номерах

500 жителей

Номера 2-х местные - 130, 3-х местные - 80. Кроме душа, унитаз, умывальник.


. Определим суточный расход холодной воды на хозяйственно-питьевые нужды.


. Определим средний часовой расход холодной воды за сутки максимального водопотребления.


. Определим максимальный расчетный секундный расход воды на вводе в здание.


. Определим максимальный часовой расход воды.

  


. Определим диаметр трубопровода системы холодного хозяйственно-питьевого водоснабжения в соответствии с рассчитанным расходом и скоростью движения воды в соответствии с ГОСТ 3262-75.

Принимаем диаметр трубопровода системы холодного хозяйственно-питьевого водоснабжения 50мм. х = 0,94м/с

. Подберем водомер и определим потерю напора в нем.


Принимаем диаметр условного прохода счетчика 50мм.

Счетчик с принятым диаметром условного прохода проверим на пропуск максимального секундного расхода воды, при этом потери напора в счетчике не должны превышать 5м.



Задание 2

Начертить и описать виды систем горячего водоснабжения.

Системы горячего водоснабжения подразделяются на местные и централизованные.

При местном горячем водоснабжении вода нагревается непосредственно у места ее потребления. Система местного горячего водоснабжения обеспечивает водой один или несколько водоразборных приборов в смежных помещениях. Вода при местном горячем водоснабжении нагревается в индивидуальных водонагревателях паром, горячей сетевой водой, за счет сжигания топлива, электричеством. Используется также солнечный нагрев воды. Наиболее характерные примеры местного горячего водоснабжени - газовые водонагреватели и дачные душевые установки с солнечным нагревом.

В системах центрального горячего водоснабжения вода приготавливается для потребителей целого здания, группы зданий, квартала, населенного пункта и т.п., а затем по трубопроводам подается к водоразборным приборам. Нагрев воды производится в водогрейных котлах, паро- или водоводяных нагревателях.

Местными системами оборудуются здания, не подключенные к системам централизованного теплоснабжения, не имеющие собственных котельных, или, если система не рассчитана на покрытие тепловой нагрузки горячего водоснабжения.

Системами центрального горячего водоснабжения оборудуются здания, подключенные к системам централизованного теплоснабжения или имеющие собственные котельные. Если число водоразборных точек в таких зданиях мало, экономически может быть обосновано и применение системы местного горячего водоснабжения.

Основные виды классификации схем систем центрального горячего водоснабжения:

. По обеспечению давления системы горячего водоснабжения могут быть работающими:

под давлением холодного водопровода;

под давлением тепловой сети;

под давлением, создаваемым насосом, установленным на холодном или горячем водопроводе;

под статическим давлением, создаваемым баком холодной или горячей воды.

. По месту прокладки распределительных трубопроводов системы могут быть:

с нижней разводкой;

с верхней разводкой.

. По наличию и способу обеспечения циркуляции:

без циркуляции;

с естественной циркуляцией;

с насосной циркуляцией.

. По наличию и месту расположения баков-аккумуляторов горячей воды:

без аккумулятора;

с нижним баком;

с верхним баком.

Трубопровод для горячего централизованного водоснабжения нельзя сделать по схеме холодного водопровода. Трубопроводы горячего водоснабжения делают закольцованными: вода нагревается в котельной, тепловом узле или бойлерной и подается по подающему трубопроводу к потребителям и возвращается назад в котельную по другому трубопроводу, который в этом случае называют циркуляционным.

В централизованной системе горячего водоснабжения прокладку трубопроводов в доме выполняют с двухтрубными и однотрубными стояками (рис.1).

Рис. 1.Схемы разводки горячего водоснабжения в централизованных системах

Двухтрубная система горячего водоснабжения состоит из двух стояков, один из которых подает воду, другой отводит. На отводящем циркуляционном стояке размещают отопительные приборы - полотенцесушители.

Однотрубная система горячего водоснабжения отличается от двухтрубной тем, что в ней все циркуляционные стояки (в пределах одной секции дома) объединили в один и назвали этот стояк «холостым». Для лучшего водораспределения к отдельным точкам потребления воды, а также в целях сохранения одинаковых диаметров по всей высоте здания в однотрубных системах горячего водоснабжения стояки закольцовывают. При кольцевой схеме для зданий высотой до 5 этажей включительно диаметры стояков принимают 25 мм, а для зданий от 6 этажей и выше - диаметром 32 мм. Полотенцесушители в однотрубной разводке ставят на стояки подачи, а это означает, что при слабом нагреве воды в котельных она может дойти до дальних потребителей остывшей.

Для обеспечения воздухоудаления из системы трубы прокладывают с уклоном не менее 0,002 к вводу трубопровода. В системах с нижней разводкой воздух удаляют через верхний водоразборный кран. При верхней разводке воздух удаляется через автоматические воздухоотводчики, устанавливаемые в верхних точках систем.


Опишите устройство внутренних водостоков. Укажите назначение основных элементов, материал труб. Изложите принцип расчета внутренней водосточной сети.

Внутренние водостоки предназначают для приема и удаления атмосферных осадков, выпавших на покрытия зданий, с которых возможно внутреннее отведение воды.

Такие водостоки устраивают, как правило, в многопролетных промышленных зданиях с бесчердачным покрытием при наличии световых фонарей, а также пологих и плоских кровель.

В современном строительстве крупнопанельные, крупноблочные и каркасно-панельные жилые здания строят с плоскими или скатными кровлями. Дождевые и талые воды с таких кровель целесообразно удалять также через внутренние водостоки.

Внутренние водостоки состоят из следующих основных элементов:

) водосточных воронок, отводящих воду с покрытий;

) отводных труб, соединяющих водосточные воронки со стояками;

) стояков, принимающих воду от водосточных воронок;

) подпольной сети, состоящей из боковых ветвей и сборных коллекторов, принимающих воду от стояков;

) отдельных устройств на сети (колодцы, прочистки и пр.);

) выпусков, соединяющих коллекторы внутренних сетей с наружной сетью ливневой канализации.

Основным материалом водосточных систем являются трубы. В силу того, что водосточные системы должны быть испытаны на герметичность при полном заполнении водой всей системы до водосточной воронки включительно (имитация засорения выпуска), то, естественно, для систем внутренних водостоков применяют в основном напорные трубы.

Выбор материала труб следует производить в зависимости от назначения здания, его высоты, места расположения трубопроводов и условий их работы.

Для промышленных зданий высотой до 10 м, а также для жилых зданий высотой до 6 этажей можно применять чугунные канализационные трубы и фасонные части к ним.

В более высоких зданиях можно устраивать стояки и отводящие трубопроводы из чугунных напорных труб с чугунными фасонными деталями. Стояки и подпольные трубы можно устраивать из напорных асбестоцементных труб, соединяя их при помощи чугунных фасонных частей и специальных асбестоцементных муфт. Асбестоцементные трубы необходимо защищать от механических повреждений, например от ударов и больших сосредоточенных нагрузок.

В последнее время получают все более широкое распространение трубы из пластмасс: полиэтилена и винипласта (поливинилхлорида). Эти трубы с успехом можно применять для систем внутренних водостоков. Наибольшее распространение для внутренних водостоков найдут трубы легкого типа из полиэтилена. Для прокладки подпольных линий и выпусков можно применять бетонные, железобетонные и керамические трубы соответствующего диаметра.

Стальные трубы для внутренних водостоков, как правило, применять не следует. Воды атмосферных осадков насыщены кислородом и агрессивны по отношению к стали.

Внутренняя поверхность стальных труб находится в условиях попеременного увлажнения и обильной аэрации, а поэтому быстро корродирует.

Расчет внутренних водостоков сводится к определению расчетного расхода дождевых вод и проверке пропускной способности отельных участков сети.

Для кровли с уклоном до 1,5% , расчетный расход дождевых вод с водосборной площади определяется по формуле:


где F - водосборная площадь, м2; 20 - интенсивность дождя, л/с, c 1 га (для данной местности), продолжительностью 20 минут при периоде однократного превышения расчетной интенсивности, равной 1 году (СНиП 2.04.03-85 «Канализация. Наружные сети и сооружения»).

Для кровель с уклоном 1,5% и более расход дождевых вод с водосборной площади определяется по формуле:


Где q5 - интенсивность дождя, л/с, c 1 га (для данной местности), продолжительностью 5 минут при периоде однократного превышения расчетной интенсивности, равной 1 году.


где n - параметр, принимаемый согласно СниП 2.04.03-85 «Канализация. Наружные сети и сооружения».

Задание 4.

Определите толщину стены жилого дома в г. Калуга. Материал стены: 1) кирпич глиняный обыкновенный, г = 1800 кг/м3 , д1 = 0,4 м; 2)блоки из пеносиликата, г = 600 кг/м3 , д2 = ?м; 3)известково-песчаный раствор, г = 1800 кг/м3 , д3 = 0,02 м

1.       Определим требуемое сопротивление теплопередаче ограждения, отвечающее санитарно-гигиеническим условиям.

n = 1

Дt = 4°

бвн = 8,7Вт/м2°С

tвн = 20°С

tн = - 27°С

2.       Определим градусо-сутки отопительного периода.

tот.пер = - 2,9°С

Zот.пер = 210

3.       Определим приведенное сопротивление теплопередаче расчетной конструкции и сравним его с полученным значением требуемого сопротивления.

= 0,00035

b = 1,4

Так как , то

4.       Находим толщину искомого слоя


5.       Определим фактическое сопротивление теплопередаче ограждения


6.       Определим коэффициэнт теплопередачи ограждения


7.       Определим толщину ограждения



Задание 5

Поясните принцип действия водяной системы отопления с естественной циркуляцией. Пояснения сопроводите эскизом принципиальной схемы системы отопления здания.

В системах отопления с естественной циркуляцией движение теплоносителя возникает под действием гравитационной силы, возникающей за счет разности плотности теплоносителя в подающих и обратных трубах. Поскольку плотность горячей воды меньше, она значительно легче холодной. Разность плотности охлажденной и горячей воды создает в отопительной системе гидростатический напор, дающий теплоносителю возможность перемещаться от источника нагревания к радиаторам (или трубам) и обратно. То есть происходит вытеснение горячей воды холодной. Вода нагревается в котле, становится более легкой и вследствие этого поднимается по подающему трубопроводу (главному стояку) вверх. Оттуда она поступает в разводящие подающие стояки и попадает в отопительные приборы. По мере продвижения по трубам вода остывает, становится тяжелее. После этого охлажденная вода от отопительных приборов движется в обратном направлении, т. е. спускается вниз по обратным стоякам и общей обратной магистрали, попадает в отопительный котел, откуда вытесняет легкую нагретую воду. Поскольку разность нагретой и охлажденной воды постоянно существует, то отопительная система функционирует беспрерывно.

В системе с естественной циркуляцией так же, как в системе с принудительной циркуляцией, имеется циркуляционный напор. Его величина зависит от двух факторов:

разности температур нагретой и охлажденной воды. Как правило, температура горячей воды в системе равна 95° С, охлажденной - 70° С. Для защиты подающей магистрали и недопущения падения температуры воды, а значит, и уменьшения гидростатического давления в системе главный стояк закрывают теплоизоляционным материалом. Обратные магистрали монтируют без утеплителя, т. к. только в этом случае вода будет охлаждаться до нужной температуры и создавать циркуляционный напор;

от места нахождения отопительных приборов по отношению к теплогенератору (источнику нагрева). Известно, что чем выше расположен отопительный прибор над котлом, тем больше будет значение циркуляционного давления. Значит, циркуляционное давление отопительных приборов, находящихся на втором этаже, будет значительно выше, чем то же значение приборов первого этажа. Отопительные приборы, расположенные на одном уровне с теплогенератором или стоящие ниже его, нагреваются слабо и воздух в помещениях прогревают плохо. Оптимальное расстояние между центрами теплогенератора и отопительного прибора должно равняться 3 м.

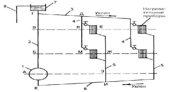
Отопительные системы с естественной циркуляцией теплоносителя подразделяются на системы с верхней и нижней разводкой (рис.2,3)

Рис. 2. Системы водяного отопления с естественной циркуляцией (с верхней разводкой): 1 - котел; 2 - главный стояк; 3 - разводящая линия; 4 горячие стояки; 5 - обратные стояки; 6 - обратная линия; 7 - расширительный бак; 8 - сигнальная линия

Рис. 3. Системы водяного отопления с естественной циркуляцией (с нижней разводкой): 1 - котел; 2 - воздушная линия; 3 - разводящая линия; 4 - горячие стояки; 5 - обратные стояки; 6 - обратная линия; 7 - расширительный бак; 8 - сигнальная линия

Действуют обе эти системы аналогично. Различаются они только расположением подающей магистрали.

Система с естественной циркуляцией имеет следующие достоинства:

равномерное распределение нагретого воздуха в жилых помещениях, что дает дополнительный комфорт;

простота устройства и обслуживания;

отсутствие вибрации и шума, потому что нет циркуляционного насоса;

долгий срок службы системы отопления.

В настоящее время в загородных домах применяются отопительные системы, в которых имеются циркуляционные насосы.

большой диаметр труб, что ведет к значительному расходу стройматериалов;

большие затраты на установку отопительной системы;

значительные энергозатраты, т. е. большой расход топлива;

большие затраты времени на включение системы отопления;

отсутствие возможности регулировки температуры нагретого воздуха;

частые случаи замерзания воды в трубопроводах, смонтированных в неотапливаемых помещениях;

неэстетичный вид проложенного трубопровода из-за большого диаметра труб.

Таким образом, система отопления с естественной циркуляцией теплоносителя довольно часто оказывается малоэффективной и экономически невыгодной.

Литература

1. ГОСТ 30494-96 «Здания жилые и общественные. Параметры микроклимата в помещениях».

. Ильина Т.Н., «Основы гидравлического расчета инженерных сетей».

. Николаевская И.А, «Инженерные сети и оборудование территорий, зданий и стройплощадок».

. Погодина Л. В., «Инженерные сети, инженерная подготовка и оборудование территорий, зданий и стройплощадок».

. СНиП 2.04.01-85* «Внутренний водопровод и канализация зданий».

. СНиП 23-01-99* «Строительная климатология».


Не нашли материал для своей работы?
Поможем написать уникальную работу
Без плагиата!
Без нейросетей!