Трехфазные цепи
ИССЛЕДОВАНИЕ ЭЛЕКТРООПАСНОСТИ ТРЕХФАЗНЫХ СЕТЕЙ
1.
Цель работы
Изучить
используемые в промышленности трехфазные схемы питания потребителей.
Ознакомиться с возможными вариантами однофазных включении человека в
электрическую сеть и методикой оценки опасности таких включений. Изучить
критерии электробезопасности.
Расчетные
выражения:
1.В сети с изолированной нейтралью в симметричном
режиме, когда сопротивление изоляции и емкости всех трех фаз относительно земли
одинаковы.
а)
Емкости проводов незначительны (Сф<>0 при малой
длине проводов).
б)
Сопротивление изоляции очень высокое
2.
В сети с изолированной нейтралью в несимметричном режиме при прикосновении к
фазе.
3.
В сети с заземленной нейтралью
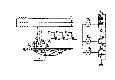
Схемы
прохождения токов однофазного прикосновения в трехфазных сетях с изолированной
(а) и заземленной (б) нейтралью источника питания.
В
сети с заземленной нейтралью ток через человека протекает по цепи, создаваемой
в основном сопротивлением рабочего заземлителя R0 рис б)
Rh=1kОм,
Uф=200В, w=314,16с-1
|
Сф, мкФ
|
0
|
|
Rиз, кОм
|
1
|
2
|
5
|
10
|
400
|
|
Ih эксп, мA
|
65
|
45
|
40
|
50
|
51
|
|
Ih расч, мA
|
165
|
132
|
82,5
|
50,8
|
1,6
|
|
Rиз, кОм
|
|
|
Сф, мкФ
|
0
|
0,1
|
0,2
|
0,5
|
1
|
1,5
|
|
Ih эксп, мA
|
2
|
20
|
37
|
45
|
50
|
50
|
|
Ih расч, мA
|
0
|
20,7
|
41,5
|
103,5
|
206,4
|
307,9
|
|
Ra
|
Rb
|
Rc
|
Ih эксп, мA
|
Ih расч, мA
|
|
2
|
5
|
10
|
56
|
|
10
|
2
|
5
|
51
|
132,2
|
|
5
|
10
|
2
|
39
|
117,9
|
|
Rиз, кОм
|
1
|
2
|
5
|
10
|
400
|
|
Ih эксп, мA
|
65
|
45
|
35
|
32
|
0
|
|
Ih расч, мA
|
220
|
110
|
44
|
22
|
0,55
|

ИССЛЕДОВАНИЕ
ЭФФЕКТИВНОСТИ ЗАЩИТНОГО ЗАЗЕМЛЕНИЯ
1.
Цель работы
1.1.
Исследовать напряжения прикосновения и токи, проходящие через тело
человека, прикоснувшегося к заземленным нетоковедущим металлическим
частям электроустановки, оказавшимся под напряжением в зависимости от:
а)
сопротивления изоляции Re;
б)
емкости фазных проводов Сф относительно земли;
г)
сопротивления тела человека Rh.
1.2.
Ознакомиться с методикой расчета защитного заземления, исполнением,
нормативными материалами.
1.3.
Оценить эффективность защитного заземления сравнением токов и напряжений
прикосновения при наличии и отсутствии заземлителя.
Расчетные
выражения:
1.
2.
3.
Схема
прохождения токов однофазного замыкания на корпус Iз и однофазного
прикосновения Ih в сети с изолированно нейтралью:
а)
принципиальная;
б)
схема замещения.
Rз=10Ом, Uф=220B
|
|
|
|
Без заземления
|
С заземлением
|
|
Опыт №№
|
Rh, Ом
|
С, мкФ
|
Rиз, Ом
|
Ih, мA
|
Uпр, B
|
Ih, мA
|
|
Uпр, B
|
|
|
|
|
изм.
|
изм.
|
изм.
|
расч.
|
изм.
|
|
1
|
1000
|
0,1
|
175
|
95
|
75
|
66,0
|
40
|
|
1000
|
0,1
|
2
|
135
|
70
|
45
|
33,0
|
25
|
|
1000
|
0,1
|
5
|
90
|
50
|
20
|
13,0
|
10
|
|
1000
|
0,1
|
10
|
70
|
40
|
10
|
6,0
|
7
|
|
1000
|
0,1
|
400
|
57
|
30
|
5
|
0,2
|
5
|
|
2
|
1000
|
0,1
|
|
57
|
30
|
5
|
0,2
|
3
|
|
1000
|
0,2
|
|
82
|
45
|
10
|
4,0
|
7
|
|
1000
|
0,6
|
|
137
|
72
|
25
|
1,0
|
15
|
|
1000
|
1
|
|
180
|
95
|
47
|
2,0
|
26
|
1,6
|
|
200
|
110
|
75
|
3,0
|
40
|
|
3
|
1000
|
0
|
1
|
170
|
90
|
75
|
64,0
|
40
|
|
1000
|
0
|
2
|
135
|
70
|
42
|
32,0
|
22
|
|
1000
|
0
|
5
|
83
|
45
|
15
|
13,0
|
10
|
|
1000
|
0
|
10
|
52
|
30
|
5
|
6,0
|
2
|
|
1000
|
0
|
400
|
1
|
0
|
0
|
0,1
|
0
|
ИССЛЕДОВАНИЕ
ЭФФЕКТИВНОСТИ КОМПЕНСАЦИИ ЕМКОСТНЫХ ТОКОВ
1.
Цель работы
1.1.
Исследовать трехфазные сети с изолированной нейтралью с преобладающей долей
емкостной составляющей проводимости изоляции.
1.2.
Оценить степень снижения тока через тело человека при использовании в таких
сетях компенсирующих устройств.
1.3.
Определить влияние параметров электрической сети на эффективность компенсации.
Расчетные
выражения:
1.
2.
Значение остаточного тока определяется выражением
3.
Эффективность компенсации оценивается коэффициентом Кэ

Векторная
диаграмма токов при однофазном прикосновении к сети с компенсирующим
устройством
|
Принципиальная
схема стенда лабораторной работы на лицевой панели которого изображена
принципиальная схема и выведены органы управления.
Стенд
моделирует трехфазную электрическую сеть с Uф=220В в двух режимах:
а)
изолированной нейтрали
б)
заземление нейтрали через компенсирующее устройство.
Rчел=1кОм, RL=15Oм,
Uф=220B, R=50кОм, R0=4Ом
|
Исследуемый параметр
|
Емкость фаз относительно земли, мкФ/ на фазу
|
|
0,1
|
0,5
|
0,75
|
1
|
1,25
|
|
Ток Ihкомп , измереный в опыте при наличии
компенсации, mA
|
11
|
16
|
22
|
30
|
36
|
|
Ток Ihкомп расчитаный по формуле, mA
|
12,5
|
19,8
|
14,2
|
15,7
|
17,5
|
|
Ток Ihиз , измереный в опыте при отсутствии
компенсации, mA
|
10
|
23
|
31
|
50
|
53
|
|
Коэффициент Kэ
|
0,31
|
1,75
|
1,77
|
1,66
|
1,61
|
|
|
|
|
|
|
|
|
|
|
C=0,75мкФ
|
Исследуемый параметр
|
Активное сопротивление изоляции относительно земли,
Rиз, кОм/ на фазу
|
|
10
|
15
|
25
|
50
|
100
|
|
Ток Ihкомп , измереный в опыте, mA
|
24
|
22
|
18
|
16
|
15
|
|
Ток Ihкомп расчитаный по формуле, mA
|
68
|
38
|
23
|
14
|
8
|
|
Ток Ihиз , измереный в опыте при отсутствии
компенсации, mA
|
38
|
40
|
40
|
42
|
43
|
|
Коэффициент Kэ
|
1,58
|
1,81
|
2,22
|
2,62
|
3,31
|
Исследуемый параметр
|
Сопротивление заземления нейтрали источника, R0, Ом
|
|
4
|
10
|
25
|
50
|
|
Ток Ihкомп , измереный в опыте, mA
|
50
|
18
|
17
|
17
|
|
Ток Ihкомп расчитаный по формуле, mA
|
8,35
|
8,9
|
10,5
|
12,9
|
|
|
|
|
|
|
|
|
|
Исследуемый параметр
|
|
Фазы
|
|
|
1
|
0,75
|
0,5
|
|
Ток при отсутствии компенсации, mA
|
52
|
45
|
35
|
|
Ток при наличии компенсации, mA
|
16
|
23
|
9
|
|
Коэффициент Kэ
|
3,25
|
1,95
|
3,88
|

Похожие работы на - Трехфазные цепи
|