Расчет и конструирование катодного узла
Федеральное
Агентство по Образованию РФ
Томский
Государственный Университет Систем Управления и Радиоэлектроники (ТУСУР)
Кафедра
Электронных Приборов (ЭП)
Пояснительная
записка к курсовому проекту по дисциплине
“Вакуумная
и плазменная электроника”
На
тему: Расчет и конструирование катодного узла
Выполнил:
студент Малышкин А. А.
Проверил:
доцент каф. ЭП Аксенов А. И.
2009
Оглавление
ВВЕДЕНИЕ
.
ГЕКСАБОРИДНЫЕ КАТОДЫ
.1
Свойства боридов
.2
Изготовления катода гексаборида лантана
.
РАСЧЕТ КАТОДНОГО УЗЛА
.1
Режим работы катодного узла
.2
Расчет мощности катода
.3
Расчет подогревателя катода
.4
Расчет охлажденных концов держателя
.5
Расчет мощности потерь на охлажденных концах
.6
Расчет мощности, забираемой эмитирующими электронами
.7
Расчет мощности теплового излучения с рабочей поверхности
.8
Расчет мощности излучения корпусом катода
.9
Проверка баланса мощностей
ЗАКЛЮЧЕНИЕ
СПИСОК
ИСПОЛЬЗУЕМОЙ ЛИТЕРАТУРЫ
ПРИЛОЖЕНИЕ
Введение
В связи с быстрым развитием технологии
производства электронных эмиттеров в настоящее время существует большое
количество различных типов термокатодов, отличающихся друг от друга
используемыми материалами, структурой активного слоя, температурным режимом и
способом нагрева.
Накаливаемые катоды принято обычно классифицировать
по трём признакам: по виду вещества, используемого в качестве источника
термоэлектронной эмиссии, по способу их накаливания и по виду конструктивного
оформления.
Основные требования к веществам, используемых в
качестве источников электронов в накаливаемых катодах выглядят следующим
образом:
Во-первых, вещество должно обладать достаточно
высокой температурой плавления, допускающей его работу при значениях
температуры, обеспечивающее необходимую для нормальной работы лампы плотность
тока термоэлектронной эмиссии и возможность ещё более высокотемпературной
обработки катода;
Во-вторых, вещество должно обладать достаточно
высокой температурой кипения и по возможности более низким давлением паров в
пределах рабочих значений температуры катода (этим фактом определяются в
большинстве случаев длительность и стабильность работы многих видов катодов);
В-третьих, в пределах температуры катода его
вещество должно обладать высокой механической прочностью и достаточно высокой
электропроводностью, допускающей отбор тока эмиссии большой плотности и без
заметных потерь, вызывающих дополнительный нагрев катода этим током. [1]
По способам нагрева термоэлектронные катоды
можно подразделить на прямонакальные, подогревные и с электронным подогревом:
В прямонакальном катоде ток накала проходит
непосредственно по телу катода.
В случае подогревного катода нагрев
осуществляется специальным подогревателем за счет лучеиспускания или
теплопроводности изолирующего покрытия подогревателя, через который
пропускается ток накала.
Катод с электронным подогревателем нагревается в
результате бомбардировки его ускоренными в электрическом поле электронами. Для
этого требуется дополнительный, обычно прямонакальный, катод и наличие разности
потенциалов между катодами.
По материалам и структуре активного слоя
современные термоэлектронные катоды можно подразделить на 5 групп:
I группа - катоды из
чистых металлов;
II группа -
пленочные катоды;
III группа -
полупроводниковые катоды;
IV группа -
гексаборидные катоды;
V группа - сложные
катоды;
Особую группу представляют собой катоды, для
которых эмитирующими электроны веществами являются различного рода тугоплавкие
соединения, принадлежащие с кристаллографической точки зрения к так называемым
структурам внедрения, (которые по электропроводности чаще всего соответствуют
металлам, реже - полупроводникам, представляя в этом отношении особую
переходную группу между металлами и полупроводниками, называемых иногда
полуметаллами). К этим веществам относятся соединения металлов с такими
элементами, как углерод (карбиды) и бор (бориды). Из подобных соединений, уже
нашедших практическое применение в электровакуумной технике и, в частности, в
разборных приборах, а также в разработках генераторных ламп, можно назвать
гексабориды лантана и цермишметалла, являющиеся одними из наиболее активных
среди многих исследованных до сих пор соединений этого типа. [1]
1. Гексаборидные катоды
.1 Свойства боридов
Бор, азот, кремний, углерод образуют с металлами
переходных групп соединения, которые не подчиняются законам химической
валентности и по многим свойствам напоминают металлы. Все эти соединения
получили название: металлоподобные. Исследование эмиссионных свойств
металлоподобных соединений показало, что некоторые из них могут быть
использованы в качестве источников электронов. К числу таких соединений следует
отнести в первую очередь гексабориды редкоземельных и щелочноземельных
металлов, а также некоторые дибориды.
Эмиттеры на основе боридов имеют, как правило,
высокую рабочую температуру и сравнительно низкую экономичность, но все-таки
они представляют значительный интерес благодаря устойчивости к отравлению
остаточными газами.
Бориды являются тугоплавкими, трудно летучими и
химически стойкими веществами. Температура плавления гексаборидов лежит в
интервале 2100-2600 град.С. Характерной особенностью боридов является присущая
им большая твердость, которая может быть объяснена наличием громадных сил
сцепления в кристаллах. Эти соединения трудно поддаются холодной обработке
обычным способом.
Большинству боридов присущи ярко выраженные
металлические свойства: они имеют металлический блеск, хорошо проводят
электрический ток, причем температурный коэффициент сопротивления у них
положителен, как у металлов.
Химически бориды, как правило, устойчивы по
отношению к воздействию большинства минеральных кислот даже при нагревании.
Кислород на холодные бориды не воздействует.
В термодинамическом отношении бориды более
устойчивы, чем карбиды.
При нагревании в контакте с металлами и многими
тугоплавкими соединениями бориды диффундируют в металл и располагается в
междуузлиях его решетки, образуя низшие бориды и сплавы. Обследовано большое
количество систем боридов - тугоплавкий металл и его соединение. Наиболее
активными из боридов по отношению к металлам являются гексабориды.
В настоящее время исследованы эмиссионные
свойства почти всех редкоземельных и щелочноземельных элементов. Среди
гексаборидов редкоземельных металлов наиболее перспективным веществом является
гексаборид лантана, именно он чаще всего применяется в настоящее время для изготовления
катодов.
На примере гексаборида лантана ниже будет
описана техника изготовления катода и особенность его применения.
.2 Изготовления катода гексаборида лантана
Катоды с гексаборидом лантана изготовляют из
порошка путём нанесения его на металлическую подложку или прессования при
Т=1920 К. Большая рабочая температура ограничивает срок службы катода
вследствие перегорания подогревателя.
При изготовлении губчатых катодов в качестве
подложки используют тантал или молибден, так как они меньше других тугоплавких
металлов взаимодействуют с гексаборидом лантана. Меньше всех реагирует с
последним дисцилид молибдена MoSi2,
обладающий металлической проводимостью. Поэтому целесообразно покрывать этим
соединением подложку для предотвращения её разрушения.
Прессованные катоды изготовляют из порошков LaB6
и W. Спекание
производят в вакууме или водороде при Т=1650-2300 К в зависимости от требуемой
механической прочности. Давление прессования не превышает 10 т/см2.
Максимальная прочность достигается при горячем
прессовании, когда давление не превышает 200 кг/см2, а температура
составляет 2200-2300 К,. прессование желательно производить в защитной
атмосфере.
Катоды можно изготовлять из расплавленного
гексаборида лантана, который расплавляют плазменным методом. Механическую
обработку осуществляют электроискровым методом с последующей химической
очисткой. Необходимый контакт между изготовленной таблеткой и металлической
подложкой производят пайкой с добавкой дисцилида молибдена.
Эмиссионные свойства катода, содержащего 90-95% LaB6,
лучше, чем у катода из чистого гексаборида лантана. Кроме того, эмиссионные
свойства катода при холодном прессовании лучше, чем при горячем. Катод,
содержащий 90% LaB6
и 10% W и полученный путём
холодного прессования, имеет следующие данные: работа выхода 2.62 эВ, удельная
эмиссия при Т=1770 К равна 13 А/см2.
Большие плотности тока могут быть получены при
соединении LaB6
с другими металлами. Так, для смеси 90% LaB6
+
10% Mo при Т=1870
К jэ=25
А/см2.Для смеси 10% LaB6
+
90% Mo при Т=1870
К jэ=23
А/см2.Для смеси 90% LaB6
+
10% Pt при Т=1870
К jэ=40
А/см2. [2]
термоэлектронный катод борид
мощность
2. Расчет катодного узла
.1 Режим работы катодного узла
Для данного катода выбран непрерывный режим
работы, так как задано относительно не большое значение тока эмиссии
.
Импульсный режим работы катода применяется при значениях тока эмиссии порядка
нескольких десятков ампер. С учётом того, что нам надо расcчитать
катод который сможет работать в аварийном режиме - возьмём значение тока
эмиссии равным
.
.2 Расчет мощности катода
Некоторые константы для данного вида катодов:
-константа
термоэлектронной эмиссии, [1];
-эффективная
работа выхода электронов, [1];
-рабочая
температура катода;
-эффективность
катода (при Т=1680К) , [1];
- при Т=1700 К ,
[1]
- постоянная
Больцмана;
- заряд
электрона;

- постоянная
Стефана-Больцмана.
Используя выше перечисленные данные, вычислим
плотность тока эмиссии по формуле Ричардсона-Дешмана:
;
.
Найденная плотность тока согласуется с табличным
значением.
Учитывая то, что ток эмиссии
вычислим
поверхность эмитирующего вещества - рабочую площадь:
;
Определяем радиус поверхности, с которой будет
происходить испускание электронов (эмиссия). Рабочая поверхность выполнена в
форме круга. Площадь круга вычисляется по формуле:
, где
-
радиус катода.
;
Несложно предположить, что этот радиус можно
принять за радиус катода, тогда диаметр катода:
;
Вычислим необходимую мощность накала:
,
где
-
ток эмиссии,
- эффективность
катода;
.
.3 Расчет подогревателя катода
Помимо нормального рабочего режима,
подогреватель должен выдерживать более высокую температуру, необходимую при
обработке катода, поэтому для изготовления подогревателей могут быть применены
либо вольфрам, либо его сплавы с молибденом, содержащие 50 или 20% вольфрама.
Преимущество оказывается на стороне вольфрама, а добавление молибдена улучшает
механические свойства вольфрама, что облегчает изготовление подогревателей и
снижает их хрупкость.
К подогревателям предъявляют следующие основные
требования: термическая устойчивость, высокая механическая прочность,
незначительный разброс по току накала, долговечность, незначительные токи
утечки. Перейдем к непосредственному расчету подогревателя для рассматриваемого
катода:
Для напряжения накала обычно задаётся одно из
его стандартных значений. Пусть напряжение накала катода будет
[1].
Зная напряжение накала, находим ток накала:
, [1]
где
-
мощность накала подогревателя катода,
- напряжение
накала,
- ток накала;
Так же можем вычислить сопротивление
нагревателя:
. [1]
Учитывая, что при рабочей температуре
нагревателя
, сделанного из
сплава ВМ-50(W-50% и Mo-50%),
удельная мощность рассеивания проволкой равна
,
а удельное сопротивление
, рассчитаем
диаметр и длину проволоки подогревателя:
, [1]
,
[1]
где
-
напряжение накала,
- ток накала,
- удельная
мощность рассеивания проволокой;
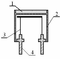
На рисунке 2.3.1 изображена схема катода - его
основные составляющие и их расположение. В катоде керн изготовлен из молибдена
(так называемый молибденовый стакан).
-рабочая поверхность катода (LaB6),
-молибденовый корпус,
-подогреватель,
-держатели.
Рисунок 2.3.1 - Схема рассчитываемого катода
Для рассматриваемого катода выбран подогреватель
в виде плоской спирали, т.к. необходимо нагревание таблетки из гексаборида
лантана (LaB6),
а не всего молибденового стакана.
На рисунке 2.3.2 представлена схема выбранного
подогревателя:
Рисунок 2.3.2 - Схема подогревателя
Верхняя часть подогревателя есть ничто иное, как
спираль Архимеда. В полярной системе координат уравнение Архимедовой спирали
выглядит так:
. Из аналитической
геометрии известно, что если гладкая кривая задана уравнением
,
то длина дуги этой кривой выражается интегралом:
,
где f1
и f2
- значения полярного угла φ в
концах дуги. Для спирали Архимеда этот интеграл запишется как
.
Интеграл табличный и равен:
.
Зная длину дуги (длина подогревателя), подбираем
параметры спирали так, чтобы они соответствовали геометрическим размерам
катода. Для этого воспользуемся программным пакетом Mathcad,
положив, что
и f1=0.
Методом подбора установим, что оптимальными значениями a
и f2
будут a=0.125
и f2=3.5p.
Внешний вид полученной спирали представлен на рисунке 2.3.3.
Рисунок 2.3.3 - Внешний вид спирали
.4 Расчет охлажденных концов держателя
В качестве материала держателей выберем
цирконий, так как он обладает низкой теплопроводностью. Рассчитаем длину
держателей:
[1]
Отсюда:
где
-
значение
для
см,
см,
А,
зависящие от температуры
. При
=2500
,
,
[1]
, [1] -
теплопроводность материала ввода;
- ток накала;
разница между
температурой держателей и температурой окружающей среды. Приняв температуру
окружающей чреды за 300 К получим
;
Таким образом:
.5 Расчет мощности потерь на охлажденных концах
Рассчитаем потери мощности на охлаждённых
концах:

где
-
коэффициент излучения для циркония;
=5.62
- постоянная
Стефана-Больцмана,
-
температура держателя,
- длина
держателей,
- диаметр
держателей.
.
2.6 Расчет мощности, забираемой эмитирующими
электронами
Найдем мощность, забираемую электронами:
,
где
-
заряд электрона,
- рабочая
температура поверхности эмиттера,
- постоянная
Больцмана.
.
.7 Расчет мощности теплового излучения с рабочей
поверхности
Мощность излучения эмитирующей поверхности
рассчитывается по формуле:
,
где
=5.62
- постоянная
Стефана-Больцмана,
- рабочая
температура поверхности эмиттера;
-
коэффициент излучения для гексаборида лантана при данной рабочей температуре;
- площадь
эмитирующей поверхности;
.
2.8 Расчет мощности излучения корпусом катода
Рассчитаем мощность излучения молибденового
корпуса катода. Для этого необходимо сначала рассчитать площадь излучения. В
нашем случае этой площадью является цилиндр высотой
и
радиусом
.
Теперь рассчитаем непосредственно мощность
излучения:
;
.9 Проверка баланса мощностей
Проверим, выполняется ли баланс мощностей. Для
этого подставим рассчитанные значения в выражение для баланса мощности:
где
-
мощность накала катода;
- мощность
излучения с рабочей поверхности;
- мощность потерь
на охлажденных концах;
- мощность,
забираемая эмитирующими электронами;
- мощность
излучения корпуса катода.
Термодинамический баланс мощностей выполняется с
некоторым отклонением. Из выполнения термодинамического баланса мощностей
следует, что мы сконструировали физически возможный катодный узел, конструкция
которого будет приведена в Приложении 1.
Заключение
В данной курсовой работе при расчете катода из
гексаборида лантана было рассмотрено явление термоэлектронной эмиссии, которое
широко используется в вакуумных и газонаполненных приборах. Были рассмотрены
свойства термокатода, произведены расчет и конструирование катодного узла.
Список используемой литературы
1. Царев
Б.М., «Расчет и конструирование электронных ламп», М: Энергия, 1967г.,670с;
2. Кацман
Ю.А. «Электронные лампы», М.: Высшая школа, 1979г., 303с.;
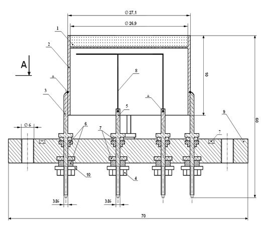
Приложение
А-А
- рабочая поверхность катода (LaB6),
- молибденовый корпус,
- держатель катода,
- гайка,
- циркониевый держатель нагревателя,
- фторопластовая прокладка,
- прокладка из вакуумной резины,
- подогреватель катода,
- фланец,
- шайба.
,-
контактно-стыковая сварка