Проектирование электропривода
ФЕДЕРАЛЬНОЕ АГЕНТСТВО ОБРАЗОВАНИЯ
ВЯТСКИЙ ГОСУДАРСТВЕННЫЙ УНИВЕРСИТЕТ
Кафедра «Электропривод и
автоматизация промышленных установок»
КУРСОВОЙ ПРОЕКТ
по дисциплине:
«Теория электропривода»
Вариант 3, модуль выдвижения «C»
Разработал: студент группы
ЭПу-21 Смертин И. О.
Проверил: Охапкин С. И.
Киров 2011 г.
ОГЛАВЛЕНИЕ
Введение 3
1.Расчет мощности
электродвигателя и его выбор по каталогу 4
1.1 Исходные данные 4
1.2 Расчет 5
2.Расчет естественных
электромеханических и механических характеристик АД 6
3.Составление
функциональной схемы и расчет параметров функциональных преобразователей
системы частотно-токового управления 10
3.1 Расчет параметров
контуров регулирования момента 14
32 Расчет параметров
контуров регулирования скорости 19
3.3 Расчет параметров
контуров регулирования положения 20
.Расчёт статических характеристик электропривода в
замкнутой системе 22
5.Расчёт динамических
режимов отработки больших и малых перемещений на ЭВМ 23
6.Проверка выбранного
двигателя по теплу 26
Библографический список 27
ВВЕДЕНИЕ
Курс теории электропривода включает в себя комплекс общих вопросов,
относящихся к силовой части электропривода и системе управления, обеспечивающих
электромеханическое преобразование энергии. Правильный выбор элементов силовой
части и системы управления электроприводом позволяет получить нужные
характеристики, отвечающие требованиям производственного процесса.
Задания на курсовое проектирование посвящены проектированию силовой части
и систем управления электропривода станков с ЧПУ и промышленных роботов (ПР),
являющихся основными элементами гибких автоматизированных производств (ГАП).
Важным элементом станков с ЧПУ и ПР являются исполнительные устройства,
во многом определяющие функциональные и точностные показатели их работы. Следует
отметить, что подавляющее число выпускаемых в настоящее время станков с ЧПУ
имеет электрические приводы подач и приводы главного движения. Также и в
роботостроении существует устойчивая тенденция создания ПР на базе
электропривода, имеющего ряд преимуществ по сравнению с пневматическими и
гидравлическими приводами. Электропривод предпочтителен при разработке
высококачественных следящих систем, необходимых для создания универсальных ПР с
позиционным и контурным программным управлением, а также адаптивных и
интеллектуальных ПР. Вследствие однотипной элементной базы электромеханические
ПР проще стыкуются с другим оборудованием гибких производственных систем. За
последнее десятилетие доля электромеханических ПР возросла в мире с 5 до 30%.
Поэтому изучение методики проектирования следящих приводов подач станков с ЧПУ
и промышленных роботов является важной практической задачей.
Задания по проектированию следящих приводов станков с ЧПУ и ПР включают в
себя ряд отдельных расчетных задач, возникающих при проектировании силовой
части систем электропривода и систем управления.
К данным задачам относятся расчет мощности приводного двигателя, выбор и
расчет параметров системы управления асинхронным электроприводом, построение
статических и динамических характеристик электропривода с использованием ЭВМ,
проверки исполнительного двигателя на нагрев.
1.РАСЧЁТ МОЩНОСТИ ДВИГАТЕЛЯ И ВЫБОР
ЕГО ПО КАТОЛОГУ
1.1 Исходные данные
Для проектирования привода электромеханического модуля выдвижения «С»
исполнительного механизма манипулятора даны следующие исходные данные:
Грузоподъемность манипулятора: mг = 25 (кг);
Максимальное ускорение: a =
1,0 (м/с²);
КПД Механизма поворота: h = 0,88;
Масса механизма выдвижения: mм = 75 (кг);
Радиус действия манипулятора: R = 1,4 (м);
Максимальная скорость выдвижения: V=2 (м/с );
Усилие сопротивления: Fст= 150 (Н).
1.2 Расчёт
Для манипуляторов с горизонтальным перемещением, работающих в
горизонтальной системе координат, выражение для расчетной мощности запишется:
привод электромеханический манипулятор модуль
Выбирается
асинхронный двигатель 4А71A2У3 со следующими номинальными данными: P2н
= 0,75 кВт; nс = 3000 об/мин; h = 0,77; cosjн = 0,87; mп = 2; mk = 2,2; mм = 1,5; Sном = 5,9%; Sк = 38%; in = 5,5; Jд =
0,00097 кг·м2.
Параметры
схемы замещения АД, приведенной на рис.1 в относительных единицах, составляют:
Номинальная
скорость вращения АД:
Синхронная скорость вращения АД:
Номинальный
момент АД:
Начальный пусковой момент:
Минимальный момент:
Критический момент:
2.РАСЧЁТ ЕСТЕСТВЕННЫХ
ЭЛЕКТРОМЕХАНИЧЕСКИХ И МЕХАНИЧЕСКИХ ХАРАКТЕРИСТИК
Электромеханическая характеристика АД рассчитываемая в соответствии со
схемой замещения, приведенной на рисунке 1(а) по соотношению:
Для S=-1
где
S - текущее значение скольжения.
Рисунок
1. Схема замещения фазы асинхронного двигателя.
Величина
сопротивлений
,
,
,
рассчитывается
в соответствии с соотношениями:
,
,
где
базовое сопротивление:
Номинальный ток фазы статора АД:
Расчетные
значения активных и индуктивных сопротивлений схемы замещения приведены в
таблице 1.
При
переходе к традиционной схеме замещения на рисунке 1(б), принимаем для нее в
соответствии с обозначениями рисунка 1.
X1=X1’; R1=R1’;
X2’=X2”; R2’=R2’’;
Xm=Xm*X
;
Rm=R1
Таблица
1
|
Параметры схемы замещения
АД
|
|
Схема замещения рис.1(а)
|
|
Наименование
|
Xm
|
X1
|
X1’
|
X2’’
|
R1
|
R1’
|
R2’’
|
|
Параметр
|
337,26
|
6,48
|
6,75
|
9,99
|
14,95
|
15,57
|
8,302
|
|
Схема замещения рис.1(б)
|
|
Наименование
|
Xm
|
X1
|
R1
|
X2’
|
R2’
|
Rm
|
|
|
Параметр
|
343,74
|
6,75
|
15,57
|
9,99
|
8,302
|
14,95
|
|
|
|
|
|
|
|
|
|
|
|
|
|
Все дальнейшие обозначения соответствуют схеме замещения на рисунке 1(б).
Максимальное
значение тока
в генераторном режиме работы имеет место при
скольжении
и равно:
Ток
намагничивания
АД рассчитывается по формуле:
Ток
рассчитывается из предположения, что треугольник
токов АД является прямоугольным, тогда:
Расчетная механическая характеристика АД получается с помощью формулы
Клосса:
Переход от скольжения к частоте вращения осуществляется с помощью
соотношения:
Механическая
и электромеханические характеристики АД приведены на рисунке 2, а расчёты
сведены в таблице 2.
Рисунок 2. Механическая и электромеханические характеристики.
Таблица 2
|
S
|
w
|
M
|
I2’
|
I1
|
|
c-1
|
Н×м
|
А
|
А
|
|
-1
|
628
|
-3,65
|
12,06
|
12,077
|
|
-0,8
|
565,2
|
12,56
|
12,58
|
|
-0,6
|
502,4
|
-4,97
|
13,08
|
13,01
|
|
-0,4
|
439,6
|
-5,49
|
12,56
|
12,58
|
|
-0,2
|
376,8
|
-4,53
|
7,13
|
7,16
|
|
0
|
314
|
0
|
0
|
0,639
|
|
0,2
|
251,2
|
4,53
|
3,7
|
3,75
|
|
0,4
|
188,4
|
5,49
|
5,5
|
5,54
|
|
0,6
|
125,6
|
4,97
|
6,5
|
6,53
|
|
0,8
|
62,8
|
4,26
|
7,13
|
7,16
|
|
1
|
0
|
3,65
|
7,55
|
7,58
|
3.СОСТАВЛЕНИЕ ФУНКЦИОНАЛЬНОЙ СХЕМЫ И РАСЧЁТ ПАРАМЕТРОВ ФУНКЦИОНАЛЬНЫХ
ПРЕОБРАЗОВАТЕЛЕЙ
Для реализации частотно-токового управления необходима реализация
нелинейных зависимостей I1max=f(Sa) и j1=f(Sa). Для обеспечения условия y2=const
в динамических процессах необходимо регулировать амплитуду и фазу тока статора
по формулам:
Электрическая
скорость вращения поля статора, соответствующая номинальной частоте:
Индуктивность
главного поля, полей рассеяния статора и ротора АД:
Индуктивность
статорной и роторной цепи:
Значение
y2max определим из
номинального режима работы АД, полагая при этом треугольник токов
прямоугольным:
где
;
-
амплитудные значения токов.
Амплитудное
значение потокосцепления трехфазной машины:
Амплитудное
значение потокосцепления двухфазной машины:
По
приведенным выше соотношениям рассчитаны зависимости I1max(2)=f(Sa) и j1=f(Sa), данные расчетов сведены в таблице 3 и приведены на рисунках 3 и 4.
Рассчитываем
механические характеристики в системе частотно-токового управления,
обеспечивающей поддержание y2max=const. Выражение для электромагнитного момента двигателя:
Зависимости
M=f(w), I1max(2)=f(w), I1max(3)=f(w) и I1=f(w) приведены на
рисунке 7.
При
идеальном поддержании y2max=const электромагнитная постоянная времени двигателя равна
нулю, однако в связи с неточностями компенсации возможные проявления
электромагнитной инерции следует учитывать малой
некомпенсируемой
постоянной TЭ .
Структурная
схема будет иметь вид, отображенный на рисунке 5(а). Данной структуре
соответствует функциональная схема построения системы частотно-токового
управления, приведенная на рисунке 5(б).
Для
построения такой системы необходимо иметь ПЧ с тремя входами, кроме того, АД
должен быть снабжен датчиком скорости для определения абсолютного скольжения.
Таблица
3. Данные для построения зависимостей
|
S a
|
I1max(2)
|
j 1
|
M
|
w
|
|
А
|
Гр
|
Н×м
|
c-1
|
|
-1
|
37,01
|
-88,66
|
-77,87
|
628
|
|
-0,8
|
29,61
|
-88,32
|
-62,3
|
565,2
|
|
-0,6
|
22,22
|
-87.76
|
-46,72
|
502,4
|
|
-0,4
|
14,83
|
-86,64
|
-31,15
|
439,6
|
|
-0,2
|
7,45
|
-83,31
|
-15,57
|
376,8
|
|
0
|
0,87
|
0
|
0
|
314
|
|
0,2
|
7,45
|
83,31
|
15,57
|
251,2
|
|
0,4
|
14,83
|
86.64
|
31,15
|
188,4
|
|
0,6
|
22.22
|
87,76
|
46,72
|
125,6
|
|
0,8
|
29,61
|
88,32
|
62,3
|
62,8
|
|
1
|
88,66
|
77,87
|
0
|
Рисунок
3. Зависимости I1max(2)=f(Sa),
I1max(3)=f(Sa), I1=f(Sa)
Рисунок 4. Зависимость j1=f(Sa)
а)
б)
Рисунок 5. Структурная и функциональная схемы системы частотно-токового
управления.
4.1 РАСЧЁТ ПАРАМЕТРОВ КОНТУРОВ
РЕГУЛИРОВАНИЯ МОМЕНТА
Так как момент АД нелинейно зависит от доступного для измерения тока
статора, реализовать обратную связь по моменту с помощью отрицательной обратной
связи по току, как в электроприводе постоянного тока, здесь не удается.
Поэтому откажемся от автоматического регулирования момента по отклонению
и используем компенсационный способ управления с помощью положительной обратной
связи по скорости. Как показано на рисунке 5(б), для измерения скорости АД на
его валу установлен датчик скорости ДС.
Взяв за максимальное значение входного напряжения преобразователя по
каналам частоты, фазы и амплитуды тока U УЧ max = U УФ max = U УТ max = 10 (В), можно определить
необходимые коэффициенты передачи по частоте, фазе и амплитуде тока ПЧ.
Величина I1max(2) берется из зависимостей рисунка 7
для момента M>Mстоп.
Рисунок 6. Контур регулирования момента.
Рисунок 7. Зависимости M=f(ω), I1max(2), I1max(3)=f(ω), I1=f(ω).
Полагая, что коэффициент передачи датчика скорости равен коэффициенту
положительной обратной связи по скорости:
Требуемая величина коэффициента усиления регулятора момента РМ:
Жесткость механической характеристики при j2 = const:
Величина Kм определяется из выражения:
Модуль приведения к валу двигателя:
Момент
инерции груза:
Суммарный момент инерции:
Найдем стопорный момент:
Приняв
Mстоп =
2,094 Н×м, получим величину Uзм:
Нелинейный элемент НЭ1 формирует сигнал задания Uут в зависимости от Sa:
В канале формирования фазы включен НЭ2, формирующий Uуф в функции Sa:
Значение скольжения, соответствующее MСТОП :
Расчеты
сведены в таблицу 4, а зависимости UУТ , UУФ ,
рассчитанные с помощью соотношений, приведены на рисунке 8.
Таблица
4
|
Sa
|
M
|
UЗМ
|
UУТ
|
UУФ
|
|
Н×м
|
В
|
В
|
В
|
|
0
|
0
|
0
|
4,342
|
0
|
|
0,025
|
1,289
|
0,252
|
4,663
|
5,227
|
|
0,05
|
2,578
|
9,307
|
7,221
|
|
0,075
|
3,868
|
0,755
|
13,97
|
8,082
|
|
0,1
|
5,157
|
1,006
|
18,614
|
8,541
|
|
0,125
|
6,446
|
1,258
|
23,277
|
8,826
|
|
0,15
|
7,735
|
1,51
|
27,939
|
9,019
|
Рисунок
8. Зависимости Uут=f(Sa), Uзм=f(Sa), Uуф=f(Sa), М=f(Sa).
Максимальное значение f1max (wо эл.max) определяется полкой регулятора
момента РМ:
Механические характеристики, рассчитываются по соотношению:
Механические характеристики приведены на рисунке 9.
4.2 РАСЧЁТ ПАРАМЕТРОВ КОНТУРОВ
РЕГУЛИРОВАНИЯ СКОРОСТИ
Некомпенсируемая постоянная времени привода:
Величина
коэффициента обратной связи по скорости:
где
К рс=1
Максимальное
напряжение на входе регулятора скорости:
Расчет
статических характеристик производится в соответствии с соотношением:
Данные
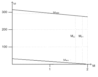
расчетов сведены в таблице 5 и приведены на рисунке 9.
Таблица
5
|
|
с-1
|
314
|
312
|
311
|
309
|
307
|
305
|
304
|
302
|
300
|
298
|
296
|
|
М
|
Нм
|
0
|
0,2
|
0,4
|
0,6
|
0,8
|
1
|
1,2
|
1,4
|
1,6
|
1,8
|
2
|

Значения статических моментов, необходимых для определения наибольшей и
наименьшей скорости определяются по формулам:
где
;
При
изменении нагрузки двигателя в пределах от МС1 до МС2 диапазон
регулирования скорости составит (исходя из рисунка 9):
. (56)
Следовательно, пропорциональный регулятор скорости (с коэффициентом
усиления к=1,4) позволяет получить достаточный диапазон регулирования скорости.
4.3 РАСЧЁТ ПАРАМЕТРОВ КОНТУРОВ
РЕГУЛИРОВАНИЯ ПОЛОЖЕНИЯ
Расчет параметров контура регулирования положения ведется в следующей
последовательности. При известных параметрах механической части определяется
максимальный угол поворота вала двигателя при отработке заданного перемещения
выходной оси рабочего органа. Пусть jро.max = 6,28 рад. При передаточном числе редуктора i=100 максимальный угол поворота вала двигателя составит:
Величина
коэффициента обратной связи по положению при выборе
составит
; (58)
Коэффициент
усиления регулятора положения определяется по формуле:
Далее определяется допустимое значение начальной скорости привода, при
которой момент привода в процессе замедления не будет достигать стопорного
значения при Мc = 0.
(1/с);
Условие wнач.доп ³ wmax не выполняется, коэффициент усиления регулятора положения рассчитывается
по соотношению:
где
максимальное ускорение
, находится по формуле:
Величина статической ошибки позиционирования определяется в соответствии
с выражением (Мс = Мн):
Величина шага интегрирования находится по формуле:
Путь, проходимый приводом при пуске и торможении:
Видно,
что
поэтому отработка перемещения приводом идет с
треугольным графиком скорости. Время переходного процесса при этом
Отсюда
берем время счета
.
5.РАСЧЁТ СТАТИЧЕСКИХ ХАРАКТЕРИСТИК
ЭЛЕКТРОПРИВОДА В ЗАМКНУТОЙ СИСТЕМЕ
В замкнутой системе уравнение статической характеристики:
Электромеханическая постоянная времени:
6.РАСЧЁТ ДИНАМИЧЕСКИХ РЕЖИМОВ
ОТРАБОТКИ БОЛЬШИХ И МАЛЫХ ПЕРЕМЕЩЕНИЙ НА ЭВМ
Моделирование переходных процессов системы производятся в пакете System View. Структурная схема электропривода, обеспечивающая
исследование динамических режимов работы приведена на рисунке 10,
соответствующая ей структура для расчета на ЭВМ - на рисунке 11. Графики (рисунок
12) показывают, что спроектированная система обеспечивает заданное качество
переходных процессов.
Рисунок 10. Структурная схема электропривода.
Рисунок 11. Структура для расчета на ЭВМ.
а) момент
б) скорость
в) угол
Рисунок 12. Графики переходных процессов.
7.ПРОВЕРКА ВЫБРАННОГО ДВИГАТЕЛЯ ПО ТЕПЛУ
Для проверки двигателя на нагрев используем нагрузочную диаграмму,
приведенную на рисунке 13. Нагрузочная диаграмма строится с помощью
аппроксимации переходного процесса М=f(t), рисунок 12. Пусть ПВ=60%.
Эквивалентный момент определяется по формуле:

Видно,
что MЭКВ< MН (0,969Нм<2,537Нм), а следовательно двигатель
удовлетворяет условиям нагрева.
Рисунок
13. Нагрузочная диаграмма электродвигателя.
БИБЛИОГРАФИЧЕСКИЙ
СПИСОК
1. Ключев В.И. “Теория электропривода”. - М.:
Энергоатомиздат, 1985.
2. Онищенко Г.Б. “Электрический привод: учебник для
студ. высш. учеб. заведений”. - М.: Иэдательский центр “Академия”, 2006.
. “Асинхронные двигатели серии 4А” : Справочник. -
М.: Энергоатомиздат, 1982.