Методы производства винилхлорида

  • Вид работы:
    Дипломная (ВКР)
  • Предмет:
    Другое
  • Язык:
    Русский
    ,
    Формат файла:
    MS Word
    115,12 kb
  • Опубликовано:
    2012-01-08
Вы можете узнать стоимость помощи в написании студенческой работы.
Помощь в написании работы, которую точно примут!

Методы производства винилхлорида

Содержание

Введение

1. Литературный обзор

1.1 Выбор метода производства

1.2 Применение готового продукта

1.3 Характеристика сырья и готового продукта

2. Технологическая часть

2.1 Стадии проектируемого производства

2.2 Описание технологической схемы

2.3 Контроль производства

2.3.1 Аналитический контроль

2.3.2 Технологический контроль с КИП и А

2.4 Устройство и принцип действия основного аппарата

2.5 Вспомогательное оборудование

2.6 Пуск и остановка основного оборудования

2.7 Права и обязанности аппаратчика

3. Охрана труда и противопожарная защита

3.1 Характеристика техники безопасности

3.2 Производственная санитария

3.3 Основы пожарной безопасности

3.4 Основы безопасности при ведении процесса

4. Охрана окружающей среды

4.1 Характеристика места расположения объекта

4.2 Источники образования отходов, выбросов, стоков

4.3 Существующие методы очистки и утилизации отходов

5. Экономическая часть

5.1 Перечень основного технологического оборудования

Введение


“Широко распространяет химия руки свои в дела человеческие. Куда ни посмотри, везде обращаются перед очами нашими успехи ее прилежания”. Эти слова были сказаны нашим великим соотечественником М.В. Ломоносовым более 200 лет назад. В наше время они справедливы еще больше, чем во времена М.В. Ломоносова, так как именно в последние годы химия все глубже проникает во все области промышленности, сельского хозяйства и быта.

Химическая промышленность как отрасль производства существует уже более ста лет. На заре своего развития химическая промышленность в качестве сырья использовала продукты коксохимического и лесохимического производства, минеральное сырье, целлюлозу, растительные и животные жиры. На соответствующем этапе развития техники это сырье, как в количественном, так и в качественном отношении вполне удовлетворяло промышленность.

Сырье является одним из основных элементов производства, и оно в значительной степени определяет масштабы, технику и экономику промышленности. Поэтому в настоящее время потребность народного хозяйства в важных органических продуктах, исчисляемых миллионами тонн в год, может быть удовлетворена только на основе легко доступного и дешевого сырья. Таким сырьем является нефть, природные и попутные газы, а также газы нефтепереработки. На современном этапе нефтехимическая и химическая промышленность и на их основе химизации народного хозяйства играет важную в создании материально-технической базы страны, обеспечивает высокую эффективность производства, лучшее использование материальных и трудовых ресурсов.

Значительное количество продуктов химического синтеза применяют в сельском хозяйстве в качестве химических средств защиты растений (минеральные удобрения, ядохимикаты), их используют в быту, для борьбы с распространенными болезнями, для уничтожения вредителей на складах, в трюмах кораблей, в жилых зданиях.

Не меньшее значение имеют продукты химии и нефтехимии производстве товаров народного потребления. На их основе изготовляют прочные и красивые синтетические волокна, кинопленки, многоассортиментные изделия из пластических масс, резиновую обувь и бытовые резиновые изделия, высококачественные моющие средства, разнообразные красители, искусственную кожу и меха и многое другое.

Таким образом, внедрение химии в различные отрасли настолько широко и плодотворно, что без роста химической и нефтехимической промышленности не возможно развитие современного хозяйства. /1, с.4; 2, с.8-9/

1. Литературный обзор


1.1 Выбор метода производства


Существует несколько способов получения винилхлорида:

)        Гидрохлорирование ацетилена в жидкой (СuCI2) или газовой фазе (HgCI2):

NH4CI+CuCI2

CH ≡ CH + HCI                     CH2 = CHCI

HgCI2

CH ≡ CH + HCI                     CH2 = CHCI

Технология в газовой фазе имело место в цехе№10 ОАО ”Каустик”, но из-за дороговизны ацетилена, полученного из карбида кальция и токсичности катализатора (сулема - HgCI2) не нашла своего применения.

2) Из этилена через дихлорэтан

-        путем щелочного дегидрохлорирования в жидкой фазе (в среде спирта)

CH2CI - CH2CI + NaOH                  CH2=CHCI + NaCI + H2O

Недостаток метода - большие расходы щелочи и спирта;

         путем пиролиза ДХЭ в паровой фазе (дегидрохлорирование):

CH2CI - CH2CI                       CH2 = CHCI + HCI

Преимуществом процесса является то, что не требуется затрат на вспомогательные материалы, недостаток - необходимость использования ДХЭ высокой чистоты - 99,9 %.

Достоинство метода - высокая чистота полученного ВХ.

) Высокотемпературное хлорирование этилена

                                      CaCI2

CH2 = CH2 + CI2                                   CH2 = CHCI + HCI

Процесс проводят при 4000С в среде расплава солей CaCI2. Выход ВХ составляет 65-67 %.

) Комбинированный метод получения ВХ из этилена. Получение состоит из следующих стадий:

1.       синтез 1,2 ДХЭ окислительным хлорированием этилена

C2H4 + 2HCI + 0.5O2                                       C2H4CI2 + H2O

2. обезвоживание ДХЭ

. выделение легкокипящих компонентов

. пиролиз ДХЭ

С2H4CI2                         C2H3CI + HCI

. ректификация ВХ

Комбинированный метод получения ВХ наиболее часто употребляем, так как позволяет заменить дорогостоящий ацетилен на этилен, полнее использовать хлор (утилизация собственных отходов производства); себестоимость ВХ на 25-30 % ниже по сравнению с методом гидрохлорирования ацетилена. Этот метод является наиболее экономически выгодным по сравнению с другими методами и поэтому имеет место на ОАО ”Каустик” в цехе №29. /2, с.253-254/

1.2 Применение готового продукта


Винилхлорид является одним из важных мономеров, применяемых для получения полимерных материалов: поливинилхлорида в цехе №11 (на основе которых производят пленку, листовые материалы, трубы, синтетические заменители кожи, синтетические волокна), сополимеров ВХ с винилацетатом, винилиденхлоридом, акрилонитрилом. /2, с.253/

1.3 Характеристика сырья и готового продукта

 

Таблица 1. Характеристика готового продукта

Наименование продукта

ГОСТ или отраслевой стандарт

Наименование показателя

Регламентируемые показатели с дополнительными отклонениями

1

2

3

4

 Винилхлорид (высший сорт)

 Собственное производство в соответствии с ТУ 6-01-14-90 с изм. № 1, 2

 1. Внешний вид температура кипения, 0С плотность, кг/м3 2. Массовая доля примесей, % в т. ч. ацетилена ацетальдегида ДХЭ (1,1; 1,2)

 Бесцветная жидкость минус 13,8 983 Не более 0,020 Не более 0,0001 Не более 0,0006 Не более 0,002



-бутадиена (1,3) 3. массовая доля хлороводорода, % 4. массовая доля железа, % 5. массовая доля воды, % 6. массовая доля фенола, %

Не более 0,0010 Не более 0,0001 Не более 0,0001 Не более 0,02 Не более 0,0005



Таблица 2 - Характеристика сырья

Наименование сырья

ГОСТ или отраслевой стандарт

Наименование показателя

Регламентируемые показатели с дополнительными отклонениями

1

2

3

4

Этилен

ГОСТ 25070-87 с изм. №1

1. Внешний вид температура кипения, 0С плотность, кг/м3 2. Объемная доля этилена, % 3. объемная доля пропилена, % 4. объемная доля ацетилена, % 5. массовая доля воды, %

Бесцветный газ минус 104 1,260 Не менее 99,9 Не более 0,005 Не более 0,001 Не более 0,001

Хлористый водород с пиролиза 1,2 ДХЭ

Собственное производство

1. Внешний вид температура кипения, 0С Плотность, кг/м3

Бесцветный газ минус 84 1,64

 


2. объемная доля HCI, % 3. объемная доля ацетилена, % 4. Объемная доля ВХ, % 5. Объемная доля прочих органических примесей, %

Не менее 98,5 Не более 0,25 Не более 0,05 Не более 0,5

Натр едкий технический, жидкий

По регламенту цеху №4

1. Внешний вид температура кипения, 0С плотность, кг/м3 Массовая доля едкого натра, %

Бесцветная жидкость 1388 2,13 18-22

Катализатор оксихлорирования

“МЕДС”. Закупка по импорту, Фирма "Монтекатини Технолоджи"

Гранулометрический состав катализатора: массовая доля, % менее 40 мкм от 40 до 63 мкм от 63 до 90 мкм от 90 до 125 мкм более 125 мкм Насыпная плотность, кг/дм3

Не более 35 40 - 50 15 - 28 4 - 10 Не более 3,0 0,0010 - 0,0011

 Катализатор гидрирования ФПК - 1

 ТУ 6-68-580800-309-90 с изм. №1

1. Внешний вид Насыпная плотность, кг/м3 2. Массовая доля палладия в пересчете на сухое вещество, % 3. Потеря массы при истирании, %

Гранулы 0,0450 - 0,0650 0,45 - 0,57 Не более 7

Водород технический

По регламенту цеха №2

Внешний вид температура кипения, 0С плотность, кг/м3

Бесцветный газ минус 252,8 0,08987


/3, с.40/

винилхлорид сырье продукт оборудование

2. Технологическая часть


2.1 Стадии проектируемого производства


На стадии окислительного хлорирования этилена образуется ДХЭ. Взаимодействие этилена с хлористым водородом и кислородом в реакторе с кипящим слоем катализатора идет с выделением большого количества тепла, которое отводится через парогенератор. Основная реакция:

С2H4 + 2HCI + 0.5O2 = C2H4CI2 + H2O

Стадия окисления хлорирования этилена включает в себя следующие узлы:

         гидрирование ацетилена в хлористом водороде;

-        подготовка сырья, катализатора;

-        подготовка охлаждающей воды для реактора оксихлорирования;

-        реакция оксихлорирования этилена;

         закалка реакционных газов;

         компремирование циркуляционных газов;

         промывка ДХЭ;

         очистка сточных вод.

/3, с.41/

2.2 Описание технологической схемы


Образующийся при пиролизе дихлорэтана хлористый водород содержит остаточный этилен, следы винилхлорида и ацетилен. На стадии оксихлорирования ацетилен вызывает образование нежелательных побочных продуктов. Это, наряду с увеличением расхода хлористого водорода снижает срок пробега оборудования.

И как способ устранения этих нежелательных явлений в данном процессе был принят метод гидрирования ацетилена в хлористом водороде в реакторе с неподвижным слоем катализатора.

Хлористый водород, поступающий с ректификации винилхлорида, предварительно нагревается в подогревателе позиции ИП 2 паром до температуры 140 - 180°С. Водород из цеха № 2, подогретый в трубопроводе через рубашку до температуры не менее 150°С подается в трубопровод подогретого хлористого водорода непосредственно перед реактором позиции РТ 5.

Хлористый водород и водород проходят через слой катализатора сверху вниз. Температура реакции на свежем катализаторе составляет 140°С, но в конце срока службы катализатора требуется повышение температуры до 180°С. Хлористый водород после реактора гидрирования позиции РТ 5 подается на смешение с кислородом и далее в реактор оксихлорирования позиции РТ 6. Расход хлористого водорода в реактор гидрирования составляет 2050 - 6220 м3/ч, расход водорода составляет 35 м3/ч.

Кислород поступает из цеха № 30 по трубопроводу и нагревается в подогревателе позиции ИП 1 паром до температуры 150°С. Объемный расход кислорода составляет 815 - 1830 м3/ч, давление колеблется в пределах 0,6 - 0,9 МПа.

Катализатор оксихлорирования представляет собой микросферический порошок окиси алюминия, пропитанный раствором хлорной меди CuCl. Для хранения катализатора предусмотрена емкость с конусным днищем позиции Е 8. Паровым эжектором позиции Э 10, работающем на паре, в сборнике катализатора позиции Е 8 создается вакуум, и катализатор через гибкий шланг по трубопроводу засасывается в сборник. Отсасываемый воздух из сборника очищается от катализатора циклоном позиции Ц 9. Загрузку катализатора в реактор оксихлорирования ведут до уровня 50 - 60%.

Этилен поступает с приемной станции этилена и нагревается в подогревателе позиции ИП 4 до температуры 127 - 173°С. Расход этилена составляет 110 - 3180 м3/ч, давление на выходе составляет 0,6 - 0,9 МПа.

Узел приготовления охлаждающей воды для реактора позиции РТ 6 предназначен для утилизации тепла реакции оксихлорирования с получением пара низкого давления, приготовления и циркуляции охлаждающей воды через змеевики реактора позиции РТ 6. Узел состоит из деаэратора позиции ДА 12, парового котла позиции Е 11, циркуляционного насоса позиции Н 22, питательного насоса позиции Н 23. Деаэратор предназначен для удаления кислорода и углекислоты из питательной воды. В качестве котловой воды используется паровой конденсат, который подается в деаэратор позиции ДА 12 (уровень 20 - 80%), далее идет на всас насоса позиции Н 23, который подает его в паровой котел позиции Е 11. Расход конденсата в пределах 10 - 20 м3/ч.

В паровом котле позиции Е 11 вода поступает в распределитель и смешивается с водой, циркулирующей в системе охлаждения реактора позиции РТ 6, и насосом позиции Н 22 подается в змеевик реактора, где за счет тепла реакции часть ее (10%) испаряется и пароводяная смесь поступает из змеевика в паровой котел позиции Е 11. Здесь происходит отделение пара от циркуляционной воды. Расход конденсата в змеевик составляет 115 - 120 м3/ч.

Этилен с кислородом может образовать взрывоопасную смесь. Для исключения образования смеси предусмотрен следующий порядок смешения: вначале кислород смешивается с хлористым водородом, а этилен с циркуляционным газом, а затем смесь хлористого водорода с кислородом смешивается со смесью этилена с циркуляционным газом.

Реакционные газы проходят снизу вверх через слой катализатора и приводят его во взвешенное состояние. Это обеспечивает хорошее взаимодействие между реакционными газами и катализатором. Регулирование температуры в зоне реакции происходит за счет змеевика.

После слоя катализатора прореагировавшая смесь газов поступает на очистку от катализаторной пыли в верхнюю часть реактора, где расположен трехступенчатый циклон.

После циклона реактора позиции РТ 6 реакционные газы поступают на охлаждение и отмывку от хлористого водорода и уносимой пыли катализатора в колонну закалки позиции КЛ 13. После колонны реакционные газы с температурой 90 - 110°С поступают в трубное пространство конденсатора позиции ХК 14, где происходит охлаждение газа до 30 - 50°С и конденсация пара и воды. Газожидкостная смесь поступает далее в сепараторную часть отделителя дихлорэтана позиции Е 16, где происходит разделение фаз. Жидкая фаза, состоящая из воды и дихлорэтана, стекает в разделитель, где происходит разделение слоев. Нижний слой дихлорэтана сырца насосом позиции Н 25 откачивается в емкость позиции Е 20 для щелочной промывки.

Газовая фаза, состоящая из азота, кислорода, этилена, окиси и двуокиси углерода поступает на охлаждение в конденсатор позиции ХК 15, где дополнительно конденсируются пары воды и дихлорэтана. Газожидкостная смесь из конденсатора позиции ХК 15 поступает в фазоразделитель позиции Е 17. Жидкая фаза возвращается в отделитель дихлорэтана позиции Е 16, а газовая фаза в буфер позиции Б 18, предусмотренный для защиты компрессора позиции КМ 26 от попадания жидкости.

Циркуляционный газ из буфера позиции Б 18 засасывается компрессором позиции КМ 26, сжимается до 0,7 МПа и направляется в подогреватель позиции ИП 21, где нагревается до температуры 150 - 170°С и через смеситель поступает под распределительную тарелку реактора позиции РТ 6. Часть газа используется для продувки штуцеров для исключения забивки катализатором.

Дихлорэтан - сырец из отделителя позиции Е 16 насосом позиции Н 25 через смесительное сопло позиции СМ 19 подается в промывную емкость позиции Е 20. В смесительном сопле позиции СМ 19 происходит смешение дихлорэтана сырца и циркуляционной воды. В емкости позиции Е 20 происходит разделение слоев. Верхний слой подается в смесительные форсунки позиции СМ 19, а часть отводится в закалочную колонну позиции КЛ 13.

Нижний слой дихлорэтана - сырца из емкости позиции Е 20 поступает в колонну обезвоживания позиции КЛ 28 или на промежуточный склад дихлорэтана - сырца в емкости позиции Е 29.

2.3 Контроль производства


2.3.1 Аналитический контроль


Таблица 3 Аналитический контроль

Наименование места измерения параметров

Контролируемый параметр

Частота и способ контроля

Нормы и технологические показатели

Метод контроля

Кто контролирует

1

2

3

4

5

6

Этилен перед реактором поз. РТ 6

Объемные доли, % этилена ацетилена пропилена метана и этана в сумме воды

 1раз в нед. 1раз в нед. 1раз в нед. 1раз в нед. 1раз в месяц

 Не менее 99,90 Не более 0,0010 Не более 0,0050 Не более 0,10 Не более 0,0010

 Хроматогра-фический

 Лаборант Лаборант Лаборант Лаборант Лаборант

Хлороводород в реактор поз. РТ 6

Объемные доли, % водорода ацетилена

1раз в смену 1раз в смену

Не более 1 Не более 0,05

Хроматогра-фический

Лаборант Лаборант

Катализатор в реакторе поз. РТ 6

Насыпная плотность, г/см3 Массовая доля, % хлорида меди железа

1раз в месяц 1раз в месяц 1раз в месяц

0,80-1, 20 4,0-6,0 Не более 0,80

Пикнометри-ческий Хроматогра-фический

Лаборант Лаборант Лаборант


2.3.2 Технологический контроль с КИП и А

2.3.2.1 Обоснование выбора регулируемых, контролируемых, сигнализируемых и блокируемых параметров и мероприятия по защите и блокировке.

2.3.2.1.1 Параметры, выведенные на регулирование:

·        Температура хлороводорода после поз. ИП 2 изменением подачи пара;

·        Расход водорода подаваемого в поз. ИП 3 изменением его подачи;

·        Расход этилена после поз. ИП 4 изменением его подачи;

·        Расход кислорода после поз ИП 1 изменением его подачи;

·        Расход хлороводорода после поз ИП 2 изменением его подачи;

·        Температура кислорода после поз. ИП 1 изменением подачи пара;

·        Температура водорода после поз. ИП 3 изменением подачи пара;

·        Температура этилена после поз. ИП 4 изменением подачи пара;

·        Давление кислорода, подаваемого в поз. ИП 1 изменением его подачи;

·        Уровень смеси конденсата с циркуляционной водой в поз. Е 11 отводом его с помощью поз. Н 22;

·        Уровень конденсата в поз. ДА 12 отводом его с помощью поз. Н 23;

·        Расход смеси обессоленной воды и щелочи подаваемой в поз. КЛ 13 изменением ее подачи;

·        Уровень жидкости в поз. КЛ 13 отводом воды из неё;

·        Расход циркуляционного газа подаваемого в поз. РТ 6 изменением его подачи;

·        Уровень смеси дихлорэтана - сырца с циркуляционной водой в поз. Е 20 отводом части разделенной смеси из него;

·        Уровень жидкости в буфере поз. Б 18;

·        Уровень дихлорэтана - сырца в поз. Е 16 отводом его поз. Н 24 и Н 25;

2.3.2.1.2 Параметры, выведенные на контроль:

·        Температуры: хлороводорода после поз. ИП 2; водорода после поз. ИП 3; реакции в поз. РТ 5; в зоне реакции в поз. РТ 6; под тарелкой в поз. РТ 6; в поз. РТ 6 в различных точках; кислорода после поз. ИП 1; этилена после поз. ИП 4.

·        Давления: хлороводорода после поз. ИП 2; этилена после поз. ИП 4; верхней части поз. РТ 6; смеси хлороводорода и водорода после поз. РТ 5; смеси циркуляционного газа с этиленом на трубопроводе перед поз. РТ 6; кислорода, подаваемого в поз. ИП 1.

·        Уровни: катализатора в поз. РТ 6; смеси конденсата с циркуляционной водой в поз. Е 11; конденсата в поз. ДА 12; жидкости в поз. КЛ 13; смеси дихлорэтана - сырца с циркуляционной водой в поз. Е 20; жидкости в поз. Б 18; дихлорэтана - сырца в поз. Е 16.

·        Расходы: хлороводорода после поз. ИП 2; абгазов на трубопроводе после поз. Е 17; водорода подаваемого в поз. ИП 3; этилена после поз. ИП 4; смеси обессоленной воды и щелочи подаваемой в поз. КЛ 13; циркуляционного газа подаваемого в поз. РТ 6; кислорода после ИП 1.

·        Химический анализ: объёмная доля водорода на трубопроводе после поз. РТ 5; объёмная доля этилена на трубопроводе перед поз. РТ 6; уровень pH в поз. КЛ 13.

2.3.2.1.3 Параметры, выведенные на сигнализацию:

·        Max и min температура хлороводорода на трубопроводе после поз. ИП 2;

·        Max и min температура реакции в поз. РТ 5;

·        Max и min расход водорода подаваемого в поз. ИП 3;

·        Max давление хлороводорода после поз. ИП 2;

·        Max давление этилена на трубопроводе после поз. ИП 4;

·        Max и min расход этилена после поз. ИП 4;

·        Max и min расход кислорода после поз. ИП 1;

·        Max и min расход хлороводорода после поз. ИП 2;

·        Max и min давление верхней части поз. РТ 6;

·        Max и min температура под тарелкой поз. РТ 6;

·        Max и min температура кислорода после поз. ИП 1;

·        Max и min температура водорода после поз. ИП 3;

·        Max и min температура этилена после поз. ИП 4;

·        Max и min давление кислорода перед поз. ИП 1;

·        Max и min уровень катализатора в поз. РТ 6;

·        Max и min давление смеси хлороводорода и водорода после поз. РТ 5;

·        Max и min температура зоны реакции в поз. РТ 6;

·        Max и min температура реакции в поз. РТ 6 в различных точках;

·        Max и min уровень смеси в поз. Е 11;

·        Max и min уровень смеси в поз. ДА 12;

·        Max и min расход смеси обессоленной воды и щелочи подаваемой в поз. КЛ 13;

·        Max и min уровень смеси в поз. КЛ 13;

·        Max и min давление смеси этилена и циркуляционного газа перед поз. РТ 6;

·        Max и min расход циркуляционного газа после поз. ИП 21;

·        Max и min уровень смеси в поз. Е 20;

·        Max уровень смеси в поз. Б 18;

·        Max и min уровень смеси в поз. Е 16;

·        Max и min расход абгазов на трубопроводе после поз. Е 17;

·        Max и min объёмная доля этилена перед поз. РТ 6;

·        Max и min объёмная доля водорода после поз. РТ 5;

·        Max и min уровень pH после поз. КЛ 13;

2.3.2.1.4 Параметры, выведенные на блокировку:

·        Блокирование подачи этилена, хлороводорода, кислорода, водорода и пара по:

1)      min расхода этилена, хлороводорода, кислорода, водорода;

2)      max и min давлению в верхней части поз. РТ 6;

)        max и min температуре под тарелкой поз. РТ 6;

·        Блокирование двигателя насоса поз. Н 22 по min уровню конденсата в поз. Е 22;

·        Блокирование двигателя насоса поз. Н 23 по min уровню конденсата в поз. ДА 12;

·        Блокирование двигателя насоса поз. Н 24 и Н 25 по min уровню смеси дихлорэтана - сырца и воды в поз. Е 16;

·        Блокирование двигателя насоса поз. Н 27 по min уровню смеси дихлорэтана и воды в поз. Е 20;

·        Блокирование двигателя компрессора поз. КМ 26 по max уровню жидкости в поз. Б 18.

2.3.2.2 Выбор средств автоматизации

Таблица 4. Выбор средств автоматизации

Позиции приборов

Наименование прибора

Тип прибора

Кол-во

1

2

3

4

3.1, 6.1, 7.1, 8.1, 21.1, 24.1, 28.1

Диафрагма

ДКН

7

1.1, 2.1, 10.1, 11.1, 12.1, 13.1, 17.1, 18.1, 18.2, 18.3, 18.4, 18.5, 18.6

Термопара

ТХК

13

3.2, 6.2, 7.2, 8.2, 15.1, 19.1, 20.1, 21.2, 22.1, 24.2, 25.1, 26.1, 27.1, 28.2

Электрический преобразователь расхода и уровня

Сапфир22ДД

14

4.1, 5.1, 9.1, 14.1, 16.1, 23.1

Электрический преобразователь давления

Сапфир22ДИ

6

1.2, 2.2, 10.2, 11.2, 12.2, 13.2, 17.2, 18.7

Электрический преобразователь

П282

8

3.3, 4.2, 5.2, 6.3, 7.3, 8.3, 9.2, 14.2, 15.2, 16.2, 19.2, 20.2, 21.3, 22.2, 23.2, 24.3, 25.2, 26.2, 27.2, 28.3

Токовый преобразователь

БПС

20

19.4, 20.4, 25.4, 26.4, 27.4

Электро контактный манометр

ЭКМ

5

19.5, 20.5, 25.5, 26.5, 27.5, 27.6

Пускатель магнитный

ПМЭ

6

29.1, 29.2

Термокондуктометрический газоанализатор этилена

5F

1

30.1, 30.2

Термокондуктометрический газоанализатор Н2

7C

1

1.3, 3.4, 6.4, 7.4, 8.4, 10.3, 11.3, 12.3, 13.3, 14.3, 19.3, 20.3, 21.4, 22.3, 24.4, 25.3, 26.3, 27.3

Электропневматический преобразователь

ЭПП

18

1.4, 3.5, 6.5, 7.5, 8.5, 11.4, 12.4, 13.4, 14.4, 19.4, 20.4, 21.5, 22.4, 24.5, 25.4, 26.4, 27.4

Мембранно - пружинный исполнительный механизм

МИМ

17

10.4, 10.6, 10.8, 10.10

Электрозамок

ЭЗ

4

10.5, 10.7, 10.9, 10.11

Пневмоотсекатель

П/О

4

31.1, 31.2

pH-метр

П 215

1


2.3.2.3 Описание функциональных схем автоматизации по позициям:

Позиция 1 - контролируется, регистрируется, сигнализируется, регулируется температура хлороводорода на трубопроводе после поз. ИП 2 регулированием подачи пара;

1.1     ТХК - термопара хромель-копелевая, чувствительный элемент температуры, воспринимает изменение температуры хлороводорода на выходе из ИП 2,П282 - электро - преобразователь, служит для преобразования ТЭДС термопары в сигнал постоянного тока,

1.2     Ломиконт Л - 112-1 - контроль, регистрация, регулирование, сигнализация min и max температуры хлороводорода после поз. ИП 2,ЭПП - электро - пневмопреобразователь, преобразует электросигнал в пневмосигнал,

1.3     МИМ - мембранно - пружинный исполнительный механизм, изменяет расход пара в ИП 2.

Позиция 2 - контролируется, регистрируется, сигнализируется температура реакции в поз. РТ 5;

.1 ТХК - термопара хромель-копелевая, чувствительный элемент температуры, воспринимает изменение температуры в поз. РТ 6,2.2П282 - электро - преобразователь, служит для преобразования ТЭДС термопары в сигнал постоянного тока,

Ломиконт Л 112-1 - контроль, регистрация, сигнализация min и max температуры в поз. РТ 5,Позиция 3 - контролируется, регистрируется, сигнализируется, регулируется расход водорода подаваемого поз. ИП 3 изменением его подачи;

3.1     ДКН - диафрагма типа ДКН, создает перепад давления пропорционально расходу,

3.2     Сапфир 22ДД - электрический преобразователь расхода, преобразующий сигнал от диафрагмы в электросигнал,

.3       БПС - токовый преобразователь, служит для преобразования электросигнала от Сапфир 22ДД в стандартный электросигнал,

Ломиконт Л 112-1 - контроль, регистрация, регулирование, сигнализация min и max расхода водорода подаваемого в поз. ИП 3,Ломиконт Л 112-2 - контроль, регистрация, аварийная сигнализация, блокировка подачи этилена, хлороводорода, кислорода, водорода и пара

.4       ЭПП - электро - пневмопреобразователь, преобразует электросигнал в пневмосигнал,

МИМ - мембранно-пружинный исполнительный механизм, изменяет расход водорода подаваемого в поз. ИП 3,10.3 ЭПП - электро-пневмопреобразователь, преобразует электросигнал в пневмосигнал,

.4, 10.6, 10.8, 10.10 - электрозамок, блокирует подачу пара в испарители,

.5, 10.7, 10.9, 10.11 - пневмоотсекатель, блокирует подачи этилена, хлороводорода, кислорода, водорода,

Позиция 4 - контролируется, регистрируется, сигнализируется давление хлороводорода после поз ИП 2;

.1 Сапфир 22ДИ - электрический преобразователь давления, пропорционально преобразующий давление в электросигнал,

.2 БПС - токовый преобразователь, служит для преобразования электросигнала от Сапфир 22ДИ в стандартный электросигнал,

Ломиконт Л 112-1 - контроль, регистрация, сигнализация min и max давления хлороводорода после поз ИП 2;

Позиция 5 - контролируется, регистрируется, сигнализируется давление этилена после поз ИП 4;

Аналогично позиции 4,Позиция 6 - контролируется, регистрируется, сигнализируется, регулируется расход этилена после поз. ИП 4;

Аналогично позиции 3,Позиция 7 - контролируется, регистрируется, сигнализируется, регулируется расход кислорода после поз. ИП 1;

Аналогично позиции 3,Позиция 8 - контролируется, регистрируется, сигнализируется, регулируется расход хлороводорода после поз. ИП 2;

Аналогично позиции 3,Позиция 9 - контролируется, регистрируется, сигнализируется давление верхней части поз. РТ 6;

Аналогично позиции 4,Позиция 10 - контролируется, регистрируется, сигнализируется температура под тарелкой поз. РТ 6;

.1 ТХК - термопара хромель-копелевая, чувствительный элемент температуры, воспринимает под тарелкой поз. РТ 6;

10.2   П282 - электро - преобразователь, служит для преобразования ТЭДС термопары в сигнал постоянного тока,

Ломиконт Л - 112-1 - контроль, регистрация, сигнализация min и max температуры под тарелкой поз. РТ 6;

Ломиконт Л 112-2 - контроль, регистрация, аварийная сигнализация, блокировка подачи этилена, хлороводорода, кислорода, водорода и пара,

.3 ЭПП - электро - пневмопреобразователь, преобразует электросигнал в пневмосигнал,

.4, 10.6, 10.8, 10.10 - электрозамок, блокирует подачу пара в испарители,

.5, 10.7, 10.9, 10.11 - пневмоотсекатель, блокирует подачи этилена, хлороводорода, кислорода, водорода,

Позиция 11 - контролируется, регистрируется, сигнализируется, регулируется температура кислорода на трубопроводе после поз. ИП 1 регулированием подачи пара;

Аналогично позиции 1,Позиция 12 - контролируется, регистрируется, сигнализируется, регулируется температура водорода на трубопроводе после поз. ИП 3 регулированием подачи пара;

Аналогично позиции 1,Позиция 13 - контролируется, регистрируется, сигнализируется, регулируется температура этилена на трубопроводе после поз. ИП 4 регулированием подачи пара;

Аналогично позиции 1,Позиция 14 - контролируется, регистрируется, сигнализируется, давление кислорода перед поз ИП 1;

.1 Сапфир 22ДИ - электрический преобразователь давления, пропорционально преобразующий давление в электросигнал,

.2 БПС - токовый преобразователь, служит для преобразования электросигнала от Сапфир 22ДИ в стандартный электросигнал,

Позиция 15 - контролируется, регистрируется, сигнализируется уровень Kt в поз. РТ 6,15.1Сапфир 22ДД - электрический преобразователь уровня, пропорционально преобразующий уровень в электросигнал,

.2 БПС - токовый преобразователь, служит для преобразования электросигнала от Сапфир 22ДД в стандартный электросигнал,

Ломиконт Л 112-1 - контроль, регистрация, сигнализация min и max уровня Kt в поз. РТ 6,Позиция 16 - контролируется, регистрируется, сигнализируется давление смеси после поз. РТ 5

Аналогично позиции 4,Позиция 17 - контролируется, регистрируется, сигнализируется температура зоны реакции поз. РТ 6;

Аналогично позиции 2,Позиция 18 - контролируется, регистрируется, сигнализируется температура в различных точках поз. РТ 6;

Аналогично позиции 2,Позиция 19 - контролируется, регистрируется, сигнализируется, регулируется и блокируется двигатель насоса поз. Н 22 по min уровню конденсата в поз. Е 11;

.1 Сапфир 22ДД - электрический преобразователь уровня, пропорционально преобразующий уровень в электросигнал,

.2 БПС - токовый преобразователь, служит для преобразования электросигнала от Сапфир 22ДД в стандартный электросигнал,

Ломиконт Л 112-1 - контроль, регистрация, регулирование, сигнализация min и max уровня смеси в поз. Е 11

Ломиконт Л 112-2 - контроль, регистрация, аварийная сигнализация, блокировка двигателя насоса поз. Н 22 по min уровню конденсата в поз. Е 11;

.3 ЭПП - электро - пневмопреобразователь, преобразует электросигнал в пневмосигнал,

.4 ЭКМ - электро контактный манометр

.5 ПМЭ - пускатель магнитный, отключает электродвигатель насоса,

Позиция 20 - контролируется, регистрируется, сигнализируется, регулируется уровень и блокируется двигатель насоса поз. Н 23 по min уровню смеси в поз. ДА 12;

Аналогично позиции 19,Позиция 21 - контролируется, регистрируется, сигнализируется расход смеси обессоленной воды и щелочи перед поз. КЛ 13

.1 ДКН - диафрагма типа ДКН, создает перепад давления пропорционально расходу,

.2 Сапфир 22ДД - электрический преобразователь расхода, преобразующий сигнал от диафрагмы в электросигнал,

.3 БПС - токовый преобразователь, служит для преобразования электросигнала от Сапфир 22ДД в стандартный электросигнал,

Ломиконт Л 112-1 - контроль, регистрация, сигнализация min и max расход смеси обессоленной воды и щелочи перед поз. КЛ 13

Позиция 22 - контролируется, регистрируется, сигнализируется, регулируется уровень смеси в поз. КЛ 13

.1 Сапфир 22ДД - электрический преобразователь уровня, пропорционально преобразующий уровень в электросигнал,

.2 БПС - токовый преобразователь, служит для преобразования электросигнала от Сапфир 22ДД в стандартный электросигнал,

Ломиконт Л 112-1 - контроль, регистрация, регулирование, сигнализация min и max уровня смеси в поз. КЛ 13

22.3   ЭПП - электро - пневмопреобразователь, преобразует электросигнал в пневмосигнал,

22.4   МИМ - мембранно - пружинный исполнительный механизм, изменяет расход смеси из поз. КЛ 13

Позиция 23 - контролируется, регистрируется, сигнализируется давление смеси этилена и циркуляционного газа перед поз. РТ 6;

Аналогично позиции 4,Позиция 24 - контролируется, регистрируется, сигнализируется, регулируется расход циркуляционного газа после поз. ИП 21;

Аналогично позиции 3,Позиция 25 - контролируется, регистрируется, сигнализируется, регулируется и блокируется двигатель насоса поз. Н 27 по min уровню смеси в поз. Е 20;

Аналогично позиции 19,Позиция 26 - контролируется, регистрируется, сигнализируется, регулируется блокируется двигатель компрессора поз. КМ 26 по max уровню в поз. Б 18

Аналогично позиции 19,Позиция 27 - контролируется, регистрируется, сигнализируется, регулируется и блокируются двигатели насосов поз. Н 24 и поз. Н 25 по min уровню смеси в поз. Е 16;

Аналогично позиции 19,Позиция 28 - контролируется, регистрируется, сигнализируется расход абгазов после поз. Е 17,Аналогично позиции 21,Позиция 29 - контролируется, регистрируется, сигнализируется объемная доля этилена перед поз. РТ 6;

.1ячейка термокондуметрического газоанализатора 5 F отбирает пробы этилена;

.25 F - анализатор объемной доли этилена;

Ломиконт Л 112-1 - контроль, регистрация, сигнализация min и max объемной доли этилена перед поз. РТ 6;

Позиция 30 - контролируется, регистрируется, сигнализируется объемная доля водорода после поз. РТ 5;

.1ячейка термокондуметрического газоанализатора 7C отбирает пробы водорода;

.27C - анализатор объемной доли водорода

Ломиконт Л 112-1 - контроль, регистрация, сигнализация max объемной доли водорода после поз. РТ 5;

Позиция 31 - контролируется, регистрируется, сигнализируется уровень pH после поз. КЛ 13

.1 Электроды pH - метра;

.2 П 215 pH - метр

Ломиконт Л 112-1 - контроль, регистрация, сигнализация max и min уровень pH после поз. КЛ 13.

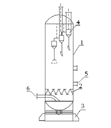
2.4 Устройство и принцип действия основного аппарата


Реактор окислительного хлорирования этилена в псевдоожиженном слое катализатора (РТ 6) предназначен для получения ДХЭ-сырца и представляет собой вертикальный цилиндрический аппарат со встроенным змеевиком с поверхностью теплообмена 680 м2 и трехступенчатым циклоном. В нижней части реактора расположена вогнутая распределительная тарелка с вваренными снизу патрубками для подачи циркуляционного газа в смеси с этиленом. Над распределительной тарелкой расположено распределительное устройство для подачи хлороводорода и кислорода из центральной трубы, от которой отходит 28 горизонтальных труб с опущенными вниз вертикальными патрубками. Реакционные газы проходят снизу вверх через слой катализатора. Внутри слоя катализатора помещен змеевик из 156 вертикальных труб высотой 12 400 мм, диаметром 114,3 мм.

Принцип действия. Этилен с кислородом может образовать взрывоопасные смеси. Чтобы исключить образование взрывоопасных смесей используется следующий порядок смешения сырья: кислород смешивается с хлороводородом и подается в распределитель реактора, этилен смешивается с циркуляционным газом и подается под распределительную “тарелку”, а затем смесь хлористого водорода с кислородом соединяются со смесью этилена и циркуляционного газа внутри реактора РТ 6. Снятие тепла осуществляется испарением котловой воды, которая подается внутрь змеевика. После слоя катализатора прореагировавшая смесь газов проходит сепаратное устройство (где проходит выделение катализатора), далее трехступенчатый центробежный циклон в верхней части РТ 6.

Размеры аппарата:

Внутренний объем, м3 240

Высота реактора, мм 31190

Поверхность теплообмена, м2 680

Габаритные размеры, мм 31190*4200*4200

Диаметр реактора, мм 4200

/3, с.42-49/

 

Устройство основного аппарата

1 - корпус, 2 - распределительная тарелка, 3 - опора, 4 - циклон, 5 - штуцер для подачи смеси кислорода с хлороводородом, 6 - штуцер для подачи смеси этилена с циркуляционным газом.

Рисунок 1 - эскиз реактора оксихлорирования этилена РТ 6.

/3, с.44/

2.5 Вспомогательное оборудование


Таблица 5. Характеристика и графическое изображение вспомогательного оборудования.

Номер позиции и наименование оборудования

Кол-во

Графическое изображение оборудования

Назначение и характеристика оборудования

1

2

3

4

Поз. Е-103-паровой котел     Поз. Е-105-фазоразделитель  Поз. Е-116-емкость ДХЭ   Поз. Е-127-буфер   Поз. С-115-циклон     Поз. Е-104-отделитель ДХЭ

1      1   1    1   1     1


Вертикальный цилиндрический аппарат. Для циркуляции котловой воды через змеевик реактора поз. Р-102 и получения пара с Р=0,5 МПа (5 кгс/с). Вместимость 12,5м3. Для разделения жидкой фазы и циркуляционного газа. Вместимость-10м3. Для щелочной отмывки ДХЭ от хлораля и разделения на водный и слой ДХЭ-сырца. Вместимость-16м3. Для защиты компрессора М-118А, Б от попадания жидкости. Вместимость-1,6м3. Для улавливания катализаторной пыли. Подача-676нм3/ч. Горизонтальный цилиндрический аппарат. Для разделения жидкой фазы после конденсатора Т-103А, Б на ДХЭ и воду. Совмещенный аппарат, состоящий из вертикального сепаратора, установленного на горизонтальном цилиндрическом разделителе.

Поз. Е-116-емкость ДХЭ  Поз. С-108-деаэратор    Поз. Т-101-подогреватель (Т-102) Поз. Т-103А (Т-103Б) (кожух-титан ВТ1-0-8, трубки-титанВТ1-0)          Поз. Т-104 - конденсатор (сталь 16ГС-корпус, 08Х22Н6Т-трубки) Поз. Т-114 (Т-119) - теплообменник

1   1    2   2            1    2


Вместимость горизонтальной емкости 16м3, вертикальной-7,2м3. Для щелочной отмывки ДХЭ от хлораля и разделения на водный слой и слой ДХЭ-сырца. Вместимость-16м3. Для удаления кислорода и углекислого газа из питательной воды. Горизонтальный цилиндрический аппарат с деаэрационной колонкой вместимостью 25м3. Объем деаэрационной колонки 3,2м3. Горизонтальный кожухотрубчатый теплообменник. Для подогрева хлороводорода (этилена). Теплообменник с U - образными трубками и двойной трубной решеткой. Поверхность ТО=49,5м2 (15м2).    Поверхность ТО=462м2 Поверхность ТО=74 м2. Поверхность ТО=15м2

Поз. Т-117-теплообменник (сталь ВСТ3СП5) Поз. Н-101А, Б - насос     Поз. Н-102А, Б - насос    Поз. Н-103А, Б - насос    Поз. Н-122А, Б - насос    Поз. Н-109А, Б - насос    Поз. Х-109-эжектор

1   2    2    2    2    2     1


Поверхность ТО = 62 м2. Электронасос (ЭН) центробежный.  Для подачи котловой воды в паровой котел Е-103. ЭН секционный, герметичный типа ЦНСТ-38-220. Подача-38м3/ч. Напор-220м. в. ст. Для циркуляции котловой воды в Р-102. ЭН нефтяной типа ТКА 210/80 - Г2С50У3. Подача-156м3/ч. Напор - 54,5 м. в. ст. Для подачи закалочной воды. ЭН химический типа АХО-50-32-200К1-СДУ2. Подача-12,5м3/ч. Напор - 50 м. в. ст. Для откачки ДХЭ из Е-104 в Е-116. ЭН химический типа АХО-50-32-200К1СДУ2. Подача-25м3/ч. Напор-50м. в. ст. Для циркуляции ДХЭ и воды в емкости Е-116. ЭН химический типа ХЕ-65-50-16ОТ. Подача-25м3/ч. Напор-32м. в. ст. Для создания вакуума в сборнике катализатора Е-107.

Поз. Х-112А, Б-сопло смесительное

2


Для смешения сточной щелочной воды с ДХЭ-сырцом и раствором щелочи перед Е-116.

Поз. М-118 А, Б - компрессор циркуляционного газа

2


Для сжатия циркуляционного газа. Турбокомпрессор с подачей 15000нм3/ч с электродвигателем во взрывозащищенном исполнении.



2.6 Пуск и остановка основного оборудования


Любая неисправность оборудования подлежит регулировки или ремонту. Ремонт осуществляется после остановки аппарата.

Остановка реактора оксихлорирования позиции РТ 6.

)        прекратить подачу в реактор этилена, закрыв клапан позиции FRCA-103, запорную арматуру на клапан сборке позиции FRCA-103, отсечные клапана позиции F-103 Д1, позиции F-103 Д 2 и открыв отсечной клапан позиции F-103 Д 3.

2)      Закрыть подачу пара в подогревателе позиции ИП 4.

)        Прекратить подачу в реактор НСl, закрыв клапан позиции FRCSA-102, запор-арматуру на клапанной сборке позиции FRCSA-102, отсечной клапан позиции NV-101, отсечной позиции F-102Д,

)        Закрыть подачу пара в подогреватель позиции ИП 2.

)        Прекратить подачу в реактор О2 закрыв клапана позиции PRCA-026 и FRCA-1116.

)        Подать азот в распределитель О2 и HCI.

)        Закрыть подачу пара в подогреватель позиции ИП 1.

)        Открыть отсечной клапан позиции HV-101 на трубопроводе сбора абгазов на свечу после фазоразделителя позиции Е17, прекратив подачу абгазов на сжигание.

)        Отключить газоанализаторы позиции QRA-104,QRCSA-111, QRCA-110, QRA-112, QRA-113.

)        При снижении температуры в реакционной зоне реактора позиции РТ 6 до 180-1850С закрыть клапан регулирования давления позиции PRCA-133 в паровом котле позиции Е 16 и набрать давление в паровом котле 1,2-1,3 МПа подачей пара высокого давления.

)        Температуру в реакционной зоне позиции РТ 6 поддерживается в пределах 180-1850С, расход циркуляционного газа не снижать.

)        При повышении уровня конденсата в паровом котле позиции Е 16 производительность слив конденсата в емкость позиции Е 30 А, Б или в систему обратной оборотной воды через холодильник позиции ХК 31.

)        Прекратить прием парового конденсата из теплопункта в деаэратор позиции ДА 12, закрыв клапан позиции LRCSA-105.

)        В теплое время года остановить насос позиции H 23.

Порядок пуска оборудования.

1)      Пуск оборудования после ремонта, связанного с остановкой цеха, а также пуск в работу основного оборудования должен производиться по письменному распоряжению начальника цеха или его заместителя.

2)      Пуск стадии оксихлорирования этилена после ее остановки на ремонт должен производиться в следующем порядке:

2.1 Проверить правильность сборки по действующей технологической схеме, целостность смотровых стекол, уровнемеров, коммуникаций, наличие, исправность и работу запорной арматуры.

.2 Демонтировать ранее установленные заглушки, продуть систему азотом. Выявление в процессе испытания дефекты устранить в строгом соответствии с правилами ведения ремонтных работ.

.3 Принять в цех пар, грунтовую воду, раствор едкого натра, умягченную воду, кислород, водород, ДХЭ - сырец, воздух КИП, воздух технологический, азот 8, 12, 50 кгс/см2.

.4 Зациркулировать оборотную воду через конденсаторы (позиции ХК 14 А, Б; ХК 14), хладагент через ТО позиции ХК 15; поставить на разогрев паром подогреватели позиции ИП 2, ИП 4, ИП 7, ИП 21, ИП 1, ИП 3.

.5 Открыть запорную арматуру на сбросе абгазов в атмосферу после фазоразделителя позиции Е17, на клапанной сборке клапана-регулятора давления позиции PRCA-190. Открыть запорную арматуру на выходе газов из позиции ХК 14 А, Б, на трубопроводе циркуляционного газа в реактор позиции РТ 6.

.6 Подать азот в смеситель хлористого водорода и кислорода

.7 Пустить компрессор позиции КМ 26, отрегулировать давление в системе конденсации в пределах 2,2-2,5 кгс/ см2 клапаном сбора абгазов из системы на свечу или в 16 цех, расход газа от компрессора позиции КМ 26-10000-13000 нм3/час

.8 Подать циркуляционный газ для продувки штуцеров и приборов КИП реактора позиции РТ 6, колонны позиции КЛ 13.

/3, с.100-102/

2.7 Права и обязанности аппаратчика


Аппаратчик должен знать:

Технологический процесс оксихлорирования этилена

Схему обслуживаемого участка

Устройство и принцип работы обслуживаемого оборудования

Схему использования арматуры и коммуникаций

Правила пользования контрольно - измерительных приборов

Технологический режим процесса окисления и правила его регулирования

Физико-химические и технологические свойства используемого сырья окислителей и готовой продукции

Государственные стандарты и технические условия на них.

Правила отбора проб

Методику проведения анализов и расчётов.

Аппаратчик обязан:

Проводить работы в соответствии с заданием, настоящей инструкцией и другими документами с соблюдением требований охраны труда, установленных законами и иными нормативными правовыми актами, а также правилами и инструкциями по охране и промышленной безопасности.

Проверить на своём рабочем месте до начала работы исправность оборудования приборов, средств защиты, устройств защитного заземления, ограждения, наличие средств пожаротушения.

Содержать в чистоте рабочее место и оборудование. Работать с применением требуемых средств индивидуальной и коллективной защиты, приспособлений, спецодежды и спецобуви. Своевременно проходить обучение безопасным методам и приемам выполнения работ по охране труда, оказанию первой помощи при несчастных случаях на производстве, инструктаж по охране труда, стажировку на рабочем месте, проверку знаний требований охраны труда. Проходить подготовку и аттестацию в области промышленной безопасности.

Немедленно извещать своего непосредственного или вышестоящего руководителя о любой ситуации, угрожающей жизни и здоровью людей, в том числе, об аварии, или инциденте на опасном производственном объекте, о каждом несчастном случае, происшедшем на производстве, или об ухудшении состояния своего здоровья, о проявленных признаках острого профессионального заболевания (отравления).

Не допускать нахождения посторонних лиц на своем рабочем месте.

Также аппаратчик обязан до начала работы:

принять лечебно-профилактическое питание

переодеться в спецодежду, спецобувь, надеть каску, проверить состояние и исправность противогаза и защитных очков

доложить о своем приходе на работу начальнику или мастеру смены.

Аппаратчик имеет право:

при обеспечении технологического режима, на время для отдыха и личных надобностей, продолжительностью 10-15 мин., но не более 2-х раз в смену, с предупреждением начальника (мастера) смены.

/3, с.104/

3. Охрана труда и противопожарная защита


3.1 Характеристика техники безопасности


Применяемые в производстве ВХ сырье и материалы обладают высоким удельным электрическим сопротивлением. При их транспортировке по трубопроводам, подаче в аппараты могут появляться и накапливаться заряды статического электричества и возникать искровые разряды. Для предупреждения опасностей связанных с разрядами статического электричества, необходимо строго выполнять следующие требования: отвод зарядов должен производиться путем заземления оборудования и коммуникаций, обслуживающий персонал должен носить электропроводную обувь и антистатическую спецодежду.

Для защиты от поражения электрическим током применяются изолирующие средства защиты (они рассчитаны на определенное рабочее напряжение и применяются только специально обученными людьми, т.е. электриками), средства индивидуальной защиты (защитные очки и щитки с цветными светофильтрами, диэлектрические перчатки), средства коллективной защиты (оградительные устройства, изолирующие устройства и покрытия, предупредительные надписи, система заземления).

Заземление - это преднамеренное соединение с землей металлических частей оборудования, которые не находятся под напряжением в обычных условиях, но могут оказаться под ним в результате нарушения изоляции электроустановки. В систему заземления входят следующие элементы: заземлительное оборудование, соединительные шины, внутренний контур заземления, токоотводы, внешний контур заземления и заземлители. Все заземляющееся оборудование с помощью шин соединяется с внутренним контуром заземления. Внутренний контур выполняется из полосовой стали определенного сечения и проходит по периметру производственного помещения на определенной высоте. Внешний контур проложен по периметру производственного помещения в земле на определенной глубине, он соединяет между собой заземлители. Внутренний и внешний контуры соединены между собой токоотводами. Все элементы, входящие в систему заземления соединяются между собой при помощи сварки.

Молниезащита - комплекс защитных устройств для предупреждения и нейтрализации опасных проявлений атмосферного электричества, которое может стать причиной загорания производственных объектов. Для защиты от прямого удара применяют молниеотводы, которые состоят из 3частей:

) молниеприемник - металлический стержень, закрепленный над защищаемым объектом.

) токоотвод - проводник, соединяющий молниеприемник и заземлитель.

) заземлитель - устройство, позволяющее отвести ток в землю.

Молниеотводы выполняются в виде отдельно стоящих конструкций или их ставят в самые высокие защищаемого объекта. Каждый молниеотвод имеет определенную защитную зону, размеры которой зависят от высоты молниеотвода.

/5, с.58/

3.2 Производственная санитария


Таблица 6. Токсические свойства используемых в производстве веществ, их ПДК и средства индивидуальной защиты.

Вещество

ПДК

Класс опасности

Средства индивидуальной защиты

Токсические свойства вещества

1

2

3

4

5

ВХ C2H3CI

5мг/м3

1

Противогаз марки ФГП-130БКФ

Токсическое воздействие на организм с характерным комплексом симптомов: нарушение центральной нервной системы, развитие опухолей.

ДХЭ C2H4CI2

10мг/м3

2

Противогаз марки ФГП-130БКФ, резиновые перчатки

Наркотик, вызывает дистрофические изменения в печени, почках, помутнение роговицы в результате резорбтивного действия.

хлороводород HCI

5мг/м3

2

Фильтрующий противогаз ФГП-130БКФ

Раздражает слизистые оболочки глаз, верхних дыхательных путей, вызывая удушье, кашель, дерматиты.

Этилен C2H4

300 мг/м3

3

Изолирующий противогаз АСБ-2

Токсичен.

NaOH Жидкий

0,5мг/м3

2

ФГП-130БКФ, костюм из х/б ткани, резиновые сапоги, перчатки, защитные очки

Вызывает тяжелые химические ожоги, при длительном воздействии вызывает язвы и экземы, приводит к потере зрения.

Этилен-гликоль C2H6O2

10мг/м3


Противогаз марки ФГП-130БКФ

Токсичен, действует как яд, вызывает отек сосудов, действует на центральную нервную систему и почки.

Катализатор оксихлорирования (порошок окиси Al, пропитанный хлоридом меди)

6мг/м3 (по Al2О3)


Респиратор “Лепесток”, резиновые сапоги, перчатки, защитные очки

Вдыхание пыли вызывает поражение легких, влажный катализатор при попадании на кожу-отеки.

Масло индустриальное И-20А (И-40А)

5мг/м3 Р. з.

3

Резиновые перчатки

Оказывает вредное воздействие на кожу.


/3, с.75/

3.3 Основы пожарной безопасности


Для избежания аварийных ситуаций необходимо знать следующее:

Таблица 7. Категория помещения по пожаро- и взрывоопасности, класс помещения по ПУЭ

Наименование отделения, продукта, сырья.

Категория пожаровзры-воопасного производства

Класс помещения по ПУЭ

Катег-ия и группа взрывооп. смесей

Температура воспламенения





вспышки

Восплам

самовосплам

Ниж. предел

Вер. предел

Отделение: Оксихлорирования этилена ДХЭ ВХ (сжиж. газ) этилен катализатор Масло индустриаль-ное Промеж. склад ДХЭ (К.1346)

Негор.

В-1Г  В-1Г

ПА-Т1 (ДХЭ, ВХ) ПВ-Т2 (этилен) Т1-1 Т1-3 ПА-Т1

9 43 190

8-31

413 472 540 355

6,2 3,6 3 145

10 33 34 190


При возникновении пожаров используют огнетушитель ОПУ-5 (огнетушитель порошковый унифицированный) и ОХП-10 (огнетушитель химический пенный). В качестве огнетушащих веществ в ОПУ-5 применяют твердые вещества в виде специальных порошков. Огнетушащее действие заключается в том, что они своей массой изолируют зону горения от горючего вещества, покрывая его образующейся при их плавлении пленкой. В огнетушителе ОХП-10 огнетушащим веществом является пена, в состав которой входит вода. Пена растекается по горящей поверхности и препятствует поступлению паров в зону горения. Химическая пена образуется из специальных порошков, в состав которой входят соли кислот и вещества щелочного характера. В составе порошка присутствуют также пенообразователь, чаще всего это хозяйственное мыло. При растворении в воде порошки реагируют между собой с образованием углекислого газа, который и образует пену.

Также в качестве огнетушащих веществ применяют воду, песок, сухую землю, кошму, асбестовое полотно, инертные газы (азот, диоксид углерода).

При возникновении пожаров больших площадей используется автоматизированная система пожаротушения (АСП). Вода подается в зону горения с помощью пожарных гидрантов, колонок, лафетных установок. Эти устройства используются военизированным пожарным подразделением.

/4, с.522-524/

3.4 Основы безопасности при ведении процесса


При обеспечении безопасного ведения процесса необходимо соблюдать следующие правила:

) Технологический процесс должен вестись в соответствии с требованиями настоящего регламента и рабочих инструкций.

) Весь обслуживающий персонал должен быть обучен и аттестован на допуск к самостоятельной работе.

) Необходимо своевременно производить ремонт, чистку и испытание оборудования, арматуры и трубопроводов в соответствии с утвержденным графиком плановых ремонтов.

) Каждый работающий, приступая к работе, должен надеть спецодежду и иметь индивидуальные защитные средства.

) На проведение всех видов огневых работ должен оформляться наряд-допуск.

) Вся аппаратура и коммуникации должны быть герметичны и окрашены в соответствующий цвет.

) Курение на территории производства и в производственных помещениях не допускаются. Курить разрешается в специально отведенных помещениях

) Перед проведением работы внутри аппарата рабочие должны быть проинструктированы по правилам безопасного проведения работ и методам оказания первой медицинской помощи пострадавшим.

) Все движущиеся и вращающиеся механизмы должны иметь надежные ограждения. Снимать ограждения для ремонта оборудования разрешается только после полной остановки механизмов.

) Все оборудование, коммуникации, арматура КИП и А должны быть герметичны. Малейшие пропуски газа и течи жидкости должны немедленно устраняться.

) Люки, колодцы, ямы, расположенные на территории производства должны быть закрыты. Временно открытые люки, ямы, колодцы должны иметь временные ограждения высотой не менее 0,9 м, включая высоту выступающих над землей стенок.

/4, с.609-611/

4. Охрана окружающей среды


4.1 Характеристика места расположения объекта


Производство ВХ размещается в северной части ОАО ”Каустик”. Рельеф местности размещаемого производства ровный. Ветровой режим формируется под влиянием циркуляционных факторов и местных физико-географических особенностей. В городе Стерлитамаке преобладают южные и юго-западные ветра. Средняя скорость ветра колеблется от 2,4 до 3,5 м/с. Стерлитамак расположен во 2-ом районе по потенциалу загрязнения атмосферы. Санитарная защитная зона (СЗЗ) - 1000м.

Таблица 8 - Метеорологические характеристики и коэффициент определения условий рассеивания загрязняющих веществ.

Наименование

Величина

Коэффициент рельефа местности Средняя температура, оС жаркого месяца холодного месяца Средняя роза ветров, % Север Юг Восток Северо-восток Юго-восток Запад Юго-запад Северо-восток Скорость ветра, м/с Коэффициент А

1 26 19,3 18 30 3 6 5 8 20 10 10 160


/4, с.10/

Эскиз места расположения цеха № 29

4.2 Источники образования отходов, выбросов, стоков


Таблица 9 - Состав, количество газовых выбросов

Наименование источников и их состав

Объём выбросов, м3

Фактическое содержание компонентов, мг/м3

ПДК, мг/м3

Количество веществ





 кг/ч

 т/год

Абгазы (водород, метан, азот, этилен, хлорорганика) от емкости поз. Е-104 (ст.100)

2,3

93

6

290,3

105,9


Таблица 10 - Состав и количество сточных вод

Наименование источников и их состав

Объём выбросов, м3

Фактическое содержание компонентов, мг/м3

ПДК, мг/м3

Количество веществ





 кг/ч

 т/год

Сточные воды (содержит окись алюминия, натрия, ДХЭ) из емкости поз. Е-109 Сточная вода (содержит ДХЭ, соли натрия, механические примеси) от аппаратов поз. Н-103, 104, 109, 110, 114, 117, 118, 122, Е-116, 117

34,1 38

0,02 0,018

0,01 0,01

1,4 1,48

12,3 12,9


Таблица 11 - Состав и количество твердых и жидких отходов

Наименование источников и их состав

Количество веществ


кг/ч

кг/год

т/год

ЛК продукты стадии обезвоживания ДХЭ-сырца Отработанный катализатор

299 0,06

109144,1 513

109,1 0,5


/4, с.517-526/

4.3 Существующие методы очистки и утилизации отходов


На предприятии производства ВХ существуют следующие мероприятия для очистки загрязненного воздуха и сточных вод:

воздух, загрязненный пылью катализатора, ВХ, вспомогательного материала и сырья, после сборников, бачков и промежуточных емкостей, направляется на очистку с помощью рукавных циклонных фильтров до содержания пыли 15 мг/м3.

абгазы, содержащие водород, кислород, метан, азот, этилен, идут на “свечу”, т.е. на сжигание.

все сточные воды, содержащие примеси ДХЭ, хлороводорода, этилена и органических примесей поступают в корпус 4030 на установку локальной очистки. Из корпуса 4030 сточные частично очищенные воды поступают в канализацию органически загрязненных стоков.

Основными твердыми отходами производства являются отработанный катализатор и шлам, выделенный из сточных вод. Эти отходы загружаются в мешки и подлежат захоронению. Шлам также используют для дорожного строительства.

Легкокипящие продукты отправляются в 7 и 21 цех для последующего использования как добавка к растворителю.

/4, с.540/

5. Экономическая часть


5.1 Перечень основного технологического оборудования


Производственная мощность цеха № 29 - 135 тысяч тонн винилхлорида

Фактический годовой выпуск продукта за тот же год - 166,883 тысяч тонн

Оптовая цена 1 тонны готового продукта - 14 тысяч рублей

Таблица 12. Сметная стоимость зданий и сооружений


инв. №

Наименование

Первоначальная стоимость, руб.

А

0016045

Корпус 1346

2288279,05

А

0016046

Корпус 1345 а, б

10680438,96

А

0016047

Корпус 1345 (печь пиролиза)

96459262,21

А

001648

Корпус 4030

5186909,30

А

0016049

Корпус 1349

4230090,95

А

0016050

Корпус 1360

827375,90

А

0016051

Корпус 1347

3390721,64

А

0027124

Корпус 43

287366,40


 Итого


113738957,41


Таблица 13. Перечень основного технологического оборудования

№ п/п

№ позиции

Наименование оборудования краткая характеристика

Ресурс между ремонтам и простой в ремонте, ч

Первоначальная стоимость, руб.

1

2

3

4

5

1                Р-102 А, Б             Реактор оксихлорирования, V = 240 м, Н = 31190 мм, Т = 240, Т = 190 С, D = 4200 мм, Р = 6 кгс/см, Р = 15 кгс/см, ДХЭ, хлористый водород, этилен, водород, кислород КР 43200/600

ТР 8640/360 (А) 1762436,30

(Б) 27438991,57



2                М-118 А, Б           Компрессор центробежный, ГЦ 86/3,0-7,1, Q = 86,6 м / мин, Р = 6,98 кгс/см, N = 630 кВт, циркуляционный газКР 4000/512

ТР 8000/961728 483,91



3                К-101 А, Б             Колонна тарельчатая, D = 2600 мм, Н = 15000 мм, V = 62 м, Р = 4 кгс/см, Т = 110 С, хлористый водород, ДХЭ, водаКР 69120/168

ТР 8460/72308350,00



4                Т - 101   Теплообменник типа “ труба в трубе “, L = 5600 мм, F = 21,5 м, Р = 121,70 кгс/см, Т = 195/170 С, конденсат / НСlКР 69120/120

ТР 8640/72

23525,00



13              Е - 105    Емкость, D = 2000 мм, Н = 4050 мм, V = 10 м, Т =15 С, Р =3,5 кгс/см, циркуляционный газ, ДХЭКР 69120/158

ТР 8640/120381350,00



14              Е - 114    Емкость, D = 2000 мм, L = 5900 м, V = 16 м, Р = 1 атм, Т = 60,20 % щелочьКР 69120/120

ТР 8640/7279750,00



15              Е - 127    Емкость, D = 1000 мм, Н = 3110 мм, V = 1,6 м, Т = 15 С, ДХЭ, абгазыКР 69120/120

ТР 8640/4813275,00



16              С - 108    Сборник, D = 1000 мм, L = 7147 мм, V = 28,2 м, Т = 50 С, вода, пар, конденсатКР 69120/168



17              Е - 301    Емкость, D = 1800 мм, L = 6650 мм, V =16 м, Р = 0,5 кгс/см, ДХЭ, абгазы, водаКР 69120/16

ТР 8640/7267650,00



18

Е - 401

Емкость, D = 2400 мм, L = 5900 мм, V = 25 м, Р = 0,4 кгс/см, Т = 90 С, ДХЭ, ЛККР 69120/16 ТР 8640/7212025,00



19              Е - 402 А, Б           Емкость, D = 2000 мм, L = 4200 мм, V = 16 м, Р = 0,3 кгс/см, Т = 86С, ДХЭКР 69120/120

ТР 8640/4858610,00



20              К-501      Колонна тарельчатая, D = 2200 мм, Н = 15000 мм, V = 36 м, Р = 23 кгс/см, Т = 200 С, ДХЭ, ВХ, НСlКР 69120/120

ТР 8640/1681126150,00



21              Р - 101    Печь пиролиза ДХЭ, Р = 37 кгс/см, Т = 520С, ДХЭ, ВХ, НСl, степень конверсии 50 %КР 24000|/720

ТР 8640/369537563,55



22              Т - 503    Теплообменник, D = 600 мм, L = 6995 мм, F = 101 м, Р = 14,5/23 кгс/см, Т = 50С,

НСl КР 69120/120 ТР 8640/72267315,69



 

23

Е - 502

Емкость, D = 2000 мм, L = 5745 мм, V = 16 м, Р = 21,5 кгс/см, Т = 30 С, ВХ, НСlКР 69120/168 ТР 8640/1201472150,00



24

Е - 504

Емкость, D = 3000 мм, Н = 17315 мм, V = 100 м, Р = 14,5 кгс/см, Т = 20 С, НСlКР 69120/158 ТР 8640/120474350,00



25

К - 601

Колонна тарельчатая, D = 1200 мм, Н = 36000 мм, V = 38 м, Р = 14 кгс/см, ДХЭ, НСl, ВХКР 69120/158 ТР 8640/120602550,00



26

К - 601

Колонна тарельчатая, D = 2000 мм, Н = 46000 мм, V = 153 м, Р = 6,0 кгс/см, Т = 164С, ДХЭ, ВХКР 69120/288 ТР 8640/1441686150,00



27

К - 110

Колонна тарельчатая, D = 3000 мм, Н = 35000 мм, V = 125 м, Р = атм, щелочь, стокиКР 69120/168 ТР 8640/48383486,00



28

Т - 601

Теплообменник, D = 1600 мм, L = 8575 мм, F = 300 м, Р = 1,1/14 кгс/см, Т = - 33/- 29 С, фреон / НСl КР 69120/120 ТР 8640/72182962,50



29

Е - 8

Емкость, D = 1600 мм, Н = 5485 мм, V = 8 м, Р = 3,5/5,5 кгс/см, Т = 35/70С, фреон КР 69120/168 ТР 8640/72208312,50



30

Т - 110

Теплообменник, D = 1000 мм, L = 4225 мм, F = 172 м, Р = 3,5/5,5 кгс/см, вода / щелочьКР 69120/158 ТР 8640/1201037675,00



31

Е - 601

Емкость, D = 3200 мм, L = 9000 мм, V = 63 м, Р = 14 кгс/см, Т = - 31С, НСl КР 69120/120 ТР 8640/7256675,00



32

Е - 602

Емкость, D = 2200 мм, L = 5550 мм, V = 20 м, Р = 6 кгс/см, Т = 40С, ВХКР 69120/168 ТР 8640/12083150,00



33              Е - 500 А, Б           Емкость, D = 1200 мм, L = 3760 мм, V = 3,2 м, Р = 23 кгс/см, Т = 85С, ДХЭ, НСl, ВХ КР 69120/120

ТР 8640/72206145,30





Не нашли материал для своей работы?
Поможем написать уникальную работу
Без плагиата!
Без нейросетей!