Вакуумная плазменная технология высоких энергий
Вакуумная плазменная
технология высоких энергий
Содержание
Введение
1.
Вакуумная
плазменная
технология
высоких
энергий
2.
Time and spatially resolved studies of an kHz-excited atmospheric pressure
plasma jet for industrial applications
2.1
Основные положения
2.2
Общие наблюдения
2.2
.1 Динамический реактивный поток
2.2.2
Процессы распространения в реактивной зоне
2.3
ICCD наблюдения
2.4
Электрические исследования
2.5
Реактивный поток в атмосфере гелия
2.6
APPJ для смещения
Заключение
Список
использованных источников
Введение
В настоящее время
вакуумная плазменная технология высоких энергий (ВПТВЭ) модифицирования
поверхности изделий и получения специальных покрытий из высокоионизированных
потоков "металлической" плазмы в атмосфере реакционных газов нашла
достаточно широкое применение во всех экономически развитых странах мира
благодаря пионерским работам ученых СССР, выполненных в середине 70-х годов в
области создания электродуговых генераторов и ускорителей таких потоков [1].
Работа этих устройств
основана на использовании так называемой "вакуумной" дуги катодной
формы, горящей в продуктах эрозии интегрально холодного катода и формирующей
плазменные потоки, состоящие из атомов, ионов и микрокапель материала катода [2].
При этом принципиально новым было то, что в компактном низковольтном вакуумном
устройстве удалось получить интенсивные плазменные потоки металла с расходом
массы dm/dt=/iJ ((/х=0,4 ... 1,5)-10"7 кг/К - коэффициент электроэрозии
катода, J -ток дуги), содержащие (30 ... 80)% ионов различной кратности
ионизации со средней кинетической энергией (30 ... 150) эВ. Поэтому технические
характеристики первых же образцов электродуговых ускорителей, получивших
название "Пуск" по первым буквам словосочетания "плазменный ускоритель"
(разработчик МВТУ им. Баумана), и электродуговых генераторов, получивших
название "Булат" (разработчик Харьковский физико-технический
институт), были принципиально не достижимы на разрабатываемых в тот период на
западе устройствах, работающих на газовых разрядах.
Разработка плазменных
генераторов и плазменных ускорителей для технологии обработки поверхности
изделий машиностроения базировалось на использовании результатов, полученных
при создании электрореактивных ускорителей двигателей космических аппаратов,
электродуговых аппаратов разделения изотопов и получения особо чистых
материалов для атомной промышленности, электродуговых гетерных вакуумных
насосов и вакуумных электродуговых переключателей электрических токов большой
величины [1-3].
Достигнутые к концу 70-х
годов технические показатели оборудования для вакуумной плазменной технологии
высоких энергий, а также высокая адгезионная прочность покрытий и открытый
эффект получения покрытия из нитрида титана при температурах существенно более
низких (300 ... 400 °С), чем температуры, вытекающие из законов равновесной
химической термодинамики (800 ... 1000 °С) и предопределили интенсивное
развитие этой технологии.
1. Вакуумная
плазменная технология высоких энергий
Известная установка для
вакуумного ионно-плазменного нанесения покрытий, собранная на базе вакуумного
поста установки распыления материалов (УРМ 3.279.029) с электродуговым
принципом генерации плазмы металлов в вакуумной дуге катодной формы и
холловским ускорением плазменных потоков (так называемый холловский торцевой
ускоритель металлической плазмы) была модернизирована. И на основании этой
модернизации был создан торцевой холловский ускоритель с названием
"Пуск-КуАИ" (рисунок 1.1) По сравнению с известными схемами торцевого
холловского ускорителя изменено геометрическое взаимоположение торцевой
поверхности катода, соленоида и анода ускорителя. Профиль внутренней
поверхности выходного сечения анода (сопла) максимально приближен к профилю
эквипотенциальной поверхности силовых линий магнитного поля в этом месте при
величине индукции магнитного поля (3,0 ... 4,5) мТл на оси соленоида около
катода. Изменены геометрические параметры катода и условия его охлаждения в
соответствии с расчетами по минимизации микрокапельной фазы. Введен дополнительный
анод, создающий эффект электростатической линзы для ионного потока, что
позволило реализовать три различных режима работы ускорителя. С целью снижения
температуры нитридообразования и повышения стабильности горения вакуумной дуги
на малых токах подача реакционного газа осуществлена через зону генерации и
ускорения металлической плазмы. Выходное сечение ускорителя укомплектовано
жалюзями и кольцевой заслонкой для улавливания микрокапельной фазы. Для
повышения эффективности и скорости ионного травления регулируемое напряжение
смещения доведено до 2,5 кВ и существенно улучшена система защиты
высоковольтного выпрямителя от возникновения или развития микродуговых привязок
на детали. Созданный ускоритель обеспечивает уменьшение микрокапельной фазы, по
сравнению с известными схемами более чем 2-4 раза и на (20 - 30 %) увеличивает
степень ионизации плазменного потока.
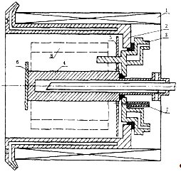
Рисунок 1.1 - Схема
плазменного ускорителя "Пуск-КуАИ": 1 - катод; 2 - анод; 3 -
соленоид; 4 - фланец крепления генератора к вакуумной камере; 5 -электрод
поджига дуги; б - система защиты от сброса дуги на боковую поверхность катода;
7 - канал подачи реакционных газов; 8 - дополнительный анод; 9 - съемный
кольцевой экран. Пунктиром проведены силовые линии электрического и магнитного
поля
В работах[4-6] приведены
результаты теоретических и экспериментальных исследований и выбраны диапазоны
технологических режимов, при которых образования соединений происходит на
поверхности конденсации в условиях эффективной динамической очистки поверхности
роста покрытия; приведен механизм образования нитридов переходных металлов в
результате диссоциативной хемосорбции азота путем образования ковалентных
связей с металлом по схеме
N N
N2(газ) → N2(адс.) →І
+ І
Ме Ме
И приведены
энергетические условия протекания такой реакции, обеспечивающие достаточные
условия образования соединения стехиометрического состава; приведены условия
обеспечения высокой адгезионной прочности покрытия; приведены аналитическое
соотношение связывающие параметр шероховатости Ra с толщиной наращиваемого
покрытия в рамках теории флуктуации термодинамических величин в адсорбционном
слое.
В работе [7] приведены
результаты исследования свойств покрытий из титана, циркония, хрома, алюминия,
молибдена и их нитридов и карбидов, а также покрытий из никеля и
алмазоподобного углерода, исследованы их микроструктура, триботехнические
характеристики, микротвердость, модули упругости, адгезионная и когезионная
прочность покрытий, а также остаточные напряжения в них. Предложена гипотеза о
механизмах самопроизвольного разрушения покрытий как на стадии роста, так и
последующего остывания системы покрытие-основа, которая была доказана
экспериментально и созданной математической моделью расчета остаточных и
временных напряжений, возникающих при наращивании покрытий [8,9]. В работе [10]
приведены математические модели расчета температур в телах с изменяемой
геометрией применительно к наращиванию покрытий и аналитические методы решения
таких краевых задач для двухслойных систем с подвижными границами. На основании
результатов испытаний на схватывание материалов в вакууме выдвинута и на
рассмотренном классе соединений подтверждена гипотеза о том, что соединения,
имеющие конденсатный характер диссоциации в твердой фазе и, следовательно,
обогащающие поверхность трения металлической компонентой, обладают большими
коэффициентами адгезионного схватывания по сравнению с соединениями, имеющими
газообразный характер диссоциации. Показано, что недефицитными и недорогими
соединениями с газообразным характером диссоциации и перспективными для
износостойких покрытий в вакууме являются нитриды и карбонитриды титана и
циркония. В то время как моно- и двойные окислы, нитриды, карбиды, оксинитриды
и карбонитриды других металлов имеют конденсатный характер диссоциации, либо
дороги и дефицитны, либо нетехнологичны для получения износостойких покрытий.
Установлено, что коэффициент адгезионного схватывания в выбранных перспективных
покрытиях возрастает при их нестехиометрическом составе и наличии в них
микрокапельной фазы металла, а износостойкость зависит от микрогеометрии
поверхности основы, режимов ионного травления и остаточных напряжений в них.
Показано, что во многом этими же причинами определяется износостойкость этих
систем при их трении и в условиях ограниченной смазки (режущий инструмент,
высоконагруженные пары трения).
В работах установлено,
что оптимальные покрытия из нитридов и карбонитридов титана и циркония обладают
высокой износостойкостью (первый-второй класс износостойкости) при сухом трении
в вакууме, высокой стойкостью к общей и контактной коррозии и стабильным
значением коэффициента трения, который технологическим путем может быть изменен
от 0,08...0,12 (антифрикционные системы) до 0,18...0,26 (фрикционные системы).
При использовании таких покрытий в парах трения с твердыми смазочными
покрытиями слоистой структуры (типа дисульфида молибдена) и твердыми смазочными
покрытиями со связующими (типа смазок ВНИИ НП) коэффициент трения уменьшается
до 0,04...0,06 при незначительном изменении интенсивности изнашивания.
Исследование влияния покрытий на статическую и длительную прочность материала
основы показало, что основными факторами, влияющими на эти параметры, являются
температура конденсации и время ионного травления поверхности, при выборе
которых меньше характерных для данного материала основы значений, предел
текучести, прочность на растяжение и предел выносливости материала основы с
покрытием не уменьшаются и лежат в пределах допусков на эти материалы. В то же
время, величина дисперсии этих показателей уменьшается до 3,5 раз по сравнению
с образцами без покрытий, что существенно повышает вероятность безотказной
работы узлов трения с такими покрытиями [2].
Для нанесения покрытий на
внутреннюю поверхность малоразмерной цилиндрической полости необходимо
применять цилиндрический магнетрон, обладающий широкими функциональными
возможностями (рисунок 1.2).
Рисунок 1.2 - Схема
магнетронной цилиндрической системы. 1- соленоид, 2 - водоохлаждаемый корпус
камеры, 3 — анод, 4 — катод, 5 - защитный экран, б — отражатель электронов
разряда, 7 — канал подачи газа
Цилиндрический магнетрон
(рисунок 1.2) с диапазоном регулирования напряжения анод-катод +1,5кВ и током
разряда до 20А и возможностью работы в режиме прямого и обращенного магнетрона
может быть использован не только для нанесения покрытий, но и как
широкоапертурный источник высокоинтенсивного потока газовой плазмы при работе в
режиме аномального тлеющего разряда для процессов газового ионного травления
поверхностей и интенсификации процессов получения покрытий сложного состава при
работе совместно с плазменным ускорителем.
В работах [2,12] приведен
проект нового электродугового ускорителя совмещенной металлической и газовой
плазмы с магнитоэлектростатической ловушкой для электронов плазменного потока.
Физическая суть такого ускорителя определяется следующими обстоятельствами.
Замагниченные электроны плазменного потока проводят его доионизацию и сепарацию
микрокапельной фазы. Однако в существующих генераторах возможности по
увеличению плотности замагниченных электродов около катода ограничены
допустимым увеличением индукции магнитного поля, приводящим при значениях В
> 4,5 мТл к перегреву центральной области катода и росту микрокапельной фазы
из-за локализации катодного пятна вакуумной дуги в этой области. Однако,
увеличить плотность этих замагниченных электронов можно за счет создания
специальной магни-тоэлектростатической ловушки электронов, которая реализована
следующим образом (рисунок 1.3). Внутренняя поверхность охлаждаемого анода
выполнена таким образом, чтобы копировать поверхность силовых линий магнитного
поля, у которого величина индукции магнитного поля на оси около катода
составлял 3 - 3,5 мТл, а на оси около критического сечения сопла анода
составляла 10-14 мТл. При таком магнитном поле ионы плазменного потока являются
по-прежнему не замагниченными, а замагниченные электроны начинают совершать
осциллирующие движения отражаясь от сечения с максимальной величиной магнитного
поля (вероятность отражения в этих условиях достигает 0,5) и от отрицательного
катода. Уход же электронов на анод ограничен параллельностью поверхности анода
силовым линиям магнитного поля.
В этих условиях повышение
плотности электронов в зоне магнитной ловушки стало таким, что при подаче через
нее реакционного газа происходило зажигание интенсивного несамостоятельного
разряда в этой области, горящего в смеси газа и металлической плазмы. Это в
свою очередь приводило к дальнейшему росту плотности электронов. В результате
через критическое сечение анода истекал смешанный поток газовой и металлической
плазмы, который дополнительно ускорялся в зоне холловского ускорения
(расходящаяся часть сопла анода). В таком ускорителе было получено уменьшение
микрокапельной фазы более, чем в 20 раз даже по сравнению с ускорителем
"Пуск-КуАИ" при существенном росте степени ионизации потока и
кинетической энергии ионов.
Рисунок 1.3 - Схема
плазменного генератора с магнитной ловушкой электронов "Пуск-Мэл": 1
- катод; 2 - профилированный анод; 3.1 и 3.2 - соленоиды; 4 - фланец крепления
генератора к вакуумной камере; 5 - электрод поджига дуги; 7 - канал подачи
реакционных газов. Пунктиром проведены силовые
линии электрического и магнитного поля.
2. Time and
spatially resolved studies of an kHz-excited atmospheric pressure plasma jet
for industrial applications
2.1 Основные положения
APPJ - реактивный поток
плазмы атмосферного давления;
ICCD - усиленная зарядка
(нагрузка) соединительных устройств;
APGD - разгрузка жара
(температуры) при атмосферном давлении.
На протяжении последних
лет холодная (нетепловая) плазма атмосферного давления получила значительный
импульс в продвинутой обработке материалов. Корона и рассеивание
диэлектрического барьера - вот признаки производящей схемы «самой старой»
плазмы; а вообще при помощи молекулярных газов производят волокнистую
неравновесную плазму. Типичные параметры разгрузки – температуры газов от
нескольких десятков до 100
. Плотность заряженных слоев типична для
неравновесной плазмы низкого давления.
Недавно же был предложен
реактивный поток плазмы атмосферного давления (APPJ), что позволяет в местном
масштабе отделять область производства плазмы от основания (подложки), которое
и будет рассмотрено.
Это необходимо как
условие для продвинутых процессов плазмы атмосферного давления, особенно при
тонком смещении пленки. В настоящее время все еще нет никакого достаточного
знания о динамике формирования плазменного потока, так же как и показательного
(окна) процесса для более удобного способа разгрузки (выпуска) жара
(температуры).
Пространственно-временные
исследования частотно возбуждаемого APPJ показали, что поток – явление не
постоянное. Вместо потока формировались так сказать плазменные «пули»,
зависящие от времени и изменяющие, часто по синусоидальному закону, напряжение
возбуждения плазмы. В ходе измерения было установлено, что скорость этих пуль
составляет порядка нескольких десятков км/сек, в то время как скорость газового
потока выше лишь нескольких м/сек. Кроме того направление испускания «пуль» в
цилиндрическом потоке может быть изменено при полном изменении напряжения
возбуждения плазмы. В отношении этого было сделано интересное наблюдение, что
направление испускания потока может быть задано встречным газовым потоком. В
итоге получается, что поток формируется главным образом под действием
электрического поля, а не тока.
Описанные выше наблюдения
проводились над чистым гелием. В то время как основная область потока
представляет собой высоко возбужденные разновидности гелия, во внешнем
окутывающем слое они смешиваются с окружающей атмосферой. Проведенные во
времени и пространстве исследования над оптической эмиссией могут так же
успешно использоваться, что приведет к лучшему пониманию процесса
взаимодействия потока благородного газа с молекулярным газом, необходимым для
технических процессов.
В этом документе
результаты, полученные в ходе экспериментов с атомными (He, Ar) и молекулярными
(N2, …) газами будут представлены и критически обсуждены с акцентом на 2D
(двумерное) и 3D (трехмерное) промышленные применения.
Текущая тенденция в
промышленной разработке плазмы – развитие плазмы атмосферного давления как
источника замены обработки плазмой в вакуумных системах. Эта замена желательна
при сложной обработке плазмой 3D-образцов, чтобы развить источники плазмы,
работающие на расстоянии. Это означает, что там существует расстояние между
зоной производства плазмы и зоной обработки. Многочисленные потоки плазмы
атмосферного давления (APPJ) известны в течении нескольких лет, главным образом
включенных запасами (поставками) RF и работающий с газовыми потоками высокого
типа (нормы), чтобы вынести плазму из зоны ее производства [11].
APPJ, представленный
здесь, отнесен к упомянутым реактивным источникам. Тип газа, а следовательно и
его скорость, низки, что характерно в диапазоне скоростей от 3 до 20 м/с,
потоки включены с высоким напряжением (от 1 до 5 кВ) и низкой частотой (от 5 до
50 КГц).
2.2 Общие наблюдения
Самый простой вид этого
APPJ источника состоит из диэлектрической трубы с двумя трубчатыми
металлическими электродами и некоторого благородного газа (He, Ar),
протекающего через нее. Для демонстрации того, что реактивный поток является
главным образом электрическим явлением, а не единым потоком, он был отснят при
помощи обычной цифровой (CCD) камеры со временем задержки в 1 секунду.
(Смотрите рисунок 2.1). Для получения лучшего контраста при печати фотографии
были конвертированы в черно-белые. В обоих случаях все параметры являлись
схожими, кроме подключения электропитания к сети, как показано на рисунках.
(Трубка изготовлена из кварцевого стекла с внутренним диаметром 4 мм,
окруженная двумя алюминиевыми электродами длиной 5 см. Эти параметры неизменны
для всех фотографий, представленных здесь. Используемое напряжение является
синусоидальным с максимальным значением 7 кВ при частоте 13 кГц. Реактивный
поток потребляет электрическую мощность примерно в 4 Вт.) Если передний электрод
активен, а задний заземлен, как показано на рисунке 2.1(а), то труба развивает
внешний поток. Однако если источник подключен к питанию наоборот (передний
электрод заземлен), то внутренний реактивный поток формируется против газового
потока (рисунок 2.1(б)). Это дает яркий признак того, что реактивный поток
использует потенциальное различие для окружающей среды.
Рисунок 2.1 - реактивный
поток по направлению (а) и против направления (б) распространения газового
потока
Другой интересный факт
состоит в зависимости длины реактивного потока от типа газа в потоке. Кто-либо
мог бы интуитивно предположить, что реактивный поток станет более длинным и
продолжительным с увеличением скорости газа. Но это верно только до
максимальных значений. На рисунке 2.2 эта зависимость была взята для простой
геометрии потока, описанной выше. Эта зависимость бралась при частоте 13 кГц, и
понятие «длина потока» описывает длину лишь видимого диапазона света (фотографии
CCD камеры, представленные на рисунке 2.4, были отсняты для каждого типа
потока, после чего производилось их сравнение).

Рисунок 2.2 -
зависимость реактивной длины от типа газового потока
На данной диаграмме обе
кривые растянуты. Черная кривая, отмеченная квадратными символами, описывает
зависимость газового потока, а серая показывает оптимальное пиковое значение
поданного напряжения, где в соответствии с типом потока была соблюдена
максимальная длина реактивного потока.
Длина реактивного потока
имеет максимум по типу потока в точке 13 1/min. Вне этой точки реактивный поток
становится все меньше и меньше, независимо от значения напряжения. Еще одно
важное наблюдение заключается в том, что значение подводимого напряжения для
достижения максимальной длины реактивного потока становится меньшим по
отношению к растущему типу газового потока.
Какова же причина для
этой зависимости от типа потока? В литературе важную роль в метастабильном
состоянии играют атомы и молекулы, необходимые для того, чтобы выдержать APP
при данном «способе накала (жара)», что описывает графа [11]. Плазма, о которой
мы говорим, и есть плазма при данном способе накала. Это может быть замечено из
текущей характеристики напряжения, показанной на рисунке 2.3, взятой из
мультиреактивного источника, который будет описан позже. Принцип его работы тот
же, но он содержит в себе множество отдельных реактивных источников, работающих
параллельно так, что пиковое значение потока iпик не совпадает с номерами
реактивных потоков.

Рисунок 2.3 -
характеристика импеданса реактивного источника
Из этой характеристики
полного сопротивления ясно, что это плазма, работающая при методе накала, а не
в виде потока [11]. Плазма при методе накала пространственна и способна
разлаживаться на зоны, в которых присутствуют лишь слабые электрические поля.
Но они могут существовать лишь при определенных условиях. Например, очень важно
избегать контакта с кислородом, потому что молекулы кислорода очень эффективно
подавляют метастабильные возбужденные атомы гелия [11]. Отсюда вытекает вопрос:
«Где область высокой чистоты гелия?». Действительно ли реактивная зона – это
зона, где присутствует высокая концентрация гелия?
Чтобы пролить свет на
этот вопрос, мы должны приблизительно представить динамический поток (i),
состоящий из благородного газа (например гелия), текущий в окружающую воздушную
среду, и процессы распространения (ii), создающие перенос воздуха (особенно
молекул кислорода) в зоны гелия.
2.2.1 Динамический
реактивный поток
На рисунке 2.4 показаны
две перевернутые фотографии реактивной струи для различных типов потока.

Рисунок 2.4 - ламинарный
(а) и бурный (б) отток, поляризация электродов подобно рисунку 2.1(а)
Рисунок 2.4(а) был взят
при 11 1/min (что соответствует средней газовой скорости 14,6 м/с), а рисунок
2.4(б) при 21 1/min (что соответствует средней газовой скорости 27,9 м/с).
Очевидно, что структура газовых потоков является полностью различной.
Механика потока
характеризуется двумя способами оттока газа: бурным и ламинарным (пластинчатым)
способом. При ламинарном способе оттока векторы газовой скорости частицы
сонаправлены с вектором газового потока. При бурном способе они могут иметь
различные направления. На рисунке 2.5 показан типичный профиль оттока [11].
Рисунок 2.5 - профиль
газового выхода
2.2.2 Процессы
распространения в реактивной зоне
Для того, чтобы показать,
что основная область является областью высокой чистоты гелия, необходимо
оценить процессы распространения. Это возможно при помощи второго закона
распространения Фика. Для трехмерного случая он может быть записан как:
,
где D – постоянная
распространения, с – местная концентрация.
Для двумерных и
трехмерных случаев не существует никакого простого аналитического решения
данного уравнения, но для одномерного случая:
.
Этого достаточно для
предварительной оценки этих процессов. Рисунок 2.6 описывает ситуацию.
Рисунок 2.6 - оценка
процессов распространения в границах APPJ
Гелий вытекает из трубы,
производящей в окружающем воздухе конусовидную основную зону, наподобие описанной
прежде. Если из основной зоны выделить маленький диск, то цилиндрический объем
гелия будет окружен воздушной оболочкой. Конечно, в действительности эта
ситуация является очень динамической, т. к. объем гелия постоянно изменяется.
Но если объем гелия не будет изменяться все время, то это будет описано в
терминах процессов распространения. Если эта ситуация постоянного гелия не
является критической, то реальный процесс не будет критическим так или иначе.
Поскольку длина
распространения обоих газов (< 1 мкм) является намного меньшей, чем
рассмотренный здесь диаметр цилиндра гелия (4 мм), то это позволяет
использовать одномерное решение второго закона Фика.
Для с0=100%, DHe-O2=0,45
см2/сек и с(2мм, t5%)=1% мы получаем t1%=26мсек. Это означает, что если все газовые
скорости равны нулю, то на это потребуется 26 мсек, пока концентрация гелия в
средней линии цилиндра гелия (средняя линия реактивного потока) не упала до
99%.
Теперь же если мы
вернемся к реальной ситуации и примем во внимание то, что обычно частицы гелия
перемещаются со скоростью 10 м/с, то газовые частицы займут расстояние в 30 см
вокруг! Это означает, что процессами распространения можно пренебречь по
сравнению с процессами потока, протекающими здесь.
Эти простые вычисления
показали, что основная зона на рисунке 2.5 является зоной высокой чистоты
гелия, где атомы гелия могут существовать в метастабильных состояниях, чтобы
участвовать в плазменных процессах. Разгрузка жара (накала, температуры) и
генерация заряженных частиц, описанные позже, далеки от зоны производства
плазмы, что возможно рассмотреть как APPJ явление, описанное здесь.
2.3 ICCD наблюдения
Существует не так много
методов проведения диагностики APP (плазмы атмосферного давления). Один очень
мощный инструмент – это ICCD-камера (усиленная нагрузка соединительных
устройств). При помощи такой камеры возможно произвести высокоскоростное
фотографирование со временем задержки, стремящимся к диапазону наносекунды.
Если фотографии реактивного потока выполнены со временем задержки порядка 10-2
– 10-3 секунды, подобно рисунку 2.1 и рисунку 2.4, то и плазма в трубе, и
реактивный поток покажутся гомогенными. Это иллюзия. На рисунке 2.7
представлены фотографии со временем задержки 100 наносекунд.
Рисунок 2.7 - ICCD
фотографии боковой стороны APPJ (7,5 кВ, 10кГц, синусоидальное входное
напряжение)
Из-за низкой
интенсивности реактивного потока для получения одной фотографии были
скомбинированы 1000 отдельных снимков. Каждый отдельный снимок был
синхронизирован с поданным напряжением. Это было возможно из-за периодического
характера реактивного потока, и это реальный отдельный снимок, сделанный для
всех фотографий на рисунке 2.7, кроме увеличения (zoomed) один.
На рисунке черные пунктирные
линии отмечают границы источника. Источник прозрачен по всей своей длине. Это
возможно, если сделать разрез в параллели электродов к газовому направлению
потока. Влияние на внутреннее поддерживаемое распределение незначительно. Может
быть замечено, что реактивный поток не постоянен во времени. Фактически, это
«плазменная пуля», выстрелянная из трубы со скоростью, которая намного
превышает газовую скорость. На рисунке 2.7 «пуля» проходит расстояние в 7,5 см
за 5мсек. Это соответствует скорости 15 км/сек. В среднем расчетная газовая
скорость составляет 16,5 м/сек. Вот еще один дополнительный аргумент для
утверждения, что это не явление потока.
«Пуля» всегда появляется
при повышении наклона кривой поданного напряжения. Еще одно важное открытие
состоит в том, что полное истечение времени реактивного распространения
является почти независимым от частоты и формы кривой поданного напряжения в
исследованном диапазоне (1..50 кГц, синусоидальная, прямоугольная и треугольная
форма кривой напряжения). «Пуля» вылетает в течении нескольких микросекунд в
одной и той же точке на стадии каждого периода.
Структура «пули» не
является строго эллипсоидальной, как кто-либо мог бы предположить по отснятым
фотографиям рисунка 2.7. Это явление не является строго периодическим
(увеличенная часть рисунка 2.7). То, что является реальным отдельным выстрелом
(снимком), обнаруживает ореол сформированной структуры. Но для настоящего
открытия нужно больше. Рисунок 2.8 показывает фронтальный вид «плазменной пули»
при различных позициях относительно источника.
Рисунок 2.8 - ICCD
фотографии фронтального вида APPJ (7,5 кВ, 10кГц, синусоидальное входное
напряжение)
На рисунке представлены
фотографии со временем задержки 1000*100 нсек. Для получения этих снимков
центральная точка (фокус) камеры была совмещена с точной позицией пули. Это
было нелегко, так как диафрагма линзы всегда должна быть полностью открыта, и
как следствие глубина центра (фокуса) становится очень маленькой, иногда даже
меньшей 1 мм при макросъемке.
Если «пуля» располагается
вне источника (рисунок 2.8(1)), то картина состоит из интенсивного свечения в
центре и более слабого, кольцевой формы свечения вокруг него. Если цветные
фотографии представляют сторону реактивного потока, то они сделаны при помощи
стандартной камеры (с высоким временем задержки) по аналогии с рисунком 2.1 и
рисунком 2.4, всегда тонкая красноватая линия в центре blueish (если blue ish –
то синий выход) реактивного потока может быть соблюдена. Это кажется синей
точкой, наблюдаемой на переднем плане. Это мог быть жар (свет, излучение)
гелия, а кольцо вокруг него могло быть жаром (светом) азота. Для подтверждения
данного утверждения (тезиса) должно быть проведено дополнительное спектроскопическое
исследование.
На выходе источника
(рисунок 2.8(2)) структура «пули» не очень ясна. Было замечено слабое
разбросанное свечение. Позади переднего электрода, но все еще в источнике
(рисунок 2.8(3)), структура очень ясная и точная. Там «пуля» видна как яркая,
светящаяся точка. Между электродами (рисунок 2.8(4)) близлежащая структура та
же самая, но в дополнение стены источника освещаются.
На рисунке 2.9
представлены две фотографии плазменной «пули» при ее рассмотрении на подлете к
поверхности.
Рисунок 2.9 - ICCD
фотографии «плазменной пули», рассмотрение поверхности (7,5 кВ, 10кГц,
синусоидальное входное напряжение)
Исследуемый материал был
укрепленной стекловолокнистой пластмассой (GPR). Изображение показывает, что
светящаяся зона не является гомогенной, но кольцевой. Жар (свет, температура)
этого кольца поддерживается до 5 мс.
При изучении материала
становится видно, что зона обработки становится намного меньшей, пунктуальна
(точна во времени) и не смеет форму кольца. Это сводится к предположению, что
реактивный поток переносит заряд (нагрузку), так как заряд (нагрузка),
депонированный на поверхности диэлектрика, впоследствии участвует после заряда
(нагрузки и распространяет реактивный поток.
Это не было очевидным,
так как на реактивный поток нельзя влиять при помощи магнитных полей. Причиной
тому может послужить тот факт, что плазма способна перемещаться только в тонкой
основной зоне реактивного потока, где присутствует гелий высокой чистоты.
2.4 Электрические
исследования
Как доказать, что
реактивный поток несет некоторый заряд (нагрузку)? Это значит, как измерить его
ток? Каждое измерение вблизи реактивного потока влияло бы на распространение
электрического поля и скорости газа в сторону их увеличения. Решение проблемы –
это измерение разности токов, протекающих от источника и к источнику. На
рисунке 2.10 представлены некоторые результаты.
Рисунок 2.10 - электрические
токи реактивного потока(серая кривая-разность токов, черная кривая-напряжение
источника) и ICCD фотографии, синхронизированные с текущей разностью
потенциалов
Здесь была измерена и
синхронизированна разность токов (серая кривая) были сделаны ICCD-фотографии
(отдельные снимки со временем задержки 100 нсек). Кривая содержит
синусоидальные реактивные токи, состоящие в суперпозиции с одним или
несколькими текущими максимумами, в зависимости от рассматриваемой плазмы. На
текущей кривой отмечены токи, зафиксированные при спуске затвора ICCD-камеры.
Участку от пункта 1 до
пункта 2 на рисунке 2.10 соответствует отрезок времени 1мсек, а между пунктами
2 и 3 лишь 0,5 мсек. Это означает, что скорость «пули» не постоянна на ее пути
от источника. Близко от выхода скорость будет намного меньше (приблизительно 3
км/сек), чем в удалении от него (приблизительно 70 км/сек).
Положение и величина
плазменной «пули» очень ясно характеризуют разность токов. Если «пуля»
располагается очень близко к выходу, то у нее будет относительно большой
размер, вследствие чего поток повышается. Если она далеко от выхода и намного
меньше, то поток понижается.
В большинстве случаев
текущий сигнал имеет различные максимумы (пики), но только один максимум (пик)
соответствует «пуле» вне трубы. Существуют различные способы (по различным
пиковым значениям поданного напряжения), при которых может быть сохранен
устойчивый реактивный поток. Эти способы различаются по оптическому
представлению реактивного потока. Например, существует способ, при котором
может быть сохранен только реактивный поток, без плазмы между электродами. В
этом случае может быть измерен только один максимум (пик) тока в разности
токов, вследствие чего потребление мощности реактивного потока будет
значительно уменьшено.
2.5 Реактивный поток в
атмосфере гелия
Если реактивный поток
действительно чисто реактивное явление, то в атмосфере гелия оно должно
происходить без всякого движения газа. Для того, чтобы проверить это, выход
APPJ-источника был помещен в запечатанную коробку, изготовленную из пластика. В
таком случае вся система была изолирована и заполнена гелием до атмосферного
давления. После того, как давление достигло атмосферного, газовый поток был
остановлен и включены электроды. Результат опыта представлен на рисунке 2.11.
Рисунок 2.11 - APPJ в
атмосфере гелия
Это стандартная
(перевернутая) фотография, взятая со временем задержки 1 сек. В настоящее время
такое явление стабильно в течении лишь нескольких секунд, причиной чему служит
плохая изоляция в системе, что приводит к загрязнению атмосферы гелия
молекулярными газами из окружающего воздуха.
Итак, реактивный поток
действительно является чисто электрическим явлением, которое происходит при
начальных состояниях потока в чистой атмосфере гелия.
Как и ожидалось, здесь
будет присутствовать только тонкая красноватая линия, всегда наблюдаемая в
центре реактивного потока в воздухе. Но это не факт. Близко от выхода
распространения потока при открытой освещаемой зоне на расстоянии нескольких
сантиметров от нее может быть замечена красная линия, неподалеку от стенки, в
направлении которой распространяется реактивный поток.
Другой интересный факт –
регулировка реактивного потока при помощи магнитных или электрических полей.
Как оказалось, реактивный поток вносит заряд на стенки диэлектрика. Если этого
избегают, охватывая стенку металлической лентой, то реактивный поток становится
более тонким и более устойчивым. В противном случае реактивный поток имеет
тенденцию «танцевать», если поданное напряжение становится высоким, что
означает, что его конец спрыгивает с одной точки на другую, предпочитая углы
коробки.
2.6 APPJ для смещения
В сотрудничестве с
компанией JE PlasmaConsult, fmt был развит новый вид APPJ, который
соответствует более сложным поверхностным обработкам, подобно смещению тонких
пленок. Цель исследований заключается в том, чтобы примешать мономеры к
переносимой смеси (He, Ar или N2), не выпуская реактивную длину, это означает
не слишком сокращая глубину отдаленной зоны. Кроме того, нужно избежать
смещения самого источника. Эта новая концепция спроектирована на рисунке 2.12.
Рисунок 2.12 - новая
коцепция «трубка в трубке»
Хитрость состоит в том,
чтобы разделить мономер и переносимую смесь, и в максимально возможной степени
уменьшить смешивание обоих газов в отдаленной зоне. Лучшее условие для этого
состоит в том, чтобы гарантировать ламинарный отток с равными скоростями обоих
газов. Если это достигнуто, то никакие процессы внутри трубок невозможны и
смешивание обоих газов происходит в непосредственной близости от поверхности
цели.
Сейчас эта концепция
работает с He, Ar и N2 как с переносимыми газами. Однако чтобы работать с N2,
должны быть проведены некоторые усовершенствования из-за времени жизни газа,
изолированного в гранях электрода, не достаточно устойчивых в настоящее время.
Для распространения зоны
обработки эта система была присоединена к мультиреактивному источнику,
изображенному на рисунке 2.13.
Рисунок 2.13 -
мультиреактивный источник
Он состоит из 14
реактивных источников,собранных воедино по принципу «трубка в трубке», и
потребляет мощность 60 Вт.
Заключение
Решенные со временем
исследования доказали, что кГц-диапазон APPJ-формирования приводит к
ограниченной плазменной эмиссии «пули». В соответствии с нашими знаниями это
явление было впервые описано в нашей работе. В заключение вот по крайней мере
два основных вывода:
1). APPJ-динамика
допускает детальное изучение взаимодействия возбужденного первичного газа типа
гелия или аргона с молекулярным газом процесса. Она может быть представлена как
функция времени и координаты, которая поможет нам шагнуть по пути к лучшему
пониманию большого объема материала по разгрузке жара (температуры)
атмосферного давления (APGD) с существенной долей молекулярных газов.
2). Периодическое
формирование плазменной «пули» позволяет проводить гораздо более точную
поверхностную модификацию или смещение тонкой пленки, просто считая количество
«пуль», взаимодействующих с данным основанием (подложкой).
Список использованных
источников
1.Плазменные ускорители. Под общей
редакцией акад.Л.А.Арцимовича, -М.: Машиностроение, 1972. -312с.
Барвинок В.А., Богданович В.И.
Физические основы и математическое моделирование процессов вакуумного
ионно-плазменного напыления:Монография. - М.: Машиностроение, 1999.-309с.
2.Богданович В.И., Дородное A.M.
Некоторые применения плазменных ускорителей в технологии // В кн.:
Прогрессивные методы сварки инанесение покрытий в ПЛА. Сб.науч.трудов-
Куйбышев: КуАИ, 1987. -С.11-16.
3.Богданович В.И., Барвинок В.А. и
др. Основные закономерности получения вакуумных покрытий // Ракетно-космическая
техника. - М.: ЦНТИ"Поиск", 1985. -Сер.8. -Вып. 1. -С.21-26.
4.Богданович В.И., Барвинок В.А.
Основы управления технологическим процессом нанесения покрытий в вакууме // В
кн.: Прогрессивные методы в технологии производства двигателей ЛА: Труды КуАИ -
Куйбышев: КуАИ, 1984.-С.76-84.
5.Барвинок В.А., Богданович В.И.,
Митин Б.С. и др. Закономерностиформирования покрытий в вакууме // Физика и
химия обработки материалов, 1986. - №5. - С.92-97.
7.Барвинок В.А., Богданович В.И.
Расчет остаточных напряжений впокрытиях с учетом наращивания слоев // Физика и
химия обработки материалов-АН СССР, 1981.-№4. -С.95-101.
8.П.Богданович В.И., Барвинок В.А.,
Козлов Г.М. и др. Исследование износостойкости покрытий плазменного вакуумного
напыления // Ракетно-космическая техника. - М.: ЦНТИ "Поиск", 1985.
-Сер.8. -Вып.1. - С.11-16.
9.Богданович В.И., Корнилов В.Б.,
Касперов В.Ф., Плотников А.Н.Исследование механизма возникновения отслаивающих
напряжений в покрытиях // Вопросы специальной радиоэлектроники. Сер. Теория и
техникаантенн, 1990. -Вып.2(45).-С.57-61.
10.Богданович В.И. Кинетика
гетерогенного плазмохимического синтеза нитридных покрытий // “Проблемы
машиностроения и автоматизации”,1999.-№1.-С.65-71.
11. Time and spatially
resolved studies of an kHz-excited atmospheric pressure plasma jet for
industrial applications